JP2005291512A - コンロ - Google Patents

コンロ Download PDF

Info

Publication number
JP2005291512A
JP2005291512A JP2004102483A JP2004102483A JP2005291512A JP 2005291512 A JP2005291512 A JP 2005291512A JP 2004102483 A JP2004102483 A JP 2004102483A JP 2004102483 A JP2004102483 A JP 2004102483A JP 2005291512 A JP2005291512 A JP 2005291512A
Authority
JP
Japan
Prior art keywords
state
switch
heating
detection state
burner
Prior art date
Legal status (The legal status is an assumption and is not a legal conclusion. Google has not performed a legal analysis and makes no representation as to the accuracy of the status listed.)
Pending
Application number
JP2004102483A
Other languages
English (en)
Inventor
Atsuhito Gama
厚仁 蒲
Shinichirou Hata
紳一朗 秦
Hiroyuki Yamada
弘之 山田
Kazuya Hirota
和也 広田
Current Assignee (The listed assignees may be inaccurate. Google has not performed a legal analysis and makes no representation or warranty as to the accuracy of the list.)
Rinnai Corp
Original Assignee
Rinnai Corp
Priority date (The priority date is an assumption and is not a legal conclusion. Google has not performed a legal analysis and makes no representation as to the accuracy of the date listed.)
Filing date
Publication date
Application filed by Rinnai Corp filed Critical Rinnai Corp
Priority to JP2004102483A priority Critical patent/JP2005291512A/ja
Priority to TW094106250A priority patent/TWI275749B/zh
Priority to US11/091,701 priority patent/US7422010B2/en
Priority to EP05006879A priority patent/EP1582817A1/en
Priority to CN2005100637701A priority patent/CN1677000B/zh
Priority to KR1020050026882A priority patent/KR100598547B1/ko
Publication of JP2005291512A publication Critical patent/JP2005291512A/ja
Pending legal-status Critical Current

Links

Images

Classifications

    • BPERFORMING OPERATIONS; TRANSPORTING
    • B09DISPOSAL OF SOLID WASTE; RECLAMATION OF CONTAMINATED SOIL
    • B09BDISPOSAL OF SOLID WASTE NOT OTHERWISE PROVIDED FOR
    • B09B2101/00Type of solid waste
    • B09B2101/02Gases or liquids enclosed in discarded articles, e.g. aerosol cans or cooling systems of refrigerators
    • BPERFORMING OPERATIONS; TRANSPORTING
    • B09DISPOSAL OF SOLID WASTE; RECLAMATION OF CONTAMINATED SOIL
    • B09BDISPOSAL OF SOLID WASTE NOT OTHERWISE PROVIDED FOR
    • B09B3/00Destroying solid waste or transforming solid waste into something useful or harmless
    • BPERFORMING OPERATIONS; TRANSPORTING
    • B01PHYSICAL OR CHEMICAL PROCESSES OR APPARATUS IN GENERAL
    • B01FMIXING, e.g. DISSOLVING, EMULSIFYING OR DISPERSING
    • B01F35/00Accessories for mixers; Auxiliary operations or auxiliary devices; Parts or details of general application
    • B01F35/30Driving arrangements; Transmissions; Couplings; Brakes
    • B01F35/32Driving arrangements
    • B01F35/32005Type of drive
    • B01F35/3204Motor driven, i.e. by means of an electric or IC motor
    • BPERFORMING OPERATIONS; TRANSPORTING
    • B09DISPOSAL OF SOLID WASTE; RECLAMATION OF CONTAMINATED SOIL
    • B09BDISPOSAL OF SOLID WASTE NOT OTHERWISE PROVIDED FOR
    • B09B3/00Destroying solid waste or transforming solid waste into something useful or harmless
    • B09B3/40Destroying solid waste or transforming solid waste into something useful or harmless involving thermal treatment, e.g. evaporation
    • FMECHANICAL ENGINEERING; LIGHTING; HEATING; WEAPONS; BLASTING
    • F26DRYING
    • F26BDRYING SOLID MATERIALS OR OBJECTS BY REMOVING LIQUID THEREFROM
    • F26B21/00Arrangements or duct systems, e.g. in combination with pallet boxes, for supplying and controlling air or gases for drying solid materials or objects
    • F26B21/02Circulating air or gases in closed cycles, e.g. wholly within the drying enclosure
    • F26B21/022Circulating air or gases in closed cycles, e.g. wholly within the drying enclosure with provisions for changing the drying gas flow pattern, e.g. by reversing gas flow, by moving the materials or objects through subsequent compartments, at least two of which have a different direction of gas flow
    • F26B21/024Circulating air or gases in closed cycles, e.g. wholly within the drying enclosure with provisions for changing the drying gas flow pattern, e.g. by reversing gas flow, by moving the materials or objects through subsequent compartments, at least two of which have a different direction of gas flow by using movable fan units
    • FMECHANICAL ENGINEERING; LIGHTING; HEATING; WEAPONS; BLASTING
    • F26DRYING
    • F26BDRYING SOLID MATERIALS OR OBJECTS BY REMOVING LIQUID THEREFROM
    • F26B21/00Arrangements or duct systems, e.g. in combination with pallet boxes, for supplying and controlling air or gases for drying solid materials or objects
    • F26B21/06Controlling, e.g. regulating, parameters of gas supply
    • FMECHANICAL ENGINEERING; LIGHTING; HEATING; WEAPONS; BLASTING
    • F26DRYING
    • F26BDRYING SOLID MATERIALS OR OBJECTS BY REMOVING LIQUID THEREFROM
    • F26B21/00Arrangements or duct systems, e.g. in combination with pallet boxes, for supplying and controlling air or gases for drying solid materials or objects
    • F26B21/06Controlling, e.g. regulating, parameters of gas supply
    • F26B21/08Humidity
    • F26B21/086Humidity by condensing the moisture in the drying medium, which may be recycled, e.g. using a heat pump cycle
    • FMECHANICAL ENGINEERING; LIGHTING; HEATING; WEAPONS; BLASTING
    • F26DRYING
    • F26BDRYING SOLID MATERIALS OR OBJECTS BY REMOVING LIQUID THEREFROM
    • F26B3/00Drying solid materials or objects by processes involving the application of heat
    • F26B3/02Drying solid materials or objects by processes involving the application of heat by convection, i.e. heat being conveyed from a heat source to the materials or objects to be dried by a gas or vapour, e.g. air
    • BPERFORMING OPERATIONS; TRANSPORTING
    • B01PHYSICAL OR CHEMICAL PROCESSES OR APPARATUS IN GENERAL
    • B01FMIXING, e.g. DISSOLVING, EMULSIFYING OR DISPERSING
    • B01F2101/00Mixing characterised by the nature of the mixed materials or by the application field
    • B01F2101/25Mixing waste with other ingredients
    • FMECHANICAL ENGINEERING; LIGHTING; HEATING; WEAPONS; BLASTING
    • F26DRYING
    • F26BDRYING SOLID MATERIALS OR OBJECTS BY REMOVING LIQUID THEREFROM
    • F26B2200/00Drying processes and machines for solid materials characterised by the specific requirements of the drying good
    • F26B2200/04Garbage
    • YGENERAL TAGGING OF NEW TECHNOLOGICAL DEVELOPMENTS; GENERAL TAGGING OF CROSS-SECTIONAL TECHNOLOGIES SPANNING OVER SEVERAL SECTIONS OF THE IPC; TECHNICAL SUBJECTS COVERED BY FORMER USPC CROSS-REFERENCE ART COLLECTIONS [XRACs] AND DIGESTS
    • Y02TECHNOLOGIES OR APPLICATIONS FOR MITIGATION OR ADAPTATION AGAINST CLIMATE CHANGE
    • Y02WCLIMATE CHANGE MITIGATION TECHNOLOGIES RELATED TO WASTEWATER TREATMENT OR WASTE MANAGEMENT
    • Y02W30/00Technologies for solid waste management
    • Y02W30/20Waste processing or separation

Landscapes

  • Engineering & Computer Science (AREA)
  • Mechanical Engineering (AREA)
  • General Engineering & Computer Science (AREA)
  • Environmental & Geological Engineering (AREA)
  • Physics & Mathematics (AREA)
  • Thermal Sciences (AREA)
  • Chemical & Material Sciences (AREA)
  • Life Sciences & Earth Sciences (AREA)
  • Microbiology (AREA)
  • Chemical Kinetics & Catalysis (AREA)
  • Dispersion Chemistry (AREA)
  • Electric Stoves And Ranges (AREA)

Abstract

【課題】使用者の操作以外の要因でタッチスイッチが非検知状態から検知状態に切り換わったときに、バーナの点火処理がなされることを防止したコンロを提供する。
【解決手段】バーナ4a,4bを収容したコンロ本体1の上面を覆うガラス天板2に、使用者がバーナ4a,4bの作動開始と停止を指示するために設けられて、ガラス天板2の上面への接触物又は接近物を検知するタッチスイッチを有する操作部6と、タッチスイッチがon状態(検知状態)であるかoff状態(非検知状態)であるかを把握し、把握結果に応じてバーナ4a,4bの作動を制御する加熱制御手段とを備えたコンロにおいて、該加熱制御手段は、バーナ4a,4bが燃焼停止状態であって、タッチスイッチがoff状態からon状態に切り換わった後にoff状態に復帰したときに、バーナ4a,4bの点火処理を行い、バーナ4a,4bが燃焼状態であって、タッチスイッチがoff状態からon状態に切り換わったときに、バーナ4a,4bの消火処理を行う。
【選択図】 図1

Description

本発明は、加熱手段を備えたコンロに関し、特に天板の上面に加熱手段の作動を指示するための操作部を備えたコンロに関する。
従来より、図10に示したように、システムキッチンのカウンタトップに用意された開口にコンロ本体101を埋設するドロップイン式のコンロにおいて、ガスバーナ100a,100bが収容されるコンロ本体101の上面を覆うガラス天板102に、ガスバーナ100a,100bの点火/消火と火力調節を行うための操作つまみ103a,103bを設けたものが知られている(例えば特許文献1参照)。
かかるコンロによれば、前面に操作部を備えたコンロを設置する場合のように、カウンタトップの前面に操作部を臨ませる開口を設ける必要がなく、カウンタトップへのコンロの設置も容易に行うことができる。また、ガスバーナの点火/消火や火力調節を天板102に設けられて視認性が良い操作つまみ103a,103bにより行うことができるため、使用者の操作性が向上する。
実開昭58−186302号公報
しかし、図10に示したコンロによれば、操作つまみ103a,103bがガラス天板102の上面に突出して配置されているため、調理を行う際に邪魔になる場合がある。そこで、ガスバーナ100a,100bの操作手段として、例えば、静電容量式のセンサの検出部をガラス天板102の裏面に設けてガラス天板102の表面に操作部を備えたタッチスイッチを構成し、ガラス天板102の上面をフラットにすることが考えられる。
しかし、このようにタッチスイッチを設けた場合、五徳104a,104bに載置したなべ等からの調理物の煮こぼれやガラス天板102への落下物等によりタッチスイッチが覆われて、タッチスイッチがONすることが考えられる。そして、これにより、例えば右バーナ100bのみを用いて加熱調理を行っているときに、右バーナ100bの五徳104bに載置されたなべからの煮こぼれにより左バーナ100aの点火スイッチがONし、左バーナ100aが点火されてしまうという不都合がある。
そこで、本発明はかかる不都合を解消し、使用者の操作以外の要因でタッチスイッチが非検知状態から検知状態に切り換わったときに、バーナの点火処理がなされることを防止したコンロを提供することを目的とする。
本発明は上記目的を達成するためになされたものであり、加熱手段を収容するコンロ本体の上面を覆う天板に、使用者が該加熱手段の作動開始と停止を指示するために設けられて、該天板の上面への接触物又は接近物を検知するタッチスイッチと、該タッチスイッチが検知状態にあるか非検知状態にあるかを把握し、把握結果に応じて前記加熱手段の作動を制御する加熱制御手段とを備えたコンロの改良に関する。
そして、前記加熱制御手段は、前記加熱手段が停止状態にあるときに、前記タッチスイッチが非検知状態から検知状態に切り換わり、さらに非検知状態に復帰したときには、前記加熱手段の作動を開始し、前記加熱手段が作動状態にあるときに、前記タッチスイッチが非検知状態から検知状態に切り換わったときには、前記加熱手段の作動を停止することを特徴とする。
かかる本発明によれば、前記加熱制御手段は、前記タッチスイッチが非検知状態から検知状態に切り換わり、さらに非検知状態に復帰したときに、前記加熱手段の作動を開始する。そのため、天板上に調理物の煮こぼれや落下物(布巾等)が落ちてタッチスイッチを覆い、タッチスイッチが検知状態となっても、タッチスイッチは非検知状態に復帰していないので、加熱制御手段により加熱手段の作動が開始されることがない。
さらに、前記加熱手段が作動状態にあるときには、前記加熱制御手段は、前記タッチスイッチが非検知状態から検知状態に切り換わったときに、前記加熱手段の作動を停止する。そのため、使用者は、前記加熱手段の作動開始操作においては、指で前記タッチスイッチに触れた後に指をタッチスイッチから離す必要があるが、加熱手段の停止操作においては、指でタッチスイッチに触れるだけで直ちに加熱手段の作動を停止することができ、使い勝手が良い。
また、前記タッチスイッチを複数個備え、前記加熱制御手段は、前記加熱手段が停止状態にあるときに、複数個のタッチスイッチのうちの予め設定された少なくとも2個のタッチスイッチが、予め設定された順番で、非検知状態から検知状態に切り換わってさらに非検知状態に復帰したときに、前記加熱手段の作動を開始することを特徴とする。
かかる本発明によれば、前記加熱制御手段は、予め設定された複数個のタッチスイッチが、予め設定された順序で、非検知状態から検知状態に切り換わり、さらに非検知状態に復帰したときに、前記加熱手段の作動を開始する。そして、煮こぼれや落下物により、前記順序で複数のタッチスイッチが検知状態から非検知状態に切り換わり、さらに検知状態に復帰する可能性は極めて低いものとなると想定される。したがって、本発明によれば、煮こぼれや落下物によるタッチスイッチの誤検知により、加熱手段が作動することをさらに抑制することができる。
また、前記加熱制御手段は、前記加熱手段が作動状態にあるときに、前記予め設定された少なくとも2個のタッチスイッチのうちのいずれかが非検知状態から検知状態に切り換わったときに、前記加熱手段の作動を停止することを特徴とする。
かかる本発明によれば、前記加熱手段が作動状態にあるときは、前記加熱手段の作動の開始指示において、前記予め設定された全てのタッチスイッチについて、検知状態から非検知状態に切り換わったことが前記加熱制御手段により把握されていることになる。そのため、前記予め選択された全てのタッチスイッチは、非検知状態から検知状態への切り換えが不能な故障状態ではなかったことになる。
そこで、前記予め選択されたタッチスイッチのうちのいずれかが非検知状態から検知状態に切り換わったときに、前記加熱手段の作動を停止することにより、タッチスイッチの故障により前記加熱手段の作動を停止ができない状況となる可能性を低くすることができる。
また、前記天板に、前記加熱手段が作動中であることを使用者に報知するために設けられた点灯手段と、前記加熱手段が停止状態にあるときに、前記タッチスイッチが非検知状態から検知状態に切り換わったときには、前記加熱制御手段による前記加熱手段の作動開始に先行して、前記点灯手段を点灯させる点灯制御手段とを備えたことを特徴とする。
かかる本発明によれば、使用者が指で前記タッチスイッチに触れて前記加熱手段の作動開始を指示したときに、実際に前記加熱制御手段によって前記加熱手段の作動が開始されるのは、使用者が前記タッチスイッチから指を離したときである。そのため、使用者が前記タッチスイッチに指を触れて離すタイミングが長いときには、タッチスイッチに触れたにもかかわらず状況が何も変わらず、使用者に違和感を与えてしまうおそれがある。
そこで、前記点灯制御手段により、前記タッチスイッチが非検知状態から検知状態に切り換わったときには、前記加熱制御手段による前記加熱手段の作動開始に先行して前記点灯手段を点灯させる。これにより、使用者に前記加熱手段の作動開始の指示が受け付けられたことを報知して、使用者が上述した違和感を抱くことを抑制することができる。
本発明の実施の形態について、図1〜図9を参照して説明する。図1は本発明のコンロの外観図、図2は図1に示した操作部の詳細図、図3はコンロの制御ブロック図、図4〜7はバーナ点火処理のフローチャート、図8〜図9はバーナ消火処理のフローチャートである。
図1は、コンロ本体1の上面に、耐熱性に優れた結晶化ガラスで形成されたガラス天板2を装着したドロップイン式のコンロを示している。ガラス天板2には、左右一対のコンロ開口3a,3bが開設されている。そして、コンロ本体1内に、各コンロ開口3a,3bに臨ませて、左バーナ4a及び右バーナ4b(本発明の加熱手段に相当する)が設けられている。また、コンロ開口3a,3bには、調理容器を載置する五徳5a,5bが配置され、ガラス天板2の上面の手前側に、左バーナ4a及び右バーナ4bの作動を指示するための操作部6が設けられている。
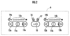
図2を参照して、操作部6には、コンロに電源が投入された状態で、左バーナ4a及び右バーナ4bの作動指示が可能な「運転状態」と該作動指示が不能な「待機状態」とに切り換える運転スイッチ10が備えられている。また、左バーナ4aの作動を指示するために、左バーナ4aを点火準備状態とする点火準備スイッチ11a、左バーナ4aの火力を5段階に切り換える火力DOWNスイッチ12aと火力UPスイッチ13a、左バーナ4aが点火準備状態にあるときと左バーナ4aの作動中に点灯する点火準備表示部14a、及び左バーナ4aの火力設定を表示する火力レベル表示部15aが設けられている。
なお、左バーナ4aが点火準備状態にあるときに、火力UPスイッチ13aが操作されたときには、左バーナ4aの点火処理が実行される。また、左バーナ4aの燃焼中に点火準備スイッチ11a又は運転スイッチ10が操作されたときは、左バーナ4aの消火処理が実行される。
同様に、右バーナ4bの作動を指示するために、右バーナ4bを点火準備状態とする点火準備スイッチ11b、右バーナ4bの火力を5段階に切り換える火力DOWNスイッチ12bと火力UPスイッチ13b、右バーナ4bが点火準備状態にあるときと右バーナ4bの作動中に点灯する点火準備表示部14b、及び右バーナ4bの火力設定を表示する火力レベル表示部15bが設けられている。
なお、右バーナ4bが点火準備状態にあるときに、火力UPスイッチ13bが操作されたときには、右バーナ4bの点火処理が実行される。また、右バーナ4bの燃焼中に点火準備スイッチ11b又は運転スイッチ10が操作されたときは、右バーナ4bの消火処理が実行される。
さらに、操作部6には、「運転状態」にあるときに点灯するアンロック表示部16と、運転スイッチ10が所定時間(例えば4秒)以上連続して操作されて、全てのスイッチの操作が不能ないわゆるチャイルドロック状態となったときに点灯するロック表示部17とが備えられている。
ここで、操作部6の各スイッチは、ガラス天板2の裏面に設けられた静電容量センサと、該静電容量センサと対向したガラス天板2の表面部分にプリントされて各スイッチのタッチポイントを示すプリント部分とにより構成された無接点型のタッチスイッチである。そして、該プリント部分(静電容量センサに対向したガラス天板2の表面部分)に静電体が置かれているときは、静電容量センサにより該静電体が検出されてタッチスイッチはon状態(本発明の検知状態に相当する)となる。一方、該プリント部分に静電体が置かれていないときには、静電容量センサにより該静電体が検出されず、タッチスイッチはoff状態(本発明の非検知状態に相当する)となる。
また、操作部6の各表示部は、ガラス天板2の裏面に設けられたLEDと、該LEDと対向したガラス天板2の表面部分にプリントされたプリント部分とにより構成される。そして、LEDをONしたときに表示部が点灯状態になり、LEDをOFFしたときに表示部は消灯状態となる。
また、火力レベル表示部15aは、左バーナ4aの火力レベル(レベル1〜レベル5)を、図示した5個の点灯部分からなるバー表示の左側からの点灯部分の点灯個数で表示する。例えば、左バーナ4aの火力レベルが1であるときはバー表示の左端の点灯部分のみを点灯し、左バーナ4aの火力レベルが5であるときはバー表示の5個の点灯部分が全て点灯する。同様に、火力レベル表示部15bは、右バーナ4bの火力レベル(レベル1〜レベル5)を、図示した5個の点灯部分からなるバー表示の左側からの点灯部分の点灯個数で表示する。
次に、図3を参照して、コンロ本体1内には、コンロの全体的な作動を制御するコントローラ30が備えられ、操作部6の各スイッチ(運転スイッチ10、点火準備スイッチ11a,11b、火力DOWNスイッチ12a,12b、火力UPスイッチ13a,13b)の操作状態(ON/OFF)の検知信号がコントローラ30に入力される。
また、コントローラ30から出力される制御信号によって、コンロ本体1への燃料ガスの供給と遮断とを切り換えるガス元弁40、左バーナ4aへの燃料ガスの供給と遮断とを切り換える左バーナ用開閉弁41a、左バーナ4aへの燃料ガスの供給流量を変更する左バーナ用火力調節弁42a、左バーナ4aの点火電極(図示しない)に高電圧を印加して火花放電を生じさせる左バーナ用イグナイタ43a、右バーナ4bへの燃料ガスの供給と遮断とを切り換える右バーナ用開閉弁41b、右バーナ4bへの燃料ガスの供給流量を変更する右バーナ用火力調節弁42b、右バーナ4bの点火電極(図示しない)に高電圧を印加して火花放電を生じさせる右バーナ用イグナイタ43bの作動が制御される。
さらに、コントローラ30からの制御信号によって、操作部6に備えられた各表示部(点火準備表示部14a,14b、火力レベル表示部15a,15b、アンロック表示部16、ロック表示部17)の点灯/消灯と、ブザー18のon/offが制御される。
また、コントローラ30には、左バーナ4aと右バーナ4bの作動を制御する加熱制御手段31と、操作部6に備えられた各表示部の点灯/消灯の制御とブザー18による報知を行う点灯制御手段32とが備えられている。
ここで、上述したように、操作部6に設けられたタッチスイッチは、ガラス天板2の上面に所在する静電体の有無を検知するものである。そのため、使用者が指でタッチスイッチに触れた場合の他に、図1(b)に示したように、左バーナ4aのみを使用して鍋20内の調理物を加熱していたときに、調理物のふきこぼれ21が生じ、該ふきこぼれ21が操作部6に達して右バーナ4b用のタッチスイッチがon状態となることが生じ得る。或いは、ガラス天板2上の落下物(布巾、食材等)やガラス天板2上に置かれた調理容器により操作部6が覆われてタッチスイッチがon状態となることも生じ得る。
そこで、コントローラ30に備えられた加熱制御手段31は、このように、使用者の操作以外の要因でタッチスイッチがoff状態からon状態に切り換わったときに、誤って左バーナ4aや右バーナ4bの点火処理が実行されないようにするための処理を行う。以下、図4〜図9のフローチャートに従って、かかる処理について説明する。なお、図4〜図9のフローチャートは左バーナ4aに対する処理であるが、右バーナ4bに対する処理も同様である。
先ず、図4のSTEP1〜STEP6は、運転スイッチ10がoff状態からon状態に切り換わり、さらにoff状態に復帰したことを認識するための処理である。コンロに電源が投入されてコントローラ30が作動を開始すると「待機状態」となり、加熱制御手段31は図4のSTEP1で運転スイッチ10がon状態となるのを待つ。
そして、運転スイッチ10がon状態となったときに、STEP2に進んで2秒タイマと4秒タイマをスタートさせ、続くSTEP3とSTEP30からなるループで、STEP30で運転スイッチ10がon状態に維持されていることを確認しながらSTEP3で2秒タイマのタイムアップを待つ。
STEP3で2秒タイマがタイムアップしたとき、すなわち、運転スイッチ10のon状態が2秒以上継続したときはSTEP4に進む。STEP4,STEP5は点灯制御手段32による処理であり、点灯制御手段32はアンロック表示部16を点灯すると共にブザー18を鳴動させ、これにより運転スイッチ10の操作が受け付けられたことを使用者に報知する。
一方、STEP30で運転スイッチ10がon状態でなくなったときは、ノイズ等により運転スイッチ10が瞬間的にon状態となったと判断できる。そのため、この場合はSTEP1に戻り、加熱制御手段31は、再び運転スイッチ10がoff状態からon状態に切り換わるのを待つ。
加熱制御手段31は、STEP6とSTEP35からなるループで、STEP35で4秒タイマのタイムアップを確認しながらSTEP6で運転スイッチ10がoff状態となるのを待つ。
STEP6で運転スイッチ10がoff状態となったとき、すなわち、STEP1で運転スイッチ10がon状態となってから4秒が経過する前に運転スイッチ10がoff状態に復帰したときは、STEP7に進んで、加熱制御手段31は15分タイマをスタートさせる。
一方、STEP35で4秒タイマがタイムアップしたとき、すなわち、運転スイッチ10のon状態が4秒以上継続したときは、図7のSTEP80に進む。図7はチャイルドロックの処理であり、点灯制御手段32は、STEP80でアンロック表示部16を消灯し、STEP81でロック表示部17を点灯して、STEP82でブザー18を鳴動させる。
そして、加熱制御手段31は、次のSTEP83で運転スイッチ10がon状態となるのを待つ。これにより、運転スイッチ10の操作によりチャイルドロック状態が解除されるまで、全てのスイッチに対する操作が不能なチャイルドロック状態となる。チャイルドロック状態で使用者が運転スイッチ10に触れて運転スイッチ10がon状態となると、STEP83からSTEP84に進み、加熱制御手段31は4秒タイマをスタートさせる。
続いて、加熱制御手段31は、STEP85とSTEP90とからなるループで、STEP90で運転スイッチ10がon状態であるか否かを確認しながらSTEP85で4秒タイマのタイムアップを待つ。STEP85で4秒タイマがタイムアップしたとき、すなわち、チャイルドロック状態で使用者が運転スイッチ10に触れ続けて、運転スイッチ10が4秒以上継続してon状態となったときSTEP86に進む。そして、次のSTEP86で点灯制御手段32がロック表示部17を消灯し、STEP87でブザー18を鳴動させて図4のSTEP1に進む。これによりチャイルドロック状態が解除される。
図4のSTEP6で運転スイッチ10がoff状態となったとき、すなわち、STEP1で運転スイッチ10がon状態となってから4秒が経過する前に、運転スイッチ10がoff状態となったときは、STEP7に進み、コントローラ30は15分タイマをスタートさせる。
次に、STEP8〜図5のSTEP14は、点火準備スイッチ11aがoff状態からon状態に切り換わり、さらにoff状態に復帰したことを認識するための処理である。加熱制御手段31は、STEP8とSTEP40からなるループにより、STEP40で15分タイマのタイムアップの有無を確認しながら、STEP8で点火準備スイッチ11aがoff状態からon状態に切り換わるのを待つ。そして、STEP8で点火準備スイッチ11aがon状態となったときに、図5のSTEP9に進む。
一方、STEP40で15分タイマがタイムアップしたとき、すなわち、STEP6で運転スイッチ10がoff状態になった時から15分が経過するまでに、点火準備スイッチ11aがon状態とならなかったときは、STEP41に進み、コントローラ30はアンロック表示部16を消灯し、STEP42でブザー18を鳴動させてSTEP1に戻り「待機状態」となる。これにより、使用者が運転スイッチ10を操作した後、15分が経過するまでに左バーナ4aの点火操作をしなかったときに、コンロを「待機状態」に復帰させる。
図5のSTEP9で、加熱制御手段31は1秒タイマをスタートさせ、続くSTEP10とSTEP50からなるループにより、STEP50で点火準備スイッチ11aがon状態であるか否かを確認しながらSTEP10で1秒タイマのタイムアップを待つ。そして、STEP10で1秒タイマがタイムアップしたとき、すなわち、点火準備スイッチ11aが1秒以上継続してon状態となったときに、STEP11に進む。
一方、STEP50で1秒タイマがタイムアップしたとき、すなわち、点火準備スイッチ11aが1秒未満on状態となったときには、ノイズ等により点火準備スイッチ11aが瞬間的にon状態となったと判断できる。そのため、この場合は図4のSTEP7に戻り、加熱制御手段31は、再び点火準備スイッチ11aがoff状態からon状態に切り換わるのを待つ。
STEP11〜STEP12は点灯制御手段32による処理であり、点灯制御手段32は、STEP11で点火準備表示部14aを点灯し、STEP12でブザー18を鳴動させる。そして、加熱制御手段31は、STEP13で2秒タイマをスタートさせ、次のSTEP14とSTEP55からなるループにより、STEP55で2秒タイマのタイムアップの有無を確認しながら、STEP14で点火準備スイッチ11aがoff状態となるのを待つ。
STEP14で点火準備スイッチ11aがoff状態となったとき、すなわち、点火準備スイッチ11aが1秒間on状態となった後、2秒以内に点火準備スイッチ11aがon状態からoff状態に復帰したときに、STEP15に進んで、加熱制御手段31は10秒タイマをスタートさせる。
一方、STEP55で2秒タイマがタイムアップしたとき、すなわち、点火準備スイッチ11aが1秒間on状態となった後、さらに2秒間点火準備スイッチ11aが継続してon状態となったときは、STEP56に進む。そして、コントローラ30は、STEP56で点火準備表示部14aを消灯し、STEP57でブザー18を鳴動させて図4のSTEP7に戻る。これにより、煮こぼれ等により点火準備スイッチ11aがon状態に維持される状況となったときには、STEP15以降の処理が禁止され、左バーナ4aの点火処理は実行されない。
次に、STEP15〜図6のSTEP19は、火力UPスイッチ13aがoff状態からon状態に切り換わり、さらにoff状態に復帰したことを認識するための処理である。加熱制御手段31は、STEP15で10秒タイマをスタートさせて図6のSTEP16に進み、STEP16とSTEP60からなるループにより、STEP60で10秒タイマのタイムアップの有無を確認しながら、STEP16で火力UPスイッチ13aがoff状態からon状態に切り換わるのを待つ。
STEP16で火力UPスイッチ13aがon状態となったとき、すなわち、点火準備スイッチ11aがoff状態となってから10秒以内に火力UPスイッチ13aがon状態に切り換わったときは、STEP17に進む。STEP17とSTEP18は点灯制御手段32による処理であり、点灯制御手段32は、STEP17で火力レベル表示部15aをレベル4で点灯し、STEP18でブザー18を鳴動させてSTEP19に進む。
ここで、STEP16で火力UPスイッチ13aがon状態となったときに、後述するSTEP20で実行される左バーナ4aの点火処理に先行して、STEP17で火力レベル表示部15aを点灯させることにより、使用者に点火指示が受け付けられたことを報知している。
一方、STEP60で10秒タイマがタイムアップしたとき、すなわち、点火準備スイッチ11aがoff状態となってから10秒が経過しても火力UPスイッチ13aがon状態に切り換わらなかったときには、STEP61に進む。STEP61とSTEP62は点灯制御手段32による処理であり、点灯制御手段32は、STEP61で点灯準備表示部14aを消灯し、STEP62でブザー18を鳴動させて図4のSTEP7に戻る。これにより、加熱制御手段31は、再び点火準備スイッチ11aがoff状態からon状態に切り換わるのを待つ。
加熱制御手段31は、STEP19とSTEP65からなるループにより、STEP65で10秒タイマのタイムアップの有無を確認しながらSTEP19で火力UPスイッチ13aがoff状態に復帰するのを待つ。そして、STEP19で火力UPスイッチ13aがoff状態に復帰したときにSTEP20に進み、加熱制御手段31は、イグナイタ43aを作動させて点火電極に火花放電を生じさせた状態で、ガス元弁40と左バーナ用開閉弁41aを開弁し、左バーナ用火力調節弁42aを火力レベル4に設定して左バーナ4aの点火処理を実行する。
一方、STEP65で10秒タイマがタイムアップしたとき、すなわち点火準備スイッチ11aがon状態となってから10秒以内に、火力UPスイッチ13aがoff状態からon状態に切り換わり、さらにoff状態に復帰しなかったときは、STEP66に進む。STEP66からSTEP68は点灯制御手段32による処理であり、点灯制御手段32は、STEP66で点火準備表示部14aを消灯し、STEP67で火力レベル表示部15aを消灯し、STEP68でブザー18を鳴動させて図4のSTEP7に戻る。
以上説明したように、加熱制御手段31は、運転スイッチ10がoff状態→on状態→off状態と切り換わった後、点火準備スイッチ11aがoff状態→on状態→off状態と切り換わり、さらに火力UPスイッチ13aがoff状態→on状態→off状態と切り換わったときに、左バーナ4aの点火処理を実行する。
そのため、煮こぼれ等により運転スイッチ10、点火準備スイッチ11a、及び火力UPスイッチ13aがoff状態からon状態に切り換わっても左バーナ4aに点火されることはない。また、これらの3個のスイッチが、運転スイッチ10→点火準備スイッチ11a→火力UPスイッチ13aという予め設定された順序で、各スイッチがoff状態→on状態→off状態と切り換わった場合にのみ、左バーナ4aの点火処理が実行される。
そして、煮こぼれ等により、この順序で各スイッチがoff状態→on状態→off状態と切り換わる状況となることは想定し難いため、使用者の操作以外の要因により左バーナ4aの点火処理が実行されることを確実に防止することができる。
次に、図8,図9はバーナの消火操作のフローチャートであり、図8はバーナ燃焼中に運転スイッチ10がon状態となった場合のフローチャートを示し、図9はバーナ燃焼中に点火準備スイッチ11aがon状態となった場合のフローチャートを示している。
先ず、図8を参照して、左バーナ4aの燃焼中に運転スイッチ10がon状態になったときに、STEP100からSTEP101に進み、コントローラ30は1秒タイマをスタートさせる。そして、STEP102とSTEP110からなるループにより、STEP110で運転スイッチ10がon状態にあるか否かを確認しながらSTEP102で1秒タイマのタイムアップを待つ。
STEP102で1秒タイマがタイムアップしたとき、すなわち、運転スイッチ10が1秒以上継続してon状態となったときはSTEP103に進む。STEP103からSTEP105及びSTEP107は点灯制御手段32による処理であり、点灯制御手段32は、STEP103〜STEP105で点火準備表示部14aと火力レベル表示部15aとアンロック表示部16を消灯する。
そして、次のSTEP106で加熱制御手段31は左バーナ用開閉弁41aとガス元弁40を閉弁して左バーナ4aを消火し、STEP107で点灯制御手段32がブザー18を鳴動させてバーナ4aの消火を報知し、図4のSTEP1に戻る。
次に、図9を参照して、左バーナ4aの燃焼中に点火準備スイッチ11aがon状態になったときに、STEP120からSTEP121に進み、コントローラ30は1秒タイマをスタートさせる。そして、STEP122とSTEP130からなるループにより、STEP130で点火準備スイッチ11aがon状態にあるか否かを確認しながらSTEP122で1秒タイマのタイムアップを待つ。
STEP122で1秒タイマがタイムアップしたとき、すなわち、点火準備スイッチ11aが1秒以上継続してon状態となったときはSTEP123に進む。STEP123とSTEP124及びSTEP126は点灯制御手段32による処理であり、点灯制御手段32は、STEP123,STEP124で点火準備表示部14aと火力レベル表示部15aを消灯する。
そして、次のSTEP125で加熱制御手段31は左バーナ用開閉弁41aを閉弁して左バーナ4aを消火し、STEP126で点灯制御手段32がブザー18を鳴動させてバーナ4aの消火を報知し、図4のSTEP7に戻る。
ここで、上述したように、左バーナ4aの点火処理は、運転スイッチ10と点火準備スイッチ11aと火力UPスイッチ13aが、off状態→on状態→off状態と切り換わったときに実行される。そのため、使用者が左バーナ4aの点火操作をしたときに、運転スイッチ10と点火準備スイッチ11aと火力UPスイッチ13aのいずれもが、OFF故障(スイッチがoff状態からon状態に切り換わらない状態となる故障)状態でなかったことが確認されていたことになる。
そこで、図8、図9に示したように、点火操作時にoff故障が生じていなかった運転スイッチ10と点火準備スイッチ11aがoff状態からon状態に切り換わったときに、左バーナ4aの消火処理を実行することで、スイッチのoff故障により左バーナ4aの消火が不能となることを抑制することができる。
なお、本実施の形態では、本発明の加熱手段としてガスバーナ4a,4bを備えたコンロを示したが、電気ヒータ等の他の種類の加熱手段を備えたコンロに対しても本発明の適用が可能である。
また、本実施の形態では、本発明の天板として耐熱ガラスを用いたガラス天板2を備えたコンロを示したが、ステンレス等の他の素材の天板を備えたコンロに対しても本発明の適用が可能である。
また、本実施の形態では、本発明のタッチスイッチとして静電容量型のタッチスイッチを採用したコンロを示したが、タッチスイッチの種類はこれに限られず、赤外線の発行部/受光部を備えたフォトスイッチやタクトスイッチ等の機械接点式のタッチスイッチを採用したコンロであっても、本発明の適用が可能である。
本発明のコンロの外観図。 図1に示した操作部の詳細図。 コンロの制御ブロック図。 バーナ点火処理のフローチャート。 バーナ点火処理のフローチャート。 バーナ点火処理のフローチャート。 バーナ点火処理のフローチャート。 バーナ消火処理のフローチャート。 バーナ消火処理のフローチャート。 従来のコンロの外観図。
符号の説明
1…コンロ本体、2…ガラス天板、4a…左バーナ、4b…右バーナ、6…操作部、10…運転スイッチ、11a,11b…点火準備スイッチ、12a,12b…火力DOWNスイッチ、13a,13b…火力UPスイッチ、14a,14b…点火準備表示部、15a,15b…火力レベル表示部、16…アンロック表示部、17…ロック表示部

Claims (4)

  1. 加熱手段を収容するコンロ本体の上面を覆う天板に、使用者が該加熱手段の作動開始と停止を指示するために設けられて、該天板の上面への接触物又は接近物を検知するタッチスイッチと、
    該タッチスイッチが検知状態にあるか非検知状態にあるかを把握し、把握結果に応じて前記加熱手段の作動を制御する加熱制御手段とを備えたコンロにおいて、
    前記加熱制御手段は、前記加熱手段が停止状態であって、前記タッチスイッチが非検知状態から検知状態に切り換わった後に非検知状態に復帰したときに、前記加熱手段の作動を開始し、
    前記加熱手段が作動状態であって、前記タッチスイッチが非検知状態から検知状態に切り換わったときに、前記加熱手段の作動を停止することを特徴とするコンロ。
  2. 前記タッチスイッチを複数個備え、
    前記加熱制御手段は、前記加熱手段が停止状態であって、複数個のタッチスイッチのうちの予め選択された少なくとも2個のタッチスイッチが、予め設定された順番で、非検知状態から検知状態に切り換わった後に非検知状態に復帰したときに、前記加熱手段の作動を開始することを特徴とする請求項1記載のコンロ。
  3. 前記加熱制御手段は、前記加熱手段が作動状態であって、前記予め選択されたタッチスイッチのうちのいずれかが非検知状態から検知状態に切り換わったときに、前記加熱手段の作動を停止することを特徴とする請求項2記載のコンロ。
  4. 前記天板に設けられた点灯手段と、
    前記加熱手段の作動中に前記点灯手段を点灯させると共に、前記加熱手段が停止状態にあるときに、前記タッチスイッチが非検知状態から検知状態に切り換わったときには、前記加熱制御手段による前記加熱手段の作動開始に先行して、前記点灯手段を点灯させる点灯制御手段とを備えたことを特徴とする請求項1から請求項3のうちいずれか1項記載のコンロ。
JP2004102483A 2004-03-31 2004-03-31 コンロ Pending JP2005291512A (ja)

Priority Applications (6)

Application Number Priority Date Filing Date Title
JP2004102483A JP2005291512A (ja) 2004-03-31 2004-03-31 コンロ
TW094106250A TWI275749B (en) 2004-03-31 2005-03-02 Cookstove
US11/091,701 US7422010B2 (en) 2004-03-31 2005-03-29 Cooking stove
EP05006879A EP1582817A1 (en) 2004-03-31 2005-03-30 Cooking stove
CN2005100637701A CN1677000B (zh) 2004-03-31 2005-03-31 炉具
KR1020050026882A KR100598547B1 (ko) 2004-03-31 2005-03-31 렌지

Applications Claiming Priority (1)

Application Number Priority Date Filing Date Title
JP2004102483A JP2005291512A (ja) 2004-03-31 2004-03-31 コンロ

Publications (1)

Publication Number Publication Date
JP2005291512A true JP2005291512A (ja) 2005-10-20

Family

ID=35324642

Family Applications (1)

Application Number Title Priority Date Filing Date
JP2004102483A Pending JP2005291512A (ja) 2004-03-31 2004-03-31 コンロ

Country Status (3)

Country Link
JP (1) JP2005291512A (ja)
KR (1) KR100598547B1 (ja)
TW (1) TWI275749B (ja)

Cited By (3)

* Cited by examiner, † Cited by third party
Publication number Priority date Publication date Assignee Title
KR100598547B1 (ko) 2004-03-31 2006-07-10 린나이코리아 주식회사 렌지
WO2007058058A1 (ja) * 2005-11-16 2007-05-24 Matsushita Electric Industrial Co., Ltd. 加熱調理器
JP2013029225A (ja) * 2011-07-27 2013-02-07 Mitsubishi Electric Corp 熱機器および該熱機器の操作判定方法

Family Cites Families (6)

* Cited by examiner, † Cited by third party
Publication number Priority date Publication date Assignee Title
US5241463A (en) 1989-06-05 1993-08-31 White Consolidated Industries, Inc. Control system for gas burners
JP2521367B2 (ja) 1990-08-10 1996-08-07 富士工業株式会社 電気調理器のスイッチ装置
US6198080B1 (en) 1999-08-05 2001-03-06 General Electric Company Glass touch cooktop dual element and bridge burner control
ATE407331T1 (de) 1999-10-18 2008-09-15 Pierre Repper Elektronische gaskochherdregelung mit siedeanlage
US7422010B2 (en) 2004-03-31 2008-09-09 Rinnai Corporation Cooking stove
JP2005291512A (ja) 2004-03-31 2005-10-20 Rinnai Corp コンロ

Cited By (4)

* Cited by examiner, † Cited by third party
Publication number Priority date Publication date Assignee Title
KR100598547B1 (ko) 2004-03-31 2006-07-10 린나이코리아 주식회사 렌지
WO2007058058A1 (ja) * 2005-11-16 2007-05-24 Matsushita Electric Industrial Co., Ltd. 加熱調理器
US7947924B2 (en) 2005-11-16 2011-05-24 Panasonic Corporation Cooking device
JP2013029225A (ja) * 2011-07-27 2013-02-07 Mitsubishi Electric Corp 熱機器および該熱機器の操作判定方法

Also Published As

Publication number Publication date
KR20060045154A (ko) 2006-05-16
KR100598547B1 (ko) 2006-07-10
TWI275749B (en) 2007-03-11
TW200535381A (en) 2005-11-01

Similar Documents

Publication Publication Date Title
JP2005315438A (ja) コンロ
JP6707323B2 (ja) ガスコンロ
JP2001141244A (ja) コンロ
JP2005009693A (ja) コンロ
US7335861B2 (en) Cooking stove
JP2005291509A (ja) コンロ
JP4064942B2 (ja) コンロ
US7422010B2 (en) Cooking stove
JP2005291512A (ja) コンロ
JP2005291510A (ja) コンロ
JP3544469B2 (ja) 加熱調理器
JP2005291511A (ja) コンロ
JP4375795B2 (ja) コンロ
JP2005249369A (ja) ガス燃焼調理器具
JP4617466B2 (ja) 加熱調理器
JP6998262B2 (ja) 加熱調理システム
JPH07167428A (ja) 燃焼制御装置

Legal Events

Date Code Title Description
A621 Written request for application examination

Free format text: JAPANESE INTERMEDIATE CODE: A621

Effective date: 20051021

A977 Report on retrieval

Free format text: JAPANESE INTERMEDIATE CODE: A971007

Effective date: 20070521

A131 Notification of reasons for refusal

Free format text: JAPANESE INTERMEDIATE CODE: A131

Effective date: 20070619

A521 Written amendment

Free format text: JAPANESE INTERMEDIATE CODE: A523

Effective date: 20070813

A02 Decision of refusal

Free format text: JAPANESE INTERMEDIATE CODE: A02

Effective date: 20071127