JP2005291309A - 自動変速機制御装置 - Google Patents

自動変速機制御装置 Download PDF

Info

Publication number
JP2005291309A
JP2005291309A JP2004105561A JP2004105561A JP2005291309A JP 2005291309 A JP2005291309 A JP 2005291309A JP 2004105561 A JP2004105561 A JP 2004105561A JP 2004105561 A JP2004105561 A JP 2004105561A JP 2005291309 A JP2005291309 A JP 2005291309A
Authority
JP
Japan
Prior art keywords
hydraulic pressure
hydraulic
friction element
engagement
automatic transmission
Prior art date
Legal status (The legal status is an assumption and is not a legal conclusion. Google has not performed a legal analysis and makes no representation as to the accuracy of the status listed.)
Granted
Application number
JP2004105561A
Other languages
English (en)
Other versions
JP4314522B2 (ja
Inventor
Akira Takagi
章 高木
Current Assignee (The listed assignees may be inaccurate. Google has not performed a legal analysis and makes no representation or warranty as to the accuracy of the list.)
Denso Corp
Original Assignee
Denso Corp
Priority date (The priority date is an assumption and is not a legal conclusion. Google has not performed a legal analysis and makes no representation as to the accuracy of the date listed.)
Filing date
Publication date
Application filed by Denso Corp filed Critical Denso Corp
Priority to JP2004105561A priority Critical patent/JP4314522B2/ja
Priority to US11/074,844 priority patent/US7264573B2/en
Priority to DE102005014510A priority patent/DE102005014510A1/de
Publication of JP2005291309A publication Critical patent/JP2005291309A/ja
Application granted granted Critical
Publication of JP4314522B2 publication Critical patent/JP4314522B2/ja
Anticipated expiration legal-status Critical
Expired - Fee Related legal-status Critical Current

Links

Images

Classifications

    • FMECHANICAL ENGINEERING; LIGHTING; HEATING; WEAPONS; BLASTING
    • F16ENGINEERING ELEMENTS AND UNITS; GENERAL MEASURES FOR PRODUCING AND MAINTAINING EFFECTIVE FUNCTIONING OF MACHINES OR INSTALLATIONS; THERMAL INSULATION IN GENERAL
    • F16HGEARING
    • F16H61/00Control functions within control units of change-speed- or reversing-gearings for conveying rotary motion ; Control of exclusively fluid gearing, friction gearing, gearings with endless flexible members or other particular types of gearing
    • F16H61/12Detecting malfunction or potential malfunction, e.g. fail safe ; Circumventing or fixing failures
    • FMECHANICAL ENGINEERING; LIGHTING; HEATING; WEAPONS; BLASTING
    • F16ENGINEERING ELEMENTS AND UNITS; GENERAL MEASURES FOR PRODUCING AND MAINTAINING EFFECTIVE FUNCTIONING OF MACHINES OR INSTALLATIONS; THERMAL INSULATION IN GENERAL
    • F16HGEARING
    • F16H59/00Control inputs to control units of change-speed- or reversing-gearings for conveying rotary motion
    • F16H59/68Inputs being a function of gearing status
    • F16H2059/683Sensing pressure in control systems or in fluid-controlled devices, e.g. by pressure sensors
    • FMECHANICAL ENGINEERING; LIGHTING; HEATING; WEAPONS; BLASTING
    • F16ENGINEERING ELEMENTS AND UNITS; GENERAL MEASURES FOR PRODUCING AND MAINTAINING EFFECTIVE FUNCTIONING OF MACHINES OR INSTALLATIONS; THERMAL INSULATION IN GENERAL
    • F16HGEARING
    • F16H61/00Control functions within control units of change-speed- or reversing-gearings for conveying rotary motion ; Control of exclusively fluid gearing, friction gearing, gearings with endless flexible members or other particular types of gearing
    • F16H61/12Detecting malfunction or potential malfunction, e.g. fail safe ; Circumventing or fixing failures
    • F16H2061/1204Detecting malfunction or potential malfunction, e.g. fail safe ; Circumventing or fixing failures for malfunction caused by simultaneous engagement of different ratios resulting in transmission lock state or tie-up condition
    • FMECHANICAL ENGINEERING; LIGHTING; HEATING; WEAPONS; BLASTING
    • F16ENGINEERING ELEMENTS AND UNITS; GENERAL MEASURES FOR PRODUCING AND MAINTAINING EFFECTIVE FUNCTIONING OF MACHINES OR INSTALLATIONS; THERMAL INSULATION IN GENERAL
    • F16HGEARING
    • F16H61/00Control functions within control units of change-speed- or reversing-gearings for conveying rotary motion ; Control of exclusively fluid gearing, friction gearing, gearings with endless flexible members or other particular types of gearing
    • F16H61/12Detecting malfunction or potential malfunction, e.g. fail safe ; Circumventing or fixing failures
    • F16H2061/1208Detecting malfunction or potential malfunction, e.g. fail safe ; Circumventing or fixing failures with diagnostic check cycles; Monitoring of failures
    • FMECHANICAL ENGINEERING; LIGHTING; HEATING; WEAPONS; BLASTING
    • F16ENGINEERING ELEMENTS AND UNITS; GENERAL MEASURES FOR PRODUCING AND MAINTAINING EFFECTIVE FUNCTIONING OF MACHINES OR INSTALLATIONS; THERMAL INSULATION IN GENERAL
    • F16HGEARING
    • F16H59/00Control inputs to control units of change-speed- or reversing-gearings for conveying rotary motion
    • F16H59/68Inputs being a function of gearing status
    • YGENERAL TAGGING OF NEW TECHNOLOGICAL DEVELOPMENTS; GENERAL TAGGING OF CROSS-SECTIONAL TECHNOLOGIES SPANNING OVER SEVERAL SECTIONS OF THE IPC; TECHNICAL SUBJECTS COVERED BY FORMER USPC CROSS-REFERENCE ART COLLECTIONS [XRACs] AND DIGESTS
    • Y10TECHNICAL SUBJECTS COVERED BY FORMER USPC
    • Y10STECHNICAL SUBJECTS COVERED BY FORMER USPC CROSS-REFERENCE ART COLLECTIONS [XRACs] AND DIGESTS
    • Y10S477/00Interrelated power delivery controls, including engine control
    • Y10S477/906Means detecting or ameliorating the effects of malfunction or potential malfunction

Landscapes

  • Engineering & Computer Science (AREA)
  • General Engineering & Computer Science (AREA)
  • Mechanical Engineering (AREA)
  • Control Of Transmission Device (AREA)

Abstract

【課題】 摩擦要素に加わる係合側および解放側の両方の液圧不良を検出する自動変速機制御装置を提供する。
【解決手段】 各摩擦要素に加わる油圧は、2個の油圧スイッチ41、42で検出されている。Dレンジにおいて2速から3速に変速する場合、L/C3は係合状態を継続し、H/C5は解放状態から係合状態に移行し、2−4/B4係合状態から解放状態に移行する。この変速制御において、H/C5に加わる油圧が所定よりも早いタイミングで上昇すると、H/C5に加わる油圧を低圧側で検出する油圧スイッチ41がオンになる。このとき2−4/B4に加わる油圧を高圧側で検出する油圧スイッチ42もオンであると、二重係合が生じたと判定する。
【選択図】 図1

Description

本発明は、自動変速機の変速機構を液圧制御する自動変速機制御装置に関する。
従来、車両用等に多く利用されている自動変速機は、各摩擦要素に加わる油圧を油圧制御装置で制御し、各摩擦要素が係合または解放されることにより変速を切り換えている(例えば、特許文献1、2参照)。
また、特許文献1、2では、摩擦要素に加わる油圧を1個の油圧スイッチで検出し、油圧スイッチの検出状態の組み合わせから故障の判定を行っている。特許文献1、2のように、摩擦要素に加わる油圧を1個の油圧スイッチで検出している油圧制御装置を図7に示す。
リバースクラッチ(R/C)1、ローリバースブレーキ(LR/B)2、ロークラッチ(L/C)3、2−4ブレーキ(2−4/B)4、ハイクラッチ(H/C)5は油圧により係合または解放される摩擦要素である。符号11〜15は、各摩擦要素に加わる油圧を切り換える制御手段である。制御手段11〜15は、例えば、電磁弁と、電磁弁の指示圧により油路を切り換えるスプール弁とで構成される。マニュアル弁20は、運転者が操作するセレクトレバー30とワイヤ等で連結している。セレクトレバー30により走行レンジが切り換わると、マニュアル弁20は、走行レンジに応じて制御手段11〜15に供給する油圧をライン圧またはドレイン22の油圧に切り換える。油圧スイッチ40は、各摩擦要素に加わる油圧の検出信号を、設定した検出主圧を閾値としてオン、オフ信号で出力する。
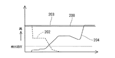
例えば、Dレンジにおいて、図8に示す係合表にしたがって2速から3速に変速を切り換えるとき、図9に示すように、H/C5に加わる油圧205が正常な油圧204よりも早いタイミングで上昇すると、H/C5に加わる油圧を検出する油圧スイッチ40がオンになり、二重係合が生じたと判定できる。図9において、200は、L/C3に加わる油圧を示し、202は解放される2−4/B4に加わる油圧を示している。
特開2001−59570号公報 特開2001−116134号公報
しかしながら、特許文献1、2では、摩擦要素に油圧スイッチを1個だけ設置しているので、各油圧スイッチが検出できる油圧は一種類である。したがって、油圧スイッチ40の検出する検出油圧の設定が図9および図10にように低く、図10に示すように、2−4/B4が解放されず2−4/B4に加わる油圧203が高いままであるときは、故障を判定できないか、二重係合が生じてから二重係合を検出する。逆に検出油圧を高圧に設定すると、図9に示すように、H/C5に加わる油圧205が所定よりも早いタイミングで上昇したときに、二重係合が生じてから二重係合を検出できない。
二重係合に限らず、油圧スイッチで検出する検出油圧が各摩擦要素で低圧側または高圧側の一種類であると、係合側または解放側の一方だけの油圧不良しか検出できない。
本発明は上記問題を解決するためになされたものであり、摩擦要素に加わる係合側および解放側の両方の液圧不良を検出する自動変速機制御装置を提供することを目的とする。
請求項1記載の発明によると、液圧検出手段は、少なくとも摩擦要素に加わる第1液圧と、第1液圧よりも高圧の第2液圧とを検出する。したがって、摩擦要素に加わる係合側および解放側の両方の液圧不良を検出できる。
例えば、高負荷時において、係合液圧の不足により摩擦要素に滑りが生じているとか、請求項2記載の発明のように、解放側また係合側の液圧不良により生じる二重係合の発生を検出することにより、各種故障判定が可能である。
請求項3記載の発明によると、第1液圧は、摩擦要素を解放方向に付勢するリターンスプリング力に相当する液圧またはその近傍液圧であり、第1液圧より高圧の第2液圧は、最大負荷時において摩擦要素の係合に必要な最低液圧またはその近傍液圧である。したがって、摩擦要素が二重係合を起こす前に故障を検出できる。
請求項4記載の発明によると、第2液圧は、最大負荷時において摩擦要素の係合に必要な最低液圧よりも高い液圧であり、全種類の変速において第2液圧よりも低い圧力で変速制御されるため、指令値に対して液圧が低下しない故障を確実に検出でき、摩擦要素が二重係合を起こす前に故障を検出できる。
請求項5記載の発明によると、液圧検出手段は、第1液圧を閾値としてオン、オフ信号を出力する第1液圧スイッチ、ならびに第2液圧を閾値としてオン、オフ信号を出力する第2液圧スイッチを有する。両スイッチが液圧により作動するオン、オフスイッチであるから、液圧検出手段の構成が簡単である。
請求項6記載の発明によると、変速切り換え中に、解放される側の摩擦要素の係合圧が第2液圧以上であることを第2液圧スイッチが検出するとともに、係合される側の摩擦要素の係合圧が第1液圧以上であることを第1液圧スイッチが検出するときに、故障判定手段は二重係合であると判定するようにしたので、誤判定を回避しつつ、確実に二重係合を検出できる。
請求項7記載の発明によると、第1液圧スイッチおよび第2液圧スイッチは並列に接続された並列回路を構成し、第1液圧スイッチおよび第2液圧スイッチのオン、オフ状態を並列回路の合成抵抗値として検出する。したがって、第1液圧スイッチおよび第2液圧スイッチのオン、オフ状態を簡単な回路構成で検出できる。
以下、本発明の実施の形態を図に基づいて説明する。
本発明の自動変速機制御装置の一実施形態を図1に示す。既に説明した図7に示す従来の自動変速機制御装置と実質的に同一構成部分には同一符号を付し、説明を省略する。本実施形態においても、図8に示す係合表にしたがって変速が制御される。
図1に示すように、本実施形態の自動変速機制御装置では、各摩擦要素に加わる油圧を液圧検出手段である2個の油圧スイッチ41、42で検出している。図4に油圧スイッチ41の構成を示す。油圧スイッチ41、42は、スイッチがオンになる検出油圧の値が異なるだけで、実質的な構成は同一である。
ターミナル100、102は、ダイヤフラム104が受ける油圧が検出油圧よりも低いときは導通せず、ダイヤフラム104が受ける油圧が検出油圧よりも高いときに導通する。したがって、油圧スイッチ41は、各摩擦要素に加わる油圧が検出油圧よりも低いとオフ状態になり、検出油圧よりも高いとオン状態になる。油圧スイッチ41が検出する第1液圧としての第1油圧は、各摩擦要素を解放方向に付勢するリターンスプリング力に相当する油圧またはその近傍油圧に設定されている。一方、油圧スイッチ42が検出する第2液圧としての第2油圧は、最大負荷時において摩擦要素の係合に必要な最低油圧またはその近傍油圧に設定されている。
図2に示すように、各摩擦要素に加わる油圧を検出する油圧スイッチ41、42は、抵抗51、52とともに並列回路を形成している。油圧スイッチ41と抵抗51とは直列に接続され、油圧スイッチ42と抵抗52とは直列に接続されている。この並列回路の合成抵抗値は、油圧スイッチ41、42のオン、オフ状態により4通りに変化する。図3に示すように、油圧スイッチ41、42のオン、オフ状態により変化する合成抵抗値に応じて変化する出力電圧Voutと電源電圧Vinとの比Vout/Vinから、故障判定手段であるエンジン制御装置(ECU)60は、油圧スイッチ41、42のオン、オフ状態を検出し、故障判定を行う。
次に、Dレンジにおいて2速から3速に変速する場合の二重係合の検出を例にして故障判定について説明する。
図5に示すように、H/C5に加わる油圧205が所定よりも早いタイミングで上昇すると、H/C5に加わる油圧を低圧側で検出する油圧スイッチ41がオンになる。このとき、2−4/B4に加わる油圧を高圧側で検出する油圧スイッチ42もオンであると、ECU60は二重係合が生じたと判定する。
また、図6に示すように、Dレンジにおいて2速から3速に変速するときに、2−4/B4が解放されず2−4/B4に加わる油圧203が高いままであるときは、タイマ等で所定タイミングを設定することにより、H/C5に加わる油圧204が第1油圧に達し油圧スイッチ41がオンになる前に、2−4/B4に加わる油圧を高圧側で検出する油圧スイッチ42がオンのままであることを検出し、二重係合であると判定する。
以上説明した上記実施形態では、各摩擦要素に加わる油圧を2個の油圧スイッチで低圧側および高圧側の両方で検出することにより、変速切り換え中に、係合側および解放側の両方の摩擦要素に加わる油圧の不良を検出できる。
また、上記実施形態では、二重係合を起こす以外の摩擦要素、例えばR/C1に加わる油圧も2個の油圧スイッチ41、42で検出している。これにより、高圧側に設定される油圧スイッチ42の検出油圧を、最大負荷で運転するときに必要な最低油圧よりも高くすることにより、高負荷時に係合すべき摩擦要素が油圧不足により滑っていることを検出できる。
また、油圧スイッチ41、42のオン、オフ状態の組み合わせを、油圧スイッチ41、42および抵抗51、52からなる並列回路の合成抵抗値に応じて変化する出力電圧Voutから検出するので、油圧スイッチ41、42のオン、オフ状態の組み合わせを検出するためにECU60に入力する信号線は1本でよい。したがって、検出信号の本数が減少し、配線が容易になる。
(他の実施形態)
上記実施形態では、液圧検出手段としての油圧スイッチ41、42により、摩擦要素に加わる油圧を低圧側および高圧側に設定した二種類の検出油圧を基準として検出したが、液圧検出手段としては、摩擦要素に加わる油圧を、油圧の異なる3種類以上に設定した検出油圧を基準として検出してもよい。
上記実施形態では、油圧スイッチ41の検出油圧を、各摩擦要素を解放方向に付勢するリターンスプリング力に相当する油圧またはその近傍油圧に設定し、油圧スイッチ42の検出油圧を、最大負荷時において摩擦要素の係合に必要な最低油圧またはその近傍油圧に設定して二重係合を検出したが、油圧スイッチ41、42の検出油圧を上記値の範囲外に設定して二重係合を検出してもよい。
また上記実施形態では、タイマ等で所定タイミングを設定することにより、図6においてH/C5に加わる油圧204が第1油圧に達し二重係合が発生する前に、故障と判定しているが、図6において油圧204が第1油圧に達し油圧スイッチ41、42がともにオンになったときに故障と判定してもよい。
上記実施形態では、全ての摩擦要素に加わる油圧を2個の油圧スイッチ41、42で検出する構成を採用しているが、二重係合を起こす摩擦要素にだけそれぞれ2個の油圧スイッチを設けてもよい。
また、油圧スイッチ41、42のオン、オフ状態の組み合わせを、油圧スイッチ41、42および抵抗51、52からなる並列回路の合成抵抗値を元に検出したが、油圧スイッチ41、42の出力をそのままECU60に入力して油圧スイッチ41、42のオン、オフ状態の組み合わせを検出してもよい。
本発明の一実施形態による自動変速機制御装置を示す油圧回路図である。 本実施形態による油圧スイッチを用いた回路構成図である。 油圧スイッチのオン、オフ状態の組み合わせと合成抵抗値との関係を示す説明図である。 (A)は油圧スイッチのオフ時の状態を示す模式的断面図であり、(B)は油圧スイッチのオン時の状態を示す模式的断面図である。 本実施形態の係合側故障時の変速制御を示す特性図である。 本実施形態の解放側故障時の変速制御を示す特性図である。 従来の自動変速機制御装置を示す油圧回路図である。 各変速段における摩擦要素の係合状態を示す説明図である。 従来の係合側故障時の変速制御を示す特性図である。 従来の解放側故障時の変速制御を示す特性図である。
符号の説明
1 R/C(摩擦要素)、2 LR/B(摩擦要素)、3 L/C(摩擦要素)、4 2−4/B(摩擦要素)、5 H/C(摩擦要素)、41、42 油圧スイッチ(液圧検出手段)、60 ECU(故障判定手段)

Claims (7)

  1. 複数の摩擦要素の係合および解放を制御することにより変速を切り換える自動変速機制御装置において、
    少なくとも一つの前記摩擦要素に加わる液圧を検出する液圧検出手段と、
    前記液圧検出手段の検出信号により故障を判定する故障判定手段と、
    を備え、
    前記液圧検出手段は、少なくとも摩擦要素に加わる第1液圧と、前記第1液圧よりも高圧の第2液圧とを検出し、前記故障判定手段は、前記液圧検出手段が検出する前記第1液圧および前記第2液圧の検出信号に基づき故障を判定することを特徴とする自動変速機制御装置。
  2. 前記液圧制御手段は、前記複数の摩擦要素のうち二重係合を起こす摩擦要素に加わる液圧を検出し、前記故障判定手段は前記液圧検出手段が検出する前記第1液圧および前記第2液圧の検出信号に基づき二重係合を判定することを特徴とする請求項1記載の自動変速機制御装置。
  3. 前記第1液圧は、前記摩擦要素を解放方向に付勢するリターンスプリング力に相当する液圧またはその近傍液圧であり、前記第2液圧は、最大負荷時において前記摩擦要素の係合に必要な最低液圧またはその近傍液圧であることを特徴とする請求項2記載の自動変速機制御装置。
  4. 前記第2液圧は、前記最大負荷時において前記摩擦要素の係合に必要な最低液圧よりも高い液圧であることを特徴とする請求項3記載の自動変速機制御装置。
  5. 前記液圧検出手段は、前記第1液圧を閾値としてオン、オフ信号を出力する第1液圧スイッチ、ならびに前記第2液圧を閾値としてオン、オフ信号を出力する第2液圧スイッチを有することを特徴とする請求項1から4のいずれか一項記載の自動変速機制御装置。
  6. 変速切り換え中に、解放される側の摩擦要素の係合圧が前記第2液圧以上であることを前記第2液圧スイッチが検出するとともに、係合される側の摩擦要素の係合圧が前記第1液圧以上であることを前記第1液圧スイッチが検出するときに、前記故障判定手段は二重係合であると判定することを特徴とする請求項5記載の自動変速機制御装置。
  7. 前記第1液圧スイッチおよび前記第2液圧スイッチは並列に接続された並列回路を構成し、前記故障判定手段は、前記第1液圧スイッチおよび前記第2液圧スイッチのオン、オフ状態を前記並列回路の合成抵抗値として検出することを特徴とする請求項5または6記載の自動変速機制御装置。
JP2004105561A 2004-03-31 2004-03-31 自動変速機制御装置 Expired - Fee Related JP4314522B2 (ja)

Priority Applications (3)

Application Number Priority Date Filing Date Title
JP2004105561A JP4314522B2 (ja) 2004-03-31 2004-03-31 自動変速機制御装置
US11/074,844 US7264573B2 (en) 2004-03-31 2005-03-09 Automatic transmission control apparatus having diagnostic function
DE102005014510A DE102005014510A1 (de) 2004-03-31 2005-03-30 Steuergerät für ein Automatikgetriebe mit Diagnosefunktion

Applications Claiming Priority (1)

Application Number Priority Date Filing Date Title
JP2004105561A JP4314522B2 (ja) 2004-03-31 2004-03-31 自動変速機制御装置

Publications (2)

Publication Number Publication Date
JP2005291309A true JP2005291309A (ja) 2005-10-20
JP4314522B2 JP4314522B2 (ja) 2009-08-19

Family

ID=35034290

Family Applications (1)

Application Number Title Priority Date Filing Date
JP2004105561A Expired - Fee Related JP4314522B2 (ja) 2004-03-31 2004-03-31 自動変速機制御装置

Country Status (3)

Country Link
US (1) US7264573B2 (ja)
JP (1) JP4314522B2 (ja)
DE (1) DE102005014510A1 (ja)

Cited By (3)

* Cited by examiner, † Cited by third party
Publication number Priority date Publication date Assignee Title
KR100838120B1 (ko) 2007-04-30 2008-06-13 현대 파워텍 주식회사 유압스위치를 이용한 변속단 감지 장치 및 방법
JP2010084874A (ja) * 2008-09-30 2010-04-15 Aisin Aw Co Ltd 自動変速機の制御装置
CN104913046A (zh) * 2014-03-10 2015-09-16 本田技研工业株式会社 自动变速器

Families Citing this family (6)

* Cited by examiner, † Cited by third party
Publication number Priority date Publication date Assignee Title
US7766493B2 (en) 2004-07-29 2010-08-03 Luminoz, Inc. Optical display device with asymmetric viewing area
JP4887677B2 (ja) * 2005-07-19 2012-02-29 トヨタ自動車株式会社 車両用自動変速機の油圧制御装置
US8113988B2 (en) * 2008-04-04 2012-02-14 GM Global Technology Operations LLC Hydraulic control module for vehicle transmission and diagnostic detection method for the same
JP4539772B2 (ja) * 2008-10-10 2010-09-08 トヨタ自動車株式会社 レンジ判定装置
US8543279B2 (en) * 2009-11-10 2013-09-24 GM Global Technology Operations LLC System and method for detecting and responding to pressure losses in a hydraulic automatic transmission
CN102050109B (zh) * 2009-11-10 2014-04-02 通用汽车环球科技运作公司 检测并响应液压自动变速器中的压力损失的系统和方法

Family Cites Families (3)

* Cited by examiner, † Cited by third party
Publication number Priority date Publication date Assignee Title
EP0691487B1 (en) * 1994-07-07 1998-12-30 Hyundai Motor Company Electronic and hydraulic control system of a 4-speed automatic transmission for automotive vehicle
JP3736604B2 (ja) * 1999-08-20 2006-01-18 ジヤトコ株式会社 自動変速機の故障時変速制御装置
JP3695257B2 (ja) 1999-10-19 2005-09-14 日産自動車株式会社 直動バルブ式自動変速機のフェールセーフシステム

Cited By (4)

* Cited by examiner, † Cited by third party
Publication number Priority date Publication date Assignee Title
KR100838120B1 (ko) 2007-04-30 2008-06-13 현대 파워텍 주식회사 유압스위치를 이용한 변속단 감지 장치 및 방법
JP2010084874A (ja) * 2008-09-30 2010-04-15 Aisin Aw Co Ltd 自動変速機の制御装置
CN104913046A (zh) * 2014-03-10 2015-09-16 本田技研工业株式会社 自动变速器
JP2015169311A (ja) * 2014-03-10 2015-09-28 本田技研工業株式会社 自動変速機

Also Published As

Publication number Publication date
US7264573B2 (en) 2007-09-04
US20050221954A1 (en) 2005-10-06
DE102005014510A1 (de) 2005-10-20
JP4314522B2 (ja) 2009-08-19

Similar Documents

Publication Publication Date Title
JP3736604B2 (ja) 自動変速機の故障時変速制御装置
KR101453560B1 (ko) 자동 변속기 및 자동 변속기의 인터로크 판정 방법
US8359135B2 (en) Control apparatus for automatic transmission
WO1997000391A1 (en) Control device for an automatic transmission
JP4314522B2 (ja) 自動変速機制御装置
JP3691691B2 (ja) 自動変速機の故障検出装置
US5611749A (en) Electronic and hydraulic control system of a 4-speed automatic transmission for automotive vehicle and method for controlling hydraulic pressure
JP2008064177A (ja) 自動変速機の停車時故障制御装置
JPH0640272A (ja) エンジン・自動変速機の制御装置
JP4607040B2 (ja) 自動変速機の変速制御装置
JP2007085470A (ja) 自動変速機の故障時制御装置
CN100532893C (zh) 具有变速杆位置感应器的自动变速控制系统
CN110753807B (zh) 换档装置的异常诊断装置及换档装置的异常诊断方法
JP2658717B2 (ja) シフトバイワイヤ自動変速機用変速制御装置
JP4671162B2 (ja) 自動変速機の制御装置
JP2009243615A (ja) 自動変速機の作動油圧制御装置及びそのフェールセーフ弁の故障判定方法
JP2009257424A (ja) 変速機の故障診断装置および故障診断方法
JP4529123B2 (ja) 自動変速機用故障検出装置
JP4552643B2 (ja) 自動変速機の変速衝撃低減方法
JP3071609B2 (ja) 自動変速機の変速制御装置
JP4775619B2 (ja) 自動変速機の制御装置
KR100372448B1 (ko) 차량용 자동 변속기의 변속 제어 방법
US7412907B2 (en) Range recognition apparatus for automatic transmission
KR100200098B1 (ko) 자동변속기 고장시 2,3단 또는 3,4단으로 주행하는 장치
JP4930213B2 (ja) 自動変速機の異常診断装置及び自動変速制御システム

Legal Events

Date Code Title Description
RD04 Notification of resignation of power of attorney

Free format text: JAPANESE INTERMEDIATE CODE: A7424

Effective date: 20060424

A621 Written request for application examination

Free format text: JAPANESE INTERMEDIATE CODE: A621

Effective date: 20060524

A977 Report on retrieval

Free format text: JAPANESE INTERMEDIATE CODE: A971007

Effective date: 20081219

A131 Notification of reasons for refusal

Free format text: JAPANESE INTERMEDIATE CODE: A131

Effective date: 20090107

A521 Request for written amendment filed

Free format text: JAPANESE INTERMEDIATE CODE: A523

Effective date: 20090302

TRDD Decision of grant or rejection written
A01 Written decision to grant a patent or to grant a registration (utility model)

Free format text: JAPANESE INTERMEDIATE CODE: A01

Effective date: 20090423

A01 Written decision to grant a patent or to grant a registration (utility model)

Free format text: JAPANESE INTERMEDIATE CODE: A01

A61 First payment of annual fees (during grant procedure)

Free format text: JAPANESE INTERMEDIATE CODE: A61

Effective date: 20090506

R150 Certificate of patent or registration of utility model

Free format text: JAPANESE INTERMEDIATE CODE: R150

FPAY Renewal fee payment (event date is renewal date of database)

Free format text: PAYMENT UNTIL: 20120529

Year of fee payment: 3

FPAY Renewal fee payment (event date is renewal date of database)

Free format text: PAYMENT UNTIL: 20120529

Year of fee payment: 3

FPAY Renewal fee payment (event date is renewal date of database)

Free format text: PAYMENT UNTIL: 20130529

Year of fee payment: 4

FPAY Renewal fee payment (event date is renewal date of database)

Free format text: PAYMENT UNTIL: 20140529

Year of fee payment: 5

LAPS Cancellation because of no payment of annual fees