JP2004204502A - 屋根機能パネルの取り付け構造 - Google Patents
屋根機能パネルの取り付け構造 Download PDFInfo
- Publication number
- JP2004204502A JP2004204502A JP2002373196A JP2002373196A JP2004204502A JP 2004204502 A JP2004204502 A JP 2004204502A JP 2002373196 A JP2002373196 A JP 2002373196A JP 2002373196 A JP2002373196 A JP 2002373196A JP 2004204502 A JP2004204502 A JP 2004204502A
- Authority
- JP
- Japan
- Prior art keywords
- base plate
- roof
- base
- corrugated
- functional panel
- Prior art date
- Legal status (The legal status is an assumption and is not a legal conclusion. Google has not performed a legal analysis and makes no representation as to the accuracy of the status listed.)
- Granted
Links
- 239000002184 metal Substances 0.000 claims abstract description 17
- 230000002093 peripheral effect Effects 0.000 claims abstract 2
- 238000009434 installation Methods 0.000 claims description 2
- XLYOFNOQVPJJNP-UHFFFAOYSA-N water Substances O XLYOFNOQVPJJNP-UHFFFAOYSA-N 0.000 abstract description 13
- 238000010899 nucleation Methods 0.000 abstract 1
- 238000010276 construction Methods 0.000 description 8
- 230000007797 corrosion Effects 0.000 description 4
- 238000005260 corrosion Methods 0.000 description 4
- 230000000052 comparative effect Effects 0.000 description 2
- 230000007547 defect Effects 0.000 description 2
- 239000000463 material Substances 0.000 description 2
- 238000012856 packing Methods 0.000 description 2
- 230000000149 penetrating effect Effects 0.000 description 2
- 238000004078 waterproofing Methods 0.000 description 2
- 230000000694 effects Effects 0.000 description 1
- JEIPFZHSYJVQDO-UHFFFAOYSA-N iron(III) oxide Inorganic materials O=[Fe]O[Fe]=O JEIPFZHSYJVQDO-UHFFFAOYSA-N 0.000 description 1
- 230000013011 mating Effects 0.000 description 1
- 230000035699 permeability Effects 0.000 description 1
- 239000010454 slate Substances 0.000 description 1
- 239000002689 soil Substances 0.000 description 1
Images
Landscapes
- Roof Covering Using Slabs Or Stiff Sheets (AREA)
- Photovoltaic Devices (AREA)
Abstract
【解決手段】左右方向に山部15と谷部16とを交互に設けた金属の波板状のベース板1を屋根瓦6の上に載設する。金属の固定フレーム17をベース板1の山部15上にベース板1の左右方向に亙るように載置する。固定フレーム17から固着具18をベース板1の山部15、屋根瓦6を介して屋根下地13まで打設して固定フレーム17とベース板1とを固定する。固定フレーム17を介してベース板1上に太陽電池パネル8、太陽熱集熱パネル、緑化パネル26等の屋根機能パネルAを載置する。ベース板1に固定した取り付け金具3で屋根機能パネルAの周縁を取り付ける。
【選択図】 図1
Description
【発明の属する技術分野】
本発明は、屋根の屋根瓦の上に太陽電池パネル、太陽熱集熱パネル、緑化パネル等の屋根機能パネルを取り付ける構造に関するものである。
【0002】
【従来の技術】
従来、太陽電池パネルを屋根の屋根瓦の上に設置する一例としては、例えば、図15に示すものがある。金属にて矩形状に形成せる平板状のベース板1′の四隅に図15(a)に示すように取り付け孔2を穿孔し、この取り付け孔2に取り付け金具3をビスにて図15(b)に示すように取着する。次いでこのベース板1′を平板瓦のような屋根瓦を葺いた屋根面上に載せ、ベース板1′に予め設けたスリット状の固定孔から釘、ビス等の固着具4を屋根下地まで打入して固定する。この際、屋根面上に複数枚のベース板1′が並べて敷設されるが、屋根面の軒棟方向に隣り合うベース板1′は重ね合わせで止水され、左右に隣り合うベース板1′間はジョイナーまたは捨て板金等を用いて止水される。固着具4を打入した部分はカバー材5で図15(c)に示すように覆われる。ベース板1′の棟側の端部とこれより棟側の屋根瓦6との間は水切り板7で止水される。このようにベース板1′を屋根面上に取り付けた状態で各ベース板1′の上には夫々太陽電池パネル8が配置され、ベース板1′に夫々太陽電池パネル8が取り付けられる。
【0003】
また従来、太陽電池パネルを屋根の屋根瓦上に設置する他の例としては、図16に示すものがある(例えば、特許文献1参照)。これは矩形状の枠組したフレーム部材9に太陽電池パネル8を嵌め込んで装着してあり、フレーム部材9の四隅に下方に突出する脚部10を設けてあり、脚部10の部分では上面から脚部10の下端まで至るように取り付け孔11を穿孔してある。そして脚部10の下端を屋根面に載置することでフレーム部材9を屋根面上に設置し、取り付け孔11から固定ねじ12を挿通して屋根瓦6の下の屋根下地13まて固定ねじ12を螺合してフレーム部材9を固定している。
【0004】
【特許文献1】
特開平11−131734号公報
【0005】
【発明が解決しようとする課題】
上記の図15に示す従来例の場合、平板瓦のような屋根瓦6を葺くことにより軒棟方向に隣り合う屋根瓦6間に屋根瓦6の厚み分の段差がある屋根面上にベース板1′を載設するためにベース板1にはある程度の剛性が必要であるが、上記従来例のベース板1は単なる平板状であるために剛性があまりない。平板状のベース板1′に剛性を持たせるには板厚を増加させるなどしなければならないが、板厚を増加させると、部材のコストを増したり重量を増したりするという問題がある。また平板状のベース板1′を屋根面に設置した場合、ベース板1′と屋根面との間の水はけが悪く、汚れ、腐食の原因となるという問題がある。また平板状のベース板1′では左右に隣り合うベース板1′間の止水をする構造が複雑になるという問題がある(平板間はジョイナーまたは捨て板金などを用いて止水を確保する必要がある)。
【0006】
また上記の図16に示す従来例の場合、脚部10でフレーム部材9が屋根面より上に浮くように取り付けられるために太陽電池パネル8やフレーム部材9との間に隙間ができて水はけがよいが、脚部10でフレーム部材9全体を浮かせて支持する構造のためにフレーム部材9には剛性を要し、フレーム部材9の重量が重くなるという問題ある。また取り付け孔11から挿通した固定ねじ12を屋根瓦6を介して屋根下地13まで螺合しているが、このようにして固定した場合、フレーム部材9の上から取り付け孔11や固定ねじ12を介して屋根下地13まで雨水が浸入し、屋根下地を腐らせるおそれがある。
【0007】
本発明は上記の点に鑑みてなされたものであり、剛性の高いベース板にて安定よく支持でき、しかもベース板と屋根面との間からの水はけをよくでき、さらに複数のベース板の接続を容易にでき、さらに屋根下地に水が浸入しないうように取り付けることができる屋根機能パネルの取り付け構造を提供することを課題とするものである。
【0008】
【課題を解決するための手段】
上記課題を解決するための本発明の屋根機能パネルの取り付け構造は、左右方向に山部15と谷部16とを交互に設けた金属の波板状のベース板1を屋根瓦6の上に載設し、山部15や谷部16の長手方向と直交する方向に長手方向が向く金属の固定フレーム17をベース板1の山部15上にベース板1の左右方向に亙るように載置し、固定フレーム17からビス、釘等の固着具18をベース板1の山部、屋根瓦6を介して屋根下地13まで打設して固定フレーム17とベース板1とを固定し、固定フレーム17を介してベース板1上に太陽電池パネル8、太陽熱集熱パネル、緑化パネル26等の屋根機能パネルAを載置し、ベース板1に固定した取り付け金具3で屋根機能パネルAの周縁を固定したことを特徴とする。上記のように山部15と谷部16を交互に設けた金属の波板状のベース板1を用いていることにより板厚を厚くしたりすることなくベース板1の剛性を上げることができ、コストを削減しながら必要な強度が得られると共に、ベース板1の重量を軽減できて施工性が向上できる。ベース板1は波板状であるためにベース板1と屋根面との水はけがよくてベース板1と屋根面との間に水が溜まらず汚れや腐食の問題を発生しないようにできる。固定フレーム17からビス、釘等の固着具18をベース板1の山部15、屋根瓦6を介して屋根下地13に打設してベース板1を固定するために固着具18を打入する部分から屋根下地13に雨水が浸入するおそれがないものであり、しかも固定フレーム17上に載設した屋根機能パネルAはベース板1に固定した取り付け金具3で取り付けるために屋根機能パネルAを固定する部分から雨水が一切浸入するおそれのないものであり、屋根下地13や小屋裏に雨水が浸入して腐食したりするおそれがない。
【0009】
また波板状のベース板1を左右に複数枚並べ、左右に隣り合うベース板1間で左右のベース板1の波板形状を互い重ね合わせて接続したことを特徴とすることも好ましい。このように左右に隣り合うベース板1の左右の端部を重ね合わせることにより防水的に接続できる。
【0010】
また波板状のベース板1を軒棟方向に複数枚並べ、軒棟方向に隣り合うベース板1間で両ベース板1の波板形状を互いに重ね合わせて接続したことを特徴とすることも好ましい。このようにすることにより、軒棟方向に隣り合うベース板1の端部間を防水的に接続できると共に軒棟方向に隣り合うベース板1を左右方向に容易に位置決めできる。
【0011】
またベース板1の左右方向の端部の少なくとも1つの山部15を越えた内側の位置で固定フレーム17からビス、釘等の固着具18をベース板1の山部15、屋根瓦6を介して屋根下地13まで打設したことを特徴とすることも好ましい。この場合、ベース板1の左右方向の端部から離れた位置で固着具18を打設することにより、固着具18を打設する位置まで水が浸入しにくく、固着具18を打入した部分から一層屋根下地13や小屋裏に雨水が浸入するおそれがなくなる。
【0012】
また左右に隣り合うベース板1の互いに重ね合わせた部分を固定フレーム17で押さえたことを特徴とすることも好ましい。この場合、左右に隣り合うベース板1を重ね合わせた部分を固定フレーム17で押さえて左右のベース板1間を一層防水的に接続できる。
【0013】
また波板状のベース板1の谷部16の上面に凹凸19を設けたことを特徴とすることも好ましい。この場合、施工者がベース板1上に乗ったとき足裏を滑りにくくでき、施工者の滑落を防止できる。
【0014】
また波板状のベース板1の軒棟方向の端部に谷部18の底部と面一の平面部20を左右方向に亙って設け、軒側の平面部20の軒側端に軒側の平面部20と棟側の平面部20との間の波板形状と同じ波板形状の部分を設けたことを特徴とすることも好ましい。このようにしたことで、ベース板1とこのベース板1より軒先側の屋根瓦6との間及びこのベース板1より棟側の屋根瓦6との間への強風時の雨水の吹き込みを防止できる。またベース板1の山部15の強度が向上するためにビス、釘等の固着具18による固着時における山部15の潰れを防止できる。
【0015】
【発明の実施の形態】
金属板で形成せるベース板1は全体は矩形状であるが、左右方向に山部15と谷部16とが交互に設けてある。本例の場合、山部15や谷部16は台形状に形成されており、山部15や谷部16は軒棟方向に亙るように設けてある。このベース板1の軒棟方向の端部の適所には取り付け金具3が装着されている。この取り付け金具3は山部15の位置で装着されるものであり、山部15に取り付け金具3の下面を沿わせ、下からビスのような固着具23を打入したりして固定される。
【0016】
取り付け金具3には図8に示すように軒先側に取り付けられる軒側取り付け金具3aと棟側に取り付けられる棟側取り付け金具3bとがあり、軒側取り付け金具3aにはコ字状の嵌合溝30を設けてあり、棟側取り付け金具3bには断面L字状の段部31を設けてある。
【0017】
屋根は野地板のような屋根下地13の上にスレート製の平板瓦のような屋根瓦6を図1に示すように軒側から棟側に順に葺いてある。ここで符号Bで示す部分は屋根瓦6の曝露部、符号Cで示す部分は被曝露部である。このように屋根瓦6を葺いた屋根面の上に図1に示すようにベース板1が載置して取り付けられる。ベース板1を取り付けるとき、図2に示すようにチャンネル状の固定フレーム17がベース板1の山部15の上面上に載置される。本例の場合、ベース板1の軒側と棟側とに夫々載置されると共にベース板1の左右方向に亙るように載置される。固定フレーム17を載せた状態で固定フレーム17から図6に示すようにビス、釘等の固着具18が打入され、固着具18が山部15、屋根瓦6を貫通して屋根下地13まで打入され、固定フレーム17でベース板1を押さえるように固定される。このとき、固着具18を貫通させた部分には防水のためにコーキングが施される。
【0018】
屋根面にベース板1を設置するとき図3に示す屋根面の左右方向及び軒棟方向に複数枚のベース板1が並ぶように設置される。左右に隣り合うベース板1間は一方のベース板1の端部の山部15と他方のベース板1の端部の山部15とを密着するように重ね合わせて接続される。軒棟方向に隣り合うベース板1は軒側に位置するベース板1の棟側の端部に棟側に位置するベース板1の軒側の端部を重ねると共に両ベース板1の山部15同士及び谷部16同士を重ねるように接続される。
このように複数枚のベース板1を取り付け状態で各ベース板1の上には夫々固定フレーム17が載置され、固定フレーム17から夫々固着具18を打入してベース板1が固定される。
【0019】
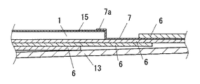
ベース板1とこのベース板1より棟側の屋根瓦6との間は水切り板7で図4、図7に示すように仕舞われる。水切り板7の棟側は軒棟方向に隣り合う屋根瓦9間に差し込まれ、水切り板7の軒側の断面逆L字状の重ね合わせ部7aをベース板1の棟側の端部に重ね合わせてある。屋根機能パネルAとしては本例の場合、太陽電池パネル8が用いられるものであって、各ベース板1の上に太陽電池パネル8が載置され、太陽電池パネル8が図5、図8に示すように取り付け金具3にて取り付けられる。
【0020】
太陽電池パネル8の軒側の端部は軒側取り付け金具3aの嵌合溝30にパッキン材32を介して嵌合してあり、太陽電池パネル8の棟側の端部はパッキン材32を介して段部31に嵌めてある。最も軒側に装着した軒側取り付け金具3aには軒側を全長に亙って覆う軒先側カバー33を配置してあり、ビスのような固着具34にて取り付けてある。最も棟側に装着した棟側取り付け金具3bには棟側を全長に亙って覆う棟側カバー35を配置してあり、この棟側カバー35を固着具34にて棟側取り付け金具3bに取り付けてある。この棟側カバー35は段部31の上方を覆っており、これにより段部31から太陽電池パネル8が脱落しないように止めている。棟側と軒側の中間部では棟側取り付け金具3bと軒側取り付け金具3aとに亙って覆う中間部カバー36を固着具34にて取り付けてあり、この中間部カバー36にて段部31の上方を覆っており、これにより段部31から太陽電池パネル8が脱落しないように止めている。
【0021】
上記のようにして屋根機能パネルAとしての太陽電池パネル8が取り付けられるが、ベース板1として波板形状に成形した板金を用いることで、コストを削減しながら必要な強度が得られる。またベース板1として波板形状に成形した板金を用いることで、ベース板1同士のジョイント(軒棟方向及び左右方向)が重ね合わせて防水を確保でき、施工上やコスト面において非常に有利である。またベース板1として波板形状に成形した板金を用いることで太陽電池パネル8のような屋根機能パネルAを取り付けるための取り付け金具3をベース板1の裏面から直接ビスのような固着具23にて固定することが可能になる。またベース板1を波形形状の板金としたことによりベース板1の重量を軽減でき、施工性が向上する。ベース板1は波板状であるためにベース板1と屋根面との水はけがよくてベース板1と屋根面との間に水が溜まらず汚れや腐食の問題を発生しないようにできる。固定フレーム17からビス、釘等の固着具18をベース板1の山部15、屋根瓦6を介して屋根下地13に打設してベース板1を固定するために固着具18を打入する部分から屋根下地13に雨水が浸入するおそれがないものであり、しかも固定フレーム17上に載設した屋根機能パネルAはベース板1に固定した取り付け金具3で取り付けるために屋根機能パネルAを固定する部分から雨水が一切浸入するおそれのないものであり、屋根下地13や小屋裏に雨水が浸入して腐食したりするおそれがない。
【0022】
またベース板1を固着具18で固着するとき、図9(a)のような構造を採用することも好ましい。ベース板1の山部15の上に固定フレーム17を載せ、固定フレーム17からベース板1、屋根瓦6を介して屋根下地13まで固着具18を打入してベース板が固着されるが、このとき左右方向の端部の1つの山部15より内側の山部15の部分で固着具18を打入している。図9(b)に示すようにベース板1の左右方向の端部に位置する山部15で固着具18を打入して固着すると図9(b)の矢印aのように固着具18を打入した部分から雨水が浸入するおそれがあるが、端部の1山より内側の山部15で固着具18を打入して固着すると、そのようなおそれがなくなる。
【0023】
またベース板1を固着具18で固着するとき、図10(a)のような構造を採用することも好ましい。左右方向に隣り合うベース板1間で端部の山部15同士を重ね合わせるが、この山部15同士を重ね合わせた部分より内側の山部15の位置で固定フレーム17からベース板1、屋根瓦6を介して屋根下地13まで固着具18を打入してベース板1を固定している。図10(b)に示すようにベース板1の端部の山部15同士を重ね合わせて部分に固着グ8を打入すると、ベース板1を重ね合わせた部分に毛細管現象で浸入した雨水が図10(b)の矢印bに示すように固着具18を打入した部分から浸入するおそれがあるが、山部15同士を重ね合わせた部分より内側の山部15の部分で固着具18を打入するとそのようなおそれがなくなる。また隣り合うベース板1の山部15を互いに重ね合わせた部分を固定フレーム17で押さえており、左右に隣り合うベース板1を重ね合わせた部分を固定フレーム17で押さえて左右のベース板1間を一層防水的に接続できるようになっている。
【0024】
またベース板1に図11に示すような構造を採用することも好ましい。この場合、ベース板1の谷部16の上面に凹凸19を設けてある。このようにベース板1の谷部16の上面に凹凸19を設けてあると、施工者が乗った場合においても滑りにくくなり、滑落を防止できる。またベース板1同士の滑りも防止できる。またベース板1と屋根瓦6とが密着する部分に、台風時などに雨水がその隙間に吹き込んだ場合においても、凹凸19にて密着部分に水が溜まりにくくなり、ベース板1に錆が生じにくくなる。また上記のようにベース板1と屋根瓦6との間に水が溜まりにくくなるため、屋根瓦6の固定具(ビス、釘等)に欠陥があった場合やベース板1の固着具18を打入した貫通穴に欠陥があった場合でも屋根下地13や小屋裏に漏水するおそれを防止できる。また棟側の水切り板7で接続する箇所も同様に雨水の吹き込みを防止できる。
【0025】
またベース板1は図12に示すような構造を採用することも好ましい。ベース板1に山部15と谷部16を左右方向に交互に設けるとき、軒側及び棟側を端部を除いて設けてある。ベース板1の軒側と棟側とに左右方向に亙って谷部16と面一の平面部20を設けると共に軒側の平面部20と棟側の平面部20との間に軒棟方向に亙って山部15と谷部16とを設けてある。そして軒側の平面部20の軒側端には上記山部15と谷部16とからなる波板形状と同じ波板形状にしてり、軒棟方向の長さの短い山部15′と谷部16′を左右方向に交互に設けてある。このベース板15には取り付け金具3を取着する場合、山部15の棟側の端部の近傍と山部15′にビス等の固着具23で取り付けてある。
【0026】
このような構造のベース板1も図13(a)に示すように屋根瓦6を吹いた屋根面の上にベース板1が載置され、図13(b)に示すようにベース板1の上に固定フレーム17が載置され、固定フレーム17から固着具18が打入されて固定される。そして図13(c)に示すように複数枚のベース板1が左右方向及び軒棟方向に並べて敷設され、左右に隣り合うベース板1の端部の同士は重ね合わせられ、軒棟方向に隣り合うベース板1の平面部20同士は重ね合わせられる。平面部20の重ね合わせたとき、山部15の棟側端部に山部15′が重ね合わせられる。次いで図13(d)に示すように水切り板7でベース板1の棟側が仕舞われ、図13(e)に示すようにベース板1の上に屋根機能パネルAとしての太陽電池パネル8が取り付け金具3にて取り付けられる。
【0027】
上記のように軒棟方向の端部が平面部20とし、平面部20間を山部15と谷部16からなる波板形状としたことにより、軒先側に設置するベース板1の軒先端と屋根瓦6との間に強風時に雨水が入り込むのを防止でき、また水切り板7で仕舞う箇所にも同様に雨水の吹き込みを防止できる。また軒棟方向の端部を平面部20とし、平面部20間を山部15と谷部16からなる波板形状としたことにより、山部15の強度が向上するため、固定フレーム17で押さえて固定した際、
固着具18の締め付けによる山部15の潰れを防止できる。また軒先側の平面部20の軒先端に山部15′を設けたことにより、軒側が平面部20であっても山部15′を利用して取り付け金具3をビスのような固着具23にて山部15′の裏面側から固定が可能になり、また山部15′と谷部16′を設けたことにより、軒棟方向に隣り合うベース板1の位置決めが容易になり、施工性や施工精度が向上する。
【0028】
上記の例では屋根機能パネルAとして太陽電池パネル8を取り付けるものについて述べたが、この太陽電池パネル8の代わりに植物25を植えた緑化パネル26を太陽電池パネル8と同様にベース板1上に取り付け金具3にて取り付けてもよい。この緑化パネル26は図14に示すように排水性や通気性を有するトレイ状のパネル本体27に培土28を入れ、コケ類等の植物25を植えたものである。緑化パネルAを屋根に設置すると、屋根の緑化ができる。このとき波板形状のベース板1の上に緑化パネル26を取り付けているので、排水が容易になり、万が一コケ類等の植物25の根が伸びてもベース板1によって屋根瓦6まで延びるのを防止でき、植物25の根によって屋根瓦6が割れるのを防止できる。
【0029】
また、このように屋根の上に取り付ける屋根機能パネルAとしては、太陽電池パネル8、緑化パネル26以外に、太陽熱集熱パネル等があり、同様に施工することができる。
【0030】
【発明の効果】
本発明の請求項1の発明は、左右方向に山部と谷部とを交互に設けた金属の波板状のベース板を屋根瓦の上に載設し、山部や谷部の長手方向と直交する方向に長手方向が向く金属の固定フレームをベース板の山部上にベース板の左右方向に亙るように載置し、固定フレームからビス、釘等の固着具をベース板の山部、屋根瓦を介して屋根下地まで打設して固定フレームとベース板とを固定し、固定フレームを介してベース板上に太陽電池パネル、太陽熱集熱パネル、緑化パネル等の屋根機能パネルを載置し、ベース板に固定した取り付け金具で屋根機能パネルの周縁を固定したものであって、山部と谷部を交互に設けた金属の波板状のベース板を用いているので、板厚を厚くしたりすることなくベース板の剛性を上げることができ、コストを削減しながら必要な強度が得られると共に、ベース板の重量を軽減できて施工性が向上できるものであり、しかもベース板は波板状であるためにベース板と屋根面との水はけがよくてベース板と屋根面との間に水が溜まらず汚れや腐食の問題を発生しないようにできるものであり、さらに固定フレームからビス、釘等の固着具をベース板の山部、屋根瓦を介して屋根下地に打設してベース板を固定するために固着具を打入する部分から屋根下地や小屋裏に雨水が浸入するおそれがないものであり、さらに固定フレーム上に載設した屋根機能パネルはベース板に固定した取り付け金具で押さえて取り付けるために屋根機能パネルを固定する部分から雨水が一切浸入するおそれのないものであり、屋根下地や小屋裏に雨水が浸入して腐食したりするおそれがないものである。
【0031】
また本発明の請求項2の発明は、請求項1において、波板状のベース板を左右に複数枚並べ、左右に隣り合うベース板間で左右のベース板の波板形状を互い重ね合わせて接続したので、左右に隣り合うベース板の左右の端部を重ね合わせることにより防水的に接続できるものである。
【0032】
また本発明の請求項3の発明は、請求項1または請求項2において、波板状のベース板を軒棟方向に複数枚並べ、軒棟方向に隣り合うベース板間で両ベース板の波板形状を互いに重ね合わせて接続したので、軒棟方向に隣り合うベース板の端部間を防水的に接続できると共に軒棟方向に隣り合うベース板を左右方向に容易に位置決めできるものである。
【0033】
また本発明の請求項4の発明は、請求項1乃至請求項3のいずれかにおいて、ベース板の左右方向の端部の少なくとも1つの山部を越えた内側の位置で固定フレームからビス、釘等の固着具をベース板の山部、屋根瓦を介して屋根下地まで打設したので、ベース板の左右方向の端部から離れた位置で固着具を打設することにより、固着具を打設する位置まで水が浸入しにくく、固着具を打入した部分から一層屋根下地や小屋裏に雨水が浸入するおそれがなくなるものである。
【0034】
また本発明の請求項5の発明は、請求項1乃至請求項4のいずれかにおいて、左右に隣り合うベース板の互いに重ね合わせた部分を固定フレームで押さえたので、左右に隣り合うベース板を重ね合わせた部分を固定フレームで押さえて左右のベース板間を一層防水的に接続できるものである。
【0035】
また本発明の請求項6の発明は、請求項1乃至請求項5のいずれかにおいて、波板状のベース板の谷部の上面に凹凸を設けたので、施工者がベース板上に乗ったとき足裏を滑りにくくでき、施工者の滑落を防止できるものである。
【0036】
また本発明の請求項7の発明は、請求項1乃至請求項6のいずれかにおいて、波板状のベース板の軒棟方向の端部に谷部の底部と面一の平面部を左右方向に亙って設け、軒側の平面部の下端に軒側の平面部と棟側の平面部との間の波板形状と同じ波板形状の部分を設けたので、ベース板とこのベース板より軒先側の屋根瓦との間及びこのベース板より棟側の屋根瓦との間への強風時の雨水の吹き込みを防止できるものであり、しかもベース板の山部の強度が向上するためにビス、釘等の固着具による固着時における山部の潰れを防止できるものである。
【図面の簡単な説明】
【図1】本発明の実施の形態の一例の施工状態を説明する斜視図である。
【図2】図1の次の施工施工状態を説明する斜視図である。
【図3】図2の次の施工状態を説明する斜視図である。
【図4】図3の次の施工状態を説明する斜視図である。
【図5】図4の次の施工状態を説明する斜視図である。
【図6】同上のベース板を固着具で固着した部分を示す断面図である。
【図7】同上の水切り板で仕舞った部分を示す断面図である。
【図8】(a)は同上の太陽電池パネルを取り付けた状態を示す一部切欠断面図、(b)は要部の分解斜視図である。
【図9】(a)は同上のベース板を固着具で固着する状態を示す断面図、(b)は比較例を示す断面図である。
【図10】(a)は同上のベース板を固着具で固着する状態を示す断面図、(b)は比較例を示す断面図である。
【図11】同上のベース板の他の例を示す斜視図である。
【図12】同上のベース板の他の例を示す斜視図である。
【図13】(a)(b)(c)(d)(e)は図12のベース板を用いて施工する状態を示す斜視図である。
【図14】同上の緑化パネルを示す一部切欠断面図である。
【図15】(a)(b)(c)(d)(e)は一従来例の施工状態を示す斜視図である。
【図16】(a)は他の従来例を説明する斜視図、(b)は要部の断面図である。
【符号の説明】
A 屋根機能パネル
1 ベース板
3 取り付け金具
6 屋根瓦
8 太陽電池パネル
13 屋根下地
15 山部
16 谷部
17 固定フレーム
18 固着具
19 凹凸
20 平面部
26 緑化パネル
Claims (7)
- 左右方向に山部と谷部とを交互に設けた金属の波板状のベース板を屋根瓦の上に載設し、山部や谷部の長手方向と直交する方向に長手方向が向く金属の固定フレームをベース板の山部上にベース板の左右方向に亙るように載置し、固定フレームからビス、釘等の固着具をベース板の山部、屋根瓦を介して屋根下地まで打設して固定フレームとベース板とを固定し、固定フレームを介してベース板上に太陽電池パネル、太陽熱集熱パネル、緑化パネル等の屋根機能パネルを載置し、ベース板に固定した取り付け金具で屋根機能パネルの周縁を固定したことを特徴とする屋根機能パネルの取り付け構造。
- 波板状のベース板を左右に複数枚並べ、左右に隣り合うベース板間で左右のベース板の波板形状を互い重ね合わせて接続したことを特徴とする請求項1記載の屋根機能パネルの取り付け構造。
- 波板状のベース板を軒棟方向に複数枚並べ、軒棟方向に隣り合うベース板間で両のベース板の波板形状を互いに重ね合わせて接続したことを特徴とする請求項1または請求項2記載の屋根機能パネルの取り付け構造。
- ベース板の左右方向の端部の少なくとも1つの山部を越えた内側の位置で固定フレームからビス、釘等の固着具をベース板の山部、屋根瓦を介して屋根下地まで打設したことを特徴とする請求項1乃至請求項3のいずれかに記載の屋根機能パネルの取り付け構造。
- 左右に隣り合うベース板の互いに重ね合わせた部分を固定フレームで押さえたことを特徴とする請求項1乃至請求項4のいずれかに記載の屋根機能パネルの取り付け構造。
- 波板状のベース板の谷部の上面に凹凸を設けたことを特徴とする請求項1乃至請求項5のいずれかに記載の屋根機能パネルの取り付け構造。
- 波板状のベース板の軒棟方向の端部に谷部の底部と面一の平面部を左右方向に亙って設け、軒側の平面部の軒側端に軒側の平面部と棟側の平面部との間の波板形状と同じ波板形状の部分を設けたことを特徴とする請求項1乃至請求項6のいずれかに記載の屋根機能パネルの取り付け構造。
Priority Applications (1)
| Application Number | Priority Date | Filing Date | Title |
|---|---|---|---|
| JP2002373196A JP3829799B2 (ja) | 2002-12-24 | 2002-12-24 | 屋根機能パネルの取り付け構造 |
Applications Claiming Priority (1)
| Application Number | Priority Date | Filing Date | Title |
|---|---|---|---|
| JP2002373196A JP3829799B2 (ja) | 2002-12-24 | 2002-12-24 | 屋根機能パネルの取り付け構造 |
Publications (2)
| Publication Number | Publication Date |
|---|---|
| JP2004204502A true JP2004204502A (ja) | 2004-07-22 |
| JP3829799B2 JP3829799B2 (ja) | 2006-10-04 |
Family
ID=32811567
Family Applications (1)
| Application Number | Title | Priority Date | Filing Date |
|---|---|---|---|
| JP2002373196A Expired - Fee Related JP3829799B2 (ja) | 2002-12-24 | 2002-12-24 | 屋根機能パネルの取り付け構造 |
Country Status (1)
| Country | Link |
|---|---|
| JP (1) | JP3829799B2 (ja) |
Cited By (3)
| Publication number | Priority date | Publication date | Assignee | Title |
|---|---|---|---|---|
| WO2005119769A1 (en) * | 2004-06-04 | 2005-12-15 | Ats Automation Tooling Systems Inc. | Method for construction of rigid photovoltaic modules |
| JP2010110237A (ja) * | 2008-11-04 | 2010-05-20 | Mbs Inc | 緑化システムおよび緑化パネルの取付方法 |
| JP2014190593A (ja) * | 2013-03-27 | 2014-10-06 | Sekisui House Ltd | 集熱パネルおよび太陽熱集熱器 |
-
2002
- 2002-12-24 JP JP2002373196A patent/JP3829799B2/ja not_active Expired - Fee Related
Cited By (3)
| Publication number | Priority date | Publication date | Assignee | Title |
|---|---|---|---|---|
| WO2005119769A1 (en) * | 2004-06-04 | 2005-12-15 | Ats Automation Tooling Systems Inc. | Method for construction of rigid photovoltaic modules |
| JP2010110237A (ja) * | 2008-11-04 | 2010-05-20 | Mbs Inc | 緑化システムおよび緑化パネルの取付方法 |
| JP2014190593A (ja) * | 2013-03-27 | 2014-10-06 | Sekisui House Ltd | 集熱パネルおよび太陽熱集熱器 |
Also Published As
| Publication number | Publication date |
|---|---|
| JP3829799B2 (ja) | 2006-10-04 |
Similar Documents
| Publication | Publication Date | Title |
|---|---|---|
| JP5282118B2 (ja) | 太陽電池モジュールの敷設方法及び太陽電池モジュールの吹上げ防止装置 | |
| JP4010666B2 (ja) | 太陽光発電装置 | |
| US7155870B2 (en) | Shingle assembly with support bracket | |
| JP3846654B2 (ja) | 太陽電池付き屋根パネルおよび屋根構造 | |
| JP3555719B2 (ja) | 太陽電池の取付け装置 | |
| JPH10317622A (ja) | 太陽電池付きパネル屋根構造,該屋根構造に用いる屋根パネル及び連結部材 | |
| JP3829799B2 (ja) | 屋根機能パネルの取り付け構造 | |
| JP3838226B2 (ja) | 屋根機能パネル用ベース板の取付構造 | |
| JP5136388B2 (ja) | 緑化瓦 | |
| JP3494424B2 (ja) | 太陽電池の取付け装置 | |
| JP5158783B2 (ja) | 雪止金具及びその施工方法 | |
| JP2577624B2 (ja) | 通気防水構造屋根 | |
| JP5501741B2 (ja) | 角波屋根上を緑化する為の屋根構造及びその施工方法 | |
| JP5953625B2 (ja) | ソーラーシステムの取付方法 | |
| JPS6313295Y2 (ja) | ||
| JP2011144574A (ja) | 太陽光発電パネル設置屋根の構造及びその施工法 | |
| JP2629140B2 (ja) | 太陽エネルギー活用装置の屋根への設置構造 | |
| JP4822227B2 (ja) | 勾配屋根の緑化構造 | |
| JP2023110587A (ja) | 雨押え換気部材及びその施工構造 | |
| JP2024061259A (ja) | 屋根材保護具 | |
| JP2006063688A (ja) | 機能パネル設置屋根の水処理構造及び機能パネル設置屋根の施工方法 | |
| JP6364673B2 (ja) | 波板用固定金具および屋根取付け構造 | |
| JP2530563Y2 (ja) | けらば用屋根パネル | |
| JPH10169129A (ja) | 太陽電池を設置した屋根 | |
| JP3386453B2 (ja) | 防水連結部材の納め構造および防水連結部材 |
Legal Events
| Date | Code | Title | Description |
|---|---|---|---|
| A621 | Written request for application examination |
Free format text: JAPANESE INTERMEDIATE CODE: A621 Effective date: 20041026 |
|
| A977 | Report on retrieval |
Free format text: JAPANESE INTERMEDIATE CODE: A971007 Effective date: 20060614 |
|
| TRDD | Decision of grant or rejection written | ||
| A01 | Written decision to grant a patent or to grant a registration (utility model) |
Free format text: JAPANESE INTERMEDIATE CODE: A01 Effective date: 20060620 |
|
| A61 | First payment of annual fees (during grant procedure) |
Free format text: JAPANESE INTERMEDIATE CODE: A61 Effective date: 20060703 |
|
| FPAY | Renewal fee payment (prs date is renewal date of database) |
Free format text: PAYMENT UNTIL: 20090721 Year of fee payment: 3 |
|
| S533 | Written request for registration of change of name |
Free format text: JAPANESE INTERMEDIATE CODE: R313533 |
|
| FPAY | Renewal fee payment (prs date is renewal date of database) |
Free format text: PAYMENT UNTIL: 20090721 Year of fee payment: 3 |
|
| R350 | Written notification of registration of transfer |
Free format text: JAPANESE INTERMEDIATE CODE: R350 |
|
| FPAY | Renewal fee payment (prs date is renewal date of database) |
Free format text: PAYMENT UNTIL: 20090721 Year of fee payment: 3 |
|
| FPAY | Renewal fee payment (prs date is renewal date of database) |
Free format text: PAYMENT UNTIL: 20100721 Year of fee payment: 4 |
|
| FPAY | Renewal fee payment (prs date is renewal date of database) |
Free format text: PAYMENT UNTIL: 20100721 Year of fee payment: 4 |
|
| FPAY | Renewal fee payment (prs date is renewal date of database) |
Free format text: PAYMENT UNTIL: 20110721 Year of fee payment: 5 |
|
| FPAY | Renewal fee payment (prs date is renewal date of database) |
Free format text: PAYMENT UNTIL: 20120721 Year of fee payment: 6 |
|
| FPAY | Renewal fee payment (prs date is renewal date of database) |
Free format text: PAYMENT UNTIL: 20120721 Year of fee payment: 6 |
|
| FPAY | Renewal fee payment (prs date is renewal date of database) |
Free format text: PAYMENT UNTIL: 20130721 Year of fee payment: 7 |
|
| LAPS | Cancellation because of no payment of annual fees |