JP2004161069A - 自動二輪車のウインドスクリーン装置 - Google Patents
自動二輪車のウインドスクリーン装置 Download PDFInfo
- Publication number
- JP2004161069A JP2004161069A JP2002327183A JP2002327183A JP2004161069A JP 2004161069 A JP2004161069 A JP 2004161069A JP 2002327183 A JP2002327183 A JP 2002327183A JP 2002327183 A JP2002327183 A JP 2002327183A JP 2004161069 A JP2004161069 A JP 2004161069A
- Authority
- JP
- Japan
- Prior art keywords
- windscreen
- arm
- lever
- wind screen
- hook
- Prior art date
- Legal status (The legal status is an assumption and is not a legal conclusion. Google has not performed a legal analysis and makes no representation as to the accuracy of the status listed.)
- Pending
Links
- 238000005452 bending Methods 0.000 description 3
- 239000002828 fuel tank Substances 0.000 description 2
- 230000037431 insertion Effects 0.000 description 2
- 238000003780 insertion Methods 0.000 description 2
- 241001247986 Calotropis procera Species 0.000 description 1
- 229920001875 Ebonite Polymers 0.000 description 1
- 239000002184 metal Substances 0.000 description 1
- 230000036651 mood Effects 0.000 description 1
- 229920000515 polycarbonate Polymers 0.000 description 1
- 239000004417 polycarbonate Substances 0.000 description 1
- 239000000725 suspension Substances 0.000 description 1
Images
Classifications
-
- B—PERFORMING OPERATIONS; TRANSPORTING
- B62—LAND VEHICLES FOR TRAVELLING OTHERWISE THAN ON RAILS
- B62J—CYCLE SADDLES OR SEATS; AUXILIARY DEVICES OR ACCESSORIES SPECIALLY ADAPTED TO CYCLES AND NOT OTHERWISE PROVIDED FOR, e.g. ARTICLE CARRIERS OR CYCLE PROTECTORS
- B62J17/00—Weather guards for riders; Fairings or stream-lining parts not otherwise provided for
- B62J17/02—Weather guards for riders; Fairings or stream-lining parts not otherwise provided for shielding only the rider's front
- B62J17/04—Windscreens
Landscapes
- Engineering & Computer Science (AREA)
- Mechanical Engineering (AREA)
- Lock And Its Accessories (AREA)
- Body Structure For Vehicles (AREA)
- Automobile Manufacture Line, Endless Track Vehicle, Trailer (AREA)
- Fittings On The Vehicle Exterior For Carrying Loads, And Devices For Holding Or Mounting Articles (AREA)
Abstract
【課題】工具を用いることなくウインドスクリーンを容易に取り付けたり,取り外したりできる自動二輪車のウインドスクリーン装置を提供する。
【解決手段】ウインドスクリーンを車体に着脱可能に取付けるようにした自動二輪車のウインドスクリーン装置において、フロントフォーク(車体)20にボス部材37を設けるとともに、ウインドスクリーン30にボス部材37に係合するストッパ部38を設け、さらにウインドスクリーン30にフック部32aを設け、上記フロントフォーク20にフック部32aに係脱可能に係合するアーム41と、該アーム41が揺動可能に連結され係合解除位置とロック位置との間で回動可能なレバー43とを有するロック機構40を取付ける。
【選択図】 図2
【解決手段】ウインドスクリーンを車体に着脱可能に取付けるようにした自動二輪車のウインドスクリーン装置において、フロントフォーク(車体)20にボス部材37を設けるとともに、ウインドスクリーン30にボス部材37に係合するストッパ部38を設け、さらにウインドスクリーン30にフック部32aを設け、上記フロントフォーク20にフック部32aに係脱可能に係合するアーム41と、該アーム41が揺動可能に連結され係合解除位置とロック位置との間で回動可能なレバー43とを有するロック機構40を取付ける。
【選択図】 図2
Description
【0001】
【発明の属する技術分野】
本発明は、乗員の前方を覆うように配設されたウインドスクリーンを車体に着脱可能に取付けるようにした自動二輪車のウインドスクリーン装置に関する。
【0002】
【従来の技術】
自動二輪車では、走行風を遮蔽するために乗員の前方にウインドスクリーンを配設する場合がある。このようなウインドスクリーンを車体に取付けるにあたっては、従来、ウインドスクリーンを操向ハンドルにブラケットを介してボルト締め固定したり,あるいはヘッドライトにブラケットを介してボルト締め固定するのが一般的である(例えば、特許文献1,2参照)。
【0003】
【特許文献1】
特開平5−254471号公報
【0004】
【特許文献2】
特開平8−258772号公報
【0005】
【発明が解決しようとする課題】
ところで上記ウインドスクリーンを備える場合、一般道路を走行するのか高速道路を走行するのかにより、あるいはライダの気分によりウインドスクリーンを着脱したいという要請がある。しかしながら上記従来装置では、着脱を容易にするといったことはあまり考慮されておらず、ウインドスクリーンを着脱するには工具を用いてボルトを締め付けたり,弛めたりするといった手間のかかる作業を必要とするという問題がある。
【0006】
本発明は、上記従来の状況に鑑みてなされたもので、工具を用いることなくウインドスクリーンを容易に取り付けたり,取り外したりできる自動二輪車のウインドスクリーン装置を提供することを目的としている。
【0007】
【課題を解決するための手段】
請求項1の発明は、乗員の前方を覆うように配設されたウインドスクリーンを車体に着脱可能に取付けるようにした自動二輪車のウインドスクリーン装置において、上記車体又はウインドスクリーンの何れか一方にダンパ部材を、他方に該ダンパ部材に係合可能のストッパ部を設け、上記車体又はウインドスクリーンの何れか一方にフックを、他方に該フックをロック位置に付勢するロック機構を設け、該ロック機構を、上記フックに係脱可能のアームと、該アームが連結されロック位置とアンロック位置との間で回動可能なレバーとを有する構造のものとし、上記ダンパ部材をストッパ部に係合させるとともに上記アームをフックに係合させて上記レバーをロック位置に回動させることにより上記ウインドスクリーンを車体に固定したことを特徴としている。
【0008】
請求項2の発明は、請求項1において、上記アームはスプリングによりロック方向に付勢されていることを特徴としている。
【0009】
請求項3の発明は、請求項1又は2において、上記レバーには該レバーをロック位置に固定するキーシリンダが配設されていることを特徴としている。
【0010】
請求項4の発明は、請求項3において、上記キーシリンダのキーは車体に配設されたメインスイッチのメインキーが共用されていることを特徴としている。
【0011】
【発明の作用効果】
本発明のウインドスクリーン装置において、ウインドスクリーンを車体側に取り付けるには、ダンパ部材にストッパ部を係合させるとともに、フックにアームを係合させ、この状態でレバーをロック位置に回動する。これによりダンパ部材とストッパ部とがロック機構による引っ張り力でもって固く係合し、ウインドスクリーンは車体に固定されることとなる。またウインドスクリーンを取り外すには、レバーをロック位置からアンロック位置に回動させ、アームをフックから外す。
【0012】
このように請求項1の発明にかかるウインドスクリーン装置によれば、レバーをロック位置とアンロック位置との間で回動させるだけで工具を用いることなく簡単な作業でウインドスクリーンを車体に着脱できる。
【0013】
請求項2の発明では、アームをスプリングでロック方向に付勢したので、ウインドスクリーンをより強固に車体に固定することができ、ウインドスクリーンのがたつきや走行中の振動を防止できる。
【0014】
請求項3の発明では、レバーをロック位置に固定するキーシリンダを配設したので、いたずらや盗難を防止できる。
【0015】
請求項4の発明では、上記キーシリンダのキーをメインスイッチのメインキーと共用したので、余分なキーの携帯を不要にできる。
【0016】
【発明の実施の形態】
以下、本発明の実施の形態を添付図面に基づいて説明する。
【0017】
図1ないし図8は、本発明の一実施形態による自動二輪車のウインドスクリーン装置を説明するための図であり、図1はウインドスクリーン装置が配設された自動二輪車の側面図、図2,図3はウインドスクリーン装置の側面図,正面図、図4,図5はウインドスクリーン装置の斜視図、図6はウインドスクリーン装置のゴムダンパの断面図、図7(a),(b)はフック,ロック機構の平面図、図8(a),(b)はフック,ロック機構の側面図である。
【0018】
図において、1は自動二輪車を示しており、これはダブルクレードル型の車体フレーム2内に水冷式4サイクルV型4気筒エンジン3を搭載し、該車体フレーム2の上部に燃料タンク4,シート5を配設した概略構造を有している。
【0019】
上記車体フレーム2の後端下部にはピボット軸6により左右一対のリヤアーム7が上下揺動可能に枢支されており、該リヤアーム7の後端間には後輪8が軸支されている。
【0020】
上記リヤアーム7内にはエンジン動力を後輪8に伝達するドライブシャフト(不図示)が挿入されており、該リヤアーム7と車体フレーム2との間にはリヤサスペンション9が架設されている。
【0021】
上記後輪8の上方にはリヤフェンダ10が配設され、該リヤフェンダ10の上部にはリヤシート11が配設されている。また車体フレーム2の燃料タンク4下方の左右下端部には乗員の足が載置されるフートレストボード12が配置されている。
【0022】
上記車体フレーム2の前端にはヘッドパイプ15が接続されている。このヘッドパイプ15にはステアリングシャフト16が軸受(不図示)を介して回転自在に配設されており、該ステアリングシャフト16の上端及び下端にはそれぞれアッパブラケット17,アンダブラケット18が締結固定されている。この両ブラケット17,18には左右一対のフロントフォーク20が接続固定されており、このフロントフォーク20の下端間には前輪21が軸支されている。
【0023】
上記アッパブラケット17には左右一対のハンドルクラウン22がゴムブッシュ(不図示)を介在させて固定されており、各ハンドルクラウン22には操向ハンドル23がボルト締め固定されている。また上記左右フロントフォーク20の上端部にはヘッドライト24が取付けられており、下部には前輪21の上方を覆うフロントフェンダ25が取付けられている。
【0024】
上記フロントフォーク20の略上半部は円筒状のフォークカバー26により囲まれており、該フォークカバー26は上記アッパ,アンダブラケット17,18に固定されている。またアッパブラケット17の後側にはメインスイッチ27が配設されており、該メインスイッチ27はメインキー28が挿着されるキーシリンダ27aを備えている。
【0025】
上記車体フレーム2の前端部には走行風を遮蔽するウインドスクリーン装置50が配設されており、該ウインドスクリーン装置50はウインドスクリーン30を着脱機構51により車体側に着脱自在とした構造を有している。
【0026】
上記ウインドスクリーン30はポリカーボネート製であり、シート5に着座した乗員の前方を覆う大きさを有している。該ウインドスクリーン30の左右側部は車両後側に湾曲するように形成されており、また下縁部にはヘッドライト24との干渉を回避する凹部30aが切り欠き形成されている。
【0027】
上記着脱機構51は、上記ウインドスクリーン30側に固定されたマウントブラケット52と、車体側に固定されたマウントステー33とをロック機構40でロック,アンロックするように構成されている。
【0028】
上記マウントブラケット52は、上記ウインドスクリーン30の下部に車幅方向に延びる帯板状の横プレート31を配置固定し、該横プレート31の左右端部から左,右の縦プレート32,32をフォークカバー26の車外側面に沿うように下方に延長したものである。
【0029】
上記左,右の縦プレート32の上下に帯板状に延びる支持部32aには上下に延びる長孔が32bが形成され、該長孔32bに挿通したボルト32cにより該縦プレート32,32に上記ウインドシールド30は高さ位置を調整可能に固定されている。
【0030】
上記縦プレート32の、上記支持部32aの下半部に続いて後側に拡がるように一体形成されたベース部32dの車幅方向内側には帯板を半円状に曲げてなるストッパ部38が形成されている。また該ベース部32dの下縁にはフック部32eが下方に延びるように一体形成されており、このフック部32eは下端部を車幅方向外側から上側に向けて曲げて成るJ字形状をなしている。
【0031】
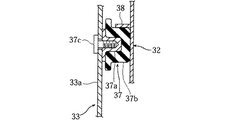
上記マウントステー33は、上記マウントブラケット52の縦プレート32の裏側に配設されている。このマウントステー33は上下方向に延びる帯板状のステー本体33aの上端縁に車内側に屈曲して延びる固定部33bを一体形成してなるもので、該固定部33bは上記アッパブラケット17の前壁にボルト34により締結固定されている。また上記ステー本体33aの下端部33cは車体側に固定された棒部材35に溶接により接合されている。
【0032】
上記ステー本体33aの上部の、上記マウントブラケット52側に形成されたストッパ部38に対応する部位には、円柱状のダンパ部材37が配設されている。このダンパ部材37は、図6に示すように、金属製ボス部37aに硬質ゴムダンパ37bを固着してなるものであり、ボス部37aに螺挿されたボルト37cによりマウントステー33に締結固定されている。
【0033】
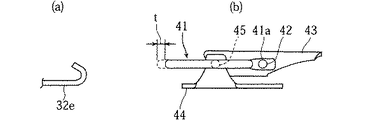
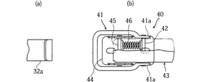
そして上記マウントステー33の上記フック部32eの下側にロック機構40が配設されている。このロック機構40は、上記フック部32eに係脱可能のアーム41と、該アーム41の両基部41a,41aが連結ピン42を介して揺動可能に連結されたレバー43とを有している。このレバー43の前端部は上記マウントステー33にボルト締め固定されたベース44に回動ピン45を介してロック位置とアンロック位置との間で回動可能に支持されている。
【0034】
また上記アーム41は棒材を略コ字形状に曲げてなるものであり、該アーム41を軸支する連結ピン42はレバー43に対してtだけ前後方向に移動可能となっている(図8(b)参照)。そして上記両ピン42,45の間にはスプリング46が介在されており、該スプリング46により連結ピン42ひいてはアーム41はロック方向に付勢されている。
【0035】
上記レバー43にはキー挿入部47aを有するキーシリンダ47が配設されている。このキー挿入部47aに上記メインスイッチ27のメインキー28を挿入して施掟することにより、レバー43がロック位置に固定され、回動不能となる。
【0036】
次に本実施形態の作用効果について説明する。
【0037】
ウインドスクリーン30を車体に取り付けるには、ウインドスクリーン30を上方から、左右のストッパ部38がダンパ部材38に係合するように位置させ、この状態でレバー43をアンロック位置に回動させてフック部32eにアーム41を係合させ、レバー43をロック位置に回動させる(図2参照)。
【0038】
これによりダンパ部材37にストッパ部38がロック機構40による引っ張り力でもって固く係合し、ウインドスクリーン30はフロントフォーク20に固定される。またウインドスクリーン30を取り外すには、レバー43をロック位置からアンロック位置に回動させ、アーム41をフック部32eから外し、ウインドスクリーン30を上方に取り外す。
【0039】
このように本実施形態よれば、フロントフォーク20に固定支持されたマントステー33にダンパ部材37を取付けるとともに、ウインドスクリーン30に固定されたマウントブラケット52の縦プレート32にストッパ部38を形成し、さらに上記縦プレート32のフック部32eにアーム41を係合させて下方に引っ張るロック機構40を設けたので、レバー43をアンロック位置とロック位置との間で回動させるだけで、工具を用いることなく簡単な作業でウインドスクリーン30を車体に着脱できる。
【0040】
また上記ダンパ部材37をゴムダンパ37bにより構成するとともに、上記アーム41をスプリング46によりロック方向に付勢したので、ウインドスクリーン30のがたつきを防止でき、走行中にウインドスクリーン30が振動するのを防止できる。
【0041】
本実施形態では、上記レバー43に該レバー43をロック位置に固定するキーシリンダ47を配設したので、いたずらや盗難を防止できる。また上記キーシリンダ47のキー28とメインスイッチ27のメインキー28とを共用したので、余分なキーの携帯を不要にできる。
【図面の簡単な説明】
【図1】本発明の一実施形態によるウインドスクリーン装置が配設された自動二輪車の側面図である。
【図2】上記ウインドスクリーン装置の側面図である。
【図3】上記ウインドスクリーン装置の正面図である。
【図4】上記ウインドスクリーン装置の斜視図である。
【図5】上記ウインドスクリーン装置の斜視図である。
【図6】上記ウインドスクリーン装置のボス部材の断面図である。
【図7】上記ウインドスクリーン装置のフック,ロック機構の図である。
【図8】上記フック,ロック機構の図である。
【符号の説明】
17 アッパブラケット(車体)
26 フォークカバー(車体)
27 メインスイッチ
28 メインキー
30 ウインドスクリーン
32e フック部
37 ダンパ部材
37b ゴムダンパ
38 ストッパ部
40 ロック機構
41 アーム
43 レバー
46 スプリング
47 キーシリンダ
【発明の属する技術分野】
本発明は、乗員の前方を覆うように配設されたウインドスクリーンを車体に着脱可能に取付けるようにした自動二輪車のウインドスクリーン装置に関する。
【0002】
【従来の技術】
自動二輪車では、走行風を遮蔽するために乗員の前方にウインドスクリーンを配設する場合がある。このようなウインドスクリーンを車体に取付けるにあたっては、従来、ウインドスクリーンを操向ハンドルにブラケットを介してボルト締め固定したり,あるいはヘッドライトにブラケットを介してボルト締め固定するのが一般的である(例えば、特許文献1,2参照)。
【0003】
【特許文献1】
特開平5−254471号公報
【0004】
【特許文献2】
特開平8−258772号公報
【0005】
【発明が解決しようとする課題】
ところで上記ウインドスクリーンを備える場合、一般道路を走行するのか高速道路を走行するのかにより、あるいはライダの気分によりウインドスクリーンを着脱したいという要請がある。しかしながら上記従来装置では、着脱を容易にするといったことはあまり考慮されておらず、ウインドスクリーンを着脱するには工具を用いてボルトを締め付けたり,弛めたりするといった手間のかかる作業を必要とするという問題がある。
【0006】
本発明は、上記従来の状況に鑑みてなされたもので、工具を用いることなくウインドスクリーンを容易に取り付けたり,取り外したりできる自動二輪車のウインドスクリーン装置を提供することを目的としている。
【0007】
【課題を解決するための手段】
請求項1の発明は、乗員の前方を覆うように配設されたウインドスクリーンを車体に着脱可能に取付けるようにした自動二輪車のウインドスクリーン装置において、上記車体又はウインドスクリーンの何れか一方にダンパ部材を、他方に該ダンパ部材に係合可能のストッパ部を設け、上記車体又はウインドスクリーンの何れか一方にフックを、他方に該フックをロック位置に付勢するロック機構を設け、該ロック機構を、上記フックに係脱可能のアームと、該アームが連結されロック位置とアンロック位置との間で回動可能なレバーとを有する構造のものとし、上記ダンパ部材をストッパ部に係合させるとともに上記アームをフックに係合させて上記レバーをロック位置に回動させることにより上記ウインドスクリーンを車体に固定したことを特徴としている。
【0008】
請求項2の発明は、請求項1において、上記アームはスプリングによりロック方向に付勢されていることを特徴としている。
【0009】
請求項3の発明は、請求項1又は2において、上記レバーには該レバーをロック位置に固定するキーシリンダが配設されていることを特徴としている。
【0010】
請求項4の発明は、請求項3において、上記キーシリンダのキーは車体に配設されたメインスイッチのメインキーが共用されていることを特徴としている。
【0011】
【発明の作用効果】
本発明のウインドスクリーン装置において、ウインドスクリーンを車体側に取り付けるには、ダンパ部材にストッパ部を係合させるとともに、フックにアームを係合させ、この状態でレバーをロック位置に回動する。これによりダンパ部材とストッパ部とがロック機構による引っ張り力でもって固く係合し、ウインドスクリーンは車体に固定されることとなる。またウインドスクリーンを取り外すには、レバーをロック位置からアンロック位置に回動させ、アームをフックから外す。
【0012】
このように請求項1の発明にかかるウインドスクリーン装置によれば、レバーをロック位置とアンロック位置との間で回動させるだけで工具を用いることなく簡単な作業でウインドスクリーンを車体に着脱できる。
【0013】
請求項2の発明では、アームをスプリングでロック方向に付勢したので、ウインドスクリーンをより強固に車体に固定することができ、ウインドスクリーンのがたつきや走行中の振動を防止できる。
【0014】
請求項3の発明では、レバーをロック位置に固定するキーシリンダを配設したので、いたずらや盗難を防止できる。
【0015】
請求項4の発明では、上記キーシリンダのキーをメインスイッチのメインキーと共用したので、余分なキーの携帯を不要にできる。
【0016】
【発明の実施の形態】
以下、本発明の実施の形態を添付図面に基づいて説明する。
【0017】
図1ないし図8は、本発明の一実施形態による自動二輪車のウインドスクリーン装置を説明するための図であり、図1はウインドスクリーン装置が配設された自動二輪車の側面図、図2,図3はウインドスクリーン装置の側面図,正面図、図4,図5はウインドスクリーン装置の斜視図、図6はウインドスクリーン装置のゴムダンパの断面図、図7(a),(b)はフック,ロック機構の平面図、図8(a),(b)はフック,ロック機構の側面図である。
【0018】
図において、1は自動二輪車を示しており、これはダブルクレードル型の車体フレーム2内に水冷式4サイクルV型4気筒エンジン3を搭載し、該車体フレーム2の上部に燃料タンク4,シート5を配設した概略構造を有している。
【0019】
上記車体フレーム2の後端下部にはピボット軸6により左右一対のリヤアーム7が上下揺動可能に枢支されており、該リヤアーム7の後端間には後輪8が軸支されている。
【0020】
上記リヤアーム7内にはエンジン動力を後輪8に伝達するドライブシャフト(不図示)が挿入されており、該リヤアーム7と車体フレーム2との間にはリヤサスペンション9が架設されている。
【0021】
上記後輪8の上方にはリヤフェンダ10が配設され、該リヤフェンダ10の上部にはリヤシート11が配設されている。また車体フレーム2の燃料タンク4下方の左右下端部には乗員の足が載置されるフートレストボード12が配置されている。
【0022】
上記車体フレーム2の前端にはヘッドパイプ15が接続されている。このヘッドパイプ15にはステアリングシャフト16が軸受(不図示)を介して回転自在に配設されており、該ステアリングシャフト16の上端及び下端にはそれぞれアッパブラケット17,アンダブラケット18が締結固定されている。この両ブラケット17,18には左右一対のフロントフォーク20が接続固定されており、このフロントフォーク20の下端間には前輪21が軸支されている。
【0023】
上記アッパブラケット17には左右一対のハンドルクラウン22がゴムブッシュ(不図示)を介在させて固定されており、各ハンドルクラウン22には操向ハンドル23がボルト締め固定されている。また上記左右フロントフォーク20の上端部にはヘッドライト24が取付けられており、下部には前輪21の上方を覆うフロントフェンダ25が取付けられている。
【0024】
上記フロントフォーク20の略上半部は円筒状のフォークカバー26により囲まれており、該フォークカバー26は上記アッパ,アンダブラケット17,18に固定されている。またアッパブラケット17の後側にはメインスイッチ27が配設されており、該メインスイッチ27はメインキー28が挿着されるキーシリンダ27aを備えている。
【0025】
上記車体フレーム2の前端部には走行風を遮蔽するウインドスクリーン装置50が配設されており、該ウインドスクリーン装置50はウインドスクリーン30を着脱機構51により車体側に着脱自在とした構造を有している。
【0026】
上記ウインドスクリーン30はポリカーボネート製であり、シート5に着座した乗員の前方を覆う大きさを有している。該ウインドスクリーン30の左右側部は車両後側に湾曲するように形成されており、また下縁部にはヘッドライト24との干渉を回避する凹部30aが切り欠き形成されている。
【0027】
上記着脱機構51は、上記ウインドスクリーン30側に固定されたマウントブラケット52と、車体側に固定されたマウントステー33とをロック機構40でロック,アンロックするように構成されている。
【0028】
上記マウントブラケット52は、上記ウインドスクリーン30の下部に車幅方向に延びる帯板状の横プレート31を配置固定し、該横プレート31の左右端部から左,右の縦プレート32,32をフォークカバー26の車外側面に沿うように下方に延長したものである。
【0029】
上記左,右の縦プレート32の上下に帯板状に延びる支持部32aには上下に延びる長孔が32bが形成され、該長孔32bに挿通したボルト32cにより該縦プレート32,32に上記ウインドシールド30は高さ位置を調整可能に固定されている。
【0030】
上記縦プレート32の、上記支持部32aの下半部に続いて後側に拡がるように一体形成されたベース部32dの車幅方向内側には帯板を半円状に曲げてなるストッパ部38が形成されている。また該ベース部32dの下縁にはフック部32eが下方に延びるように一体形成されており、このフック部32eは下端部を車幅方向外側から上側に向けて曲げて成るJ字形状をなしている。
【0031】
上記マウントステー33は、上記マウントブラケット52の縦プレート32の裏側に配設されている。このマウントステー33は上下方向に延びる帯板状のステー本体33aの上端縁に車内側に屈曲して延びる固定部33bを一体形成してなるもので、該固定部33bは上記アッパブラケット17の前壁にボルト34により締結固定されている。また上記ステー本体33aの下端部33cは車体側に固定された棒部材35に溶接により接合されている。
【0032】
上記ステー本体33aの上部の、上記マウントブラケット52側に形成されたストッパ部38に対応する部位には、円柱状のダンパ部材37が配設されている。このダンパ部材37は、図6に示すように、金属製ボス部37aに硬質ゴムダンパ37bを固着してなるものであり、ボス部37aに螺挿されたボルト37cによりマウントステー33に締結固定されている。
【0033】
そして上記マウントステー33の上記フック部32eの下側にロック機構40が配設されている。このロック機構40は、上記フック部32eに係脱可能のアーム41と、該アーム41の両基部41a,41aが連結ピン42を介して揺動可能に連結されたレバー43とを有している。このレバー43の前端部は上記マウントステー33にボルト締め固定されたベース44に回動ピン45を介してロック位置とアンロック位置との間で回動可能に支持されている。
【0034】
また上記アーム41は棒材を略コ字形状に曲げてなるものであり、該アーム41を軸支する連結ピン42はレバー43に対してtだけ前後方向に移動可能となっている(図8(b)参照)。そして上記両ピン42,45の間にはスプリング46が介在されており、該スプリング46により連結ピン42ひいてはアーム41はロック方向に付勢されている。
【0035】
上記レバー43にはキー挿入部47aを有するキーシリンダ47が配設されている。このキー挿入部47aに上記メインスイッチ27のメインキー28を挿入して施掟することにより、レバー43がロック位置に固定され、回動不能となる。
【0036】
次に本実施形態の作用効果について説明する。
【0037】
ウインドスクリーン30を車体に取り付けるには、ウインドスクリーン30を上方から、左右のストッパ部38がダンパ部材38に係合するように位置させ、この状態でレバー43をアンロック位置に回動させてフック部32eにアーム41を係合させ、レバー43をロック位置に回動させる(図2参照)。
【0038】
これによりダンパ部材37にストッパ部38がロック機構40による引っ張り力でもって固く係合し、ウインドスクリーン30はフロントフォーク20に固定される。またウインドスクリーン30を取り外すには、レバー43をロック位置からアンロック位置に回動させ、アーム41をフック部32eから外し、ウインドスクリーン30を上方に取り外す。
【0039】
このように本実施形態よれば、フロントフォーク20に固定支持されたマントステー33にダンパ部材37を取付けるとともに、ウインドスクリーン30に固定されたマウントブラケット52の縦プレート32にストッパ部38を形成し、さらに上記縦プレート32のフック部32eにアーム41を係合させて下方に引っ張るロック機構40を設けたので、レバー43をアンロック位置とロック位置との間で回動させるだけで、工具を用いることなく簡単な作業でウインドスクリーン30を車体に着脱できる。
【0040】
また上記ダンパ部材37をゴムダンパ37bにより構成するとともに、上記アーム41をスプリング46によりロック方向に付勢したので、ウインドスクリーン30のがたつきを防止でき、走行中にウインドスクリーン30が振動するのを防止できる。
【0041】
本実施形態では、上記レバー43に該レバー43をロック位置に固定するキーシリンダ47を配設したので、いたずらや盗難を防止できる。また上記キーシリンダ47のキー28とメインスイッチ27のメインキー28とを共用したので、余分なキーの携帯を不要にできる。
【図面の簡単な説明】
【図1】本発明の一実施形態によるウインドスクリーン装置が配設された自動二輪車の側面図である。
【図2】上記ウインドスクリーン装置の側面図である。
【図3】上記ウインドスクリーン装置の正面図である。
【図4】上記ウインドスクリーン装置の斜視図である。
【図5】上記ウインドスクリーン装置の斜視図である。
【図6】上記ウインドスクリーン装置のボス部材の断面図である。
【図7】上記ウインドスクリーン装置のフック,ロック機構の図である。
【図8】上記フック,ロック機構の図である。
【符号の説明】
17 アッパブラケット(車体)
26 フォークカバー(車体)
27 メインスイッチ
28 メインキー
30 ウインドスクリーン
32e フック部
37 ダンパ部材
37b ゴムダンパ
38 ストッパ部
40 ロック機構
41 アーム
43 レバー
46 スプリング
47 キーシリンダ
Claims (4)
- 乗員の前方を覆うように配設されたウインドスクリーンを車体に着脱可能に取付けるようにした自動二輪車のウインドスクリーン装置において、上記車体又はウインドスクリーンの何れか一方にダンパ部材を、他方に該ダンパ部材に係合可能のストッパ部を設け、上記車体又はウインドスクリーンの何れか一方にフックを、他方に該フックをロック位置に付勢するロック機構を設け、該ロック機構を、上記フックに係脱可能のアームと、該アームが連結されロック位置とアンロック位置との間で回動可能なレバーとを有する構造のものとし、上記ダンパ部材をストッパ部に係合させるとともに上記アームをフックに係合させて上記レバーをロック位置に回動させることにより上記ウインドスクリーンを車体に固定したことを特徴とする自動二輪車のウインドスクリーン装置。
- 請求項1において、上記アームはスプリングによりロック方向に付勢されていることを特徴とする自動二輪車のウインドスクリーン装置。
- 請求項1又は2において、上記レバーには該レバーをロック位置に固定するキーシリンダが配設されていることを特徴とする自動二輪車のウインドスクリーン装置。
- 請求項3において、上記キーシリンダのキーは車体に配設されたメインスイッチのメインキーが共用されていることを特徴とする自動二輪車のウインドスクリーン装置。
Priority Applications (7)
| Application Number | Priority Date | Filing Date | Title |
|---|---|---|---|
| JP2002327183A JP2004161069A (ja) | 2002-11-11 | 2002-11-11 | 自動二輪車のウインドスクリーン装置 |
| CN200310100422.8A CN1223487C (zh) | 2002-11-11 | 2003-10-15 | 机动二轮车的挡风装置及具有该挡风装置的机动二轮车 |
| CA002448666A CA2448666C (en) | 2002-11-11 | 2003-11-07 | Windscreen device for motorcycle |
| AU2003261556A AU2003261556B2 (en) | 2002-11-11 | 2003-11-10 | Windscreen Device for Motorcycle |
| US10/705,684 US6983973B2 (en) | 2002-11-11 | 2003-11-10 | Windscreen device for motorcycle |
| EP03026017A EP1418119A3 (en) | 2002-11-11 | 2003-11-11 | Windscreen device |
| US11/060,175 US6983974B2 (en) | 2002-11-11 | 2005-02-17 | Windscreen device for motorcycle |
Applications Claiming Priority (1)
| Application Number | Priority Date | Filing Date | Title |
|---|---|---|---|
| JP2002327183A JP2004161069A (ja) | 2002-11-11 | 2002-11-11 | 自動二輪車のウインドスクリーン装置 |
Publications (1)
| Publication Number | Publication Date |
|---|---|
| JP2004161069A true JP2004161069A (ja) | 2004-06-10 |
Family
ID=32105526
Family Applications (1)
| Application Number | Title | Priority Date | Filing Date |
|---|---|---|---|
| JP2002327183A Pending JP2004161069A (ja) | 2002-11-11 | 2002-11-11 | 自動二輪車のウインドスクリーン装置 |
Country Status (6)
| Country | Link |
|---|---|
| US (2) | US6983973B2 (ja) |
| EP (1) | EP1418119A3 (ja) |
| JP (1) | JP2004161069A (ja) |
| CN (1) | CN1223487C (ja) |
| AU (1) | AU2003261556B2 (ja) |
| CA (1) | CA2448666C (ja) |
Cited By (2)
| Publication number | Priority date | Publication date | Assignee | Title |
|---|---|---|---|---|
| JP2012086749A (ja) * | 2010-10-21 | 2012-05-10 | Suzuki Motor Corp | 自動二輪車のウインドスクリーン装置 |
| CN106627881A (zh) * | 2017-02-24 | 2017-05-10 | 浙江春风动力股份有限公司 | 一种挡风玻璃支架 |
Families Citing this family (17)
| Publication number | Priority date | Publication date | Assignee | Title |
|---|---|---|---|---|
| DE102006026628A1 (de) | 2006-06-08 | 2007-12-13 | Bayerische Motoren Werke Ag | Vorrichtung zur Befestigung eines Windschilds an einem Fahrzeugteil |
| US20070296237A1 (en) * | 2006-06-22 | 2007-12-27 | Anderson David E | Quick-Release System for Removable Windshields |
| CN101104428B (zh) * | 2006-07-10 | 2010-12-08 | 重庆宗申技术开发研究有限公司 | 可方便进行不同造型风格组配的摩托车的制造方法 |
| US7360819B1 (en) | 2006-10-23 | 2008-04-22 | Sportech, Inc. | Quick-release motorcycle windshield |
| US7458626B1 (en) * | 2006-10-31 | 2008-12-02 | Mark Stadnyk | Motorcycle and windshield mount system |
| US7832783B1 (en) * | 2006-10-31 | 2010-11-16 | Mark Stadnyk | Motorcycle secondary windshield mount system |
| CA2570249C (en) * | 2006-12-07 | 2011-03-29 | Soucy International Inc. | Windshield mounting system |
| US20070126254A1 (en) * | 2007-01-16 | 2007-06-07 | Bugni Charles D | Aerodynamic articulated motorcycle fairing |
| US7607712B2 (en) * | 2007-02-28 | 2009-10-27 | Yamaha Hatsudoki Kabushiki Kaisha | Structure of side cover for motorcycle |
| US20090066108A1 (en) * | 2007-09-10 | 2009-03-12 | Andre Deland | Windshield Support Assembly for Small Vehicles |
| USD599711S1 (en) * | 2008-12-01 | 2009-09-08 | James Kendall | Motorcycle windshield trim |
| FR2964911B1 (fr) * | 2010-09-17 | 2012-08-24 | Nexter Systems | Dispositif de basculement d'un pare-brise |
| JP2012210845A (ja) * | 2011-03-30 | 2012-11-01 | Honda Access Corp | 鞍乗り型車両の風防装置 |
| US9394859B2 (en) * | 2012-11-12 | 2016-07-19 | Indian Motorcycle International, LLC | Two-wheeled vehicle |
| USD911879S1 (en) | 2018-09-10 | 2021-03-02 | Indian Motorcycle International, LLC | Motorcycle |
| US11077910B2 (en) * | 2018-09-28 | 2021-08-03 | Indian Motorcycle International, LLC | Two-wheeled vehicle |
| USD1061369S1 (en) | 2022-10-18 | 2025-02-11 | Charles Taggart | Chopped lower fairings |
Family Cites Families (17)
| Publication number | Priority date | Publication date | Assignee | Title |
|---|---|---|---|---|
| JPS5187233A (en) | 1975-01-29 | 1976-07-30 | Honda Motor Co Ltd | Fubobannotoritsukesochi |
| JPS5225344A (en) * | 1975-08-15 | 1977-02-25 | Honda Motor Co Ltd | Hood unit for motor cycle |
| US4632448A (en) | 1982-10-26 | 1986-12-30 | Honda Giken Kogyo Kabushiki Kaisha | Light motor vehicles |
| US4707017A (en) | 1986-01-13 | 1987-11-17 | Koito Seisakusho Co., Ltd. | Adjustable height windshield apparatus for motorcycles |
| JPH0327030Y2 (ja) | 1986-10-27 | 1991-06-11 | ||
| US4790555A (en) * | 1987-09-29 | 1988-12-13 | John Nobile | Bicycle fairing and mounting means therefor |
| JP3321672B2 (ja) | 1992-03-10 | 2002-09-03 | ヤマハ発動機株式会社 | 自動二輪車のウインドシールド取付構造 |
| US5658035A (en) | 1994-12-28 | 1997-08-19 | Harley-Davidson Motor Company | Quick detachable motorcycle windshield |
| JPH08258772A (ja) | 1995-03-24 | 1996-10-08 | Yamaha Motor Co Ltd | 自動二輪車のウインドシールド取付構造 |
| US5732965A (en) * | 1996-02-07 | 1998-03-31 | Willey; Barry A. | Mounting system for motorcyle accessories |
| FR2748445B1 (fr) * | 1996-05-07 | 1998-10-09 | Marietta Jean Jacques | Dispositif permettant de transformer un pare brise de moto ou cyclomoteur en deux tailles |
| US5845955A (en) * | 1996-07-15 | 1998-12-08 | Willey; Barry A. | Motorcycle windshield mounting system |
| US6176538B1 (en) | 1998-05-28 | 2001-01-23 | Custom Windshields, Inc. | Detachable windshield for motorcycles |
| US6254166B1 (en) | 2000-06-30 | 2001-07-03 | Barry A. Willey | Adjustable, readily removable windshield |
| JP3843206B2 (ja) | 2000-09-25 | 2006-11-08 | 本田技研工業株式会社 | 車両用スクリーン装着構造 |
| JP4119209B2 (ja) * | 2002-09-10 | 2008-07-16 | 本田技研工業株式会社 | 自動二輪車におけるウインドスクリーン取り付け構造 |
| US6736441B1 (en) * | 2003-03-07 | 2004-05-18 | Harley-Davidson Motor Company Group, Inc. | Detachable windshield for a motorcycle |
-
2002
- 2002-11-11 JP JP2002327183A patent/JP2004161069A/ja active Pending
-
2003
- 2003-10-15 CN CN200310100422.8A patent/CN1223487C/zh not_active Expired - Fee Related
- 2003-11-07 CA CA002448666A patent/CA2448666C/en not_active Expired - Fee Related
- 2003-11-10 US US10/705,684 patent/US6983973B2/en not_active Expired - Lifetime
- 2003-11-10 AU AU2003261556A patent/AU2003261556B2/en not_active Ceased
- 2003-11-11 EP EP03026017A patent/EP1418119A3/en not_active Withdrawn
-
2005
- 2005-02-17 US US11/060,175 patent/US6983974B2/en not_active Expired - Lifetime
Cited By (2)
| Publication number | Priority date | Publication date | Assignee | Title |
|---|---|---|---|---|
| JP2012086749A (ja) * | 2010-10-21 | 2012-05-10 | Suzuki Motor Corp | 自動二輪車のウインドスクリーン装置 |
| CN106627881A (zh) * | 2017-02-24 | 2017-05-10 | 浙江春风动力股份有限公司 | 一种挡风玻璃支架 |
Also Published As
| Publication number | Publication date |
|---|---|
| EP1418119A3 (en) | 2005-04-13 |
| US6983973B2 (en) | 2006-01-10 |
| US20040169392A1 (en) | 2004-09-02 |
| AU2003261556B2 (en) | 2009-01-29 |
| EP1418119A2 (en) | 2004-05-12 |
| CA2448666A1 (en) | 2004-05-11 |
| US6983974B2 (en) | 2006-01-10 |
| CA2448666C (en) | 2007-12-04 |
| US20050146154A1 (en) | 2005-07-07 |
| CN1498810A (zh) | 2004-05-26 |
| CN1223487C (zh) | 2005-10-19 |
| AU2003261556A1 (en) | 2004-05-27 |
Similar Documents
| Publication | Publication Date | Title |
|---|---|---|
| JP2004161069A (ja) | 自動二輪車のウインドスクリーン装置 | |
| JP5091804B2 (ja) | 自動二輪車のサドルバッグ取付構造 | |
| JP4751157B2 (ja) | 自動二輪車のステップブラケット | |
| US7549675B2 (en) | Straddle-type vehicle | |
| JP5067297B2 (ja) | リヤブレーキ装置の配置構造及び自動二輪車 | |
| JP2007069678A (ja) | リヤフェンダー及び鞍乗型車両 | |
| JP2012062029A (ja) | 鞍乗型車両 | |
| JP2008273407A (ja) | 鞍乗型車両 | |
| JP3376858B2 (ja) | 盗難防止装置を備えた小型車両 | |
| JP3526473B2 (ja) | 盗難防止装置を備える自動二輪車 | |
| TWI225018B (en) | Installation device for anti-theft device and storage box | |
| JP3500797B2 (ja) | 自動二輪車のセンタスタンドロック装置取付構造 | |
| JP2530818B2 (ja) | 自動二,三輪車のヘルメツト保持構造 | |
| JP3379334B2 (ja) | 自動二輪車のシートロック装置 | |
| JP4479454B2 (ja) | 自動二輪車の盗難防止具取り付け構造 | |
| JP4364117B2 (ja) | 自動二輪車のハンドルロック装置保護構造 | |
| JP2010155578A (ja) | 自動2輪車のカバー装置 | |
| JP2534075Y2 (ja) | 自動二輪車のバッテリ保持構造 | |
| JP5541077B2 (ja) | 自動二輪車のウインドスクリーン装置 | |
| JP3684444B2 (ja) | 盗難防止装置を備える自動二輪車 | |
| JP4010899B2 (ja) | スイングユニット式車両 | |
| JPH07112676A (ja) | 鞍乗型車両におけるイグニッションスイッチ取付構造 | |
| JP2002029477A (ja) | 自動二、三輪車 | |
| JPS633911Y2 (ja) | ||
| JP2014058187A (ja) | 自動二輪車 |
Legal Events
| Date | Code | Title | Description |
|---|---|---|---|
| A621 | Written request for application examination |
Free format text: JAPANESE INTERMEDIATE CODE: A621 Effective date: 20051020 |
|
| A977 | Report on retrieval |
Free format text: JAPANESE INTERMEDIATE CODE: A971007 Effective date: 20080314 |
|
| A131 | Notification of reasons for refusal |
Free format text: JAPANESE INTERMEDIATE CODE: A131 Effective date: 20080325 |
|
| A02 | Decision of refusal |
Free format text: JAPANESE INTERMEDIATE CODE: A02 Effective date: 20080805 |