JP2004106941A - ウエブ包装装置及びその方法 - Google Patents

ウエブ包装装置及びその方法 Download PDF

Info

Publication number
JP2004106941A
JP2004106941A JP2003311534A JP2003311534A JP2004106941A JP 2004106941 A JP2004106941 A JP 2004106941A JP 2003311534 A JP2003311534 A JP 2003311534A JP 2003311534 A JP2003311534 A JP 2003311534A JP 2004106941 A JP2004106941 A JP 2004106941A
Authority
JP
Japan
Prior art keywords
food
pasteurization
ports
station
web
Prior art date
Legal status (The legal status is an assumption and is not a legal conclusion. Google has not performed a legal analysis and makes no representation as to the accuracy of the status listed.)
Granted
Application number
JP2003311534A
Other languages
English (en)
Other versions
JP4061502B2 (ja
JP2004106941A5 (ja
Inventor
Robert E Hanson
ロバート イー.  ハンソン
Craig R Bonneville
クレイグ アール.  ボンネビル
Tou T Vang
トー ティー.  バング
Vernon D Karman
バーノン ディー.  カルマン
Gary Lee Hahn
ガリー リー ハーン
Nelly Feze
ネリー フェゼ
John J Jurkowski
ジョン ジェー.  ジュルコヴスキー
Current Assignee (The listed assignees may be inaccurate. Google has not performed a legal analysis and makes no representation or warranty as to the accuracy of the list.)
Alkar RapidPak Inc
Original Assignee
Alkar RapidPak Inc
Priority date (The priority date is an assumption and is not a legal conclusion. Google has not performed a legal analysis and makes no representation as to the accuracy of the date listed.)
Filing date
Publication date
Application filed by Alkar RapidPak Inc filed Critical Alkar RapidPak Inc
Publication of JP2004106941A publication Critical patent/JP2004106941A/ja
Publication of JP2004106941A5 publication Critical patent/JP2004106941A5/ja
Application granted granted Critical
Publication of JP4061502B2 publication Critical patent/JP4061502B2/ja
Anticipated expiration legal-status Critical
Expired - Fee Related legal-status Critical Current

Links

Images

Classifications

    • BPERFORMING OPERATIONS; TRANSPORTING
    • B65CONVEYING; PACKING; STORING; HANDLING THIN OR FILAMENTARY MATERIAL
    • B65BMACHINES, APPARATUS OR DEVICES FOR, OR METHODS OF, PACKAGING ARTICLES OR MATERIALS; UNPACKING
    • B65B9/00Enclosing successive articles, or quantities of material, e.g. liquids or semiliquids, in flat, folded, or tubular webs of flexible sheet material; Subdividing filled flexible tubes to form packages
    • B65B9/02Enclosing successive articles, or quantities of material between opposed webs
    • B65B9/04Enclosing successive articles, or quantities of material between opposed webs one or both webs being formed with pockets for the reception of the articles, or of the quantities of material
    • BPERFORMING OPERATIONS; TRANSPORTING
    • B65CONVEYING; PACKING; STORING; HANDLING THIN OR FILAMENTARY MATERIAL
    • B65BMACHINES, APPARATUS OR DEVICES FOR, OR METHODS OF, PACKAGING ARTICLES OR MATERIALS; UNPACKING
    • B65B25/00Packaging other articles presenting special problems
    • B65B25/02Packaging agricultural or horticultural products
    • B65B25/04Packaging fruit or vegetables
    • B65B25/041Packaging fruit or vegetables combined with their conservation
    • BPERFORMING OPERATIONS; TRANSPORTING
    • B65CONVEYING; PACKING; STORING; HANDLING THIN OR FILAMENTARY MATERIAL
    • B65BMACHINES, APPARATUS OR DEVICES FOR, OR METHODS OF, PACKAGING ARTICLES OR MATERIALS; UNPACKING
    • B65B25/00Packaging other articles presenting special problems
    • B65B25/06Packaging slices or specially-shaped pieces of meat, cheese, or other plastic or tacky products
    • B65B25/061Packaging slices or specially-shaped pieces of meat, cheese, or other plastic or tacky products of fish
    • B65B25/062Packaging slices or specially-shaped pieces of meat, cheese, or other plastic or tacky products of fish combined with its conservation
    • BPERFORMING OPERATIONS; TRANSPORTING
    • B65CONVEYING; PACKING; STORING; HANDLING THIN OR FILAMENTARY MATERIAL
    • B65BMACHINES, APPARATUS OR DEVICES FOR, OR METHODS OF, PACKAGING ARTICLES OR MATERIALS; UNPACKING
    • B65B25/00Packaging other articles presenting special problems
    • B65B25/06Packaging slices or specially-shaped pieces of meat, cheese, or other plastic or tacky products
    • B65B25/065Packaging slices or specially-shaped pieces of meat, cheese, or other plastic or tacky products of meat
    • B65B25/067Packaging slices or specially-shaped pieces of meat, cheese, or other plastic or tacky products of meat combined with its conservation
    • BPERFORMING OPERATIONS; TRANSPORTING
    • B65CONVEYING; PACKING; STORING; HANDLING THIN OR FILAMENTARY MATERIAL
    • B65BMACHINES, APPARATUS OR DEVICES FOR, OR METHODS OF, PACKAGING ARTICLES OR MATERIALS; UNPACKING
    • B65B55/00Preserving, protecting or purifying packages or package contents in association with packaging
    • B65B55/02Sterilising, e.g. of complete packages
    • B65B55/12Sterilising contents prior to, or during, packaging
    • B65B55/14Sterilising contents prior to, or during, packaging by heat

Landscapes

  • Engineering & Computer Science (AREA)
  • Mechanical Engineering (AREA)
  • Life Sciences & Earth Sciences (AREA)
  • Agronomy & Crop Science (AREA)
  • Food Preservation Except Freezing, Refrigeration, And Drying (AREA)
  • Containers And Plastic Fillers For Packaging (AREA)
  • Auxiliary Devices For And Details Of Packaging Control (AREA)
  • Replacement Of Web Rolls (AREA)
  • General Preparation And Processing Of Foods (AREA)

Abstract

【課題】 連続して配置された各ステーションを通過することにより、食品を簡単で効果的な方法で食品を包装するとともに包装ラインの中で低温殺菌を行うこと。
【解決手段】 食品Pを上側ウエブ14及び下側ウエブ25の間に包装する包装機械及びその方法において、下側ウエブ14は、一連のステーションを通って搬送され、フォーミングステーション18において下側ウエブを包装要素に形成し、載置ステーション20において、食品を受け取り、閉じステーション26において上側ウエブ25で包装を完了する。そして、載置ステーション20と閉じステーション26の間に低温殺菌ステーションが設けられ、このステーションで、食品を低温殺菌する。
【選択図】 図1





Description

 本発明は、ウエブを一連のステーションを介して搬送し、例えば、食品を受け入れる包装要素内に下側ウエブを形成し、そしてこの食品を、上側ウエブを用いて閉じ込めるウエブ包装装置及びその方法に関する。
 ウエブ包装機械及びその方法は、例えば、ここで参考として包含される特許文献1において従来良く知られている。この装置は、上側ウエブと下側ウエブの間に食品を包装する。ウエブ搬送コンベアは、一連のステーションを通過する下側ウエブを搬送し、フォーミングステーションにおいて下側ウエブを包装要素内に形成し、そして、載置ステーションにおいて食品を受け入れ、閉じステーションにおいて上側ウエブを用いて包装を完了する。
米国特許第5,170,611号明細書
 本発明は、食品を低温殺菌する低温殺菌ステーションを備えたウエブ包装装置及びその包装方法を提供することを目的としている。
 上記目的を達成するために、本発明は、ウエブが一連のステーションを通過して搬送されるウエブ搬送コンベアを含む包装装置であって、一連のステーションは、食品を受け入れる包装要素内にウエブを形成し、かつ食品を低温殺菌する低温殺菌ステーションを含んでいることを特徴としている。
 また、本発明の実施形態によれば、一連のステーションは、食品が載置されるウエブに下方に垂れ下がる食品用キャビティポケットを形成するフォーミングステーションを含み、低温殺菌ステーションは、下方に面する低温殺菌キャビティを有する上部室を備え、低温殺菌キャビティが、食品用キャビティポケットに対面して食品を低温殺菌する。
 さらに、ウエブは、上流から下流へ前進し、低温殺菌ステーションは、フォーミングステーションの下流にあり、また、食品は、載置ステーションにおいて食品用キャビティポケット内に載置され、載置ステーションは、フォーミングステーションの下流にあり、低温殺菌ステーションは、載置ステーションの下流にある。また、低温殺菌ステーションは、ウエブの下側に下部室を含み、上部室と下部室の一方は、低温殺菌キャビティを閉鎖しかつ前記2つの室間に係合したウエブの一部によって低温殺菌キャビティの周囲に沿ってシールされる圧力容器を形成するために、上部室と下部室の他方に向けて移動可能となっている。上部室は、ウエブの上方にあり、低温殺菌ステーションは、ウエブの下方に配置されかつウエブの裏面に係合するように上方に移動し、さらに上部室内に食品を上方に押し出すためのフォームインバータを含んでいる。
 ウエブの食品用キャビティポケットは、低温殺菌ステーションにおいて、第1状態と第2状態を有し、第1状態では、下方中央壁とこの中央壁から下側に伸びる複数の側壁を有する、食品用キャビティポケットが下方に垂れ下がっており、第2状態では、フォームインバータによって、前記中央壁が上方に押し出され、側壁が中央壁から下側に伸びる上方押出し位置となることを特徴としている。
 また、フォームインバータは、上部中央壁とこの中央壁から下方に伸びる複数の側壁とを有し、第2状態において、食品用キャビティポケットがフォームインバータによって覆われかつ支持されており、食品用キャビティポケットの中央壁がフォームインバータの中央壁上にあり、食品用キャビティポケットの側壁が、フォームインバータの側壁に沿って伸びている。また、上部室は、上部中央壁とこの中央壁から下方に伸びる複数の側壁とを有し、食品用キャビティポケットの第1状態において、食品が、食品用キャビティポケットの中央壁に支持され、かつ食品用キャビティポケットの側壁によって側面から保持されており、食品用キャビティポケットの第2状態において、食品が、食品用キャビティポケットの中央壁に支持され、かつ上部室の複数の側壁によって側面から保持されている。
 低温殺菌ステーションは、1つ以上のポートを有する第1組ポートと、1つ以上のポートを有する第2組ポートとを備える室を含み、第1組ポートは、低温殺菌媒体を導き、第2組ポートは、低温殺菌媒体を排気し、低温殺菌媒体が、第1ポートと第2組ポートの間に置かれた食品を横切って流れる。また、低温殺菌ステーションは、第1端部から食品を横切って流れる低温殺菌媒体を導く1つ以上のポートを有する第1組ポートと、前記第1組ポートから離れて配置されかつ第2端部から食品を横切って流れるように低温殺菌媒体を導く1つ以上のポートを有する第2組ポートとを備えている。低温殺菌媒体は、第1ポート端及び第2ポート端の各々から食品を横切って同時に流れるように、前記第1組ポートと第2組ポートの両方から同時に導かれる。
 低温殺菌ステーションは、第1、第2モード間に交互に変わる低温殺菌サイクルを有し、第1、第2モードは、食品を横切って流れる低温殺菌媒体の交互に変わる流れ方向を与え、第1モードでは、低温殺菌媒体が1つ以上のポートを有する第1組ポートを介して導かれ、前記第2モードでは、低温殺菌媒体が1つ以上のポートを有する第2組ポートを介して導かれ、食品を横切る低温殺菌媒体の流れ方向を交互に変えることを特徴としている。
 また、低温殺菌ステーションは、一対に並んだ第1、第2室を有するモジュールを含み、第1室は、1つ以上のポートを有する第1組ポートと、1つ以上のポートを有する第2組ポートを有し、前記第2室は、1つ以上のポートを有する第3組ポートと、1つ以上のポートを有する第4組ポートを有し、モジュールは、第1、第2、第3流れ通路を有し、第1流れ通路は、第1ポート及び第3組ポートと連通し、第2流れ通路は、1つ以上のポートを有する第2組ポートと連通し、第3流れ通路は、1つ以上のポートを有する第4組ポートと連通することを特徴とする。
 低温殺菌ステーションは、第1、第2モード間で交互に変わる低温殺菌サイクルを有し、前記第1、第2モードは、前記第1、第2室のそれぞれにおいて食品を横切って流れる低温殺菌媒体の交互に変わる流れ方向を与え、第1モードでは、低温殺菌媒体が第1流れ通路を介して導かれ、第2モードでは、低温殺菌媒体が第2流れ通路および第3流れ通路を介して導かれる。また、低温殺菌ステーションは、蒸気を含む低温殺菌媒体を用いて食品を低温殺菌し、低温殺菌ステーションは、蒸気を導く1つ以上のポートを有する第1組ポートと、上部室の下方部分に1以上のポートを有しかつ蒸気から濃縮液体を放出する第2組ポートとを有することを特徴としている。1つ以上のポートを有する第2組ポートは、前記蒸気を通気する。さらに、前記蒸気を通気する1つ以上のポートを有する第3組ポートを含んでいる。
 また、本発明は、上側ウエブ及び下側ウエブの間に食品を包装する包装装置であって、一連のステーションを通って下側ウエブを搬送するウエブ搬送コンベアを含み、一連のステーションは、フォーミングステーションで下側ウエブを包装要素内に形成し、載置ステーションにおいて前記食品を受取り、閉じステーションで前記上側ウエブを用いて包装を完了し、一連のステーションは、載置ステーションと閉じステーションの間に食品を低温殺菌する低温殺菌ステーションを含んでいることを特徴としている。
 ウエブ搬送コンベアは、上流から下流に前進し、閉じステーションは、低温殺菌ステーションは、載置ステーションの下流にあり、載置ステーションは、フォーミングステーションの下流にある。また、フォーミングステーションは、食品が載置される下側ウエブに下方に垂れ下がる食品用キャビティポケットを形成し、低温殺菌ステーションは、下方に面する低温キャビティを有しかつ食品を低温殺菌する上部室を備え、低温キャビティが食品用キャビティポケットに対面している。
 食品は、載置ステーションにおいて、食品用キャビティポケット内に載置され、上部室は、下側ウエブの上方にあり、低温殺菌ステーションは、さらに、下側ウエブの下方にフォームインバータを含んでいる。このフォームインバータは、下側ウエブの裏面と係合するように上方に移動可能でかつ食品を上方に押し出して上部室内に入れる。下側ウエブの食品用キャビティポケットは、低温殺菌ステーションにおいて、第1状態と第2状態を有し、第1状態では、下方に垂れ下がる食品用キャビティポケットが、下方中央壁と、この中央壁から下側に伸びる複数の側壁を有する。第2状態では、フォームインバータが、下側に伸びる前記側壁とともに、中央壁を上方に押して上方押出し位置となり、上部室は、1つ以上のポートを有する第1組ポートと、1つ以上のポートを有する第2組ポートとを備える。前記第1組ポートは低温殺菌媒体を導き、第2組ポートは低温殺菌媒体を排出し、第1組ポートと第2組ポートとの間で、低温殺菌媒体が食品を横切って流れるようにしたことを特徴としている。
 また、本発明の包装方法は、ウエブ搬送コンベアを用意し、一連のステーションを通過するようにウエブを搬送し、ウエブを包装要素内に形成してその中に食品を受け入れ、更に、低温殺菌ステーションを設け、この低温殺菌ステーションで食品を低温殺菌する、各工程を含むことを特徴としている。この包装中に食品を低温殺菌することを含んでいる。さらに、包装の初期状態を与えるために、ウエブ内に食品用キャビティポケットを形成し、食品を包装内に載置し、包装を反転させて食品を、より露出させて食品を低温殺菌し、さらに、前記包装を再度反転させて初期状態に戻す、各工程を含んでいる。
 さらに、上側ウエブと下側ウエブによって形成される包装内に食品を包み込み、フォーミングステーションを設けて、下側ウエブ内に下方に垂れ下がる食品用キャビティポケットを形成し、この食品用キャビティポケット内に食品を載置し、食品を低温殺菌して、上側ウエブを用いて包装を閉じる、各工程を含んでいる。また、下方に面する低温殺菌キャビティを有する上部室を備え、低温殺菌キャビティが、食品用キャビティポケットに面して食品を低温殺菌することを含んでいる。また、食品を上方に押し出して低温殺菌キャビティ内に入れ、このキャビティ内で食品を低温殺菌することを含んでいる。
 また、他の実施形態によれば、各々1つ以上のポートを有する第1組ポートと第2組ポートを備える低温殺菌室を有する低温殺菌ステーションを用意し、第1、第2モードを有する低温殺菌サイクルで、食品を低温殺菌する工程を含み、第1モードでは、低温殺菌媒体が1つ以上ポートを有する第1組ポートを介して導かれ、第2モードでは、低温殺菌媒体が1つ以上ポートを有する第2組ポートを介して導かれ、さらに、低温殺菌サイクル中に、第1、第2モード間で低温殺菌媒体の流れを交互に変えることを特徴としている。
本発明によれば、食品を低温殺菌する低温殺菌ステーションを備え、食品を受け入れる包装要素を下側ウエブと上側ウエブで食品を包装するので、連続して配置された各ステーションを通過することにより、食品を簡単で効果的な方法で食品を包装するとともに包装ラインの中で低温殺菌を行うことができる。
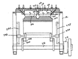
 図1は、包装機械10を示し、上記特許文献1の図1と同様の図であり、理解を容易にするために、この図1と同様の参照番号を用いる。上記特許文献1に示すように、包装機械10は、一般的に、柔軟な包装材料の下側ウエブを供給ロール16から供給するための下側ウエブ供給ステーション12、フォーミングステーション18、載置ステーション20、柔軟な包装材料25の上側ウエブを供給する上側ウエブ供給ステーション22、及び包装を終了する下流ステーション(閉じステーション)26を含んでいる。
 上記特許文献1に記載されるように、包装機械10に設けられたウエブ搬送コンベアは、下側ウエブを公知の一連のステーションを通過させて搬送し、フォーミングステーション18において、下側ウエブを包装要素に形成し、そして、載置ステーション20において、ホットドッグP等の食品を受け入れ、更に、上側ウエブ25を用いて、閉じステーション26において包装を完了する。これらのウエブは、さらに参考として上記特許文献1に配置されている制御モジュール250,278によって制御されながら、上記特許文献1に開示されたインデックス装置によって前進する。コンベアは、上流から下流に向けて前進し、閉じステーション26が、載置ステーション20の下流にあり、また、載置ステーション20がフォーミングステーション18の下流にある。
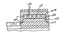
 本発明は、食品Pを低温殺菌する低温殺菌ステーション300を備えている。この低温殺菌ステーション300は、載置ステーション20と閉じステーション26の間にある。また、低温殺菌ステーション300は、載置ステーション20の下流にあり、かつ閉じステーション26の上流に位置している。フォーミングステーション18は、図1、図3、図9に示すように、下側ウエブ14に、下方に垂れ下がる食品用キャビティポケット302を形成し、このポケット内に、上記特許文献1に従って食品Pが載置される。低温殺菌ステーション300は、図8に示すように下方に対面する低温殺菌キャビティ306を備える上部室304を有し、この低温殺菌キャビティ306は、図3に示す食品用キャビティポケット302に対面しかつ以下に記載するように食品Pを低温殺菌する。
 上部室304は、ウエブ14の上方にある。低温殺菌ステーション300は、図3及び図8に示すフォームインバータ(form-inverter)308によって設けられた下部室307を含み、このフォームインバータは、図4に示すように、ウエブの下側にあって上方に移動可能となり、ウエブ14の裏面に係合して食品Pを上方に押し出し、上部室304内の低温殺菌キャビティ306の中に押し入れる。
 フォームインバータ308は、上記特許文献1で用いられたものと比較して、好ましくはサーボモータによって上方及び下方に移動する。このサーボモータは、上記特許文献1の図2,4,5に示すように公知の食品用キャビティポケットを形成するために、フォーミングステーション18において、フォーミングボックスを上下させる。図2に示すサーボモータ310,312は、それぞれ軸314,316を回転させる。
 これらの軸は、次に、上記特許文献1の図2及び図5に示すリフトアーム128b,216によって与えられた上方移動と比較されるように、図2の破線で示す下側位置から実線で示す上側位置に、各リフトアーム318,320を旋回させて、フォームインバータ308を矢印322,324に示すように上方に移動する。それぞれのアーム318,320の端部にあるローラ部材326,328は、上記特許文献1の図5に示すカムスロット134に沿って転がるローラ部材132と比較されるように、フォームインバータ308の裏面に沿う各カムスロット330,332に沿って転がる。
 フォームインバータ308は、上記特許文献1のプラスチック製のベアリングブロック140とガイド144と比較するように、フレーム12の垂直ガイド338,340に沿ってスライドするプラスチック製のベアリングブロック334,336によって、上昇下降する往復運動に対してガイドされている。上部室304と下部室307は、図4〜図7に示すように、かみ合ってキャビティ306を閉鎖する圧力容器を形成しており、このキャビティは、部分341に示すように、2つの室304,307の間に係合するウエブ14によって、ガスケットのようにその周囲に沿ってシールされる。
 ウエブ14の食品用キャビティポケット302は、低温殺菌ステーション300において、図3及び図9に示す第1状態を有する。この第1状態は、下方に垂れ下がる食品用キャビティポケット302が下方中央壁342と、この壁から上方に伸びる複数の側壁344とを有している。食品用キャビティポケット302は、また、図4及び図10に示すように、低温殺菌ステーション300において、第2状態を有する。この第2状態は、図10で示すように、フォームインバータ308が中央壁342を上方に押し出した上方押出し位置となり、側壁344が中央壁から下方に伸びている。
 フォームインバータ308は、図9で示すように、上側中央壁346とそこから下方に伸びている複数の側壁348を有している。上記第2状態における食品用キャビティポケット302は、図10に示すように、フォームインバータ308によって覆われかつ支持されており、中央壁346がフォームインバータの中央壁346に、また、側壁344がフォームインバータの側壁348に覆われる。
 食品用キャビティポケット302は、図9に示す初期状態を有し、そこに食品Pを受け入れる。この包装は、低温殺菌のために食品をより露出させるために、図10に示されるように反転される。上部室304は、図8に示すように上部中央壁350と、そこから下方に伸びる複数の側壁352を有する。食品用キャビティポケット302の上記第1状態では、食品Pは、食品用キャビティポケット302の中央壁342に支持されかつ食品用キャビティポケット302の側壁344によって保持される。図4、図5、図10で示す食品用キャビティポケット302の第2状態では、食品Pは、食品用キャビティポケットの中央壁342上に支持され、上部室304の側壁352によって保持されている。
 図6に示す低温殺菌室304は、1つ以上のポートを有する組ポート354(以下、組ポートを単にポートともいう。)と、1つ以上のポートを有する組ポート356とを有する。ポート354は、低温殺菌媒体、好ましくは蒸気を導入し、ポート356は、低温殺菌媒体を排気する。その結果、低温殺菌媒体が、矢印358で示すように、ポート354とポート356の間で食品Pを横切って流れる。ポート356は、低温殺菌キャビティ306の下方部分にあって、好ましくは蒸気から圧縮された液体を放出する。蒸気は、1つ以上の他のポート360で付加的に、又は選択的に排気される。好ましい形態では、低温殺菌ステーション300は、低温殺菌媒体、好ましくは食品Pを横切る蒸気の交互に変わる流れ方向を与える第1、第2モード間で交互に変わる低温殺菌サイクルを有する。
 第1モードでは、蒸気は、ポート354を通って導入され、また、第2モードでは、蒸気は、ポート360を通って導入される。第1モードにおいて、蒸気は、ポート356および/またはポート354を通って排気される。この排気動作は、図7において矢印362で示される。他の実施形態では、蒸気は、ポート354およびポート360の両方から同時に導入される。圧力および/または温度の感知動作は、所望であれば、圧力及び温度を監視し、より良い処理制御のために圧力および/または温度の変換ポート361,363で与えられる。
 1つの好ましい実施形態では、低温殺菌ステーション図1、図8に示すようにモジュール364によって与えられる。このモジュールは、図6に示すように、横方向に間隔を置いて並んだ少なくとも一対の側室304,366を有し、さらに、好ましくは、例えば、図8において、ウエブの搬送方向に沿って連続して配置される304,368,370で示す複数の各対を有する。各対の他の側室は、同様な組ポートを有し、例えば、図6に示す室366が、1つ以上のポートを有する組ポート372と1つ以上のポートを有する他の組ポート374とを有し、さらに、1つ以上のポートを有する組ポート376を有することもできる。
 低温殺菌ステーションは、1つ以上のモジュール364を含むことができる。各モジュール364は、流れ通路378,380,382を有し、更に、流れ通路384,386を有することもできる。図6に示すように、低温殺菌サイクルの第1モード中、蒸気は、流れ通路378を通って導入され、そしてポート354,372を通ってそれぞれの室304,366に流れ込む。さらに、それぞれのポート356,374を通ってからそれぞれの流れ通路380,382を介して排気される。また、それぞれのポート360,376を通って、それぞれの流れ通路384,386を介して付加的にかつ交互に排気することもできる。蒸気から圧縮された液体は、それぞれのポート356,374を通ってそれぞれの通路380,382を介して排出される。
 図7に示す低温殺菌サイクルの第2モード中、蒸気は、流れ通路384,386を通って導入され、更に、それぞれのポート360,376からそれぞれの室304,366に流れ込み、そして、それぞれのポート356,374を通じてそれぞれの流れ通路380、382を介して排気される。また、ポート354、372を通って流れ通路378を介して付加的に又は交互に排気することができる。低温殺菌が完了すると、包装は、前進して上記特許文献1のように閉じステーション26で上側ウエブ25を用いて閉鎖される。
 添付する特許請求の範囲内で種々の等価物が可能であり、また、変更及び修正が可能であることが認められるであろう。低温殺菌という用語は、ここでは、一般的な辞書においる定義に従って用いられるものであり、所定の露出時間の間、温度処理により物質を部分的に殺菌することを含み、これにより物質の化学変化を生じることなく、好ましくない有機物を破壊する。また、包装寿命を延ばすために、病原性有機物および/または腐敗性有機物の破壊を含んでいる。
 本発明は、連続動作型ウエブ包装機械及びインデックス型ウエブ包装を含んでいる従来知られた種々のウエブ包装機械を用いることができる。本発明は、特定の数に制限されないが、図8〜図10に示す低温殺菌ステーションにおいて、食品の複数の包装を同時に処理できることが望ましい。即ち、本発明は1つ以上の食品包装における低温殺菌を含んでいる。さらに、付加的な低温殺菌ステーションを更に設けることができ、各低温殺菌ステーションには、1つ以上の低温殺菌室を有する。食品の反転は、例えば、フォームインバータ308を介して行うことが好ましい。この反転は、必ずしも必要ではなく、所望であれば、省くこともできる。低温殺菌媒体は、好ましくは蒸気であり、また、代わりに、加熱空気、又は過熱蒸気でもよい。他の形態の低温殺菌媒体を用いることもできる。
図1は、本発明に従うウエブ包装装置の斜視図である。 図2は、図1の装置の一部を部分的に切り欠いて見た側面図である。 図3は、図2の3−3線に沿って見た図である。 図4は、図3と同様にシーケンシャル動作を説明するための図である。 図5は、図4の5−5線に沿って見た図である。 図6は、図4の一部分を示す拡大図である。 図7は、図2図6と同様にシーケンシャル動作を説明するための図である。 図8は、図6の構造の一部を折り畳んでみた分解斜視図である。 図9は、図3における食品用キャビティポケットを示す斜視図である。 図10は、図9と同様の食品用キャビティポケットを形成するための手順を示す斜視図である
符号の説明
 10:包装機械
 12:下側ウエブ供給ステーション
 14:上側ウエブ
 16:供給ロール
 18:フォーミングステーション
 20:載置ステーション
 22:上側ウエブ供給ステーション
 25:包装材料
 26:閉じステーション
 250,275:制御モジュール
 300:低温殺菌ステーション
 302:食品用キャビティポケット
 304:上部室
 306:低温殺菌キャビティポケット
 307:下部室
 308:フォームインバータ
 378,380,382:流れ通路

Claims (28)

  1.  ウエブが一連のステーションを通過して搬送されるウエブ搬送コンベアを含む包装装置であって、
     前記一連のステーションは、食品を受け入れる包装要素内に前記ウエブを形成し、かつ前記食品を低温殺菌する低温殺菌ステーションを含んでいることを特徴とする包装装置。
  2.  前記一連のステーションは、食品が載置される前記ウエブに下方に垂れ下がる食品用キャビティポケットを形成するフォーミングステーションを含み、前記低温殺菌ステーションは、下方に面する低温殺菌キャビティを有する上部室を備え、前記低温殺菌キャビティが、前記食品用キャビティポケットに対面して食品を低温殺菌することを特徴とする請求項1記載の包装装置。
  3.  前記ウエブは、上流から下流へ前進し、前記低温殺菌ステーションは、前記フォーミングステーションの下流にあることを特徴とする請求項2記載の包装装置。
  4.  前記食品は、載置ステーションにおいて前記食品用キャビティポケット内に載置され、前記載置ステーションは、前記フォーミングステーションの下流にあり、前記低温殺菌ステーションは、前記載置ステーションの下流にあることを特徴とする請求項3記載の包装装置。
  5.  前記低温殺菌ステーションは、前記ウエブの下側に下部室を含み、前記上部室と下部室の一方は、前記低温殺菌キャビティを閉鎖しかつ前記2つの室間に係合した前記ウエブの一部によって前記低温殺菌キャビティの周囲に沿ってシールされる圧力容器を形成するために、前記上部室と下部室の他方に向けて移動可能であることを特徴とする請求項2記載の包装装置。
  6.  前記上部室は、前記ウエブの上方にあり、前記低温殺菌ステーションは、前記ウエブの下方に配置されかつ前記ウエブの裏面に係合するように上方に移動し、さらに前記上部室内に前記食品を上方に押し出すためのフォームインバータを含んでいることを特徴とする請求項2記載の包装装置。
  7.  前記ウエブの食品用キャビティポケットは、前記低温殺菌ステーションにおいて、第1状態と第2状態を有し、
     前記第1状態では、下方中央壁とこの中央壁から下側に伸びる複数の側壁を有する、食品用キャビティポケットが下方に垂れ下がっており、
     前記第2状態では、前記フォームインバータによって、前記中央壁が上方に押し出され、前記側壁が前記中央壁から下側に伸びる上方押出し位置となることを特徴とする請求項6記載の包装装置。
  8.  前記フォームインバータは、上部中央壁とこの中央壁から下方に伸びる複数の側壁とを有し、
     前記第2状態において、食品用キャビティポケットが前記フォームインバータによって覆われかつ支持されており、前記食品用キャビティポケットの前記中央壁が前記フォームインバータの中央壁上にあり、前記食品用キャビティポケットの前記側壁が、前記フォームインバータの側壁に沿って伸びていることを特徴とする請求項7記載の包装装置。
  9.  前記上部室は、上部中央壁とこの中央壁から下方に伸びる複数の側壁とを有し、
     前記食品用キャビティポケットの第1状態において、前記食品が、前記食品用キャビティポケットの前記中央壁に支持され、かつ前記食品用キャビティポケットの側壁によって側面から保持されており、
      前記食品用キャビティポケットの第2状態において、前記食品が、前記食品用キャビティポケットの前記中央壁に支持され、かつ前記上部室の複数の側壁によって側面から保持されていることを特徴とする請求項7記載の包装装置。
  10.  前記低温殺菌ステーションは、1つ以上のポートを有する第1組ポートと、1つ以上のポートを有する第2組ポートとを備える室を含み、
     前記第1組ポートは、低温殺菌媒体を導き、前記第2組ポートは、前記低温殺菌媒体を排気し、前記低温殺菌媒体が、前記第1ポートと第2組ポートの間に置かれた食品を横切って流れることを特徴とする請求項1記載の包装装置。
  11.  前記低温殺菌ステーションは、第1端部から前記食品を横切って流れる低温殺菌媒体を導く1つ以上のポートを有する第1組ポートと、前記第1組ポートから離れて配置されかつ第2端部から食品を横切って流れるように前記低温殺菌媒体を導く1つ以上のポートを有する第2組ポートとを備えていることを特徴とする請求項1記載の包装装置。
  12.  前記低温殺菌媒体は、前記第1端部及び第2端部の各々から食品を横切って同時に流れるように、前記第1組ポートと第2組ポートの両方から同時に導かれることを特徴とする請求項11記載の包装装置。
  13.  前記低温殺菌ステーションは、第1、第2モード間に交互に変わる低温殺菌サイクルを有し、前記第1、第2モードは、前記食品を横切って流れる低温殺菌媒体の交互に変わる流れ方向を与え、前記第1モードでは、前記低温殺菌媒体が1つ以上のポートを有する第1組ポートを介して導かれ、前記第2モードでは、前記低温殺菌媒体が1つ以上のポートを有する第2組ポートを介して導かれ、前記食品を横切る前記低温殺菌媒体の流れ方向を交互に変えることを特徴とする請求項1記載の包装装置。
  14.  前記低温殺菌ステーションは、一対に並んだ第1、第2室を有するモジュールを含み、前記第1室は、1つ以上のポートを有する第1組ポートと、1つ以上のポートを有する第2組ポートを有し、前記第2室は、1つ以上のポートを有する第3組ポートと、1つ以上のポートを有する第4組ポートを有し、前記モジュールは、第1、第2、第3流れ通路を有し、前記第1流れ通路は、前記第1ポート及び第3組ポートと連通し、前記第2流れ通路は、1つ以上のポートを有する前記第2組ポートと連通し、前記第3流れ通路は、1つ以上のポートを有する第4組ポートと連通することを特徴とする請求項1記載の包装装置。
  15.  前記低温殺菌ステーションは、第1、第2モード間で交互に変わる低温殺菌サイクルを有し、前記第1、第2モードは、前記第1、第2室のそれぞれにおいて前記食品を横切って流れる低温殺菌媒体の交互に変わる流れ方向を与え、前記第1モードでは、前記低温殺菌媒体が第1流れ通路を介して導かれ、前記第2モードでは、前記低温殺菌媒体が第2流れ通路および第3流れ通路を介して導かれることを特徴とする請求項14記載の包装装置。
  16.  前記低温殺菌ステーションは、蒸気を含む低温殺菌媒体を用いて食品を低温殺菌し、前記低温殺菌ステーションは、前記蒸気を導く1つ以上のポートを有する第1組ポートと、上部室の下方部分に1以上のポートを有しかつ前記蒸気から濃縮液体を放出する第2組ポートとを有することを特徴とする請求項1記載の包装装置。
  17.  1つ以上のポートを有する第2組ポートは、前記蒸気を通気することを特徴とする請求項16記載の包装装置。
  18.  さらに、前記蒸気を通気する1つ以上のポートを有する第3組ポートを含むことを特徴とする請求項16記載の包装装置。
  19.  上側ウエブ及び下側ウエブの間に食品を包装する包装装置であって、
     一連のステーションを通って前記下側ウエブを搬送するウエブ搬送コンベアを含み、前記一連のステーションは、フォーミングステーションで前記下側ウエブを包装要素内に形成し、載置ステーションにおいて前記食品を受取り、閉じステーションで前記上側ウエブを用いて包装を完了し、前記一連のステーションは、前記載置ステーションと閉じステーションの間に食品を低温殺菌する低温殺菌ステーションを含んでいることを特徴とする包装装置。
  20.  前記ウエブ搬送コンベアは、上流から下流に前進し、前記閉じステーションは、前記低温殺菌ステーションは、前記載置ステーションの下流にあり、前記載置ステーションは、フォーミングステーションの下流にあることを特徴とする請求項19記載の包装装置。
  21.  前記フォーミングステーションは、食品が載置される前記下側ウエブに下方に垂れ下がる食品用キャビティポケットを形成し、前記低温殺菌ステーションは、下方に面する低温キャビティを有しかつ前記食品を低温殺菌する上部室を備え、前記低温キャビティが前記食品用キャビティポケットに対面しており、前記食品は、前記載置ステーションにおいて、前記食品用キャビティポケット内に載置され、前記上部室は、前記下側ウエブの上方にあり、前記低温殺菌ステーションは、さらに、前記下側ウエブの下方にフォームインバータを含み、このフォームインバータは、前記下側ウエブの裏面と係合するように上方に移動可能でかつ前記食品を上方に押し出して前記上部室内に入れ、前記下側ウエブの前記食品用キャビティポケットは、前記低温殺菌ステーションにおいて、第1状態と第2状態を有し、前記第1状態では、下方に垂れ下がる食品用キャビティポケットが、下方中央壁と、この中央壁から下側に伸びる複数の側壁を有しており、前記第2状態では、前記フォームインバータが、下側に伸びる前記側壁とともに、前記中央壁を上方に押して上方押出し位置となり、
     前記上部室は、1つ以上のポートを有する第1組ポートと、1つ以上のポートを有する第2組ポートとを備え、前記第1組ポートは、低温殺菌媒体を導き、前記第2組ポートは、前記低温殺菌媒体を排出して、前記第1組ポートと第2組ポートとの間で、前記低温殺菌媒体が前記食品を横切って流れるようにしたことを特徴とする請求項19記載の包装装置。
  22.  ウエブ搬送コンベアを用意し、一連のステーションを通過するようにウエブを搬送し、前記ウエブを包装要素内に形成してその中に食品を受け入れ、更に、低温殺菌ステーションを設け、この低温殺菌ステーションで前記食品を低温殺菌する、各工程を含むことを特徴とする食品を包装する方法。
  23.  前記包装中に前記食品を低温殺菌することを含んでいる請求項22記載の方法。
  24.  前記包装の初期状態を与えるために、前記ウエブ内に食品用キャビティポケットを形成し、前記食品を前記包装内に載置し、前記包装を反転させて前記食品を、より露出させて前記食品を低温殺菌し、さらに、前記包装を再度反転させて初期状態に戻す、各工程を含んでいることを特徴とする請求項23記載の方法。
  25.  上側ウエブと下側ウエブによって形成される包装内に食品を包み込み、フォーミングステーションを設けて、前記下側ウエブ内に下方に垂れ下がる食品用キャビティポケットを形成し、この食品用キャビティポケット内に前記食品を載置し、前記食品を低温殺菌して、前記上側ウエブを用いて前記包装を閉じる、各工程を含んでいることを特徴とする請求項22記載の方法。
  26.  下方に面する低温殺菌キャビティを有する上部室を備え、前記低温殺菌キャビティが、前記食品用キャビティポケットに面して食品を低温殺菌することを含んでいる請求項25記載の方法。
  27.  前記食品を上方に押し出して前記低温殺菌キャビティ内に入れ、このキャビティ内で前記食品を低温殺菌することを含んでいる請求項26記載の方法。
  28.  各々1つ以上のポートを有する第1組ポートと第2組ポートを備える低温殺菌室を有する低温殺菌ステーションを用意し、第1、第2モードを有する低温殺菌サイクルで、前記食品を低温殺菌する工程を含み、前記第1モードでは、前記低温殺菌媒体が1つ以上ポートを有する第1組ポートを介して導かれ、前記第2モードでは、前記低温殺菌媒体が1つ以上ポートを有する第2組ポートを介して導かれ、さらに、前記低温殺菌サイクル中に、前記第1、第2モード間で前記低温殺菌媒体の流れを交互に変えることを特徴とする請求項22記載の方法。



JP2003311534A 2002-09-13 2003-09-03 ウエブ包装装置 Expired - Fee Related JP4061502B2 (ja)

Applications Claiming Priority (1)

Application Number Priority Date Filing Date Title
US10/243,093 US6843043B2 (en) 2002-09-13 2002-09-13 Web packaging pasteurization system

Publications (3)

Publication Number Publication Date
JP2004106941A true JP2004106941A (ja) 2004-04-08
JP2004106941A5 JP2004106941A5 (ja) 2005-09-02
JP4061502B2 JP4061502B2 (ja) 2008-03-19

Family

ID=31991548

Family Applications (1)

Application Number Title Priority Date Filing Date
JP2003311534A Expired - Fee Related JP4061502B2 (ja) 2002-09-13 2003-09-03 ウエブ包装装置

Country Status (9)

Country Link
US (2) US6843043B2 (ja)
EP (1) EP1407968B1 (ja)
JP (1) JP4061502B2 (ja)
AT (1) ATE345272T1 (ja)
AU (1) AU2003227294C1 (ja)
BR (1) BR0303498A (ja)
CA (1) CA2437699C (ja)
DE (1) DE60309649T2 (ja)
ES (1) ES2274151T3 (ja)

Cited By (2)

* Cited by examiner, † Cited by third party
Publication number Priority date Publication date Assignee Title
JP2009502918A (ja) * 2005-07-25 2009-01-29 イーコラブ インコーポレイティド 抗菌組成物及び包装された食品の処理方法
JP2021181317A (ja) * 2020-05-18 2021-11-25 岩井ファルマテック株式会社 陽圧監視システム

Families Citing this family (30)

* Cited by examiner, † Cited by third party
Publication number Priority date Publication date Assignee Title
US6843043B2 (en) * 2002-09-13 2005-01-18 Alkar Rapidpak, Inc. Web packaging pasteurization system
US6976347B2 (en) 2002-09-13 2005-12-20 Alkar-Rapidpak, Inc. Surface pasteurization method
US8088425B2 (en) * 2003-10-08 2012-01-03 Kraft Foods Global Brands Llc Apparatus and method for surface treatment of a food product
US8445419B2 (en) * 2005-07-25 2013-05-21 Ecolab Usa Inc. Antimicrobial compositions for use on food products
US20080274242A1 (en) * 2006-07-21 2008-11-06 Ecolab Inc. Antimicrobial compositions and methods for treating packaged food products
WO2007018907A1 (en) * 2005-07-25 2007-02-15 Ecolab Inc. Antimicrobial compositions for use on food products
US7340871B1 (en) * 2006-03-31 2008-03-11 Alkar-Rapidpak, Inc. Web packaging system with ergonomic tooling change
US7490448B1 (en) 2007-03-09 2009-02-17 Alkar-Rapidpak, Inc. Form-fill-seal web packaging system with sealing station
US7703265B2 (en) * 2007-10-23 2010-04-27 Alkar-Rapidpak, Inc. Web packaging system with ergonomic forming plug change
US7976885B2 (en) 2007-10-23 2011-07-12 Alkar-Rapidpak-Mp Equipment, Inc. Anti-microbial injection for web packaging pasteurization system
US7833002B2 (en) * 2008-03-28 2010-11-16 Cp Packaging, Inc. Lift mechanism for tooling that acts on a web in a packaging machine
DE102008019626A1 (de) 2008-04-18 2009-10-29 Multivac Sepp Haggenmüller Gmbh & Co. Kg Arbeitsstation einer Verpackungsmaschine mit einer Hubvorrichtung
CN101582363A (zh) * 2008-05-14 2009-11-18 清华大学 真空器件的封接方法
CN101587808B (zh) * 2008-05-23 2011-06-08 清华大学 真空器件的封接装置以及封接方法
CN101587807B (zh) * 2008-05-23 2011-05-04 清华大学 真空器件的封接装置以及封接方法
US8870730B2 (en) * 2009-03-24 2014-10-28 Peerless Machine & Tool Corporation Cup lid manufacturing process
US8186134B2 (en) * 2009-05-18 2012-05-29 Alkar-Rapidpak-Mp Equipment, Inc. Packaging machines and methods
US8499536B2 (en) 2009-05-18 2013-08-06 Alkar-Rapidpak-Mp Equipment, Inc. Apparatuses and methods for assisted tooling extraction
US9156573B2 (en) 2011-03-30 2015-10-13 Alkar-Rapidpak, Inc. Packaging apparatuses and methods
EP3119679A4 (en) 2014-03-21 2017-10-25 Xyleco, Inc. Method and structures for processing materials
US20160325868A1 (en) * 2015-05-08 2016-11-10 Alkar-Rapidpak, Inc. Contour cutting station for web packaging machine
US20180022490A1 (en) * 2016-07-21 2018-01-25 Ross Industries, Inc. Vacuum sealing system, apparatus, and method
US10961093B2 (en) 2017-08-14 2021-03-30 Cp Packaging, Inc. Simplified lift mechanism for a packaging machine
CN109573156A (zh) * 2018-11-12 2019-04-05 江苏联通纪元印务股份有限公司 烟盒包装用节能型覆膜机构
DE102018222836A1 (de) * 2018-12-21 2020-06-25 Multivac Sepp Haggenmüller Se & Co. Kg Siegeln von kartonzuschnitten mittels auflage auf transportband
IT202100001751A1 (it) * 2021-01-28 2022-07-28 Bmb S R L Testa riscaldante e saldante per macchine confezionatrici di prodotti in vaschetta
CN115043007B (zh) * 2022-06-08 2023-08-15 江苏威尔德曼智能科技有限公司 缝纫针超声波焊接包装设备
CN115027749A (zh) * 2022-06-22 2022-09-09 重庆上口佳农业开发有限公司 一种豆干加工用自动包装机
CN116573246B (zh) * 2023-07-11 2023-09-08 山东新华医疗器械股份有限公司 一种方形包装袋灭菌周转系统及灭菌盒装卸装置
CN116946447B (zh) * 2023-09-12 2026-01-20 吉林省德商药业股份有限公司 泡眼内空气置换装置及泡罩包装机构

Family Cites Families (81)

* Cited by examiner, † Cited by third party
Publication number Priority date Publication date Assignee Title
US2364049A (en) * 1941-04-07 1944-12-05 Bensel Brice Corp Process for preserving food and product
US2779681A (en) * 1952-10-31 1957-01-29 Sell S Specialties Inc Method of preparing and packaging meat
US3597228A (en) * 1967-06-30 1971-08-03 Cryodry Corp Method of preparing precooked poultry pieces
US3966980A (en) * 1969-05-02 1976-06-29 A.G.S. Food System Inc. Method of cooking and storing food in flexible bags
JPS4929239B1 (ja) * 1970-07-02 1974-08-02
US3843806A (en) 1972-03-29 1974-10-22 Standard Packaging Corp Granular package
US3906115A (en) * 1972-06-14 1975-09-16 Morris R Jeppson Method for the preparation of precooked meat products
US3889009A (en) * 1972-07-31 1975-06-10 Samuel P Lipoma Method for continuous electromagnetic sterilization of food in a pressure zone
US3992850A (en) * 1973-05-09 1976-11-23 Multivac Sepp Haggenmueller Kg Apparatus for packing materials in synthetic foils
US3961090A (en) * 1975-02-28 1976-06-01 The E. Kahn's Sons Company Method of preparing rare roast beef
US4045939A (en) * 1976-01-23 1977-09-06 Papeteries De Belgique Process for the production of a packaging receiving a sterile liquid
DE3044061A1 (de) * 1980-11-22 1982-06-03 Papier-und Kunststoff-Werke Linnich GmbH, 4000 Düsseldorf Verfahren zum entkeimen von verpackungsmaterial mittels dampf
DE3120356C2 (de) * 1981-05-22 1984-03-08 Degussa Ag, 6000 Frankfurt Verfahren zum Befüllen von Silofahrzeugbehältern
US4391862A (en) * 1981-07-02 1983-07-05 W. R. Grace & Co., Cryovac Division Pasteurizable thermoplastic film and receptacle therefrom
FR2522478B1 (fr) * 1982-03-03 1986-03-28 Nestle Sa Produit alimentaire constitue d'une masse poudreuse et d'une garniture emballees separement, procede de preparation de la garniture, emballage et procede d'emballage
US4448792A (en) * 1982-07-26 1984-05-15 W. R. Grace & Co., Cryovac Division Pasteurizable and cook-in shrink bag constructed of a multilayer film
JPS5965773A (ja) 1982-10-08 1984-04-14 Ricoh Co Ltd 周波数検出装置
US4602262A (en) * 1983-10-13 1986-07-22 Helene Holding Company Printing apparatus with shifting of head or drum to improve resolution
SE451829C (sv) * 1984-02-16 1993-03-01 Fidex Maskin Ab Saett och anordning foer kontinuerlig vaermebehandling och foerpackning av vaetskeformig produkt
US4606262A (en) * 1984-07-25 1986-08-19 Campbell Soup Company Apparatus for heat treating food
US4905454A (en) * 1985-02-26 1990-03-06 Sanfilippo John E Method for providing containers with a controlled environment
US5001878A (en) * 1985-02-26 1991-03-26 Sanfilippo John E Apparatus for providing containers with a controlled environment
JPH0248696B2 (ja) 1985-12-23 1990-10-25 Kanegafuchi Chemical Ind Jutakunosotobaridannetsukoho
US5155974A (en) * 1986-09-03 1992-10-20 Seawell North America, Inc. Food packaging with gas between tensioned film & lid
DK496987A (da) 1986-09-23 1988-03-24 Keyes Uk Ltd Fremgangsmaade til emballering af en madvare
US4737373A (en) 1987-02-11 1988-04-12 Forney Robert B Cooking and browning system
IT1216050B (it) * 1988-03-10 1990-02-22 Goglio Spa Luigi Milano Procedimento per la produzione di prosciutto cotto.
US4909022A (en) * 1988-06-16 1990-03-20 Continental Can Company, Inc. Nest for container closing machine
US4897985A (en) 1988-10-06 1990-02-06 Curwood, Inc. Continuous motion package forming machine
FR2639321B1 (fr) * 1988-11-18 1991-02-22 Torterotot Roland Procede et dispositif de sterilisation d'une installation de conditionnement de produits alimentaires ou pharmaceutiques
USH762H (en) * 1989-04-07 1990-04-03 W. R. Grace & Co.-Conn. Post-pasteurization
US5366746A (en) * 1990-08-27 1994-11-22 Utah State University Foundation Ultra-high temperature pasteurization and electron beam technology for sterilization of meat and meat products
US5470597A (en) * 1990-08-27 1995-11-28 Utah State University Ultra-high temperature pasteurization of meat products
US5043175A (en) 1990-10-01 1991-08-27 California Pellet Mill Company Method and apparatus for sterilization of animal feed
US5170611A (en) 1990-12-12 1992-12-15 Rapidpak, Inc. Web supply mechanism for an indexing motion packaging machine
US5205110C1 (en) 1990-12-12 2001-05-15 Dec Int Servo motor operated indexing motion packaging machine and method
US5152968A (en) * 1990-12-17 1992-10-06 Elopak Systems A.G. Single pass vapor generation container sterilization system
US5195294A (en) * 1991-01-15 1993-03-23 Campbell Soup Company Container filling and sealing system
EP0506599B1 (en) 1991-03-28 1996-02-28 Metalquimia, S.A. Pasteurization, sterilization and aseptic packing procedure for meat products and machine therefor
US5298270A (en) * 1992-03-30 1994-03-29 Doug Morgan Barbecue cooking, processing, packaging and storage system
ATE223307T1 (de) * 1992-10-26 2002-09-15 Cryovac Inc Pasteurisierbarer mehrschichtiger film für ware die in der verpackung gekocht wird
US5422130A (en) * 1992-11-04 1995-06-06 Pressure Pack, Inc. Commercially sterile food packaging system
US5271207A (en) * 1992-11-18 1993-12-21 Moshe Epstein Dual-function nozzle head for vacuum-packaging tooling
US5344609A (en) 1992-12-24 1994-09-06 Marshall Long Method and apparatus for sterilization with incremental pressure reduction
US5356649A (en) * 1993-01-11 1994-10-18 Lamotta Richard Method and apparatus for processng and packaging foods
US5281428A (en) 1993-03-31 1994-01-25 Morgan Arthur I Method and apparatus for treating and packaging raw meat
US5347437A (en) * 1993-06-11 1994-09-13 Cocca Lorraine A Electronic jewelry with inscribed fiber optic tail
US5816024A (en) * 1996-05-07 1998-10-06 Jescorp, Inc. Apparatus and method for exposing product to a controlled environment
US5443150A (en) 1993-09-23 1995-08-22 Rapidpak, Inc. Apparatus for advancing preformed containers
US5365649A (en) * 1994-02-04 1994-11-22 Chrysler Corporation Assist tool for seating door hinge pin
US5577367A (en) * 1994-06-10 1996-11-26 Johnson & Johnson Vision Products, Inc. Apparatus and method for sterilization and secondary packaging
US5512312A (en) * 1994-06-15 1996-04-30 Forney; Robert B. Radiant wall oven and method of using the same
US5749203A (en) * 1994-09-23 1998-05-12 Kimberly-Clark Corporation Method of packaging a medical article
US5514403A (en) * 1994-10-04 1996-05-07 Webb; Neil B. Method of substantially reducing hazardous pathogens on the surface of food products
ATE179303T1 (de) 1994-11-07 1999-05-15 Frigoscandia Inc Methode und verfahren zum dampfpasteurisiren von fleisch
US5524419A (en) * 1995-02-02 1996-06-11 Bausch & Lomb Incorporated Method and apparatus for molding contact lenses and making their container
US5537916A (en) 1995-05-19 1996-07-23 Metalquimia, S.A. Automatic machine for sterilization and aseptic packing of pasteurized meat products
JPH0958613A (ja) 1995-08-11 1997-03-04 Ajikan:Kk 加工食品の真空包装方法及びその装置
US5785270A (en) 1995-09-20 1998-07-28 Rapidpak, Inc. Combined support, adjustment and braking mechanism for use in unwinding a roll of web material
US6086936A (en) 1995-12-14 2000-07-11 Kal Kan Foods, Inc. High temperature/ultra-high pressure sterilization of foods
JP3408923B2 (ja) * 1996-05-28 2003-05-19 シャープ株式会社 画像表示装置
US5718101A (en) * 1996-06-04 1998-02-17 W. R. Grace & Co.-Conn. Method and apparatus for packaging a product in a dual-lid package
US5741536A (en) * 1996-07-09 1998-04-21 James E. Mauer Method of pasteurizing meat products
JP2838198B2 (ja) 1996-09-30 1998-12-16 株式会社シンワ機械 食品殺菌装置および方法
DK1021338T3 (da) * 1997-10-06 2002-07-22 Jean-Pierre Rossi Apparat til konditionering af produkter under en kontrolleret atmosfære i emballager, som er forsynet med låg af en film
US5822951A (en) * 1997-11-06 1998-10-20 Modern Controls, Inc. Apparatus and method for sampling gas in product packages
US6085490A (en) 1998-02-11 2000-07-11 Rapidpak, Inc. Forming web registration control system
US5952027A (en) * 1998-05-11 1999-09-14 Swift-Eckrich, Inc. Method for browning precooked, whole muscle meat products
US5932265A (en) 1998-05-29 1999-08-03 Morgan; Arthur I. Method and apparatus for treating raw food
US6269946B1 (en) * 1998-10-29 2001-08-07 Tres Fresh Llc Packaging system for preserving perishable items
US6291003B1 (en) * 1998-10-30 2001-09-18 Excel Corporation Method and apparatus for steam pasteurization of meat
US6202388B1 (en) * 1998-11-06 2001-03-20 Jescorp, Inc. Controlled environment sealing apparatus and method
US6021625A (en) * 1998-11-24 2000-02-08 Ethicon, Inc. Process for microbial barrier vent to a foil package
US6245294B1 (en) 1998-12-17 2001-06-12 The United States Of America As Represented By The Secretary Of Agriculture Method and apparatus for surface treatment of materials
DE19960155A1 (de) * 1999-12-14 2001-06-21 Hassia Verpackung Ag Verfahren und Einrichtung zum Vorsterilisieren von Sterilräumen an Verpackungsmaschinen
FR2817349B1 (fr) * 2000-11-28 2003-06-20 Centre Nat Rech Scient Nouveau procede de criblage de modulateurs de la transcription bacterienne
US20020119073A1 (en) 2000-12-28 2002-08-29 Mcgowan James E. Medical article sterilization method
US6718735B2 (en) * 2002-03-19 2004-04-13 Baxter International Inc. Albumin in a flexible polymeric container
US7247330B2 (en) * 2002-07-23 2007-07-24 Kraft Foods Holdings, Inc. Method for controlling microbial contamination of a vacuum-sealed food product
US6843043B2 (en) * 2002-09-13 2005-01-18 Alkar Rapidpak, Inc. Web packaging pasteurization system
US20040018283A1 (en) 2002-07-23 2004-01-29 Kraft Foods Holdings, Inc. Method for controlling microbial contamination of a vacuum-sealed food product

Cited By (4)

* Cited by examiner, † Cited by third party
Publication number Priority date Publication date Assignee Title
JP2009502918A (ja) * 2005-07-25 2009-01-29 イーコラブ インコーポレイティド 抗菌組成物及び包装された食品の処理方法
US9560873B2 (en) 2005-07-25 2017-02-07 Ecolab Usa Inc. Antimicrobial compositions and methods for treating packaged food products
JP2021181317A (ja) * 2020-05-18 2021-11-25 岩井ファルマテック株式会社 陽圧監視システム
JP7473391B2 (ja) 2020-05-18 2024-04-23 岩井ファルマテック株式会社 陽圧監視システム

Also Published As

Publication number Publication date
US20050022468A1 (en) 2005-02-03
ES2274151T3 (es) 2007-05-16
EP1407968A1 (en) 2004-04-14
US20040050020A1 (en) 2004-03-18
AU2003227294A1 (en) 2004-04-01
JP4061502B2 (ja) 2008-03-19
CA2437699C (en) 2009-02-03
AU2003227294B2 (en) 2008-10-16
US6843043B2 (en) 2005-01-18
AU2003227294C1 (en) 2009-02-26
DE60309649T2 (de) 2007-03-08
ATE345272T1 (de) 2006-12-15
EP1407968B1 (en) 2006-11-15
US7458197B2 (en) 2008-12-02
CA2437699A1 (en) 2004-03-13
DE60309649D1 (de) 2006-12-28
BR0303498A (pt) 2004-09-08

Similar Documents

Publication Publication Date Title
JP2004106941A (ja) ウエブ包装装置及びその方法
JP4753111B2 (ja) 表面低温殺菌法
JP2004106941A5 (ja)
JP4100558B2 (ja) びん形状の包装容器に殺菌充填する装置
JP4175097B2 (ja) 連続無菌炊飯方法および装置
JP3754368B2 (ja) 連続処理装置
JP3414010B2 (ja) パック食品の加熱調理方法及びその装置
JPH0767595A (ja) 食品殺菌装置
JP2002153246A (ja) 食品加熱殺菌方法および装置
JPH024621A (ja) 無菌充填包装機における容器移送方法とその装置
JP3735260B2 (ja) 容器入り食品の製造方法
JPH0232929A (ja) 液状物質を封入した連続帯状包装体の加熱・冷却併用式処理方法及び装置
JP3203328B2 (ja) 食品加熱殺菌装置
JPH0579572B2 (ja)
JP4407791B2 (ja) 無菌充填包装システム
JP3055759B2 (ja) 食品加熱殺菌方法及び食品加熱殺菌装置
JPH0245336A (ja) 容器滅菌装置
JPS6035100B2 (ja) 連続殺菌方法およびその装置
JP2004182320A (ja) ガス置換包装方法及び装置
JPH02191129A (ja) 連続帯状包装体の包装システム

Legal Events

Date Code Title Description
A521 Request for written amendment filed

Free format text: JAPANESE INTERMEDIATE CODE: A523

Effective date: 20050506

A621 Written request for application examination

Free format text: JAPANESE INTERMEDIATE CODE: A621

Effective date: 20050506

A977 Report on retrieval

Free format text: JAPANESE INTERMEDIATE CODE: A971007

Effective date: 20060209

A131 Notification of reasons for refusal

Free format text: JAPANESE INTERMEDIATE CODE: A131

Effective date: 20060222

A601 Written request for extension of time

Free format text: JAPANESE INTERMEDIATE CODE: A601

Effective date: 20060522

A602 Written permission of extension of time

Free format text: JAPANESE INTERMEDIATE CODE: A602

Effective date: 20060525

A521 Request for written amendment filed

Free format text: JAPANESE INTERMEDIATE CODE: A523

Effective date: 20060815

A131 Notification of reasons for refusal

Free format text: JAPANESE INTERMEDIATE CODE: A131

Effective date: 20070124

A601 Written request for extension of time

Free format text: JAPANESE INTERMEDIATE CODE: A601

Effective date: 20070424

A602 Written permission of extension of time

Free format text: JAPANESE INTERMEDIATE CODE: A602

Effective date: 20070502

A521 Request for written amendment filed

Free format text: JAPANESE INTERMEDIATE CODE: A523

Effective date: 20070524

A131 Notification of reasons for refusal

Free format text: JAPANESE INTERMEDIATE CODE: A131

Effective date: 20070620

A521 Request for written amendment filed

Free format text: JAPANESE INTERMEDIATE CODE: A523

Effective date: 20070913

A131 Notification of reasons for refusal

Free format text: JAPANESE INTERMEDIATE CODE: A131

Effective date: 20071024

A521 Request for written amendment filed

Free format text: JAPANESE INTERMEDIATE CODE: A523

Effective date: 20071030

TRDD Decision of grant or rejection written
A01 Written decision to grant a patent or to grant a registration (utility model)

Free format text: JAPANESE INTERMEDIATE CODE: A01

Effective date: 20071121

A61 First payment of annual fees (during grant procedure)

Free format text: JAPANESE INTERMEDIATE CODE: A61

Effective date: 20071211

R150 Certificate of patent or registration of utility model

Free format text: JAPANESE INTERMEDIATE CODE: R150

FPAY Renewal fee payment (event date is renewal date of database)

Free format text: PAYMENT UNTIL: 20110111

Year of fee payment: 3

FPAY Renewal fee payment (event date is renewal date of database)

Free format text: PAYMENT UNTIL: 20120111

Year of fee payment: 4

FPAY Renewal fee payment (event date is renewal date of database)

Free format text: PAYMENT UNTIL: 20130111

Year of fee payment: 5

LAPS Cancellation because of no payment of annual fees