EP1854691A1 - Brücke mit Drehscheibe eines Übergangs zwischen zwei gelenkig miteinander verbundenen Fahrzeugen - Google Patents

Brücke mit Drehscheibe eines Übergangs zwischen zwei gelenkig miteinander verbundenen Fahrzeugen Download PDF

Info

Publication number
EP1854691A1
EP1854691A1 EP07009125A EP07009125A EP1854691A1 EP 1854691 A1 EP1854691 A1 EP 1854691A1 EP 07009125 A EP07009125 A EP 07009125A EP 07009125 A EP07009125 A EP 07009125A EP 1854691 A1 EP1854691 A1 EP 1854691A1
Authority
EP
European Patent Office
Prior art keywords
turntable
vehicle
bridge according
transition
intermediate member
Prior art date
Legal status (The legal status is an assumption and is not a legal conclusion. Google has not performed a legal analysis and makes no representation as to the accuracy of the status listed.)
Granted
Application number
EP07009125A
Other languages
English (en)
French (fr)
Other versions
EP1854691B2 (de
EP1854691B1 (de
Inventor
Hans-Jakob Rudolph
Current Assignee (The listed assignees may be inaccurate. Google has not performed a legal analysis and makes no representation or warranty as to the accuracy of the list.)
Huebner GmbH and Co KG
Original Assignee
Huebner GmbH and Co KG
Priority date (The priority date is an assumption and is not a legal conclusion. Google has not performed a legal analysis and makes no representation as to the accuracy of the date listed.)
Filing date
Publication date
Family has litigation
First worldwide family litigation filed litigation Critical https://patents.darts-ip.com/?family=36776761&utm_source=google_patent&utm_medium=platform_link&utm_campaign=public_patent_search&patent=EP1854691(A1) "Global patent litigation dataset” by Darts-ip is licensed under a Creative Commons Attribution 4.0 International License.
Application filed by Huebner GmbH and Co KG filed Critical Huebner GmbH and Co KG
Priority to PL07009125T priority Critical patent/PL1854691T5/pl
Publication of EP1854691A1 publication Critical patent/EP1854691A1/de
Application granted granted Critical
Publication of EP1854691B1 publication Critical patent/EP1854691B1/de
Publication of EP1854691B2 publication Critical patent/EP1854691B2/de
Active legal-status Critical Current
Anticipated expiration legal-status Critical

Links

Images

Classifications

    • BPERFORMING OPERATIONS; TRANSPORTING
    • B61RAILWAYS
    • B61DBODY DETAILS OR KINDS OF RAILWAY VEHICLES
    • B61D17/00Construction details of vehicle bodies
    • B61D17/04Construction details of vehicle bodies with bodies of metal; with composite, e.g. metal and wood body structures
    • B61D17/20Communication passages between coaches; Adaptation of coach ends therefor
    • BPERFORMING OPERATIONS; TRANSPORTING
    • B61RAILWAYS
    • B61DBODY DETAILS OR KINDS OF RAILWAY VEHICLES
    • B61D3/00Wagons or vans
    • B61D3/10Articulated vehicles

Definitions

  • the present invention relates to a bridge with a hub of a transition between two interconnected by a joint vehicles.
  • Articulately interconnected vehicles are, for example in the form of articulated buses, but also in the form of rail vehicles, z. B. trams, known.
  • Rail vehicles, and in particular trams have a plurality of bogies, in the bogies, ie in front of or behind the bogies, the individual vehicles or vehicle parts are connected by joints.
  • the transition comprises a transition bridge and a bellows, which is known to encompass both the transition bridge and the joint to the persons in the vehicle the transition from one vehicle to the other vehicle, exposed to the weather to be possible.
  • articulated vehicles must be able to follow the most varied movements during their journey.
  • a vehicle must enable kinking movements, such as occur when such a vehicle drives through a curve.
  • pitching movements must be made possible, as occur when such a vehicle travels over a crest or through a depression.
  • rolling movements should also be able to be accommodated, as occur, for example, when the vehicles are rotated against one another.
  • the described movements can also occur superimposed on each other.
  • in the area of a turntable arise when cornering, so with a bending movement and possibly superimposed rolling and pitching movements, extremely complex movements in the hub, for example, if one considers a point on the outer circumference of the turntable.
  • Modern tram trains are especially designed so that they also allow wheelchair users the opportunity to get directly from the platform edge in the vehicle, possibly also by means of a ramp in the door entry in the sense of barrier-free access.
  • the vehicles are designed low-floor at least in the area of an entry.
  • limits are set in the range of the rotary joint, since the hinge can not fall below a certain minimum height.
  • the hub extends obliquely over the joint, wherein the inclined turntable is connected at its other end to the vehicle floor of a vehicle in combination
  • connection from the hub to the bottom of the vehicle can be done directly, or indirectly by a dome plate.
  • a dome plate may be provided which is rigidly connected to the ground.
  • the turntable is held clamped in the transition to the bottom of a vehicle.
  • the turntable rotates when cornering relative to the vehicle floor and thus has on its the bottom of a vehicle part facing end face on a circular arc-shaped training.
  • the parts forming the bridge are arranged displaceably parallel to the longitudinal axis of the vehicle, in particular the hub is slidably clamped along its front-side circumference relative to the bottom of a vehicle parallel to the longitudinal axis of the vehicle. This means that the turntable can move relative to the ground in the vehicle's longitudinal axis.
  • a clamping bar is provided which covers the edge region of the hub and the dome plate, and which is connected to a counter ledge below the turntable and the dome plate.
  • the hub In order to ensure that even when loading the clamping bar, the hub can easily rotate, is provided between clamping bar and turntable and a slide bar, for example made of plastic.
  • An equal sliding strip is also advantageous between the Counter ledge on the one hand and the turntable and the dome plate on the other hand arranged.
  • the elastic intermediate member which is designed in particular as a plate is connected by connecting strips with each of the vehicle floor and the turntable.
  • a dome plate can also be provided between the bottom of the other vehicle and the elastic intermediate member, this dome plate is connected on the one hand with the elastic intermediate member and on the other hand to the vehicle floor of the other vehicle. It should again be noted at this point that it is essentially irrelevant to the invention whether the vehicle floor is directly connected to the turntable or the elastic intermediate member or by a dome plate.
  • the end edge of the turntable extends in the transition to the elastic intermediate member through the pivot point of the joint. It is also provided that the bottom of the other vehicle is formed arrow-shaped extending in the transition to the elastic intermediate member, wherein the elastic intermediate member extends corresponding thereto.
  • the tram line marked 1 comprises the three vehicles 2, 3 and 4, which communicate with each other through the transitions 5.
  • the Schienengelenkzug the two bogies 6. If such a vehicle drives around a curve, for example, then the tram train follows the course of the curve by bending in the region of the transitions 5.
  • transition bridge 10 as part of the total designated 5 transition (Fig. 2 ff).
  • the transition bridge 10 comprising the hub 20, the elastic intermediate member 30 and the dome plate 40 and the dome plate 50 is located obliquely over the joint designated 60 for connection of the two vehicles 3, as can be seen in FIG.
  • the transition bridge as well as the joint 60 is surrounded by the bellows designated overall by 15, as this results in particular in view of FIGS. 2 and 3. It can be seen in particular from FIG. 3 that the end edge 21 of the turntable 20 extends through the pivot point 61 of the joint 60.
  • the dome plate 40 is formed in the direction of the terminal edge 21 to arrow-shaped (arrow 45), the tip of the arrow-shaped dome plate centric on the pivot point (61) of the Assigns joint 60.
  • the elastic intermediate member 30 ultimately follows the course of both the turntable in this area and the dome plate 40.
  • Such a design of the elastic intermediate member has proven to be advantageous insofar as this design in the central region of this elastic intermediate member, the lowest stresses occur.
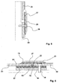
  • FIG. 5 As a section of the line V - V of Figure 4, it can be seen as well as from Figure 6, the clamping of the hub 20 through the dome plate 50. Specifically, this is a clamping bar 25 is provided, wherein the clamping bar 25 by circularly arranged screws 26 is connected to the dome plate 50. Between the clamping bar 25 and the turntable 20 on the one hand and the dome plate on the other hand there is a slide bar 27 to ensure a relative movement of the hub 20 to the dome plate 50 and thus ultimately to the bottom of the coupled vehicle.
  • the dome plate 50 is connected to the counter-bar 55 by screws 56 there. Again, located between the hub 20 and the dome plate 50 on the one hand and the counter ledge 55 on the other hand, a slide bar 57 to the relative movement of the hub 20 on the one hand to the counter ledge 55, which - as already stated - rigidly connected to the dome plate 50 by the screws 56 is to ensure.
  • a gap 70 recognizable is between the end face 22, the hub 20 and the end face 53 of the dome plate 50, a gap 75 recognizable, with a gap 75 also in the clamping bar 25, and here in particular between the front edge of the slide bar 27 and a stage 23 of the hub 20th is provided, wherein the two columns serve to allow a pitching movement of the vehicles connected in this way.
  • the connection of the elastic intermediate member 30 with the dome plate 40 on the one hand and the turntable 20 on the other hand is shown in Figure 7.
  • the elastic intermediate member 30, which consists of an elastomer or an elastic plastic, is screwed by the connecting strips 35 each with the dome plate 60 and the hub 20.
  • the elastic intermediate member 30 has on its upper side a wear-resistant surface 31, which can be accomplished in particular by the support of a thin sheet.

Landscapes

  • Engineering & Computer Science (AREA)
  • Mechanical Engineering (AREA)
  • Life Sciences & Earth Sciences (AREA)
  • Wood Science & Technology (AREA)
  • Transportation (AREA)
  • Vehicle Cleaning, Maintenance, Repair, Refitting, And Outriggers (AREA)
  • Road Signs Or Road Markings (AREA)
  • Body Structure For Vehicles (AREA)
  • Vehicle Step Arrangements And Article Storage (AREA)
  • Shaping Metal By Deep-Drawing, Or The Like (AREA)
  • Specific Conveyance Elements (AREA)
  • Automobile Manufacture Line, Endless Track Vehicle, Trailer (AREA)
  • Mechanical Operated Clutches (AREA)

Abstract

Gegenstand der Erfindung ist eine Brücke (10) mit Drehscheibe eines Übergangs (5) zwischen zwei durch ein Gelenk miteinander verbundenen Fahrzeugen (2, 3, 4), wobei die Drehscheibe (20) mit ihrem einen Ende durch ein elastisches Zwischenglied (30) mit dem Boden des einen Fahrzeugs (2, 3, 4) in Verbindung steht

Description

  • Die vorliegende Erfindung betrifft eine Brücke mit Drehscheibe eines Übergangs zwischen zwei durch ein Gelenk miteinander verbundenen Fahrzeugen.
  • Gelenkig miteinander verbundene Fahrzeuge sind beispielsweise in Form von Gelenkbussen, aber auch in Form von schienengebundenen Fahrzeugen, z. B. Straßenbahnen, bekannt. Schienenfahrzeuge, und hier insbesondere Straßenbahnen, weisen mehrere Drehgestelle auf, wobei im Bereich der Drehgestelle, also vor oder hinter den Drehgestellen, die einzelnen Fahrzeuge oder Fahrzeugteile durch Gelenke miteinander verbunden sind. Im Bereich der Gelenke befindet sich ein Übergang, wobei der Übergang eine Übergangsbrücke umfasst sowie einen Balg, der bekannterweise sowohl die Übergangsbrücke als auch das Gelenk umspannt, um den in dem Fahrzeug befindlichen Personen den Übergang von einem Fahrzeug in das andere Fahrzeug, ohne Witterungseinflüssen ausgesetzt zu sein, zu ermöglichen.
  • Bekanntermaßen müssen Gelenkfahrzeuge bei ihrer Fahrt den unterschiedlichsten Bewegungen folgen können. So muss ein solches Fahrzeug insbesondere Knickbewegungen ermöglichen, wie sie auftreten, wenn ein solches Fahrzeug durch eine Kurve fährt. Darüber hinaus müssen Nickbewegungen ermöglicht werden, wie sie auftreten, wenn ein solches Fahrzeug über eine Kuppe oder durch eine Senke fährt. Im gewissen Umfang sollen auch Wankbewegungen aufgenommen werden können, wie sie beispielsweise auftreten, wenn die Fahrzeuge gegeneinander verdreht werden. Darüber hinaus ist zu beachten, dass die beschriebenen Bewegungen auch einander überlagert auftreten können. Insbesondere im Bereich einer Drehscheibe ergeben sich bei Kurvenfahrt, also bei einer Knickbewegung und gegebenenfalls überlagerten Wank- und Nickbewegungen, überaus komplexe Bewegungsabläufe im Bereich der Drehscheibe, wenn man beispielsweise einen Punkt auf dem äußeren Umfang der Drehscheibe betrachtet.
  • Durch die Verbindung der Drehscheibe mit ihrem einen Ende durch ein elastisches Zwischenglied mit dem Boden des einen Fahrzeugs wird erfindungsgemäß gewährleistet, dass auch solche komplexen Bewegungsabläufe ohne Schaden für die Drehscheibe ausgeführt werden können, da die hierbei auftretenden Bewegungen von dem elastischen Zwischenglied aufgenommen werden.
  • Moderne Straßenbahnzüge sind insbesondere derart konstruiert, dass sie im Sinne eines barrierefreien Zugangs auch Rollstuhlfahrern die Möglichkeit eröffnen, unmittelbar von der Bahnsteigkante in das Fahrzeug zu gelangen, gegebenenfalls auch mittels einer Rampe im Türeinstieg. Hierfür sind die Fahrzeuge zumindest im Bereich eines Einstiegs niederflurig ausgebildet. Einer solchen Niederflurigkeit sind allerdings Grenzen im Bereich des Drehgelenkes gesetzt, da das Drehgelenk eine gewisse Mindestbauhöhe nicht unterschreiten kann. Um nun einen barrierefreien Übergang zwischen den einzelnen Fahrzeugen eines solchen Gelenkzuges zu ermöglichen, wird weiterhin vorgeschlagen, dass die Drehscheibe über dem Gelenk schräg stehend verläuft, wobei die schräg stehende Drehscheibe an ihrem anderen Ende mit dem Fahrzeugboden des einen Fahrzeugs in Verbindung steht
  • Die Anbindung von der Drehscheibe zum Boden des Fahrzeugs kann unmittelbar, oder auch mittelbar durch eine Kuppelplatte erfolgen. Gleiches gilt sinngemäß auch für den Übergang von dem elastischen Zwischenglied zum Fahrzeugboden. Auch hier kann eine Kuppelplatte vorgesehen sein, die starr mit dem Boden verbunden ist.
  • Um zu verhindern, dass sich bei Bewegung der Fahrzeuge relativ zueinander die Drehscheibe gegenüber dem Boden des Fahrzeugs abhebt oder absenkt, ist nach einem weiteren Merkmal der Erfindung vorgesehen, dass die Drehscheibe im Übergang zum Boden des einen Fahrzeugs eingespannt gehalten ist. Wie bereits an anderer Stelle erläutert, dreht sich die Drehscheibe bei Kurvenfahrt relativ zum Fahrzeugboden und weist insofern auf ihrer dem Boden des einen Fahrzeugsteils zugewandten Stirnseite eine kreisbogenförmige Ausbildung auf. Durch die eingespannte Halterung der Drehscheibe im Übergangsbereich zum Boden des einen Fahrzeugteils wird nun erreicht, dass sich die Drehscheibe zwar innerhalb dieser Einspannung relativ zum Boden verdrehen kann, sich diese allerdings nicht abheben oder absenken kann.
  • Ebenfalls an anderer Stelle wurde bereits erläutert, dass die Fahrzeuge auch Nickbewegungen ausführen können müssen, wie sie auftreten, wenn solche Fahrzeuge über Kuppen oder durch Senken fahren. Insofern ist vorgesehen, dass die die Brücke bildenden Teile parallel zur Längsachse des Fahrzeugs verschieblich angeordnet sind, insbesondere ist die Drehscheibe entlang ihres stirnseitigen Umfangs relativ zum Boden des einen Fahrzeugs parallel zur Längsachse des Fahrzeugs verschieblich eingespannt gehalte. Das bedeutet, dass sich die Drehscheibe relativ zum Boden in Fahrzeugslängsachse verschieben kann. Um eine solche Einspannung zu bewerkstelligen ist im Einzelnen weiterhin vorgesehen, dass zwischen der Stirnseite der Drehscheibe und dem Boden oder Kuppelplatte ein umlaufender Spalt vorgesehen, wobei zur eingespannten Halterung der Drehscheibe eine Spannleiste vorgesehen ist, die den Randbereich der Drehscheibe und der Kuppelplatte überdeckt, und die mit einer Konterleiste unter der Drehscheibe und der Kuppelplatte verbunden ist.
  • In diesem Zusammenhang ist darauf hinzuweisen, dass die Anordnung eines solchen Spaltes grundsätzlich auch im Übergang zum Boden des anderen Fahrzeugs möglich ist. Wesentlich ist allein die Möglichkeit der Verschiebung der Brücke oder auch von Teilen der Brücke, um eine solchen Verkürzung oder Verlängerung der Brücke zu ermöglichen.
  • Um nun zu gewährleisten, dass sich auch bei Belastung der Spannleiste die Drehscheibe problemlos verdrehen kann, ist zwischen Spannleiste und Drehscheibe und eine Gleitleiste, beispielsweise aus Kunststoff, vorgesehen. Eine ebensolche Gleitleiste ist vorteilhaft auch zwischen der Konterleiste einerseits und der Drehscheibe und der Kuppelplatte anderseits angeordnet.
  • Das elastische Zwischenglied, das insbesondere als Platte ausgebildet ist, ist durch Verbindungsleisten mit jeweils dem Fahrzeugboden und der Drehscheibe verbunden. Vorteilhaft kann auch hierbei zwischen dem Boden des anderen Fahrzeugs und dem elastischen Zwischenglied eine Kuppelplatte vorgesehen sein, wobei diese Kuppelplatte einerseits mit dem elastischen Zwischenglied und andererseits mit dem Fahrzeugboden des anderen Fahrzeugs verbunden ist. Es sei an dieser Stelle noch einmal darauf hingewiesen, dass es für die Erfindung im Wesentlichen ohne Auswirkung ist, ob der Fahrzeugboden unmittelbar mit der Drehscheibe oder dem elastischen Zwischenglied oder durch eine Kuppelplatte verbunden ist.
  • Nach einem weiteren Merkmal der Erfindung ist vorgesehen, dass die Abschlusskante der Drehscheibe im Übergang zum elastischen Zwischenglied durch den Drehpunkt des Gelenkes verläuft. Ebenfalls ist vorgesehen, dass der Boden des anderen Fahrzeugs im Übergang zum elastischen Zwischenglied pfeilförmig verlaufend ausgebildet ist, wobei das elastische Zwischenglied korrespondierend hierzu verläuft. Die Spitze des pfeilförmigen Verlaufes des Bodens, oder für den Fall, dass eine Kuppelplatte Anwendung findet auch die Kuppelplatte, endet hierbei im Bereich des Drehpunktes des Drehgelenkes, das die beiden Fahrzeuge miteinander gelenkig verbindet.
  • Anhand der Zeichnungen wird die Erfindung nachstehend beispielhaft näher erläutert.
  • Figur 1
    zeigt schematisch einen Straßenbahnzug mit zwei Übergängen und zwei Drehgestellen;
    Figur 2
    zeigt eine Seitenansicht eines Übergangs zwischen zwei Fahrzeugen eines Straßenbauzuges, die durch ein Gelenk miteinander verbunden sind;
    Figur 3
    zeigt eine Ansicht von oben auf die Übergangsbrücke des Übergangs gemäß Figur 2;
    Figur 4
    zeigt die Drehscheibe mit dem elastischen Zwischenglied und den zu beiden Seiten angeordneten Kuppelplatten als Übergangsbrücke des Übergangs in einer Draufsicht;
    Figur 5
    zeigt einen Schnitt gemäß der Linie V - V aus Figur 4;
    Figur 6
    zeigt einen Schnitt gemäß der Linie VI - VI aus Figur 4;
    Figur 7
    zeigt einen Schnitt gemäß der Linie VII - VII aus Figur 4.
  • Der mit 1 gekennzeichnete Straßenbahnzug umfasst die drei Fahrzeuge 2, 3 und 4, die durch die Übergänge 5 miteinander in Verbindung stehen. Im Bereich der Übergänge 5 weist der Schienengelenkzug die beiden Drehgestelle 6 auf. Fährt ein solches Fahrzeug beispielsweise um eine Kurve, dann folgt der Straßenbahnzug dem Kurvenverlauf durch Knicken im Bereich der Übergänge 5.
  • Gegenstand der Erfindung ist nun die Übergangsbrücke 10 als Teil des insgesamt mit 5 bezeichneten Übergangs (Fig. 2 ff). Die Übergangsbrücke 10, umfassend die Drehscheibe 20, das elastische Zwischenglied 30 und die Kuppelplatte 40 sowie die Kuppelplatte 50, befindet sich schräg verlaufend über dem mit 60 bezeichneten Gelenk zur Verbindung der beiden Fahrzeuge 3, wie sich dies aus Figur 2 ergibt. Umspannt wird die Übergangsbrücke sowie auch das Gelenk 60 durch den insgesamt mit 15 bezeichneten Balg, wie sich dies insbesondere in Anschauung der Figuren 2 und 3 ergibt. Insbesondere aus Figur 3 ist erkennbar, dass die Abschlusskante 21 der Drehscheibe 20 durch den Drehpunkt 61 des Gelenkes 60 verläuft. Die Kuppelplatte 40 ist in Richtung auf die Abschlusskante 21 zu pfeilförmig (Pfeil 45) ausgebildet, wobei die Spitze der pfeilförmigen Kuppelplatte zentrisch auf den Drehpunkt (61) des Gelenkes 60 zuweist. Das elastische Zwischenglied 30 folgt schlussendlich dem Verlauf sowohl der Drehscheibe in diesem Bereich als auch der Kuppelplatte 40. Eine solche Ausbildung des elastischen Zwischengliedes hat sich insofern als vorteilhaft herausgestellt, als durch diese Gestaltung im Mittenbereich dieses elastischen Zwischengliedes die geringsten Spannungen auftreten.
  • Betrachtet man nunmehr die Figur 5 als Schnitt der Linie V - V aus Figur 4, so erkennt man ebenso wie aus der Figur 6 die Einspannung der Drehscheibe 20 durch die Kuppelplatte 50. Im Einzelnen ist hierbei eine Spannleiste 25 vorgesehen, wobei die Spannleiste 25 durch kreisbogenförmig angeordnete Schrauben 26 mit der Kuppelplatte 50 verbunden ist. Zwischen der Spannleiste 25 und der Drehscheibe 20 einerseits und der Kuppelplatte andererseits befindet sich eine Gleitleiste 27, um eine Relativbewegung der Drehscheibe 20 zur Kuppelplatte 50 und damit schlussendlich zum Boden des damit gekuppelten Fahrzeugs zu gewährleisten.
  • Betrachtet man nunmehr den Schnitt gemäß der Figur 6 so erkennt man, dass dort die Kuppelplatte 50 mit der Konterleiste 55 durch Schrauben 56 verbunden ist. Auch hier befindet sich zwischen der Drehscheibe 20 und der Kuppelplatte 50 einerseits und der Konterleiste 55 andererseits eine Gleitleiste 57, um die Relativbewegung der Drehscheibe 20 einerseits zu der Konterleiste 55, die - wie bereits ausgeführt - mit der Kuppelplatte 50 durch die Schrauben 56 starr verbunden ist, zu gewährleisten. Erkennbar ist zwischen der Stirnseite 22, der Drehscheibe 20 und der Stirnseite 53 der Kuppelplatte 50 ein Spalt 70 erkennbar, wobei ein ebensolcher Spalt 75 auch im Bereich der Spannleiste 25, und hier insbesondere zwischen der Stirnkante der Gleitleiste 27 und einer Stufe 23 der Drehscheibe 20, vorgesehen ist, wobei die beiden Spalten dazu dienen, eine Nickbewegung der in dieser Weise verbundenen Fahrzeuge zu ermöglichen.
  • Die Verbindung des elastischen Zwischengliedes 30 mit der Kuppelplatte 40 einerseits und der Drehscheibe 20 andererseits ist in Figur 7 dargestellt. Das elastische Zwischenglied 30, das aus einem Elastomer oder einem elastischen Kunststoff besteht, ist durch die Verbindungsleisten 35 jeweils mit der Kuppelplatte 60 und der Drehscheibe 20 verschraubt. Das elastische Zwischenglied 30 weist auf seiner Oberseite eine verschleißfeste Oberfläche 31 auf, die insbesondere durch die Auflage eines dünnen Bleches bewerkstelligt werden kann.

Claims (15)

  1. Brücke (10) mit Drehscheibe eines Übergangs (5) zwischen zwei
    durch ein Gelenk miteinander verbundenen Fahrzeugen (2, 3, 4),
    dadurch gekennzeichnet,
    dass die Drehscheibe (20) mit ihrem einen Ende durch ein elastisches Zwischenglied (30) mit dem Boden des einen Fahrzeugs (2, 3, 4) in Verbindung steht.
  2. Brücke nach Anspruch 1,
    dadurch gekennzeichnet,
    dass die Drehscheibe (20) über dem Gelenk (60) schräg stehend verläuft, wobei die schräg stehende Drehscheibe (20) an ihrem anderen Ende mit dem Fahrzeugboden des anderen Fahrzeugs (2, 3, 4) in Verbindung steht.
  3. Brücke nach einem der voranstehenden Ansprüche,
    dadurch gekennzeichnet,
    dass die Drehscheibe (20) im Übergang zum Boden des anderen Fahrzeugs eingespannt gehalten ist.
  4. Brücke nach einem der voranstehenden Ansprüche,
    dadurch gekennzeichnet,
    dass die Drehscheibe (20) im Übergang zum Boden des anderen Fahrzeugs durch eine Kuppelplatte (50) eingespannt gehalten ist.
  5. Brücke nach einem der voranstehenden Ansprüche,
    dadurch gekennzeichnet,
    dass die die Brücke (10) bildenden Teile (20, 30) parallel zur Längsachse des Fahrzeugs (2, 3, 4) verschieblich angeordnet sind.
  6. Brücke nach einem der voranstehenden Ansprüche,
    dadurch gekennzeichnet,
    dass die Drehscheibe (20) entlang ihres stirnseitigen Umfang relativ zum Boden des Fahrzeugs verschieblich eingespannt gehalten ist.
  7. Brücke nach einem der voranstehenden Ansprüche,
    dadurch gekennzeichnet,
    dass zwischen der Stirnseite der Drehscheibe (20) und der Kuppelplatte ein umlaufender Spalt (70) vorgesehen ist, wobei zur eingespannten Halterung der Drehscheibe (20) eine Spannleiste (25) vorgesehen ist, die die Randbereiche der Drehscheibe (20) und der Kuppelplatte überdeckt, und die mit einer Konterleiste (55) unter der Drehscheibe (20) verbunden ist.
  8. Brücke nach einem der voranstehenden Ansprüche,
    dadurch gekennzeichnet,
    dass zwischen Spannleiste (20) einerseits und Drehscheibe (20) und Kuppelplatte (50) andererseits eine Gleitleiste (27) vorgesehen ist.
  9. Brücke nach einem der voranstehenden Ansprüche,
    dadurch gekennzeichnet,
    dass zwischen Konterleiste (55) einerseits und Drehscheibe (20) und Kuppelplatte (50) andererseits eine Gleitleiste vorgesehen ist.
  10. Brücke nach Anspruch 1,
    dadurch gekennzeichnet,
    dass das elastische Zwischenglied (30) als Platte ausgebildet ist.
  11. Brücke nach Anspruch 1,
    dadurch gekennzeichnet,
    dass das elastische Zwischenglied (30) durch Verbindungsleisten (35) mit jeweils dem Fahrzeugboden und der Drehscheibe (20) verbunden ist.
  12. Brücke nach einem der voranstehenden Ansprüche,
    dadurch gekennzeichnet,
    dass die Drehscheibe (20) im Übergang zum Fahrzeugboden des einen Fahrzeugs kreisbogenförmig ausgebildet ist.
  13. Brücke nach einem der voranstehenden Ansprüche,
    dadurch gekennzeichnet,
    dass die Abschlusskante (21) der Drehscheibe (20) im Übergang zum elastischen Zwischenglied (30) durch den Drehpunkt (61) des Gelenkes (60) verläuft.
  14. Brücke nach einem der voranstehenden Ansprüche,
    dadurch gekennzeichnet,
    dass der Boden des anderen Fahrzeugs im Übergang zum elastischen Zwischenglied pfeilförmig (45) verlaufend ausgebildet ist, wobei das elastische Zwischenglied (30) korrespondierend hierzu verläuft.
  15. Brücke nach Anspruch 1,
    dadurch gekennzeichnet,
    dass der Boden des einen Fahrzeugs im Übergang zu dem elastischen Zwischenglied (30) eine Kuppelplatte (40) aufweist.
EP07009125A 2006-05-09 2007-05-07 Brücke mit Drehscheibe eines Übergangs zwischen zwei gelenkig miteinander verbundenen Fahrzeugen Active EP1854691B2 (de)

Priority Applications (1)

Application Number Priority Date Filing Date Title
PL07009125T PL1854691T5 (pl) 2006-05-09 2007-05-07 Pomost do pojazdu przegubowego

Applications Claiming Priority (1)

Application Number Priority Date Filing Date Title
DE202006007377U DE202006007377U1 (de) 2006-05-09 2006-05-09 Brücke mit Drehscheibe eines Übergangs zwischen zwei gelenkig miteinander verbundenen Fahrzeugen

Publications (3)

Publication Number Publication Date
EP1854691A1 true EP1854691A1 (de) 2007-11-14
EP1854691B1 EP1854691B1 (de) 2009-06-24
EP1854691B2 EP1854691B2 (de) 2013-04-03

Family

ID=36776761

Family Applications (1)

Application Number Title Priority Date Filing Date
EP07009125A Active EP1854691B2 (de) 2006-05-09 2007-05-07 Brücke mit Drehscheibe eines Übergangs zwischen zwei gelenkig miteinander verbundenen Fahrzeugen

Country Status (5)

Country Link
EP (1) EP1854691B2 (de)
AT (1) ATE434552T1 (de)
DE (2) DE202006007377U1 (de)
ES (1) ES2327006T5 (de)
PL (1) PL1854691T5 (de)

Cited By (7)

* Cited by examiner, † Cited by third party
Publication number Priority date Publication date Assignee Title
RU2386558C2 (ru) * 2008-07-01 2010-04-20 ХЮБНЕР ГмбХ Фронтальный переход со скользящими плитами между двумя единицами подвижного состава передвигающегося по рельсам транспортного средства
EP2394877A1 (de) 2010-06-09 2011-12-14 ATG Autotechnik GmbH Übergangsplattform für ein Fahrzeuggelenk
EP2447129A1 (de) 2010-11-02 2012-05-02 Bombardier Transportation GmbH Verbindungselement für Bodenelemente von Fahrzeugen
DE102010050005A1 (de) 2010-11-02 2012-05-03 Bombardier Transportation Gmbh Verbindungselement für Bodenelemente von Fahrzeugen
WO2012101201A1 (de) 2011-01-28 2012-08-02 Bombardier Transportation Gmbh Schienenfahrzeugbrücke
DE102013218547B3 (de) * 2013-09-16 2015-02-05 Bombardier Transportation Gmbh Übergangsplattform mit Verwindungszonen, Fahrzeuggelenksystem und Schienenfahrzeug
EP3124294A1 (de) * 2015-07-30 2017-02-01 Siemens Aktiengesellschaft Abdeckeinrichtung zum abdecken eines fussbodenspalts sowie fahrzeug mit einer solchen abdeckeinrichtung

Families Citing this family (4)

* Cited by examiner, † Cited by third party
Publication number Priority date Publication date Assignee Title
ES2391009T3 (es) * 2010-05-03 2012-11-20 Hübner GmbH Vehículo articulado y especialmente de un vehículo sobre raíles
EP2412600B1 (de) * 2010-07-29 2012-09-05 ATG Autotechnik GmbH Dachgelenk für ein mehrgliedriges Fahrzeug
ES2407670T3 (es) * 2010-10-14 2013-06-13 Hübner GmbH Plato giratorio de un pasadizo entre dos partes de vehículo unidas una con otra en forma articulada
EP4385849A1 (de) * 2022-12-14 2024-06-19 Hübner GmbH & Co. KG Führungsvorrichtung für einen übergang zwischen einem ersten fahrzeugteil und einem zweiten fahrzeugteil eines mehrteiligen fahrzeugs sowie fahrzeug mit einer solchen führungsvorrichtung

Citations (4)

* Cited by examiner, † Cited by third party
Publication number Priority date Publication date Assignee Title
FR2581011A1 (fr) 1985-04-25 1986-10-31 Reidenbach Roger Banc de controle pour les installations de freinage et pour l'ensemble des pieces de liaison et articulations entre le chassis et les roues d'un vehicule automobile
FR2581016A1 (fr) * 1985-04-25 1986-10-31 Alsthom Atlantique Dispositif de liaison entre deux vehicules ferroviaires
DE4138921A1 (de) 1991-11-27 1993-06-03 Huebner Gummi & Kunststoff Niedrig bauende, scheibenfoermige plattform fuer niederflur-gelenkomnibusse
DE9413285U1 (de) 1994-08-17 1995-06-08 Aeg Schienenfahrzeuge Gmbh, 16761 Hennigsdorf Drehscheibe für den Wagenübergang von Schienenfahrzeugen

Patent Citations (4)

* Cited by examiner, † Cited by third party
Publication number Priority date Publication date Assignee Title
FR2581011A1 (fr) 1985-04-25 1986-10-31 Reidenbach Roger Banc de controle pour les installations de freinage et pour l'ensemble des pieces de liaison et articulations entre le chassis et les roues d'un vehicule automobile
FR2581016A1 (fr) * 1985-04-25 1986-10-31 Alsthom Atlantique Dispositif de liaison entre deux vehicules ferroviaires
DE4138921A1 (de) 1991-11-27 1993-06-03 Huebner Gummi & Kunststoff Niedrig bauende, scheibenfoermige plattform fuer niederflur-gelenkomnibusse
DE9413285U1 (de) 1994-08-17 1995-06-08 Aeg Schienenfahrzeuge Gmbh, 16761 Hennigsdorf Drehscheibe für den Wagenübergang von Schienenfahrzeugen

Cited By (9)

* Cited by examiner, † Cited by third party
Publication number Priority date Publication date Assignee Title
RU2386558C2 (ru) * 2008-07-01 2010-04-20 ХЮБНЕР ГмбХ Фронтальный переход со скользящими плитами между двумя единицами подвижного состава передвигающегося по рельсам транспортного средства
EP2394877A1 (de) 2010-06-09 2011-12-14 ATG Autotechnik GmbH Übergangsplattform für ein Fahrzeuggelenk
EP2447129A1 (de) 2010-11-02 2012-05-02 Bombardier Transportation GmbH Verbindungselement für Bodenelemente von Fahrzeugen
DE102010050005A1 (de) 2010-11-02 2012-05-03 Bombardier Transportation Gmbh Verbindungselement für Bodenelemente von Fahrzeugen
DE102010050005B4 (de) * 2010-11-02 2014-06-05 Bombardier Transportation Gmbh Verbindungselement für Bodenelemente von Fahrzeugen
WO2012101201A1 (de) 2011-01-28 2012-08-02 Bombardier Transportation Gmbh Schienenfahrzeugbrücke
DE102011009767A1 (de) 2011-01-28 2012-08-02 Bombardier Transportation Gmbh Schienenfahrzeugbrücke
DE102013218547B3 (de) * 2013-09-16 2015-02-05 Bombardier Transportation Gmbh Übergangsplattform mit Verwindungszonen, Fahrzeuggelenksystem und Schienenfahrzeug
EP3124294A1 (de) * 2015-07-30 2017-02-01 Siemens Aktiengesellschaft Abdeckeinrichtung zum abdecken eines fussbodenspalts sowie fahrzeug mit einer solchen abdeckeinrichtung

Also Published As

Publication number Publication date
DE502007000918D1 (de) 2009-08-06
PL1854691T5 (pl) 2013-08-30
ES2327006T5 (es) 2013-05-27
PL1854691T3 (pl) 2009-10-30
DE202006007377U1 (de) 2006-07-20
ES2327006T3 (es) 2009-10-22
EP1854691B2 (de) 2013-04-03
ATE434552T1 (de) 2009-07-15
EP1854691B1 (de) 2009-06-24

Similar Documents

Publication Publication Date Title
EP1854691B2 (de) Brücke mit Drehscheibe eines Übergangs zwischen zwei gelenkig miteinander verbundenen Fahrzeugen
EP2500230B1 (de) Brücke eines Übergangs zwischen zwei gelenkig miteinader verbundenen Fahrzeugteilen
EP0283808B1 (de) Duale Weichenanordnung zur gemeinsamen Benutzung durch spurgeführte Schienen- und Magnetfahrzeuge
EP2455242A1 (de) Anordnung zur Bildung des Balges eines Übergangs oder der Seitenwand zwischen zwei gelenking miteinander verbundenen Fahrzeugen
DE2825329C3 (de) Fahrzeugsitz, insbesondere in Kraftfahrzeugen
EP1574365B1 (de) Übergang mit einer Übergangsbrücke zwischen zwei miteinander gelenkig verbundenen Fahrzeugen
DE202013100563U1 (de) Brücke zwischen zwei gelenkig miteinander verbundenen Fahrzeugteilen
EP0731763B1 (de) Innenverkleidung für personenübergänge für schienenfahrzeuge
DE4113508C2 (de) Bordstein für Bushaltestellen
DE3233794C2 (de)
EP3501863B1 (de) Begehbare bodeneinrichtung für einen übergang
EP2594450B1 (de) Übergangshälfte zwischen zwei gelenkig miteinander verbundenen Fahrzeugen eines Schienenfahrzeugs
WO2012101201A1 (de) Schienenfahrzeugbrücke
EP1526055A1 (de) Schienenfahrzeug, insbesondere Stassenbahnwagen, mit einem elastisch gelagertem Fussboden im Fahrerraum.
DE69402109T2 (de) Verwindbare Platte für Übergangseinrichtungen
DE102017115542B4 (de) Schienenfahrzeugverband
DE3106251A1 (de) Schienenfahrzeug, insbesondere stadtbahnwagen
AT7266U2 (de) Gleisbaumaschine
EP2441601B1 (de) Drehscheibe eines Übergangs zwischen zwei gelenkig miteinander verbundenen Fahrzeugteilen
EP1513716B1 (de) Personenübergang für einen triebwagen
DE10061380B4 (de) Rad mit einem Spurkranz für ein schienengebundenes Fahrzeug
DE29707031U1 (de) Gelenkfahrzeug
EP4385849A1 (de) Führungsvorrichtung für einen übergang zwischen einem ersten fahrzeugteil und einem zweiten fahrzeugteil eines mehrteiligen fahrzeugs sowie fahrzeug mit einer solchen führungsvorrichtung
EP2974937B1 (de) Übergang zwischen zwei gelenkig miteinander verbundenen Fahrzeugen
EP2447129B1 (de) Verbindungselement für Bodenelemente von Fahrzeugen

Legal Events

Date Code Title Description
PUAI Public reference made under article 153(3) epc to a published international application that has entered the european phase

Free format text: ORIGINAL CODE: 0009012

17P Request for examination filed

Effective date: 20070924

AK Designated contracting states

Kind code of ref document: A1

Designated state(s): AT BE BG CH CY CZ DE DK EE ES FI FR GB GR HU IE IS IT LI LT LU LV MC MT NL PL PT RO SE SI SK TR

AX Request for extension of the european patent

Extension state: AL BA HR MK YU

17Q First examination report despatched

Effective date: 20071227

AKX Designation fees paid

Designated state(s): AT DE ES FR IT PL

GRAP Despatch of communication of intention to grant a patent

Free format text: ORIGINAL CODE: EPIDOSNIGR1

GRAS Grant fee paid

Free format text: ORIGINAL CODE: EPIDOSNIGR3

GRAA (expected) grant

Free format text: ORIGINAL CODE: 0009210

AK Designated contracting states

Kind code of ref document: B1

Designated state(s): AT DE ES FR IT PL

REF Corresponds to:

Ref document number: 502007000918

Country of ref document: DE

Date of ref document: 20090806

Kind code of ref document: P

REG Reference to a national code

Ref country code: ES

Ref legal event code: FG2A

Ref document number: 2327006

Country of ref document: ES

Kind code of ref document: T3

REG Reference to a national code

Ref country code: PL

Ref legal event code: T3

PLBI Opposition filed

Free format text: ORIGINAL CODE: 0009260

PLAB Opposition data, opponent's data or that of the opponent's representative modified

Free format text: ORIGINAL CODE: 0009299OPPO

PLAX Notice of opposition and request to file observation + time limit sent

Free format text: ORIGINAL CODE: EPIDOSNOBS2

26 Opposition filed

Opponent name: BOMBARDIER TRANSPORTATION GMBH

Effective date: 20100324

R26 Opposition filed (corrected)

Opponent name: BOMBARDIER TRANSPORTATION GMBH

Effective date: 20100324

PLAF Information modified related to communication of a notice of opposition and request to file observations + time limit

Free format text: ORIGINAL CODE: EPIDOSCOBS2

PLBB Reply of patent proprietor to notice(s) of opposition received

Free format text: ORIGINAL CODE: EPIDOSNOBS3

PG25 Lapsed in a contracting state [announced via postgrant information from national office to epo]

Ref country code: IT

Free format text: LAPSE BECAUSE OF NON-PAYMENT OF DUE FEES

Effective date: 20100507

PLBP Opposition withdrawn

Free format text: ORIGINAL CODE: 0009264

PLAY Examination report in opposition despatched + time limit

Free format text: ORIGINAL CODE: EPIDOSNORE2

PLBC Reply to examination report in opposition received

Free format text: ORIGINAL CODE: EPIDOSNORE3

PUAH Patent maintained in amended form

Free format text: ORIGINAL CODE: 0009272

STAA Information on the status of an ep patent application or granted ep patent

Free format text: STATUS: PATENT MAINTAINED AS AMENDED

27A Patent maintained in amended form

Effective date: 20130403

AK Designated contracting states

Kind code of ref document: B2

Designated state(s): AT DE ES FR IT PL

REG Reference to a national code

Ref country code: ES

Ref legal event code: DC2A

Ref document number: 2327006

Country of ref document: ES

Kind code of ref document: T5

Effective date: 20130527

REG Reference to a national code

Ref country code: DE

Ref legal event code: R102

Ref document number: 502007000918

Country of ref document: DE

Effective date: 20130403

REG Reference to a national code

Ref country code: PL

Ref legal event code: T5

REG Reference to a national code

Ref country code: FR

Ref legal event code: PLFP

Year of fee payment: 10

REG Reference to a national code

Ref country code: FR

Ref legal event code: PLFP

Year of fee payment: 11

REG Reference to a national code

Ref country code: FR

Ref legal event code: PLFP

Year of fee payment: 12

REG Reference to a national code

Ref country code: DE

Ref legal event code: R082

Ref document number: 502007000918

Country of ref document: DE

Representative=s name: WALTHER HINZ BAYER PARTG MBB PATENTANWAELTE, DE

Ref country code: DE

Ref legal event code: R081

Ref document number: 502007000918

Country of ref document: DE

Owner name: HUEBNER GMBH & CO. KG, DE

Free format text: FORMER OWNER: HUEBNER GMBH, 34123 KASSEL, DE

Ref country code: DE

Ref legal event code: R082

Ref document number: 502007000918

Country of ref document: DE

Representative=s name: WALTHER HINZ BAYER PARTGMBB PATENTANWAELTE, DE

PGFP Annual fee paid to national office [announced via postgrant information from national office to epo]

Ref country code: FR

Payment date: 20200519

Year of fee payment: 14

Ref country code: ES

Payment date: 20200618

Year of fee payment: 14

PGFP Annual fee paid to national office [announced via postgrant information from national office to epo]

Ref country code: IT

Payment date: 20200528

Year of fee payment: 14

PG25 Lapsed in a contracting state [announced via postgrant information from national office to epo]

Ref country code: FR

Free format text: LAPSE BECAUSE OF NON-PAYMENT OF DUE FEES

Effective date: 20210531

REG Reference to a national code

Ref country code: ES

Ref legal event code: FD2A

Effective date: 20220729

PG25 Lapsed in a contracting state [announced via postgrant information from national office to epo]

Ref country code: ES

Free format text: LAPSE BECAUSE OF NON-PAYMENT OF DUE FEES

Effective date: 20210508

PG25 Lapsed in a contracting state [announced via postgrant information from national office to epo]

Ref country code: IT

Free format text: LAPSE BECAUSE OF NON-PAYMENT OF DUE FEES

Effective date: 20210531

P01 Opt-out of the competence of the unified patent court (upc) registered

Effective date: 20230911

PGFP Annual fee paid to national office [announced via postgrant information from national office to epo]

Ref country code: DE

Payment date: 20250519

Year of fee payment: 19

PGFP Annual fee paid to national office [announced via postgrant information from national office to epo]

Ref country code: AT

Payment date: 20250519

Year of fee payment: 19

PGFP Annual fee paid to national office [announced via postgrant information from national office to epo]

Ref country code: PL

Payment date: 20250425

Year of fee payment: 19