EP1775415A2 - Aufsatz-Rollladenkasten - Google Patents
Aufsatz-Rollladenkasten Download PDFInfo
- Publication number
- EP1775415A2 EP1775415A2 EP06122270A EP06122270A EP1775415A2 EP 1775415 A2 EP1775415 A2 EP 1775415A2 EP 06122270 A EP06122270 A EP 06122270A EP 06122270 A EP06122270 A EP 06122270A EP 1775415 A2 EP1775415 A2 EP 1775415A2
- Authority
- EP
- European Patent Office
- Prior art keywords
- shutter box
- profile
- roller shutter
- rastaufnahmeausnehmung
- cover
- Prior art date
- Legal status (The legal status is an assumption and is not a legal conclusion. Google has not performed a legal analysis and makes no representation as to the accuracy of the status listed.)
- Granted
Links
- 230000003014 reinforcing effect Effects 0.000 claims description 10
- 210000002105 tongue Anatomy 0.000 claims description 7
- 230000002787 reinforcement Effects 0.000 claims description 3
- 238000010276 construction Methods 0.000 description 5
- 239000006260 foam Substances 0.000 description 3
- 238000009413 insulation Methods 0.000 description 3
- 238000007689 inspection Methods 0.000 description 2
- 238000009434 installation Methods 0.000 description 2
- 229910000831 Steel Inorganic materials 0.000 description 1
- 229910052782 aluminium Inorganic materials 0.000 description 1
- XAGFODPZIPBFFR-UHFFFAOYSA-N aluminium Chemical compound [Al] XAGFODPZIPBFFR-UHFFFAOYSA-N 0.000 description 1
- 238000005253 cladding Methods 0.000 description 1
- 239000002131 composite material Substances 0.000 description 1
- 150000001875 compounds Chemical class 0.000 description 1
- 230000014759 maintenance of location Effects 0.000 description 1
- 229910052751 metal Inorganic materials 0.000 description 1
- 239000002184 metal Substances 0.000 description 1
- 230000003287 optical effect Effects 0.000 description 1
- 230000002093 peripheral effect Effects 0.000 description 1
- 238000010079 rubber tapping Methods 0.000 description 1
- 239000010959 steel Substances 0.000 description 1
Images
Classifications
-
- E—FIXED CONSTRUCTIONS
- E06—DOORS, WINDOWS, SHUTTERS, OR ROLLER BLINDS IN GENERAL; LADDERS
- E06B—FIXED OR MOVABLE CLOSURES FOR OPENINGS IN BUILDINGS, VEHICLES, FENCES OR LIKE ENCLOSURES IN GENERAL, e.g. DOORS, WINDOWS, BLINDS, GATES
- E06B9/00—Screening or protective devices for wall or similar openings, with or without operating or securing mechanisms; Closures of similar construction
- E06B9/02—Shutters, movable grilles, or other safety closing devices, e.g. against burglary
- E06B9/08—Roll-type closures
- E06B9/11—Roller shutters
- E06B9/17—Parts or details of roller shutters, e.g. suspension devices, shutter boxes, wicket doors, ventilation openings
- E06B9/17007—Shutter boxes; Details or component parts thereof
Definitions
- the invention relates to a top roller shutter box with the features of the preamble of claim 1.
- roller shutter boxes are known, which in turn are also composed of several profile sections. They can be snapped directly onto the top of a window or door frame via suitably designed latching connections. Since the side walls of the top roller shutter box, so the building exterior as the building inside facing plate-shaped elements are often provided with special profiles for additional functions, it is not readily possible to vary the height of the lateral elements to the between the Make full use of the upper edge of the window or door frame and the lower edge of the wall opening existing installation space. Usually remaining gaps are filled with mounting foam.
- the foam layer must be covered for optical reasons and that, moreover, a compound of the top roller shutter box with the fall of the wall opening only at certain points on fasteners such as wall anchors or the like is possible. If such external connection elements can not be attached, window frames of large width, in particular if they are formed from hollow plastic profiles, show greater deflections in the case of wind pressure.
- the object of the invention is to allow for a top roller shutter box of the type mentioned in a simple manner a connection to the boundaries of the wall opening and / or to allow a stiffening of the frame profile.
- the inner Rastworknut allows the attachment of support and connecting elements lesser depth.
- the inner Rastworknut is formed in particular by a pair of mirror-image mutually aligned locking tongues or latching projections.
- reinforcement retention angles are provided in the detent receiving recess. Due to the reinforcing holding angle, a metal profile can be held, which may have a low thickness, so that even with a reinforcing profile already inserted a height compensation profile can be inserted into the Rastworknut. If another connection to the masonry lintel or beam located above the window frame is not possible, then the profiled rod used offers a considerable resistance to deformation due to its large width in cross-section. A buckling of the thin profile bar is avoided by the enclosure in the reinforcing brackets, which not only cause a lateral guide, but hold by their upper leg the profile bar close to the cover.
- One of the latching tongues, by which the inner latching receiving groove is formed, may be integrally formed on a common profile web with one of the reinforcement support brackets.
- a roller shutter box connection system of the invention comprises at least one roller shutter box, and a height compensation profile which can be inserted into the latching receiving groove and / or a structural profile which can be inserted into the latching receiving groove.
- the height compensation profile preferably has a support profile section which is to be aligned perpendicular to the cover profile and which has a corresponding height and thus protrudes relatively far beyond the cover profile as the upper end of the roller shutter box.
- This cover profile can also be pushed behind existing panel cladding and screwed to it, which also causes a constructive connection of the top of the frame on the shutter box and the height compensation profile.
- FIG. 1 shows a roller shutter box 10, which essentially comprises four wall elements 11, 12, 13, 14.
- the wall element 11 is turned to the building exterior.
- the wall element 13 faces the building and is to be connected both to an upper wall element 12, as well as a lower wall element 14 via snap-in connections 13.1, 13.2.
- the latching connections 13.1, 13.2 are designed so that the wall element 13 can be released from the lower latching connection 13.2 and then pivoted about the upper latching connection 13.1 until it is completely removable from the roller shutter box 10.
- the lower wall element 14 is divided into two parts in a revision cover 14.1 and a fixed profile element 14.2, which are connected to one another at a latching connection 14.3.
- the upper cover member 12 has a RastmeasureausEnglishung 12.1, in the figure 1, a build-up profile 20 is inserted.
- the entire shutter box 10 can be placed on a window frame 30, where it is already locked on the profile element 14.2 and then pressed against the screwed with the fall of a wall opening construction profile 20, whereby in the Rastsuitausappelung 12.1 also a positive connection of the roller shutter box 10 is created.
- FIG. 2 shows the roller shutter box 10 installed in a lumber frame 32, which with its wall element 11 is completely concealed behind a rigid foam panel 31 of a composite thermal insulation system.
- An anchor 35 is connected to the lumber frame 32, which in turn carries the build-up profile 20, which is latched into the RastsuitausEnglishung 12.1 of the cover 12 and this causes a connection of the shutter box to the lumber mill 32.
- a trim profile 22 is latched onto the structural profile 20, which may be, for example, the glazing bars present in the profile programs for the window 30.
- a reinforcing element 15 is engaged in the RastsuitausEnglishung 12.1, which may be a simple steel profile. This increases the flexural rigidity of the roller shutter box 10 in the longitudinal direction.
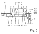
- FIG. 3 shows the details essential to the invention, which lie in the region of the latch receiving recess 12. 1 of the upper cover element 12. Shown is in a cross section of the upper right corner region according to the illustration of Figures 1 and 2 at the junction between the upper cover member 12 and the inner lateral wall element thirteenth
- the Rastnessaus Principleung 12.1 has first at its lateral boundaries locking tongues or chamfers 12.2, 12.8. When locking a build-up profile 20 locking tongues 20.1, 20.2 of the build-up profile on the ramps 12.2, 12.8 pressed inward and then then rebound under the locking tongues 12.2, 12.8 again, creating a positive connection of the structural profile 20 with the upper cover member 12 and above with the entire shutter box 10 is effected.
- the run-on bevel 12.8 opposite in the side region of the Rastreaaus originallyung 12.1 another run-on 12.6 is arranged so that in between an inner Rast qualitynut 12.7 is created, which is irrelevant to the connection with the build-up profile 20, however, allows the attachment of other elements in a roller shutter box connection system, such as will be explained in more detail below with reference to Figure 4.
- a screw 12.4 is provided in a central region of the RastsuitausEnglishung 12.1, preferably in the middle below the reinforcing member 15. This facilitates the positionally accurate introduction and leadership of an additional screw, which from the inside of the shutter box forth through the screw 12.4 and the reinforcing element 15 into the build-up profile 20 is introduced with its inner reinforcing element.
- FIG. 4 shows the same detail of the roller shutter box at the connecting corner of the upper cover element 12 with the lateral inner wall element 13 as well as in FIG. 3.
- a height compensation profile 20 ' is used in this case, which has a high and by several inner profile webs rigidly formed support section 20.1'.
- a wallcovering element such as the additional insulation 33 shown in FIG. 4, can be supported directly on the support profile section 20.1 ', under certain circumstances also permanently connected to it via screw connections or adhesions.
- an additional base profile section 20.2 ' is provided, via which the support profile section 20.1' is supported on the base of the latch receiving recess 12.1.
- the base profile section 20.2 ' can be formed so long that it extends over the screw 12.4 and then a screw of the base profile section 20.2' is simply possible.
- the RastnessausANSung 12.1 prefferably be arranged and / or the construction or the wall profile 20, 20 'in such a way that the latter with their facing the inside wall surface with the wall element 13 are flush.
- roller shutter box connection system can thus be made by a uniform Rastmentaus adoptedung in the upper part of a connection to various building structures in a simple manner.
- the roller shutter box itself is therefore independent of the later installation situation.
Landscapes
- Engineering & Computer Science (AREA)
- Structural Engineering (AREA)
- Architecture (AREA)
- Civil Engineering (AREA)
- Operating, Guiding And Securing Of Roll- Type Closing Members (AREA)
- Closures For Containers (AREA)
Abstract
Description
- Die Erfindung betrifft einen Aufsatz-Rollladenkasten mit den Merkmalen des Oberbegriffs des Anspruchs 1.
- Insbesondere für Fenster, die aus Kunststoff- oder Aluminiumhohlprofilen gebildet sind, sind Aufsatzrollladenkästen bekannt, die ihrerseits ebenfalls aus mehreren Profilabschnitten zusammengesetzt sind. Sie können über entsprechend kompatibel gestaltete Rastverbindungen direkt auf die Oberseite eines Fenster- oder Türrahmens aufgerastet werden. Da die Seitenwände des Aufsatz-Rollladenkastens, also die zur Gebäudeaußen- wie zur Gebäude-Innenseite gewandten plattenförmigen Elemente, oftmals mit speziellen Profilierungen für Zusatzfunktionen versehen sind, ist es nicht ohne Weiteres möglich, die Höhe der seitlichen Elemente zu variieren, um den zwischen der Oberkante des Fenster- oder Türrahmens und der Unterkante der Wandöffnung vorhandenen Bauraum vollständig auszunutzen. Üblicherweise werden verbleibende Spalte mit Montageschaum verfüllt. Nachteilig ist, dass die Schaumschicht aus optischen Gründen abgedeckt werden muss und dass darüber hinaus eine Verbindung des Aufsatz-Rollladenkastens mit dem Sturz der Wandöffnung nur punktuell über Verbindungselemente wie Maueranker oder dergleichen möglich ist. Falls solche externen Verbindungselemente nicht angebracht werden können, treten an Fensterrahmen großer Breite, insbesondere wenn diese aus Kunststoff-Hohlprofilen gebildet sind, größere Durchbiegungen bei Winddruck auf.
- Aufgabe der Erfindung ist es, bei einem Aufsatz-Rollladenkasten der eingangs genannten Art in einfacher Weise einen Anschluss an die Begrenzungen der Wandöffnung zu ermöglichen und/oder eine Aussteifung des Rahmenprofils zu ermöglichen.
- Diese Aufgabe wird erfindungsgemäß dadurch gelöst, dass die Rastaufnahmeausnehmung äußere Rastvorsprünge und wenigstens eine dazwischen liegende innere Rastaufnahmenut aufweist.
- Damit sind zwei Rastmöglichkeiten gegeben. Es kann entweder eine Verbindung an den äußeren Rastvorsprüngen mit einem Aufbauprofil hergestellt werden, welches unter einem Sturz einer Wand montiert ist, oder es kann ein Höhenausgleichsprofil in die innere Nut eingesetzt werden, um einen Anschluss bei speziellen Konstruktionsweisen herstellen zu können. In beiden Fällen kann derselbe Aufsatzrollladenkasten eingesetzt werden.
- Neben Höhenausgleichsprofilen mit großer Profiltiefe, die in die Rastaufnahmeausnehmung einsetzbar sind, insbesondere dort eingerastet werden können und über die dann der Anschluss an den darüber liegenden Balken bzw. Sturz vorgenommen werden kann, ermöglicht die innere Rastaufnahmenut die Anbringung von Stütz- und Verbindungselementen geringerer Bautiefe.
- Die innere Rastaufnahmenut wird insbesondere durch ein Paar spiegelbildlich zueinander ausgerichteter Rastzungen bzw. Rastvorsprünge gebildet.
- In einer bevorzugten Ausführungsform sind Verstärkungshaltewinkel in der Rastaufnahmeausnehmung vorgesehen. Durch die Verstärkungshaltewinkel kann ein Metallprofil gehalten werden, das eine geringe Stärke besitzen kann, so dass mit bereits eingesetztem Verstärkungsprofil noch ein Höhenausgleichsprofil in die Rastaufnahmenut einsetzbar ist. Ist ein sonstiger Anschluss an den über dem Fensterrahmen befindlichen Mauersturz oder Balken nicht möglich, so bietet der eingesetzte Profilstab aufgrund seiner großen Breite im Querschnitt einen beträchtlichen Verformungswiderstand. Ein Ausknicken des dünnen Profilstabs wird durch die Einfassung in den Verstärkungshaltewinkeln vermieden, die nicht nur eine seitliche Führung bewirken, sondern durch ihren oberen Schenkel den Profilstab nah am Abdeckprofil halten.
- Eine der Rastzungen, durch die die innere Rastaufnahmenut gebildet ist, kann an einem gemeinsamen Profilsteg mit einem der Verstärkungshaltewinkel angeformt sein.
- Vorgesehen sein kann noch, einen Schraubkanal unterhalb der Rastaufnahmeausnehmung einzuformen, wodurch insbesondere die sichere Positionierung selbst schneidender Schrauben ermöglicht wird.
- Ein Rollladenkastenanschlusssystem der Erfindung umfasst wenigstens einen Rollladenkasten, sowie ein in die Rastaufnahmenut einsetzbares Höhenausgleichsprofil und/oder ein in die Rastaufnahmenut einsetzbares Aufbauprofil.
- Vorgesehen sein kann, über die gesamte Länge der Rastaufnahmenut nur eines der Profile am Rollladenkasten anzubringen. Möglicherweise ist auch eine Kombination beider Profilarten nebeneinander sinnvoll, beispielsweise um in Randbereichen mittels des Aufbauprofils eine besonders feste Anbindung an die vorhandene Konstruktion zu ermöglichen und in dazwischen liegenden Bereichen mit dem Höhenausgleichsprofil entsprechende Höhensprünge, wie sie beispielsweise bei bogenförmigen oder nicht waagerecht eingebauten Stürzen gegeben sind, auszugleichen.
- Das Höhenausgleichsprofil weist hierzu vorzugsweise einen senkrecht zu dem Abdeckprofil auszurichtenden Stützprofilabschnitt auf, der eine entsprechende Höhe besitzt und somit relativ weit über das Abdeckprofil als oberer Abschluss des Rollladenkastens hinausragt. Dieses Abdeckprofil kann auch hinter bauseitig vorhandene Plattenverkleidungen geschoben werden und mit diesen verschraubt werden, wodurch ebenfalls eine konstruktive Verbindung der Oberseite des Rahmens über den Rollladenkasten und das Höhenausgleichsprofil bewirkt wird.
- Die Erfindung wird nachfolgend mit Bezug auf die Zeichnung näher erläutert. Die Figuren zeigen im Einzelnen:
- Figur 1
- einen Rollladenkasten im Querschnitt,
- Figur 2
- einen eingebauten Rollladenkasten im Querschnitt,
- Figur 3
- einen Rollladenkasten mit Aufbauprofil im Detail im Schnitt und
- Figur 4
- einen Rollladenkasten mit einem Höhenausgleichsprofil im Detail im Schnitt.
- Figur 1 zeigt einen Rollladenkasten 10, der im Wesentlichen vier Wandelemente 11, 12, 13, 14 umfasst. Dabei ist das Wandelement 11 zur Gebäudeaußenseite gewandt. Das Wandelement 13 weist zur Gebäudeinnenseite und ist sowohl mit einem oberen Wandelement 12, wie auch einem unteren Wandelement 14 über Rastverbindungen 13.1, 13.2 zu verbinden. Die Rastverbindungen 13.1, 13.2 sind so ausgelegt, dass das Wandelement 13 aus der unteren Rastverbindung 13.2 gelöst und dann um die obere Rastverbindung 13.1 soweit verschwenkt werden kann, bis es vollständig von dem Rollladenkasten 10 entfernbar ist.
- Das untere Wandelement 14 ist zweigeteilt in einen Revisionsdeckel 14.1 und ein feststehendes Profilelement 14.2, welche an einer Rastverbindung 14.3 miteinander verbunden sind.
- Es ist möglich, den Revisionsdeckel 14.1 an der Rastverbindung 14.3 zu lösen und dann entweder den gesamten Winkel, der durch die Wandelemente 13, 14.1 gebildet ist, um die Rastverbindung 13.1 zu verschwenken oder aber den Revisionsdeckel 14.1 aus der Rastverbindung 13.2 herauszuziehen.
- Das obere Abdeckelement 12 weist eine Rastaufnahmeausnehmung 12.1 auf, in die in Figur 1 ein Aufbauprofil 20 eingesetzt ist. Der gesamte Rollladenkasten 10 kann so auf einen den Fensterrahmen 30 aufgesetzt werden, wo er bereits über das Profilelement 14.2 verrastet ist und dann gegen das mit dem Sturz einer Wandöffnung verschraubte Aufbauprofil 20 gedrückt werden, wodurch im Bereich der Rastaufnahmeausnehmung 12.1 ebenfalls eine formschlüssige Verbindung des Rollladenkastens 10 geschaffen wird.
- Figur 2 zeigt den in ein Holzständerwerk 32 eingebauten Rollladenkasten 10, der mit seinem Wandelement 11 vollständig hinter einer Hartschaumplatte 31 eines Wärmedämm-Verbundsystems verdeckt ist. An das Holzständerwerk 32 ist ein Anker 35 angeschlossen, der wiederum das Aufbauprofil 20 trägt, das in die Rastaufnahmeausnehmung 12.1 des Abdeckelements 12 eingerastet ist und hierüber einen Anschluss des Rollladenkastens an das Holzständerwerk 32 bewirkt. An der Innenseite des Holzständerwerks 11 ist eine Zusatzdämmung 33 angebracht, die raumseitig mit einer Gipskartonplatte 34 abgedeckt ist.
- Um den Bereich des Anschlusses des Aufbauprofils 20 an den Anker 35 raumseitig abzudecken, ist auf das Aufbauprofil 20 ein Verkleidungsprofil 22 aufgerastet, wobei es sich beispielsweise um die in den Profilprogrammen für das Fenster 30 vorhandenen Glasleisten handeln kann. In die Rastaufnahmeausnehmung 12.1 ist außerdem noch ein Verstärkungselement 15 eingerastet, wobei es sich um ein einfaches Stahlprofil handeln kann. Dieses erhöht die Biegesteifigkeit des Rollladenkastens 10 in Längsrichtung.
- Figur 3 zeigt die für die Erfindung wesentlichen Details, die im Bereich der Rastaufnahmeausnehmung 12.1 des oberen Abdeckelements 12 liegen. Dargestellt ist in einem Querschnitt der obere rechte Eckbereich gemäß der Darstellung der Figuren 1 und 2 an der Verbindungsstelle zwischen dem oberen Abdeckelement 12 und dem inneren seitlichen Wandelement 13.
- Die Rastaufnahmeausnehmung 12.1 besitzt zunächst an ihren seitlichen Begrenzungen Rastzungen bzw. Auflaufschrägen 12.2, 12.8. Bei der Verrastung eines Aufbauprofils 20 werden Rastzungen 20.1, 20.2 des Aufbauprofils an den Auflaufschrägen 12.2, 12.8 nach innen gedrückt und federn dann anschließend unter den Rastzungen 12.2, 12.8 wieder aus, wodurch eine formschlüssige Verbindung des Aufbauprofils 20 mit dem oberen Abdeckelement 12 und darüber mit dem gesamten Rollladenkasten 10 bewirkt wird.
- Im Grund der Rastaufnahmeausnehmung 12.1 sind weitere Profilstege angeordnet. Hierbei handelt es sich zunächst um Verstärkungshaltewinkel 12.3, 12.5, zwischen denen ein Verstärkungselement 15 gehalten ist. Dieses wird vorzugsweise bei der Montage des Rollladenkastens von der Seite her eingeschoben, so dass es unter den Haltewinkeln 12.3, 12.5 liegt.
- Der Auflaufschräge 12.8 gegenüber ist im Seitenbereich der Rastaufnahmeausnehmung 12.1 eine weitere Auflaufschräge 12.6 angeordnet, so dass dazwischen eine innere Rastaufnahmenut 12.7 geschaffen ist, die für die Verbindung mit dem Aufbauprofil 20 ohne Bedeutung ist, die jedoch die Anbringung weiterer Elemente in einem Rollladenkastenanschlusssystem erlaubt, wie noch nachfolgend mit Bezug auf die Figur 4 näher erläutert werden wird.
- In einem zentralen Bereich der Rastaufnahmeausnehmung 12.1, vorzugsweise in der Mitte unterhalb des Verstärkungselements 15, ist ein Schraubkanal 12.4 vorgesehen. Dieser erleichtert die positionsgenaue Einbringung und Führung einer zusätzlichen Verschraubung, die von der Innenseite des Rollladenkastens her durch den Schraubkanal 12.4 und das Verstärkungselement 15 bis in das Aufbauprofil 20 mit seinem innen liegenden Verstärkungselement eingebracht wird.
- Figur 4 zeigt das gleiche Detail des Rollladenkastens an der Verbindungsecke des oberen Abdeckelements 12 mit dem seitlichen inneren Wandelement 13 wie auch in Figur 3.
- In die Rastaufnahmeausnehmung 12.1 ist in diesem Fall allerdings ein Höhenausgleichsprofil 20' eingesetzt, das ein hohes und durch mehrere innere Profilstege biegesteif ausgebildetes Stützprofil 20.1' aufweist.
- Dieses besitzt an seinem unteren Ende ein Paar von Rastzungen 20.3', 20.4', die in die innere Rastaufnahmenut 12.7, welche zwischen den Auflaufschrägen 12.6 und 12.8 gebildet ist, eingerastet ist.
- Ein Wandbekleidungselement, wie beispielsweise die in Figur 4 dargestellte Zusatzdämmung 33 kann sich direkt an dem Stützprofilabschnitt 20.1' abstützen, unter Umständen auch mit diesem über Verschraubungen oder Verklebungen dauerhaft verbunden werden.
- Um den Stützprofilabschnitt 20.1' des Höhenausgleichsprofils 20' in einer senkrechten Stellung gegenüber der Oberfläche des Abdeckelements 12 halten zu können, ist ein zusätzlicher Basisprofilabschnitt 20.2' vorgesehen, über den der Stützprofilabschnitt 20.1' auf dem Grund der Rastaufnahmeausnehmung 12.1 abgestützt ist. Der Basisprofilabschnitt 20.2' kann dabei so lang ausgebildet sein, dass er sich bis über den Schraubkanal 12.4 erstreckt und dann eine Verschraubung des Basisprofilabschnitts 20.2' einfach möglich ist.
- Möglich ist, die Rastaufnahmeausnehmung 12.1 so anzuordnen und/oder das Aufbau- bzw. das Wandprofil 20, 20' so auszubilden, dass letztere mit ihrer zur Wandinnenseite gewandten Fläche mit dem Wandelement 13 bündig sind.
- In dem erfindungsgemäßen Rollladenkastenanschlusssystem kann somit durch eine einheitliche Rastaufnahmeausnehmung im oberen Bereich ein Anschluss an verschiedene Bauwerkskonstruktionen in einfacher Weise vorgenommen werden. Der Rollladenkasten an sich ist daher von der späteren Einbausituation unabhängig zu fertigen.
Claims (10)
- Aufsatzrollladenkasten (10), der wenigstens ein oberes Abdeckprofil (12) umfasst, das wenigstens eine an der Oberseite des Rollladenkastens angeordnete Rastaufnahmeausnehmung (12.1) aufweist, in die ein Wandöffnungsanschlusselement (20, 20') einrastbar ist,
dadurch gekennzeichnet, dass die Rastaufnahmeausnehmung (12.1) äußere Rastvorsprünge (12.2, 12.8) und wenigstens eine dazwischen liegende innere Rastaufnahmenut (12.7) aufweist. - Aufsatzrollladenkasten (10) nach Anspruch 1, dadurch gekennzeichnet, dass die innere Rastaufnahmenut (12.7) durch ein Paar spiegelbildlich zueinander ausgerichteter Rastvorsprünge (12.6, 12.8) begrenzt ist.
- Aufsatzrollladenkasten (10) nach Anspruch 2, dadurch gekennzeichnet, dass einer der Rastvorsprünge (12.6) der inneren Rastaufnahmenut (12.7) mit einem der äußeren Rastvorsprünge (12.2, 12.8) der Rastaufnahmeausnehmung (12.1) identisch ist.
- Aufsatzrollladenkasten (10) nach einem der Ansprüche 1 bis 3, dadurch gekennzeichnet, dass auf dem Grund der Rastaufnahmeausnehmung (12.1) wenigstens ein Paar spiegelbildlich zueinander ausgerichteter Verstärkungshaltewinkel (12.3, 12.5) angeordnet ist.
- Aufsatzrollladenkasten (10) nach Anspruch 4, dadurch gekennzeichnet, dass wenigstens einer der Verstärkungshaltewinkel (12.5) mit einem der Rastvorsprünge (12.6) an einem gemeinsamen Profilsteg angeordnet ist.
- Aufsatzrollladenkasten (10) nach einem der Ansprüche 1 bis 5, dadurch gekennzeichnet, dass unterhalb der Rastaufnahmeausnehmung (12.1) wenigstens ein Schraubkanal (12.4) in das Abdeckelement (12) eingeformt ist.
- Rollladenkastenanschlusssystem das wenigstens umfasst:- einen Rollladenkasten (10) nach einem der vorhergehenden Ansprüche 1 bis 6 und- ein in die Rastaufnahmeausnehmung (12.1) einsetzbares Höhenausgleichsprofil (20') und/oder- ein in die Rastaufnahmeausnehmung (12.1) einsetzbares Aufbauprofil (20).
- Rollladenkastenanschlusssystem nach Anspruch 7, dadurch gekennzeichnet, dass das Höhenausgleichsprofil (20') einen senkrecht zu dem Abdeckprofil (12) ausgerichteten Stützprofilabschnitt (20.1') aufweist, an den sich ein Basisprofilabschnitt (20.2') anschließt, der auf den Grund der Rastaufnahmeausnehmung (12.1) oder auf das Abdeckprofil (12) aufzusetzen ist.
- Rollladenkastenanschlusssystem nach Anspruch 8, dadurch gekennzeichnet, dass der Basisprofilabschnitt (20.1') über den Schraubkanal (12.4) mit dem Abdeckprofil (12) zu verbinden ist.
- Rollladenkastenanschlusssystem nach Anspruch 7 oder 8, dadurch gekennzeichnet, unterhalb des Basisprofilabschnitts (20.1') wenigstens ein Paar Rastzungen (20.3', 20.4') angeordnet ist, welche in die innere Nut (12.7) des Abdeckprofils (12) einrastbar sind.
Applications Claiming Priority (1)
| Application Number | Priority Date | Filing Date | Title |
|---|---|---|---|
| DE202005016057U DE202005016057U1 (de) | 2005-10-13 | 2005-10-13 | Aufsatz-Rollladenkasten |
Publications (3)
| Publication Number | Publication Date |
|---|---|
| EP1775415A2 true EP1775415A2 (de) | 2007-04-18 |
| EP1775415A3 EP1775415A3 (de) | 2010-02-03 |
| EP1775415B1 EP1775415B1 (de) | 2011-05-25 |
Family
ID=35852984
Family Applications (1)
| Application Number | Title | Priority Date | Filing Date |
|---|---|---|---|
| EP06122270A Not-in-force EP1775415B1 (de) | 2005-10-13 | 2006-10-13 | Aufsatz-Rollladenkasten |
Country Status (4)
| Country | Link |
|---|---|
| EP (1) | EP1775415B1 (de) |
| AT (1) | ATE510992T1 (de) |
| DE (1) | DE202005016057U1 (de) |
| ES (1) | ES2366128T3 (de) |
Cited By (5)
| Publication number | Priority date | Publication date | Assignee | Title |
|---|---|---|---|---|
| DE202011051556U1 (de) | 2011-10-06 | 2011-11-10 | Veka Ag | Rollladenkasten |
| DE202013101783U1 (de) | 2013-04-24 | 2013-07-19 | Veka Ag | Wärmegedämmtes Aussteifungselement für einen Rollladenkasten und Rolladenkasten |
| DE202012103627U1 (de) | 2012-09-21 | 2013-09-24 | Veka Ag | Aussteifungselement für einen Rollladenkasten |
| DE202012103629U1 (de) | 2012-09-21 | 2013-09-24 | Veka Ag | Befestigungsvorrichtung für ein Aussteifungselement eines Rollladenkastens |
| EP4560106A1 (de) | 2023-11-23 | 2025-05-28 | Veka AG | Befestigungsvorrichtung für einen aufsatzrollladenkasten, aufsatzrollladenkasten sowie fenster / tür mit einem aufsatzrollladenkasten |
Families Citing this family (4)
| Publication number | Priority date | Publication date | Assignee | Title |
|---|---|---|---|---|
| DE102007025645B4 (de) * | 2006-07-05 | 2012-01-12 | Exte-Extrudertechnik Gmbh | Rollladenkasten |
| DE202007001725U1 (de) | 2007-02-01 | 2008-06-19 | Rehau Ag + Co | Rollladenkasten |
| DE202008000251U1 (de) | 2008-01-08 | 2009-05-20 | Rehau Ag + Co | Rollladenkasten sowie Verstärkungskörper für einen solchen Rollladenkasten |
| FR3091718B1 (fr) * | 2019-01-15 | 2021-01-22 | Soc De Production De Portes Et Fermetures | Structure de volet roulant comprenant un coffre muni d’une extension d’appui longitudinale |
Citations (1)
| Publication number | Priority date | Publication date | Assignee | Title |
|---|---|---|---|---|
| EP0643192A1 (de) | 1993-09-10 | 1995-03-15 | Soprofen S.A. | Rolladenkasten |
Family Cites Families (2)
| Publication number | Priority date | Publication date | Assignee | Title |
|---|---|---|---|---|
| DE20104822U1 (de) * | 2001-03-20 | 2002-08-01 | Elket-Rolladensysteme Besler GmbH, 44139 Dortmund | Zusammenfügungsset eines schraublosen Rolladenkastenaufsatzelementes |
| DE102005029578B4 (de) * | 2005-06-25 | 2011-06-22 | Inoutic / Deceuninck GmbH, 94327 | Rollladenkasten |
-
2005
- 2005-10-13 DE DE202005016057U patent/DE202005016057U1/de not_active Expired - Lifetime
-
2006
- 2006-10-13 EP EP06122270A patent/EP1775415B1/de not_active Not-in-force
- 2006-10-13 ES ES06122270T patent/ES2366128T3/es active Active
- 2006-10-13 AT AT06122270T patent/ATE510992T1/de active
Patent Citations (1)
| Publication number | Priority date | Publication date | Assignee | Title |
|---|---|---|---|---|
| EP0643192A1 (de) | 1993-09-10 | 1995-03-15 | Soprofen S.A. | Rolladenkasten |
Cited By (11)
| Publication number | Priority date | Publication date | Assignee | Title |
|---|---|---|---|---|
| DE202011051556U1 (de) | 2011-10-06 | 2011-11-10 | Veka Ag | Rollladenkasten |
| EP2578791A2 (de) | 2011-10-06 | 2013-04-10 | Veka AG | Rolladenkasten |
| DE202012103627U1 (de) | 2012-09-21 | 2013-09-24 | Veka Ag | Aussteifungselement für einen Rollladenkasten |
| DE202012103629U1 (de) | 2012-09-21 | 2013-09-24 | Veka Ag | Befestigungsvorrichtung für ein Aussteifungselement eines Rollladenkastens |
| EP2711495A1 (de) | 2012-09-21 | 2014-03-26 | Veka AG | Aussteifungselement für einen Rollladenkasten |
| EP2749726A1 (de) | 2012-09-21 | 2014-07-02 | Veka AG | Befestigungsvorrichtung für ein Aussteifungselement eines Rollladenkastens |
| DE202013101783U1 (de) | 2013-04-24 | 2013-07-19 | Veka Ag | Wärmegedämmtes Aussteifungselement für einen Rollladenkasten und Rolladenkasten |
| EP2796657A2 (de) | 2013-04-24 | 2014-10-29 | Veka AG | Wärmegedämmtes Aussteifungselement für einen Rollladenkasten und Rolladenkasten |
| EP2796657A3 (de) * | 2013-04-24 | 2016-05-04 | Veka AG | Wärmegedämmtes Aussteifungselement für einen Rollladenkasten und Rolladenkasten |
| EP4560106A1 (de) | 2023-11-23 | 2025-05-28 | Veka AG | Befestigungsvorrichtung für einen aufsatzrollladenkasten, aufsatzrollladenkasten sowie fenster / tür mit einem aufsatzrollladenkasten |
| DE102023132684A1 (de) * | 2023-11-23 | 2025-05-28 | VEKA Aktiengesellschaft | Befestigungsvorrichtung für einen Aufsatzrollladenkasten, Aufsatzrollladenkasten sowie Fenster / Tür mit einem Aufsatzrollladenkasten |
Also Published As
| Publication number | Publication date |
|---|---|
| ATE510992T1 (de) | 2011-06-15 |
| EP1775415B1 (de) | 2011-05-25 |
| EP1775415A3 (de) | 2010-02-03 |
| DE202005016057U1 (de) | 2006-02-02 |
| ES2366128T3 (es) | 2011-10-17 |
Similar Documents
| Publication | Publication Date | Title |
|---|---|---|
| EP1775415B1 (de) | Aufsatz-Rollladenkasten | |
| DE29919825U1 (de) | Bauelement zur Erstellung von Wänden, insbesondere von Innenwänden, und/oder Decken, insbesondere auf Schiffen | |
| DE69903367T2 (de) | Rolladenkasten | |
| EP2050914B1 (de) | Türzarge | |
| DE102021001084B3 (de) | Leibungsverkleidung für Öffnungen in Wänden von Gebäuden, mit in und/oder an diesen Öffnungen angeordneten Rahmen von Fenstern oder Türen | |
| EP3002403A1 (de) | Fensterelement | |
| DE102014001636B4 (de) | Wandaufbau in Verbindung mit einem Tür- oder Fensterrahmen und eine energieeffiziente Einbauanordnung mit einem Kastenelement | |
| DE19744832C2 (de) | Anordnung für den Einbau eines Fensterrahmens | |
| EP2060725A1 (de) | Zarge für den Einbau eines Fensters oder einer Tür | |
| DE20200627U1 (de) | Flexibles Kastensystem | |
| EP1180573A2 (de) | Zarge für ein Fenster oder eine Tür in wärmegedämmter Ausführung | |
| EP1953332B1 (de) | Rolladenkasten | |
| DE102011054544A1 (de) | Gedämmte Fensteranordnung | |
| AT398229B (de) | Schachteinrichtung mit einem nach unten offenen aufnahmeschacht zur aufnahme eines rolladens, einer jalousie oder dergleichen | |
| DE202009003384U1 (de) | Aufnahmevorrichtung für eine Behangeinrichtung | |
| DE202007006736U1 (de) | Aufnahmevorrichtung zur Aufnahme einer Bedeckungseinrichtung | |
| EP3091167A1 (de) | Befestigungselement für die befestigung eines fensterrahmens an einer gebäudedecke eines bauwerks, zugehöriges bauwerk und verfahren zum befestigen eines fensterrahmens an einer gebäudedecke | |
| EP3770372A1 (de) | Kasten zur aufnahme eines rollladens oder eines sonnenschutzes und fenster oder tür | |
| DE4422153C1 (de) | Profilsatz zur Rundumverleistung von Fenster- oder Türelementen am Baukörper | |
| DE102019122600A1 (de) | Vorsatzschalenanordnung für ein Verbundfenster sowie Verbundfenstersystem aufweisend die Vorsatzschalenanordnung | |
| EP3974612B1 (de) | Einbruchshemmende anordnung | |
| DE102017118275B4 (de) | Torvorrichtung und diese enthaltende Toranordnung | |
| DE9216407U1 (de) | Außen- und Innenverkleidung für Gebäudeöffnungen | |
| DE20009185U1 (de) | Schwellenprofil für Gebäudetüren sowie Gebäudetür | |
| DE20117709U1 (de) | Tragwandungsaufbau |
Legal Events
| Date | Code | Title | Description |
|---|---|---|---|
| PUAI | Public reference made under article 153(3) epc to a published international application that has entered the european phase |
Free format text: ORIGINAL CODE: 0009012 |
|
| AK | Designated contracting states |
Kind code of ref document: A2 Designated state(s): AT BE BG CH CY CZ DE DK EE ES FI FR GB GR HU IE IS IT LI LT LU LV MC NL PL PT RO SE SI SK TR |
|
| AX | Request for extension of the european patent |
Extension state: AL BA HR MK YU |
|
| PUAL | Search report despatched |
Free format text: ORIGINAL CODE: 0009013 |
|
| AK | Designated contracting states |
Kind code of ref document: A3 Designated state(s): AT BE BG CH CY CZ DE DK EE ES FI FR GB GR HU IE IS IT LI LT LU LV MC NL PL PT RO SE SI SK TR |
|
| AX | Request for extension of the european patent |
Extension state: AL BA HR MK RS |
|
| 17P | Request for examination filed |
Effective date: 20100727 |
|
| 17Q | First examination report despatched |
Effective date: 20100818 |
|
| AKX | Designation fees paid |
Designated state(s): AT BE BG CH CY CZ DE DK EE ES FI FR GB GR HU IE IS IT LI LT LU LV MC NL PL PT RO SE SI SK TR |
|
| GRAP | Despatch of communication of intention to grant a patent |
Free format text: ORIGINAL CODE: EPIDOSNIGR1 |
|
| GRAS | Grant fee paid |
Free format text: ORIGINAL CODE: EPIDOSNIGR3 |
|
| GRAA | (expected) grant |
Free format text: ORIGINAL CODE: 0009210 |
|
| AK | Designated contracting states |
Kind code of ref document: B1 Designated state(s): AT BE BG CH CY CZ DE DK EE ES FI FR GB GR HU IE IS IT LI LT LU LV MC NL PL PT RO SE SI SK TR |
|
| REG | Reference to a national code |
Ref country code: GB Ref legal event code: FG4D Free format text: NOT ENGLISH |
|
| REG | Reference to a national code |
Ref country code: CH Ref legal event code: EP |
|
| REG | Reference to a national code |
Ref country code: IE Ref legal event code: FG4D Free format text: LANGUAGE OF EP DOCUMENT: GERMAN |
|
| REG | Reference to a national code |
Ref country code: DE Ref legal event code: R096 Ref document number: 502006009554 Country of ref document: DE Effective date: 20110707 |
|
| REG | Reference to a national code |
Ref country code: NL Ref legal event code: VDEP Effective date: 20110525 |
|
| REG | Reference to a national code |
Ref country code: ES Ref legal event code: FG2A Ref document number: 2366128 Country of ref document: ES Kind code of ref document: T3 Effective date: 20111017 |
|
| PG25 | Lapsed in a contracting state [announced via postgrant information from national office to epo] |
Ref country code: LT Free format text: LAPSE BECAUSE OF FAILURE TO SUBMIT A TRANSLATION OF THE DESCRIPTION OR TO PAY THE FEE WITHIN THE PRESCRIBED TIME-LIMIT Effective date: 20110525 Ref country code: PT Free format text: LAPSE BECAUSE OF FAILURE TO SUBMIT A TRANSLATION OF THE DESCRIPTION OR TO PAY THE FEE WITHIN THE PRESCRIBED TIME-LIMIT Effective date: 20110926 Ref country code: SE Free format text: LAPSE BECAUSE OF FAILURE TO SUBMIT A TRANSLATION OF THE DESCRIPTION OR TO PAY THE FEE WITHIN THE PRESCRIBED TIME-LIMIT Effective date: 20110525 |
|
| PG25 | Lapsed in a contracting state [announced via postgrant information from national office to epo] |
Ref country code: CY Free format text: LAPSE BECAUSE OF FAILURE TO SUBMIT A TRANSLATION OF THE DESCRIPTION OR TO PAY THE FEE WITHIN THE PRESCRIBED TIME-LIMIT Effective date: 20110525 Ref country code: LV Free format text: LAPSE BECAUSE OF FAILURE TO SUBMIT A TRANSLATION OF THE DESCRIPTION OR TO PAY THE FEE WITHIN THE PRESCRIBED TIME-LIMIT Effective date: 20110525 Ref country code: FI Free format text: LAPSE BECAUSE OF FAILURE TO SUBMIT A TRANSLATION OF THE DESCRIPTION OR TO PAY THE FEE WITHIN THE PRESCRIBED TIME-LIMIT Effective date: 20110525 Ref country code: GR Free format text: LAPSE BECAUSE OF FAILURE TO SUBMIT A TRANSLATION OF THE DESCRIPTION OR TO PAY THE FEE WITHIN THE PRESCRIBED TIME-LIMIT Effective date: 20110826 Ref country code: IS Free format text: LAPSE BECAUSE OF FAILURE TO SUBMIT A TRANSLATION OF THE DESCRIPTION OR TO PAY THE FEE WITHIN THE PRESCRIBED TIME-LIMIT Effective date: 20110925 Ref country code: SI Free format text: LAPSE BECAUSE OF FAILURE TO SUBMIT A TRANSLATION OF THE DESCRIPTION OR TO PAY THE FEE WITHIN THE PRESCRIBED TIME-LIMIT Effective date: 20110525 |
|
| REG | Reference to a national code |
Ref country code: IE Ref legal event code: FD4D |
|
| PG25 | Lapsed in a contracting state [announced via postgrant information from national office to epo] |
Ref country code: NL Free format text: LAPSE BECAUSE OF FAILURE TO SUBMIT A TRANSLATION OF THE DESCRIPTION OR TO PAY THE FEE WITHIN THE PRESCRIBED TIME-LIMIT Effective date: 20110525 |
|
| PG25 | Lapsed in a contracting state [announced via postgrant information from national office to epo] |
Ref country code: IE Free format text: LAPSE BECAUSE OF FAILURE TO SUBMIT A TRANSLATION OF THE DESCRIPTION OR TO PAY THE FEE WITHIN THE PRESCRIBED TIME-LIMIT Effective date: 20110525 Ref country code: EE Free format text: LAPSE BECAUSE OF FAILURE TO SUBMIT A TRANSLATION OF THE DESCRIPTION OR TO PAY THE FEE WITHIN THE PRESCRIBED TIME-LIMIT Effective date: 20110525 Ref country code: CZ Free format text: LAPSE BECAUSE OF FAILURE TO SUBMIT A TRANSLATION OF THE DESCRIPTION OR TO PAY THE FEE WITHIN THE PRESCRIBED TIME-LIMIT Effective date: 20110525 |
|
| PG25 | Lapsed in a contracting state [announced via postgrant information from national office to epo] |
Ref country code: PL Free format text: LAPSE BECAUSE OF FAILURE TO SUBMIT A TRANSLATION OF THE DESCRIPTION OR TO PAY THE FEE WITHIN THE PRESCRIBED TIME-LIMIT Effective date: 20110525 Ref country code: DK Free format text: LAPSE BECAUSE OF FAILURE TO SUBMIT A TRANSLATION OF THE DESCRIPTION OR TO PAY THE FEE WITHIN THE PRESCRIBED TIME-LIMIT Effective date: 20110525 Ref country code: RO Free format text: LAPSE BECAUSE OF FAILURE TO SUBMIT A TRANSLATION OF THE DESCRIPTION OR TO PAY THE FEE WITHIN THE PRESCRIBED TIME-LIMIT Effective date: 20110525 Ref country code: SK Free format text: LAPSE BECAUSE OF FAILURE TO SUBMIT A TRANSLATION OF THE DESCRIPTION OR TO PAY THE FEE WITHIN THE PRESCRIBED TIME-LIMIT Effective date: 20110525 |
|
| PLBE | No opposition filed within time limit |
Free format text: ORIGINAL CODE: 0009261 |
|
| STAA | Information on the status of an ep patent application or granted ep patent |
Free format text: STATUS: NO OPPOSITION FILED WITHIN TIME LIMIT |
|
| BERE | Be: lapsed |
Owner name: VEKA A.G. Effective date: 20111031 |
|
| 26N | No opposition filed |
Effective date: 20120228 |
|
| PG25 | Lapsed in a contracting state [announced via postgrant information from national office to epo] |
Ref country code: MC Free format text: LAPSE BECAUSE OF NON-PAYMENT OF DUE FEES Effective date: 20111031 |
|
| REG | Reference to a national code |
Ref country code: CH Ref legal event code: PL |
|
| REG | Reference to a national code |
Ref country code: DE Ref legal event code: R097 Ref document number: 502006009554 Country of ref document: DE Effective date: 20120228 |
|
| GBPC | Gb: european patent ceased through non-payment of renewal fee |
Effective date: 20111013 |
|
| PG25 | Lapsed in a contracting state [announced via postgrant information from national office to epo] |
Ref country code: BE Free format text: LAPSE BECAUSE OF NON-PAYMENT OF DUE FEES Effective date: 20111031 Ref country code: CH Free format text: LAPSE BECAUSE OF NON-PAYMENT OF DUE FEES Effective date: 20111031 Ref country code: LI Free format text: LAPSE BECAUSE OF NON-PAYMENT OF DUE FEES Effective date: 20111031 |
|
| PG25 | Lapsed in a contracting state [announced via postgrant information from national office to epo] |
Ref country code: GB Free format text: LAPSE BECAUSE OF NON-PAYMENT OF DUE FEES Effective date: 20111013 |
|
| REG | Reference to a national code |
Ref country code: AT Ref legal event code: MM01 Ref document number: 510992 Country of ref document: AT Kind code of ref document: T Effective date: 20111013 |
|
| PG25 | Lapsed in a contracting state [announced via postgrant information from national office to epo] |
Ref country code: AT Free format text: LAPSE BECAUSE OF NON-PAYMENT OF DUE FEES Effective date: 20111013 |
|
| PG25 | Lapsed in a contracting state [announced via postgrant information from national office to epo] |
Ref country code: LU Free format text: LAPSE BECAUSE OF NON-PAYMENT OF DUE FEES Effective date: 20111013 |
|
| PG25 | Lapsed in a contracting state [announced via postgrant information from national office to epo] |
Ref country code: BG Free format text: LAPSE BECAUSE OF FAILURE TO SUBMIT A TRANSLATION OF THE DESCRIPTION OR TO PAY THE FEE WITHIN THE PRESCRIBED TIME-LIMIT Effective date: 20110825 |
|
| PG25 | Lapsed in a contracting state [announced via postgrant information from national office to epo] |
Ref country code: TR Free format text: LAPSE BECAUSE OF FAILURE TO SUBMIT A TRANSLATION OF THE DESCRIPTION OR TO PAY THE FEE WITHIN THE PRESCRIBED TIME-LIMIT Effective date: 20110525 |
|
| PG25 | Lapsed in a contracting state [announced via postgrant information from national office to epo] |
Ref country code: HU Free format text: LAPSE BECAUSE OF FAILURE TO SUBMIT A TRANSLATION OF THE DESCRIPTION OR TO PAY THE FEE WITHIN THE PRESCRIBED TIME-LIMIT Effective date: 20110525 |
|
| REG | Reference to a national code |
Ref country code: FR Ref legal event code: PLFP Year of fee payment: 10 |
|
| REG | Reference to a national code |
Ref country code: FR Ref legal event code: PLFP Year of fee payment: 11 |
|
| REG | Reference to a national code |
Ref country code: FR Ref legal event code: PLFP Year of fee payment: 12 |
|
| PGFP | Annual fee paid to national office [announced via postgrant information from national office to epo] |
Ref country code: IT Payment date: 20171023 Year of fee payment: 12 Ref country code: ES Payment date: 20171121 Year of fee payment: 12 |
|
| REG | Reference to a national code |
Ref country code: FR Ref legal event code: PLFP Year of fee payment: 13 |
|
| REG | Reference to a national code |
Ref country code: DE Ref legal event code: R082 Ref document number: 502006009554 Country of ref document: DE Representative=s name: COHAUSZ HANNIG BORKOWSKI WISSGOTT PATENTANWALT, DE |
|
| PG25 | Lapsed in a contracting state [announced via postgrant information from national office to epo] |
Ref country code: IT Free format text: LAPSE BECAUSE OF NON-PAYMENT OF DUE FEES Effective date: 20181013 |
|
| REG | Reference to a national code |
Ref country code: ES Ref legal event code: FD2A Effective date: 20191202 |
|
| PG25 | Lapsed in a contracting state [announced via postgrant information from national office to epo] |
Ref country code: ES Free format text: LAPSE BECAUSE OF NON-PAYMENT OF DUE FEES Effective date: 20181014 |
|
| PGFP | Annual fee paid to national office [announced via postgrant information from national office to epo] |
Ref country code: FR Payment date: 20221020 Year of fee payment: 17 |
|
| PGFP | Annual fee paid to national office [announced via postgrant information from national office to epo] |
Ref country code: DE Payment date: 20221020 Year of fee payment: 17 |
|
| P01 | Opt-out of the competence of the unified patent court (upc) registered |
Effective date: 20230528 |
|
| REG | Reference to a national code |
Ref country code: DE Ref legal event code: R119 Ref document number: 502006009554 Country of ref document: DE |
|
| PG25 | Lapsed in a contracting state [announced via postgrant information from national office to epo] |
Ref country code: FR Free format text: LAPSE BECAUSE OF NON-PAYMENT OF DUE FEES Effective date: 20231031 Ref country code: DE Free format text: LAPSE BECAUSE OF NON-PAYMENT OF DUE FEES Effective date: 20240501 |