EP4560106A1 - Befestigungsvorrichtung für einen aufsatzrollladenkasten, aufsatzrollladenkasten sowie fenster / tür mit einem aufsatzrollladenkasten - Google Patents

Befestigungsvorrichtung für einen aufsatzrollladenkasten, aufsatzrollladenkasten sowie fenster / tür mit einem aufsatzrollladenkasten Download PDF

Info

Publication number
EP4560106A1
EP4560106A1 EP24214667.8A EP24214667A EP4560106A1 EP 4560106 A1 EP4560106 A1 EP 4560106A1 EP 24214667 A EP24214667 A EP 24214667A EP 4560106 A1 EP4560106 A1 EP 4560106A1
Authority
EP
European Patent Office
Prior art keywords
profile
roller shutter
fastening
shutter box
base element
Prior art date
Legal status (The legal status is an assumption and is not a legal conclusion. Google has not performed a legal analysis and makes no representation as to the accuracy of the status listed.)
Pending
Application number
EP24214667.8A
Other languages
English (en)
French (fr)
Inventor
Dirk Brünemann
Current Assignee (The listed assignees may be inaccurate. Google has not performed a legal analysis and makes no representation or warranty as to the accuracy of the list.)
Veka AG
Original Assignee
Veka AG
Priority date (The priority date is an assumption and is not a legal conclusion. Google has not performed a legal analysis and makes no representation as to the accuracy of the date listed.)
Filing date
Publication date
Application filed by Veka AG filed Critical Veka AG
Publication of EP4560106A1 publication Critical patent/EP4560106A1/de
Pending legal-status Critical Current

Links

Images

Classifications

    • EFIXED CONSTRUCTIONS
    • E06DOORS, WINDOWS, SHUTTERS, OR ROLLER BLINDS IN GENERAL; LADDERS
    • E06BFIXED OR MOVABLE CLOSURES FOR OPENINGS IN BUILDINGS, VEHICLES, FENCES OR LIKE ENCLOSURES IN GENERAL, e.g. DOORS, WINDOWS, BLINDS, GATES
    • E06B9/00Screening or protective devices for wall or similar openings, with or without operating or securing mechanisms; Closures of similar construction
    • E06B9/02Shutters, movable grilles, or other safety closing devices, e.g. against burglary
    • E06B9/08Roll-type closures
    • E06B9/11Roller shutters
    • E06B9/17Parts or details of roller shutters, e.g. suspension devices, shutter boxes, wicket doors, ventilation openings
    • E06B9/17007Shutter boxes; Details or component parts thereof
    • E06B9/1703Fixing of the box; External plastering of the box

Definitions

  • the invention relates to a fastening device for fastening a top-mounted roller shutter box having at least one static console in its interior to an upper frame profile of a window or a door, comprising an adapter profile which can be fastened to an upper frame profile of a window or a door and to which a lower base element of a top-mounted roller shutter box can be fastened by locking.
  • the invention further relates to a top-mounted roller shutter box comprising a ceiling element, a floor element, an outer wall element, an inner wall element and two opposing side wall elements on which the winding shaft of a roller shutter curtain is mounted, wherein a base element is fastened to the floor element, by means of which the top-mounted roller shutter box can be fastened to an adapter profile and at least one static console is arranged inside, which extends from the base element around the roller shutter curtain to the ceiling element.
  • the invention also relates to a window or a door with a top-mounted roller shutter box which is fastened to the upper frame profile of the window or door and to a method for mounting a top-mounted roller shutter box having at least one static bracket in its interior to the upper frame profile of a window or door, wherein an adapter profile is fastened to the upper frame and the top-mounted roller shutter box is fastened with its base element to the adapter profile in a snap-in manner.
  • the floor element which is connected to a base element, is attached by means of the base element to an upper horizontally running frame profile of a window or door, which is formed from a hollow plastic profile, wherein the frame profile has a reinforcing profile, preferably made of metal, in at least one of its hollow chambers and wherein the fastening device comprises at least one adapter profile to be firmly attached to the frame profile.
  • the adapter profile has fastening elements on its underside, by means of which it can be fastened to an upper frame profile on the top side.
  • fastening elements can be, for example, locking elements, preferably fastening elements that run parallel to one another at a distance in the direction of extension and can engage in corresponding locking grooves on the top side of a frame profile.
  • An adapter profile can preferably also be screwed, e.g., by screws that engage in the frame profile, preferably in its reinforcement profile.
  • Adapter profiles intended for connection to a frame profile that is not a hollow plastic profile can also be flat on the underside, i.e., on the side facing the frame profile, and can be secured only by screwing. This is the case, for example, if the frame profile is a wooden profile.
  • the direction of extension for all profiles mentioned in this description of the invention is the direction in which the profiles run with a constant profile cross-section; in particular, for plastic profiles, it is the extrusion direction during the production of the profiles. All other directions refer to the usual installation position of a window or door. Preferably, the directions mentioned in this description of the invention Characteristics of profiles or extended elements are described with regard to their properties when considering the respective profiles/elements in cross-section perpendicular to their extension.
  • a lower wall element of a roller shutter box is constructed in two parts and comprises a base element which is or is connected to the adapter profile in a locking manner and a floor element which is or is at least connectable to the base element.
  • connection is achieved by sliding the roller shutter box horizontally, particularly toward the outside, after placing it on the adapter profile attached to the upper frame profile, causing the locking elements of the adapter profile and the base element to engage.
  • the floor element preferably has a detachable connection to the base element and/or the interior wall element.
  • the floor element can be used as a lower inspection hatch
  • the interior wall element can be used as an inspection hatch facing the interior of the room.
  • plastic hollow profiles as wall elements for the production of top-mounted roller shutter boxes offers many advantages such as good thermal insulation, high air tightness, easy processing and quick installation at the installation site.
  • roller shutter box is known that is made of hollow plastic profiles. Such a roller shutter box is easy to install. It is made airtight by interlocking profiles and can be insulated with additional thermal insulation elements to prevent cold bridges in the area of the roller shutter box. Furthermore, a wide range of options can be provided by appropriate profile designs. to create inspection hatches on the underside or on the side facing the inside of the building.
  • thermal insulation elements can also preferably be provided in the usual way.
  • EP 1 775 415 A2 A special connecting profile is known that can be snapped onto the ceiling element of the roller shutter box.
  • the floor element is connected to the window frame, so that the static connection between the upper section of the frame and the ceiling is made via the roller shutter box.
  • the rigidity of the side wall elements attached to the front is sufficient to transfer wind loads to the ceiling, for example.
  • the frame must be reinforced.
  • Reinforcing the PVC frame profile of a window or door is usually achieved by inserting metal reinforcement profiles, especially steel.
  • the internal reinforcement is no longer sufficient to prevent significant deformation of the frame under wind loads.
  • due to the material properties of the commonly used PVC plastic larger forces acting on the frame cannot be transferred to the building ceiling via the roller shutter box.
  • brackets are known for this purpose; one end, particularly the lower end, is connected directly or indirectly to the top of the frame, and the other end, particularly the upper end, is attached to the building ceiling.
  • the bracket-shaped area between the ends serves to support the wound-up To encompass the roller shutter curtain and to redirect the wind and suction loads to be diverted and direct them into the ceiling.
  • a top-mounted roller shutter box according to the invention comprises at least one such static bracket and the fastening device according to the invention is intended for use with such top-mounted roller shutter boxes.
  • the structural bracket is a stiffening element and is mounted inside the roller shutter box where structural requirements exist. It is designed to extend structurally continuously from the window frame to the lintel or ceiling above the roller shutter box.
  • the structural bracket is already pre-assembled in the top-mounted roller shutter box and, when the top-mounted roller shutter box is attached to the window or door (snapped into place by sliding the roller shutter box horizontally in accordance with the state of the art), is connected to the window or door frame profile, preferably also to the structural element of the window/door (steel reinforcement), e.g., by means of a screw connection in the state of the art.
  • a structural bracket is secured, particularly screwed, from the inside of the roller shutter box after it has been snapped into place.
  • the inspection panel particularly the lower floor element or the interior wall element of the roller shutter box facing the interior of the room, must be removed and screwed in place.
  • the disadvantage of the additional structural brackets is that they are difficult to install. This is less true for the ceiling mountings, which are usually offset from the plane of the frame closer to the interior of the building, making the mounting points easily accessible when the interior wall element and floor element are removed. This applies even more to the connection to the frame, and possibly also to the metal reinforcement profile within it, because all the screw connections require working within the narrow roller shutter box.
  • the installation of conventional structural brackets therefore requires a high number of work steps and increased installation effort.
  • the object of the present invention is therefore to provide a fastening device for a top-mounted roller shutter box with at least one internal static bracket, a top-mounted roller shutter box with at least one internal static bracket, a window or a door with such a top-mounted roller shutter box and a method for mounting such a top-mounted roller shutter box, which enables tool-free and thus faster and easier mounting and dismounting.
  • the goal should be to ensure that, in the best case scenario, an installer no longer needs to open a roller shutter box after installing the window or door, including the roller shutter box, to perform further work such as screwing the structural bracket, etc.
  • the screwing of the structural bracket to a mounting bracket should ideally be eliminated.
  • Particularly preferred is a roller shutter box that is connected to the ceiling from the outside and does not need to be opened again after installation.
  • the object is achieved in a fastening device of the type mentioned above in that at least one additional reinforcement profile, preferably a metallic additional reinforcement profile, is arranged on the adapter profile, in particular in a top-side recess of the adapter profile.
  • the at least one additional reinforcement profile has at least one fastening pin extending upwards from the additional reinforcement profile, the free end of which has a thickened portion.
  • the thickened portion is thus preferably a component of the fastening pin at its free end, in particular thus formed integrally with the fastening pin.
  • the object is achieved in that the at least one static bracket has a fastening tab resting on the base element, wherein the fastening tab has a fastening opening which is arranged in overlap with a through-opening in the base element.
  • a fastening pin of an aforementioned fastening device can be pushed with its thickened portion through the push-through opening and the fastening opening and that the surface of the fastening tab facing away from the base element can be pushed under the thickened portion at least in part.
  • the object is accordingly further achieved by a window or a door of the type mentioned at the outset, in which the top-mounted roller shutter box is designed according to the aforementioned solution and is fastened to the frame profile by means of an aforementioned fastening device, wherein the base element is latched to the adapter profile and the at least one fastening pin with its thickened portion is pushed through the through-opening in the base element and the fastening opening in the fastening tab of the at least one static bracket and the surface of the fastening tab facing away from the base element is pushed at least partially under the thickening of the at least one fastening pin.
  • the object is achieved in that a preferably metallic additional reinforcement profile is placed on the adapter profile, in particular at least one additional reinforcement profile is inserted into a top-side recess of the adapter profile, which has at least one fastening pin extending upwards from the additional reinforcement profile and having a thickening at its free end, wherein the top-mounted roller shutter box is placed in the direction of gravity onto the at least one fastening pin, wherein the thickening has a through-opening in the base element and a fastening opening in the tab of the at least one static bracket penetrates, and the top-mounted roller shutter box is moved and thereby the base element locks onto the adapter profile, and during the displacement the surface of the fastening tab facing away from the base element is pushed at least partially under the thickening of the at least one fastening pin.
  • the invention thus ensures that the at least one structural bracket inside the roller shutter box establishes a connection to the frame profile simply by moving the roller shutter box, because the fastening tab of the structural bracket slides partially under the thickened portion of the fastening pin and is thereby fixed in the direction of the pin extension, in particular in the vertical direction. Since the fastening pin is connected to the adapter profile and the frame profile, in particular also to a reinforcement profile, via the additional reinforcement profile, this results in a preferably positive and/or force-locking connection between the at least one structural bracket and the frame profile.
  • the additional reinforcement profile placed on the adapter profile, preferably inserted therein, is preferably also connected, e.g. by means of screws, to the frame profile and/or the metallic reinforcement profile inserted therein.
  • the invention can provide that a single, preferably metallic, additional reinforcement profile is inserted into an adapter profile that is continuous across the window width/door width, which carries a number of fastening pins that corresponds to the number of static consoles inside the roller shutter box.
  • the invention can also provide for the use of a number of additional reinforcement elements, each with a fastening pin, which corresponds to the number of static brackets inside the roller shutter box.
  • the positions of the fastening pins on the additional reinforcement profile(s) correspond to the positions of the fastening openings in the fastening tabs of the static brackets.
  • the invention preferably provides that the at least one fastening pin is arranged directly on the additional reinforcement profile or on a mounting plate that is attached to the additional reinforcement profile, e.g., by screwing or welding.
  • the design with the mounting plate has the advantage that the additional reinforcement profile can be manufactured and then the at least one fastening pin is attached to the at least one required position using a mounting plate that supports it.
  • the at least one additional reinforcement profile preferably the recess in the adapter profile with the at least one additional reinforcement profile embedded therein, is covered by the base element of the top-mounted roller shutter box after its installation.
  • the thickening of the free end is tapered in a direction away from the additional reinforcement profile. This facilitates the placement of the roller shutter box on the pin.
  • the taper can preferably be formed in that the thickening is at least partially frustoconical or mushroom-head-shaped.
  • the thickening is circular, preferably over the entire axial extension of the pin at its free end where the thickening is present, preferably wherein the circular cross-section of the thickening decreases towards the tip of the free end to achieve the taper.
  • the thickening of the free end has a flat lower surface opposite the surface of the additional reinforcement profile and/or the mounting plate.
  • This flat lower surface preferably lies in a plane that is oriented perpendicular to the direction of extension of the fastening pin.
  • the thickening thus lies entirely on the side of the aforementioned plane facing the free end; preferably, the thickening starts in this plane with its flat lower surface and extends from there in a tapered manner towards the tip of the free end.
  • the fastening tab which is preferably also flat, can be enclosed between the flat lower surface of the thickening and the preferably flat surface of the base element, in particular in a form-fitting manner, preferably such that no movement of the fastening tab in the axial direction of extension of the fastening pin, in particular in the vertical direction, is possible.
  • the fastening opening has a first partial opening region and a second partial opening region which opens into the first partial opening region, preferably wherein the second partial opening region is different in shape from the first partial opening region, in particular has a smaller opening cross-section than the first partial opening region.
  • the second partial opening area preferably opens into the first partial opening area in a direction that corresponds to the direction of displacement in which the roller shutter box must be moved in order to achieve the locking between the base element and the adapter profile.
  • the opening cross-section of the second partial opening area (at least viewed perpendicular to the displacement direction) is smaller than the The maximum cross-section of the thickening, but larger, particularly in a width perpendicular to a displacement direction to effect locking, than the cross-section of the shaft of the fastening pin below the thickening.
  • the first partial opening area is preferably circular, and the second partial opening area is designed as an elongated hole extending in the aforementioned displacement direction.
  • the fastening opening preferably has a keyhole-like shape.
  • the thickened portion is also circular in cross-section perpendicular to the shaft axis/center axis of the fastening pin, with a maximum diameter that is smaller than the first partial opening area and in particular larger than the second partial opening area.
  • a preferred embodiment further provides that the fastening tab of the static console has a stop edge pointing towards the inner wall element and running parallel thereto, which contacting edge rests against a stop of the base element running parallel to the inner wall element.
  • the stop is preferably a projection on the surface of the base element facing into the interior of the roller shutter box, which projection runs in the direction of the extension direction of the base element, in particular which corresponds to the extrusion direction of the base element.
  • the fastening tab has an edge running perpendicular to the stop edge, wherein these two edges merge into one another with a connecting area, in particular a circular arc-shaped connecting area, in particular the distance of which to the central axis of the fastening pin in the locked state of the roller shutter box is smaller than the distance between the fastening pin central axis and the stop edge.
  • the invention allows a structural bracket to be subsequently removed from a roller shutter box, e.g., when access to the roller shutter curtain is required.
  • the structural bracket is rotated around the mounting pin, possibly after first being removed from the ceiling element.
  • the structural bracket can then be moved to release it from the thickened portion of the mounting pin.
  • the fastening pin which has a thickened portion at its free upper end, so that it automatically locks the structural bracket after the roller shutter box has been snapped onto the window or door.
  • the structural bracket has a tapered fastening opening that matches the fastening pin. This locking mechanism eliminates the need for additional securing and the resulting opening of the inspection panel of the roller shutter box.
  • this innovation optimizes the installation of a top-mounted roller shutter box and increases installation speed.
  • the structural support bracket can also be removed without tools. To do this, after opening the inspection panel and removing the insulation, the structural support bracket is removed by pivoting it out sideways.
  • FIG. 1 For reasons of clarity, only the upper frame profile 30 and the static bracket 10 as well as the fastening device 100 according to the invention consisting of the adapter profile 32 with the additional reinforcement profile 34 and the fastening pin 102 arranged on a mounting plate 101 with the thickening 103 at the upper free end of the fastening pin 102 are shown.
  • the fastening device 100 enables the connection of the static console 10 with the frame profile 30, and in particular with the additional metallic reinforcement profile 34 and preferably also with the Reinforcement profile 31 inserted into the frame profile 30, which is arranged within a hollow chamber of the frame profile 30, in particular if the additional reinforcement profile 34 is connected to the reinforcement profile 31 by means of screws.
  • connection with the additional reinforcement profile 34 is mandatory, while the connection with the reinforcement profile 31 can be supplementary.
  • an additional reinforcement profile 34 is placed on the adapter profile 32, in particular inserted into a top-side recess 32a of the adapter profile 32.
  • the recess 32a is formed between the environmental-side receptacle 32b and the room-side, in particular locking-acting receptacle 32c of the adapter profile 32, as Figure 1a better shown in detail.
  • the additional reinforcement profile 34 has a large width in cross-section and thus a high area moment of inertia, which is effective against forces acting transversely to the frame profile 30, such as wind loads in particular.
  • the adapter profile 32 represents a stepped profile, viewed perpendicular to the direction of extension, with a lower step surface that lies in the recess 32a and an upper step surface, in particular at least substantially parallel to the lower step surface, which rests on the room-side receptacle 32c. It is preferably provided that a base element 33 is inserted into the environment-side receptacle 32b, in particular in a non-locking manner, and is inserted into the room-side receptacle, in particular in a locking manner. The situation is described in detail in the Figure 2A shown.
  • the securing device 100 represents an easy-to-install and highly resilient connection as follows:
  • the mounting plate 101 is fastened to the additional reinforcement profile 34 located in the adapter profile 32 using the fastening pin 102, e.g., firmly mounted using fastening screws 105.
  • Figure 1 also represents the static bracket 10, at whose free end, facing the frame profile 30, a fastening tab 11 is formed.
  • This fastening tab forms a flat plate which, when mounted, rests on the base element 33, or rather on its flat surface facing the interior of the roller shutter box.
  • This is provided with a fastening opening 12, in particular a keyhole-like fastening opening 12, which has a first partial opening area 13 with a larger cross-section/diameter and thus forms the inlet opening 13 for the thickened portion 103, and a second partial opening area 14, which is characterized by a smaller cross-section/diameter and forms a locking opening 14.
  • top-mounted roller shutter box 20 which has an outer wall element 21 facing the building exterior/the environment, and an inner wall element 23 facing the building interior.
  • the top-mounted roller shutter box 20 is closed off at the top by a ceiling element 22, preferably connected to a building ceiling via a connecting profile.
  • a floor element 24 is provided at the bottom, which can be used as an inspection opening alternatively or in addition to the inner wall element 23.
  • the side wall elements that support the roller shutter shaft are not shown.
  • the adapter profile 32 is mounted on a frame profile 30 of a window or door. It has a rounded portion on the side facing the unrolled roller shutter (not shown), over which the roller shutter can slide. A seal, particularly a brush seal, is preferably also arranged here. Furthermore, the adapter profile 32 is connected to the base element 33 in a locking manner.
  • a cavity 35 formed between the base element 33 and the additional reinforcement profile 34 serves to accommodate the additional reinforcement profile 34 with the mounting plate 101 of the fastening device 100 and the fastening pin 102, via which the static bracket 10 is connected to the base element 33 and indirectly thereabove to the frame profile 30.
  • the static bracket 10 is formed in two parts in the illustrated embodiment with a static console element with a lower fastening tab 11 and an upper fastening tab 11', which serves as the ceiling connection.
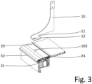
  • the Figure 3 shows a perspective view of a static bracket 10 being placed on the fastening device 100.
  • the static bracket 10 is shown free from the roller shutter box 20 and without contact with the base element 33.
  • the static bracket 10 is arranged inside the top-mounted roller shutter box, and the lower fastening tab 11 rests loosely on the base element 33.
  • the fastening opening 12 in the fastening tab and a through-hole in the base element are arranged so as to overlap.
  • the Figure 3a shows a structural bracket 10 after being placed on the fastening device 100 in a top view.
  • the thickened portion 103 has passed through the through-opening of the base element 33 and through the first partial opening area 13 of the fastening opening 12.
  • the thickened portion 103 is located completely above the fastening tab 11.
  • the diameter/cross-section of the first partial opening area 13 must be slightly larger than the diameter/cross-section of the thickened portion 103 to ensure easy placement.
  • the top view shows the second partial opening area 14, which opens into the first partial opening area 13.
  • This partial opening area is preferably designed as an elongated hole into which the fastening pin shaft can penetrate.
  • the elongated hole or the second partial opening area 14 has a length that corresponds at least to or exactly to the displacement path required to lock the base element 33 to the adapter profile 32.
  • the Figure 4 shows a static bracket 10 in the displaced state, after the edge of the fastening tab 11 surrounding the second partial opening area 14 lies under the thickening 103 and the edge at least partially surrounds the shaft of the fastening pin 102.
  • the roller shutter box 20 is pushed forward, in particular this is done manually.
  • the top-mounted roller shutter box 20 engages with its base element 33 over its entire length with the locking receptacle of the adapter profile 32, and at the same time, the fastening pin 102 moves with its shaft along the same locking path from the first partial opening area 13 of the fastening opening 12 in the fastening lug 11 of the static bracket 10 into the narrower second partial opening area 14, with the thickened portion 103 coming to lie above this second partial opening area 14.
  • the dimensions of the second partial opening area 14, which is preferably designed as an elongated hole here, can limit the displacement path of the top-mounted roller shutter box 20, but can also be larger.
  • the fastening pin 102 is preferably positively guided according to its dimensions along the length of the opening 14.
  • the fastening pin 102 passes through the inlet opening 13, and the manual pushing path preferably ends through the stop in the second partial opening area 14. Since the diameter of the shaft of the fastening pin 102 approximately corresponds to the width of the second partial opening area 14 viewed perpendicular to the pushing path, lateral displacement is not possible.
  • the static console 10 is connected and locked to the frame 30 after moving.
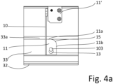
  • the Figure 4 further shows that the fastening tab 11 has a stop edge 11a, which rests against a stop 33a on top of the surface of the base element 33.
  • the fastening tab 11 is forced to move along with the roller shutter box 20 when it is moved, even though the fastening tab 11 is not fixed to the base element 33.
  • Figure 5 shows the possibility of dismantling the static bracket 11.
  • the static bracket 10 is dismantled by turning it around the fastening pin.
  • the The connecting region 15 between the stop edge 11a and the perpendicularly oriented edge 11b is designed such that, in every rotational position, its distance from the central axis of the fastening pin is smaller than the distance of the stop edge 11a from the central axis. This is achieved, for example, by a quarter-circle-shaped profile of the connecting region 15, preferably with a radius smaller than the distance between the stop edge 11a and the central axis of the fastening pin 102.
  • the fastening tab 11 can be decoupled from the fastening pin 102.

Landscapes

  • Engineering & Computer Science (AREA)
  • Structural Engineering (AREA)
  • Architecture (AREA)
  • Civil Engineering (AREA)
  • Operating, Guiding And Securing Of Roll- Type Closing Members (AREA)

Abstract

Die Erfindung betrifft eine Befestigungsvorrichtung (100) für die Befestigung eines in seinem Inneren wenigstens eine Statikkonsole (10) aufweisenden Aufsatzrollladenkastens (20) auf einem oberen Blendrahmenprofil (30) eines Fensters oder einer Tür, umfassend ein Adapterprofil (32), das an einem oberen Blendrahmenprofil (30) eines Fensters oder einer Tür befestigbar ist und an dem ein unteres Basiselement (33) eines Aufsatzrollladenkastens (20) durch Verrastung befestigbar ist, wobei auf dem Adapterprofil (32), insbesondere in einer oberseitigen Ausnehmung (32a) des Adapterprofils (32) wenigstens ein Zusatzverstärkungsprofil (34), vorzugsweise ein metallisches Zusatzverstärkungsprofil (34) angeordnet ist, wobei das wenigstens eine Zusatzverstärkungsprofil (34) wenigstens einen vom Zusatzverstärkungsprofil (34) nach oben wegerstreckten Befestigungszapfen (102) aufweist, dessen freies Ende eine Verdickung (103) aufweist. Die Erfindung betrifft auch ein Fenster oder eine Tür mit einem Aufsatzrollladenkasten (20) und ein Verfahren zur Montage.

Description

  • Die Erfindung betrifft eine Befestigungsvorrichtung für die Befestigung eines in seinem Inneren wenigstens eine Statikkonsole aufweisenden Aufsatzrollladenkastens auf einem oberen Blendrahmenprofil eines Fensters oder einer Tür, umfassend ein Adapterprofil, das an einem oberen Blendrahmenprofil eines Fensters oder einer Tür befestigbar ist und an dem ein unteres Basiselement eines Aufsatzrollladenkastens durch Verrastung befestigbar ist.
  • Die Erfindung betrifft weiterhin einen Aufsatzrollladenkasten umfassend ein Deckenelement, ein Bodenelement, ein Außenwandelement, ein Innenwandelement und zwei sich gegenüberliegende Seitenwandelemente, an denen die Wickelwelle eines Rollladenpanzers gelagert ist, wobei am Bodenelement ein Basiselement befestigt ist, mittels dem der Aufsatzrollladenkasten an einem Adapterprofil befestigbar ist und im Inneren wenigstens eine Statikkonsole angeordnet ist, die sich vom Basiselement um den Rollladenpanzer herum bis zum Deckenelement erstreckt.
  • Die Erfindung betrifft auch ein Fenster oder eine Tür mit einem Aufsatzrollladenkasten, der am oberen Blendrahmenprofil des Fensters oder der Tür befestigt ist und ein Verfahren zur Montage eines in seinem Inneren wenigstens eine Statikkonsole aufweisenden Aufsatzrollladenkastens an dem oberen Blendrahmenprofil eines Fensters oder einer Tür, wobei am oberen Blendrahmen ein Adapterprofil befestigt wird und der Aufsatzrollladenkasten mit seinem Basiselement am Adapterprofil rastend befestigt wird.
  • Im Stand der Technik ist es bekannt sogenannte Aufsatzrollladenkästen an einem oberen Blendrahmenprofil eines Fensters oder einer Tür zu befestigen.
  • Hierbei wird das Bodenelement, welches mit einem Basiselement verbunden ist, mittels des Basiselements an einem oberen waagerecht verlaufenden, aus einem Kunststoffhohlprofil gebildeten Blendrahmenprofil eines Fensters oder einer Tür angebracht, wobei das Blendrahmenprofil in wenigstens einer seiner Hohlkammern ein Verstärkungsprofil, vorzugsweise aus Metall, besitzt und wobei die Befestigungsvorrichtung wenigstens ein am Blendrahmenprofil fest anzubringendes Adapterprofil umfasst.
  • Insbesondere ist es hierfür vorgesehen, dass das Adapterprofil an seiner Unterseite Befestigungselemente aufweist, mittels denen es oberseitig auf einem oberen Blendrahmenprofil befestigbar ist. Solche Befestigungselemente können z.B. Rastelemente sein, vorzugsweise in Erstreckungsrichtung zueinander mit Abstand parallel verlaufende Befestigungselemente sein, die in entsprechende Rastnute auf der Oberseite eines Blendrahmenprofils rastend eingreifen können. Ein Adapterprofil kann vorzugsweise zusätzlich verschraubt sein, z.B. durch Schrauben, die in das Blendrahmenprofil, vorzugsweise in dessen Verstärkungsprofil eingreifen.
  • Adapterprofile, die mit einem Blendrahmenprofil verbunden werden sollen, welches nicht als Kunststoffhohlprofil ausgebildet ist, kann z.B. auch unterseitig, also an der zum Blendrahmenprofil weisenden Seite plan ausgebildet sein und nur durch Verschraubung befestig werden. Dies ist z.B. der Fall, wenn das Blendrahmenprofil ein Holzprofil ist.
  • Die Erstreckungsrichtung ist bei allen in dieser Erfindungsbeschreibung genannten Profilen diejenige Richtung, in welcher die Profile mit gleichbleibendem Profilquerschnitt verlaufen, insbesondere ist es bei Kunststoffprofilen die Extrusionsrichtung bei der Herstellung der Profile. Alle weiteren Richtungsangaben beziehen sich auf die übliche Montageposition eines Fensters oder einer Tür. Vorzugsweise sind in dieser Erfindungsbeschreibung benannte Merkmale von Profilen oder erstreckten Elementen hinsichtlich ihrer Eigenschaften bei Betrachtung der jeweiligen Profile / Elemente im Querschnitt senkrecht zu deren Erstreckung beschrieben.
  • Ein unteres Wandelement eines Rollladenkastens ist erfindungsgemäß zweiteilig aufgebaut und umfasst ein Basiselement, welches mit dem Adapterprofil rastend verbindbar ist bzw. verbunden wird und ein Bodenelement, welches mit dem Basiselement verbunden ist oder zumindest verbindbar ist.
  • Die Verbindung erfolgt im Stand der Technik und auch bei der Erfindung dadurch, dass nach dem Aufsetzen des Aufsatzrollladenkastens auf das am oberen Blendrahmenprofil befestigte Adapterprofil in horizontaler Richtung, insbesondere in Richtung zur äußeren Umwelt geschoben wird, wodurch die Rastelemente vom Adapterprofil und vom Basiselement in Eingriff gelangen. Auf diese Weise kann eine werkzeuglose Montage eines Aufsatzrollladenkastens auf einem oberen Blendrahmenprofil eines Fensters oder einer Tür erfolgen.
  • Das Bodenelement weist vorzugsweise zum Basiselement und/oder zum Innenwandelement eine lösbare Verbindung auf. So kann das Bodenelement als eine untere Revisionsklappe, insbesondere das Innenwandelement als eine zum Rauminneren gerichtete Revisionsklappe genutzt werden.
  • Die Verwendung von Kunststoffhohlprofilen als Wandelemente zur Herstellung von Aufsatzrollladenkästen bietet viele Vorteile wie eine gute Wärmedämmung, hohe Luftdichtigkeit, leichte Verarbeitung und schnelle Montage am Einbauort.
  • Aus der EP 1 705 335 A2 ist ein Rollladenkasten bekannt, der aus Kunststoffhohlprofilen gebildet ist. Ein solcher Rollladenkasten ist leicht montierbar. Er ist durch ineinandergreifende Profile luftdicht auszubilden und kann mit zusätzlich eingesetzten Wärmedämmelementen gedämmt werden, um Kältebrücken im Bereich des Rollladenkastens zu vermeiden. Weiterhin können durch entsprechende Profilgestaltungen vielfältige Möglichkeiten vorgesehen werden, um Revisionsklappen an der Unterseite oder an der der Gebäudeinnenseite zugewandten Seite auszubilden.
  • Auch bei einem erfindungsgemäßen Rollladenkasten können vorzugsweise Wärmedämmelemente in üblicher Weise vorgesehen sein.
  • Zum Anschluss eines Rollladenkastens an die Gebäudedecke ist aus der EP 1 775 415 A2 ein spezielles Anschlussprofil bekannt, welches auf das Deckenelement des Rollladenkastens aufgerastet werden kann. Das Bodenelement wird mit dem Blendrahmen des Fensters verbunden, so dass die statische Verbindung zwischen dem oberen Abschnitt des Blendrahmens und der Decke über den Rollladenkasten erfolgt.
  • Bei kurzen Rollladenkästen ist die Steifigkeit der stirnseitig angebrachten Seitenwandelemente ausreichend, um beispielsweise Windlasten in die Decke abzuleiten. Bei breiteren Fenstern muss der Blendrahmen versteift werden.
  • Eine Aussteifung des Kunststoff-Blendrahmenprofils eines Fensters oder einer Tür wird üblicherweise durch eingelegte Verstärkungsprofile aus Metall, insbesondere aus Stahl, erreicht. Bei großen Fensterbreiten ist die innere Verstärkung jedoch nicht mehr ausreichend, um bei Windlasten eine größere Verformung des Blendrahmens zu verhindern. Auch können aufgrund der Materialeigenschaften des üblicherweise verwendeten PVC-Kunststoffs größere am Blendrahmen wirkende Kräfte nicht über den Rollladenkasten auf die Gebäudedecke übertragen werden.
  • Es sind vielmehr zusätzliche Statikkonsolen notwendig, um Kräfte vom Blendrahmen direkt in die Decke abzuleiten. Bekannt sind dazu metallische Bügel, welche an ihrem einen, insbesondere unteren Ende mit der Oberseite des Blendrahmens direkt oder mittelbar verbunden werden und welche mit ihrem anderen, insbesondere oberen Ende an der Gebäudedecke befestigt werden. Der bügelförmige Bereich zwischen den Enden dient dazu, den aufgewickelten Rollladenpanzer zu umgreifen und die abzuleitenden Wind- und Soglasten umzulenken und in die Decke einzuleiten.
  • Ein erfindungsgemäßer Aufsatzrollladenkasten umfasst wenigstens eine solche Statikkonsole und die erfindungsgemäße Befestigungsvorrichtung ist zum Einsatz mit solchen Aufsatzrollladenkästen vorgesehen.
  • Die Statikkonsole ist ein Versteifungselement und wird bei statischer Anforderung im Inneren des Rollladenkastens montiert. Diese ist so konzipiert, dass diese sich statisch durchgängig vom Blendrahmen des Fensters bis in den über dem Rollladenkasten verlaufenden Sturz oder die Decke erstreckt. Idealerweise, insbesondere erfindungsgemäß, ist die Statikkonsole bereits im Aufsatzrollladenkasten vormontiert und wird beim Aufbringen des Aufsatzrollladenkastens auf dem Fenster oder der Tür (Aufrasten durch horizontales Aufschieben des Rollladenkastens entsprechend dem Stand der Technik) mit dem Blendrahmenprofil des Fensters oder der Tür, vorzugsweise auch mit dem statischen Element des Fensters / der Tür (Stahlverstärkung) verbunden z.B. im Stand der Technik mittels einer Verschraubung verbunden.
  • Gemäß dem bisherigen Stand der Technik wird eine Statikkonsole nach dem Aufrasten des Aufsatzrollladenkastens vom Innern des Aufsatzrollladenkastens aus gesichert, insbesondere verschraubt. Um dies zu ermöglichen, muss die Revisionsblende, insbesondere das untere Bodenelement oder das zum Rauminneren weisende Innenwandelement des Aufsatzrollladenkastens entfernt und eine Verschraubung vorgenommen werden.
  • Der Nachteil bei der zusätzlichen Anordnung von Statikkonsolen besteht darin, dass die Statikkonsolen umständlich montierbar sind. Dies gilt weniger für die Deckenbefestigung, welche meist aus der Ebene des Blendrahmens versetzt näher zur Gebäudeinnenseite liegen, sodass die Befestigungsstellen bei abgenommenem Innenwandelement und Bodenelement leicht erreichbar sind. Dies gilt aber umso mehr für die Verbindung mit dem Blendrahmen, ggfs. auch dem darin liegenden metallischen Verstärkungsprofil, denn alle daran einzubringenden Verschraubungen erfordern das Arbeiten innerhalb des engen Aufsatzrollladenkastens. Die Montage üblicher Statikkonsolen erfordert daher eine hohe Anzahl von Arbeitsschritten und erhöhten Montageaufwand.
  • Aufgabe der vorliegenden Erfindung ist es somit, eine Befestigungsvorrichtung für einen Aufsatzrollladenkasten mit wenigstens einer innenliegenden Statikkonsole, einen Aufsatzrollladenkasten mit wenigstens einer innenliegenden Statikkonsole, ein Fenster oder eine Tür mit einem solchen Aufsatzrollladenkasten und ein Verfahren zur Montage eines solchen Aufsatzrollladenkastens zu schaffen, welche eine werkzeuglose und damit schnellere und einfachere Montage sowie auch Demontage ermöglicht.
  • Vorzugsweise soll erschlossen werden, dass ein Monteur im besten Fall einen Aufsatzrollladenkasten nach der Montage des Fensters oder der Tür inkl. Aufsatzrollladenkasten gar nicht mehr öffnen muss, um weitere Arbeiten wie eine Verschraubung der Statikkonsole etc. durchzuführen. Die Verschraubung der Statikkonsole mit einer Befestigungslasche soll vorzugsweise entfallen. Besonders bevorzugt wird ein Aufsatzrollladenkasten von außen mit der Decke verbunden und muss nach dessen Montage nicht mehr geöffnet werden.
  • Die Aufgabe wird bei einer Befestigungsvorrichtung der eingangsgenannten Art dadurch gelöst, dass auf dem Adapterprofil, insbesondere in einer oberseitigen Ausnehmung des Adapterprofils wenigstens ein Zusatzverstärkungsprofil, vorzugsweise ein metallisches Zusatzverstärkungsprofil angeordnet ist, wobei das wenigstens eine Zusatzverstärkungsprofil wenigstens einen vom Zusatzverstärkungsprofil nach oben wegerstreckten Befestigungszapfen aufweist, dessen freies Ende eine Verdickung aufweist. Die Verdickung ist somit vorzugsweise Bestandteil des Befestigungszapfens an dessen freien Ende, insbesondere somit mit dem Befestigungszapfen einstückig ausgebildet.
  • In Verbindung mit dem eingangs genannten Aufsatzrollladenkasten wird die Aufgabe dadurch gelöst, dass die wenigstens eine Statikkonsole eine auf dem Basiselement aufliegende Befestigungslasche aufweist, wobei die Befestigungslasche eine Befestigungsöffnung aufweist die in Überdeckung mit einer Durchstecköffnung im Basiselement angeordnet ist.
  • Insbesondere ist es so vorgesehen, dass ein Befestigungszapfen einer vorgenannten Befestigungsvorrichtung mit seiner Verdickung durch die Durchstecköffnung und die Befestigungsöffnung hindurchsteckbar ist und die vom Basiselement wegweisende Oberfläche der Befestigungslasche zumindest teilbereichsweise unter die Verdickung schiebbbar ist.
  • Die Aufgabe wird dementsprechend weiterhin gelöst durch ein Fenster oder eine Tür der eingangs genannten Art, bei dem /der der Aufsatzrollladenkasten gemäß der vorgenannten Lösung ausgebildet ist und mittels einer vorgenannten Befestigungsvorrichtung am Blendrahmenprofil befestigt ist, wobei das Basiselement am Adapterprofil verrastet ist und der wenigstens eine Befestigungszapfen mit seiner Verdickung durch die Durchstecköffnung im Basiselement und die Befestigungsöffnung in der Befestigungslasche der wenigstens einen Statikkonsole hindurchgesteckt ist und die vom Basiselement wegweisende Oberfläche der Befestigungslasche zumindest teilbereichsweise unter die Verdickung des wenigstens einen Befestigungszapfens geschoben ist.
  • Beim vorgenannten Verfahren wird die Aufgabe dadurch gelöst, dass auf das Adapterprofil ein vorzugsweise metallisches Zusatzverstärkungsprofil aufgelegt wird, insbesondere wenigstens ein Zusatzverstärkungsprofil in eine oberseitige Ausnehmung des Adapterprofils eingelegt wird, welches wenigstens einen vom Zusatzverstärkungsprofil nach oben wegerstreckten Befestigungszapfen mit einer Verdickung an dessen freien Ende aufweist, wobei der Aufsatzrollladenkasten in Schwerkraftrichtung auf den wenigstens einen Befestigungszapfen aufgesetzt wird, wobei dessen Verdickung eine Durchstecköffnung im Basiselement und eine Befestigungsöffnung in der Lasche der wenigstens einen Statikkonsole durchdringt, und der Aufsatzrollladenkasten verschoben wird und hierdurch das Basiselement am Adapterprofil verrastet, und bei der Verschiebung die vom Basiselement wegweisende Oberfläche der Befestigungslasche zumindest teilbereichsweise unter die Verdickung des wenigstens einen Befestigungszapfens geschoben wird.
  • Die Erfindung realisiert somit, dass die wenigstens eine Statikkonsole im Inneren des Aufsatzrollladenkasten bereits durch das Verschieben des Aufsatzrollladenkastens eine Verbindung zum Blendrahmenprofil eingeht, weil sich die Befestigungslasche der Statikkonsole bereichsweise unter die Verdickung des Befestigungszapfens schiebt und hierdurch in Richtung der Zapfenerstreckung, insbesondere in vertikaler Richtung fixiert wird. Das der Befestigungszapfen über das Zusatzverstärkungsprofil mit dem Adapterprofil und dem Blendrahmenprofil, insbesondere auch mit einem Verstärkungsprofil verbunden ist, ergibt sich so eine vorzugsweise formschließende und/oder kraftschließende Verbindung zwischen der wenigstens einen Statikkonsole und dem Blendrahmenprofil.
  • Vorzugsweise ist hierfür das auf das Adapterprofil aufgelegt, vorzugsweise darin eingelegte Zusatzverstärkungsprofil selbst auch, z.B. mittels Schrauben mit dem Blendrahmenprofil und/oder dem darin einliegenden metallischen Verstärkungsprofil verbunden.
  • Die Erfindung kann vorsehen, dass in einem über die Fensterbreite / Türbreite durchgängigen Adapterprofil ein einziges, vorzugsweise metallisches Zusatzverstärkungsprofil einliegt, welches eine Anzahl von Befestigungszapfen trägt, welche der Anzahl von Statikkonsolen im Inneren des Aufsatzrollladenkastens entspricht.
  • Die Erfindung kann alternativ auch vorsehen, dass eine Anzahl von Zusatzverstärkungselementen mit jeweils einem Befestigungszapfen eingesetzt wird, die der Anzahl von Statikkonsolen im Inneren des Aufsatzrollladenkastens entspricht.
  • Die Positionen der Befestigungszapfen auf dem Zusatzverstärkungsprofil / den Zusatzverstärkungsprofilen korrespondieren dabei zu den Positionen der Befestigungsöffnungen in den Befestigungslaschen der Statikkonsolen.
  • Die Erfindung sieht es dabei vorzugsweise vor, dass der wenigstens eine Befestigungszapfen direkt auf dem Zusatzverstärkungsprofil angeordnet ist oder auf einer Montageplatte angeordnet ist, die an dem Zusatzverstärkungsprofil befestigt ist, z.B. durch Verschraubung oder Verschweißung. Die Ausführung mit der Montageplatte hat den Vorteil, dass das Zusatzverstärkungsprofil gefertigt werden kann und anschließend an der wenigstens einen benötigten Position der wenigstens eine Befestigungszapfen mittels einer diesen tragenden Montageplatte angebracht wird.
  • Vorzugsweise ist es weiterhin vorgesehen, dass das wenigstens eine Zusatzverstärkungsprofil, vorzugsweise die Ausnehmung im Adapterprofil mit dem wenigstens einen darin einliegenden Zusatzverstärkungsprofil, durch das Basiselement des Aufsatzrollladenkastens nach dessen Montage überdeckt ist. Hierdurch ergibt es sich, dass das Zusatzverstärkungsprofil, ggfs. mit Montageplatte(n) in einem Hohlraum angeordnet ist, der zwischen der Adapterplatte und dem diese überdeckenden Basiselement gebildet ist.
  • In weiterhin bevorzugter Ausführung ist die Verdickung des freien Endes in einer von dem Zusatzverstärkungsprofil wegweisenden Richtung verjüngend ausgebildet. So wird das Aussetzen des Aufsatzrollladenkasten auf den Zapfen erleichtert. Die Verjüngung kann vorzugsweise dadurch ausgebildet sein, dass die Verdickung zumindest abschnittsweise kegelstumpfförmig oder pilzkopfförmig ausgebildet ist. Weiter bevorzugt ist betrachtet in einem Querschnitt senkrecht zur Erstreckungsrichtung des Befestigungszapfens die Verdickung kreisförmig ausgebildet, vorzugsweise über die gesamte axiale Erstreckung des Zapfens an dessen freien Ende, wo die Verdickung vorliegt, bevorzugt wobei der Kreisquerschnitt der Verdickung zur Erzielung der Verjüngung in Richtung zur Spitze des freien Endes abnimmt.
  • Weiterhin ist es vorzugsweise vorgesehen, dass die Verdickung des freien Endes eine der Oberfläche des Zusatzverstärkungsprofils und/oder der Montageplatte gegenüberliegende plane Unterfläche aufweist. Diese plane Unterfläche liegt vorzugsweise in einer Ebene, die senkrecht zur Erstreckungsrichtung des Befestigungszapfens orientiert ist. Insbesondere liegt die Verdickung somit vollständig auf der zum freien Ende weisenden Seite der vorgenannten Ebene, vorzugsweise startet die Verdickung in dieser Ebene mit ihrer planen Unterfläche und erstreckt sich von dort aus in verjüngender Weise in Richtung zur Spitze des freien Endes. So kann die vorzugsweise ebenso plan ausgebildete Befestigungslasche zwischen der planen Unterfläche der Verdickung und der vorzugsweise planen Oberfläche des Basiselements eingeschlossen werden, insbesondere formschlüssig, vorzugsweise so dass keine Bewegung der Befestigungslasche in axialer Erstreckungsrichtung des Befestigungszapfens, insbesondere also in vertikaler Richtung möglich ist.
  • Bevorzugt ist es weiterhin vorgesehen, dass die Befestigungsöffnung einen ersten Teilöffnungsbereich und einen zweiten Teilöffnungsbereich aufweist, der in den ersten Teilöffnungsbereich einmündet, vorzugsweise wobei der zweite Teilöffnungsbereich formverschieden ist zum ersten Teilöffnungsbereich, insbesondere einen kleineren Öffnungsquerschnitt aufweist, als der erste Teilöffnungsbereich.
  • Der zweite Teilöffnungsbereich mündet vorzugsweise in einer Richtung in den ersten Teilöffnungsbereich, die der Verschieberichtung entspricht, in der der Aufsatzrollladenkasten verschoben werden muss, um die Verrastung zwischen Basiselement und Adapterprofil zu bewirken.
  • Hierdurch wird erzielt, dass die Verdickung eines Befestigungszapfens in einer Richtung senkrecht zur Befestigungslaschenoberfläche durch den ersten Teilöffnungsbereich hindurchführbar ist, nicht jedoch durch den zweiten Teilöffnungsbereich. Der Öffnungsquerschnitt des zweiten Teilöffnungsbereiches (zumindest betrachtet senkrecht zur Verschieberichtung) ist kleiner als der maximale Querschnitt der Verdickung, aber größer, insbesondere betrachtet in einer Breite senkrecht zur einer Verschieberichtung um die Verrastung zu bewirken, als der Querschnitt des Schaftes des Befestigungszapfens unter der Verdickung. So kann durch eine die Verrastung bewirkende Verschiebung der in der Befestigungslasche gebildete Rand des zweiten Teilöffnungsbereiches unter die Verdickung heruntergeschoben werden.
  • Der erste Teilöffnungsbereich ist vorzugsweise kreisförmig und der zweite Teilöffnungsbereich als Langloch ausgebildet, das in der vorgenannten Verschieberichtung erstreckt ist. Die Befestigungsöffnung weist vorzugsweise hierdurch eine schlüssellochartige Form auf. Vorzugsweise ist die Verdickung im Querschnitt senkrecht zur Schaftachse / Mittelachse des Befestigungszapfens ebenso kreisförmig mit einem maximalen Durchmesser der kleiner ist als der erste Teilöffnungsbereich und insbesondere größer als der zweite Teilöffnungsbereich.
  • Eine bevorzugte Ausführung sieht weiterhin vor, dass die Befestigungslasche der Statikkonsole eine zum Innenwandelement weisende und zu diesem parallel verlaufende Anschlagkante aufweist, die an einem zum Innenwandelement parallel verlaufenden Anschlag des Basiselements kontaktierend anliegt.
  • Vorzugsweise wird so sichergestellt, dass mit einer Schiebebewegung des Aufsatzrollladenkastens die Befestigungslasche vor dem Anschlag ortsfest relativ zum Basiselement bleibt und zusammen mit diesem geschoben wird, so dass sich der um den zweiten Teilöffnungsbereich liegende Rand der Befestigungslasche unter die Verdickung des Befestigungszapfens bewegt, insbesondere hiernach den Schaft des Befestigungszapfens zumindest bereichsweise umgibt.
  • Der Anschlag ist vorzugsweise ein Vorsprung auf der in das Innere des Aufsatzrollladenkastens weisenden Oberfläche des Basiselements, der in der Richtung der Erstreckungsrichtung des Basiselements verläuft, insbesondere die der Extrusionsrichtung des Basiselements entspricht.
  • Eine bevorzugte Weiterbildung sieht es vor, dass die Befestigungslasche eine zur Anschlagkante senkrecht verlaufende Kante aufweist, wobei diese beiden Kanten mit einem Verbindungsbereich, insbesondere einem kreisbogenförmigen Verbindungsbereich ineinander übergehen, insbesondere dessen Abstand zur Mittelachse des Befestigungszapfens im verrasteten Zustand des Aufsatzrollladenkastens kleiner ist als der Abstand zwischen der Befestigungszapfenmittelachse und der Anschlagkante.
  • Insbesondere ermöglicht es die Erfindung dadurch, dass eine Statikkonsole nachträglich aus einem Aufsatzrollladenkasten entfernt werden kann, z.B. wenn Zugang zum Rollladenpanzer benötigt wird. Hierfür wird die Statikkonsole, ggfs. nach vorherigem Lösen vom Deckenelement, um den Befestigungszapfen herumgedreht, wonach die Statikkonsole verschoben werden kann, um diese von der Verdickung des Befestigungszapfens zu lösen.
  • Die erfindungsgemäßen Vorteile liegen in der besonderen Ausführung des Befestigungszapfens, der an seinem freien oberen Ende eine Verdickung aufweist, sodass dieser die Statikkonsole nach dem Aufrasten des Aufsatzrollladenkastens auf dem Fenster oder der Tür selbsttätig verriegelt. Die Statikkonsole weist hierfür eine auf den Befestigungszapfen abgestimmte sich verjüngende Befestigungsöffnung auf. Durch diesen Verriegelungsmechanismus ist ein zusätzliches Sichern sowie ein dadurch bedingtes Öffnen der Revisionsblende des Aufsatzrollladenkastens nicht mehr notwendig.
  • Insgesamt wird mit dieser Neuerung die Montage eines Aufsatzrollladenkastens optimiert und die Montagegeschwindigkeit erhöht. Die Demontage der Statikkonsole ist ebenfalls werkzeuglos möglich. Hierfür wird nach dem Öffnen der Revisionsblende und Entfernen der Dämmung die Statikkonsole durch seitlich Herausschwenken demontiert.
  • Die Erfindung wird nachfolgend mit Bezug auf die Zeichnungen näher erläutert.
  • Die Figuren zeigen im Einzelnen:
  • Fig. 1
    zeigt eine Befestigungsvorrichtung mit Statikkonsole und Blendrahmenprofil in perspektivischer Ansicht.
    Fig. 1a
    zeigt eine Ausschnittvergrößerung von Figur 1.
    Fig. 2
    zeigt einen Aufsatzrollladenkasten mit einer Statikkonsole in perspektivischer Ansicht nach dem Aufsetzen vor der Verrastung.
    Fig. 2a
    zeigt eine Detailansicht der Figur 2
    Fig. 3
    zeigt eine Statikkonsole beim Aufsetzen auf die Befestigungsvorrichtung Sicherungsvorrichtung in perspektivischer Ansicht, wobei die Statikkonsole freigestellt dargestellt wird
    Fig. 3a
    zeigt eine Statikkonsole nach Aufsetzen auf die Befestigungsvorrichtung in der Aufsicht.
    Fig. 4
    zeigt eine Statikkonsole im aufgesetzten Zustand des A Aufsatzrollladenkasten nach der Durchführung der Schiebebewegung zum Verrasten in perspektivischer Ansicht.
    Fig. 4a
    zeigt eine Statikkonsole im verschobenen Zustand in der Aufsicht.
    Fig. 5
    zeigt die Demontage der Statikkonsole.
  • Figur 1 zeigt aus Gründen der besseren Übersichtlichkeit nur das obere Blendrahmenprofil 30 und die Statikkonsole 10 sowie die erfindungsgemäße Befestigungsvorrichtung 100 aus dem Adapterprofil 32 mit dem Zusatzverstärkungsprofil 34 und dem an einer Montageplatte 101 angeordneten Befestigungszapfen 102 mit der Verdickung 103 am oberen freien Ende des Befestigungszapfens 102.
  • Die Befestigungsvorrichtung 100 ermöglicht die Verbindung der Statikkonsole 10 mit dem Blendrahmenprofil 30, und hierbei insbesondere mit dem metallischen Zusatzverstärkungsprofil 34 und vorzugsweise ergänzend auch mit dem im Blendrahmenprofil 30 einliegenden Verstärkungsprofil 31, welches innerhalb einer Hohlkammer des Blendrahmenprofils 30 angeordnet ist, insbesondere wenn das Zusatzverstärkungsprofil 34 mittels Schrauben mit dem Verstärkungsprofil 31 verbunden ist.
  • Die feste Verbindung mit dem Zusatzverstärkungsprofil 34 ist zwingend notwendig, während die Verbindung mit dem Verstärkungsprofil 31 ergänzend sein kann.
  • Bei der dargestellten Montagesituation ist ein Zusatzverstärkungsprofil 34 auf das Adapterprofil 32 aufgelegt, insbesondere in eine oberseitige Ausnehmung 32a des Adapterprofils 32 eingelegt. Die Ausnehmung 32a ist zwischen der umweltseitigen Aufnahme 32b und der raumseitigen, insbesondere rastend wirkenden Aufnahme 32c des Adapterprofils 32 ausgebildet, wie es Figur 1a im Detail besser zeigt. Das Zusatzverstärkungsprofil 34 besitzt im Querschnitt gesehen eine große Breite und damit ein hohes Flächenträgheitsmoment, das gegenüber Kräften die quer zum Blendrahmenprofil 30 wirken, wie insbesondere Windlasten, wirksam ist.
  • Vorzugsweise stellt das Adapterprofil 32 ein betrachtet senkrecht zur Erstreckungsrichtung gestuftes Profil dar mit einer unteren Stufenfläche, die in der Ausnehmung 32a liegt und einer oberen, insbesondere zur unteren zumindest im Wesentlichen parallelen Stufenfläche, die auf der raumseitigen Aufnahme 32c aufliegt. Es ist vorzugsweise vorgesehen, dass ein Basiselement 33 in die umweltseitige Aufnahme 32b insbesondere nicht rastend eingeschoben wird und in die raumseitige Aufnahme insbesondere verrastend eingeschoben wird. Die Situation ist im Detail in der Figur 2A dargestellt.
  • Die erfindungsgemäße Sicherungsvorrichtung 100 stellt eine einfach montierbare und hoch belastbare Verbindung, wie folgt dar: Auf dem im Adapterprofil 32 liegenden Zusatzverstärkungsprofil 34 wird die Montageplatte 101 mit dem Befestigungszapfen 102 befestigt, z.B. mit Befestigungsschrauben 105 fest montiert.
  • Figur 1 stellt ebenfalls die Statikkonsole 10 dar, an deren freien Ende, das zum Blendrahmenprofil 30 weist, eine Befestigungslasche 11 angeformt ist. Diese Befestigungslasche bildet eine plane Platte, die im montierten Zustand auf dem Basiselement 33, bzw. deren zum Innenraum des Aufsatzrollladenkastens weisenden planen Oberfläche aufliegt. Diese ist mit einer Befestigungsöffnung 12, insbesondere einer schlüssellochähnlichen Befestigungsöffnung 12 versehen, die einen ersten Teilöffnungsbereich 13 aufweist, mit einem größeren Querschnitt/Durchmesser und somit die Eintrittsöffnung 13 für die Verdickung 103 bildet und einen zweiten Teilöffnungsbereich 14, der durch einen kleinen Querschnitt / Durchmesser gekennzeichnet ist und eine Verriegelungsöffnung 14 bildet. Fig. 2 zeigt einen Aufsatzrollladenkasten 20, der ein zum Gebäudeäußeren / zur Umwelt hingewandtes Außenwandelement 21 sowie ein zum Gebäudeinneren gewandtes Innenwandelement 23 besitzt. Nach oben hin ist der Aufsatzrollladenkasten 20 durch ein Deckenelement 22 abgeschlossen, vorzugsweise das über ein Verbindungsprofil mit einer Gebäudedecke zu verbinden ist. Unten ist ein Bodenelement 24 vorgesehen, das alternativ oder zusätzlich zum Innenwandelement 23 als Revisionsöffnung benutzt werden kann. Die Seitenwandelemente, welche die Rollladenwelle tragen sind nicht gezeigt.
  • Auf einem Blendrahmenprofil 30 eines Fensters oder einer Tür ist das Adapterprofil 32 montiert. Es besitzt an der dem abgewickelten Rollladenpanzers (nicht dargestellt) zugewandten Seite eine Rundung, über welche der Rollladenpanzer abgleiten kann. Vorzugsweise ist hier auch eine Dichtung, insbesondere Bürstendichtung angeordnet. Weiterhin ist das Adapterprofil 32 rastend mit dem Basiselement 33 verbunden.
  • Ein zwischen dem Basiselement 33 und dem Zusatzverstärkungsprofil 34 gebildeter Hohlraum 35 dient der Aufnahme des Zusatzverstärkungsprofil 34 mit der Montageplatte 101 der Befestigungsvorrichtung 100 und dem Befestigungszapfen 102, über welche die Statikkonsole 10 mit dem Basiselement 33 und mittelbar darüber mit dem Blendrahmenprofil 30 verbunden ist. Die Statikkonsole 10 ist im dargestellten Ausführungsbeispiel zweiteilig ausgebildet mit einem Statikkonsolenelement mit unterer Befestigungslasche 11 und einer oberen Befestigungslasche 11', die dem Deckenanschluss dient.
  • Die Figur 3 zeigt eine Statikkonsole 10 beim Aufsetzen auf die Befestigungsvorrichtung 100 in perspektivischer Ansicht. Die Statikkonsole 10 ist frei vom Rollladenkasten 20 und ohne Kontakt zum Basiselement 33 dargestellt. Bei einer erfindungsgemäß durchgeführten Montage ist hingegen die Statikkonsole 10 im Inneren des Aufsatzrollladenkasten angeordnet und die untere Befestigungslasche 11 liegt lose auf dem Basiselement 33 auf. Dabei sind die Befestigungsöffnung 12 in der Befestigungslasche und eine Durchstecköffnung im Basiselement in Überdeckung angeordnet.
  • Die Figur 3a zeigt eine Statikkonsole 10 nach dem Aufsetzen auf die Befestigungsvorrichtung 100 in der Aufsicht. Die Verdickung 103 ist durch die Durchtrittsöffnung des Basiselementes 33 und durch den ersten Teilöffnungsbereich 13 der Befestigungsöffnung 12 hindurchgetreten. Vorzugsweise befindet sich die Verdickung 103 vollständig über der Befestigungslasche 11. Der Durchmesser / der Querschnitt des ersten Teilöffnungsbereichs 13 muss etwas größer bemessen sein, als der Durchmesser / Querschnitt der Verdickung 103, damit ein leichtes Aufsetzen gelingt. In der Aufsicht ist der zweite Teilöffnungsbereich 14 zu erkennen, der in den ersten Teilöffnungsbereich 13 einmündet. Dieser Teilöffnungsbereich ist vorzugsweise als Langloch ausgebildet, in welches der Befestigungszapfenschaft eindringen kann. Das Langloch, bzw. der zweite Teilöffnungsbereich 14 hat eine Länge, die mindestens oder genau dem Verschiebeweg entspricht, der zur Verrastung des Basiselements 33 am Adapterprofil 32 benötigt wird.
  • Die Figur 4 zeigt eine Statikkonsole 10 im verschobenen Zustand, nachdem der den zweiten Teilöffnungsbereich 14 umgebende Rand der Befestigungslasche 11 unter der Verdickung 103 liegt und der Rand den Schaft des Befestigungszapfens 102 zumindest teilweise umgibt. In diesem Zustand ist der Aufsatzrollladenkasten 20 nach vorne geschoben, insbesondere dies geschieht händisch. Der Aufsatzrollladenkasten 20 verrastet dabei mit seinem Basiselement 33 auf seiner Gesamtlänge mit der verrastend wirkenden Aufnahme des Adapterprofils 32 und gleichzeitig bewegt sich auf dem gleichen Rastweg der Befestigungszapfen 102 mit seinem Schaft von dem ersten Teilöffnungsbereich 13 der Befestigungsöffnung 12 in der Befestigungslache 11 der Statikkonsole 10 in den schmaleren zweiten Teilöffnungsbereich 14, wobei die Verdickung 103 über diesem zweiten Teilöffnungsbereich 14 zu liegen kommt. Die Abmessung des hier vorzugsweise als Langloch ausgeführten zweiten Teilöffnungsbereichs 14 kann den Verschiebeweg des Aufsatzrollladenkastens 20 begrenzen, aber auch größer sein.
  • Der Befestigungszapfen 102 wird gemäß der Dimensionierung in der Länge der Öffnung 14 vorzugsweise zwangsgeführt. Der Befestigungszapfen 102 tritt durch die Eintrittsöffnung 13 hindurch und vorzugsweise endet der händische Schubweg durch den Anschlag in dem zweiten Teilöffnungsbereich 14. Da der Durchmesser des Schaftes des Befestigungszapfens 102 in etwa der Breite des zweiten Teilöffnungsbereichs 14 betrachtet senkrecht zum Schubweg entspricht, ist ein seitlicher Verschub nicht möglich.
  • Die Statikkonsole 10 ist mit dem Blendrahmen 30 nach dem Verschieben verbunden und verriegelt.
  • Die Figur 4 zeigt weiterhin, dass die Befestigungslasche 11 eine Anschlagkante 11a aufweist, die an einem Anschlag 33a oben auf der Oberfläche des Basiselements 33 anliegt. Hierdurch wird die Befestigungslasche 11 beim Verschieben des Aufsatzrollladenkastens 20 zwangsweise mitverschoben, obwohl die Befestigungslasche 11 keine Fixierung am Basiselement 33 aufweist.
  • Figur 5 zeigt die Möglichkeit einer Demontage der Statikkonsole 11. Zur werkzeuglosen Demontage wird nach dem Öffnen der Revisionsblende, zum Beispiel des Bodenelements 24 und Entfernen der vorzugsweise vorhandenen Dämmung (nicht dargestellt), die Statikkonsole 10 durch Drehen um den Befestigungszapfen demontiert. Um dies zu ermöglichen ist der Verbindungsbereich 15 zwischen der Anschlagkante 11a und der dazu senkrecht orientierten Kante 11b so ausgebildet, dass dessen Abstand in jeder Position der Drehung zur Mittelachse des Befestigungszapfens kleiner ist als der Abstand der Anschlagkante 11a von der Mittelachse. Dies wird z.B. durch einen viertelkreisbogenförmigen Verlauf des Verbindungsbereichs 15 erzielt, vorzugsweise dessen Radius kleiner ist als der Abstand zwischen der Anschlagkante 11a und der Mittelachse des Befestigungszapfens 102. Durch eine Verschiebung nach der Verdrehung kann die Befestigungslasche 11 von dem Befestigungszapfen 102 entkoppelt werden.
  • Bezugszeichenliste
  • 100
    Befestigungsvorrichtung
    101
    Montageplatte
    102
    Befestigungszapfen
    103
    Verdickung
    105
    Befestigungsschrauben
    10
    Statikkonsole
    11
    Befestigungslasche
    11'
    Obere Befestigungslasche
    11a
    Anschlagkante
    11b
    zur Anschlagkante 11a senkrecht verlaufende Kante
    12
    Befestigungsöffnung
    13
    erster Teilöffnungsbereich
    14
    zweiter Teilöffnungsbereich
    15
    Verbindungsbereich zwischen den Kante 11a und 11b
    20
    Rollladenkasten
    21
    Außenwandelement
    22
    Deckenelement
    23
    Innenwandelement
    24
    Bodenelement
    26
    Rollladenpanzer
    30
    Blendrahmenprofil
    31
    Verstärkungsprofil
    32
    Adapterprofil
    32a
    Ausnehmung
    32b
    umweltseitige Aufnahme
    32c
    raumseitige Aufnahme, insbesondere mit Rastwirkung
    33
    Basiselement
    34
    Zusatzverstärkungsprofil
    35
    Hohlraum

Claims (11)

  1. Befestigungsvorrichtung (100) für die Befestigung eines in seinem Inneren wenigstens eine Statikkonsole (10) aufweisenden Aufsatzrollladenkastens (20) auf einem oberen Blendrahmenprofil (30) eines Fensters oder einer Tür, umfassend ein Adapterprofil (32), das an einem oberen Blendrahmenprofil (30) eines Fensters oder einer Tür befestigbar ist und an dem ein unteres Basiselement (33) eines Aufsatzrollladenkastens (20) durch Verrastung befestigbar ist, dadurch gekennzeichnet, dass auf dem Adapterprofil (32), insbesondere in einer oberseitigen Ausnehmung (32a) des Adapterprofils (32) wenigstens ein Zusatzverstärkungsprofil (34), vorzugsweise ein metallisches Zusatzverstärkungsprofil (34) angeordnet ist, wobei das wenigstens eine Zusatzverstärkungsprofil (34) wenigstens einen vom Zusatzverstärkungsprofil (34) nach oben wegerstreckten Befestigungszapfen (102) aufweist, dessen freies Ende eine Verdickung (103), insbesondere eine mit dem Befestigungszapfen (102) einstückige Verdickung (103), aufweist.
  2. Befestigungsvorrichtung nach Anspruch 1, dadurch gekennzeichnet, dass der wenigstens eine Befestigungszapfen (102) direkt auf dem Zusatzverstärkungsprofil (34) angeordnet ist oder auf einer Montageplatte (101) angeordnet ist, die an dem Zusatzverstärkungsprofil (34) befestigt ist.
  3. Befestigungsvorrichtung nach einem der vorherigen Ansprüche, dadurch gekennzeichnet, dass die Verdickung (103) des freien Endes in einer von dem Zusatzverstärkungsprofil (34) wegweisenden Richtung verjüngend ausgebildet ist, insbesondere zumindest abschnittsweise kegelstumpfförmig verjüngend ausgebildet ist.
  4. Befestigungsvorrichtung nach einem der vorherigen Ansprüche, dadurch gekennzeichnet, dass die Verdickung (103) des freien Endes eine der Oberfläche des Zusatzverstärkungsprofils (34) und/oder der Montageplatte (101) gegenüberliegende plane Unterfläche aufweist.
  5. Aufsatzrollladenkasten (20) umfassend ein Deckenelement (22), ein Bodenelement (24), ein Außenwandelement (21), ein Innenwandelement (23) und zwei sich gegenüberliegende Seitenwandelemente, an denen die Wickelwelle eines Rollladenpanzers (26) gelagert ist, wobei am Bodenelement (24) ein Basiselement (33) befestigt ist, mittels dem der Aufsatzrollladenkasten (20) an einem Adapterprofil (32) befestigbar ist und im Inneren wenigstens eine Statikkonsole (10) angeordnet ist, die sich vom Basisprofil (33) um den Rollladenpanzer herum bis zum Deckenelement (22) erstreckt, dadurch gekennzeichnet, dass die wenigstens eine Statikkonsole (10) eine auf dem Basiselement (33) aufliegende Befestigungslasche (11) aufweist, wobei die Befestigungslasche (11) eine Befestigungsöffnung (12) aufweist, die in Überdeckung mit einer Durchstecköffnung im Basiselement (33) angeordnet ist.
  6. Aufsatzrollladenkasten nach Anspruch 5, dadurch gekennzeichnet, dass die Befestigungsöffnung (12) einen ersten Teilöffnungsbereich (13) und einen zweiten Teilöffnungsbereich (14) aufweist, der in den ersten Teilöffnungsbereich (13) einmündet, insbesondere wobei der zweite Teilöffnungsbereich (14) einen kleineren Öffnungsquerschnitt aufweist als der erste Teilöffnungsbereich (13).
  7. Aufsatzrollladenkasten nach Anspruch 5 oder 6, dadurch gekennzeichnet, dass die Befestigungslasche (11) der Statikkonsole (10) eine zum Innenwandelement (23) weisende und zu diesem parallel verlaufende Anschlagkante (11a) aufweist, die an einem zum Innenwandelement (23) parallel verlaufenden Anschlag (33a) des Basiselements (33) kontaktierend anliegt.
  8. Aufsatzrollladenkasten nach Anspruch 7, dadurch gekennzeichnet, dass die Befestigungslasche (11) eine zur Anschlagkante (11a) senkrecht verlaufende Kante (11b) aufweist, wobei beide Kanten (11a, 11b) mit einem Verbindungsbereich (15), insbesondere einem kreisbogenförmigen Verbindungsbereich (15) ineinander übergehen, insbesondere dessen Abstand zur Mittelachse des Befestigungszapfens (102) im verrasteten Zustand des Aufsatzrollladenkastens (20) kleiner ist als der Abstand zwischen der Befestigungszapfenmittelachse und der Anschlagkante (11a).
  9. Fenster oder Tür mit einem Aufsatzrollladenkasten (20), der am oberen Blendrahmenprofil (30) des Fensters oder der Tür befestigt ist, dadurch gekennzeichnet, dass der Aufsatzrollladenkasten (20) nach einem der vorherige Ansprüche 5 bis 8 ausgebildet ist und mittels einer Befestigungsvorrichtung (100) nach einem der vorherigen Ansprüche 1 bis 4 am Blendrahmenprofil (30) befestigt ist, wobei das Basiselement (33) am Adapterprofil (32) verrastet ist und der wenigstens eine Befestigungszapfen (102) mit seiner Verdickung (103) durch die Durchstecköffnung im Basiselement (33) und die Befestigungsöffnung (12) in der Befestigungslasche (11) der wenigstens einen Statikkonsole (10) hindurchgesteckt ist und die vom Basiselement (33) wegweisende Oberfläche der Befestigungslasche (11) zumindest teilbereichsweise unter der Verdickung (103) des wenigstens einen Befestigungszapfens (102) angeordnet ist.
  10. Fenster oder Tür nach Anspruch 9, dadurch gekennzeichnet, dass das wenigstens eine Zusatzverstärkungsprofil (34), insbesondere eine Ausnehmung (32a) im Adapterprofil (32) mit dem wenigstens einen darin einliegenden Zusatzverstärkungsprofil (34), durch das Basiselement (33) des Aufsatzrollladenkastens (20) überdeckt ist.
  11. Verfahren zur Montage eines in seinem Inneren wenigstens eine Statikkonsole (10) aufweisenden Aufsatzrollladenkastens (10) an dem oberen Blendrahmenprofil (30) eines Fensters oder einer Tür, wobei am oberen Blendrahmenprofil (30) ein Adapterprofil (32) befestigt wird und der Aufsatzrollladenkasten (20) mit seinem Basiselement (33) am Adapterprofil (32), insbesondere rastend, befestigt wird, dadurch gekennzeichnet, dass
    a. auf das Adapterprofil (32) ein vorzugsweise metallisches Zusatzverstärkungsprofil (34) aufgelegt wird, insbesondere wenigstens ein Zusatzverstärkungsprofil (34) in eine oberseitige Ausnehmung des Adapterprofils (32) eingelegt wird, welches wenigstens einen vom Zusatzverstärkungsprofil (34) nach oben wegerstreckten Befestigungszapfen (102) mit einer Verdickung (103) an dessen freien Ende aufweist,
    b. der Aufsatzrollladenkasten (20) in Schwerkraftrichtung auf den wenigstens einen Befestigungszapfen (1029 aufgesetzt wird, wobei dessen Verdickung (103) eine Durchstecköffnung im Basiselement (33) und eine Befestigungsöffnung (12) in der Befestigungslasche (11) der wenigstens einen Statikkonsole (10) durchdringt, und
    c. der Aufsatzrollladenkasten (20) verschoben wird und hierdurch das Basiselement (33) am Adapterprofil (32) verrastet, und
    d. bei der Verschiebung die vom Basiselement (33) wegweisende Oberfläche der Befestigungslasche (11) zumindest teilbereichsweise unter die Verdickung (103) des wenigstens einen Befestigungszapfens (102) geschoben wird.
EP24214667.8A 2023-11-23 2024-11-22 Befestigungsvorrichtung für einen aufsatzrollladenkasten, aufsatzrollladenkasten sowie fenster / tür mit einem aufsatzrollladenkasten Pending EP4560106A1 (de)

Applications Claiming Priority (1)

Application Number Priority Date Filing Date Title
DE102023132684.8A DE102023132684A1 (de) 2023-11-23 2023-11-23 Befestigungsvorrichtung für einen Aufsatzrollladenkasten, Aufsatzrollladenkasten sowie Fenster / Tür mit einem Aufsatzrollladenkasten

Publications (1)

Publication Number Publication Date
EP4560106A1 true EP4560106A1 (de) 2025-05-28

Family

ID=93648364

Family Applications (1)

Application Number Title Priority Date Filing Date
EP24214667.8A Pending EP4560106A1 (de) 2023-11-23 2024-11-22 Befestigungsvorrichtung für einen aufsatzrollladenkasten, aufsatzrollladenkasten sowie fenster / tür mit einem aufsatzrollladenkasten

Country Status (2)

Country Link
EP (1) EP4560106A1 (de)
DE (1) DE102023132684A1 (de)

Citations (4)

* Cited by examiner, † Cited by third party
Publication number Priority date Publication date Assignee Title
EP1705335A2 (de) 2005-03-04 2006-09-27 Veka AG Rolladenkastenabdeckung
EP1775415A2 (de) 2005-10-13 2007-04-18 Veka AG Aufsatz-Rollladenkasten
DE202012103629U1 (de) * 2012-09-21 2013-09-24 Veka Ag Befestigungsvorrichtung für ein Aussteifungselement eines Rollladenkastens
DE202016107136U1 (de) * 2016-12-19 2018-03-21 Veka Ag Basisprofil zur Aussteifung eines Aluminium-Kunststoff-Verbundblendrahmens und zur Verbindung mit einer Statikkonsole eines Rollladenkastens

Family Cites Families (4)

* Cited by examiner, † Cited by third party
Publication number Priority date Publication date Assignee Title
US4497093A (en) * 1982-12-27 1985-02-05 Haberkorn Jerome R Two-part fastener
DE202013101783U1 (de) * 2013-04-24 2013-07-19 Veka Ag Wärmegedämmtes Aussteifungselement für einen Rollladenkasten und Rolladenkasten
DE202014101111U1 (de) * 2013-11-20 2015-02-23 Exte-Extrudertechnik Gmbh Rollladenkasten
AT519388B1 (de) * 2016-11-17 2018-08-15 Hella Sonnen Und Wetterschutztechnik Gmbh Montagevorrichtung für einen auf einem Fensterrahmen anordenbaren Rollladenkasten

Patent Citations (4)

* Cited by examiner, † Cited by third party
Publication number Priority date Publication date Assignee Title
EP1705335A2 (de) 2005-03-04 2006-09-27 Veka AG Rolladenkastenabdeckung
EP1775415A2 (de) 2005-10-13 2007-04-18 Veka AG Aufsatz-Rollladenkasten
DE202012103629U1 (de) * 2012-09-21 2013-09-24 Veka Ag Befestigungsvorrichtung für ein Aussteifungselement eines Rollladenkastens
DE202016107136U1 (de) * 2016-12-19 2018-03-21 Veka Ag Basisprofil zur Aussteifung eines Aluminium-Kunststoff-Verbundblendrahmens und zur Verbindung mit einer Statikkonsole eines Rollladenkastens

Also Published As

Publication number Publication date
DE102023132684A1 (de) 2025-05-28

Similar Documents

Publication Publication Date Title
EP0230999B1 (de) Deckengliedertor für niedrige Sturzhöhen
AT397979B (de) Rolladen
EP4473182B1 (de) Profilanordnung eines fensters oder einer tür mit einem flügelprofil, insbesondere einem schiebeflügelprofil
EP2749726B1 (de) Befestigungsvorrichtung für ein Aussteifungselement eines Rollladenkastens
EP4276268B1 (de) Sektionaltor
EP0947654A1 (de) Verschwindscharnier
DE19744832C2 (de) Anordnung für den Einbau eines Fensterrahmens
EP4560106A1 (de) Befestigungsvorrichtung für einen aufsatzrollladenkasten, aufsatzrollladenkasten sowie fenster / tür mit einem aufsatzrollladenkasten
EP4446557B1 (de) Aufsatzrollladenkasten sowie bodenbrett und bodenbrett-montageprofil hierfür
EP2788210B1 (de) Trägerbauteil für einen kraftfahrzeug-fensterheber mit versteifungsstruktur
EP1001124A1 (de) Scharnierbeschlag für Fensterladen
DE29903324U1 (de) Rahmen eines Fensters, einer Klappe oder einer Tür an Wohnwagen, Wohnmobilen oder sonstigen Fahrzeugen
DE19959736A1 (de) Rolladen-Aufsatzkasten
DE9101597U1 (de) Scharnier
DE19834700A1 (de) Vorrichtung zum Verschließen einer Wandöffnung
EP3115541B1 (de) Statikkonsole für einen rollladenkasten
EP4198248B1 (de) Bordstück eines rollladenkastens
EP2924227B1 (de) Mittellagereinheit für wenigstens eine in einem rollladenkasten gelagerte rollladenwelle
EP3626927A1 (de) Verbundprofil für fenster und/oder türen
EP2182157B1 (de) Blende für einen Spalt zwischen einer Tür- oder Torzarge und Laibung
DE10108697C2 (de) Flügeleinrichtung mit Gelenkeinrichtung in einem Randprofil des Flügels
DE19651068C1 (de) Gliedertor
EP3656955B1 (de) Schliessteil
EP3441557B1 (de) Torvorrichtung mit einer türvorrichtung
EP4632187A1 (de) Tür oder fenster mit einer verstelleinrichtung zum andrücken einer flügelecke und / oder zum anheben eines flügels

Legal Events

Date Code Title Description
PUAI Public reference made under article 153(3) epc to a published international application that has entered the european phase

Free format text: ORIGINAL CODE: 0009012

STAA Information on the status of an ep patent application or granted ep patent

Free format text: STATUS: THE APPLICATION HAS BEEN PUBLISHED

AK Designated contracting states

Kind code of ref document: A1

Designated state(s): AL AT BE BG CH CY CZ DE DK EE ES FI FR GB GR HR HU IE IS IT LI LT LU LV MC ME MK MT NL NO PL PT RO RS SE SI SK SM TR

STAA Information on the status of an ep patent application or granted ep patent

Free format text: STATUS: REQUEST FOR EXAMINATION WAS MADE