EP1197322A2 - Walzenanordnung, insbesondere Riffelwalzenanordnung - Google Patents

Walzenanordnung, insbesondere Riffelwalzenanordnung Download PDF

Info

Publication number
EP1197322A2
EP1197322A2 EP01124048A EP01124048A EP1197322A2 EP 1197322 A2 EP1197322 A2 EP 1197322A2 EP 01124048 A EP01124048 A EP 01124048A EP 01124048 A EP01124048 A EP 01124048A EP 1197322 A2 EP1197322 A2 EP 1197322A2
Authority
EP
European Patent Office
Prior art keywords
roller
profiling
arrangement according
roller arrangement
der
Prior art date
Legal status (The legal status is an assumption and is not a legal conclusion. Google has not performed a legal analysis and makes no representation as to the accuracy of the status listed.)
Withdrawn
Application number
EP01124048A
Other languages
English (en)
French (fr)
Other versions
EP1197322A3 (de
Inventor
Bernardo Friese
Current Assignee (The listed assignees may be inaccurate. Google has not performed a legal analysis and makes no representation or warranty as to the accuracy of the list.)
Friese & Cokg GmbH
Original Assignee
Friese & Cokg GmbH
Priority date (The priority date is an assumption and is not a legal conclusion. Google has not performed a legal analysis and makes no representation as to the accuracy of the date listed.)
Filing date
Publication date
Application filed by Friese & Cokg GmbH filed Critical Friese & Cokg GmbH
Publication of EP1197322A2 publication Critical patent/EP1197322A2/de
Publication of EP1197322A3 publication Critical patent/EP1197322A3/de
Withdrawn legal-status Critical Current

Links

Images

Classifications

    • BPERFORMING OPERATIONS; TRANSPORTING
    • B31MAKING ARTICLES OF PAPER, CARDBOARD OR MATERIAL WORKED IN A MANNER ANALOGOUS TO PAPER; WORKING PAPER, CARDBOARD OR MATERIAL WORKED IN A MANNER ANALOGOUS TO PAPER
    • B31FMECHANICAL WORKING OR DEFORMATION OF PAPER, CARDBOARD OR MATERIAL WORKED IN A MANNER ANALOGOUS TO PAPER
    • B31F1/00Mechanical deformation without removing material, e.g. in combination with laminating
    • B31F1/20Corrugating; Corrugating combined with laminating to other layers
    • B31F1/24Making webs in which the channel of each corrugation is transverse to the web feed
    • B31F1/26Making webs in which the channel of each corrugation is transverse to the web feed by interengaging toothed cylinders cylinder constructions
    • B31F1/28Making webs in which the channel of each corrugation is transverse to the web feed by interengaging toothed cylinders cylinder constructions combined with uniting the corrugated webs to flat webs ; Making double-faced corrugated cardboard
    • B31F1/2845Details, e.g. provisions for drying, moistening, pressing
    • B31F1/2863Corrugating cylinders; Supporting or positioning means therefor; Drives therefor
    • BPERFORMING OPERATIONS; TRANSPORTING
    • B21MECHANICAL METAL-WORKING WITHOUT ESSENTIALLY REMOVING MATERIAL; PUNCHING METAL
    • B21BROLLING OF METAL
    • B21B27/00Rolls, roll alloys or roll fabrication; Lubricating, cooling or heating rolls while in use
    • B21B27/005Rolls with a roughened or textured surface; Methods for making same
    • BPERFORMING OPERATIONS; TRANSPORTING
    • B21MECHANICAL METAL-WORKING WITHOUT ESSENTIALLY REMOVING MATERIAL; PUNCHING METAL
    • B21BROLLING OF METAL
    • B21B27/00Rolls, roll alloys or roll fabrication; Lubricating, cooling or heating rolls while in use
    • B21B27/02Shape or construction of rolls

Definitions

  • the present invention relates to a roller arrangement, in particular a corrugating roller arrangement for corrugating a Material web, for example made of paper or cardboard.
  • Corrugated rollers provided with corrugated profiling are used to a material web made of paper or cardboard, for example permanently deformable and corrugated.
  • the interacting corrugated rollers are used very high pressures. That's why it happens especially for corrugated rollers with long profiled roller bodies, which are each rotatably supported at their roller ends are to a deflection, so that the pressure in the area the interacting profile sections of the two corrugated rollers become uneven over the length of the corrugated rollers can.
  • a corrugated roller has the disadvantage that that of the roller inherent crowning only on a very specific one the crowning coordinated contact pressure for one over the Roll length ensures even contact pressure. Will the contact pressure enlarged or reduced, the crowning leads to an uneven pressure distribution over the Roll length and thus unsatisfactory work results, with the result that either the material web to be processed in the external pressurized Edge areas of the corrugated roller is destroyed or that it is in the edge areas is only insufficiently deformed.
  • Web width of the material web to be processed Another factor affecting the work result when used of such a roller arrangement is determined Web width of the material web to be processed. So is with wider material webs, i.e. with greater utilization of the Length of the profiled roller section, usually one greater contact pressure is required than with a smaller one Material web width and thus less utilization of the Length of the profiled corrugated roller. For example, you choose with a small web width of the material web to be processed too high contact pressure, this can on the one hand lead to Destruction of the material web in its outer areas and on the other hand result in the marginal areas the rollers, which are not covered by the material web will touch each other.
  • a roller arrangement in particular Corrugating roller arrangement for corrugating a material web, for example made of paper or cardboard, this roller arrangement executed with at least one around a first axis of rotation rotatably mounted first roller with a profiled Surface, at least one mounted around a second axis of rotation second roller with a surface, which with a complementary profiling corresponding to the profiling of the first roller is provided, pressing means for Pressing the first roller and / or the second roller onto one another to, wherein in at least one axial edge region first or / and the second roller rolling on each other during operation Slings are provided, through which a Minimum distance between the profiled Surface of the first roller and the one with the complementary profiling provided surface of the second roller is.
  • Slings can thus be prevented from the two interacting rollers when adjusting the contact pressure be brought into a relative position to each other, in which is an "interference" of the rollers at least in their Edge area occurs, which occurs during operation, i.e. with rotating, intermeshing rollers, a mutual contact and destruction of the surface of the corrugated rollers in would result in this edge area.
  • slings directly to the Rollers ensure that they are sufficiently large Distance between the profiled surface and that with the Complementary profiling provided surface of the rollers is guaranteed so that damage to the machined Material web can be prevented.
  • a simple embodiment of the roller arrangement according to the invention arises, for example, when the slings on an adjacent one with the profiling or Complementary profiling provided trained surface unprofiled roller section are formed.
  • the End sections can be from trunnions or from roller sections be formed, which has an outer diameter have, which is smaller than the maximum outer diameter of the profiled roller sections and larger than the outer diameter the bearing journal is.
  • the non-profiled roller section has a smaller outside diameter than the outside diameter one that is profiled or with complementary profiling provided surface of the first or second roller enveloping circle in cross-section. This allows an undesirable interaction between slings and profiled or with complementary profiling Prevent the surface of one of the rollers.
  • the sling means at least one on a roller of first roller or second roller arranged stop ring include, which over its outer peripheral surface with a corresponding contact surface on the other roller of first roller or second roller in mutual contact stands or can be brought into mutual investment, so that the Stop ring with rotating rollers on a corresponding one Stop ring of the other roller or directly rolls on the other roller.
  • the corresponding contact surface on the each other roll of first and second roll of one Outer peripheral surface of one of the other roller from the first and second roller arranged further stop ring is formed.
  • a sufficiently good and even pressure distribution over the entire roller length between the profiled surface the first roller and the one with complementary profiling provided surface of the second roller to ensure can be further provided according to the invention that in axial direction on both sides of the with profiling or counter-profiling provided surface of the first roller or / and the second roller slings are provided.
  • the respective stop ring with the associated one Roll can be provided that this integrally the roller is formed.
  • the stop ring is attached separately to the roller is, preferably by screwing or welding. The separate attachment of the stop ring on the Roller finds existing ones especially when retrofitting Roller arrangement application.
  • the profiling of the respective rollers can be designed as desired his. Such roller arrangements are preferred used in corrugated cardboard manufacture where there is corrugation the material web to be processed is to be reached. Therefore can be provided according to the invention that the profiling or / and the complementary profiling of a corrugation is formed. For sufficiently good work results in particular when processing the material web when the rolls are designed as corrugated rolls one Corrugated cardboard machine, be provided that the minimum distance between the profiled surface of the first roller and the one with the complementary profile Surface of the second roller is smaller than that Thickness of the material web to be processed.
  • the minimum distance between the two surfaces ensures that the material web is pinched between the rollers, which results in a sufficiently good deformation, in particular Corrugation that results in the material web to be processed.
  • Material web thicknesses can also be provided according to the invention be the minimum distance in the range of 0.01 mm to 0.30 mm, preferably in the range from 0.02 mm to 0.20 mm, most preferably in the range of 0.03 mm to 0.10 mm lies.
  • the first or / and the second roller at least in its profiled surface area with a coating, preferably made of tungsten carbide or made of chrome.
  • the invention further relates to a method for retrofitting a roller assembly with slings, comprising the Step attaching the sling, especially with the Lifting device features of the type described above at least one roller of the roller arrangement such that the Sling a minimum distance between a surface the first roller and a surface of the second roller determine.
  • the invention further relates to a material processing machine, especially corrugated cardboard machine equipped with a Roller arrangement of the type described above.
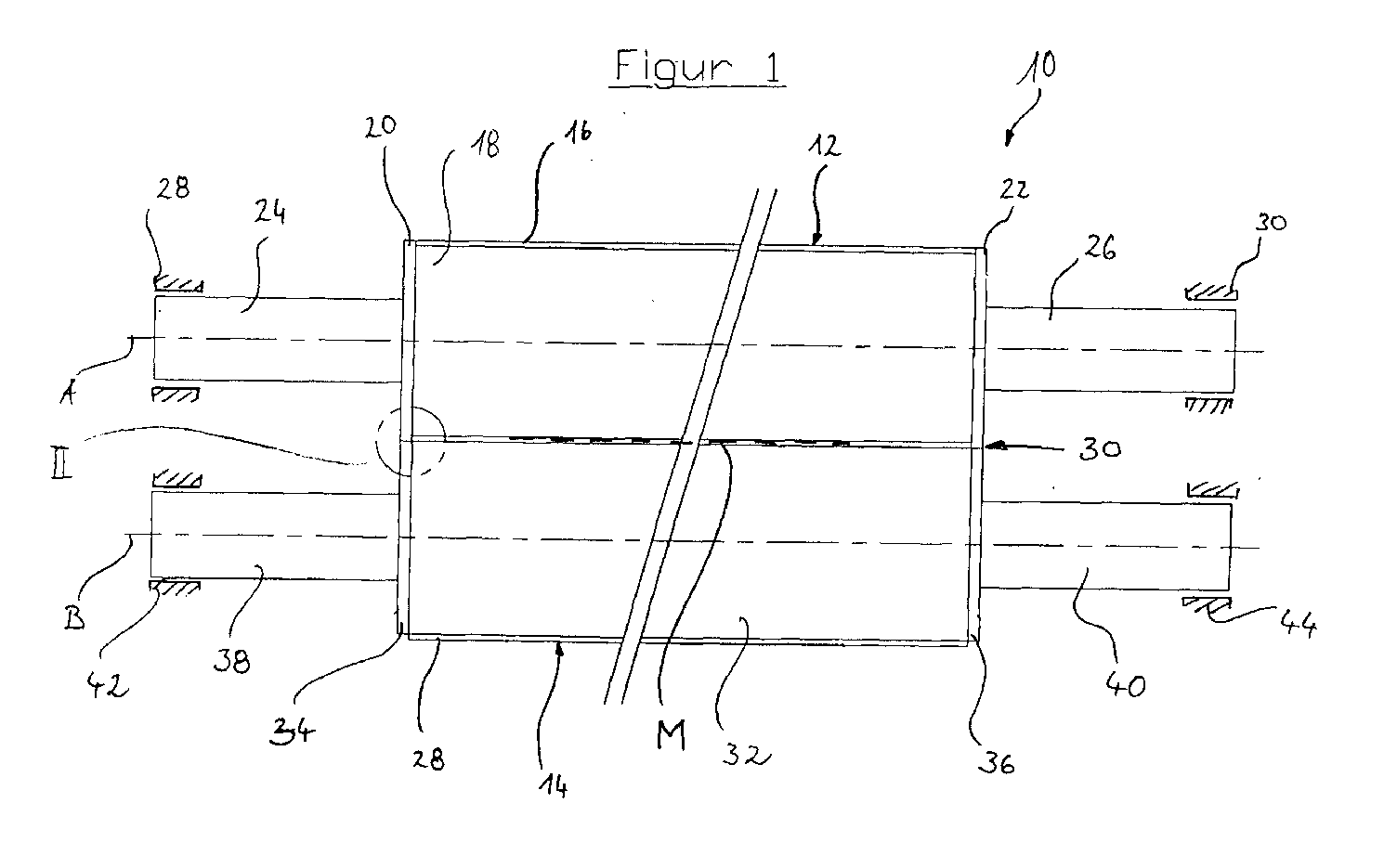
  • FIG. 1 is a corrugated roller arrangement according to the invention generally designated 10.
  • the corrugating roller arrangement 10 comprises a first corrugating roller 12 and a second corrugating roller 14.
  • the first corrugating roller comprises one with one Surface profiling 16, which is in the form of a corrugation is formed, provided roller body 18.
  • a stop ring 20, 22 At both ends of the roller body 18 is a stop ring 20, 22 in arranged in the immediate vicinity.
  • the first corrugated roller comprises 12 journals 24, 26, which in corresponding bearing arrangements 28, 30 for rotatable mounting of the first corrugating roller 12 about its axis of rotation A are included.
  • the second corrugating roller 14 a complementary surface profile 28, which in an effective area 30 with the surface profiling 16 of the first corrugating roller 12 cooperates and which is formed on a roller body 32.
  • both sides of the roller body 32 are acting as stop rings 34, 36 Flanges formed, each in pairs with the stop rings 20 and 22 cooperate on the corrugating roller 12, i.e. roll with the rollers 12 and 14 rotating.
  • the flanges acting as stop rings 34, 36 can for example by flattening, grinding or turning the complementary surface profiling 28 are produced. However, they can also be considered to be adjacent to the Complementary surface profiling 28 on the second corrugating roller 14 attached stop rings can be formed.
  • the second corrugated roller 14 is also with journal 38, 40th provided, which in corresponding bearing arrangements 42, 44 for the rotatable mounting of the second corrugating roller 14 around it Axis of rotation B are included.
  • the stop ring 20 is with a small axial distance x to the roller body 18 arranged, this axial distance x by attaching an undercut can be made.
  • the two corresponding ones Stop rings 20 and 34 on the first corrugated roller 12 and 34 on the second corrugating roller 14 lie above their contact surfaces 42 (on the stop ring 20) and 44 (on the stop ring 34) to each other.
  • the diameter Dr des stop ring 20 provided on the first corrugated roller 12 and the diameter Da of the second corrugating roller 14 provided stop ring 34 are such relative to each other dimension that with mutual contact of the contact surfaces 42 and 44 there is a distance A between surface 46 of FIG Profiling 16 of the first roller 12 and the surface 48 the complementary profile 28 of the second roller 14.
  • Both profiles are complementary and have a mountain-to-valley distance Rh.
  • Figures 4 and 5 show a second embodiment of the present invention.
  • the corrugated roller arrangement 10 ' differs from that Corrugated roller arrangement 10 only in the configuration of the Slings. Adjacent to the one with the surface profiling 16 'provided roll body 18' are unprofiled on both sides Roll sections 50 ', 52' formed. To this unprofiled roller sections 50 'close the journal 24 'and 26'. On the unprofiled roller sections 50 ', 52' are each approximately in the middle in an axial Distance x 'from the roller body 18' the stop rings 20 ' and 22 '.
  • the minimum distance A is calculated in accordance with the above relationship given to the first embodiment.
  • a material web M or M ' runs through the area 30 or 30 'and there is a deformation, in particular Corrugation, by the two corrugating rollers 12th or comb 12 'and 14 or 14' together. Granted the minimum distance A on the one hand that the material web is not due to excessive contact pressures of the two corrugated rollers 12 and 14 is destroyed, and on the other hand that the corrugated rollers 12 and 14 in a not covered by the material web M. Do not touch the edge area and by such a touch to be damaged.

Landscapes

  • Engineering & Computer Science (AREA)
  • Mechanical Engineering (AREA)
  • Machines For Manufacturing Corrugated Board In Mechanical Paper-Making Processes (AREA)
  • Paper (AREA)

Abstract

Die Erfindung betrifft eine Walzenanordnung, insbesondere Riffelwalzenanordnung zur Riffelung einer Materialbahn (M), beispielsweise aus Papier oder Pappe, diese Walzenanordnung (10; 10') ausgeführt mit:
  • wenigstens einer um eine erste Drehachse (A; A') drehbar gelagerten ersten Walze (12; 12') mit einer profilierten Oberfläche (16; 16') ;
  • wenigstens einer um eine zweite Drehachse (B; B') drehbar gelagerten zweiten Walze (14; 14') mit einer Oberfläche (48), welche mit einer zu der Profilierung (16; 16') der ersten Walze (12; 12') korrespondierenden Komplementär-Profilierung (28; 28') versehen ist; und
  • Andrückmitteln zum Drücken der ersten Walze (12; 12') oder/ und der zweiten Walze (14; 14') aufeinander zu wobei in wenigstens einem axialen Randbereich (24, 26, 38, 40; 50', 52', 54', 56') der ersten oder/und der zweiten Walze (12, 14; 12', 14') Anschlagmittel (20, 22, 34, 36; 20', 22', 54', 56') angeordnet sind, durch welche ein Mindestabstand (A) zwischen der mit der Profilierung (16; 16') versehenen Oberfläche (46) der ersten Walze (12; 12') und der mit der Komplementär-Profilierung (28; 28') versehenen Oberfläche (48) der zweiten Walze (14; 14') bestimmt ist.
  • Figure 00000001

    Description

    Die vorliegende Erfindung betrifft eine Walzenanordnung, insbesondere eine Riffelwalzenanordnung zur Riffelung einer Materialbahn, beispielsweise aus Papier oder Pappe.
    Bei der Papierverarbeitung und insbesondere bei der Wellpappeherstellung werden in Wellpappemaschinen mit korrespondierender Riffelprofilierung versehene Riffelwalzen dazu eingesetzt, eine Materialbahn beispielsweise aus Papier oder Pappe bleibend zu verformen und mit einer Riffelung zu versehen. Hierfür werden die zusammenwirkenden Riffelwalzen mit sehr hohen Drücken aneinandergedrückt. Deshalb kommt es vor allem bei Riffelwalzen mit langen profilierten Walzenkörpern, welche jeweils an ihren Walzenenden drehbeweglich gelagert sind, zu einer Durchbiegung, sodass der Druck im Bereich der zusammenwirkenden Profilabschnitte der beiden Riffelwalzen über die Länge der Riffelwalzen ungleichmäßig werden kann. Um über die gesamte Länge der Riffelwalzen einen annähernd gleichmäßigen Liniendruck zu erreichen, wird bekanntermaßen wenigstens eine der beiden Riffelwalzen mit einer Bombierung versehen, d.h. sie wird "bauchig" ausgebildet. Eine derartige bombierte Ausgestaltung der wenigstens einen Riffelwalze hat jedoch den Nachteil, dass die der Walze inhärente Bombierung nur bei einer ganz bestimmten, auf die Bombierung abgestimmten Anpresskraft für einen über die Walzenlänge gleichmäßigen Anpressdruck sorgt. Wird die Anpresskraft vergrößert oder verkleinert, so führt die Bombierung zu einer ungleichmäßigen Druckverteilung über die Walzenlänge und damit zu unbefriedigenden Arbeitsergebnissen, mit der Folge, dass entweder die zu bearbeitende Materialbahn in den mit zu hohem Druck beaufschlagten äußeren Randereichen der Riffelwalze zerstört wird oder dass sie in den Randbereichen lediglich unzureichend verformt wird.
    Ein weiterer Faktor, welcher das Arbeitsergebnis bei Verwendung einer derartigen Walzenanordnung bestimmt, ist die Bahnbreite der zu bearbeitenden Materialbahn. So ist bei breiteren Materialbahnen, d.h. bei größerer Ausnutzung der Länge des profilierten Walzenabschnitts, in der Regel eine größere Anpresskraft erforderlich als bei einer kleineren Materialbahnbreite und damit einer geringeren Ausnutzung der Länge der profilierten Riffelwalze. Wählt man beispielsweise bei einer kleinen Bahnbreite der zu bearbeitenden Materialbahn eine zu hohe Anpresskraft, so kann dies einerseits zur Zerstörung der Materialbahn in deren äußeren Bereichen führen und andererseits darin resultieren, dass sich die Randbereiche der Walzen, welche von der Materialbahn nicht überdeckt werden, gegenseitig berühren. Dies kann zu Beschädigungen in den Randbereichen der profilierten Walzen führen, insbesondere dann, wenn die Walzen mit einer empfindlichen Beschichtung, wie beispielsweise aus Chrom oder Wolframkarbid, versehen sind. Es ist demzufolge insbesondere beim Umstellen des Betriebs der Walzenanordnung von einer Bearbeitung einer Materialbahn mit großer Breite zu einer Bearbeitung der Materialbahn mit geringer Breite geboten, die Anpresskraft genau auf die Materialbahnbreite abzustimmen, um ein zufriedenstellendes Arbeitsergebnis zu erhalten und um Beschädigungen an der Walzenanordnung zu vermeiden. Derartige Einstellungen sind einerseits jedoch zeitaufwendig und reduzieren die Produktionskapazität einer mit einer derartigen Walzenanordnung ausgerüsteten Maschine. Andererseits können fehlerhafte Einstellungen der Anpresskraft zu einer Beschädigung der Materialbahn oder/und der Walzen führen.
    Aus der DE 690 08 380 T2 ist eine Wellpappemaschine mit einer Walzenanordnung der eingangs bezeichneten Art bekannt, bei welcher ein Positionsbegrenzer zur Regulierung des Kontaktdruckes bzw. des Abstandes zwischen den beiden Walzen vorgesehen ist. Dieser Stand der Technik gibt jedoch keinerlei Auskunft über die technische Realisierung des Positionsbegrenzers.
    Ferner ist aus der DE 198 05 137 A1 eine Walzenanordnung bekannt, bei welcher zwei Walzen in Lagersteinen gelagert sind, wobei zwischen den Lagersteinen ein Abstandshalter zur Einstellung des Abstandes vorgesehen ist. Diese Lösung ist kontstruktiv sehr aufwendig, da zusätzlich zu den technischen Vorkehrungen zur Lagerverstellung auch noch in diesem Bereich eine verstellbare Komponente zur Abstandseinstellung angebracht werden muß. Darüber hinaus ist bei der in diesem Stand der Technik vorgeschlagenen Lösung bei der Einstellung des Walzenabstandes auch stets das Lagerspiel zwischen dem jeweiligen Paar aus Walze und Lagerstein zu berücksichtigen, wodurch die Abstandseinstellung fehleranfällig wird.
    Schließlich sind zum Stand der Technik noch die Dokumente DE 299 20 942 U1, DE 695 03 325 T2 und DE 26 11 325 zu nennen, welche weiter ab liegen als der vorstehend diskutierte Stand der Technik.
    Es ist Aufgabe der vorliegenden Erfindung, eine Walzenanordnung der eingangs bezeichneten Art bereitzustellen, bei welcher unter Vermeidung einer Beschädigung der Walzen eine zuverlässige Einstellung des Mindestabstandes zwischen den Walzen möglich ist.
    Diese Aufgabe wird durch eine Walzenanordnung, insbesondere Riffelwalzenanordnung zur Riffelung einer Materialbahn, beispielsweise aus Papier oder Pappe, gelöst, diese Walzenanordnung ausgeführt mit wenigstens einer um eine erste Drehachse drehbar gelagerten ersten Walze mit einer profilierten Oberfläche, wenigstens einer um eine zweite Drehachse gelagerten zweiten Walze mit einer Oberfläche, welche mit einer zu der Profilierung der ersten Walze korrespondierenden Komplementär-Profilierung versehen ist, Andrückmitteln zum Drücken der ersten Walze oder/und der zweiten Walze aufeinander zu, wobei in wenigstens einem axialen Randbereich der ersten oder/und der zweiten Walze im Betrieb aufeinander abrollende Anschlagmittel vorgesehen sind, durch welche ein Mindestabstand zwischen der mit der Profilierung versehenen Oberfläche der ersten Walze und der mit der Komplementär-Profilierung versehenen Oberfläche der zweiten Walze bestimmt ist.
    Durch Bereitstellung der im Betrieb aufeinander abrollenden Anschlagmittel kann also verhindert werden, dass die beiden zusammenwirkenden Walzen bei der Einstellung der Anpresskraft in eine Relativposition zueinander gebracht werden, in welcher eine "Interferenz" der Walzen zumindest in deren Randbereich auftritt, was im Betrieb, d.h. bei sich drehenden, miteinander kämmenden Walzen, eine gegenseitige Berührung und Zerstörung der Oberfläche der Riffelwalzen in diesem Randbereich zur Folge haben würde. Ferner kann durch die Bereitstellung von Anschlagmitteln unmittelbar an den Walzen sichergestellt werden, dass ein hinreichend großer Abstand zwischen der profilierten Oberfläche und der mit der Komplementär-Profilierung versehenen Oberfläche der Walzen gewährleistet ist, so dass eine Beschädigung der bearbeiteten Materialbahn unterbunden werden kann.
    Eine einfache Ausgestaltung der erfindungsgemäßen Walzenanordnung ergibt sich beispielsweise dann, wenn die Anschlagmittel an einem benachbart der mit der Profilierung oder Komplementär-Profilierung versehenen Oberfläche ausgebildeten unprofilierten Walzenabschnitt ausgebildet sind. Bei einer derartigen konstruktiven Ausgestaltung ist es möglich, die mit Profilierung bzw. Komplementär-Profilierung versehenen Walzenabschnitte in herkömmlicher Weise auszubilden und die Anschlagmittel unabhängig von den Walzenabschnitten an den benachbart dieser profilierten Walzenabschnitte ausgebildeten unprofilierten Walzenabschnitten auszubilden. Die Endabschnitte können dabei von Lagerzapfen oder von Walzenabschnitten gebildet sein, welche einen Außendurchmesser aufweisen, der kleiner als der maximale Außendurchmesser der profilierten Walzenabschnitte und größer als der Außendurchmesser der Lagerzapfen ist.
    Zur Positionierung der Anschlagmittel auf dem Walzenabschnitt sind verschiedene Alternativen denkbar. So ist es beispielsweise möglich, die Anschlagmittel an den Abschnitt mit Profilierung oder Komplementär-Profilierung unmittelbar anschließend anzuordnen. Der durchmessergrößere Abschnitt mit Profilierung oder Komplementär-Profilierung dient dann als einseitige Abstützung für die Anschlagmittel, so dass eine deren Funktion beeinträchtigende Deformation behindert wird.
    Alternativ ist es möglich, die Anschlagmittel mit Abstand zu dem Walzenabschnitt mit Profilierung oder Komplementär-Profilierung anzuordnen. In diesem Fall kann eine Wechselwirkung zwischen den Anschlagmitteln und den profilierten Abschnitten der jeweils anderen Walze verhindert werden.
    Wie vorstehend bereits dargelegt, ist hinsichtlich der Dimensionierung der Anschlagmittel in einer Weiterbildung der Erfindung vorgesehen, dass der unprofilierte Walzenabschnitt einen kleineren Außendurchmesser aufweist als der Außendurchmesser eines die profilierte bzw. mit Komplementär-Profilierung versehene Oberfläche der ersten oder zweiten Walze im Querschnitt einhüllenden Hüllkreises. Dadurch lässt sich eine unerwünschte Wechselwirkung zwischen Anschlagmitteln und profilierter bzw. mit Komplementär-Profilierung versehener Oberfläche einer der Walzen verhindern.
    In einer Weiterbildung der Erfindung kann vorgesehen sein, dass die Anschlagmittel wenigstens einen an einer Walze von erster Walze oder zweiter Walze angeordneten Anschlagring umfassen, welcher über seine Außenumfangsfläche mit einer korrespondierenden Anlagefläche an der jeweils anderen Walze von erster Walze oder zweiter Walze in gegenseitiger Anlage steht oder in gegenseitige Anlage bringbar ist, so dass der Anschlagring bei sich drehenden Walzen auf einem korrespondierenden Anschlagring der jeweils anderen Walze oder direkt auf der jeweils anderen Walze abrollt. Hierbei kann vorgesehen sein, dass die korrespondierende Anlagefläche an der jeweils anderen Walze von erster und zweiter Walze von einer Außenumfangsfläche eines der jeweils anderen Walze von erster und zweiter Walze angeordneten weiteren Anschlagrings gebildet ist. Es ist also möglich, die beiden Walzen in ichren Endbereichen mit unprofilierten Walzenabschnitten zu versehen, wie vorstehend bereits dargelegt, und nachträglich auf diesen unprofilierten Walzenabschnitten jeweils einen Anschlagring aufzubringen, welcher zusammen mit dem korrespondierenden weiteren Anschlagring auf der jeweils anderen Walze den Mindestabstand zwischen den profilierten Oberflächen der ersten und zweiten Walze einstellt. Es ist grundsätzlich auch möglich, die Anschlagringe direkt auf den Lagerzapfen anzuordnen. Alternativ zur Verwendung eines Anschlagrings und eines korrespondierenden weiteren Anschlagrings kann auch vorgesehen sein, dass die korrespondierende Anlagefläche an dem unprofilierten Walzenendbschnitt ausgebildet ist. Dies bedeutet, dass an jedem Ende der Walzenanordnung jeweils nur ein Anschlagring vorgesehen ist, und zwar entweder an der ersten Walze oder an der zweiten Walze, wobei der Anschlagring dann unmittelbar mit dem unprofilierten Walzenendbschnitt zusammenwirkt. Dadurch ist der Aufbau weiter vereinfacht.
    Beide Alternativen - Anschlagring mit weiterem Anschlagring oder lediglich ein Anschlagring in Wechselwirkung mit unprofiliertem Walzenabschnitt - haben jedoch den Vorteil, dass sie eine Nachrüstung bereits bestehender Walzenanordnungen ermöglichen, beispielsweise derart, dass an den unprofilierten Randbereichen bzw. an den Lagerzapfen der Walzen nachträglich Anschlagringe angebracht werden, die einen auf die jeweilige Einsatzart der Walzenanordnung abgestimmten Mindestabstand zwischen den profilierten Oberflächen bestimmen.
    Um eine hinreichend gute und gleichmäßige Druckverteilung über die gesamte Walzenlänge zwischen der profilierten Oberfläche der ersten Walze und der mit Komplementär-Profilierung versehenen Oberfläche der zweiten Walze zu gewährleisten, kann erfindungsgemäß weiter vorgesehen sein, dass in axialer Richtung beidseits der mit Profilierung oder Gegenprofilierung versehenen Oberfläche der ersten Walze oder/und der zweiten Walze Anschlagmittel vorgesehen sind.
    Zur Verbindung des jeweiligen Anschlagrings mit der zugeordneten Walze kann vorgesehen sein, dass dieser integral an der Walze ausgebildet ist. Alternativ hierzu kann vorgesehen sein, dass der Anschlagring gesondert an der Walze angebracht ist, vorzugsweise durch Verschraubung oder Verschweißung. Die gesonderte Anbringung des Anschlagrings an der Walze findet insbesondere bei der Nachrüstung bereits bestehender Walzenanordnung Anwendung.
    Wie eingangs bereits angedeutet, kann insbesondere bei langen Walzen zur Erzielung eines über die gesamte Walzenlänge gleichmäßigen Anpressdrucks vorgesehen sein, dass wenigstens eine der Walzen bombiert, d.h. bauchig ausgebildet ist. Die Bombierung gleicht eine schwerkraftbedingte und lagerungsbedingte Deformation ("Durchhängen") der betreffenden Walze derart aus, dass sie im Bereich der Wechselwirkung mit der jeweils anderen Walze in einem bestimmten Anpressdruckbereich weitgehend linear verläuft.
    Die Profilierung der jeweiligen Walzen kann beliebig ausgestaltet sein. Bevorzugt werden derartige Walzenanordnungen bei der Wellpappeherstellung eingesetzt, wo eine Riffelung der zu bearbeitenden Materialbahn erreicht werden soll. Daher kann erfindungsgemäß vorgesehen sein, dass die Profilierung oder/und die Komplementär-Profilierung von einer Riffelung gebildet ist. Um hinreichend gute Arbeitsergebenisse bei der Bearbeitung der Materialbahn zu erreichen, kann insbesondere bei Ausbildung der Walzen als Riffelwalzen einer Wellpappemaschine, vorgesehen sein, dass der Mindestabstand zwischen der mit der Profilierung versehenen Oberfläche der ersten Walze und der mit der Komplementär-Profilierung versehenen Oberfläche der zweiten Walze kleiner ist als die Dicke der zu bearbeitenden Materialbahn. Eine derartige Bemessung des Mindestabstands zwischen den beiden Oberflächen sorgt für eine Quetschung der Materialbahn zwischen den Walzen, womit sich eine hinreichend gute Verformung, insbesondere Riffelung, der zu bearbeitenden Materialbahn ergibt. In Abstimmung mit den bei der Wellpappeherstellung eingesetzten Materialbahndicken kann erfindungsgemäß weiter vorgesehen sein, dass der Mindestabstand im Bereich von 0,01 mm bis 0,30 mm, vorzugsweise im Bereich von 0,02 mm bis 0,20 mm, am meisten bevorzugt im Bereich von 0,03 mm bis 0,10 mm liegt.
    Um die Walzen der Walzenanordnung vor Korrosion, Oberflächenverschleiß aufgrund der Wechselwirkung mit der Materialbahn oder weiteren Umwelteinflüssen zu schützen, kann erfindungsgemäß ferner vorgesehen sein, dass die erste oder/und die zweite Walze zumindest in ihrem profilierten Oberflächenbereich mit einer Beschichtung, vorzugsweise aus Wolframkarbid oder aus Chrom, versehen ist.
    Für die Bemessung des Mindestabstands kann die folgende Beziehung gelten A = Rh - [(D1 - Dr)/2 + (D2 - Da)/2], wobei gilt:
  • A: Mindestabstand,
  • D1: Durchmesser des Hüllkreises um den profilierten Oberflächenabschnitt der ersten Walze,
  • D2: Durchmesser des Hüllkreises um den mit Komplementär-Profilierung versehenen Oberflächenabschnitt der zweiten Walze, Dr: Außendurchmesser des Anschlagmittels an der ersten Walze;
  • Da: Außendurchmesser des Anschlagmittels an der zweiten Walze;
  • Rh: Berg-zu-Tal Abstand der Riffelung beider Walzen.
  • Die Erfindung betrifft ferner ein Verfahren zum Nachrüsten einer Walzenanordnung mit Anschlagmitteln, umfassend den Schritt Anbringen der Anschlagmittel, insbesondere mit den Anschlagmittelmerkmalen der vorstehend beschriebenen Art, an wenigstens einer Walze der Walzenanordnung derart, dass die Anschlagmittel einen Mindestabstand zwischen einer Oberfläche der ersten Walze und einer Oberfläche der zweiten Walze bestimmen.
    Die Erfindung betrifft ferner eine Materialbearbeitungsmaschine, insbesondere Wellpappemaschine, ausgerüstet mit einer Walzenanordnung der vorstehend beschriebenen Art.
    Im Folgenden werden Ausführungsbeispiele der vorliegenden Erfindung anhand der beiliegenden Figuren erläutert. Es stellen dar:
  • Figur 1 eine erfindungsgemäße Riffelwalzenanordnung in der Draufsicht;
  • Figur 2 eine Detailansicht des in Figur 1 mit II bezeichneten Details;
  • Figur 3 eine Seitenansicht entsprechend der Betrachtungsrichtung III gemäß Figur 2;
  • Figur 4 eine Ansicht entsprechend Figur 1 einer zweiten Ausführungsform der Erfindung; und
  • Figur 5 eine Detailansicht des in Figur 4 mit V bezeichneten Bildausschnitts.
  • In Figur 1 ist eine erfindungsgemäße Riffelwalzenanordnung allgemein mit 10 bezeichnet. Die Riffelwalzenanordnung 10 umfasst eine erste Riffelwalze 12 und eine zweite Riffelwalze 14. Die erste Riffelwalze umfasst einen mit einer Oberflächenprofilierung 16, welche in Form einer Riffelung ausgebildet ist, versehenen Walzenkörper 18. An beiden Enden des Walzenkörpers 18 ist jeweils ein Anschlagring 20, 22 in unmittelbarer Nachbarschaft angeordnet.
    Ferner umfasst die erste Riffelwalze 12 Lagerzapfen 24, 26, welche in korrespondierenden Lageranordnungen 28, 30 zur drehbaren Lagerung der ersten Riffelwalze 12 um ihre Drehachse A aufgenommen sind.
    Korrespondierend zur ersten Riffelwalze 12 umfasst die zweite Riffelwalze 14 eine Komplementär-Oberflächenprofilierung 28, welche in einem Wirkbereich 30 mit der Oberflächenprofilierung 16 der ersten Riffelwalze 12 zusammenwirkt und welche auf einem Walzenkörper 32 ausgebildet ist. Beidseits des Walzenkörpers 32 sind als Anschlagringe 34, 36 wirkende Flansche ausgebildet, die jeweils paarweise mit den Anschlagringen 20 und 22 an der Riffelwalze 12 zusammenwirken, d.h. bei sich drehenden Walzen 12 und 14 aufeinander abrollen. Die als Anschlagringe 34, 36 wirkenden Flansche können beispielsweise durch Abflachen, Abschleifen oder Abdrehen der Komplementär-Oberflächenprofilierung 28 hergestellt werden. Sie können aber auch als nachträglich benachbart zur Komplementär-Oberflächenprofilierung 28 an der zweiten Riffelwalze 14 angebrachte Anschlagringe ausgebildet sein. Die zweite Riffelwalze 14 ist ebenfalls mit Lagerzapfen 38, 40 versehen, welche in korrespondierenden Lageranordnungen 42, 44 zur drehbaren Lagerung der zweiten Riffelwalze 14 um ihre Drehachse B aufgenommen sind.
    Wendet man sich nun den Detailzeichnungen gemäß Figuren 2 und 3 zu, so ist folgendes zu erkennen. Der Anschlagring 20 ist mit geringem axialem Abstand x zu dem Walzenkörper 18 angeordnet, wobei dieser axiale Abstand x durch Anbringen eines Freistichs hergestellt werden kann. Die beiden korrespondierenden Anschlagringe 20 und 34 an der ersten Riffelwalze 12 und 34 an der zweiten Riffelwalze 14 liegen über ihre Anlageflächen 42 (an dem Anschlagring 20) und 44 (an dem Anschlagring 34) aneinander an. Der Durchmesser Dr des auf der ersten Riffelwalze 12 vorgesehenen Anschlagrings 20 und der Durchmesser Da des auf der zweiten Riffelwalze 14 vorgesehenen Anschlagrings 34 sind relativ zueinander derart bemessen, dass bei gegenseitiger Anlage der Anlageflächen 42 und 44 sich ein Abstand A zwischen der Oberfläche 46 der Profilierung 16 der ersten Walze 12 und der Oberfläche 48 der Komplementär-Profilierung 28 der zweiten Walze 14 einstellt.
    Beide Profilierungen sind komplementär ausgebildet und weisen einen Berg-zu-Tal-Abstand Rh auf. Der Mindestabstand A zwischen den beiden Oberflächen 46 und 48 bestimmt sich bei gegenseitiger Anlage der Anlageflächen 42 und 44 wie folgt: A = Rh - [(D2 - Da)/2 + (D1 - Dr)/2].
    Diese Beziehung ergibt sich aus einer Gleichung, welche den jeweiligen Abstand der beiden Drehachsen A und B von erster Walze 12 und zweiter Walze 14 beschreibt, einmal ausgedrückt über die Durchmesser Dr und Da der Anschlagringe 34 und 36 sowie zum anderen ausgedrückt über die Durchmesser D1, D2, den Abstand Rh und den Mindestabstand A der Profilierung 16 und der Komplementär-Profilierung 28. Es sei angemerkt, daß bei Ausbildung von einer der beiden Riffelwalzen als bombierte Walze, der Abstand der Profilierung und der Komplementär-Profilierung im mittleren Bereich der Walzen kleiner ist als in deren äußeren Bereichen und im mittleren Bereich bis auf nahezu null reduziert werden kann.
    Figuren 4 und 5 zeigen ein zweites Ausführungsbeispiel der vorliegenden Erfindung.
    Zur Erläuterung dieses zweiten Ausführungsbeispiels werden für gleiche oder gleich wirkende Komponenten dieselben Bezugszeichen wie im ersten Ausführungsbeispiel verwendet, jedoch ergänzt mit einem Apostroph ( ' ). Zur Vermeidung von Wiederholungen werden lediglich die Unterschiede der beiden Riffelwalzenanordnungen 10 gemäß Figuren 1 bis 3 und 10' gemäß Figuren 4 und 5 beschrieben.
    Die Riffelwalzenanordnung 10' unterscheidet sich von der Riffelwalzenanordnung 10 lediglich in der Ausgestaltung der Anschlagmittel. Benachbart zu dem mit der Oberflächenprofilierung 16' versehenen Walzenkörper 18' sind beidseits unprofilierte Walzenabschnitte 50', 52' ausgebildet. An diese unprofilierten Walzenabschnitte 50' schließen sich die Lagerzapfen 24' und 26' an. Auf den unprofilierten Walzenabschnitten 50', 52' sind jeweils etwa mittig in einem axialen Abstand x' von dem Walzenkörper 18' die Anschlagringe 20' und 22' angeordnet.
    An der zweiten Riffelwalze 14' sind ebenfalls benachbart zu dem Walzenkörper 32' unprofilierte Walzenabschnitte 54' und 56' angeordnet, an welche sich jeweils die Lagerzapfen 38' und 40' anschließen.
    Bei eingestelltem Mindestabstand A zwischen der Oberflächenprofilierung 16' und der Komplementär-Oberflächenprofilierung 28' liegt, wie in Figur 5 gezeigt, der Anschlagring 20' mit seiner Anlagefläche 42' an der Gegenanlagefläche 44' des unprofilierten Walzenabschnitts 54' an. Gleiches gilt für die in Figur 5 nicht dargestellte Situation im Bereich des Anschlagrings 22'.
    Die Berechnung des Mindestabstands A erfolgt gemäß der vorstehend zum ersten Ausführungsbeispiel angegebenen Beziehung.
    Im Betrieb läuft eine Materialbahn M bzw. M' durch den Bereich 30 bzw. 30' und wird dort einer Umformung, insbesondere Riffelung, unterzogen, indem die beiden Riffelwalzen 12 bzw. 12' und 14 bzw. 14' miteinander kämmen. Dabei gewährt der Mindestabstand A einerseits, dass die Materialbahn nicht durch zu hohe Anpressdrücke der beiden Riffelwalzen 12 und 14 zerstört wird, und andererseits, dass sich die Riffelwalzen 12 und 14 in einem nicht von der Materialbahn M überdekkten Randbereich nicht berühren und durch eine derartige Berührung beschädigt werden.
    Es ist darauf hinzuweisen, dass auch die korrespondierenden Anschlagmittel im Betrieb, d.h. bei miteinander kämmenden Riffelwalzen, jeweils aufeinander abrollen. Dies bedeutet, dass im ersten Ausführungsbeispiel die Anschlagringe 20 und 34 sowie die Anschlagringe 22 und 36 aufeinander abrollen. Für das zweite Ausführungsbeispiel bedeutet dies, dass der Anschlagring 20' und der Walzenabschnitt 54' sowie der Anschlagring 22' und der zugehörige Walzenabschnitt 56' aufeinander abrollen. Durch das Ausbilden der Anschlagmittel unmittelbar an den Walzen kann eine zuverlässige Abstandseinstellung unabhängig von anderen Komponenten, wie zum Beispiel von Lagerkomponenten, vorgenommen werden.

    Claims (19)

    1. Walzenanordnung, insbesondere Riffelwalzenanordnung zur Riffelung einer Materialbahn (M), beispielsweise aus Papier oder Pappe, diese Walzenanordnung (10; 10') ausgeführt mit:
      wenigstens einer um eine erste Drehachse (A; A') drehbar gelagerten ersten Walze (12; 12') mit einer profilierten Oberfläche (16; 16');
      wenigstens einer um eine zweite Drehachse (B; B') drehbar gelagerten zweiten Walze (14; 14') mit einer Oberfläche (48), welche mit einer zu der Profilierung (16; 16') der ersten Walze (12; 12') korrespondierenden Komplementär-Profilierung (28; 28') versehen ist; und
      Andrückmitteln zum Drücken der ersten Walze (12; 12') oder/ und der zweiten Walze (14; 14') aufeinander zu,:
      dadurch gekennzeichnet, dass in wenigstens einem axialen Randbereich (24, 26, 38, 40; 50', 52', 54', 56') der ersten oder/und der zweiten Walze (12, 14; 12', 14') im Betrieb aufeinander abrollende Anschlagmittel (20, 22, 34, 36; 20', 22', 54', 56') vorgesehen sind, durch welche ein Mindestabstand (A) zwischen der mit der Profilierung (16; 16') versehenen Oberfläche (46) der ersten Walze (12; 12') und der mit der Komplementär-Profilierung (28; 28') versehenen Oberfläche (48) der zweiten Walze (14; 14') bestimmt ist.
    2. Walzenanordnung nach Anspruch 1,
      dadurch gekennzeichnet, dass die Anschlagmittel (20, 22, 34, 36; 20', 22', 54', 56') jeweils an einem benachbart der mit Profilierung (16; 16') oder Komplementär-Profilierung (28; 28') versehenen Oberfläche (46, 48) ausgebildeten unprofilierten Walzenabschnitt (24, 26, 38, 40; 50', 52', 54', 56') ausgebildet sind.
    3. Walzenanordnung nach Anspruch 2,
      dadurch gekennzeichnet, dass die Anschlagmittel (20, 22, 34, 36) unmittelbar an den mit Profilierung (16, 16') oder Komplementär-Profilierung (28; 28') versehenen Walzenabschnitt (18, 32; 18', 32') anschließen.
    4. Walzenanordnung nach Anspruch 2,
      dadurch gekennzeichnet, dass die Anschlagmittel (20', 22') mit Abstand zu dem mit Profilierung (16') oder Komplementär-Profilierung (28') versehenen Walzenabschnitt (18') angeordnet sind.
    5. Walzenanordnung nach einem der Ansprüche 2 bis 4,
      dadurch gekennzeichnet, dass der unprofilierte Walzenabschnitt (50', 52', 54', 56') einen kleineren Außendurchmesser aufweist als der Außendurchmesser (D1, D2) eines die Oberfläche (46, 48) der ersten und zweiten Walze (12, 14; 12', 14') im Querschnitt einhüllenden Hüllkreises.
    6. Walzenanordnung nach einem der Ansprüche 1 bis 5,
      dadurch gekennzeichnet, dass die Anschlagmittel wenigstens einen an einer Walze von erster Walze (12; 12') oder zweiter Walze (14; 14') angeordneten Anschlagring (20, 22, 34, 36; 20', 22') umfassen, welcher über seine Außenumfangsfläche (42; 42') mit einer korrespondierenden Anlagefläche (44; 44') an der jeweils anderen Walze von erster Walze (12; 12') oder zweiter Walze (14; 14') in gegenseitiger Anlage steht oder in gegenseitige Anlage bringbar ist.
    7. Walzenanordnung nach Anspruch 6,
      dadurch gekennzeichnet, dass die korrespondierende Anlagefläche (44; 44') an der jeweils anderen Walze von erster Walze (12; 12') und zweiter Walze (14; 14') von einer Außenumfangsfläche (44) eines an der jeweils anderen Walze von erster Walze (12; 12') und zweiter Walze (14; 14') angeordneten weiteren Anschlagrings (34) gebildet ist.
    8. Walzenanordnung nach Anspruch 6,
      dadurch gekennzeichnet, dass die korrespondierende Anlagefläche (44') an dem unprofilierten Walzenabschnitt (54', 56') ausgebildet ist.
    9. Walzenanordnung nach einem der vorangehenden Ansprüche,
      dadurch gekennzeichnet, dass in axialer Richtung beidseits der mit Profilierung (16; 16') oder Komplementär-Profilierung (28; 28') versehenen Oberfläche (46, 48) der ersten Walze (12; 12') oder/und der zweiten Walze (14; 14') Anschlagmittel (20, 22, 34, 36; 20', 22', 54', 56') vorgesehen sind.
    10. Walzenanordnung nach einem der Ansprüche 6 bis 9,
      dadurch gekennzeichnet, dass der Anschlagring (20, 22, 34, 36; 20', 22') integral an der Walze (12, 14; 12', 14') ausgebildet ist.
    11. Walzenanordnung nach einem der Ansprüche 6 bis 9,
      dadurch gekennzeichnet, dass der Anschlagring (20, 22, 34, 36; 20', 22') gesondert an der Walze (12, 14; 12', 14') angebracht ist, vorzugsweise durch Verschraubung oder durch Verschweißung.
    12. Walzenanordnung nach einem der vorangehenden Ansprüche,
      dadurch gekennzeichnet, dass wenigstens eine der Walzen (12, 14; 12', 14') bombiert ist.
    13. Walzenanordnung nach einem der vorangehenden Ansprüche,
      dadurch gekennzeichnet, dass die Profilierung (16; 16') oder/und die Komplementär-Profilierung (28; 28') von einer Riffelung gebildet ist.
    14. Walzenanordnung nach einem der vorangehenden Ansprüche,
      dadurch gekennzeichnet, dass der Mindestabstand (A) kleiner ist als die Dicke der Materialbahn (M; M').
    15. Walzenanordnung nach einem der vorangehenden Ansprüche,
      dadurch gekennzeichnet, dass der Mindestabstand (A) im Bereich von 0,01 mm bis 0,30 mm, vorzugsweise im Bereich von 0,02 mm bis 0,20 mm, am meisten bevorzugt im Bereich von 0,03 mm bis 0,10 mm liegt.
    16. Walzenanordnung nach einem der vorangehenden Ansprüche,
      dadurch gekennzeichnet, dass die erste oder/und die zweite Walze (12, 14; 12', 14') zumindest in ihrem profilierten Oberflächenbereich (18, 32; 18', 32') mit einer Beschichtung vorzugsweise aus Wolframkarbid oder Chrom versehen ist.
    17. Walzenanordnung nach einem der vorangehenden Ansprüche,
      dadurch gekennzeichnet, dass der Mindestabstand nach Maßgabe der Beziehung bestimmt wird: A = Rh - [(D2 - Da)/2 + (D1 - Dr)/2], wobei gilt:
      A: Mindestabstand
      Rh: Berg-zu-Tal-Abstand der Profilierung
      D1: Durchmesser des Hüllkreises um die Profilierung der ersten Walze
      D2: Durchmesser des Hüllkreises um die Komplementär-Profilierung der zweiten Walze
      Dr: Außendurchmesser des der ersten Walze zugeordneten Anschlagmittels und
      Da: Außendurchmesser des der zweiten Walze zugeordneten Anschlagmittels.
    18. Verfahren zum Nachrüsten einer Walzenanordnung (10; 10') mit Anschlagmitteln, insbesondere einer Walzenanordnung nach einem der Ansprüche 1 bis 17, umfassend den Schritt: Anbringen der Anschlagmittel, insbesondere mit den Anschlagmittelmerkmalen nach einem der vorangehenden Ansprüche, an wenigstens einer Walze (12, 14; 12', 14') der Walzenanordnung (10; 10'), derart, dass durch die Anschlagmittel ein Mindestabstand zwischen einer Profilierung (16; 16') der Oberfläche der ersten Walze (12; 12') und einer Komplementär-Profilierung (28; 28') der Oberfläche der zweiten Walze (14; 14') bestimmt ist.
    19. Materialbearbeitungsmaschine, insbesondere Wellpappemaschine, ausgerüstet mit einer Walzenanordnung nach einem der Ansprüche 1 bis 17.
    EP01124048A 2000-10-11 2001-10-09 Walzenanordnung, insbesondere Riffelwalzenanordnung Withdrawn EP1197322A3 (de)

    Applications Claiming Priority (2)

    Application Number Priority Date Filing Date Title
    DE10050348 2000-10-11
    DE2000150348 DE10050348C2 (de) 2000-10-11 2000-10-11 Walzenanordnung, insbesondere Riffelwalzenanordnung

    Publications (2)

    Publication Number Publication Date
    EP1197322A2 true EP1197322A2 (de) 2002-04-17
    EP1197322A3 EP1197322A3 (de) 2004-02-11

    Family

    ID=7659410

    Family Applications (1)

    Application Number Title Priority Date Filing Date
    EP01124048A Withdrawn EP1197322A3 (de) 2000-10-11 2001-10-09 Walzenanordnung, insbesondere Riffelwalzenanordnung

    Country Status (2)

    Country Link
    EP (1) EP1197322A3 (de)
    DE (1) DE10050348C2 (de)

    Cited By (2)

    * Cited by examiner, † Cited by third party
    Publication number Priority date Publication date Assignee Title
    CN103660395A (zh) * 2013-11-26 2014-03-26 广东万联包装机械有限公司 瓦楞机的上浆辊保护机构及其上浆辊
    DE102023204993A1 (de) * 2023-05-26 2024-11-28 Bhs Corrugated Maschinen- Und Anlagenbau Gmbh Riffelwalzen-Herstell-Verfahren

    Families Citing this family (1)

    * Cited by examiner, † Cited by third party
    Publication number Priority date Publication date Assignee Title
    DE102012212699A1 (de) * 2012-07-19 2014-05-15 Bhs Corrugated Maschinen- Und Anlagenbau Gmbh Maschine zur Herstellung von Wellpappe

    Family Cites Families (10)

    * Cited by examiner, † Cited by third party
    Publication number Priority date Publication date Assignee Title
    US2503858A (en) * 1944-08-21 1950-04-11 Robert J Waterworth Folding machine roll adjusting means
    FR2088920A5 (de) * 1970-04-29 1972-01-07 Repiquet Anciens Ets
    DE2611325C3 (de) * 1976-03-17 1978-09-07 Bhs-Bayerische Berg-, Huetten- Und Salzwerke Ag, 8000 Muenchen Einseitige Wellpappenmaschine
    US4226150A (en) * 1978-08-15 1980-10-07 Avery International Corporation Deflectable bearer roll
    JPH07281Y2 (ja) * 1989-02-17 1995-01-11 三菱重工業株式会社 シングルフェーサ
    US5417132A (en) * 1993-01-19 1995-05-23 Alan R. Pfaff Rotary cutting dies
    JP3073400B2 (ja) * 1994-08-12 2000-08-07 三菱重工業株式会社 段ロール及びその製造方法
    US5901619A (en) * 1996-01-16 1999-05-11 Nippon Petrochemicals Company, Limited Method for manufacturing rotary cutting tool and rotary cutting tool
    DE19805137A1 (de) * 1998-02-09 1999-08-12 Krupp Polysius Ag Walzenmühle
    DE29920942U1 (de) * 1999-11-29 2000-01-20 Kier, Rolf, 25474 Ellerbek Einseitige Wellpappenmaschine

    Cited By (2)

    * Cited by examiner, † Cited by third party
    Publication number Priority date Publication date Assignee Title
    CN103660395A (zh) * 2013-11-26 2014-03-26 广东万联包装机械有限公司 瓦楞机的上浆辊保护机构及其上浆辊
    DE102023204993A1 (de) * 2023-05-26 2024-11-28 Bhs Corrugated Maschinen- Und Anlagenbau Gmbh Riffelwalzen-Herstell-Verfahren

    Also Published As

    Publication number Publication date
    DE10050348A1 (de) 2002-05-02
    DE10050348C2 (de) 2002-12-12
    EP1197322A3 (de) 2004-02-11

    Similar Documents

    Publication Publication Date Title
    DE698450C (de) ei Bandwalzwerken
    EP0258482B1 (de) Walzgerüst mit axial verschiebbaren Walzen
    DE3025799C2 (de) Preßwalze, deren Durchbiegung einstellbar ist
    EP0091540A1 (de) Walzgerüst mit axial verschiebbaren Walzen
    EP0815970B1 (de) Walzgerüst zum Walzen von Bändern
    DE69128950T2 (de) Planheitsregelung eines Vielwalzenwerkes
    DE19736767C2 (de) Walzgerüst zum Walzen von Bändern
    DE3637206A1 (de) Selbstkompensierende walze
    DE69205554T2 (de) Rotationsstanzvorrichtung.
    EP0672471B1 (de) Verfahren und Vorrichtung zum Walzen von Bändern
    EP0255714B1 (de) Vielwalzen-Walzgerüst mit paarweise gegensinnig verschiebbaren, verjüngte Enden aufweisenden Zwischenwalzen
    EP1080876B1 (de) Vorrichtung zum Prägen einer Materialbahn
    DE19807115C1 (de) Walze
    DD145501A5 (de) Vorrichtung zum axialen verschieben von konischen zwischenwalzen in einem mehrrollen-walzgeruest
    DE10050348C2 (de) Walzenanordnung, insbesondere Riffelwalzenanordnung
    EP0665067B1 (de) Vielwalzengerüst in Ständerbauweise mit direkter hydraulischer Anstellung
    DE102010049908B4 (de) Vielwalzen-Walzwerk vom Cluster-Typ
    CH663452A5 (de) Walzvorrichtung.
    DE69308681T2 (de) Walzwerk
    DE19812263A1 (de) Walze für ein Walzgerüst
    WO1990007417A1 (de) Prägekalander
    EP1657033A1 (de) Stanzvorrichtung
    DE4444892C2 (de) Preßwalze
    DE3736683C2 (de) Mehrrollen-Walzgerüst
    EP1208965B1 (de) Papierprägekalander

    Legal Events

    Date Code Title Description
    PUAI Public reference made under article 153(3) epc to a published international application that has entered the european phase

    Free format text: ORIGINAL CODE: 0009012

    AK Designated contracting states

    Kind code of ref document: A2

    Designated state(s): AT BE CH CY DE DK ES FI FR GB GR IE IT LI LU MC NL PT SE TR

    AX Request for extension of the european patent

    Free format text: AL;LT;LV;MK;RO;SI

    PUAL Search report despatched

    Free format text: ORIGINAL CODE: 0009013

    AK Designated contracting states

    Kind code of ref document: A3

    Designated state(s): AT BE CH CY DE DK ES FI FR GB GR IE IT LI LU MC NL PT SE TR

    AX Request for extension of the european patent

    Extension state: AL LT LV MK RO SI

    RIC1 Information provided on ipc code assigned before grant

    Ipc: 7B 31F 1/28 A

    AKX Designation fees paid
    REG Reference to a national code

    Ref country code: DE

    Ref legal event code: 8566

    STAA Information on the status of an ep patent application or granted ep patent

    Free format text: STATUS: THE APPLICATION IS DEEMED TO BE WITHDRAWN

    18D Application deemed to be withdrawn

    Effective date: 20040812