EP1024089A2 - Transportpalette - Google Patents

Transportpalette Download PDF

Info

Publication number
EP1024089A2
EP1024089A2 EP00100934A EP00100934A EP1024089A2 EP 1024089 A2 EP1024089 A2 EP 1024089A2 EP 00100934 A EP00100934 A EP 00100934A EP 00100934 A EP00100934 A EP 00100934A EP 1024089 A2 EP1024089 A2 EP 1024089A2
Authority
EP
European Patent Office
Prior art keywords
transport
box
transport pallet
support surface
pallet
Prior art date
Legal status (The legal status is an assumption and is not a legal conclusion. Google has not performed a legal analysis and makes no representation as to the accuracy of the status listed.)
Granted
Application number
EP00100934A
Other languages
English (en)
French (fr)
Other versions
EP1024089B1 (de
EP1024089A3 (de
Inventor
Hans Umiker
Current Assignee (The listed assignees may be inaccurate. Google has not performed a legal analysis and makes no representation or warranty as to the accuracy of the list.)
Schoeller Arca Systems AG
Original Assignee
Schoeller Plast SA
Priority date (The priority date is an assumption and is not a legal conclusion. Google has not performed a legal analysis and makes no representation as to the accuracy of the date listed.)
Filing date
Publication date
Family has litigation
First worldwide family litigation filed litigation Critical https://patents.darts-ip.com/?family=7895785&utm_source=google_patent&utm_medium=platform_link&utm_campaign=public_patent_search&patent=EP1024089(A2) "Global patent litigation dataset” by Darts-ip is licensed under a Creative Commons Attribution 4.0 International License.
Application filed by Schoeller Plast SA filed Critical Schoeller Plast SA
Publication of EP1024089A2 publication Critical patent/EP1024089A2/de
Publication of EP1024089A3 publication Critical patent/EP1024089A3/de
Application granted granted Critical
Publication of EP1024089B1 publication Critical patent/EP1024089B1/de
Anticipated expiration legal-status Critical
Revoked legal-status Critical Current

Links

Images

Classifications

    • BPERFORMING OPERATIONS; TRANSPORTING
    • B65CONVEYING; PACKING; STORING; HANDLING THIN OR FILAMENTARY MATERIAL
    • B65DCONTAINERS FOR STORAGE OR TRANSPORT OF ARTICLES OR MATERIALS, e.g. BAGS, BARRELS, BOTTLES, BOXES, CANS, CARTONS, CRATES, DRUMS, JARS, TANKS, HOPPERS, FORWARDING CONTAINERS; ACCESSORIES, CLOSURES, OR FITTINGS THEREFOR; PACKAGING ELEMENTS; PACKAGES
    • B65D19/00Pallets or like platforms, with or without side walls, for supporting loads to be lifted or lowered
    • B65D19/0004Rigid pallets without side walls
    • B65D19/0006Rigid pallets without side walls the load supporting surface being made of a single element
    • B65D19/003Rigid pallets without side walls the load supporting surface being made of a single element forming discontinuous or non-planar contact surfaces
    • B65D19/0042Rigid pallets without side walls the load supporting surface being made of a single element forming discontinuous or non-planar contact surfaces the base surface being made of more than one element
    • B65D19/0046Rigid pallets without side walls the load supporting surface being made of a single element forming discontinuous or non-planar contact surfaces the base surface being made of more than one element forming discontinuous or non-planar contact surfaces
    • B65D19/0048Rigid pallets without side walls the load supporting surface being made of a single element forming discontinuous or non-planar contact surfaces the base surface being made of more than one element forming discontinuous or non-planar contact surfaces and each contact surface having a stringer-like shape
    • BPERFORMING OPERATIONS; TRANSPORTING
    • B65CONVEYING; PACKING; STORING; HANDLING THIN OR FILAMENTARY MATERIAL
    • B65DCONTAINERS FOR STORAGE OR TRANSPORT OF ARTICLES OR MATERIALS, e.g. BAGS, BARRELS, BOTTLES, BOXES, CANS, CARTONS, CRATES, DRUMS, JARS, TANKS, HOPPERS, FORWARDING CONTAINERS; ACCESSORIES, CLOSURES, OR FITTINGS THEREFOR; PACKAGING ELEMENTS; PACKAGES
    • B65D2519/00Pallets or like platforms, with or without side walls, for supporting loads to be lifted or lowered
    • B65D2519/00004Details relating to pallets
    • B65D2519/00009Materials
    • B65D2519/00014Materials for the load supporting surface
    • B65D2519/00034Plastic
    • BPERFORMING OPERATIONS; TRANSPORTING
    • B65CONVEYING; PACKING; STORING; HANDLING THIN OR FILAMENTARY MATERIAL
    • B65DCONTAINERS FOR STORAGE OR TRANSPORT OF ARTICLES OR MATERIALS, e.g. BAGS, BARRELS, BOTTLES, BOXES, CANS, CARTONS, CRATES, DRUMS, JARS, TANKS, HOPPERS, FORWARDING CONTAINERS; ACCESSORIES, CLOSURES, OR FITTINGS THEREFOR; PACKAGING ELEMENTS; PACKAGES
    • B65D2519/00Pallets or like platforms, with or without side walls, for supporting loads to be lifted or lowered
    • B65D2519/00004Details relating to pallets
    • B65D2519/00009Materials
    • B65D2519/00049Materials for the base surface
    • B65D2519/00069Plastic
    • BPERFORMING OPERATIONS; TRANSPORTING
    • B65CONVEYING; PACKING; STORING; HANDLING THIN OR FILAMENTARY MATERIAL
    • B65DCONTAINERS FOR STORAGE OR TRANSPORT OF ARTICLES OR MATERIALS, e.g. BAGS, BARRELS, BOTTLES, BOXES, CANS, CARTONS, CRATES, DRUMS, JARS, TANKS, HOPPERS, FORWARDING CONTAINERS; ACCESSORIES, CLOSURES, OR FITTINGS THEREFOR; PACKAGING ELEMENTS; PACKAGES
    • B65D2519/00Pallets or like platforms, with or without side walls, for supporting loads to be lifted or lowered
    • B65D2519/00004Details relating to pallets
    • B65D2519/00009Materials
    • B65D2519/00084Materials for the non-integral separating spacer
    • B65D2519/00104Plastic
    • BPERFORMING OPERATIONS; TRANSPORTING
    • B65CONVEYING; PACKING; STORING; HANDLING THIN OR FILAMENTARY MATERIAL
    • B65DCONTAINERS FOR STORAGE OR TRANSPORT OF ARTICLES OR MATERIALS, e.g. BAGS, BARRELS, BOTTLES, BOXES, CANS, CARTONS, CRATES, DRUMS, JARS, TANKS, HOPPERS, FORWARDING CONTAINERS; ACCESSORIES, CLOSURES, OR FITTINGS THEREFOR; PACKAGING ELEMENTS; PACKAGES
    • B65D2519/00Pallets or like platforms, with or without side walls, for supporting loads to be lifted or lowered
    • B65D2519/00004Details relating to pallets
    • B65D2519/00258Overall construction
    • B65D2519/00263Overall construction of the pallet
    • B65D2519/00268Overall construction of the pallet made of one piece
    • BPERFORMING OPERATIONS; TRANSPORTING
    • B65CONVEYING; PACKING; STORING; HANDLING THIN OR FILAMENTARY MATERIAL
    • B65DCONTAINERS FOR STORAGE OR TRANSPORT OF ARTICLES OR MATERIALS, e.g. BAGS, BARRELS, BOTTLES, BOXES, CANS, CARTONS, CRATES, DRUMS, JARS, TANKS, HOPPERS, FORWARDING CONTAINERS; ACCESSORIES, CLOSURES, OR FITTINGS THEREFOR; PACKAGING ELEMENTS; PACKAGES
    • B65D2519/00Pallets or like platforms, with or without side walls, for supporting loads to be lifted or lowered
    • B65D2519/00004Details relating to pallets
    • B65D2519/00258Overall construction
    • B65D2519/00263Overall construction of the pallet
    • B65D2519/00273Overall construction of the pallet made of more than one piece
    • BPERFORMING OPERATIONS; TRANSPORTING
    • B65CONVEYING; PACKING; STORING; HANDLING THIN OR FILAMENTARY MATERIAL
    • B65DCONTAINERS FOR STORAGE OR TRANSPORT OF ARTICLES OR MATERIALS, e.g. BAGS, BARRELS, BOTTLES, BOXES, CANS, CARTONS, CRATES, DRUMS, JARS, TANKS, HOPPERS, FORWARDING CONTAINERS; ACCESSORIES, CLOSURES, OR FITTINGS THEREFOR; PACKAGING ELEMENTS; PACKAGES
    • B65D2519/00Pallets or like platforms, with or without side walls, for supporting loads to be lifted or lowered
    • B65D2519/00004Details relating to pallets
    • B65D2519/00258Overall construction
    • B65D2519/00283Overall construction of the load supporting surface
    • B65D2519/00288Overall construction of the load supporting surface made of one piece
    • BPERFORMING OPERATIONS; TRANSPORTING
    • B65CONVEYING; PACKING; STORING; HANDLING THIN OR FILAMENTARY MATERIAL
    • B65DCONTAINERS FOR STORAGE OR TRANSPORT OF ARTICLES OR MATERIALS, e.g. BAGS, BARRELS, BOTTLES, BOXES, CANS, CARTONS, CRATES, DRUMS, JARS, TANKS, HOPPERS, FORWARDING CONTAINERS; ACCESSORIES, CLOSURES, OR FITTINGS THEREFOR; PACKAGING ELEMENTS; PACKAGES
    • B65D2519/00Pallets or like platforms, with or without side walls, for supporting loads to be lifted or lowered
    • B65D2519/00004Details relating to pallets
    • B65D2519/00258Overall construction
    • B65D2519/00313Overall construction of the base surface
    • B65D2519/00318Overall construction of the base surface made of one piece
    • BPERFORMING OPERATIONS; TRANSPORTING
    • B65CONVEYING; PACKING; STORING; HANDLING THIN OR FILAMENTARY MATERIAL
    • B65DCONTAINERS FOR STORAGE OR TRANSPORT OF ARTICLES OR MATERIALS, e.g. BAGS, BARRELS, BOTTLES, BOXES, CANS, CARTONS, CRATES, DRUMS, JARS, TANKS, HOPPERS, FORWARDING CONTAINERS; ACCESSORIES, CLOSURES, OR FITTINGS THEREFOR; PACKAGING ELEMENTS; PACKAGES
    • B65D2519/00Pallets or like platforms, with or without side walls, for supporting loads to be lifted or lowered
    • B65D2519/00004Details relating to pallets
    • B65D2519/00258Overall construction
    • B65D2519/00313Overall construction of the base surface
    • B65D2519/00323Overall construction of the base surface made of more than one piece
    • BPERFORMING OPERATIONS; TRANSPORTING
    • B65CONVEYING; PACKING; STORING; HANDLING THIN OR FILAMENTARY MATERIAL
    • B65DCONTAINERS FOR STORAGE OR TRANSPORT OF ARTICLES OR MATERIALS, e.g. BAGS, BARRELS, BOTTLES, BOXES, CANS, CARTONS, CRATES, DRUMS, JARS, TANKS, HOPPERS, FORWARDING CONTAINERS; ACCESSORIES, CLOSURES, OR FITTINGS THEREFOR; PACKAGING ELEMENTS; PACKAGES
    • B65D2519/00Pallets or like platforms, with or without side walls, for supporting loads to be lifted or lowered
    • B65D2519/00004Details relating to pallets
    • B65D2519/00258Overall construction
    • B65D2519/00313Overall construction of the base surface
    • B65D2519/00328Overall construction of the base surface shape of the contact surface of the base
    • B65D2519/00333Overall construction of the base surface shape of the contact surface of the base contact surface having a stringer-like shape
    • BPERFORMING OPERATIONS; TRANSPORTING
    • B65CONVEYING; PACKING; STORING; HANDLING THIN OR FILAMENTARY MATERIAL
    • B65DCONTAINERS FOR STORAGE OR TRANSPORT OF ARTICLES OR MATERIALS, e.g. BAGS, BARRELS, BOTTLES, BOXES, CANS, CARTONS, CRATES, DRUMS, JARS, TANKS, HOPPERS, FORWARDING CONTAINERS; ACCESSORIES, CLOSURES, OR FITTINGS THEREFOR; PACKAGING ELEMENTS; PACKAGES
    • B65D2519/00Pallets or like platforms, with or without side walls, for supporting loads to be lifted or lowered
    • B65D2519/00004Details relating to pallets
    • B65D2519/00258Overall construction
    • B65D2519/00398Overall construction reinforcements
    • B65D2519/00402Integral, e.g. ribs
    • B65D2519/00407Integral, e.g. ribs on the load supporting surface
    • BPERFORMING OPERATIONS; TRANSPORTING
    • B65CONVEYING; PACKING; STORING; HANDLING THIN OR FILAMENTARY MATERIAL
    • B65DCONTAINERS FOR STORAGE OR TRANSPORT OF ARTICLES OR MATERIALS, e.g. BAGS, BARRELS, BOTTLES, BOXES, CANS, CARTONS, CRATES, DRUMS, JARS, TANKS, HOPPERS, FORWARDING CONTAINERS; ACCESSORIES, CLOSURES, OR FITTINGS THEREFOR; PACKAGING ELEMENTS; PACKAGES
    • B65D2519/00Pallets or like platforms, with or without side walls, for supporting loads to be lifted or lowered
    • B65D2519/00004Details relating to pallets
    • B65D2519/00258Overall construction
    • B65D2519/00398Overall construction reinforcements
    • B65D2519/00402Integral, e.g. ribs
    • B65D2519/00412Integral, e.g. ribs on the base surface
    • BPERFORMING OPERATIONS; TRANSPORTING
    • B65CONVEYING; PACKING; STORING; HANDLING THIN OR FILAMENTARY MATERIAL
    • B65DCONTAINERS FOR STORAGE OR TRANSPORT OF ARTICLES OR MATERIALS, e.g. BAGS, BARRELS, BOTTLES, BOXES, CANS, CARTONS, CRATES, DRUMS, JARS, TANKS, HOPPERS, FORWARDING CONTAINERS; ACCESSORIES, CLOSURES, OR FITTINGS THEREFOR; PACKAGING ELEMENTS; PACKAGES
    • B65D2519/00Pallets or like platforms, with or without side walls, for supporting loads to be lifted or lowered
    • B65D2519/00004Details relating to pallets
    • B65D2519/00547Connections
    • B65D2519/00552Structures connecting the constitutive elements of the pallet to each other, i.e. load supporting surface, base surface and/or separate spacer
    • B65D2519/00557Structures connecting the constitutive elements of the pallet to each other, i.e. load supporting surface, base surface and/or separate spacer without separate auxiliary elements
    • BPERFORMING OPERATIONS; TRANSPORTING
    • B65CONVEYING; PACKING; STORING; HANDLING THIN OR FILAMENTARY MATERIAL
    • B65DCONTAINERS FOR STORAGE OR TRANSPORT OF ARTICLES OR MATERIALS, e.g. BAGS, BARRELS, BOTTLES, BOXES, CANS, CARTONS, CRATES, DRUMS, JARS, TANKS, HOPPERS, FORWARDING CONTAINERS; ACCESSORIES, CLOSURES, OR FITTINGS THEREFOR; PACKAGING ELEMENTS; PACKAGES
    • B65D2519/00Pallets or like platforms, with or without side walls, for supporting loads to be lifted or lowered
    • B65D2519/00004Details relating to pallets
    • B65D2519/00547Connections
    • B65D2519/00552Structures connecting the constitutive elements of the pallet to each other, i.e. load supporting surface, base surface and/or separate spacer
    • B65D2519/00557Structures connecting the constitutive elements of the pallet to each other, i.e. load supporting surface, base surface and/or separate spacer without separate auxiliary elements
    • B65D2519/00567Structures connecting the constitutive elements of the pallet to each other, i.e. load supporting surface, base surface and/or separate spacer without separate auxiliary elements mechanical connection, e.g. snap-fitted
    • BPERFORMING OPERATIONS; TRANSPORTING
    • B65CONVEYING; PACKING; STORING; HANDLING THIN OR FILAMENTARY MATERIAL
    • B65DCONTAINERS FOR STORAGE OR TRANSPORT OF ARTICLES OR MATERIALS, e.g. BAGS, BARRELS, BOTTLES, BOXES, CANS, CARTONS, CRATES, DRUMS, JARS, TANKS, HOPPERS, FORWARDING CONTAINERS; ACCESSORIES, CLOSURES, OR FITTINGS THEREFOR; PACKAGING ELEMENTS; PACKAGES
    • B65D2519/00Pallets or like platforms, with or without side walls, for supporting loads to be lifted or lowered
    • B65D2519/00004Details relating to pallets
    • B65D2519/00736Details
    • B65D2519/00741Dimensional aspects of the pallet
    • B65D2519/00771Dimensional aspects of the pallet smaller than "standard"
    • BPERFORMING OPERATIONS; TRANSPORTING
    • B65CONVEYING; PACKING; STORING; HANDLING THIN OR FILAMENTARY MATERIAL
    • B65DCONTAINERS FOR STORAGE OR TRANSPORT OF ARTICLES OR MATERIALS, e.g. BAGS, BARRELS, BOTTLES, BOXES, CANS, CARTONS, CRATES, DRUMS, JARS, TANKS, HOPPERS, FORWARDING CONTAINERS; ACCESSORIES, CLOSURES, OR FITTINGS THEREFOR; PACKAGING ELEMENTS; PACKAGES
    • B65D2519/00Pallets or like platforms, with or without side walls, for supporting loads to be lifted or lowered
    • B65D2519/00004Details relating to pallets
    • B65D2519/00736Details
    • B65D2519/00776Accessories for manipulating the pallet
    • B65D2519/00796Guiding means for fork-lift
    • BPERFORMING OPERATIONS; TRANSPORTING
    • B65CONVEYING; PACKING; STORING; HANDLING THIN OR FILAMENTARY MATERIAL
    • B65DCONTAINERS FOR STORAGE OR TRANSPORT OF ARTICLES OR MATERIALS, e.g. BAGS, BARRELS, BOTTLES, BOXES, CANS, CARTONS, CRATES, DRUMS, JARS, TANKS, HOPPERS, FORWARDING CONTAINERS; ACCESSORIES, CLOSURES, OR FITTINGS THEREFOR; PACKAGING ELEMENTS; PACKAGES
    • B65D2519/00Pallets or like platforms, with or without side walls, for supporting loads to be lifted or lowered
    • B65D2519/00004Details relating to pallets
    • B65D2519/00736Details
    • B65D2519/0081Elements or devices for locating articles
    • B65D2519/00815Elements or devices for locating articles on the pallet
    • BPERFORMING OPERATIONS; TRANSPORTING
    • B65CONVEYING; PACKING; STORING; HANDLING THIN OR FILAMENTARY MATERIAL
    • B65DCONTAINERS FOR STORAGE OR TRANSPORT OF ARTICLES OR MATERIALS, e.g. BAGS, BARRELS, BOTTLES, BOXES, CANS, CARTONS, CRATES, DRUMS, JARS, TANKS, HOPPERS, FORWARDING CONTAINERS; ACCESSORIES, CLOSURES, OR FITTINGS THEREFOR; PACKAGING ELEMENTS; PACKAGES
    • B65D2519/00Pallets or like platforms, with or without side walls, for supporting loads to be lifted or lowered
    • B65D2519/00004Details relating to pallets
    • B65D2519/00736Details
    • B65D2519/00825Finishing of the external surfaces
    • B65D2519/0083Anti-slip means
    • B65D2519/00835Integral
    • BPERFORMING OPERATIONS; TRANSPORTING
    • B65CONVEYING; PACKING; STORING; HANDLING THIN OR FILAMENTARY MATERIAL
    • B65DCONTAINERS FOR STORAGE OR TRANSPORT OF ARTICLES OR MATERIALS, e.g. BAGS, BARRELS, BOTTLES, BOXES, CANS, CARTONS, CRATES, DRUMS, JARS, TANKS, HOPPERS, FORWARDING CONTAINERS; ACCESSORIES, CLOSURES, OR FITTINGS THEREFOR; PACKAGING ELEMENTS; PACKAGES
    • B65D2519/00Pallets or like platforms, with or without side walls, for supporting loads to be lifted or lowered
    • B65D2519/00004Details relating to pallets
    • B65D2519/00736Details
    • B65D2519/00935Details with special means for nesting or stacking
    • B65D2519/00955Details with special means for nesting or stacking stackable
    • B65D2519/0096Details with special means for nesting or stacking stackable when empty

Definitions

  • the invention relates to a transport pallet for transporting a number of Objects, the objects also being a transport box for at least include another item, as well as an arrangement from the transport range and the transport box.
  • Such a transport pallet has a stand area on its underside and a support surface for supporting and carrying the to be transported Objects on.
  • the support surface and stand area are at a distance from each other and arranged substantially parallel to each other.
  • Between stand space and support surface one or more recesses are provided, which are limited upwards by a lifting means attack surface.
  • a lifting tool of a lifting device such as a forklift
  • intervene and the transport pallet including the one supported on it Lift and move objects.
  • An example of such a transport range is the widespread so-called Euro-Pallet, the supporting surface of which is the outside dimension 1200 mm x 800 mm.
  • the support surface is either continuous and coherent support surface formed in a Extends support surface level, or it has, for example for reasons of material saving, Recesses and interruptions, in the area of which Transport pallet does not support the objects to be transported. Except of these recesses are the remaining support surface areas however also all essentially in a common support surface plane arranged to the objects arranged on the transport pallet support.
  • Another example of this is the Euro pallet, the top of which by a plurality of spaced parallel wooden boards is formed. The tops of these boards form the individual Support surface areas and are arranged in the common support surface plane. In the area between adjacent boards, the distance from each other in is of the order of 10 cm, this transport range does not provide any Support surface ready.
  • This transport range can only handle such items carry safely, the horizontal dimensions of the distance between climb adjacent boards and have sufficient rigidity. Objects that are too small or those whose rigidity is too low come not a secure flat support on the supporting surface areas.
  • the transported ones Objects Due to the flat design of the transport pallet, the transported ones Objects only due to a frictional force between the objects and the support surface is protected against slipping relative to the transport pallet.
  • the Euro pallet made of comparatively rough wood accordingly shows some applications have acceptable coefficients of friction.
  • lighter ones Objects are transported with this transport pallet, so these will be usually with a net or rubber bands, which lashes around the pallet be kept on this.
  • the invention is based on a transport pallet with an underside, the at least one arranged in a horizontal base plane Stand area provides a top that has at least a first Support surface area for supporting the objects to be transported provides, the first support surface area in a substantially horizontal and arranged at a first distance from the base Support surface level is arranged, and at least one between the footprint level and the first support surface plane arranged lifting means attack surface area.
  • the invention is based on the idea of the whole of the support surface area provided by the transport pallet two types of supporting surface areas, which are at different distances are arranged from the stand area. This is the transport range adaptable to specific configurations of the objects to be transported, a first type of objects on the one type of support surface area is to be supported and a different kind of objects on the other Type of supporting surface area is to be supported.
  • the invention is characterized in that the top of the Transport pallet at least a second support surface area for support of the objects to be transported.
  • the second support area is in a substantially horizontal second support plane arranged, which has a second distance from the base, which is smaller is the first distance between the footprint and the first support plane.
  • the two types of support surface areas are not overlapping arranged side by side, the individual types of support surface areas not have to form contiguous surfaces, and alternately into one another can grip and enclose each other. Due to the multitude of Possibilities of the geometric arrangement of the two support surface areas to each other, is the range of transportation to transport specific items adaptable and thus expanded in its area of application.
  • the term supporting surface area here defines a limited area on the Designated top of the transport pallet, the surface elements in a common Level and to support the to be transported Serve objects.
  • a support surface area Has openings and recesses, for example, the material savings or serve to ventilate the objects to be transported.
  • recesses are dimensioned so small that those to be transported Objects cannot reach into them or fall into them can, but by the parts of the recess enclosing the recess Support area area are worn.
  • Material savings or ventilation is therefore a support for the items to be transported Objects not intended.
  • this is different in one case in a lower lying second support surface area from a first Support area area is enclosed.
  • the second support surface area forms to a certain extent a recess in the first support surface area, however, the second support surface area is intended for objects to support their transportation.
  • the distance between the first support surface plane and is preferably the second support surface level 2 to 7 mm, more preferably 3 to 5 mm and more preferably about 4 mm. This is the difference in the levels of the individual types of support surface areas so small that flexible Items such as Cardboard boxes from the higher one Support area on the lower lying second support area protrude, are also supported by the second support surface area, since the flexible objects deform or bend in such a way that they Level difference between the two types of support areas can compensate.
  • first support surface area and that at this adjacent adjoining second support surface area is horizontal seen stretched over any area, so is this transition is preferably limited to a shorter distance such that there is a noticeable limited edge.
  • This flank can be vertical to the horizontal or at a different angle to it Extend horizontally.
  • the course of these flanks on the top of the Transport pallet is through the arrangement of the first and second support surface areas determined relative to each other. These are preferably support surface areas arranged in such a way that at least a few of them are to be pointed towards one another or upper flanks pointing away from one another.
  • flanks of this pair preferably each extend at an angle of about 45 ° to the horizontal and therefore at one Angles of approximately 90 ° relative to each other. This makes the special one to be transported Object when arranging on the transport pallet with some Reliability in its target position on the transport pallet.
  • the various support surface areas are preferably arranged such that one type of support surface area is essentially completely the other surrounds, and the latter thus forms a kind of island in the former.
  • This enables one Protection of the object to be transported against slipping essentially any horizontal direction.
  • An embodiment is preferred here, where the one lying at a lower level than the first supporting surface area second support surface area at a third distance from one
  • the outer edge of the transport pallet essentially completely around it extends.
  • the transport pallet is on the transport of for example Adjusted boxes with stacking edge.
  • Such a box has an upper one Box edge on which another box can be stacked, the with its protruding on its underside, essentially revolving Stack edge engages in the upper edge of the box below.
  • the stack edge accordingly has a width corresponding to the width of the box edge Distance from the outer edge of the box. This distance corresponds then essentially the third distance below which the second Support surface area is arranged from the outer edge of the transport pallet.
  • the invention is based on the idea of the transport pallet to be designed in such a way that also one on the transport pallet arranged further transport pallet is secured against slipping. Accordingly the invention is characterized in that protruding on its top Webs are arranged that extend up to the first support surface area extend a fourth distance from the floor plane. Vertical a corresponding recess on the underside is then below the web the transport pallet is provided so that stacked transport pallets by engaging webs in corresponding recess arranged above are secured against slipping relative to each other.
  • the level difference between the first support area and the The top edge of the web is preferably 2 to 7 mm, more preferably 3 to 5 mm and more preferably about 4 mm. This can cause this level difference be dimensioned so large that a safe engagement of webs in corresponding Recesses against slipping is possible and on the other hand flexible objects, such as cardboard boxes, due to this level difference not be damaged, for example buckled, but adapt to it and be supported flat.
  • the invention is based on the idea that Transport pallet for interaction with a special type of transport box to train.
  • This transport box has a rectangular bottom wall and four side walls hinged to the sides of the bottom wall, wherein the upper edges of the four side walls facing away from the bottom wall together form an upper box edge.
  • the top of each side wall has at least a pair of facing or facing each other pioneering box edge flanks, d. H. the top edge alternately Sub-sections arranged at different levels with respect to the bottom wall on, the adjoining sub-areas each by a such box edge are separated.
  • the bottom of the Transport box assigned to each side of the box edge vertically below this arranged corresponding box bottom flank.
  • This kind of transport box has the advantage that the weight is placed above it Transport boxes over essentially the entire side walls on one lowest transport box supporting surface is transferable.
  • the transport pallet and at least one transport box are in at least the following arrangements can be transported together: at least one transport box, in particular several transport boxes arranged side by side in pairs, are arranged on the transport pallet or the transport pallet is on at least one, especially several in pairs side by side arranged, transport boxes arranged.
  • the transport pallet is according to the invention characterized in that the top of each box bottom flank assigned to the transport box also has an upper flank that extends essentially parallel to the box bottom flank, so that the transport pallet arranged and carried by this by placing pairs from the top flanks of the transport pallet above arranged corresponding pairs of box bottom flanks against slipping is secured relative to the transport pallet.
  • the transport pallet is in accordance with the invention characterized in that the underside of each box edge assigned a lower flank that is substantially parallel extends to the edge of the box, so that on the transport box arranged and carried by this transport pallet by planting Pairs of box edge flanks on corresponding ones arranged above Pairs of lower flanks of the transport pallet against slipping relative to the transport box is secured.
  • the width of the box edge is limited by the width of the side wall, and the width of the box bottom flank in the direction transverse to the direction of extension the side wall is matched to the width of the box edge.
  • the upper flank of the transport pallet is preferred, seen in a direction transverse to the direction of extension of the side wall the transport box arranged in its target position on the transport pallet, wider than it is the width of the side wall of the transport box corresponds.
  • This increased width of the second upper flank is preferably achieved by a combination with the first and second aspects of the invention by namely the flank surface of the second upper flank is formed by two Subareas, the first subarea by the between the second support surface level and the first support surface plane extending first upper flank is provided, and the second partial surface by an end flank of the the second support surface level up to the fourth distance from the stand surface level extending web is formed.
  • the transport box preferably has one on the underside of the transport box protruding runners, the longitudinal ends of which are pointing away from each other Box bottom flanks are formed. These runners come with the intended Positioning on the transport pallet preferably on the arranged at a lower level with respect to the first support surface area second support surface area to the system, and at the top of the transport pallet is then preferably at least a pair of strips before the The container partially grips on the runners to prevent it from slipping to secure. These strips are preferably flush with the outer edge aligned with the transport range.
  • the bar on the second side support surface area arranged at a lower level protrudes up to the level of the first Support area. It is further preferred that the bar is flush with the outside of the web is aligned and / or flush with the outer edge of the Transport pallet is aligned.
  • FIGS. 1-6 A transport pallet 1 according to the invention is shown in FIGS. 1-6.
  • she has an upper deck 3 and a bottom 5, the bottom 5 by three Skids 7 arranged parallel to one another at a distance from one another is.
  • Each runner 7 is connected to the upper deck 3 by a pair of feet 9 each.
  • the transport pallet 1 is a so-called half-pallet in relation to the so-called Euro pallet designed as a full pallet.
  • the Euro pallet has a width of 800 mm and a length of 1200 mm. Accordingly, the transport pallet 1 has a width b of 600 mm and a length 1 of 800 mm, so that two transport pallets 1 can be arranged side by side on a full pallet.
  • the one corresponding to the norm Full pallet has a mirror-symmetrical arrangement of feet on, support feet are also arranged centrally in the plane of symmetry.
  • the pair is a runner 7 carrying feet 9 in one Side view asymmetrical. This is the left foot 9 in FIG.
  • the in Fig. 1 right foot 9 is offset with respect to a front edge 13 of the pallet 1 arranged inside.
  • In the recess 15 and 17 can, for example, retract a pair of forks of a forklift as a lifting device, to lift the pallet 1, the pair of forks on an underside 19 of the Upper deck 3 comes to rest.
  • the undersides of the three runners 7 are in a common standing plane 21 arranged.
  • An upper side 23 of the upper deck 3 has two types of standing surface areas on:
  • the stand areas of a first type are in one common support surface level 25 arranged from the footprint level 21 has a distance d1 of 160 mm.
  • the support surface areas of the second kind are arranged in a further common support surface plane 27, the has a distance d2 of 156 mm from the standing surface level.
  • the standing surface level 21 are thus the two types of supporting surface areas arranged with a level difference of 4 mm.
  • Support area areas of the first type are as islands within the lower lying Support surface areas of the second type arranged and include four square Support surfaces 31, four rectangular elongated support surfaces 33, two more complicated bordered support surfaces 35 and two also more complicated bordered Support surfaces 37.
  • the lower arranged support surface areas of the second type include support surfaces 41, each of the support surfaces 41 one of the square higher support surfaces 31 encloses support surfaces 43, each of the support surfaces 43 one of the higher elongate support surfaces 33 encloses, along the rear edge 11 extending support surfaces 45, along the front edge 13 extending support surfaces 47, along a left outer edge 48 of the transport pallet 1 extending support surfaces 49, extending along a right outer edge 51 of the transport pallet 1 Support surfaces 53, support surfaces 57 extending on both sides of central strips 55 and two support surfaces 59, each on one side from the higher lying support surface 35 and on the other side of the higher lying Support surface 37 is limited.
  • the function of the higher support surfaces 31 and 33 and the surrounding them lower lying support surface 41 and 43 are in connection with 7 and 8 explains:
  • These show a conventional pallet 201, the under the name CHEP is sold and its width 400 mm and its length Is 600 mm.
  • This pallet 201 is thus a so-called quarter pallet, and it can two such quarter pallets 201 on the transport pallet 1 side by side to be ordered.
  • the pallet 201 has two rear feet 203 with one essentially square base 205 and two front feet 207 each with an essentially rectangular, elongated base surface 209 on.
  • the feet 203 and 207 are hollow inside, formed by winch 211 and open at the bottom. That is, the rear feet 203 edged the Wall 211 each have a square recess 213, and in the front Feet 207 surround the wound 211 in each case an elongated rectangular Recess 215.
  • the higher square standing surface 31 of substantially vertically extending, opposed to each other in pairs Flanks 61, 62, 63 and 64 surround, soften the level difference between the higher standing surface 31 and the lower one that gives it Bridge stand area 41.
  • the higher, elongated one is similar rectangular base 33 of mutually opposite flanks 65, 66, 67 and 68 unirade, which each extend vertically and the Level difference between the stand area 33 and the surrounding area is lower bridge the standing area 43.
  • the pallet 201 can be arranged on the transport pallet 1 in such a way that the rear support feet 203 of the pallet 201 on the support surfaces 41 of the Support the transport pallet 1 and that the undersides 209 of the front Support feet 207 on the support surfaces 43 of the transport pallet 1. Then the flanks 61-64 engage the recess on the higher support surface 31 213 of the rear support feet 203 of the pallet 201, and the flanks 65-68 of the higher support surface 33 engage in the recesses 215 of the front Pallet 201 feet. Due to this intervention, the pallet 201 is on the Transport pallet 1 secured against slipping.
  • the lower support surfaces 57 are opposite the higher ones Support surfaces 35 and 37 delimited by vertical flanks 69, the lower lying Support surfaces 45 are opposite the support surface 35 by a vertical flank 71 limited, the lower support surfaces 47 are compared to the higher Support surfaces 37 delimited by vertical flanks 71, and the lower ones Support surfaces 53 are opposite the higher support surfaces 35 and 37 delimited by flanks 72.
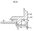
  • the flanks 69, 70, 71 mmd 72 are used for engagement with a transport box, such as the one under the name EPS is distributed by the applicant. This intervention is explained in FIG. 12.
  • the Transport box has a width of 400 mm and a length of 600 mm and thus the format of a quarter pallet. There can be two such boxes 221 can be arranged side by side on the transport pallet 1.
  • Box 221 has on its underside a distance from an outer edge 223 of Transport box 221 arranged stacking edge 225 on.
  • the stacking edge 225 extends over substantially the entire circumference of the box 221 and engages when stacking boxes 221 in their upper edge.
  • an inner edge 227 of the stacking edge 225 comes into contact with the flanks 69, 70, 71 and 72, the outer wall 11, 13, 48 and 51 of the transport pallet 1 with a distance d3 are arranged.
  • This system on the flanks secures the Box 221 against slipping relative to the transport pallet 31. This Protection against slipping takes place in both horizontal directions because the flanks 69 and 72 or 70 and 71 point away from each other in pairs.
  • transport pallet 1 can be stacked one above the other, whereby the transport pallets 1 against slipping relative to each other as follows are secured: At the top 23 of the transport pallet are each flush with the outer edges 11, 13, 48 and 51 themselves along the outer edges extending webs 75 and 79 arranged.
  • the webs 75 extend here each over corners of the transport pallet 1, and the stage 79 extend each centered on the outer edges 11, 13, 48 and 51. Extend upwards the webs 75, 79 up to a distance d4 of 164 mm from the standing surface level 21 and thus by 4 mm over the first type of stand areas with their higher standing areas.
  • a depth t1 of the recesses 81 and 83 with respect to FIG Footprint level 21 is 10 mm and thus exceeds the height of 4 mm, by which the stages 75 and 79 protrude beyond the higher stand areas. Consequently it is ensured that the higher standing surfaces 31, 33, 35 and 37 the runners 7th support a transport pallet arranged above it and a Varrutachen the Transpartpalettan 1 arranged one above the other through the intervention the stage 75 and 79 in the recess 81 and 83 is prevented.
  • the transport pallet 1 is also for use together with transport boxes which are sold under the name IFCO and which are in the 9-11 are shown.
  • a transport box 301 open at the top has a rectangular bottom wall 303 with a short edge length c and one long edge length d.
  • On the short sides of the bottom wall 303 are vertical upwardly extending short side walls 305 hinged to the two the opposite sides of the long sides of the bottom wall 303 long side walls 307 articulated.
  • the side walls 305 and 307 are connected to each other so that a stable, open transport box is formed.
  • the Box edge 313 is divided into three in the area of long side walls 307 higher lying sections 315 and two each between two higher lying Sub-sections 315 arranged lower-lying sub-sections 317.
  • the box edge 313 comprises two higher lying sections 319 and one between these two lying higher Sections 319 arranged lower lying section 321.
  • a Height difference between the higher sections 315 and 319 and the lower sections 317 and 321 is e.
  • a transition between the higher sections 315 and 319 and the lower sections Sections 317 and 321 takes place via box edge flanks 323, which extend at an angle of 45 ° to the horizontal.
  • the bottom wall 803 is vertically below each lying section 321 of the short side wall 305 a runner 329, which also protrudes from the bottom wall 303 by the dimension e. At her On the end faces, this runner 329 is also delimited by flanks 327, which likewise are oriented at 45 ° to the horizontal.
  • the Transport boxes 301 When stacking the Transport boxes 301 then support the runners 329 on the lower ones Partial area 321 of the short side walls 305, the interaction of the Box edge flanks 323 with the box bottom flanks 327 for centering of the boxes leads in the direction of extension of the short side walls 305. in the The example shown is, as can be seen from FIG.
  • the runner 329 in two parts executed and interrupted in the middle to transmit power to the To avoid side wall 305 in the region of a handle recess 331.
  • One Effect of skid 329 in terms of power transmission to sidewall 305 in general as well as the centering effect by the flanks 327 and 323 does this no termination.
  • edge strips 101 extend starting from from the lower support surfaces 45, 47, 49 and 53 by about 4 mm up to the level of the higher support surfaces 31, 33, etc. Also extend the central strips 55, starting from the lower ones Support surfaces 57 by about 4 mm up to the level of the higher Support surfaces. Seen in the horizontal direction, the edge strips extend 101 continuously between the webs 75 and 79.
  • One each opposite pair of strips 101 and 57 encompasses the transport box 301 on its runners 327 and 329 and thus secures it against slipping to the transport pallet 1.
  • Box 301 is also moved to the transport pallet by a second mechanism 1 secured against slipping: namely the transport pallet 1 points large upper flanks 103, which limit the webs 75 and 79 in the longitudinal direction and are inclined at 45 ° to the horizontal.
  • the flanks 103 are of this type arranged that they abut the box bottom flanks 327 of the on the transport pallet 1 arranged transport box 301 arrive. Due to the oblique orientation of the upper flanks 103 and the box bottom flanks 327 the transport box 301 is also on the transport pallet 1 when it is parked centered on it in its target position.
  • the width of the webs 75 and 79 corresponds about the width of the runners 325 and 329, so that the end faces already of the webs 75 and 79 a full-surface contact of the box bottom flanks 327 could guarantee.
  • the upper flanks 103 are made wider in their lower area, than it corresponds to the width of the webs 75 and 79, even when not in their target position arranged transport boxes 301 over the flanks 103 a centering effect to reach. Furthermore, this increase in the width of the flanks 103 is advantageous when using transport boxes 301 made of plastic, which in As a result of an aging process, their nominal size has shrunk.
  • the flank 103 has an L-shaped shape, the part of the L-shape extending from top to bottom through the end face of the web 75 or 103 is formed and the horizontally extending part of the L-shape through a beveled end face adjacent to the end of the Web 75 and 79 arranged support block 105 is formed.
  • the support block 105 extends from the deeper support surfaces 47, 49, 45, 53 to the Level of the higher support surfaces 35, 37 etc..
  • the flat undersides of the runners 7 are supported on the lower ones Sections 317 and 321 of the box edge 313.
  • the higher lying sections 315 and 319 of the box edge 313 engage in corresponding recesses 107 in the underside of the runners 7.
  • the recesses 107 are partly formed by the recesses already described above 81 and 83 for engaging the webs 75 and 79 when stacking several Transport pallets 1.
  • the recesses 107 have the depth t1 of 10 mm, that of size e of 10 mm, by the amount of skids 325 and 329 protrude from the box bottom 303 corresponds.
  • each runner 7 has a further recess extending in the longitudinal direction thereof 107 provided around the middle higher sections 311 the long box side wall 307 of the transport box 301.
  • the Recesses 107 have at their ends extending at 45 ° to the horizontal Flanks 109 on that with the box edge flanks 323 of the transport box 301 cooperate to the transport pallet 1 with respect to the two to center transport boxes 301 arranged underneath.
  • the runners 325 of the transport box 301 rest on the lower support surfaces 45, 47 or 59.
  • the runners 329 among the short ones Side walls 305 of the transport box 301 are supported on the lower ones Support surfaces 49, 57 or 53.
  • the widened ones also contribute to this Areas of the large upper flanks 103 that are used to center the large transport box 301 are provided at.
  • these runners 325, 329 of the small transport box 301 protrude by the dimension e of 5 mm on the box base 303, these runners 325, 329 come on the lower-lying support surfaces, which only by 4 mm below the level of the higher supporting surfaces are safe to the facility.
  • the undersides of the runners 7 are supported on the lower ones Subregions 317 and 321 of the box edge 313.
  • the by the dimension e of 5 mm arranged above the lower sections 317 and 321 higher sections 315 and 319 of the box edge 313 in turn engage in recesses in the runners 7.
  • the recesses 107 of the depth t1 of 10 mm is used, also for the engagement of the higher parts serve the edge of the box of the large transport box.
  • there are further recesses 111 of a depth t2 of 5 mm are also provided, move transversely to the direction of extension of the runners 7 in the middle of each extend.
  • These recesses 111 are also delimited by flanks 113, soft with the box edge flanks 323 of the long side walls 307 for centering the transport pallet 1 interact.
  • the transport pallet 1 can be made as a plastic part, for example the upper deck 3 is formed from a continuous plate in which the lower support surfaces, the higher support surfaces, the webs and the Last are introduced via an embossing process. It is also possible that To produce the upper deck and / or the feet together with the runners as extrusion parts and this by providing internal gas pressure or a similar process to design the feet, the runners and / or the upper deck as hollow.
  • Recesses 121 can be provided in the support surfaces, as shown in FIGS 5 and 6 is indicated. These recesses are used for ventilation of the Top of the transport range and are so small that they are also flexible Objects are not pressed into it. This distinguishes the recesses 121, which in addition to ventilation also save material can, from the recesses, than the lower support surfaces in relation can be viewed on the higher support surfaces.
  • the Level difference between the lower and higher ones The supporting surface is so small that even flexible objects such as cardboard boxes, even if they bridge two higher support surfaces and be pushed in between them by one between these two higher support surfaces arranged, lower support surface received flat and be supported.
  • the level difference between the higher support areas and the even higher tops the webs 75 and 79 are chosen so small that such sensitive and flexible Objects are not excessively bent or damaged.
  • the top of the transport pallet can have a large number of recesses for ventilation and material saving, such as that of the Transport box according to FIGS. 9 to 11 ago is known. Except for these The upper side then provides recesses of two types of supporting surface areas ready, the support surfaces are each in a common plane.
  • the idea of the invention can also be extended to a transport range, which are not just two types of support surface areas with different Level, but has three or more types of support surface areas.
  • the upper edges of the strips 75 and 79, which of the Stand plane 21 have the distance d4, already as such further support surface area can be considered.
  • the transport pallet 1 has two on each of its outer edges 48 and 51 Recesses 119, the upper edges of which from the standing surface level 21 have a smaller distance than corresponds to the distances d1, d2 and d4.
  • These recesses can be extensions of on the transport pallet 1 arranged boxes, which partially surround the outer edges 48 and 51, intervene and hold this box on the transport pallet by exerting tension.
  • These recesses 119 can also be independent on the transport pallet of the formation of the top with two types of support surfaces and independent from the provision of flanks on top of the transport pallet be provided.
  • the transport pallet was a half-pallet described. However, it can also be used as a full pallet or as a quarter pallet or be formed in any other way.

Landscapes

  • Engineering & Computer Science (AREA)
  • Mechanical Engineering (AREA)
  • Pallets (AREA)
  • Stackable Containers (AREA)

Abstract

Es wird eine Transportpalette zum Transport einer Anzahl von Gegenständen vorgeschlagen, welche eine Transportkiste für wenigstens einen weiteren Gegenstand umfassen: Eine Unterseite 5, die wenigstens einen in einer horizontalen Standflächenebene angeordneten Standflächenbereich 7 der Transportpalette 1 bereitstellt, eine Oberseite 23, die wenigstens einen ersten Stützflächenbereich 31, 33, 35, 37 zum Abstützen der Gegenstände zu deren Transport bereitstellt, wobei der erste Stützflächenbereich in einer im wesentlichen Horizontalen und mit einem ersten Abstand von der Standflächenebene angeordneten ersten Stützflächenebene angeordnet ist, und wenigstens einen zwischen der Standflächenebene und der ersten Stützflächenebene angeordneten Hubmittelangriffsflächenbereich 19. Die Transportpalette 1 ist dadurch gekennzeichnet, daß die Oberseite 23 wenigstens einen zweiten Stützflächenbereich 41, 43,45, 47, 49, 53, 57 zum Abstützen der Gegenstände zu deren Transport bereitstellt, wobei der zweite Stützflächenbereich in einer im wesentlichen horizontalen zweiten Stützflächenebene 27 angeordnet ist, die mit einem zweiten Abstand, der kleiner ist als der erste Abstand, von der Standflächenebene angeordnet ist. Ferner weist die Transportpalette Mittel zur Verhinderung eines Varrutschens von übereinander gestapelten Transportpaletten sowie Mittel zur Sicherung gegenüber Verrutschen von auf dar Transportpalette paarweise nebeneinander angeordneten Transportkisten bzw. einer auf diasan Transportkästen angeordneten Transportpalette auf.

Description

Die Erfindung betrifft eine Transportpalette zum Transport einer Anzahl von Gegenständen, wobei die Gegenstände auch eine Transportkiste für wenigstens einen weiteren Gegenstand umfassen, sowie eine Anordnung aus der Transportpalette und der Transportkiste.
Eine solche Transportpalette weist an ihrer Unterseite eine Standflache und an ihrer Oberseite eine Stützfläche zum Abstützen und Tragen der zu transportierenden Gegenstände auf. Stützfläche und Standfläche sind mit Abstand voneinander und im wesentlichen parallel zueinander angeordnet. Zwischen Standfläche und Stützfläche sind eine oder mehrere Ausnehmungen vorgesehen, die nach oben durch eine Hubmittelangriffsfläche begrenzt sind. In diese Ausnehmung kann ein Hebewerkzeug eines Hubmittels, wie beispielsweise eines Gabelstaplers, eingreifen und die Transportpalette samt der darauf abgestützten Gegenstände anheben und umsetzen. Ein Beispiel für eine solche Transportpalette ist die weitverbreitete sog. Euro-Palette, deren Stützfläche die Außlenmaße 1200 mm x 800 mm aufweist.
Bei der bekannten Transportpalette ist die Stützfläche entweder als durchgehende und zusammenhängende Stützfläche ausgebildet, die sich in einer Stützflächenebene erstreckt, oder sie weist, beispielsweise aus Gründen zur Materialersparnis, Ausnehmungen und Unterbrechungen auf, in deren Bereich die Transportpalette die zu transportierenden Gegenstände nicht unterstützt. Abgesehen von diesen Ausnehmungen sind die verbleibenden Stützflächenbereiche jedoch ebenfalls sämtlich im wesentlichen in einer gemeinsamen Stützflächenebene angeordnet, um die auf der Transportpalette angeordneten Gegenstände zu unterstützen. Ein Beispiel hierfür bildet wiederum die Euro-Palette, deren Oberseite durch eine Mehrzahl mit Abstand voneinander angeordneter paralleler Holzbretter gebildet ist. Die Oberseiten dieser Bretter bilden die einzelnen Stützflächenbereiche und sind in der gemeinsamen Stützflächenebene angeordnet. Im Bereich zwischen benachbarten Brettern, deren Abstand voneinander in der Größenordnung von 10 cm liegt, stellt diese Transportpalette keinerlei Stützfläche bereit. Somit kann diese Transportpalette lediglich solche Gegenstände sicher tragen, deren horizontale Abmessungen den Abstand zwischen benachbarten Brettern übersteigen und die eine ausreichende Steifigkeit aufweisen. Zu kleine Gegenstände oder solche, deren Steifigkeit zu gering ist, kommen an den Stützflächenbereichen nicht zu einer sicheren flächigen Auflage.
Aufgrund der flächigen Ausbildung der Transportpalette sind die transportierten Gegenstände lediglich aufgrund einer Reibungskraft zwischen den Gegenständen und der Stützfläche gegen Verrutschen relativ zu der Transportpalette geschützt. Die aus vergleichsweise rauhem Holz gefertigte Euro-Palette weist demgemäß für manche Anwendungen akzeptable Reibwerte auf. Sollen insbesondere leichtere Gegenstände mit dieser Transportpalette transportiert werden, so werden diese üblicherweise mit einem Netz oder Gummibändern, welche um die Palette verzurrt werden, auf dieser gehalten.
Es ist eine Aufgabe der vorliegenden Erfindung, eine Transportpalette bereitzustellen, deren Einsatzbereich in Bezug auf die zu transportierenden Gegenstände erweitert ist.
Die Erfindung geht dabei aus von einer Transportpalette mit einer Unterseite, die wenigstens einen in einer horizontalen Standflächenebene angeordneten Standflächenbereich bereitstellt, einer Oberseite, die wenigstens einen ersten Stützflächenbereich zum Abstützen der zu transportierenden Gegenstände bereitstellt, wobei der erste Stützflächenbereich in einer im wesentlichen horizontalen und mit einem ersten Abstand von der Standfläche angeordneten ersten Stützflächenebene angeordnet ist, und wenigstens einem zwischen der Standflächenebene und der ersten Stützflächenebene angeordneten Hubmittelangriffsflächenbereich.
Gemäß einem ersten Aspekt liegt der Erfindung die Idee zugrunde, den gesamten von der Transportpalette bereit gestellten Stützflächenbereich zu unterteilen in zwei Arten von Stützflächenbereichen, welche mit unterschiedlichem Abstand von dem Standflächenbereich angeordnet sind. Hierdurch ist die Transportpalette auf spezifische Ausgestaltungen der zu transportierenden Gegenstände anpaßbar, wobei eine erste Art von Gegenständen an der einen Art von Stützflächenbereich abzustützen ist und eine andere Art von Gegenständen an der anderen Art von Stützflächenbereich abzustützen ist.
Entsprechend ist die Erfindung dadurch gekennzeichnet, daß die Oberseite der Transportpalette wenigstens einen zweiten Stützflächenbereich zum Abstützen der zu transportierenden Gegenstände bereitstellt. Der zweite Stützflächenbereich ist in einer im wesentlichen horizontalen zweiten Stützflächenebene angeordnet, die von der Standfläche einen zweiten Abstand aufweist, der kleiner ist als der erste Abstand zwischen der Standfläche und der ersten Stützflächenebene.
In Draufsicht sind die beiden Arten von Stützflächenbereichen nicht überlappend nebeneinander angeordnet, wobei die einzelnen Arten von Stützflächenbereichen nicht zusammenhängende Flächen bilden müssen, und auch abwechselnd ineinander greifen und einander umschließen können. Durch die Vielzahl von Möglichkeiten der geometrischen Anordnung der beiden Stützflächenbereiche zueinander, ist die Transportpalette an den Transport spezifischer Gegenstände anpaßbar und somit in ihrem Einsatzbereich erweitert.
Für die Erfindung ist hierbei wesentlich, daß sämtliche Stützflächenbereiche der ersten bzw. der zweiten Art im wesentlichen in einer gemeinsamen Ebene angeordnet sind, denn dadurch bleibt der flächige Charakter der Oberseite der Transportpalette erhalten, so daß nicht nur die speziellen Gegenstände, an weiche die Gestaltung der ersten und zweiten Stützflächenbereiche angepaßt ist, transportiert werden können, sondern auch weitere Gegenstände mit beliebiger Gestalt, die dann von der ersten Art Stützflächenbereich oder/und der zweiten Art Stützflächenbereich abgestützt werden.
Mit dem Begriff Stützflächenbereich wird hier ein umgrenzter Bereich auf der Oberseite der Transportpalette bezeichnet, dessen Flächenelemente in einer gememsamen Ebene liegen und zur Unterstützung der zu transportierenden Gegenstände dienen. Hierbei ist es jedoch möglich, daß ein solcher Stützflächenbereich Öffnungen und Ausnehmungen aufweist, die beispielsweise der Materialersparnis oder der Belüftung der zu transportierenden Gegenstände dienen. Derartige Ausnehmungen sind jedoch so klein bemessen, daß die zu transportierenden Gegenstände in diese nicht eingreifen können oder in diese hineinfallen können, sondern durch die die Ausnehmung umschließenden Teile des Stützflächenbereiches getragen werden. Im Bereich dieser Ausnehmungen zur Materialersparnis oder Belüftung ist somit eine Abstützung der zu transportierenden Gegenstände nicht beabsichtigt. Anders ist dies jedoch in einem Fall, in dem ein tiefer liegender zweiter Stützflächenbereich von einem ersten Stützflächenbereich umschlossen ist. In diesem Fall bildet der zweite Stützflächenbereich zwar gewissermaßen eine Ausnehmung in dem ersten Stützflächenbereich, allerdings ist der zweite Stützflächenbereich dazu vorgesehen, Gegenstände zu deren Transport zu unterstützen.
Vorzugsweise beträgt der Abstand zwischen der ersten Stützflächenebene und der zweiten Stützflächenebene 2 bis 7 mm, weiter bevorzugt 3 bis 5 mm und noch weiter bevorzugt etwa 4 mm. Hierdurch ist der Unterschied in den Niveaus der einzelnen Arten von Stützflächenbereichen so gering bemessen, daß flexible Gegenstände, wie z.B. Kartonagen, die von dem höher liegenden ersten Stützflächenbereich auf den niedriger liegenden zweiten Stützflächenbereich ragen, ebenfalls von dem zweiten Stützflächenbereich flächig getragen werden, da sich die flexiblen Gegenstände derart verformen bzw. verbiegen, daß sie den Niveauunterschied zwischen den beiden Arten von Stützflächenbereichen ausgleichen können.
Obwohl ein Übergang zwischen dem ersten Stützflächenbereich zu dem an diesen benachbart angrenzenden zweiten Stützflächenbereich sich in der Horizontalen gesehen langgezogen über einen beliebigen Bereich erstrecken kann, so ist dieser Übergang vorzugsweise derart auf eine kürzere Strecke begrenzt, so daß dort eine merkliche begrenzte Flanke gebildet ist. Diese Flanke kann sich senkrecht zur Horizontalen oder auch unter einem hiervon verschiedenen Winkel zur Horizontalen erstrecken. Der Verlauf dieser Flanken auf der Oberseite der Transportpalette ist durch die Anordnung der ersten and zweiten Stützflächenbereiche relativ zueinander bestimmt. Vorzugsweise sind diese Stützflächenbereiche derart angeordnet, daß wenigstens ein paar von aufeinanderzuweisenden oder voneinander wegweisenden oberen Flanken gebildet ist. Durch die Anpassung dieser Flanken an einen spezifischen zu transportierenden Gegenstand ist es möglich, die Transportpalette turn Transport dieses Gegenstands derart zu spezialisieren, daß er mit dem Flankenpaar derart in Eingriff gelangt, daß er formschlüssig gegen Verrutschen bezüglich der Transportpalette auf dieser gesichert ist. Die Flanken dieses Paars erstrecken sich vorzugsweise jeweils unter einem Winkel von etwa 45° zur Horizontalen and damit unter einem Winkel von etwa 90° relativ zueinander. Hierdurch wird der spezielle zu transportierende Gegenstand beim Anordnen auf der Transportpalette mit einiger Zuverlässigkeit in seine Sollposition auf der Transportpalette geführt.
Vorzugsweise sind die verschiedenen Stützflächenbereiche derart angeordnet, daß die eine Art von Stützflächenbereich die andere im wesentlichen vollständig umgibt, and letztere somit eine Art Insel in ersterer bildet. Dies ermöglicht einen Schutz des zu transportierenden Gegenstands gegenüber Verrutschen in im wesentlichen jeder horizontalen Richtung. Hierbei ist eine Ausführung bevorzugt, bei der der gegenüber dem ersten Stützflächenbereich auf tieferem Niveau liegende zweite Stützflächenbereich sich in einem dritten Abstand von einem Außenrand der Transportpalette im wesentlichen vollständig um diese herum erstreckt. Dann nämlich ist die Transportpalette an den Transport von beispielsweise Kästen mit Stapelrand angepaßt. Ein solcher Kasten weist einen oberen Kastenrand auf, auf welchem ein weiterer Kasten gestapelt werden kann, der mit seinem an dessen Unterseite vorstehenden, im wesentlichen umlaufenden Stapelrand in den oberen Kastenrand des darunter liegenden Kastens eingreift. Der Stapelrand weist demgemäß einen der Breite des Kastenrands entsprechenden Abstand vom Außenrand des Kastens auf. Dieser Abstand entspricht dann im wesentlichen dem dritten Abstand, unter dem der zweite Stützflächenbereich von dem Außenrand der Transportpalette angeordnet ist.
Unter einem zweiten Aspekt liegt der Erfindung die Idee zugrunde, die Transportpalette derart auszugestalten, daß auch eine auf der Transportpalette angeordnete weitere Transportpalette gegenüber Verrutschen gesichert ist. Demgemäß ist die Erfindung dadurch gekennzeichnet, daß an ihrer Oberseite vorstehende Stege angeordnet sind, die sich über den ersten Stützflächenbereich bis zu einem vierten Abstand von der Standflächenebene hinaus erstrecken. Vertikal unterhalb des Stegs ist dann eine entsprechende Ausnehmung an der Unterseite der Transportpalette vorgesehen, so daß übereinander gestapelte Transportpaletten durch Eingriff von Stegen in darüber angeordnete entsprechende Ausnehmung gegen Verrutschen relativ zueinander gesichert sind.
Der Niveauunterschied zwischen dem ersten Stützflächenbereich und der Oberkante des Stegs beträgt vorzugsweise 2 bis 7 mm, stärker bevorzugt 3 bis 5 mm und noch weiter bevorzugt etwa 4 mm. Hierdurch kann dieser Niveauunterschied so groß bemessen werden, daß ein sicherer Eingriff von Stegen in entsprechende Ausnehmungen gegenüber Verrutschen ermöglicht ist und andererseits flexible Gegenstände, wie etwa Kartonagen, durch diesen Niveauunterschied nicht beschädigt, etwa geknickt, werden, sondern sich daran anpassen und flächig abgestützt werden.
Eine lediglich geringe Beeinträchtigung der zu tragenden Gegenstände wird vorzugsweise dann erreicht, wenn der Steg bündig mit einem Außenrand Transportpalette ausgerichtet ist.
Unter einem noch weiteren Aspekt liegt der Erfindung die Idee zugrunde, die Transportpalette zur Zusammenwirkung mit einer besonderen Art von Transportkasten auszubilden. Dieser Transportkasten weist eine rechteckige Bodenwand und vier an den Seiten der Bodenwand angelenkte Seitenwände auf, wobei die von der Bodenwand abgewandten oberen Ränder der vier Seitenwände zusammen einen oberen Kastenrand bilden. Der obere Rand einer jeden Seitenwand weist wenigstens ein paar von aufeinanderzuweisenden oder voneinander wegweisenden Kastenrandflanken auf, d. h. der obere Rand weist abwechselnd mit unterschiedlichem Niveau bezüglich der Bodenwand angeordnete Teilabschnitte auf, wobei die aneinandergrenzenden Teilbereiche jeweils durch eine solche Kastenrandflanke getrennt sind. Um übereinander gestapelte Transportkästen gegen Verrutschen relativ zu einander zu sichern, weist der Boden des Transportkastens einer jeden Kastenrandflanke zugeordnet eine vertikal unter dieser angeordnete entsprechende Kastenbodenflanke auf. Diese Art von Transportkasten hat den Vorteil, daß die Gewichtskraft von darüber angeordneten Transportkästen über im wesentlichen die gesamten Seitenwände auf eine den untersten Transportkasten stützende Fläche übertragbar ist.
Die Transportpalette und wenigstens ein Transportkasten sind in wenigstens den folgenden Anordnungen zusammen transportierbar: Wenigstens ein Transportkasten, insbesondere mehrere paarweise nebeneinander angeordnete Transportkisten, sind auf der Transportpalette angeordnet oder die Transportpalette ist auf wenigstens einem, insbesondere mehreren paarweise nebeneinander angeordneten, Transportkästen angeordnet.
In Bezug auf die erste dieser Anordnung ist die Transportpalette erfindungsgemäß dadurch gekennzeichnet, daß deren Oberseite einer jeden Kastenbodenflanke des Transportkastens zugeordnet ebenfalls eine obere Flanke aufweist, die sich im wesentlichen parallel zu der Kastenbodenflanke erstreckt, so daß der auf der Transportpalette angeordnete und von dieser getragenen Transportkasten durch Anlage von Paaren von oberen Flanken der Transportpalette an darüber angeordneten entsprechenden Paaren von Kastenbodenflanken gegen Verrutschen relativ zu der Transportpalette gesichert ist.
In Bezug auf die zweite dieser Anordnungen ist die Transportpalette erfindungsgemäß dadurch gekennzeichnet, daß deren Unterseite einer jeden Kastenrandflanke zugeordnet eine untere Flanke aufweist, die sich im wesentlichen parallel zu der Kastenrandflanke erstreckt, so daß die auf dem Transportkasten angeordnete und von diesem getragene Transportpalette durch Anlage von Paaren von Kastenrandflanken an darüber angeordneten entsprechenden Paaren von unteren Flanken der Transportpalette gegen Verrutschen relativ zu dem Transportkasten gesichert ist.
Die Breite der Kastenrandflanke ist durch die Breite der Seitenwand begrenzt, und die Breite der Kastenbodenflanke in Richtung quer zur Erstreckungsrichtung der Seitenwand ist auf die Breite der Kastenrandflanke abgestimmt. Um eine sicherere Zentrierung and Halterung des Transportkastens auf der Transportpalette zu erzielen, ist die obere Flanke der Transportpalette jedoch vorzugsweise, gesehen in einer Richtung quer zu der Erstreckungsrichtung der Seitenwand des auf der Transportpalette in seiner Sollposition angeordneten Transportkastens, breiter ausgebildet als es der Breite der Seitenwand des Transportkastens entspricht.
Diese erhöhte Breite der zweiten oberen Flanke wird vorzugsweise erreicht durch eine Kombination mit dem ersten and dem zweiten Aspekt der Erfindung, indem nämlich die Flankenfläche der zweiten oberen Flanke gebildet ist durch zwei Teilflächen, wobei die erste Teilfläche durch die zwischen der zweiten Stützflächenebene und der ersten Stützflächenebene sich erstreckende erste obere Flanke bereitgestellt ist, und die zweite Teilfläche durch eine Stirnflanke des sich von der zweiten Stützflächenebene bis zu dem vierten Abstand von der Standflächenebene erstreckenden Stegs gebildet ist.
Der Transportkasten weist vorzugsweise eine an der Unterseite des Transportkastens vorstehende Kufen auf, deren Längsenden durch zwei voneinander wegweisende Kastenbodenflanken gebildet sind. Diese Kufen kommen bei bestimmungsgemäßer Positionierung auf der Transportpalette vorzugsweise an dem bezüglich dem ersten Stützflächenbereich auf tieferem Niveau angeordneten zweiten Stützflächenbereich zur Anlage, und an der Oberseite der Transportpalette steht dann vorzugsweise wenigstens ein Paar von Leisten vor, das den Transportbehälter an dessen Kufen teilweise umgreift, um ihn gegen ein Verrutschen zu sichern. Diese Leisten sind vorzugsweise bündig mit dem Außenrand der Transportpalette ausgerichtet. Hierbei wiederum ist vorzugsweise vorgesehen, daß die Leiste an dem auf niedrigerem Niveau angeordnete zweiten Seitenstützflächenbereich nach oben vorsteht, und zwar bis zu dem Niveau des ersten Stützflächenbereichs. Weiterhin ist hierbei bevorzugt, daß die Leiste bündig mit der Außenseite des Stegs ausgerichtet ist und/oder bündig zum Außenrand der Transportpalette ausgerichtet ist.
Die Erfindung wird im folgenden anhand von Figuren erläutert. Hierbei zeigen:
Fig. 1
eine Ausführungsform der erfindungsgemäßen Transportpalette in einer perspektivischen Ansicht von schräg oben,
Fig. 2
die Transportpalette der Fig. 1 in einer perspektivischen Ansicht von schräg unten,
Fig. 3
die Transportpalette der Fig. 1 and 2 in einer maßstabsgetreuen Draufsicht,
Fig. 4
die Transportpalette der Fig. 1 bis 3 in einer maßstabsgetreuen Ansicht von unten,
Fig. 5
einen teilweisen Querschnitt durch die Transportpalette der Fig. 1 - 4 entlang der Linie V-V in Fig. 3,
Fig. 6
einen teilweisen Querschnitt durch die Transportpalette der Fig. 1 - 5 entlang der Linie VI-VI der Fig. 3,
Fig. 7
eine herkömmlliche Transportpalette in einer Ansicht von der Seite,
Fig. 8
die herkömmliche Transportpalette der Fig. 7 in einer Ansicht von vorne,
Fig. 9
einen herkömmlichen Transportkasten in einer Teilansicht von vorne,
Fig. 10
den Transportkasten der Fig. 9 in einer Teilansicht von der Seite,
Fig. 11
den Transportkasten der Fig. 9 und 10 in einer Teilansicht von unten, und
Fig. 12
einen teilweisen Querschnitt durch die Transportpalette, ähnlich dem der Fig. 5 mit einem auf der Transportpalette angeordneten Stapelrandkasten.
Eine erfindungsgemäße Transportpalette 1 ist in den Fig. 1 - 6 dargestellt. Sie weist ein Oberdeck 3 und eine Unterseite 5 auf, wobei die Unterseite 5 durch drei parallel zueinander mit Abstand voneinander angeordnete Kufen 7 ausgebildet ist. Jede Kufe 7 ist mit dem Oberdeck 3 durch jeweils ein Paar Füße 9 verbunden.
Die Transportpalette 1 ist als sog. Halbpalette in Bezug auf die sog. Euro-Palette als Vollpalette ausgebildet. Die Euro-Palette weist eine Breite von 800 mm und eine Länge von 1200 mm auf. Demgemäß weist die Transportpalette 1 eine Breite b von 600 mm und eine Länge 1 von 800 mm auf, so daß zwei Transportpaletten 1 nebeneinander auf einer Vollpalette anordenbar sind. Die der Norm entsprechende Vollpalette weist eine spiegelsymmetrische Anordnung von Füßen auf, wobei ebenfalls Stützfüße mittig in der Symmetrieebene angeordnet sind. Um die Transportpalette 1 für den Eingriff von auf die Vollpalette ausgelegten Hubmitteln auszugestalten, ist das Paar eine Kufe 7 tragender Füße 9 in einer Ansicht von der Seite unsymmetrisch ausgebildet. So ist der in Fig. 1 linke Fuß 9 bündig mit einem hinteren Außenrand 11 der Palette 1 ausgebildet, und der in Fig. 1 rechte Fuß 9 ist bezüglich einem vorderen Rand 13 der Palette 1 versetzt nach innen angeordnet. Die beiden Füße 9, das Oberdeck 3 und die Kufe 7 begrenzen zusammen eine rundum geschlossene runde Ausnehmung 15, und der in der Fig. 1 rechte Fuß begrenzt zusammen mit dem Oberdeck 3 und der Unterseite 5 eine nach vorne offene Ausnehmung 17. In die Ausnehmung 15 und 17 kann beispielsweise ein Gabelpaar eines Gabelstaplers als Hubmittel einfahren, um die Palette 1 anzuheben, wobei das Gabelpaar an einer Unterseite 19 des Oberdecks 3 zur Anlage kommt.
Die Unterseiten der drei Kufen 7 sind in einer gemeinsamen Standflächenebene 21 angeordnet. Eine Oberseite 23 des Oberdecks 3 weist zwei Arten von Standflächenbereichen auf: Die Standflächenbereiche einer ersten Art sind in einer gemeinsamen Stützflächenebene 25 angeordnet, die von der Standflächenebene 21 einen Abstand d1 von 160 mm aufweist. Die Stützflächenbereiche der zweiten Art sind in einer weiteren gemeinsamen Stützflächenebene 27 angeordnet, die von der Standflächenebene einen Abstand d2 von 156 mm aufweist. In Bezug auf die Standflächenebene 21 sind die beiden Arten von Stützflächenbereichen somit mit einem Niveauunterschied von 4 mm angeordnet. Die höher liegenden Stützflächenbereiche der ersten Art sind als Inseln innerhalb der niedriger liegenden Stützflächenbereiche der zweiten Art angeordnet und umfassen vier quadratische Stützflächen 31, vier rechteckige langgestreckte Stützflächen 33, zwei komplizierter umrandete Stützflächen 35 und zwei ebenfalls komplizierter umrandete Stützflächen 37. Die niedriger angeordneten Stützflächenbereiche der zweiten Art umfassen Stützflächen 41, wobei eine jede der Stützflächen 41 eine der quadratischen höheren Stützflächen 31 umschließt, Stützflächen 43, wobei eine jede der Stützflächen 43 eine der höheren langgestreckten Stützflächen 33 umschließt, entlang dem hinteren Rand 11 sich erstreckende Stützflächen 45, entlang dem vorderen Rand 13 sich erstreckende Stützflächen 47, entlang einem linken Außenrand 48 der Transportpalette 1 sich erstreckende Stützflächen 49, entlang einem rechten Außenrand 51 der Transportpalette 1 sich erstreckende Stützflächen 53, sich beidseits von Mittelleisten 55 erstreckende Stützflächen 57 und zwei Stützflächen 59, von denen eine jede auf der einen Seite von der höher liegenden Stützfläche 35 und auf der anderen Seite von der höher liegenden Stützfläche 37 begrenzt ist.
Die Funktion der höher liegenden Stützflächen 31 und 33 und der diese umgebenden niedriger liegenden Stützfläche 41 und 43 werden in Zusammenhang mit den Fig. 7 und 8 erläutert: Diese zeigen eine herkömmliche Palette 201, die unter dem Namen CHEP vertrieben wird und deren Breite 400 mm und deren Länge 600 mm beträgt. Diese Palette 201 ist somit eine sog. Viertelpalette, und es können zwei derartige Viertelpaletten 201 auf der Transportpalette 1 nebeneinander angeordnet werden. Die Palette 201 weist zwei hintere Standfüße 203 mit einer im wesentlichen quadratischen Standfläche 205 und zwei vordere Standfüße 207 mit jeweils einer im wesentlichen rechteckigen langgestreckten Grundfläche 209 auf. Die Standfüße 203 und 207 sind innen hohl, durch Winde 211 gebildet und nach unten offen. Das heißt, bei den hinteren Standfüßen 203 umrandet die Wand 211 jeweils eine quadratische Ausnehmung 213, und bei den vorderen Standfüßen 207 umranden die Wunde 211 jeweils eine langgestreckte rechteckige Ausnehmung 215.
An der Transportpalette 1 ist die höher liegende quadratische Standfläche 31 von sich im wesentlichen vertikal erstreckenden, einander paarweise gegenüberliegenden Flanken 61, 62, 63 und 64 umgeben, weiche den Niveauunterschied zwischen der höher liegenden Standfläche 31 und der diese unigebenden niedrigeren Standfläche 41 überbrücken. Ähnlich ist die höher liegende, langgezogene rechteckige Standfläche 33 von einander paarweise gegenüberliegenden Flanken 65, 66, 67 und 68 unigeben, weiche sich jeweils vertikal erstrecken und den Niveauunterschied zwischen der Standfläche 33 und der diese umgebende niedriger liegende Standfläche 43 überbrücken.
Die Palette 201 kann auf der Transportpalette 1 derart angeordnet werden, daß sich die hinteren Stützfüße 203 der Palette 201 auf den Stützflächen 41 der Transportpalette 1 abstützen und daß sich die Unterseiten 209 der vorderen Stützfüße 207 auf den Stützflächen 43 der Transportpalette 1 abstützen. Dann greifen die Flanken 61 - 64 an der höheren Stützfläche 31 in die Ausnehmung 213 der hinteren Stützfüße 203 der Palette 201 ein, und die Flanken 65 - 68 der höher liegenden Stützfläche 33 greifen in die Ausnehmungen 215 der vorderen Stützfüße der Palette 201 ein. Durch diesen Eingriff ist die Palette 201 auf der Transportpalette 1 gegen Verrutschen gesichert. Dieser Schutz gegen Verrutschen erfolgt sowohl in Längsrichtung der Transportpalette 1, da die Flanken 62 und 64 bzw. 66 mmd 68 paarweise voneinander wegweisen, und sie erfolgt ebenfalls in Querrichtung der Transportpalette 1, da die Flanken 61 und 63 bzw. 65 und 67 ebenfalls paarweise voneinander wegweisen.
Die tiefer liegenden Stützflächen 57 sind gegenüber den höher liegenden Stützflächen 35 und 37 durch vertikale Flanken 69 begrenzt, die tiefer liegenden Stützflächen 45 sind gegenüber der Stützfläche 35 durch eine vertikale Flanke 71 begrenzt, die tiefer liegenden Stützflächen 47 sind gegenüber den höher liegenden Stützflächen 37 durch vertikale Flanken 71 begrenzt, and die tiefer liegenden Stützflächen 53 sind gegenüber den höher liegenden Stützflächen 35 and 37 durch Flanken 72 begrenzt. Die Flanken 69, 70, 71 mmd 72 dienen zum Eingriff mit einem Transportkasten, wie er beispielsweise unter den Namen EPS von der Anmelderin vertrieben wird. Dieser Eingriff ist in Fig. 12 erläutert. Der Transportkasten weist eine Breite von 400 mm and eine Länge von 600 mm und somit den Format einer Viertelpalette auf. Es können zwei derartige Kästen 221 nebeneinander auf der Transportpalette 1 angeordnet werden. Der Kasten 221 weist an seiner Unterseite einen mit Abstand von einem Außenrand 223 des Transportkastens 221 angeordneten Stapelrand 225 auf. Der Stapelrand 225 erstreckt sich über im wesentlichen den gesamten Umfang des Kastens 221 and greift beim Übereinanderstapeln von Kästen 221 in deren oberen Rand ein. Bei Anordnung auf der Transportpalette 1 stützt sich der Stapelrand 225 des Kastens 221 auf den tiefer liegenden Stützflächen 45, 47, 53 und 57 ab, und ein Innenrand 227 des Stapelrands 225 gelangt zur Anlage an die Flanken 69, 70, 71 und 72, die von der Außenwand 11, 13, 48 bzw. 51 der Transportpalette 1 mit einem Abstand d3 angeordnet sind. Diese Anlage an den Flanken sichert den Kasten 221 gegenüber Verrutschen relativ zu der Transportpalette 31. Dieser Schutz gegen Verrutschen erfolgt wiederum in beide horizontale Richtungen, da die Flanken 69 und 72 bzw. 70 und 71 paarweise voneinander wegweisen.
Mehrere Exemplare der Transportpalette 1 sind übereinander stapelbar, wobei die Transportpaletten 1 gegenüber Verrutschen relativ zueinander folgendermaßen gesichert sind: An der Oberseite 23 der Transportpalette sind jeweils bündig mit den Außenrändern 11, 13, 48 und 51 sich entlang der Außenränder erstreckende Stege 75 und 79 angeordnet. Hierbei erstrecken sich die Stege 75 jeweils über Ecken der Transportpalette 1, und die Stage 79 erstrecken sich jeweils mittig an den Außenrändern 11, 13, 48 und 51. Nach oben erstrecken sich die Stege 75, 79 bis zu einem Abstand d4 von 164 mm von der Standflächenebene 21 und damit um 4 mm über die erste Art von Standflächenbereichen mit ihren höher liegenden Standflächen hinaus.
An der Unterseite 5 der Transportpalette 1 sind in den Kufen 7 vertikal unterhalb der Stage 75 diesen entsprechende Ausnehmungen 81 vorgesehen, und vertikal unterhalb der Stage 79 sind diesen entsprechende Ausnehmungen 83 in den Kufen 7 vorgesehen. Eine Tiefe t1 der Ausnehmungen 81 und 83 in Bezug auf die Standflächenebene 21 beträgt 10 mm und übersteigt damit die Höhe von 4 mm, um die die Stage 75 und 79 über die höheren Standflächen hinausstehen. Somit ist gewährleistet, daß die höheren Standflächen 31, 33, 35 und 37 die Kufen 7 einer darüber angeordneten Transportpalette großflächig abstützen und ein Varrutachen der übereinander angeordneten Transpartpalettan 1 durch den Eingriff der Stage 75 und 79 in die Ausnehmung 81 bzw. 83 verhindert ist.
Die Transportpalette 1 ist ferner zur Verwendung zusammen mit Transportkästen angelegt, die unter dem Namen IFCO vertrieben werden und die in den Fig. 9 - 11 dargestellt sind. Ein solcher nach oben offener Transportkasten 301 weist eine rechteckige Bodenwand 303 mit einer kurzen Kantenlänge c und einer langen Kantenlänge d auf. An den kurzen Seiten der Bodenwand 303 sind senkrecht sich nach oben erstreckende kurze Seitenwände 305 angelenkt, an den beiden aneinander gegenüber liegenden langen Seiten der Bodenwand 303 die beiden langen Seitenwände 307 angelenkt. An den aneinander angrenzenden Kanten der Seitenwände 305 und 307 sind diese miteinander verbunden, so daß ein stabiler, nach oben offener Transportkasten gebildet ist. Hierbei bilden von der Bodenwand 303 entfernte Ränder 309 der kurzen Seitenwände 305 zusammen mit den von der Bodenwand 303 entfernten Rändern 311 der langen Seitenwände 307 einen umlaufenden Kastenrand 313 des Transportkastens 301. Der Kastenrand 313 ist im Bereich der langen Seitenwände 307 unterteilt in drei höher liegende Teilabschnitte 315 and zwei jeweils zwischen zwei höher liegenden Teilabschnitten 315 angeordnete tiefer liegende Teilabschnitte 317. Im Bereich einer der kurzen Seitenwinde 305 umfaßt der Kastenrand 313 zwei höher liegende Teilabschnitten 319 and einen zwischen diesen beiden höher liegenden Teilabschnitten 319 angeordneten tiefer liegenden Teilabschnitt 321. Ein Höhenunterschied zwischen den höher liegenden Teilabschnitten 315 bzw. 319 und den tiefer liegenden Teilabschnitten 317 bzw. 321 beträgt e. Ein Übergang zwischen den höher liegenden Teilabschnitten 315 bzw. 319 und den tiefer liegenden Teilabschnitten 317 bzw. 321 erfolgt über Kastenrandflanken 323, welche sich miter einem Winkel von 45° zur Horizontalen erstrecken.
Beim Übereinanderstapeln von Transportkästen 301 gelangt der Kastenboden 303 in Anlage an die höher liegenden Teilabschnitte 315 und 319 des Kastenrands 313. An der Bodenwand 303 ist vertikal unterhalb eines jeden tiefer liegenden Teilabschnitts 317 des Kastenrands 313 eine Kufe 325 vorgesehen, welche von der Bodenwand 303 um etwa die Höhe e vorsteht. In Längsrichtung ist die Kufe 325 durch zwei voneinander wegweisende Stirnflanken 327 begrenzt, die sich ebenfalls jeweils unter 45° zur Horizontalen erstrecken. Beim Übereinanderstapeln der Kästen 301 stützen sich die Kufen 325 in den tiefer liegenden Teilabschnitten 317 des Kastenrands 313 auf den langen Seitenwänden 307 ab. Hierbei erfolgt durch die wechselseitige Anlage der schrägen Kastenrandflanken 323 an den Kastenbodenflanken 327 eine Zentrierung der Kästen in Erstreckungsrichtung der langen Seitenwände 307.
Entsprechend ist an der Bodenwand 803 vertikal unterhalb eines jeden tiefer liegenden Teilabschnitts 321 der kurzen Seitenwand 305 eine Kufe 329 angeordnet, die ebenfalls um das Maß e von der Bodenwand 303 vorsteht. An ihren Stirnseiten ist auch diese Kufe 329 durch Flanken 327 begrenzt, die ebenfalls unter 45° zur Horizontalen orientiert sind. Beim Übereinanderstapeln der Transportkästen 301 stützen sich dann die Kufen 329 auf den tiefer liegenden Teilbereich 321 der kurzen Seitenwände 305 ab, wobei das Zusammenwirken der Kastenrandflanken 323 mit den Kastenbodenflanken 327 zu einer Zentrierung der Kästen in Erstreckungsrichtung der kurzen Seitenwände 305 führt. Im dargestellten Beispiel ist, wie aus Fig. 9 ersichtlich ist, die Kufe 329 zweiteilig ausgeführt und in der Mitte unterbrochen, um eine Kraftübertragung auf die Seitenwand 305 im Bereich einer Griffausnehmung 331 zu vermeiden. Einer Wirkung der Kufe 329 in Hinblick auf Kraftübertragung auf die Seitenwand 305 überhaupt sowie die Zentrierwirkung durch die Flanken 327 und 323 tut dies keinen Abbruch.
Die Transportpalette 1 ist zur Verwendung zusammen mit zwei Arten dieses Transportkastens ausgebildet: Ein großer Transportkasten weist die Außenmaße d = 600 und c = 400 mm auf; bei diesem beträgt das Maß e = 10 mm. Es können somit zwei große Transportkästen 301 nebeneinander auf der Transportpalette 1 angeordnet werden, oder es kann die Transportpalette 1 auf zwei nebeneinander angeordneten Transportkästen 301 angeordnet werden. Ein kieiner Transportkasten weist die Außenmaße d = 400 mm und c= 300 mm; bei diesem beträgt das Maß e = 5 mm. Es können somit vier kleine Transportkästen 301 paarweise nebeneinander auf der Transportpalette 1 angeordnet werden, oder es kann die Transportpalette 1 auf vier paarweise nebeneinander angeordneten kleinen Transportkästen 301 angeordnet werden.
Es wird nun die Anordnung des großen Transportkastens 301 auf der Transportpalette 1 beschrieben:
Ein Schutz gegenüber Verrutschen des großen Transportkastens 301 relativ zu der Transportpalette 1 erfolgt hier durch die oben bereits beschriebene Mittelleiste 55, sowie durch weitere bündig mit den Außenrändern 11, 13, 48 und 51 sich erstreckende Randleisten 101, die von außen an den Kufen 325 und 329 des Transportkastens 301 angreifen. Die Randleisten 101 erstrecken sich ausgehend von den tiefer liegenden Stützflächen 45, 47, 49 und 53 aus, um etwa 4 mm nach oben bis auf das Niveau der höher liegenden Stützflächen 31, 33 usw.. Ebenso erstrecken sich die Mittellleisten 55, ausgehend von den tiefer liegenden Stützflächen 57, um etwa 4 mm nach oben bis auf das Niveau der höher liegenden Stützflächen. In horizontaler Richtung gesehen, erstrecken sich die Randleisten 101 durchgehend zwischen den Stegen 75 und 79. Jeweils ein sich gegenüber liegendes Paar von Leisten 101 bzw. 57 umgreift den Transportkasten 301 an dessen Kufen 327 bzw. 329 und sichert ihn somit gegenüber Verrutschen zur Transportpalette 1.
Der Kasten 301 wird ferner durch einen zweiten Mechanismus auf der Transportpalette 1 gegen Verrutachen gesichert: Die Transportpalette 1 weist nämlich große obere Flanken 103 auf, die die Stege 75 und 79 in Längsrichtung begrenzen und um 45° zur Horizontalen geneigt sind. Die Flanken 103 sind derart angeordnet, daß sie in Anlage an die Kastenbodenflanken 327 des auf der Transportpalette 1 angeordneten Transportkastens 301 gelangen. Aufgrund der schrägen Orientierung der oberen Flanken 103 und der Kastenbodenflanken 327 wird der Transportkasten 301 auch auf der Transportpalette 1 bei dessen Abstellen darauf in seiner Sollposition zentriert. Die Breite der Stege 75 und 79 entspricht in etwa der Breite der Kufen 325 und 329, so daß bereits die Stirnseiten der Stege 75 und 79 eine vollflächige Anlage der Kastenbodenflanken 327 gewährleisten könnten.
Die oberen Flanken 103 sind jedoch in ihrem unteren Bereich breiter ausgeführt, als es der Breite der Stege 75 und 79 entspricht, um auch bei nicht in ihrer Sollposition angeordneten Transportkästen 301 über die Flanken 103 eine Zentrierwirkung zu erreichen. Ferner ist diese Vergrößerung der Breite der Flanken 103 von Vorteil beim Einsatz von Transportkästen 301 aus Kunststoff, welche in Folge eines Alterungsvorgangs gegenüber ihrem Sollmaß geschrumpft sind. Zur Verbreiterung der Flanke 103 weist diese eine L-förmige Gestalt auf, wobei der sich von oben nach unten erstreckende Teil der L-Gestalt durch die Stirnflache des Stegs 75 bzw. 103 gebildet ist and der sich horizontal erstreckende Teil der L-Gestalt durch eine abgeschrägte Stirnseite eines benachbart zu dem Ende des Stegs 75 bzw. 79 angeordneten Stützklotz 105 gebildet ist. Der Stützklotz 105 erstreckt sich ausgehend von den tieferen Stützflächen 47, 49, 45, 53 bis zu dem Niveau der höher liegenden Stützflächen 35, 37 usw. .
Im folgenden wird die Anordnung der Transportpalette 1 auf zwei nebeneinander angeordneten großen Transportkästen 301 beschrieben:
Hierbei stützen sich die planen Unterseiten der Kufen 7 auf den tiefer liegenden Teilabschnitten 317 and 321 des Kastenrands 313 ab. Die höher liegende Teilabschnitte 315 und 319 des Kastenrands 313 greifen in diesen entsprechende Ausnehmungen 107 in der Unterseite der Kufen 7 ein. Die Ausnehmungen 107 werden zum Teil gebildet durch die vorangehend bereits beschriebenen Ausnehmungen 81 und 83 zum Eingriff der Stege 75 bzw. 79 beim Übereinanderstapeln mehrerer Transportpaletten 1. Die Ausnehmungen 107 weisen die Tiefe t1 von 10 mm auf, die der Größe e von 10 mm, um weichen Betrag die Kufen 325 und 329 an dem Kastenboden 303 vorstehen, entspricht. Die an den Rändern der mittleren Kufe 7 vorgesehenen Ausnehmungen 107 weisen eine T-förmige Gestalt auf, um die sich über Eck erstreckenden höher liegenden Teilabschnitte 315 und 319 der Seitenwände 307 und 305 aufzunehmen. Ferner ist in der Mitte einer jeden Kufen 7 eine weitere sich in deren Längsrichtung erstreckende Ausnehmung 107 vorgesehen, um die mittleren höher liegenden Teilabschnitte 311 der langen Kastenseitenwand 307 des Transportkastens 301 aufzunehmen. Die Ausnehmungen 107 weisen an ihren Enden sich unter 45° zur Horizontalen erstreckende Flanken 109 auf, die mit den Kastenrandflanken 323 des Transportkastens 301 zusammenwirken, um die Transportpalette 1 bezüglich der beiden darunter angeordneten Transportkästen 301 zu zentrieren.
Im folgenden wird die Anordnung von vier paarweise benachbart zueinander angeordneten kleinen Transportkästen 301 auf der Transportpalette 1 beschrieben:
In diesem Fall stützen sich die Kufen 325 des Transportkastens 301 auf den tiefer liegenden Stützflächen 45, 47 oder 59 ab. Die Kufen 329 unter den kurzen Seitenwänden 305 des Transportkastens 301 stützen sich auf den tiefer liegenden Stützflächen 49, 57 oder 53 ab. Ferner sind an Übergängen zwischen tiefer liegenden Stützflächen und höher liegenden Stützflächen der Oberseite 23 der Transportpalette 1 kleine obere Flanken 109 ausgebildet, welche mit den Kastenbodenflanken 327 des Transportkastens 1 zusammenwirken, um diesen auf der Transportpalette 1 zu zentrieren. Hierzu tragen auch die verbreiterten Bereiche der großen oberen Flanken 103, die zur Zentrierung des großen Transportkastens 301 vorgesehen sind, bei. Da die Kufen 325, 329 des kleinen Transportkastens 301 um das Maß e von 5 mm an dem Kastenboden 303 vorstehen, kommen diese Kufen 325, 329 auf den tiefer liegenden Stützflächen, die um lediglich 4 mm unter dem Niveau der höher liegenden Stützflächen angeordnet sind, sicher zur Anlage.
Im folgenden wird die Anordnung der Transportpalette 1 auf vier paarweise nebeneinander angeordneten kleinen Transportkästen 1 beschrieben:
Hier stützen sich wiederum die Unterseiten der Kufen 7 auf den tiefer liegenden Teilbereichen 317 und 321 des Kastenrands 313 ab. Die um das Maß e von 5 mm über die tiefer liegenden Teilbereiche 317 und 321 angeordneten höheren Teilbereiche 315 und 319 des Kastenrands 313 greifen wiederum in Ausnehmungen in den Kufen 7 ein. Hierbei werden zuin einen die Ausnehmungen 107 der Tiefe t1 von 10 mm verwendet, weiche auch zuim Eingriff der höher liegenden Teilbereiche des Kastenrands des großen Transportkastens dienen. Es sind jedoch ferner noch weitere Vertiefungen 111 einer Tiefe t2 von 5 mm vorgesehen, weiche sich quer zur Erstreckungsrichtung der Kufen 7 jeweils in deren Mitten erstrecken. Diese Ausnehmungen 111 sind ebenfalls durch Flanken 113 begrenzt, weiche mit den Kastenrandflanken 323 der langen Seitenwände 307 zur Zentrierung der Transportpalette 1 zusammenwirken.
Die Transportpalette 1 kann als Kunststoffteil gefertigt sein, wobei beispielsweise das Oberdeck 3 aus einer durchgehenden Platte gebildet ist, in welche die tiefer liegenden Stützflächen, die höher liegenden Stützflächen, die Stege und die Leisten über einen Prägevorgang eingebracht sind. Ferner ist es möglich, das Oberdeck oder/und die Füße samt den Kufen als Extrusionsteile herzustellen und hierbei durch Bereitstellung von Gasinnendruck oder ein ähnliches Verfahren die Füße, die Kufen oder/und das Oberdeck hohl auszugestalten.
In den Stützflächen können Ausnehmungen 121 vorgesehen sein, wie dies in den Fig. 5 und 6 angedeutet ist. Diese Ausnehmungen dienen der Belüftung der Oberseite der Transportpalette und sind so klein beinessen, daß auch biegsame Gegenstände in diese nicht hineingedrückt werden. Dies unterscheidet die Ausnehmungen 121, die neben der Belüftung auch der Materialersparnis dienen können, von den Ausnehmungen, als die die tieferliegenden Stützflächen in Bezug auf die höher liegenden Stützflächen betrachtet werden können. Der Niveauunterschied zwischen den tiefer liegenden and höher liegenden Stützflächen ist so gering bemessen, daß selbst biegsame Gegenstände wie Kartonagen, selbst dann, wenn sie zwei höherliegende Stützflächen überbrücken und zwischen diesen hineingedrückt werden, durch eine zwischen diesen beiden höher liegenden Stützflächen angeordnete tiefer liegende Stützfläche flächig aufgenommen und gestützt werden. Auch der Niveauunterschied zwischen den höher liegenden Stützflächenbereichen und den noch höher liegenden Oberseiten der Stege 75 bzw. 79 ist so gering gewählt, daß derartig empfindliche und biegsame Gegenstände nicht über Gebühr verbogen oder geschädigt werden. Dies ist in Fig. 6 veranschaulicht, in der eine Kartonage-Verpackung 350 dargestellt ist, die sich an die Niveauunterschiede zwischen den tiefer liegenden Stützflächen, den höher liegenden Stützflächen und den Stegen anpaßt, ohne geknickt zu werden.
Hierbei kann die Oberseite der Transportpalette eine Vielzahl Ausnehmungen zur Belüftung und Materialersparnis aufweisen, wie dies beispielsweise von dem Transportkasten gemäß der Fig. 9 bis 11 her bekannt ist. Abgesehen von diesen Ausnehmungen stellt die Oberseite dann zwei Arten von Stützflächenbereichen bereit, deren Stützflächen jeweils in einer gemeinsamen Ebene liegen.
Der Gedanke der Erfindung kann auch erweitert werden auf eine Transportpalette, die nicht nur zwei Arten von Stützflächenbereichen mit unterschiedllichem Niveau, sondern drei oder noch mehr Arten von Stützflächenbereichen aufweist. Insbesondere können auch die Oberkanten der Leisten 75 und 79, welche von der Standflächenebene 21 den Abstand d4 aufweisen, bereits als ein derartiger weiterer Stützflächenbereich betrachtet werden.
Die Transportpalette 1 weist an ihren Außenrändern 48 und 51 jeweils zwei Ausnehmungen 119 auf, deren Oberkanten von der Standflächenebene 21 einen geringeren Abstand aufweisen, als es den Abständen d1, d2 und d4 entspricht. In diesen Ausnehmungen können Fortsätze von auf der Transportpalette 1 angeordneten Kisten, weiche die Außenränder 48 und 51 teilweise umgreifen, eingreifen, und durch Ausüben von Zug diese Kiste auf der Transportpalette halten. Diese Ausnehmungen 119 können an der Transportpalette auch unabhängig von der Ausbildung der Oberseite mit zwei Arten von Stützflächen und unabhängig von der Bereitstellung von Flanken auf der Oberseite der Transportpalette vorgesehen sein.
Im vorangehenden Ausführungsbeispiel wurde die Transportpalette als Halbpalette beschrieben. Sie kann jedoch auch als Vollpalette oder als Viertelpalette oder in jeder beliebigen weiteren Art ausgebildet sein.

Claims (17)

  1. Transportpalette zum Transport einer Anzahl Gegenstände (1, 201, 221, 301, 350), welche eine Transportkiste für wenigstens einen weiteren Gegenstand umfassen, umfassend:
    eine Unterseite (5), die wenigstens einen in einer horizontalen Standflächenebene (21) angeordneten Standflächenbereich (7) der Transportpalette (1) bereitstellt,
    eine Oberseite (23), die wenigstens einen ersten Stützflächenbereich (31, 33, 35, 37) zum Abstützen der Gegenstände zu deren Transport bereitstellt, wobei der erste Stützflächenbereich in einer im wesentlichen horizontalen and mit einem ersten Abstand (d1) von der Standflächenebene (21) angeordneten ersten Stützflächenebene (25) angeordnet ist, and
    wenigstens einen zwischen der Standflächenebene (21) and der ersten Stützflächenebene (25) angeordneten Hubmittelangriffsflächenbereich (19),
    dadurch gekennzeichnet, daß die Oberseite (23) wenigstens einen zweiten Stützflächenbereich (11, 43, 45, 47, 49, 53, 57) zum Abstützen der Gegenstände zu deren Transport bereitstellt, wobei der zweite Stützflächenbereich in einer im wesentlichen horizontalen zweiten Stützflächenebene (27) angeordnet ist, die mit einem zweiten Abstand (12), der kleiner ist als der erste Abstand (11), von der Standflächenebene (21) angeordnet ist.
  2. Transportpalette nach Anspruch 1, dadurch gekennzeichnet, daß eine erste Differenz zwischen dem ersten Abstand (d1) und dem zweiten Abstand (d2) 2 mm bis 7 mm, insbesondere 3 mm bis 5 mm, insbesondere etwa 4 mm, beträgt.
  3. Transportpalette nach Anspruch 1 oder 2, dadurch gekennzeichnet, daß wenigstens ein Paar von aufeinander zu weisenden oder voneinander weg weisenden, quer zur Horizontalen sich erstreckende ersten oberen Flanken (61,63;103) vorgesehen ist, wobei eine jede der ersten oberen Flanken an einem Übergang von dem ersten Stützflächenbereich (31,41) zu dem daran angrenzenden zweiten Stützflächenbereich ausgebildet ist.
  4. Transportpalette nach Anspruch 3, dadurch gekennzeichnet, daß sich die ersten oberen Flanken (103) des Paars unter einem Winkel von 45° zur Horizontalen erstrecken.
  5. Transportpalette nach einem der Ansprüche 1 bis 4, dadurch gekennzeichnet, daß der zweite Stützflächenbereich (41) den ersten Stützflächenbereich (31) im wesentlichen vollständig umgibt.
  6. Transportpalette nach Anspruch 5, dadurch gekennzeichnet, daß der zweite Stützflächenbereich einen sich bis zum dritten Abstand (d3) von einem Außenrand der Tansportpalette erstreckende Bereich (45, 47, 49, 53) umfaßt, der den ersten Stützflächenbereich (35, 37) im wesentlichen vollständig umgibt.
  7. Transportpalette nach einem der Ansprüche 1 bis 6, dadurch gekennzeichnet, daß der erste oder/und der zweite Stützflächenbereich Lüftungslöcher (121) aufweist.
  8. Transportpalette nach Anspruch 7, dadurch gekennzeichnet, daß die Lüftungslöcher (121) einen Durchmesser von weniger als 20 mm, inebesondere weniger als 10 mm, aufweisen.
  9. Transportpalette nach einem der Ansprüche 1 bis 8 oder dem Oberbegriff des Anspruchs 1, dadurch gekennzeichnet, daß wenigstens ein Steg (75, 79) vorgesehen ist, der sich an der Oberseite bis zu einem vierten Abstand (d4) von der Standflächenebene (21), der größer ist als der erste Abstand (d1) wegerstreckt, und daß die Unterseite (5) eine vertikal unterhalb des Stegs (75, 75) angeordnete Ausnehmung (81, 83) aufweist, so daß übereinandergestapelte Transportpaletten durch Eingriff von Stegen (75, 79) in darüber angeordnete entsprechende Ausnehmungen (81, 83) gegen Verrutschen relativ zueinander gesichert sind.
  10. Transportpalette nach Anspruch 9, dadurch gekennzeichnet, daß eine zweite Differenz zwischen dem vierten Abstand (d4) und dem ersten Abstand (d1) 2 mm bis 7 mm, insbesondere 3 mm bis 5 mm, insbesondere etwa 4 mm, beträgt.
  11. Transportpalette nach Anspruch 9 oder 10, dadurch gekennzeichnet, daß der Steg (75, 79) bündig mit einem Außenrand (11, 13, 48, 51) der Transportpalette ausgerichtet ist.
  12. Transportanordnung, umfassend eine Transportpalette (1) nach einem der Ansprüche 1 bis 11 oder dem Oberbegriff des Anspruchs 1 sowie einen nach oben offenen Transportkasten (301) mit einer rechteckigen Bodenwand (303) und vier an Seiten der Bodenwand (303) angelenkten Seitenwänden (305, 307), wobei von der Bodenwand (303) abgewandte obere Ränder (309, 311) der vier Seitenwände (305, 307) zusammen einen oberen Kastenrand (313) bilden, wobei der obere Rand (309, 311) einer jeden Seitenwand wenigstens ein Paar von aufeinander zu weisenden oder voneinander weg weisenden, quer zur Horizontalen und quer zur Erstreckungsrichtung des oberen Rands (309, 311) sich erstreckenden Kastenrandflanken (323) aufweist und wobei an einer Bodenseite des Transportkastens (301) einer jeden Kastenrandflanke (323) zugeordnet eine in wesentlichen parallel zu der Kastenrandflanke (323) sich erstreckende Kastenbodenflanke (327) vorgesehen ist, so daß übereinandergestapelte Transportkisten (301) durch Anlage von Paaren von Kastenrandflanken (323) an darüber angeordneten entsprechenden Paaren von Kastenbodenflanken (327) gegen Verrutschen relativ zueinander gesichert sind,
    dadurch gekennzeichnet, daß
    die Oberseite (23) der Transportpalette (1), einer jeden Kastenbodenflanke (327) des Transportkastens (301) zugeordnet, eine im wesentlichen parallel zu der Kastenbodenflanke (327) sich erstreckende zweite obere Flanke (103;109) aufweist, wobei der auf der Transportpalette 1 angeordnete und von dieser getragene Transportkasten (301) durch Anlage von Paaren von zweiten oberen Flanken (103, 109) der Transportpalette (1) an darüber angeordneten entsprechenden Paaren von Kastenbodenflanken (327) gegen Verrutschen relativ zu der Transportpalette gesichert ist oder/und daß die Unterseite (19) der Transportpalette (1) einer jeden Kastenrandflanke (323) zugeordnet eine im wesentlichen parallel zu der Kastenrandflanke (323) sich erstreckende untere Flanke (109; 113) aufweist, wobei die auf dem Transportkasten (301) angeordnete und von diesem getragene Transportpalette (1) durch Anlage von Paaren von Kastenrandflanken (323) an darüber angeordneten entsprechenden Paaren von unteren Flanken (109; 113) der Transportpalette gegen Verrutschen relativ zu dem Transportkasten (301) gesichert ist.
  13. Transportanordnung nach Anspruch 12, dadurch gekennzeichnet, daß die zweite obere Flanke (103) der Transportpalette sich in einer horizontal und quer zur Seitenwand (305, 307) verlaufenden Richtung weiter erstreckt als es einer Breite der Seitenwand (305, 307) des Transportkastens (301) entspricht.
  14. Transportanordnung nach Anspruch 13 in Verbindung mit Anspruch 3 und 8, dadurch gekennzeichnet, daß die zweite obere Flanke (103) der Transportpalette (1) eine ebene Flankenfläche aufweist, die gebildet ist durch die zwischen der zweiten Stützflächenebene (27) und der ersten Stützflächenebene (25) sich erstreckende erste obere Flanke und eine sich von der zweiten Stützflächenebene (27) bis zu dem vierten Abstand (d4) von der Standflüchenebene (21) erstreckende Stirnflanke des Stegs (75, 79).
  15. Transportanordnung nach einem der Ansprüche 12 bis 14, dadurch gekennzeichnet, daß der Transportkasten (301) ein Paar von zueinander parallelen, an der Unterseite des Transportkastens (301) vorstehenden Kufen (325, 327) aufweist, die bei auf der Transportpalette (1) angeordnetem Transportkasten (301) auf dem zweiten Stützflächenbereich (45, 47, 49, 53, 59) zur Anlage kommen, wobei eine jede Kufe (325, 327) mit ihren Stirnenden ein Paar von voneinander weg weisenden Kastenbodenflanken (327) bildet, und daß an der Oberseite der Transportpalette wenigstens ein Paar von Leisten (101,57) vorsteht, das den Transportbehälter (301) an dessen Kufen (325, 327) teilweise umgreift.
  16. Transportanordnung nach Anspruch 15, dadurch gekennzeichnet, daß die Leiste (101) bündig mit einem Außenrand (11, 13) der Transportpalette (1) ausgerichtet ist, sich von der zweiten Stützflächenebene (27) aus bis zu im wesentlichen dem ersten Abstand (d1) von der Standflächenebene (21) nach oben erstreckt und sich horizontal in Verlängerung des Stegs (75, 79) erstreckt.
  17. Transportanordnung nach einem der Anaprilehe 12 bis 16, dadurch gekennzeichnet, daß eine Mehrzahl von Transportkästen (301) paarweise nebeneinander angeordnet ist.
EP00100934A 1999-01-29 2000-01-18 Transportpalette Revoked EP1024089B1 (de)

Applications Claiming Priority (2)

Application Number Priority Date Filing Date Title
DE1999103537 DE19903537A1 (de) 1999-01-29 1999-01-29 Transportpalette
DE19903537 1999-01-29

Publications (3)

Publication Number Publication Date
EP1024089A2 true EP1024089A2 (de) 2000-08-02
EP1024089A3 EP1024089A3 (de) 2001-05-02
EP1024089B1 EP1024089B1 (de) 2006-06-14

Family

ID=7895785

Family Applications (1)

Application Number Title Priority Date Filing Date
EP00100934A Revoked EP1024089B1 (de) 1999-01-29 2000-01-18 Transportpalette

Country Status (3)

Country Link
EP (1) EP1024089B1 (de)
DE (2) DE19903537A1 (de)
ES (1) ES2265810T3 (de)

Cited By (9)

* Cited by examiner, † Cited by third party
Publication number Priority date Publication date Assignee Title
EP1155965A1 (de) * 2000-05-15 2001-11-21 FUSTIPLAST S.p.A. Palette mit Kunststoffdeckplatte
EP1988026A1 (de) 2007-05-04 2008-11-05 Electrolux Home Products Corporation N.V. Kunststoffpalette
US7644666B2 (en) 2006-02-09 2010-01-12 Rehrig Pacific Company Pallet
GB2484259A (en) * 2010-09-21 2012-04-11 Linpac Allibert Ltd Stackable pallet for the transportation of goods
WO2016034686A1 (de) * 2014-09-03 2016-03-10 Walther Faltsysteme Gmbh Kunststoff-ladegutträger
CN110342062A (zh) * 2019-07-29 2019-10-18 蜂井包装工业无锡有限公司 围板箱配套用托盘加强固定结构
CN113602630A (zh) * 2021-09-10 2021-11-05 广东特帅科技股份有限公司 组合式塑胶栈板
DE102021122731A1 (de) 2021-09-02 2023-03-02 Dr. Ing. H.C. F. Porsche Aktiengesellschaft Transporteinrichtung und Transportsystem
WO2024120898A1 (de) * 2022-12-05 2024-06-13 Feurer Febra Gmbh Transportpalette

Family Cites Families (10)

* Cited by examiner, † Cited by third party
Publication number Priority date Publication date Assignee Title
GB1159194A (en) * 1967-04-13 1969-07-23 Shell Int Research Improved Pallet for Fork-lift Truck
DE7040942U (de) * 1970-11-05 1971-02-18 Spumalit-Anstalt Ineinander stapelbare, einstückig herge stellte Transport und Lagerpalette aus Kunst stoff
DE2650288A1 (de) * 1976-11-02 1978-05-03 Fisklaadan Packing Ab Ladepalette zur halterung von verpackungsbehaeltern
AU548221B2 (en) * 1981-08-24 1985-11-28 Bigelow-Sanford Inc. Pallet
EP0125307B1 (de) * 1982-11-17 1990-05-02 Weyerhaeuser Company Behälter
DE4014074C2 (de) * 1990-01-12 1994-09-08 Stucki Kunststoffwerk Vorrichtung zur Verhinderung eines Verrutschens von Transportkästen auf Paletten
DE9000288U1 (de) * 1990-01-12 1990-07-12 Stucki Kunststoffwerk und Werkzeugbau GmbH i.K., 32107 Bad Salzuflen Vorrichtung zur Verhinderung des Verrutschens von Transportkästen auf Paletten
EP0436783B1 (de) * 1990-01-12 1994-04-27 Stucki Kunststoffwerk und Werkzeugbau GmbH. Palette mit einer aufgelegten Platte zur Verhinderung des Verrutschens des aus Transportkästen bestehenden Ladegutes und aus diesen Teilen bestehender Stapel
WO1996006013A2 (en) * 1994-08-11 1996-02-29 Marrelli John C Plastic container reusable as packaging material for disposable plastic garbage bags and method of packaging
DE4429945A1 (de) * 1994-08-24 1996-02-29 Schoeller Plast Ag Stapelbarer Transportbehälter

Cited By (13)

* Cited by examiner, † Cited by third party
Publication number Priority date Publication date Assignee Title
EP1155965A1 (de) * 2000-05-15 2001-11-21 FUSTIPLAST S.p.A. Palette mit Kunststoffdeckplatte
US6668735B2 (en) 2000-05-15 2003-12-30 Fustiplast S.P.A. Pallet with a plastic platform
US7644666B2 (en) 2006-02-09 2010-01-12 Rehrig Pacific Company Pallet
EP1988026A1 (de) 2007-05-04 2008-11-05 Electrolux Home Products Corporation N.V. Kunststoffpalette
RU2469932C2 (ru) * 2007-05-04 2012-12-20 Электролюкс Хоум Продактс Корпорейшн Н.В. Пластмассовый поддон
GB2484259A (en) * 2010-09-21 2012-04-11 Linpac Allibert Ltd Stackable pallet for the transportation of goods
WO2016034686A1 (de) * 2014-09-03 2016-03-10 Walther Faltsysteme Gmbh Kunststoff-ladegutträger
WO2016034513A1 (de) * 2014-09-03 2016-03-10 Walther Faltsysteme Gmbh Anordnung zweier ladegutträger aufeinander
CN110342062A (zh) * 2019-07-29 2019-10-18 蜂井包装工业无锡有限公司 围板箱配套用托盘加强固定结构
CN110342062B (zh) * 2019-07-29 2023-07-04 蜂井包装工业无锡有限公司 围板箱配套用托盘加强固定结构
DE102021122731A1 (de) 2021-09-02 2023-03-02 Dr. Ing. H.C. F. Porsche Aktiengesellschaft Transporteinrichtung und Transportsystem
CN113602630A (zh) * 2021-09-10 2021-11-05 广东特帅科技股份有限公司 组合式塑胶栈板
WO2024120898A1 (de) * 2022-12-05 2024-06-13 Feurer Febra Gmbh Transportpalette

Also Published As

Publication number Publication date
DE19903537A1 (de) 2000-08-03
EP1024089B1 (de) 2006-06-14
EP1024089A3 (de) 2001-05-02
ES2265810T3 (es) 2007-03-01
DE50012945D1 (de) 2006-07-27

Similar Documents

Publication Publication Date Title
DE3223282C2 (de)
DE69228192T2 (de) Wellpappe-palette
DE10392503T5 (de) Palette
DE202013012291U1 (de) Viertelpalette
DE2612245C2 (de) Faßartiger Behälter
EP1024089B1 (de) Transportpalette
DE19641686C2 (de) Stapelbarer Behälter, insbesondere Lager- und Transportbehälter sowie Behältersystem
DE69532823T2 (de) Ineinandersetzbare steige zum präsentieren von waren
DE3806069C2 (de) Palette
EP0357817B1 (de) Holzregal mit auf unterschiedlichen Höhen anbringbaren Einlegeböden
DE69602282T2 (de) Palettiersystem mit streifenförmigen verstärkungen gegen druckkräfte
DE9416370U1 (de) Palettenartige Transportvorrichtung
WO2007073729A1 (de) Transportkarre und transportpalette oder transportbehältnis hierfür
DE19525065C2 (de) Kasten, insbesondere in Kreuzverbundstapelung
DE10314111B4 (de) Ladeeinheit mit Palettiertablar
DE4014074C2 (de) Vorrichtung zur Verhinderung eines Verrutschens von Transportkästen auf Paletten
EP4514702B1 (de) Grossladungsträger
DE202017106346U1 (de) Träger- und Zwischenpalette
DE10028588B4 (de) Stapelbares Transportgebinde für stapelbares Stückgut
EP4417533A2 (de) Mehrwegtransportpalette
DE9209272U1 (de) Palettenkiste aus Kunststoff
DE3530489A1 (de) Sammelpackung
DE9210936U1 (de) Stapelbare Steige
DE4209719A1 (de) Warentraeger-system
DE2819677C3 (de) Kasten aus Kunststoff, insbesondere für den Transport von Obst und Gemüse

Legal Events

Date Code Title Description
PUAI Public reference made under article 153(3) epc to a published international application that has entered the european phase

Free format text: ORIGINAL CODE: 0009012

AK Designated contracting states

Kind code of ref document: A2

Designated state(s): DE ES FR

AX Request for extension of the european patent

Free format text: AL;LT;LV;MK;RO;SI

PUAL Search report despatched

Free format text: ORIGINAL CODE: 0009013

AK Designated contracting states

Kind code of ref document: A3

Designated state(s): AT BE CH CY DE DK ES FI FR GB GR IE IT LI LU MC NL PT SE

AX Request for extension of the european patent

Free format text: AL;LT;LV;MK;RO;SI

17P Request for examination filed

Effective date: 20010917

AKX Designation fees paid

Free format text: DE ES FR

17Q First examination report despatched

Effective date: 20040113

GRAP Despatch of communication of intention to grant a patent

Free format text: ORIGINAL CODE: EPIDOSNIGR1

GRAS Grant fee paid

Free format text: ORIGINAL CODE: EPIDOSNIGR3

GRAA (expected) grant

Free format text: ORIGINAL CODE: 0009210

AK Designated contracting states

Kind code of ref document: B1

Designated state(s): DE ES FR

REF Corresponds to:

Ref document number: 50012945

Country of ref document: DE

Date of ref document: 20060727

Kind code of ref document: P

ET Fr: translation filed
REG Reference to a national code

Ref country code: ES

Ref legal event code: FG2A

Ref document number: 2265810

Country of ref document: ES

Kind code of ref document: T3

PLBI Opposition filed

Free format text: ORIGINAL CODE: 0009260

PLAX Notice of opposition and request to file observation + time limit sent

Free format text: ORIGINAL CODE: EPIDOSNOBS2

26 Opposition filed

Opponent name: D W PLASTICS N.V.

Effective date: 20070313

PG25 Lapsed in a contracting state [announced via postgrant information from national office to epo]

Ref country code: DE

Free format text: LAPSE BECAUSE OF NON-PAYMENT OF DUE FEES

Effective date: 20070801

PLAF Information modified related to communication of a notice of opposition and request to file observations + time limit

Free format text: ORIGINAL CODE: EPIDOSCOBS2

PLBB Reply of patent proprietor to notice(s) of opposition received

Free format text: ORIGINAL CODE: EPIDOSNOBS3

REG Reference to a national code

Ref country code: FR

Ref legal event code: ST

Effective date: 20070930

PLAY Examination report in opposition despatched + time limit

Free format text: ORIGINAL CODE: EPIDOSNORE2

REG Reference to a national code

Ref country code: ES

Ref legal event code: FD2A

Effective date: 20070119

PG25 Lapsed in a contracting state [announced via postgrant information from national office to epo]

Ref country code: FR

Free format text: LAPSE BECAUSE OF NON-PAYMENT OF DUE FEES

Effective date: 20070131

PLAH Information related to despatch of examination report in opposition + time limit modified

Free format text: ORIGINAL CODE: EPIDOSCORE2

PG25 Lapsed in a contracting state [announced via postgrant information from national office to epo]

Ref country code: ES

Free format text: LAPSE BECAUSE OF NON-PAYMENT OF DUE FEES

Effective date: 20070119

PLBC Reply to examination report in opposition received

Free format text: ORIGINAL CODE: EPIDOSNORE3

RDAF Communication despatched that patent is revoked

Free format text: ORIGINAL CODE: EPIDOSNREV1

RDAG Patent revoked

Free format text: ORIGINAL CODE: 0009271

STAA Information on the status of an ep patent application or granted ep patent

Free format text: STATUS: PATENT REVOKED

27W Patent revoked

Effective date: 20101217