EP0861368B1 - Kühlkreislauf einer brennkraftmaschine sowie verfahren zum betrieb des kühlkreislaufes - Google Patents

Kühlkreislauf einer brennkraftmaschine sowie verfahren zum betrieb des kühlkreislaufes Download PDF

Info

Publication number
EP0861368B1
EP0861368B1 EP97940120A EP97940120A EP0861368B1 EP 0861368 B1 EP0861368 B1 EP 0861368B1 EP 97940120 A EP97940120 A EP 97940120A EP 97940120 A EP97940120 A EP 97940120A EP 0861368 B1 EP0861368 B1 EP 0861368B1
Authority
EP
European Patent Office
Prior art keywords
coolant
temperature
cooling circuit
heat exchanger
cooling
Prior art date
Legal status (The legal status is an assumption and is not a legal conclusion. Google has not performed a legal analysis and makes no representation as to the accuracy of the status listed.)
Expired - Lifetime
Application number
EP97940120A
Other languages
English (en)
French (fr)
Other versions
EP0861368A1 (de
Inventor
Winfrid Eckerskorn
Axel Temmesfeld
Heinz Lemberger
Christian Absmeier
Gerhart Huemer
Victor Brost
Klaus Kalbacher
Karl Schütterle
Current Assignee (The listed assignees may be inaccurate. Google has not performed a legal analysis and makes no representation or warranty as to the accuracy of the list.)
Bayerische Motoren Werke AG
Modine Manufacturing Co
Original Assignee
Bayerische Motoren Werke AG
Modine Manufacturing Co
Priority date (The priority date is an assumption and is not a legal conclusion. Google has not performed a legal analysis and makes no representation as to the accuracy of the date listed.)
Filing date
Publication date
Application filed by Bayerische Motoren Werke AG, Modine Manufacturing Co filed Critical Bayerische Motoren Werke AG
Publication of EP0861368A1 publication Critical patent/EP0861368A1/de
Application granted granted Critical
Publication of EP0861368B1 publication Critical patent/EP0861368B1/de
Anticipated expiration legal-status Critical
Expired - Lifetime legal-status Critical Current

Links

Images

Classifications

    • FMECHANICAL ENGINEERING; LIGHTING; HEATING; WEAPONS; BLASTING
    • F01MACHINES OR ENGINES IN GENERAL; ENGINE PLANTS IN GENERAL; STEAM ENGINES
    • F01PCOOLING OF MACHINES OR ENGINES IN GENERAL; COOLING OF INTERNAL-COMBUSTION ENGINES
    • F01P3/00Liquid cooling
    • F01P3/20Cooling circuits not specific to a single part of engine or machine
    • FMECHANICAL ENGINEERING; LIGHTING; HEATING; WEAPONS; BLASTING
    • F01MACHINES OR ENGINES IN GENERAL; ENGINE PLANTS IN GENERAL; STEAM ENGINES
    • F01PCOOLING OF MACHINES OR ENGINES IN GENERAL; COOLING OF INTERNAL-COMBUSTION ENGINES
    • F01P11/00Component parts, details, or accessories not provided for in, or of interest apart from, groups F01P1/00 - F01P9/00
    • F01P11/02Liquid-coolant filling, overflow, venting, or draining devices
    • F01P11/029Expansion reservoirs
    • FMECHANICAL ENGINEERING; LIGHTING; HEATING; WEAPONS; BLASTING
    • F01MACHINES OR ENGINES IN GENERAL; ENGINE PLANTS IN GENERAL; STEAM ENGINES
    • F01PCOOLING OF MACHINES OR ENGINES IN GENERAL; COOLING OF INTERNAL-COMBUSTION ENGINES
    • F01P7/00Controlling of coolant flow
    • F01P7/14Controlling of coolant flow the coolant being liquid
    • F01P7/16Controlling of coolant flow the coolant being liquid by thermostatic control
    • F01P7/165Controlling of coolant flow the coolant being liquid by thermostatic control characterised by systems with two or more loops
    • FMECHANICAL ENGINEERING; LIGHTING; HEATING; WEAPONS; BLASTING
    • F01MACHINES OR ENGINES IN GENERAL; ENGINE PLANTS IN GENERAL; STEAM ENGINES
    • F01PCOOLING OF MACHINES OR ENGINES IN GENERAL; COOLING OF INTERNAL-COMBUSTION ENGINES
    • F01P3/00Liquid cooling
    • F01P3/18Arrangements or mounting of liquid-to-air heat-exchangers
    • F01P2003/182Arrangements or mounting of liquid-to-air heat-exchangers with multiple heat-exchangers
    • FMECHANICAL ENGINEERING; LIGHTING; HEATING; WEAPONS; BLASTING
    • F01MACHINES OR ENGINES IN GENERAL; ENGINE PLANTS IN GENERAL; STEAM ENGINES
    • F01PCOOLING OF MACHINES OR ENGINES IN GENERAL; COOLING OF INTERNAL-COMBUSTION ENGINES
    • F01P7/00Controlling of coolant flow
    • F01P7/14Controlling of coolant flow the coolant being liquid
    • F01P2007/146Controlling of coolant flow the coolant being liquid using valves
    • FMECHANICAL ENGINEERING; LIGHTING; HEATING; WEAPONS; BLASTING
    • F01MACHINES OR ENGINES IN GENERAL; ENGINE PLANTS IN GENERAL; STEAM ENGINES
    • F01PCOOLING OF MACHINES OR ENGINES IN GENERAL; COOLING OF INTERNAL-COMBUSTION ENGINES
    • F01P2037/00Controlling
    • F01P2037/02Controlling starting
    • FMECHANICAL ENGINEERING; LIGHTING; HEATING; WEAPONS; BLASTING
    • F01MACHINES OR ENGINES IN GENERAL; ENGINE PLANTS IN GENERAL; STEAM ENGINES
    • F01PCOOLING OF MACHINES OR ENGINES IN GENERAL; COOLING OF INTERNAL-COMBUSTION ENGINES
    • F01P2060/00Cooling circuits using auxiliaries
    • F01P2060/04Lubricant cooler
    • F01P2060/045Lubricant cooler for transmissions
    • FMECHANICAL ENGINEERING; LIGHTING; HEATING; WEAPONS; BLASTING
    • F28HEAT EXCHANGE IN GENERAL
    • F28FDETAILS OF HEAT-EXCHANGE AND HEAT-TRANSFER APPARATUS, OF GENERAL APPLICATION
    • F28F27/00Control arrangements or safety devices specially adapted for heat-exchange or heat-transfer apparatus
    • F28F27/02Control arrangements or safety devices specially adapted for heat-exchange or heat-transfer apparatus for controlling the distribution of heat-exchange media between different channels

Definitions

  • the invention relates to the cooling circuit of an internal combustion engine with the features of The preamble of claim 1 and a method for operating the cooling circuit, according to the preamble of claim 8.
  • a cooling circuit corresponding to the preamble of claim 1 and the corresponding Procedures for operating the same are from Research Report No. 377, September 1 1995, Emsworth, GB, page 589, XP000536184, "Engine / Transmission Cooling System", known.
  • the valve unit used there consists of a three-way valve, with which in Depending on the oil temperature, either cooled coolant from the second Cooler or preheated coolant taken directly in front of the internal combustion engine and can be supplied to the heat exchanger for preheating or cooling the oil.
  • temperature ranges that are close to the The switching point of the three-way valve is not optimally covered. When errors occur it is envisaged that the heat exchanger only with coolant from the second Cooler is supplied. As a result, it could be too low in some operating situations Oil temperatures with their adverse consequences occur.
  • the elements of the cooling circuit have not been given in this document.
  • Oil cooling is often carried out by means of oil / air coolers using an appropriate one Thermostats responsive to oil temperatures. These solutions are for smaller ones Cooler sizes quite effective, but lead to more cooling capacity and demand Correspondingly larger coolers mean that the oil temperatures are too low in some operating states are present, the fuel consumption and the life of the internal combustion engine influence negatively.
  • gearbox oil cooling is integrated into the normal water cycle Oil / water heat exchangers are used, often in a water box of the water cooler are arranged enclosed, but can also be provided separately. In this Solution group will only be cooling but not preheating or Heating achieved.
  • the object of the invention is based on the prior art set out in an efficient, compact and inexpensive cooling circuit for Imagine internal combustion engines, with which both a rapid warm-up of the gear oil in the starting phase of the internal combustion engine without significantly affecting the Heating of the passenger compartment can be achieved as well as more efficient oil cooling is possible without having to use additional air or water-cooled oil coolers. Further an associated procedure for operating the cooling circuit is to be specified. This object is achieved according to the invention with those specified in the claims Features resolved.
  • the cooling circuit according to the invention has only a single coolant / oil / heat exchanger which is used for both heating and cooling of operating materials, especially gear oil can be used.
  • a valve unit is provided for this purpose Control flow of the heat exchanger mentioned.
  • the Heat exchanger one from that quickly warmed up by the operation of the internal combustion engine Main cooling circuit branched coolant flow.
  • this amount is so low that the heating of the internal combustion engine itself and the heating of the passenger compartment are hardly affected.
  • the forward flow by means of the same valve unit in the coolant bypass essentially from the Low temperature coolant cooler formed.
  • At least one additional low-temperature cooler can be provided be, which is downstream of the first-mentioned cooler in the secondary flow.
  • the Low-temperature coolant cooler which in a first embodiment by means of a additional flow through a part of the coolant cooler is achieved, the The coolant / oil heat exchanger creates a coolant flow that is about 10 ° C lower the temperature difference oil to coolant increases and the cooling effect improves becomes.
  • the separate low-temperature coolant cooler of a second embodiment higher temperature differences can be realized.
  • here is the Possibility of a space-saving arrangement that is independent of the coolant cooler given.
  • the oil temperature is optimized by minimizing the oil temperature Continuous current from the expansion tank, i.e. a stream of higher temperature Flow stream from the low-temperature coolant cooler is added. Too low Oil temperatures with their negative sequelae, as they are particularly common Oil / air cooling occurring over large driving areas are avoided.
  • the low-temperature coolant cooler is, as is known per se, realized in that at least one partition of at least one water tank of the coolant cooler is that a part of the water flowing through the coolant cooler to a U-shaped or meandering flow through the coolant cooler.
  • the water box inside the low-temperature coolant cooler, there is also an additional connection provided that with the flow channels to the oil-coolant heat exchanger a valve unit is connected.
  • the valve unit is housed in a housing that is fluid-mechanically connected can be brought with the expansion tank and on the two flow channels for the Heat exchangers are molded, one of which in conjunction with the low-temperature coolant cooler is switchable and the other is connected to the expansion tank.
  • the housing which encloses the valve unit, preferably consists of an upper one and a lower receptacle, which is assembled by means of a quick-plug connection are.
  • the upper socket is directly in the bottom area of the expansion tank integrally formed and the lower receptacle forms with the flow channels of the heat exchanger a single injection molded part made of plastic.
  • the return channel of the Heat exchanger and the return connection of the expansion tank and that to the coolant pump leading return nozzle also designed as a uniform injection molded component. All these features mean that a compact design is achieved, because the above Components are in the immediate vicinity, for example on the coolant cooler to fasten the enclosing fan hood. Lines requiring space are therefore unnecessary. All media connections are designed as quick-plug connections, that have a favorable effect on assembly and disassembly.
  • Claims 8 to 11 are directed to a method for operating the cooling circuit which is to improve the efficiency of cooling and preheating. As particularly effective it turned out when the switching point of the valve unit is in cooling mode slightly, about 5 ° C, set below the switching point of the engine main thermostat becomes. Overall, it has been shown that the dynamic control process through the Add cooler or warmer coolant across the entire control range is influenced in the best way.
  • the basic cooling circuit is shown as it is used to cool a Internal combustion engine 17 can be found in a vehicle.
  • Components of the cycle are the coolant cooler 4, the expansion tank 2, the engine thermostat 9 and the coolant pump 8.
  • the main cooling circuit 12 by means of the engine thermostat 9 on a short way, with the coolant cooler switched off 4, returned directly to the internal combustion engine 17.
  • the internal combustion engine 17 heats the coolant in a short time.
  • the Thermal energy of the coolant can be used, for example, to heat the passenger compartment are used, which should not be dealt with in the present case.
  • a single oil / coolant heat exchanger 5 is in the circuit a gear oil cooler, whose flow 1 can be regulated by means of a valve unit 3 is.
  • the valve unit 3 has a connection to the low-temperature coolant cooler 14 as part of the coolant cooler 4 and a further connection to the expansion tank 2.
  • the engine thermostat 9 has already blocked the short way, so that the Main cooling circuit 12 through the coolant cooler 4 and back to the coolant pump 8 runs.
  • the flow flow 1 of the heat exchanger 5 comes essentially from the low-temperature coolant cooler 14 of the water cooler 4.
  • this Low-temperature coolant cooler 14 can, for example, reduce the coolant temperature 10 ° C can be cooled further, which is an advantage for the transmission oil cooling. 4 shows how this low-temperature coolant cooler 14 is part of the coolant cooler 4 is formed, which will be discussed in more detail below.
  • FIG. 2 shows the pure preheating phase of the heat exchanger 5, in which the flow stream 1 is taken from the expansion tank 2, which is part of the main cooling circuit 12 is flowed through.
  • the valve unit 3 has opened the inlet on the left and the right entrance leading to the low-temperature coolant cooler 14 is closed. Part of the coolant warmed up quickly by the internal combustion engine 17 becomes thus provided for rapid heating of the gear oil.
  • FIG. 4 Another operating situation, not shown, arises when the temperature continues to rise on when the engine thermostat 9 is already partially open, the low-temperature coolant cooler 14 then only of a subset of the coolant cooler 4 flowing water is flowing through, as can be seen in principle from Fig. 1.
  • the schematic coolant cooler 4 is shown in FIG. 4. With this coolant cooler 4, a low-temperature coolant cooler 14 is separated by 15 in the left water tank a partition 16 has been inserted, which causes the water or part of the water, to flow through the coolant cooler 4 in the opposite direction again cools down by an additional amount.
  • the main cooling circuit 12 enters and leaves the coolant cooler 4 at the top left of the inlet connection 22 this after flowing through on the right-hand side at the outlet connection 23 in accordance with the drawing Arrow.
  • the portion flowing through the low-temperature coolant cooler 14 forms the coolant bypass flow 13, which leaves this, bottom left, to in the designated 10 Enter flow channel that leads to the heat exchanger 5.
  • the flow channel 10 is also shown in FIGS. 5 and 6, which is a surge tank 2 with the schematic valve unit 3 located in the bottom 21.
  • the valve unit 3 is located in an insert housing 19, which consists of a lower 18 and an upper Receptacle 20 is made. These sockets are preferably made of plastic.
  • the lower receptacle 18 forms a single component together with the flow channel 10, which comes from the low-temperature coolant cooler 14 and the flow channel 11, which leads from the receptacle 18 to the flow connection of the heat exchanger 5.
  • the return channel 28 forms from the heat exchanger 5 with the return connection 29 of the expansion tank 2 and the return pipe 30, which is the connection to Return to the coolant pump 8 represents a single injection molded part made of plastic.
  • FIG. 6 shows the essential details of the valve unit 3 already described receiving housing 19, the valve unit 3 itself, the better clarity half, not drawn, but was only indicated by reference number 3.
  • the two parts of the housing 19, the lower receiving port 18 and the upper receiving port 20, which is part of the expansion tank 2, are outwards by means of a suitable seal 32 sealed.
  • the connection is made through slots or groove 31 in the wall there is a spring clip that was not shown in the drawing.
  • the arrows point the flow of water.
  • the separate Conducting compact design in which the lower receptacle 18 and the flow channels 10 and 11 are formed as a single injection molded part. Because the top Receptacle 20, as already described, directly in the bottom 21 of the expansion tank 2 is molded on, the number of individual parts is extremely low, making it easy to install contributes.
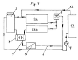
  • FIG. 7 represents the represents pure cooling phase, in which the main cooling circuit 12 is passed through the coolant cooler 4a becomes.
  • the arrows, drawn a little more strongly, show the predominant arrows in this phase Flow path of the cooling water.
  • the low-temperature coolant cooler 14a is downstream of the coolant cooler 4a and is parallel to this. That in this cooler 14a inflowing water reaches the valve unit 3 and from there into the transmission oil cooler 5, where efficient oil cooling is possible due to the large temperature difference.

Landscapes

  • Engineering & Computer Science (AREA)
  • Chemical & Material Sciences (AREA)
  • Combustion & Propulsion (AREA)
  • Mechanical Engineering (AREA)
  • General Engineering & Computer Science (AREA)
  • Lubrication Of Internal Combustion Engines (AREA)

Description

Die Erfindung betrifft den Kühlkreislauf einer Brennkraftmaschine mit den Merkmalen des Oberbegriffes aus dem Anspruch 1, sowie ein Verfahren zum Betrieb des Kühlkreislaufes, gemäß Oberbegriff von Anspruch 8.
Ein dem Oberbegriff des Anspruchs 1 entsprechender Kühlkreislauf sowie das entsprechende Verfahren zum Betrieb desselben, sind aus dem Forschungsbericht no. 377, 1 September 1995, Emsworth, GB, Seite 589, XP000536184, "Engine/Transmission Cooling System", bekannt. Die dort verwendete Ventileinheit besteht aus einem Dreiwegeventil, mit dem in Abhängigkeit von der Öltemperatur entweder gekühlte Kühlflüssigkeit aus dem zweiten Kühler oder vorgewärmete Kühlflüssigkeit direkt vor der Brennkraftmaschine entnommen und dem Wärmetauscher zum Vorwärmen oder Kühlen des Öles zugeführt werden kann. Mit dem bekannten Kühlkreislauf lassen sich Temperaturbereiche, die in der Nähe des Schaltpunktes des Dreiwegeventiles liegen nicht optimal abdecken. Wenn Fehler auftreten ist vorgesehen, daß der Wärmetauscher ausschließlich mit Kühlflüssigkeit aus dem zweiten Kühler versorgt wird. Dadurch könnten in manchen Betriebssituationen durchaus zu niedrige Öltemperaturen mit ihren nachteiligen Folgen auftreten. Hinsichtlich kompakter Bauweise der Elemente des Kühlkreislaufes wurden in diesem Dokument keine Angaben gemacht.
Oftmals erfolgt die Ölkühlung mittels Öl/Luftkühlern unter Verwendung eines auf entsprechende Öltemperaturen ansprechenden Thermostaten. Diese Lösungen sind zwar bei kleineren Kühlergrößen recht effektiv, führen jedoch bei größer geforderter Kühlleistung und entsprechend größeren Kühlern dazu, daß in manchen Betriebszuständen zu niedrige Öltemperaturen vorliegen, die den Kraftstoffverbrauch und die Lebensdauer der Brennkraftmaschine negativ beeinflussen.
Deshalb ist man bereits vor geraumer Zeit dazu übergegangen, die Öltemperatur zu optimieren, d. h. je nach Bedarf zu kühlen oder auch aufzuheizen. Dazu ist ein zusätzlicher Öl/Wasser-Wärmetauscher in dem Kühlkreislauf integriert, der mittels eines auf die Öltemperatur ansprechenden Thermostaten je nach Bedarf zu - oder abgeschaltet wird. Oftmals sind diese Thermostaten mit einer elektrischen Ansteuerung zu aktivieren. Diese Lösungsgruppe vermag zwar optimierte Öltemperaturen bereitzustellen, besitzt aber auch anlagenseitig beträchtliche Kosten.
Ferner werden zur Getriebeölkühlung in den normalen Wasserkreislauf integrierte Öl/Wasser-Wärmetauscher eingesetzt, die oftmals in einem Wasserkasten des Wasserkühlers eingeschlossen angeordnet sind, aber auch separat vorgesehen sein können. In dieser Lösungsgruppe wird nur die Kühlung aber nicht die Vorwärmung beziehungsweise die Aufheizung erzielt.
In der DE-OS 41 04 093 ist das Problem angesprochen worden, daß es in der Startphase des Verbrennungmotors sowohl um die schnelle Aufheizung des Passagierraumes als auch um die schnelle Erreichung der Betriebstemperarur des Motors und des Getriebeöles geht. Um diesen sich teilweise entgegenstehenden Restriktionen besser entsprechen zu können, hat man hier quasi ein Kühl-Management-System vorgestellt, bei dem ein Microprozessor auf Grund von Signalen einer Reihe von Temperaturfühlern in den verschiedenen Kreisläufen die Leistung der verschiedenen Wärmetauscher beeinflussen soll. Diese Anlage scheint recht teuer zu sein sowie eine komplizierte und deshalb auch anfällige technische Struktur zu besitzen.
Ausgehend von dem dargelegten Stand der Technik, besteht die Aufgabe der Erfindung darin, einen effizient arbeitenden sowie kompakten und kostengünstigen Kühlkreislauf für Brennkraftmaschinen vorzustellen, mit dem sowohl eine zügige Aufwärmung des Getriebeöles in der Startphase der Brennkraftmaschine ohne wesentliche Beeinträchtigung der Aufheizung des Passagierraumes erreicht werden kann als auch eine effizientere Ölkühlung möglich ist, ohne zusätzliche luft-oder wassergekühlte Ölkühler einsetzen zu müssen. Ferner soll ein dazugehöriges Verfahren zum Betrieb des Kühlkreislaufes angegeben werden. Diese Aufgabe wird erfindungsgemäß mit den in den Patentansprüchen angegebenen Merkmalen gelöst.
Der erfindungsgemäße Kühlkreislauf weist nur einen einzigen Kühlmittel/Öl/Wärmetauscher auf, der sowohl zur Aufheizung als auch zur Kühlung von Betriebsstoffen, insbesondere Getriebeöl, verwendbar ist. Dazu ist eine Ventileinheit vorgesehen, die den Vorlaufstrom des genannten Wärmetauschers steuert. In der Vorwärmphase erhält der Wärmetauscher einen aus dem durch den Betrieb des Verbrennungsmotors schnell angewärmten Hauptkühlkreislauf abgezweigten Kühlmittelstrom. Diese Menge ist jedoch so gering, daß die Anwärmung des Verbrennungsmotors selbst sowie die Aufheizung des Passagierraumes kaum beeinträchtigt werden. In der Kühlphase hingegen wird der Vorlaufstrom mittels der gleichen Ventileinheit im Kühlmittelnebenstrom im wesentlichen aus dem Niedertemperaturkühlmittelkühler gebildet. Alternativ oder zusätzlich zu dem Niedertemperaturkühlmittelkühler kann mindestens ein weiterer Niedertemperaturkühler vorgesehen sein, der dem erstgenannten Kühler im Nebenstrom liegend nachgeschaltet ist. Durch den Niedertemperaturkühlmittelkühler, der in einem ersten Ausführungsbeispiel mittels einer zusätzlichen Durchströmung eines Teiles des Kühlmittelkühlers realisierbar ist, erhält der Kühlmittel/Öl-Wärmetauscher einen Kühlmittelstrom, der um etwa 10°C niedriger ist, wodurch die Temperaturdifferenz Öl zu Kühlmittel vergrößert und die Kühlwirkung verbessert wird. Durch den separaten Niedertemperaturkühlmittelkühler eines zweiten Ausführungsbeispiels lassen sich noch höhere Temperaturdifferenzen realisieren. Ferner ist hier die Möglichkeit einer von dem Kühlmittelkühler unabhängigen und platzsparenden Anordnung gegeben.
Bei einer Temperatur von etwa 80 bis 90°C befindet sich ein Übergangsbereich zwischen Vorwärmphase und Kühlphase, in dem der Vorlaufstrom des Wärmetauschers aus dem Ausgleichsbehälter mit dem aus dem Niedertemperaturkühlmittelkühler gemischt ist. Somit ist sowohl die Getriebeölkühlung in allen Betriebssituationen als auch die Vorwärmung nur mittels dieses einen Wärmetauschers möglich.
Zusätzlich wird zur Optimierung der Öltemperatur dadurch beigetragen, daß einem minimalen Dauerstrom aus dem Ausgleichsbehälter, also einem Strom höherer Temperatur, ein Vorlaufstrom aus dem Niedertemperaturkühlmittelkühler beigemischt wird. Zu niedrige Öltemperaturen mit ihren negativen Folgeerscheinungen, wie sie insbesondere bei Öl/Luftkühlung über große Fahrbereiche auftreten, werden vermieden.
Der Niedertemperaturkühlmittelkühler wird, wie an sich bekannt, dadurch realisiert, daß in mindestens einem Wasserkasten des Kühlmittelkühlers mindestens eine Trennwand angeordnet ist, die einen Teil des den Kühlmittelkühler durchströmenden Wassers zu einer u-förmigen oder mäanderartigen Durchströmung des Kühlmittelkühlers veranlaßt. Im Wasserkasten, innerhalb des Niedertemperaturkühlmittelkühlers, ist ferner ein zusätzlicher Anschluß vorgesehen, der mit den Vorlaufkanälen zum Öl-Kühlmittel-Wärmetauscher über eine Ventileinheit verbunden ist.
Die Ventileinheit ist in einem Gehäuse untergebracht, das strömungsmechanisch in Verbindung mit dem Ausgleichsbehälter bringbar ist und an dem zwei Vorlaufkanäle für den Wärmetauscher angeformt sind, von denen einer in Verbindung mit dem Niedertemperaturkühlmittelkühler schaltbar ist und der andere in Verbindung zum Ausgleichsbehälter ist. Vorzugsweise besteht das Gehäuse, welches die Ventileinheit einschließt, aus einem oberen und einem unteren Aufnahmestutzen, die mittels Schnell-Steck-Anschluß zusammengefügt sind. Dabei ist der obere Aufnahmestutzen direkt im Bodenbereich des Ausgleichsbehälters angeformt und der untere Aufnahmestutzen bildet mit den Vorlaufkanälen des Wärmetauschers ein einziges Spritzgußteil aus Kunststoff. Außerdem sind der Rücklaufkanal des Wärmetauschers und der Rücklaufanschluß des Ausgleichsbehälters sowie der zur Kühlmittelpumpe führende Rücklaufstutzen ebenfalls als einheitliches Spritzgußbauteil konzipiert. All diese Merkmale führen dazu, daß eine kompakte Bauweise erzielt wird, denn die genannten Bauteile sind in unmittelbarer Nähe, beispielsweise an der den Kühlmittelkühler einschließenden Ventilatorhaube zu befestigen. Raumbedarf erfordernde Leitungen sind somit entbehrlich. Sämtliche Medienanschlüsse sind als Schnell-Steck-Anschlüsse ausgeführt, die sich günstig auf die Montage und Demontage auswirken.
Die Ansprüche 8 bis 11 richten sich auf ein Verfahren zum Betrieb des Kühlkreislaufes, mit dem die Effizienz der Kühlung und Vorwärmung zu verbessern ist. Als besonders wirkungsvoll hat es sich herausgestellt, wenn der Schaltpunkt der Ventileinheit auf Kühlbetrieb geringfügig, etwa 5°C, unterhalb des Schaltpunktes des Motor-Hauptthermostaten eingestellt wird. Insgesamt hat sich gezeigt, daß der dynamische Regelungsprozeß durch die Zumischung kühleren oder wärmeren Kühlmittels über den gesamten Regelungsbereich in bester Weise beeinflußt wird.
Wegen weiterer erfindungswesentlicher Merkmale wird auf die Patentansprüche verwiesen. Weitere Vorteile der Erfindung ergeben sich aus der nachfolgenden Beschreibung von Ausführungsbeispielen. Dazu wird auf die Fig. Bezug genommen.
Es zeigen:
Fig. 1
schematisches Schaltbild der Kühlphase eines Getriebeölkühlers;
Fig. 2
schematisches Schaltbild der Heiz-oder Vorwärmphase;
Fig. 3
schematisches Schaltbild in einer Übergangsphase;
Fig. 4
Kühlmittelkühler (schematisch) der in einem Wasserkasten eine Trennwand zur Bildung eines Niedertemperaturkühlmittelkühlers aufweist;
Fig. 5
Ausgleichsbehälter mit Aufnahmestutzen mit eingesetztem Thermostatventil und Kanälen zum angedeuteten Getriebeölkühler und zum Niedertemperaturkühlmittelkühler;
Fig. 6
Gehäuse bildende Aufnahmestutzen als Einzelheit;
Fig. 7
schematisiertes Schaltbild mit einem separaten Niedertemperaturkühlmittelkühler;
In den Fig. 1 bis 3 ist der prinzipielle Kühlkreislauf abgebildet, wie er zur Kühlung einer Brennkraftmaschine 17 in einem Fahrzeug anzutreffen ist. Bestandteile des Kreislaufes sind der Kühlmittelkühler 4, der Ausgleichsbehälter 2, der Motorthermostat 9 und die Kühlmittelpumpe 8. Beim Start der kalten Brennkraftmaschine 17 wird der Hauptkühlkreislauf 12 mittels dem Motorthermostat 9 auf kurzem Weg, unter Ausschaltung des Kühlmittelkühlers 4, direkt zur Brennkraftmaschine 17 zurückgeführt. Im rechten Teil der Fig.2 und 3 ist das abgebildet. Dabei erwärmt die Brennkraftmaschine 17 das Kühlmittel in kurzer Zeit. Die Wärmeenergie des Kühlmittels kann beispielsweise zur Aufheizung des Passagierraumes benutzt werden, worauf vorliegend nicht eingegangen werden soll.
Zusätzlich ist in dem Kreislauf ein einziger Öl/Kühlmittel-Wärmetauscher 5, beispielsweise ein Getriebeölkühler, eingebunden, dessen Vorlaufstrom 1 mittels einer Ventileinheit 3 regelbar ist. Die Ventileinheit 3 besitzt einen Anschluß zum Niedertemperaturkühlmittelkühler 14 als Teil des Kühlmittelkühlers 4 und einen weiteren Anschluß zum Ausgleichsbehälter 2. In der Kühlphase, wie in Fig. 1 abgebildet, beispielsweise bei einer Kühlwassertemperatur von 110°C, hat der Motorthermostat 9 den kurzen Weg bereits abgesperrt, so daß der Hauptkühlkreislauf 12 durch den Kühlmittelkühler 4 und zurück zur Kühlmittelpumpe 8 verläuft. Da auch die Ventileinheit 3 den Weg zum Ausgleichsbehälter 2 abgesperrt hat - bis auf einen geringen Dauerstrom - kommt der Vorlaufstrom 1 des Wärmetauschers 5 im wesentlichen aus dem Niedertemperaturkühlmittelkühler 14 des Wasserkühlers 4. Durch diesen Niedertemperaturkühlmittelkühler 14 kann die Kühlmitteltemperatur beispielsweise um 10°C weiter abgekühlt werden, was für die Getriebeölkühlung von Vorteil ist. Die Fig. 4 zeigt, wie dieser Niedertemperaturkühlmittelkühler 14 als Teil das Kühlmittelkühlers 4 gebildet ist, worauf weiter unten näher eingegangen wird.
Die Fig. 2 zeigt die reine Vorwärmphase des Wärmetauschers 5, in der der Vorlaufstrom 1 aus dem Ausgleichsbehälter 2 entnommen wird, der von einem Teil des Hauptkühlkreislaufes 12 durchflossen wird. Die Ventileinheit 3 hat den im Bild linken Eingang geöffnet und den rechten, zum Niedertemperaturkühlmittelkühler 14 führenden Eingang, geschlossen. Ein Teil des durch die Brennkraftmaschine 17 schnell aufgewärmten Kühlmittels wird somit zur zügigen Aufwärmung des Getriebeöles bereitgestellt.
Beispielsweise in einem Temperaturbereich zwischen 80 und 85°C des Kühlmittels, etwas vor der Aktionstemperatur des Motorthermostaten 9, die bei 90°C liegen könnte, hat sich ein Übergangsbereich eingestellt, wie er in Fig. 3 abgebildet ist. In diesem Temperaturbereich kommt der Vorlaufstrom 1 des Wärmetauschers 5 sowohl aus dem Ausgleichsbehälter 2 als aus dem Niedertemperaturkühlmittelkühler 14, was wiederum der Optimierung der Öltemperatur dienlich ist.
Eine weitere nicht abgebildete Betriebssituation stellt sich bei weiter steigender Temperatur ein, wenn auch bereits der Motorthermostat 9 teilweise geöffnet ist, wobei der Niedertemperaturkühlmittelkühler 14 dann nur noch von einer Teilmenge des den Kühlmittelkühler 4 durchströmenden Wassers durchflossen ist, wie es prinzipiell auch aus Fig. 1 erkennbar ist. Der schematisierte Kühlmittelkühler 4 geht aus Fig. 4 hervor. Bei diesem Kühlmittelkühler 4 ist ein Niedertemperaturkühlmittelkühler 14 abgetrennt, indem im linken Wasserkasten 15 eine Trennwand 16 eingesetzt wurde, die das Wasser oder einen Teil des Wassers veranlaßt, den Kühlmittelkühler 4 in entgegengesetzter Richtung noch einmal zu durchströmen, das sich dabei um einen zusätzlichen Betrag abkühlt. Der Hauptkühlkreislauf 12 oder ein Teil desselben tritt oben links am Einlaufstutzen 22 in den Kühlmittelkühler 4 ein und verläßt diesen nach Durchströmen auf der rechten Seite am Auslaufstutzen 23 gemäß dem eingezeichneten Pfeil. Der den Niedertemperaturkühlmittelkühler 14 durchströmende Anteil bildet den Kühlmittelnebenstrom 13, der diesen, unten links, verläßt, um in den mit 10 bezeichneten Vorlaufkanal einzutreten, der zum Wärmetauscher 5 führt. Am Wasserkasten 15, innerhalb des Niedertemperaturkühlmittelkühlers 14, ist ein Anschlußstutzen 24 zum Anschluß an den Vorlaufkanal 10 in schematisierter Form dargestellt.
Der Vorlaufkanal 10 ist auch in den Fig. 5 und 6 eingezeichnet, die einen Ausgleichsbehälter 2 mit im Boden 21 befindlicher schematisierter Ventileinheit 3 zeigen. Die Ventileinheit 3 befindet sich in einem Einsatzgehäuse 19, das aus einem unteren 18 und einem oberen Aufnahmestutzen 20 besteht. Diese Stutzen sind vorzugsweise aus Kunststoff hergestellt. Dabei bildet der untere Aufnahmestutzen 18 ein einziges Bauteil gemeinsam mit dem Vorlaufkanal 10, der vom Niedertemperaturkühlmittelkühler 14 kommt und dem Vorlaufkanal 11, der vom Aufnahmestutzen 18 zum Vorlaufanschluß des Wärmetauschers 5 führt. In gleicher Weise bildet der Rücklaufkanal 28 vom Wärmetauscher 5 mit dem Rücklaufanschluß 29 des Ausgleichsbehälters 2 und dem Rücklaufstutzen 30, der den Anschluß zum Rücklauf zur Kühlmittelpumpe 8 darstellt, ein einziges Spritzgußteil aus Kunststoff. Die in Fig. 5 eingezeichneten Pfeile deuten die Durchströmung des Ausgleichsbehälters 2 und der Kanäle 10; 11; 28;29 an. In der Vorwärmphase tritt der mit dem oberen horizontalen Pfeil deutlich gemachte Teil des Hauptkühlkreislaufes 12 in den Ausgleichsbehälter 2 ein. Mittels der Ventileinheit 3 wird ein Teil dessen abgezweigt und über den Vorlaufkanal 11 dem Getriebeölkühler 5 (Wärmetauscher 5) zugeführt. Über den Rücklaufkanal 28 verläßt das Wasser den Getriebeölkühler 5 und geht in den Kreislauf zurück. In der Kühlphase kommt das Kühlwasser aus dem Niedertemperaturkühlmittelkühler 14 über den Vorlaufkanal 10, in den Vorlaufkanal 11, in den Getriebeölkühler 5 und verläßt diesen wie beschrieben. Im Übergangsbereich wird der Vorlaufstrom 1 mittels der Ventileinheit 3 so gesteuert, daß ein Teil des Kühlwassers über den Kanal 10 aus dem Niedertemperaturkühlmittelkühlerl4 und ein anderer Teil aus dem Ausgleichsbehälter 2 in den Vorlaufkanal 11 eingespeist wird.
Die Fig. 6 zeigt die bereits beschriebenen wesentlichen Einzelheiten des die Ventileinheit 3 aufnehmenden Gehäuses 19, wobei die Ventileinheit 3 selbst, der besseren Übersichtlichkeit halber, nicht gezeichnet sondern lediglich durch die Bezugsziffer 3 angedeutet wurde. Die beiden Teile des Gehäuses 19, der untere Aufnahmestutzenl8 und der obere Aufnahmestutzen 20, der Teil des Ausgleichsbehälters 2 ist, sind nach außen hin mittels geeigneter Dichtung 32 abgedichtet. Die Verbindung erfolgt durch wandseitige Schlitze oder Nut 31, in der sich eine Federklammer befindet, die zeichnerisch nicht dargestellt wurde. Die Pfeile deuten die Strömung des Wassers an. Erkennbar ist aus dieser Darstellung ebenfalls die auf separate Leitungen verzichtende kompakte Gestaltung, bei der der untere Aufnahmestutzen 18 und die Vorlaufkanäle 10 und 11 als einheitliches Spritzgußteil ausgebildet sind. Da der obere Aufnahmestutzen 20, wie bereits beschrieben, direkt im Boden 21 des Ausgleichsbehälters 2 angeformt ist, ist die Zahl der Einzelteile äußerst gering, was zur Montagefreundlichkeit beiträgt.
In der Variante nach Fig.7, bei der der Niedertemperaturkühlmittelkühler 14 durch einen separaten Niedertemperaturkühlmittelkühler 14a ersetzt wurde, stellt sich der Vorteil ein, daß größere Temperaturdifferenzen für die Ölkühlung erzielt werden können. Ebenso kann diese Variante vorteilhaft sein, wenn aus Platzgründen der Kühlmittelkühler 4 mit dem eingeschlossenen Niedertemperaturkühlmittelkühler 14 nicht untergebracht werden kann. Dafür kann ein kleinerer Kühlmittelkühler 4a vorgesehen werden, wobei die Anordnung des separaten Niedertemperaturkühlmittelkühlers 14a dort erfolgen kann, wo es die Platzverhältnisse in dem Kraftfahrzeug gestatten. Die Fig. 7 stellt, wie auch die bereits erläuterte Fig. 1. die reine Kühlphase dar, bei der der Hauptkühlkreislauf 12 durch den Kühlmittelkühler 4a geleitet wird. Die etwas kräftiger gezeichneten Pfeile zeigen den in dieser Phase vorherrschenden Strömungsweg des Kühlwassers. Der Niedertemperaturkühlmittelkühler 14a ist dem Kühlmittelkühler 4a nachgeschaltet und liegt zu diesem parallel. Das in diesen Kühler 14a einströmende Wasser gelangt zur Ventileinheit 3 und von dort in den Getriebeölkühler 5, wo auf Grund der großen Temperaturdifferenz eine effiziente Ölkühlung möglich ist.
Liste der verwendeten Bezugszeichen
1
Vorlaufstrom von 5
2
Ausgleichsbehälter
3
Ventileinheit
4
Kühlmittelkühler
4a
Kühlmittelkühler
5
Wärmetauscher (Öl-Wasser-Kühler)
6
Rücklaufstrom von 5
7
Kühlmittelleitung
8
Kühlmittelpumpe
9
Motor-Haupthermostat
10
Vorlaufkanal von 4 (14) nach 5
11
Vorlaufkanal von 2 nach 5
12
Hauptkühlkreislauf
13
Kühlmittelnebenstrom
14
Niedertemperaturkühlmittelkühler von 4
14a
Niedertemperaturkühlmittelkühler bei 4a
15
Wasserkasten von 4
16
Trennwand in 15
17
Brennkraftmaschine
18
Aufnahmestutzen, unten
19
Einsatzgehäuse für 3
20
Aufnahmestutzen, oben am Ausgleichsbehälter 2
21
Boden des Ausgleichsbehälters 2
22
Einlaufstutzen an 4
23
Auslaufstutzen an 4
24
Anschlußstutzen an 14
25
Flachrohre
26
Lamellen
27
Trennlinie für Niedertemperaturkühlmittelkühler 14
28
Rücklaufkanal von 5
29
Rücklaufanschluß an 2
30
Rücklaufstutzen
31
Nut für Federklammer
32
Dichtung

Claims (11)

  1. Kühlkreislauf einer Brennkraftmaschine von Fahrzeugen, mit einem Hauptkühlkreislauf (12), bestehend aus einem Kühlmittelkühler (4;4a), einer Kühlmittelpumpe (8) und einem Motorthermostat (9), der den Kühlmittelkühler (4;4a) bei Erreichen einer vorbestimmten Temperatur des Kühlmittels in den die Kühlmittelpumpe (8) aufweisenden Kühlkreislauf einschaltet, sowie mit einem Niedertemperaturkühlmittelkühler (14;14a), einem Wärmetauscher (5) zum Vorwärmen und Kühlen von Betriebsstoffen, insbesonder Getriebeöl, mit Hilfe des Kühlmittels und einer Ventileinheit (3), die den Vorlaufstrom des Wärmetauschers (5) in der Vorwärmphase aus dem unter Umgehung des Kühlmittelskühlers (4,4a) zirkulierenden Kühlkreislauf der Brennkraftmaschine (17) und in der Kühlphase aus dem Niedertemperaturkühlmittelkühler (14;14a) abzweigt, wobei der Wärmetauscher (5) einen Vorlaufkanal (11) sowie einen Rücklaufkanal (28) in den Hauptkühlkreislauf (12) besitzt,
    dadurch gekennzeichnet, daß
    ein Ausgleichsbehälter (2) an dem Hauptkühlkreislauf (12) angeschlossen ist und die Ventileinheit (3) am Gehäuse des Ausgleichsbehälters angebracht ist, wobei die Ventileinheit (3) den Vorlaufstrom (1) des Wärmetauschers (5) in der Vorwärmphase aus dem Ausgleichsbehälter (2) zum Vorlaufkanal (11) abzweigt und in der Kühlphase aus dem Niedertemperaturkühlmittelkühler (14;14a) zum Vorlaufkanal (11) abzweigt, wobei die Ventileinheit (3) in einem Temperaturbereich des Kühlmittels zwischen der Vorwärmphase und der Kühlphase den Vorlaufstrom (1) des Wärmetauschers (5) aus Teilströmen aus dem Ausgleichsbehälter (2) und dem Niedertemperaturkühlmittelkühler (14;14a) mischt und daß der Rücklaufkanal (28) vom Wärmetauscher (5) mit einem Rücklaufanschluß (29) des Ausgleichsbehälters (2) in einen gemeinsamen Rücklaufstutzen (30) zum Hauptkühlkreislauf mündet.
  2. Kühlkreislauf nach Anspruch 1, dadurch gekennzeichnet, daß die Reaktionstemperatur der Ventileinheit (3) unterhalb der Reaktionstemperatur des Motor-Hauptthermostaten (9) eingestellt ist.
  3. Kühlkreislauf nach den Ansprüchen 1 und 2, dadurch gekennzeichnet, daß sich die Ventileinheit (3) in einem Einsatzgehäuse (19) befindet, das in Verbindung zum Ausgleichsbehälter (2) steht und das zwei Vorlaufkanäle (10;11) zum Wärmetauscher (5) aufweist, von denen der eine Vorlaufkanal (10) in Verbindung mit dem Niedertemperaturkühlmittelkühler (14; 14a) und der andere Vorlaufkanal (11) in Verbindung mit dem Ausgleichsbehälter (2) ist.
  4. Kühlkreislauf nach Anspruch 3, dadurch gekennzeichnet, daß das Einsatzgehäuse (19) aus einem unteren (18) und einem oberen (20) Aufnahmestutzen gebildet ist, die abdichtend ineinandersteckbar sind, daß der obere Aufnahmestutzen (20) direkt am Boden (21) des Ausgleichsbehälters (2) angeformt ist und, daß der untere Aufnahmestutzen (18) gemeinsam mit den Vorlaufkanälen (10;11) ein einziges Bauteil, vorzugsweise ein Kunststoff-Spritzgußteil, darstellt.
  5. Kühlkreislauf nach Anspruch 4, dadurch gekennzeichnet, daß die die Ventileinheit (3) aufnehmenden unteren und oberen Aufnahmestutzen (18; 20) als ineinandersteckbare und abdichtende Schnell-Steck-Stutzen ausgebildet sind.
  6. Kühlkreislauf nach den Ansprüchen 4 und 5, dadurch gekennzeichnet, daß der Aufnahmestutzen (20) am Ausgleichsbehälter (2) innen eine einen O-Ring aufnehmende Nut aufweist und an seinem Umfang Schlitze (31) zur Aufnahme einer Federklammer besitzt und, daß der Aufnahmestutzen (18) eine konische Mantelfläche zeigt, die an dem O-Ring abdichtend anliegt sowie eine die Federklammer aufnehmende umlaufende Nut (31) besitzt.
  7. Kühlkreislauf nach einem der vorstehenden Ansprüche, dadurch gekennzeichnet, daß der Rücklaufkanal (28), der Rücklaufanschluß (29) und der Rücklaufstutzen (30) ein einziges Bauteil, vorzugsweise ein Kunststoff-Spritzgußteil, darstellen.
  8. Verfahren zum Betrieb des Kühlkreislaufes einer Brennkraftmaschine (17), mit dem das Vorwärmen und Kühlen von Betriebsstoffen, insbesondere Getriebeöl, mittels eines Wärmetauschers (5) durchgeführt wird, wobei ein Motorthermostat (9) den Kreislauf auf Kühlung mittels Kühlmittelkühler (4;4a) und Niedertemperaturkühlmittelkühler (14;14a) oder auf Vorwärmung schaltet, bei der die Kühler (4;4a;14;14a) nicht durchströmt werden und eine Ventileinheit (3) den Kühlmittelstrom durch den Wärmetauscher (5) regelt,
    dadurch gekennzeichnet, daß der Vorlaufstrom (1) des Wärmetauschers (5) in der Vorwärmphase im wesentlichen aus dem Ausgleichsbehälter (2) entnommen wird, der von einem Teil des Hauptkühlkreislaufes (12) durchströmt wird, daß bei einer etwas unterhalb des Schaltpunktes des Motorthermostaten (9) liegenden Temperatur des Kühlmittels die Ventileinheit (3) auf Kühlphase umschaltet und in der Kühlphase der Vorlaufstrom (1) des Wärmetauschers (5) im wesentlichen aus dem Niedertemperaturkühlmittelkühler (14;14a) abgezweigt wird, daß der Vorlaufstrom (1) in einem Temperaturbereich zwischen Vorwärm-und Kühlphase gemischt wird und daß die Ventileinheit (3) einen Dauervorlaufstrom aus dem durch den Ausgleichsbehälter (2) geführten Kühlmittelstrom entnimmt und durch den Wärmetauscher (5) leitet.
  9. Verfahren nach Anspruch 8, dadurch gekennzeichnet, daß dem minimalen Dauervorlaufstrom in der Kühlphase mit steigender Temperatur des Kühlmittels ein größer werdender Kühlmittelstrom aus dem Niedertemperaturkühlmittelkühler (14;14a) zugemischt wird.
  10. Verfahren nach den Ansprüchen 8, dadurch gekennzeichnet, daß nach Erreichen der Schalttemperatur bei weiter steigender Temperatur des Kühlmittels, der Anteil des den Vorlaufstrom (1) bildenden Kühlmittels aus dem Niedertemperaturkühlmittelkühler (14; 14a) erhöht und bei fallender Temperatur verringert wird.
  11. Verfahren nach einem der vorstehenden Ansprüche, dadurch gekennzeichnet, daß nach Erreichen der Schalttemperatur, bei weiter steigender Temperatur des Kühlmittels, der Anteil des den Vorlaufstrom (1) bildenden Kühlmittels aus dem Ausgleichsbehälter (2) bzw. aus dem den Kühlmittelkühler (4) nicht durchströmenden Kühlmittelstrom (12) verringert und bei fallender Temperatur erhöht wird.
EP97940120A 1996-09-17 1997-08-23 Kühlkreislauf einer brennkraftmaschine sowie verfahren zum betrieb des kühlkreislaufes Expired - Lifetime EP0861368B1 (de)

Applications Claiming Priority (3)

Application Number Priority Date Filing Date Title
DE19637817 1996-09-17
DE19637817A DE19637817A1 (de) 1996-09-17 1996-09-17 Einrichtung und Verfahren zum Kühlen und Vorwärmen
PCT/EP1997/004604 WO1998012425A1 (de) 1996-09-17 1997-08-23 Einrichtung und verfahren zum kühlen und vorwärmen

Publications (2)

Publication Number Publication Date
EP0861368A1 EP0861368A1 (de) 1998-09-02
EP0861368B1 true EP0861368B1 (de) 2000-04-12

Family

ID=7805856

Family Applications (1)

Application Number Title Priority Date Filing Date
EP97940120A Expired - Lifetime EP0861368B1 (de) 1996-09-17 1997-08-23 Kühlkreislauf einer brennkraftmaschine sowie verfahren zum betrieb des kühlkreislaufes

Country Status (5)

Country Link
US (1) US6196168B1 (de)
EP (1) EP0861368B1 (de)
DE (2) DE19637817A1 (de)
ES (1) ES2146115T3 (de)
WO (1) WO1998012425A1 (de)

Cited By (6)

* Cited by examiner, † Cited by third party
Publication number Priority date Publication date Assignee Title
WO2004063543A2 (de) 2003-01-16 2004-07-29 Behr Gmbh & Co. Kg Kühlkreislauf einer brennkraftmaschine mit niedertemperaturkühler
DE102006048527A1 (de) * 2006-10-13 2008-04-17 Volkswagen Ag Kühlkreislauf für eine Brennkraftmaschine
DE102004004975B4 (de) * 2004-01-31 2015-04-23 Modine Manufacturing Co. Plattenwärmeübertrager
DE102017219939A1 (de) 2017-11-09 2019-05-09 Volkswagen Aktiengesellschaft Kühlkreislauf für eine Antriebseinheit eines Kraftfahrzeuges
DE102018202476A1 (de) 2018-02-19 2019-08-22 Volkswagen Aktiengesellschaft Kühlkreislauf für eine Antriebseinheit eines Kraftfahrzeuges
US10844760B2 (en) 2018-01-30 2020-11-24 Cumming Power Generation IP, Inc. Oil heater for a generator set

Families Citing this family (75)

* Cited by examiner, † Cited by third party
Publication number Priority date Publication date Assignee Title
DE19715324A1 (de) 1997-04-12 1998-10-15 Bayerische Motoren Werke Ag Wärmetauscher für flüssige Wärmetauschmittel
DE19942727A1 (de) * 1999-09-08 2001-03-15 Zahnradfabrik Friedrichshafen Kühlkreislauf
DE10019029C5 (de) * 2000-04-18 2017-11-23 Mahle International Gmbh Vorrichtung zum Kühlen und/oder Temperieren von Öl
US6427640B1 (en) * 2000-10-11 2002-08-06 Ford Global Tech., Inc. System and method for heating vehicle fluids
FR2815299B1 (fr) * 2000-10-13 2003-01-24 Renault Systeme et procede de refroidissement pour vehicule a propulsion hybride
FR2815401A1 (fr) * 2000-10-13 2002-04-19 Renault Dispositif, systeme et procede de refroidissement d'un fluide caloporteur
FR2815402B1 (fr) * 2000-10-13 2006-07-07 Renault Dispositif, systeme et procede de refroidissement d'un fluide caloporteur
DE10065002A1 (de) * 2000-12-23 2002-07-11 Bosch Gmbh Robert Anordnung und Verfahren zum Kühlen
EP1362168B1 (de) * 2001-01-05 2006-11-15 Renault s.a.s. Vorrichtung, system und verfahren zum kühlen eines kühlmittels
RU2202699C2 (ru) * 2001-05-16 2003-04-20 Общевойсковая Академия Вооруженных Сил Российской Федерации Система охлаждения с автоматическим регулированием теплового состояния двигателя
DE10202613A1 (de) * 2002-01-24 2003-07-31 Zahnradfabrik Friedrichshafen Vorrichtung zum Kühlen eines Getriebes
EP1348846B1 (de) * 2002-03-27 2008-12-24 Calsonic Kansei Corporation Kühlungseinrichtung einer wassergekühlten Brennkraftmascine und Getriebeölkühlermodul
DE10226928A1 (de) * 2002-06-17 2004-01-08 Siemens Ag Verfahren zum Betrieb einer flüssigkeitsgekühlten Brennkraftmaschine
GB0220480D0 (en) * 2002-09-04 2002-10-09 Ford Global Tech Inc A motor vehicle and a thermostatically controlled valve therefor
DE10241228B4 (de) * 2002-09-06 2005-12-08 Robert Bosch Gmbh Kühlsystem für ein Kraftfahrzeug
DE10258504A1 (de) * 2002-12-14 2004-07-08 Zf Friedrichshafen Ag Getriebe mit Getriebeölkanälen
DE10305914A1 (de) * 2003-02-13 2004-08-26 Zf Friedrichshafen Ag Getriebe mit Getriebeölkanälen
US7082905B2 (en) * 2003-02-24 2006-08-01 Honda Motor Co., Ltd. Cooling apparatus for hybrid vehicle
FR2852678B1 (fr) * 2003-03-21 2005-07-15 Valeo Thermique Moteur Sa Systeme de refroidissement a basse temperature d'un equipement, notamment d'un equipement de vehicule automobile, et echangeurs de chaleur associes
GB0310120D0 (en) * 2003-05-02 2003-06-04 Ford Global Tech Llc Engine cooling systems
GB0310122D0 (en) * 2003-05-02 2003-06-04 Ford Global Tech Llc Temperature responsive flow control valves for engine cooling systems
DE10332949A1 (de) 2003-07-19 2005-02-10 Daimlerchrysler Ag Vorrichtung zum Kühlen und Vorwärmen
WO2006010430A1 (de) * 2004-07-26 2006-02-02 Behr Gmbh & Co. Kg Kühlmittelkühler mit in einen der wasserkästen integriertem getriebeölkühler
FR2879044B1 (fr) * 2004-12-03 2007-03-02 Renault Sas Systeme de refroidissement pour chaine de traction hybride de vehicule automobile
FR2883806B1 (fr) * 2005-03-31 2008-08-08 Valeo Systemes Thermiques Installation et procede de refroidissement d'un equipement de vehicule automobile
US8418487B2 (en) * 2006-04-17 2013-04-16 Martin P. King Water chiller economizer system
SE530241C2 (sv) 2006-10-03 2008-04-08 Scania Cv Ab Arrangemang för att kyla olja i en växellåda i ett fordon
DE102006054223A1 (de) * 2006-11-15 2008-05-21 Behr Gmbh & Co. Kg Kühlsystem für ein Kraftfahrzeug
US8116953B2 (en) * 2008-01-10 2012-02-14 GM Global Technology Operations LLC Active thermal management system and method for transmissions
US7669558B2 (en) * 2007-07-16 2010-03-02 Gm Global Technology Operations, Inc. Integrated vehicle cooling system
SE531791C2 (sv) * 2007-10-05 2009-08-04 Scania Cv Ab Arrangemang för att kyla olja i en växellåda i ett fordon
DE102007052927A1 (de) * 2007-11-07 2009-05-14 Daimler Ag Kühlmittelkreislauf für eine Brennkraftmaschine
DE102007052926A1 (de) 2007-11-07 2009-05-14 Daimler Ag Kühlmittelkreislauf für eine Brennkraftmaschine
SE532929C2 (sv) * 2007-12-13 2010-05-11 Scania Cv Abp Kylsystem hos motorfordon
EP2247835A1 (de) * 2008-01-03 2010-11-10 Mack Trucks, Inc. Abgasrückführungskühlkreislauf
FR2927416A1 (fr) * 2008-02-11 2009-08-14 Renault Sas Echangeur thermique pour un vehicule automobile et vehicule associe
JP5191792B2 (ja) * 2008-05-07 2013-05-08 ヤンマー株式会社 定置式エンジンの冷却水回路
DE102009000777A1 (de) 2009-02-11 2010-08-12 Zf Friedrichshafen Ag Verfahren und Einrichtung zur Verbesserung des Wirkungsgrades von Getrieben in Landwirtschaftsfahrzeugen
US9187083B2 (en) 2009-09-16 2015-11-17 Polaris Industries Inc. System and method for charging an on-board battery of an electric vehicle
EP2308708B1 (de) * 2009-09-16 2016-08-17 swissauto powersport llc Elektrofahrzeug mit Reichweitenverlängerung
DE102010003146A1 (de) * 2010-03-23 2011-09-29 Ford Global Technologies, Llc Verfahren zum Abkühlen einer Fahrzeugkabine
US8631772B2 (en) * 2010-05-21 2014-01-21 Ford Global Technologies, Llc Transmission fluid warming and cooling method
US8205709B2 (en) 2010-05-21 2012-06-26 Ford Global Technologies, Llc. Transmission fluid warming and cooling system
KR20120036134A (ko) * 2010-10-07 2012-04-17 현대자동차주식회사 하이브리드 차량의 냉각시스템
US8463495B2 (en) * 2010-12-01 2013-06-11 GM Global Technology Operations LLC Method for controlling exhaust gas heat recovery systems in vehicles
US8485932B2 (en) * 2011-01-06 2013-07-16 Chrysler Group Llc Axle system
FR2982935B1 (fr) * 2011-11-22 2014-01-10 Peugeot Citroen Automobiles Sa Dispositif de gestion thermique d'une chaine de traction d'un vehicule hybride ou electrique
US8991339B2 (en) * 2012-03-30 2015-03-31 Ford Global Technologies, Llc Multi-zone vehicle radiators
DE102012210054A1 (de) * 2012-06-14 2013-12-19 Bayerische Motoren Werke Aktiengesellschaft Kühlmittelkreislauf für eine Brennkraftmaschine und Verfahren zum Betrieb der Brennkraftmaschine
KR101339257B1 (ko) * 2012-09-24 2013-12-09 현대자동차 주식회사 차량의 엔진 냉각 시스템 및 방법
KR101410650B1 (ko) * 2012-12-07 2014-06-24 현대자동차주식회사 Atf의 리저버
JP2014227921A (ja) * 2013-05-23 2014-12-08 ヤマハ発動機株式会社 内燃機関の冷却装置およびそれを備えた自動二輪車
DE102013209965A1 (de) * 2013-05-28 2014-12-04 Behr Thermot-Tronik Gmbh Thermostatventil
US10378421B2 (en) 2014-09-19 2019-08-13 Ford Global Technologies, Llc Automatic transmission fluid thermal conditioning system
US10300786B2 (en) 2014-12-19 2019-05-28 Polaris Industries Inc. Utility vehicle
US10087793B2 (en) 2015-01-26 2018-10-02 Modine Manufacturing Company Thermal management unit for vehicle powertrain
US10619530B2 (en) 2015-01-26 2020-04-14 Modine Manufacturing Company Thermal management unit for vehicle powertrain
EP3294582A1 (de) 2015-05-15 2018-03-21 Polaris Industries Inc. Nutzfahrzeug
WO2017218225A1 (en) 2016-06-14 2017-12-21 Polaris Industries, Inc. Hybrid utility vehicle
US10520075B2 (en) * 2017-05-31 2019-12-31 Mahle International Gmbh Apparatus for controlling the temperature of an oil cooler in a motor vehicle
FR3080443B1 (fr) * 2018-04-18 2020-06-19 Renault S.A.S. Radiateur de refroidissement avec by-pass integre et circuit de refroidissement
DE102018117136A1 (de) * 2018-07-16 2020-01-16 Claas Tractor Sas Kühlsystem für eine landwirtschaftliche Maschine
DE102018213067B4 (de) 2018-08-03 2022-06-23 Audi Ag Verfahren zum Betreiben eines Antriebsstrangs eines Kraftfahrzeugs, insbesondere eines Kraftwagens
US10780770B2 (en) 2018-10-05 2020-09-22 Polaris Industries Inc. Hybrid utility vehicle
CN109488438B (zh) * 2018-11-19 2020-10-09 安徽江淮汽车集团股份有限公司 一种带dct冷却大循环回路的冷却系统
CN109882282B (zh) * 2019-01-28 2024-11-12 玉山创发数字科技有限公司 中冷绝热内燃机的中间冷却散热系统
CN113767023B (zh) 2019-04-30 2024-09-24 北极星工业有限公司 车辆
US11370266B2 (en) 2019-05-16 2022-06-28 Polaris Industries Inc. Hybrid utility vehicle
US12187127B2 (en) 2020-05-15 2025-01-07 Polaris Industries Inc. Off-road vehicle
US11691674B2 (en) 2020-05-15 2023-07-04 Polaris Industries Inc. Off-road vehicle
RU2755418C1 (ru) * 2020-12-28 2021-09-15 Виктор Эдуардович Шефер Автоматизированная система регулирования температурного режима силовой установки танка
US12485981B2 (en) 2021-03-24 2025-12-02 Polaris Industries Inc. Electric recreational vehicle
CA3156559A1 (en) 2021-05-05 2022-11-05 Polaris Industries Inc. Exhaust assembly for a utility vehicle
MX2023006716A (es) 2022-06-13 2023-12-14 Polaris Inc Tren de potencia para vehiculo utilitario.
US12312993B2 (en) 2023-05-30 2025-05-27 Volvo Car Corporation Two zone radiator cooling system

Family Cites Families (22)

* Cited by examiner, † Cited by third party
Publication number Priority date Publication date Assignee Title
US2188172A (en) * 1937-01-06 1940-01-23 Gen Electric Heat transfer system
DE766237C (de) * 1938-02-17 1952-04-21 Sueddeutsche Kuehler Behr Fluessigkeitsgekuehlter OElkuehler fuer Brennkraftmaschinen mit Heisskuehlung
US2435041A (en) * 1945-02-10 1948-01-27 Frederic W Hild Regulating device for cooling systems
US2670933A (en) * 1950-02-24 1954-03-02 Thomas J Bay Engine cooling apparatus
US3134371A (en) * 1962-10-29 1964-05-26 Cooper Bessemer Corp Cooling system for internal combustion engines
BE795230A (fr) * 1972-02-10 1973-05-29 Bayerische Motoren Werke Ag Dispositif de refroidissement par ciculation pour des moteurs a combustion interne a pistons
FR2341041A1 (fr) * 1976-02-10 1977-09-09 Chausson Usines Sa Dispositif pour la regulation de la temperature d'un moteur diesel suralimente
DE3047672A1 (de) * 1980-12-18 1982-07-22 Aktiengesellschaft Adolph Saurer, 9320 Arbon Kuehleinrichtung zur kuehlung einer brennkraftmaschine und der ladeluft
DD158415A1 (de) * 1981-04-16 1983-01-12 Hans Berg Kuehlsystem einer brennkraftmaschine mit abgasturboaufladung und ladeluftkuehlung
US4517929A (en) * 1983-09-23 1985-05-21 International Harvester Company Self-adjusting cooling system for diesel engines
DE3517567A1 (de) * 1984-05-29 1985-12-05 Volkswagenwerk Ag, 3180 Wolfsburg Antriebsanlage fuer geraete und fahrzeuge, insbesondere kraftfahrzeuge
DE3527020A1 (de) * 1985-07-27 1987-01-29 Porsche Ag Fluessigkeitsgekuehlte antriebseinheit fuer ein fahrzeug
DE3622378A1 (de) * 1986-07-03 1988-01-14 Kloeckner Humboldt Deutz Ag Kuehlfluessigkeitssystem fuer eine brennkraftmaschine
DE3708351A1 (de) * 1987-03-14 1988-06-01 Mtu Friedrichshafen Gmbh Umlaufkuehlsystem
JPS6419157A (en) * 1987-07-10 1989-01-23 Kubota Ltd Waste heat recovering device for water cooled engine
US4883225A (en) * 1988-03-18 1989-11-28 S.T.C., Inc. Fail-safe thermostat for vehicular cooling systems
DE4104093A1 (de) 1991-02-11 1992-08-13 Behr Gmbh & Co Kuehlanlage fuer ein fahrzeug mit verbrennungsmotor
FR2682160B1 (fr) * 1991-10-07 1995-04-21 Renault Vehicules Ind Systeme de refroidissement pour moteur a combustion interne comportant deux parties distinctes de radiateur.
DE4308002C1 (de) * 1993-03-13 1994-08-25 Iav Gmbh Verteilereinrichtung für das Kühl- bzw. Heizsystem von Fahrzeugen mit Verbrennungsmotoren
DE4324749A1 (de) * 1993-07-23 1995-01-26 Freudenberg Carl Fa Regelventil
BR9501795A (pt) * 1994-04-27 1995-12-12 Schatz Thermo System Gmbh Método e conjunto para operação de amazenadores de calor sensível
JP3602599B2 (ja) * 1995-03-02 2004-12-15 本田技研工業株式会社 車両用油圧作動式変速機の制御装置

Cited By (9)

* Cited by examiner, † Cited by third party
Publication number Priority date Publication date Assignee Title
WO2004063543A2 (de) 2003-01-16 2004-07-29 Behr Gmbh & Co. Kg Kühlkreislauf einer brennkraftmaschine mit niedertemperaturkühler
US7406929B2 (en) 2003-01-16 2008-08-05 Behr Gmbh & Co. Kg Cooling circuit of an internal combustion engine comprising a low-temperature radiator
EP2573354A1 (de) 2003-01-16 2013-03-27 Behr GmbH & Co. KG Kühlkreislauf einer Brennkraftmaschine mit Niedertemperaturkühler
DE102004004975B4 (de) * 2004-01-31 2015-04-23 Modine Manufacturing Co. Plattenwärmeübertrager
DE102006048527A1 (de) * 2006-10-13 2008-04-17 Volkswagen Ag Kühlkreislauf für eine Brennkraftmaschine
DE102006048527B4 (de) * 2006-10-13 2016-12-22 Volkswagen Ag Kühlkreislauf für eine Brennkraftmaschine
DE102017219939A1 (de) 2017-11-09 2019-05-09 Volkswagen Aktiengesellschaft Kühlkreislauf für eine Antriebseinheit eines Kraftfahrzeuges
US10844760B2 (en) 2018-01-30 2020-11-24 Cumming Power Generation IP, Inc. Oil heater for a generator set
DE102018202476A1 (de) 2018-02-19 2019-08-22 Volkswagen Aktiengesellschaft Kühlkreislauf für eine Antriebseinheit eines Kraftfahrzeuges

Also Published As

Publication number Publication date
DE59701435D1 (de) 2000-05-18
ES2146115T3 (es) 2000-07-16
WO1998012425A1 (de) 1998-03-26
US6196168B1 (en) 2001-03-06
EP0861368A1 (de) 1998-09-02
DE19637817A1 (de) 1998-03-19

Similar Documents

Publication Publication Date Title
EP0861368B1 (de) Kühlkreislauf einer brennkraftmaschine sowie verfahren zum betrieb des kühlkreislaufes
DE69004220T2 (de) Wärmetauscher mit einer umfangsförmigen Zirkulation.
DE102012105644B4 (de) Wärmetauscher für ein fahrzeug
DE69620912T2 (de) Totaler kühlungszusammenbau für kraftfahrzeuge, die mit brennkraftmaschinen angetrieben werden
EP1588034B1 (de) Kühlkreislauf einer brennkraftmaschine mit niedertemperaturkühler
DE102012105047B4 (de) Wärmetauschereinheit des Kerntyps mit variabler Kapazität
EP3747074B1 (de) Kühlsystem für brennstoffzellenstacks
DE4433814B4 (de) Kraftfahrzeug
EP0751877B1 (de) Zusatzheizungs-anordnung
EP1319815A2 (de) Kühlkreislauf einer flüssigkeitsgekühlten Brennkraftmaschine
DE19961825A1 (de) Kühl-Heiz-Kreis mit zwei Kühlern
EP0855304B1 (de) Kühlmodul
EP0903482A2 (de) Vorrichtung zur Regelung des Kühlwasserkreislaufes für einen Verbrennungsmotor
DE60123881T2 (de) Vorrichtung zur thermischen Regelung der Ansaugluft einer Brennkraftmaschine eines Kraftfahrzeuges
DE60216049T2 (de) Vorrichtung, system und verfahren zum kühlen eines kühlmittels
DE10160380A1 (de) Vorrichtung zur Wärmeübertragung
EP1008471B1 (de) Kühl- und Heizungskreislauf sowie Wärmetauscher für Kraftfahrzeuge mit zusätzlicher Kühlmittel-Heizeinrichtung
WO2008046490A1 (de) Kühlkreislauf für eine brennkraftmaschine
DE3517567A1 (de) Antriebsanlage fuer geraete und fahrzeuge, insbesondere kraftfahrzeuge
DE19712479B4 (de) Kühleinrichtung für den Kraftstoff der Einspritzanlage von Verbrennungsmotoren
DE4033796A1 (de) Einkreiskuehlsystem fuer brennkraftmaschinen
EP2194245A2 (de) Öl-Abgas-Kühlmodul für eine Verbrennungskraftmaschine
DE4345532B4 (de) Kühlsystem eines elektrischen Kraftfahrzeugs und eines dafür benutzten Elektromotors
DE4139886C2 (de) Wärmeträgerkreislauf eines Fahrzeuges
DE4333110A1 (de) Kühlflüssigkeitskreislauf für Kraftfahrzeuge mit einem flüssigkeitsgekühlten Verbrennungsmotor

Legal Events

Date Code Title Description
PUAI Public reference made under article 153(3) epc to a published international application that has entered the european phase

Free format text: ORIGINAL CODE: 0009012

17P Request for examination filed

Effective date: 19980428

AK Designated contracting states

Kind code of ref document: A1

Designated state(s): DE ES FR GB IT SE

17Q First examination report despatched

Effective date: 19981110

RAP1 Party data changed (applicant data changed or rights of an application transferred)

Owner name: MODINE MANUFACTURING COMPANY

Owner name: BAYERISCHE MOTOREN WERKE AKTIENGESELLSCHAFT

GRAG Despatch of communication of intention to grant

Free format text: ORIGINAL CODE: EPIDOS AGRA

GRAG Despatch of communication of intention to grant

Free format text: ORIGINAL CODE: EPIDOS AGRA

GRAG Despatch of communication of intention to grant

Free format text: ORIGINAL CODE: EPIDOS AGRA

GRAH Despatch of communication of intention to grant a patent

Free format text: ORIGINAL CODE: EPIDOS IGRA

GRAH Despatch of communication of intention to grant a patent

Free format text: ORIGINAL CODE: EPIDOS IGRA

RTI1 Title (correction)

Free format text: INTERNAL COMBUSTION ENGINE COOLING SYSTEM AND METHOD FOR OPERATING SAID SYSTEM

GRAA (expected) grant

Free format text: ORIGINAL CODE: 0009210

AK Designated contracting states

Kind code of ref document: B1

Designated state(s): DE ES FR GB IT SE

ITF It: translation for a ep patent filed
REF Corresponds to:

Ref document number: 59701435

Country of ref document: DE

Date of ref document: 20000518

ET Fr: translation filed
GBT Gb: translation of ep patent filed (gb section 77(6)(a)/1977)

Effective date: 20000519

REG Reference to a national code

Ref country code: ES

Ref legal event code: FG2A

Ref document number: 2146115

Country of ref document: ES

Kind code of ref document: T3

PLBE No opposition filed within time limit

Free format text: ORIGINAL CODE: 0009261

STAA Information on the status of an ep patent application or granted ep patent

Free format text: STATUS: NO OPPOSITION FILED WITHIN TIME LIMIT

26N No opposition filed
REG Reference to a national code

Ref country code: GB

Ref legal event code: IF02

REG Reference to a national code

Ref country code: FR

Ref legal event code: PLFP

Year of fee payment: 19

REG Reference to a national code

Ref country code: FR

Ref legal event code: PLFP

Year of fee payment: 20

PGFP Annual fee paid to national office [announced via postgrant information from national office to epo]

Ref country code: DE

Payment date: 20160831

Year of fee payment: 20

Ref country code: IT

Payment date: 20160831

Year of fee payment: 20

Ref country code: GB

Payment date: 20160830

Year of fee payment: 20

PGFP Annual fee paid to national office [announced via postgrant information from national office to epo]

Ref country code: SE

Payment date: 20160825

Year of fee payment: 20

Ref country code: FR

Payment date: 20160825

Year of fee payment: 20

PGFP Annual fee paid to national office [announced via postgrant information from national office to epo]

Ref country code: ES

Payment date: 20160819

Year of fee payment: 20

REG Reference to a national code

Ref country code: DE

Ref legal event code: R071

Ref document number: 59701435

Country of ref document: DE

REG Reference to a national code

Ref country code: GB

Ref legal event code: PE20

Expiry date: 20170822

REG Reference to a national code

Ref country code: SE

Ref legal event code: EUG

PG25 Lapsed in a contracting state [announced via postgrant information from national office to epo]

Ref country code: GB

Free format text: LAPSE BECAUSE OF EXPIRATION OF PROTECTION

Effective date: 20170822

REG Reference to a national code

Ref country code: ES

Ref legal event code: FD2A

Effective date: 20180508

PG25 Lapsed in a contracting state [announced via postgrant information from national office to epo]

Ref country code: ES

Free format text: LAPSE BECAUSE OF EXPIRATION OF PROTECTION

Effective date: 20170824