EP0748908B1 - Schliesszylinder - Google Patents

Schliesszylinder Download PDF

Info

Publication number
EP0748908B1
EP0748908B1 EP96107539A EP96107539A EP0748908B1 EP 0748908 B1 EP0748908 B1 EP 0748908B1 EP 96107539 A EP96107539 A EP 96107539A EP 96107539 A EP96107539 A EP 96107539A EP 0748908 B1 EP0748908 B1 EP 0748908B1
Authority
EP
European Patent Office
Prior art keywords
cylinder
locking
bolt
housing
core
Prior art date
Legal status (The legal status is an assumption and is not a legal conclusion. Google has not performed a legal analysis and makes no representation as to the accuracy of the status listed.)
Expired - Lifetime
Application number
EP96107539A
Other languages
English (en)
French (fr)
Other versions
EP0748908A3 (de
EP0748908A2 (de
Inventor
Kurt Prunbauer
Current Assignee (The listed assignees may be inaccurate. Google has not performed a legal analysis and makes no representation or warranty as to the accuracy of the list.)
EVVA Sicherheitstechnologie GmbH
Original Assignee
EVVA Werk Spezialerzeugung von Zylinder und Sicherheitsschloessern GmbH and Co KG
Priority date (The priority date is an assumption and is not a legal conclusion. Google has not performed a legal analysis and makes no representation as to the accuracy of the date listed.)
Filing date
Publication date
Application filed by EVVA Werk Spezialerzeugung von Zylinder und Sicherheitsschloessern GmbH and Co KG filed Critical EVVA Werk Spezialerzeugung von Zylinder und Sicherheitsschloessern GmbH and Co KG
Priority to SI9630358T priority Critical patent/SI0748908T1/xx
Publication of EP0748908A2 publication Critical patent/EP0748908A2/de
Publication of EP0748908A3 publication Critical patent/EP0748908A3/de
Application granted granted Critical
Publication of EP0748908B1 publication Critical patent/EP0748908B1/de
Anticipated expiration legal-status Critical
Expired - Lifetime legal-status Critical Current

Links

Images

Classifications

    • EFIXED CONSTRUCTIONS
    • E05LOCKS; KEYS; WINDOW OR DOOR FITTINGS; SAFES
    • E05BLOCKS; ACCESSORIES THEREFOR; HANDCUFFS
    • E05B9/00Lock casings or latch-mechanism casings ; Fastening locks or fasteners or parts thereof to the wing
    • E05B9/04Casings of cylinder locks
    • E05B9/045Modular casings for adjusting the length of cylinder locks

Definitions

  • the invention relates to a lock cylinder, in particular Double lock cylinder, the cylinder being a turnable Core and one receiving the cylinder core Cylinder housing comprises, the cylinder housing from a Circular cylinder part and one of which projects radially Bridge part exists.
  • This lock cylinder has known in Way on the bridge part a connecting bridge made of harder material on to the lock cylinder with the second lock cylinder for the production of a double lock cylinder, or connects with a mounting part for a half cylinder.
  • the bridge has the faceplate screw hole.
  • Lock cylinders of the type mentioned are state of the art and it is for example on the CH-PS 679.169 and the EP 0 438 654 A2. With those that can be assembled from individual parts Double lock cylinders, it is possible Lengths of the cylinders and the position of the faceplate screw hole adapt to the respective door dimensions.
  • the object of the present invention is to lock cylinders in the manner of a modular system with the desired dimensions to assemble and assemble at the installation site. As few different parts as possible should be used Find.
  • the design is intended for both tumbler locks be suitable, in which the housing pins in Bridge part lie, as well as for locks where the Control and tumbler elements are in the circular cylinder part. Furthermore, there is the task of a simple installation to establish sufficient fixed bridge connection.
  • the tasks are determined by the characteristics according to the Claims resolved.
  • FIG. 1 shows a longitudinal section through a housing Double cylinder lock with the connecting bridge removed.
  • Fig.2 is a view of the inner face of the Cylinder housing according to arrow II in Fig.1.
  • 3 and 4 are associated cracks of an extension piece for the cylinder housing and
  • Figs. 5 to 7 are each other associated cracks of an extension piece for the cylinder core.
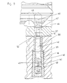
  • Fig. 8 shows a partial section analogous to Fig.1 another embodiment and Fig.9 shows in sections the longitudinal section through a cylinder lock in the area of Key tip.
  • FIG. 1 shows a longitudinal section of an inventive Lock cylinder, the two half cylinders with the cylinder housings 1 and 2 includes.
  • the core hole 3 sits Cylinder core, which is not shown in Fig.1.
  • ring grooves 4 and ring webs 5 which together with scanning and locking elements of the cylinder core the rotation of the Enable or prevent cylinder core.
  • the connecting bridge 8 For the firm connection of the two cylinder housings 1 and 2 serves the connecting bridge 8. It comprises a cylinder bolt 9 located between the cylinder end faces 10 extends. Extends from these cylinder end faces 10 one axial retaining pin 11. The cylinder pin 9 points the faceplate screw bore perpendicular to the longitudinal axis 12 13, by means of which the finished double cylinder lock can be fixed in the door lock. The recess 14 serves the free rotation of the not shown here Lock bit between the two half cylinders 1 and 2 which is twisted by one of the two cylinder cores can be.
  • FIG. 2 shows the top view of the inner end face 15 of the Cylinder housing 1.
  • the web part 7 ends at the bottom in one Rounding 16 is centered within this rounding 16 a receiving bore 17 is arranged, in which the holding pin 11 of the connecting bridge 8 can be used.
  • the web part 7 also has a latching recess 18 on, which is formed with the same radius as the Radius of the cylinder pin 9. This recess extends at least over a third of the length of the half cylinder from the inside face 15 outwards in the direction to the outside face 19 of the cylinder housing.
  • the stop surface 20 of the recess 18 serves as a stop for the cylinder end face 10 of the connecting bridge.
  • the attachment of the connecting bridge 8 with the cylinder housing takes place in such a way that the holding pin 11 in the receiving bore 17 is inserted until the cylinder end surface 10 the stop surface 20 strikes.
  • the support surface 21 comes to lie on the cylinder surface of the cylinder pin 9.
  • the Cylinder bolt 9 extends through a radial bore 22, which with a threaded bore 23 of the cylinder housing is aligned.
  • the connecting bridge 8 In its smallest dimension, the connecting bridge is like this long that between the two inner end faces 15 of Cylinder housing 1.2 the locking ring with little play is freely rotatable.
  • the housing extension parts 24 When extending the connecting bridge 8 is gradually extended in practice, depending on Position of the fixing screw hole on the cylinder housing 1 and / or 2 one or more of the housing extension parts 24 are arranged as shown in Figures 3 and 4 are shown.
  • the outer dimension of the housing extension 24 corresponds to the outer dimension of the Cylinder housing and thus also has a circular cylinder part and a bridge part.
  • the bottom ends Web part in the support surface 21, which is analogous to the support surface of the cylinder housing is formed.
  • the core bore 27 has a diameter which is approximately that Corresponds to the diameter of the cylinder core.
  • the diameter is chosen so that the Housing extension slid over the circlip can be with which of the cylinder core in the usual way is axially secured. See Fig. 8.
  • FIG. 5 to 7 show the cracks associated with one another Core extension part 29, which is inserted into the core bore 27 will and the connection between the cylinder core and Lockbar ring produces, as is known per se.
  • the pins 30 engage in a corresponding diametrical Recess of the cylinder core, so that a rotary connection is made.
  • the engaging slot 31 has the same Effect like the analog diametrical slot of the cylinder core and serves the optional coupling or uncoupling a coupling element that lies in the lock ring.
  • the fastening screw 33 (Fig.8) must then of course the added lengths of the stepped bores 25 be adjusted.
  • FIG. 8 shows the left half cylinder 1 in view, cut during the housing extension part 24 is.
  • the lock ring 34 is also shown in view.
  • the core extension part 29 is the better one For the sake of illustration only shown in dashed lines.
  • the Seegerring has the reference number 35 and sits in one Ring groove 36 of the cylinder core 37. Drawn in with a broken line can be seen how the pin 30 of the core extension part 29 in the cylinder core 37 respectively. engage its slot.
  • the Slidable housing pin 38 is within a hollow Fixing pin 39 out.
  • the fixing pin 39 is in one Stepped bore 40 screwed in by means of the thread 41.
  • the Compression spring 42 is supported on a plug 43. The axial movement of the housing pin 38 in the direction of Key channel 44 is through the collar 45 and the stop 46 limited.
  • the core pin 47 is in the core bore 48 of the cylinder core displaceable and is through the control recess 49th of the key 50 in the corresponding closed position held.
  • the core pin bore is on the rotation and division plane 51 52 dipped so that the core pin 47 at during assembly, do not fall out of the core pin hole can.
  • This construction makes it easier to insert the housing pin when installing the lock.

Landscapes

  • Mechanical Engineering (AREA)
  • Engineering & Computer Science (AREA)
  • Lock And Its Accessories (AREA)
  • Fluid-Damping Devices (AREA)
  • Chairs Characterized By Structure (AREA)
  • Dowels (AREA)
  • Pens And Brushes (AREA)
  • Clamps And Clips (AREA)
  • Lubrication Of Internal Combustion Engines (AREA)
  • Connection Of Plates (AREA)
  • Underground Structures, Protecting, Testing And Restoring Foundations (AREA)
  • Actuator (AREA)
  • Hydrogenated Pyridines (AREA)
  • Catching Or Destruction (AREA)

Description

Die Erfindung betrifft einen Schließzylinder, insbesondere Doppelschließzylinder, wobei der Zylinder einen drehbetätigbaren Kern und ein den Zylinderkern aufnehmendes Zylindergehäuse umfaßt, wobei das Zylindergehäuse aus einem Kreiszylinderteil und einem davon radial vorspringenden Stegteil besteht. Dieser Schließzylinder weist in bekannter Weise am Stegteil eine Verbindungsbrücke aus härterem Werkstoff auf, um den Schließzylinder mit dem zweiten Schließzylinder zur Herstellung eines Doppelschließzylinders, oder mit einem Montageteil für einen Halbzylinder verbindet. Die Verbindungsbrücke weist die Stulpschraubenbohrung auf.
Schließzylinder der genannten Art sind Stand der Technik und es wird beispielsweise auf die CH-PS 679.169 und die EP 0 438 654 A2 verwiesen. Mit solchen aus Einzelteilen zusammensetzbaren Doppelschließzylindern ist es möglich, die Längen der Zylinder und die Lage der Stulpschraubenbohrung den jeweiligen Türabmessungen anzupassen.
Die bekannten Konstruktionen haben den Nachteil, daß sie entweder kompliziert in der Herstellung und Montage sind, was die Herstellung und Lagerhaltung verteuert oder daß die Stegverbindung zwischen den Zylindern nicht stabil genug ist, um auch einfachen Einbruchswerkzeugen standzuhalten.
Aufgabe der vorliegenden Erfindung ist es, Schließzylinder nach Art eines Baukastens mit den gewünschten Abmessungen zusammenstellen und auch am Einbauort montieren zu können. Dabei sollen möglichst wenig verschiedene Teile Verwendung finden. Die Konstruktion soll sowohl für Stiftzuhaltungsschlösser passend sein, bei denen die Gehäusestifte im Stegteil liegen, als auch für Schlösser, bei denen die Steuer- und Zuhaltungselemente im Kreiszylinderteil liegen. Weiters besteht die Aufgabe, bei einfachster Montage eine genügend feste Stegverbindung herzustellen.
Die gestellte Aufgaben werden durch die Merkmale gemäß den Patentansprüchen gelöst.
Nachfolgend wird die Erfindung anhand eines Ausführungsbeispieles näher beschrieben.
Fig.1 zeigt einen Längsschnitt durch ein Gehäuse eines Doppelzylinderschlosses mit herausgenommener Verbindungsbrücke. Fig.2 ist eine Ansicht auf die Innenstirnfläche des Zylindergehäuses gemäß Pfeil II in Fig.1. Die Fig.3 und 4 sind einander zugeordnete Risse eines Verlängerungsstückes für das Zylindergehäuse und die Fig. 5 bis 7 sind einander zugeordnete Risse eines Verlängerungsstückes für den Zylinderkern. Fig. 8 zeigt einen Teilschnitt analog Fig.1 durch eine andere Ausführungsform und Fig.9 zeigt abschnittsweise den Längsschnitt durch ein Zylinderschloß im Bereich der Schlüsselspitze.
Fig.1 zeigt im Längsschnitt einen erfindungsgemäßen Schließzylinder, der zwei Halbzylinder mit den Zylindergehäusen 1 und 2 umfaßt. In der Kernbohrung 3 sitzt der Zylinderkern, der in Fig.1 nicht dargestellt ist. Zu sehen sind Ringnuten 4 und Ringstege 5, die zusammen mit Abtast- und Sperrelementen des Zylinderkerns die Verdrehung des Zylinderkern ermöglichen oder verhindern.
Wie auch der Fig.2 zu entnehmen ist, besteht das Zylindergehäuse 1 aus dem Kreiszylinderteil 6 und dem davon radial abstehenden Stegteil 7.
Zur festen Verbindung der beiden Zylindergehäuse 1 und 2 dient die Verbindungsbrücke 8. Sie umfaßt einen Zylinderbolzen 9, der sich zwischen den Zylinderendflächen 10 erstreckt. Von diesen Zylinderendflächen 10 erstreckt sich jeweils ein axialer Haltezapfen 11. Der Zylinderbolzen 9 weist senkrecht auf die Längsachse 12 die Stulpschraubenbohrung 13 auf, mittels derer das fertige Doppelzylinderschloß im Türschloß fixiert werden kann. Die Ausnehmung 14 dient der freien Verdrehbarkeit des hier nicht dargestellten Schließbartes zwischen den beiden Halbzylindern 1 und 2 der von jeweils einem der beiden Zylinderkerne verdreht werden kann.
Fig.2 zeigt die Aufsicht auf die Innenstirnfläche 15 des Zylindergehäuses 1. Der Stegteil 7 endet unten in einer Abrundung 16. Zentrisch innerhalb dieser Abrundung 16 ist eine Aufnahmebohrung 17 angeordnet, in die der Haltezapfen 11 der Verbindungsbrücke 8 eingesetzt werden kann.
Der Stegteil 7 weist weiters jeweils eine Rastausnehmung 18 auf, die mit dem gleichen Radius ausgebildet ist, wie der Radius des Zylinderbolzens 9. Diese Rastausnehmung erstreckt sich zumindest über ein Drittel der Länge des Halbzylinders von der Innenstirnseite 15 nach außen in Richtung zur Aussenstirnseite 19 des Zylindergehäuses.
Die Anschlagfläche 20 der Rastausnehmung 18 dient als Anschlag für die Zylinderendfläche 10 der Verbindungsbrücke.
Die Befestigung der Verbindungsbrücke 8 mit den Zylindergehäusen erfolgt derart, daß der Haltezapfen 11 in die Aufnahmebohrung 17 gesteckt wird, bis die Zylinderendfläche 10 der Anschlagfläche 20 anschlägt. Die Stützfläche 21 kommt auf der Zylinderfläche des Zylinderbolzens 9 zu liegen. Den Zylinderbolzen 9 durchragt eine radiale Bohrung 22, die mit einer Gewindebohrung 23 des Zylindergehäuses fluchtet.
Mittels einer entsprechend ausgebildeten Senkkopfschraube (hier nicht dargestellt) wird die Verbindungsbrücke 8 mit dem Zylindergehäuse 1 fest verschraubt. Die Festigkeit dieser Verbindung ist bei entsprechender Materialwahl für die Verbindungsbrücke gleich groß oder größer, als wenn das Doppelzylinderschloßgehäuse einstückig wäre.
Es ist leicht verständlich, daß die Gesamtlänge des Doppelzylinderschlosses dadurch verändert werden kann, daß der Zylinderbolzen 9 der Verbindungsbrücke 8 verschieden lang ausgebildet wird. Diese Verbindungsbrücke ist bevorzugt als einfacher Drehteil hergestellt, der billig in der Herstellung ist und in verschiedenen Längen leicht auf Lager gelegt werden kann.
In seiner kleinsten Dimension ist die Verbindungsbrücke so lange, daß zwischen den beiden Innenstirnflächen 15 der Zylindergehäuse 1,2 der Schließbartring mit geringem Spiel frei verdrehbar ist. Bei Verlängerung der Verbindungsbrücke 8 wird in der Praxis stufenweise verlängert, wobei je nach Lage der Stulpschraubenbohrung am Zylindergehäuse 1 und/oder 2 eine oder mehrere der Gehäuseverlängerungsteile 24 angeordnet werden, wie sie in Fig.3 und 4 zeichnerisch dargestellt sind. Die äußere Abmessung des Gehäuseverlängerungsteiles 24 entspricht der äußeren Abmessung des Zylindergehäuses und weist somit ebenfalls einen Kreiszylinderteil und einen Stegteil auf. Nach unten endet der Stegteil in der Stützfläche 21, die analog der Stützfläche des Zylindergehäuses ausgebildet ist. Mittels der Stufenbohrung 25 und einer entsprechenden Schraube wird der Gehäuseverlängerungsteil 24 an der Innenstirnfläche 15 des Zylindergehäuses 1 angeschraubt (oder analog am Zylindergehäuse 2 in Fig.1). Die Schraube wird in die Schraubbohrung 26 eingeschraubt.
Die Kernbohrung 27 hat einen Durchmesser, der etwa dem Durchmesser des Zylinderkerns entspricht. In dem erweiterten Abschntit 28 ist der Durchmesser so gewählt, daß der Gehäuseverlängerungsteil über den Seegerring geschoben werden kann, mit welchem der Zylinderkern in üblicher Weise axial gesichert ist. Siehe dazu Fig.8.
Die Fig. 5 bis 7 zeigen in einander zugeordneten Rissen den Kernverlängerungsteil 29, der in die Kernbohrung 27 eingesetzt wird und die Verbindung zwischen Zylinderkern und Schließbartring herstellt, wie dies an sich bekannt ist. Die Zapfen 30 greifen in eine entsprechende diametrale Ausnehmung des Zylinderkerns ein, sodaß eine Drehverbindung hergestellt ist. Der Eingriffsschlitz 31 hat die gleiche Wirkung wie der analoge diametrale Schlitz des Zylinderkerns und dient der wahlweisen Einkupplung oder Auskupplung eines Kupplungselementes, das im Schließbartring liegt.
Unter Bezugnahme auf Fig.3 wird noch auf die abgesetzte Stufe 32 hingewiesen, die es erlaubt, mehrere solcher Gehäuseverlängerungsteile aufeinander zu stecken, in dem der erweiterte Abschnitt 28 auf die abgesetzte Stufe 32 aufgeschoben wird.
Die Befestigungsschraube 33 (Fig.8) muß dann selbstverständlich den addierten Längen der Stufenbohrungen 25 angepaßt sein.
In Fig.8 ist der linke Halbzylinder 1 in Ansicht dargestellt, während der Gehäuseverlängerungsteil 24 geschnitten ist. Der Schließbartring 34 ist ebenfalls in Ansicht dargestellt. Der Kernverlängerungsteil 29 ist der besseren Darstellung halber nur strichliert eingezeichnet. Der Seegerring trägt das Bezugszeichen 35 und sitzt in einer Ringnut 36 des Zylinderkerns 37. Strichliert eingezeichnet ist zu sehen, wie die Zapfen 30 des Kernverlängerungsteiles 29 in den Zylinderkern 37 resp. dessen Schlitz eingreifen.
Bei der Schloßkonstruktion gemäß den Fig. 1 bis 8 liegen die mit dem Schlüssel zusammenwirkenden Steuer-und Sperrelemente innerhalb des Zylinderkerns, die mit den Ringnuten und Ringstegen 4,5 zusammenwirken, die ebenfalls im Bereich um den Zylinderkern angeordnet sind. Somit spielen bei dieser Schloßkonstruktion die Platzverhältnisse im Stegteil 7 keine oder nur eine geringe Rolle.
Wenn die erfindungsgemäße Anordnung der Verbindungsbrücke 8 bei Stiftzuhaltungsschlössern Anwendung findet, kann bei der innen liegenden Stiftzuhaltung oder bei mehreren weiter innen liegenden Stiftzuhaltungen eine Konstruktion zur Anwendung gelangen, wie sie in Fig.9 dargestellt ist. Der verschiebbare Gehäusestift 38 ist innerhalb eines hohlen Fixierstiftes 39 geführt. Der Fixierstift 39 ist in einer Stufenbohrung 40 mittels des Gewindes 41 eingeschraubt. Die Druckfeder 42 stützt sich an einem Pfropfen 43 ab. Die axiale Bewegung des Gehäusestiftes 38 in Richtung zum Schlüsselkanal 44 ist durch den Kragen 45 und den Anschlag 46 begrenzt.
Der Kernstift 47 ist in der Kernbohrung 48 des Zylinderkerns verschiebbar und wird durch die Steuerausnehmung 49 des Schlüssels 50 in der entsprechenden Schließstellung gehalten. An der Dreh- und Teilungsebene 51 ist die Kernstiftbohrung 52 eingestaucht, sodaß der Kernstift 47 bei der Montage nicht aus der Kernstiftbohrung herausfallen kann.
Diese Konstruktion erleichtert das Einsetzen des Gehäusestiftes bei der Schloßmontage.

Claims (6)

  1. Schließzylinder, der entweder zwei Halbzylinder (Doppelschließzylinder) oder einen Halbzylinder und einen Montageteil umfaßt, wobei die Halbzylinder aus einem Kreiszylinderteil und einem davon radial abstehenden Stegteil mit halbkreisförmiger Abrundung bestehen und die zwei Halbzylinder, oder ein Halbzylinder mit dem Befestigungsteil, über eine massive Verbindungsbrücke verbunden sind, dadurch gekennzeichnet, daß die Verbindungsbrücke (8) aus einem Zylinderbolzen gebildet ist, dessen Radius etwa gleich dem Radius der Abrundung (16) des Stegteiles (17) ist, und der Zylinderbolzen (9) an der dem/den Halbzylindern zugewandten Zylinderendflächen (10) einen axialen Haltezapfen (11) aufweist, daß die Verbindungsbrücke (8) in einer Rastausnehmung (18) des Stegteiles (7) angeordnet ist, wobei die Rastausnehmung mit einem Radius gebildet ist, der dem Radius des Zylinderbolzens (9) entspricht, daß sich die Rastausnehmung (18) zumindest über ein Drittel der Länge des Halbzylinders von der Innenstirnfläche (15) nach außen hin erstreckt und daß sich von der Rastausnehmung eine Aufnahmebohrung (17) für den Haltezapfen (11) erstreckt.
  2. Schließzylinder nach Anspruch 1, dadurch gekennzeichnet, daß zur Fixierung der Verbindungsbrücke (8)am Zylindergehäuse (1,2) der Zylinderbolzen (9) eine radiale Bohrung (22) aufweist, die mit einer Gewindebohrung (23) im Stegteil des Zylindergehäuses fluchtet und eine Schraube (53) aufnimmt.
  3. Schließzylinder nach Anspruch 1 oder 2, dadurch gekennzeichnet, daß die Verbindungsbrücke (8) mit den Haltezapfen (11) und dem Zylinderbolzen (9) ein Drehteil, bevorzugt aus Stahl, ist, wobei gegebenenfalls im Bereich der Stulpschraubenbohrung (13) eine Ausnehmung (14) für die freie Verdrehbarkeit des Schließbartes (54) vorgesehen ist.
  4. Schließzylinder nach einem der vorhergehenden Ansprüche, dadurch gekennzeichnet, daß zur Verlängerung des Zylindergehäuses ein oder mehrere Gehäuseverlängerungsteile (24) vorgesehen sind, die aus einem Ringteil mit der Kernbohrung (27) und dem Stegteil mit einer Stützfläche (21) zur Abstützung am Zylinderbolzen (9) bestehen, wobei die Kernbohrung (27) einen erweiterten Abschnitt (28) und der Ringteil außen eine abgesetzte Stufe (32) aufweisen.
  5. Schließzylinder nach Anspruch 4, dadurch gekennzeichnet, daß der/die Gehäuseverlängerungsteile (24) mittels einer Schraube (33) an der Innenstirnfläche (15) des/der Zylindergehäuse(s) (1,2) befestigt sind.
  6. Schließzylinder nach einem der Ansprüche 4 oder 5, dadurch gekennzeichnet, daß in der Kernbohrung (27) ein oder mehrere Kernverlängerungsteile (29) angeordnet sind, die mit dem Zylinderkern (37) oder miteinander auf Drehung gekuppelt sind.
EP96107539A 1995-06-13 1996-05-11 Schliesszylinder Expired - Lifetime EP0748908B1 (de)

Priority Applications (1)

Application Number Priority Date Filing Date Title
SI9630358T SI0748908T1 (en) 1995-06-13 1996-05-11 Locking cylinder

Applications Claiming Priority (3)

Application Number Priority Date Filing Date Title
AT1008/95 1995-06-13
AT0100895A AT405960B (de) 1995-06-13 1995-06-13 Schliesszylinder
AT100895 1995-06-13

Publications (3)

Publication Number Publication Date
EP0748908A2 EP0748908A2 (de) 1996-12-18
EP0748908A3 EP0748908A3 (de) 1997-11-19
EP0748908B1 true EP0748908B1 (de) 2002-01-16

Family

ID=3504813

Family Applications (1)

Application Number Title Priority Date Filing Date
EP96107539A Expired - Lifetime EP0748908B1 (de) 1995-06-13 1996-05-11 Schliesszylinder

Country Status (9)

Country Link
EP (1) EP0748908B1 (de)
AT (2) AT405960B (de)
CZ (1) CZ282240B6 (de)
DE (2) DE29512441U1 (de)
DK (1) DK0748908T3 (de)
ES (1) ES2168406T3 (de)
FR (1) FR2735513B3 (de)
NL (1) NL1000826C2 (de)
SI (1) SI0748908T1 (de)

Families Citing this family (11)

* Cited by examiner, † Cited by third party
Publication number Priority date Publication date Assignee Title
DE29608645U1 (de) * 1996-03-01 1996-08-01 Keller, Ernst, Richterswil Einbau-Doppelschliesszylinder für ein Sicherheitsschloss
DE29801490U1 (de) * 1998-01-30 1999-06-02 Bks Gmbh, 42549 Velbert Verbinder für einen Profilzylinder
DE19831846A1 (de) * 1998-07-16 2000-01-20 Winkhaus Fa August Schließzylinder
DE10041650B4 (de) * 2000-08-24 2004-03-25 Dom-Sicherheitstechnik Gmbh & Co. Kg Zylinderschloss
DE102006001267B3 (de) * 2006-01-10 2007-05-10 Seccor High Security Gmbh Verlängerbarer Zylinderkörper für elektronische Schließzylinder
AT504009B1 (de) 2006-07-07 2008-06-15 Michael Ing Makivic Zylinderschloss
DE102007035265B4 (de) 2007-07-27 2020-11-26 ABUS Seccor GmbH Verlängerbarer Zylinderkörper mit Führungselementen in der Zylinderkernbohrung
DE102010047429B4 (de) 2010-10-04 2014-10-30 ABUS Seccor GmbH Verlängerbarer Zylinderkörper mit axialen Befestigungsbolzen
ES2426340B1 (es) 2013-07-19 2014-08-12 La Industria Cerrajera, S.A. Cilindro de cierre provisto de puente de conexión
DE102014205960A1 (de) * 2014-03-31 2015-10-01 Bks Gmbh Schließzylinder und Montagevorrichtung
ES2592954B1 (es) * 2015-06-01 2017-08-03 Talleres De Escoriaza, S.A. (Tesa) Cilindro de cerradura modular

Family Cites Families (8)

* Cited by examiner, † Cited by third party
Publication number Priority date Publication date Assignee Title
GB1581095A (en) * 1978-02-16 1980-12-10 Lowe & Fletcher Ltd Lock with two key-receiving members
EP0022233A1 (de) * 1979-07-05 1981-01-14 C.I.S.A. Costruzioni Italiane Serrature Affini S.p.A. Schloss mit koaxialem Doppelzylinder
CH679169A5 (en) * 1988-05-05 1991-12-31 Ernst Keller Morticed double cylinder for door lock - has flexible longitudinal component joining housing sections together
FR2655367B1 (fr) * 1989-12-05 1992-04-03 Vachette Sa Serrure a barillet double a condamnation mecanique et electrique.
DE9000746U1 (de) * 1990-01-24 1991-05-23 BKS GmbH, 5620 Velbert Profil-Doppelschließzylinder
DE4106709A1 (de) * 1991-03-02 1992-09-03 Dom Sicherheitstechnik Aus mehreren einheiten zusammensetzbarer schliesszylinder
DE4213382A1 (de) * 1992-01-17 1993-07-22 Giesser Irmgard Doppelsperrzylinder
US5501087A (en) * 1993-05-27 1996-03-26 Keller; Ernst Rotary locking cylinder for a safety lock

Also Published As

Publication number Publication date
SI0748908T1 (en) 2002-06-30
EP0748908A3 (de) 1997-11-19
ATE212098T1 (de) 2002-02-15
EP0748908A2 (de) 1996-12-18
DK0748908T3 (da) 2002-03-18
CZ282240B6 (cs) 1997-06-11
FR2735513A3 (fr) 1996-12-20
ATA100895A (de) 1999-05-15
CZ161396A3 (en) 1997-01-15
NL1000826C2 (nl) 1996-12-13
DE59608579D1 (de) 2002-02-21
ES2168406T3 (es) 2002-06-16
FR2735513B3 (fr) 1997-05-30
DE29512441U1 (de) 1995-11-09
AT405960B (de) 2000-01-25

Similar Documents

Publication Publication Date Title
DE102011102159B4 (de) Modularer Schließzylinder
EP2198103B1 (de) Scharnier für eine gepäckbox od. dgl.
EP0748908B1 (de) Schliesszylinder
DE3715972C2 (de) Kupplungseinrichtung an Doppel-Schließzylindern
EP0438654B1 (de) Profil-Doppelschliesszylinder
DE3828354C2 (de)
DE102012003168A1 (de) Schliesszylinder
EP1068419B1 (de) Mit einem türscharnier baulich vereinigter türfeststeller
DE2905941A1 (de) Steuereinrichtung, insbesondere schloss
DE102009008922A1 (de) Kupplungseinrichtung für einen zwei Zylinderkerne beinhaltenden Doppelschließzylinder mit Not- und Gefahrenfunktion
DE3134471C2 (de)
DE3733518C2 (de) Doppelschließzylinder
DE3643188C2 (de)
DE2923598A1 (de) Schliesszylinder und schliessanlage
DE69201668T2 (de) Zylinderschloss.
DE9400744U1 (de) Schließzylinder
DE10107398C2 (de) Bausatz für Möbelschlösser oder Möbeloliven mit einem Adaptergehäuse zur Aufnahme für unterschiedliche Schließsysteme
DE3127449A1 (de) Profil-schliesszylinder
DE3308319A1 (de) Auf einem tuerfluegel oder dergleichen zu befestigendes schloss
CH706693A2 (de) Schliesszylinder.
DE20202526U1 (de) Bausatz für Möbelschlösser oder Möbeloliven mit einem Adaptergehäuse zur Aufnahme für unterschiedliche Schließsysteme
CH690279A5 (de) Zylinderschloss.
EP0712978B1 (de) Kupplungseinrichtung in Doppel-Schliessyzlindern
CH690306A5 (de) Einsteckschloss.
EP0591661A2 (de) Codierbares Zylinderschloss

Legal Events

Date Code Title Description
PUAI Public reference made under article 153(3) epc to a published international application that has entered the european phase

Free format text: ORIGINAL CODE: 0009012

AK Designated contracting states

Kind code of ref document: A2

Designated state(s): AT BE CH DE DK ES FR GB IT LI NL SE

AX Request for extension of the european patent

Free format text: SI PAYMENT 960511

PUAL Search report despatched

Free format text: ORIGINAL CODE: 0009013

AK Designated contracting states

Kind code of ref document: A3

Designated state(s): AT BE CH DE DK ES FR GB IT LI NL SE

AX Request for extension of the european patent

Free format text: SI PAYMENT 960511

17P Request for examination filed

Effective date: 19980121

GRAG Despatch of communication of intention to grant

Free format text: ORIGINAL CODE: EPIDOS AGRA

17Q First examination report despatched

Effective date: 20010312

GRAG Despatch of communication of intention to grant

Free format text: ORIGINAL CODE: EPIDOS AGRA

GRAH Despatch of communication of intention to grant a patent

Free format text: ORIGINAL CODE: EPIDOS IGRA

GRAH Despatch of communication of intention to grant a patent

Free format text: ORIGINAL CODE: EPIDOS IGRA

GRAA (expected) grant

Free format text: ORIGINAL CODE: 0009210

REG Reference to a national code

Ref country code: GB

Ref legal event code: IF02

AK Designated contracting states

Kind code of ref document: B1

Designated state(s): AT BE CH DE DK ES FR GB IT LI NL SE

AX Request for extension of the european patent

Free format text: SI PAYMENT 19960511

REF Corresponds to:

Ref document number: 212098

Country of ref document: AT

Date of ref document: 20020215

Kind code of ref document: T

REG Reference to a national code

Ref country code: CH

Ref legal event code: EP

REG Reference to a national code

Ref country code: CH

Ref legal event code: NV

Representative=s name: A. BRAUN, BRAUN, HERITIER, ESCHMANN AG PATENTANWAE

REF Corresponds to:

Ref document number: 59608579

Country of ref document: DE

Date of ref document: 20020221

REG Reference to a national code

Ref country code: DK

Ref legal event code: T3

GBT Gb: translation of ep patent filed (gb section 77(6)(a)/1977)

Effective date: 20020406

ET Fr: translation filed
REG Reference to a national code

Ref country code: ES

Ref legal event code: FG2A

Ref document number: 2168406

Country of ref document: ES

Kind code of ref document: T3

PLBE No opposition filed within time limit

Free format text: ORIGINAL CODE: 0009261

STAA Information on the status of an ep patent application or granted ep patent

Free format text: STATUS: NO OPPOSITION FILED WITHIN TIME LIMIT

26N No opposition filed
REG Reference to a national code

Ref country code: SI

Ref legal event code: IF

REG Reference to a national code

Ref country code: CH

Ref legal event code: PFA

Owner name: EVVA - WERK SPEZIALERZEUGUNG VON ZYLINDER-UND SIC

Free format text: EVVA - WERK SPEZIALERZEUGUNG VON ZYLINDER-UND SICHERHEITSSCHLOESSERN GESELLSCHAFT M.B.H. & CO. KOMMANDITGESELLSCHAFT#WIENERBERGSTRASSE 59-65#A-1120 WIEN (AT) -TRANSFER TO- EVVA - WERK SPEZIALERZEUGUNG VON ZYLINDER-UND SICHERHEITSSCHLOESSERN GESELLSCHAFT M.B.H. & CO. KOMMANDITGESELLSCHAFT#WIENERBERGSTRASSE 59-65#A-1120 WIEN (AT)

PGFP Annual fee paid to national office [announced via postgrant information from national office to epo]

Ref country code: NL

Payment date: 20090529

Year of fee payment: 14

Ref country code: ES

Payment date: 20090408

Year of fee payment: 14

Ref country code: DK

Payment date: 20090514

Year of fee payment: 14

PGFP Annual fee paid to national office [announced via postgrant information from national office to epo]

Ref country code: SE

Payment date: 20090525

Year of fee payment: 14

Ref country code: IT

Payment date: 20090529

Year of fee payment: 14

Ref country code: DE

Payment date: 20090519

Year of fee payment: 14

Ref country code: AT

Payment date: 20090427

Year of fee payment: 14

PGFP Annual fee paid to national office [announced via postgrant information from national office to epo]

Ref country code: BE

Payment date: 20090506

Year of fee payment: 14

PGFP Annual fee paid to national office [announced via postgrant information from national office to epo]

Ref country code: CH

Payment date: 20090526

Year of fee payment: 14

PGFP Annual fee paid to national office [announced via postgrant information from national office to epo]

Ref country code: GB

Payment date: 20090409

Year of fee payment: 14

PGFP Annual fee paid to national office [announced via postgrant information from national office to epo]

Ref country code: FR

Payment date: 20091106

Year of fee payment: 14

BERE Be: lapsed

Owner name: *EVVA - WERK SPEZIALERZEUGUNG VON ZYLINDER-UND SIC

Effective date: 20100531

REG Reference to a national code

Ref country code: NL

Ref legal event code: V1

Effective date: 20101201

REG Reference to a national code

Ref country code: CH

Ref legal event code: PL

REG Reference to a national code

Ref country code: DK

Ref legal event code: EBP

GBPC Gb: european patent ceased through non-payment of renewal fee

Effective date: 20100511

PG25 Lapsed in a contracting state [announced via postgrant information from national office to epo]

Ref country code: AT

Free format text: LAPSE BECAUSE OF NON-PAYMENT OF DUE FEES

Effective date: 20100511

EUG Se: european patent has lapsed
REG Reference to a national code

Ref country code: FR

Ref legal event code: ST

Effective date: 20110131

PG25 Lapsed in a contracting state [announced via postgrant information from national office to epo]

Ref country code: LI

Free format text: LAPSE BECAUSE OF NON-PAYMENT OF DUE FEES

Effective date: 20100531

Ref country code: CH

Free format text: LAPSE BECAUSE OF NON-PAYMENT OF DUE FEES

Effective date: 20100531

REG Reference to a national code

Ref country code: SI

Ref legal event code: KO00

Effective date: 20110107

PG25 Lapsed in a contracting state [announced via postgrant information from national office to epo]

Ref country code: IT

Free format text: LAPSE BECAUSE OF NON-PAYMENT OF DUE FEES

Effective date: 20100511

Ref country code: SE

Free format text: LAPSE BECAUSE OF NON-PAYMENT OF DUE FEES

Effective date: 20100512

Ref country code: BE

Free format text: LAPSE BECAUSE OF NON-PAYMENT OF DUE FEES

Effective date: 20100531

Ref country code: NL

Free format text: LAPSE BECAUSE OF NON-PAYMENT OF DUE FEES

Effective date: 20101201

PG25 Lapsed in a contracting state [announced via postgrant information from national office to epo]

Ref country code: DK

Free format text: LAPSE BECAUSE OF NON-PAYMENT OF DUE FEES

Effective date: 20100531

Ref country code: DE

Free format text: LAPSE BECAUSE OF NON-PAYMENT OF DUE FEES

Effective date: 20101201

PG25 Lapsed in a contracting state [announced via postgrant information from national office to epo]

Ref country code: FR

Free format text: LAPSE BECAUSE OF NON-PAYMENT OF DUE FEES

Effective date: 20100531

REG Reference to a national code

Ref country code: ES

Ref legal event code: FD2A

Effective date: 20110715

PG25 Lapsed in a contracting state [announced via postgrant information from national office to epo]

Ref country code: GB

Free format text: LAPSE BECAUSE OF NON-PAYMENT OF DUE FEES

Effective date: 20100511

Ref country code: ES

Free format text: LAPSE BECAUSE OF NON-PAYMENT OF DUE FEES

Effective date: 20110705

PG25 Lapsed in a contracting state [announced via postgrant information from national office to epo]

Ref country code: ES

Free format text: LAPSE BECAUSE OF NON-PAYMENT OF DUE FEES

Effective date: 20100512