EP0640720B1 - Saugmaschine zur Absaugung von Bettungsschotter eines Gleises - Google Patents
Saugmaschine zur Absaugung von Bettungsschotter eines Gleises Download PDFInfo
- Publication number
- EP0640720B1 EP0640720B1 EP94890128A EP94890128A EP0640720B1 EP 0640720 B1 EP0640720 B1 EP 0640720B1 EP 94890128 A EP94890128 A EP 94890128A EP 94890128 A EP94890128 A EP 94890128A EP 0640720 B1 EP0640720 B1 EP 0640720B1
- Authority
- EP
- European Patent Office
- Prior art keywords
- suction
- ballast
- opening
- machine according
- drive
- Prior art date
- Legal status (The legal status is an assumption and is not a legal conclusion. Google has not performed a legal analysis and makes no representation as to the accuracy of the status listed.)
- Expired - Lifetime
Links
- 238000007789 sealing Methods 0.000 claims 6
- 238000007654 immersion Methods 0.000 claims 1
- 238000000034 method Methods 0.000 description 2
- 230000004913 activation Effects 0.000 description 1
- 230000001771 impaired effect Effects 0.000 description 1
Images
Classifications
-
- E—FIXED CONSTRUCTIONS
- E01—CONSTRUCTION OF ROADS, RAILWAYS, OR BRIDGES
- E01B—PERMANENT WAY; PERMANENT-WAY TOOLS; MACHINES FOR MAKING RAILWAYS OF ALL KINDS
- E01B27/00—Placing, renewing, working, cleaning, or taking-up the ballast, with or without concurrent work on the track; Devices therefor; Packing sleepers
- E01B27/06—Renewing or cleaning the ballast in situ, with or without concurrent work on the track
- E01B27/10—Renewing or cleaning the ballast in situ, with or without concurrent work on the track without taking-up track
- E01B27/102—Removing unwanted material without removing the ballast
-
- E—FIXED CONSTRUCTIONS
- E01—CONSTRUCTION OF ROADS, RAILWAYS, OR BRIDGES
- E01H—STREET CLEANING; CLEANING OF PERMANENT WAYS; CLEANING BEACHES; DISPERSING OR PREVENTING FOG IN GENERAL CLEANING STREET OR RAILWAY FURNITURE OR TUNNEL WALLS
- E01H1/00—Removing undesirable matter from roads or like surfaces, with or without moistening of the surface
- E01H1/08—Pneumatically dislodging or taking-up undesirable matter or small objects; Drying by heat only or by streams of gas; Cleaning by projecting abrasive particles
- E01H1/0827—Dislodging by suction; Mechanical dislodging-cleaning apparatus with independent or dependent exhaust, e.g. dislodging-sweeping machines with independent suction nozzles ; Mechanical loosening devices working under vacuum
-
- E—FIXED CONSTRUCTIONS
- E01—CONSTRUCTION OF ROADS, RAILWAYS, OR BRIDGES
- E01H—STREET CLEANING; CLEANING OF PERMANENT WAYS; CLEANING BEACHES; DISPERSING OR PREVENTING FOG IN GENERAL CLEANING STREET OR RAILWAY FURNITURE OR TUNNEL WALLS
- E01H8/00—Removing undesirable matter from the permanent way of railways; Removing undesirable matter from tramway rails
Definitions
- the invention relates to a suction machine for extracting ballast ballast from a track, with a machine frame that can be moved on rail bogies, a vacuum generator and a ballast accumulator that has a suction and discharge opening, the suction opening of the ballast accumulator being a suction pipe with a height that can be immersed in ballast ballast and driven by drives cross-adjustable suction opening is assigned.
- Such a suction machine is known from US Pat. No. 4,938,239, a total of three suction pipes spaced apart from one another in the cross-machine direction being provided.
- the suctioned ballast is collected in a central ballast store and emptied after it has been filled. Since suction is not possible during emptying, the performance of the machine is impaired.
- the object of the present invention is to create a suction machine of the generic type with increased performance.
- ballast stores each with its own suction and discharge opening, are provided, with a separate closure member being assigned to the optional airtight closure of at least one suction opening of each ballast store.
- the suction machine 1 shown in FIG. 1 has a machine frame 4 which can be moved on rail running gear 2, a vacuum generator 3 and driving cabins 5 arranged at the ends with a central control device 6. Furthermore, the suction machine 1 is equipped with a motor 7 for the energy supply and a travel drive 8.
- a support structure 11 fastened to the machine frame 4 is provided for guiding and supporting a suction pipe 10 projecting over a machine end 9.
- This is composed essentially of two parts 14, 15 arranged one behind the other in the longitudinal direction of the machine and forming an articulated joint with a vertical pivot axis 12 and a drive 13.
- a flexible section of the suction pipe 10 adjoins the section of the suction pipe 10 which is connected to the part 15 and has a suction opening 16, the end 32 of which is opposite the suction opening 16 and is connected to a distributor 33.
- This is connected to two ballast stores 17, 18 opposite each other in the cross-machine direction, each of which has an unloading opening 19.
- Two filter chambers 20 with closable discharge openings 21 are located between these ballast stores 17, 18 and the vacuum generator 3.
- a conveyor belt 22 with a rotary drive 23 running in the machine longitudinal direction is provided below the unloading openings 19 of the two ballast stores 17, 18 and the unloading openings 21 of the filter chambers 20 and below the machine frame 4.
- An end 24 of this conveyor belt 22, which is further distanced from the suction opening 16, is positioned above the rail chassis 2, which is fastened to the end of the machine frame 4, and below the driving cabin 5.
- a conveyor drive 31 assigned to the transfer conveyor belt 26 can optionally be acted upon in both directions of rotation.
- a storage trolley 34 for receiving the suctioned ballast is connected to the suction machine 1.
- one end 32 of the suction pipe 10 is connected by a distributor 33 to a suction opening 35, 36 of the ballast store 17 and 18, respectively.
- An intake opening 37, 38 is also provided between each ballast store 17, 18 and the subsequent filter chamber 20.
- the two filter chambers 20 also have further suction openings 39, 40, which are connected to the vacuum generator 3 via a suction line 41.
- the intake openings 35, 36, 37, 38 of the ballast stores 17, 18 are each assigned a closure member 44, 45 that can be controlled by a drive 42, 43.
- the distributor 33 has a central inlet opening 46 which is connected to the end 32 of the suction pipe 10. At the opposite end of the distributor 33, two outlet openings 47 are provided, each of which is connected to the suction opening 35, 36 of the corresponding ballast store 17 or 18. In the area of the inlet opening 46 of the distributor 33, a guide slide 49, which can be pivoted about a vertical axis by a drive 48, is provided for optionally deflecting the intake flow from one outlet opening 47 to the other.
- All of the drives 42, 43, 48 and 50 which serve to adjust a closure element 44, 45 and the guide slide 49 or to open the discharge openings 19 can be acted upon by an OR switching element 51 of the central control device 6.
- a fill level indicator 52 designed as a touch sensor for registering a maximum fill level is assigned to each ballast store 17, 18. Each level indicator 52 is connected to the control device 6 in order to activate the OR switching element 51.
- the closure member 44 assigned to the two suction openings 35, 36 is designed as a gate valve 53, which is displaceably mounted by the drive 42 perpendicular to a suction flow direction indicated by a dash-dotted line.
- the suction opening 16 is immersed in the ballast with the aid of the various drives 13 of the supporting structure 11.
- the suction flow is guided through the left ballast storage 18 in the suction flow direction indicated by an arrow 54 in order to fill it with the suctioned ballast.
- the discharge opening 19 of the right ballast accumulator 17 is opened in order to empty it.
- the suction openings 35 and 37 of this ballast store 17 are - as already mentioned - sealed airtight by the corresponding closure members 44 and 45, respectively. This prevents air from reaching the distributor 33 via the opened discharge opening 19.
- the left ballast accumulator 18 is filled until the associated fill level indicator 52 reports that the maximum fill level has been reached. This leads to an activation of the OR switching element 51, which leads to an automatic loading of all the drives 42, 43, 48 and 50 which act on the closure members 44, 45 or the guide slide 49 or the discharge openings 19. This means that the guide slide 49 is pivoted into the position indicated by dash-dotted lines (FIG. 2), while at the same time the closure members 44 and 45 of the right ballast accumulator 17 are opened after the discharge opening 19 has been closed immediately beforehand. In parallel, the suction openings 36, 38 of the left ballast accumulator 18 are sealed airtight by the corresponding closure members 44, 45.
- the unloading opening 19 is then opened in order to empty the stored ballast onto the conveyor belt 22 underneath. This switching of the suction flow from one to the other ballast store 17, 18 can be carried out without interrupting the ballast suction. After the right ballast store 17 has been filled, the suction flow is automatically redirected to the opposite ballast store.
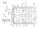
- FIG. 4 For the sake of simplicity, functionally identical components are designated with the same reference numerals as in FIGS. 1 to 3.
- the essential difference of the embodiment shown in Fig. 4 compared to that described above consists in that, instead of a distributor, the end 32 of the suction pipe 10 is displaceably supported by a drive 55 from the suction opening 35 assigned to the first ballast accumulator 17 to the suction opening 36 of the second ballast storage 18 distanced therefrom.
- a link guide 56 connecting the two suction openings 35, 36 is provided, in which a flange 57 connected to the end 32 of the suction pipe 10 and the drive 55 is slidably mounted transversely to the machine longitudinal direction or to the suction flow direction.
- the right ballast accumulator 17 is just being filled in the suction flow direction indicated by the arrow 54, the suction opening 37 between the ballast accumulator 17 and the adjacent filter chamber 20 being open.
- the further intake opening 38 connecting the second ballast reservoir 18 to the filter chamber 20 is sealed airtight by the closure member 45.
- the discharge opening 19 of this second ballast store 18 can therefore be opened to discharge it.
- the central control device 6 automatically closes the discharge opening 19 of the second ballast accumulator 18, the drive 55 is moved to move the suction pipe 10 to the opposite suction opening 36, and the suction opening 37 is closed and an opening of the suction opening 38.
- the discharge opening 19 of the first ballast store 17 is then also opened.
- the procedure described is carried out in the reverse order.
Landscapes
- Engineering & Computer Science (AREA)
- Architecture (AREA)
- Civil Engineering (AREA)
- Structural Engineering (AREA)
- Machines For Laying And Maintaining Railways (AREA)
- Preliminary Treatment Of Fibers (AREA)
- Other Investigation Or Analysis Of Materials By Electrical Means (AREA)
- Sawing (AREA)
- Nozzles For Electric Vacuum Cleaners (AREA)
- Exhaust Gas After Treatment (AREA)
- Filling Or Emptying Of Bunkers, Hoppers, And Tanks (AREA)
- Hooks, Suction Cups, And Attachment By Adhesive Means (AREA)
- External Artificial Organs (AREA)
- Jet Pumps And Other Pumps (AREA)
- Treatment Of Sludge (AREA)
- Processing Of Stones Or Stones Resemblance Materials (AREA)
- Cleaning In General (AREA)
- Revetment (AREA)
- Machine Tool Units (AREA)
- Detergent Compositions (AREA)
- Air Transport Of Granular Materials (AREA)
Description
- Die Erfindung betrifft eine Saugmaschine zur Absaugung von Bettungsschotter eines Gleises, mit einem auf Schienenfahrwerken verfahrbaren Maschinenrahmen, einem Unterdruckerzeuger sowie einem eine Ansaug- und eine Entladeöffnung aufweisenden Schotterspeicher, wobei der Ansaugöffnung des Schotterspeichers ein Saugrohr mit einer in Bettungsschotter eintauchbaren und durch Antriebe höhen- und querverstellbaren Saugöffnung zugeordnet ist.
- Eine derartige Saugmaschine ist durch die US 4 938 239 bekannt, wobei insgesamt drei in Maschinenquerrichtung voneinander distanzierte Saugrohre vorgesehen sind. Der angesaugte Schotter wird in einem zentralen Schotterspeicher gesammelt und nach dessen Befüllung entleert. Da während der Entleerung keine Ansaugung möglich ist, ist damit die Leistungsfähigkeit der Maschine beeinträchtigt.
- Weitere Saugmaschinen sind noch durch DE 82 36 650 U, CH 451 987 B und US 4 570 287 bekannt.
- Die Aufgabe der vorliegenden Erfindung besteht nun in der Schaffung einer Saugmaschine der gattungsgemäßen Art mit einer erhöhten Leistungsfähigkeit.
- Diese Aufgabe wird erfindungsgemäß mit der eingangs genannten Maschine dadurch gelöst, daß zwei jeweils eine eigene Ansaug- und Entladeöffnung aufweisende Schotterspeicher vorgesehen sind, wobei zum wahlweisen luftdichten Verschluß jeweils wenigstens einer Ansaugöffnung jedes Schotterspeichers ein eigenes Verschlußorgan zugeordnet ist.
- Mit dieser Ausbildung besteht die Möglichkeit, den angesaugten Schotter wechselweise in einem der beiden Schotterspeicher zu speichern, wodurch unter Erzielung sowohl einer erhöhten Leistungsfähigkeit als auch einer verbesserten Arbeitsdurchführung eine ununterbrochene Ansaugung erzielbar ist. Parallel dazu ist aber auch der besondere Vorteil einer ungestörten Entleerung des jeweils gefüllten Schotterspeichers mit einem unmittelbar anschließenden Abtransport beispielsweise in einen angeschlossenen Verladewagen durchführbar. Für den Wechsel des Speichervorganges von einem zum anderen Schotterspeicher ist lediglich eine Umlenkung des Ansaugstromes durch entsprechende Steuerung der Verschlußorgane erforderlich.
- Weitere vorteilhatte Ausgestaltungen der Erfindung ergeben sich aus den Unteransprüchen.
- Im folgenden wird die Erfindung anhand in der Zeichnung dargestellter Ausführungsbeispiele näher beschrieben.
- Es zeigen:
- Fig. 1 eine Seitenansicht einer Saugmaschine mit zwei in Maschinenquerrichtung nebeneinander angeordneten Schotterspeichern und einem über das Maschinenende vorkragenden, höhen- und querverstellbaren Saugrohr,
- Fig. 2 eine schematisierte Draufsicht auf die beiden Schotterspeicher,
- Fig. 3 einen schematisierten Querschnitt durch einen Schotterspeicher gemäß der Schnittlinie III in Fig. 2, und
- Fig. 4 ein weiteres Ausführungsbeispiel einer Verbindung des Saugrohres mit den Schotterspeichern in schematisierter Draufsicht.
- Die in Fig. 1 ersichtliche Saugmaschine 1 weist einen auf Schienenfahrwerken 2 verfahrbaren Maschinenrahmen 4, einen Unterdruckerzeuger 3 sowie endseitig angeordnete Fahrkabinen 5 mit einer zentralen Steuereinrichtung 6 auf. Desweiteren ist die Saugmaschine 1 mit einem Motor 7 für die Energieversorgung und einem Fahrantrieb 8 ausgestattet.
- Zur Führung und Abstützung eines über ein Maschinenende 9 vorkragenden Saugrohres 10 ist eine am Maschinenrahmen 4 befestigte Tragkonstruktion 11 vorgesehen. Diese setzt sich im wesentlichen aus zwei in Maschinenlängsrichtung hintereinander angeordneten und unter Bildung einer Gelenkstelle mit einer vertikalen Schwenkachse 12 und einem Antrieb 13 gelenkig miteinander verbundenen Teilen 14,15 zusammen.
- An den mit dem Teil 15 verbundenen, eine Saugöffnung 16 aufweisenden Abschnitt des Saugrohres 10 schließt ein flexibler Abschnitt des Saugrohres 10 an, dessen der Saugöffnung 16 gegenüberliegendes Ende 32 an einen Verteiler 33 angeschlossen ist. Dieser ist mit zwei in Maschinenquerrichtung einander gegenüberliegenden Schotterspeichern 17,18, die jeweils eine Entladeöffnung 19 aufweisen, verbunden. Zwischen diesen Schotterspeichern 17,18 und dem Unterdruckerzeuger 3 befinden sich zwei Filterkammern 20 mit verschließbaren Entladeöffnungen 21.
- Unterhalb der Entladeöffnungen 19 der beiden Schotterspeicher 17,18 und der Entladeöffnungen 21 der Filterkammern 20 sowie unterhalb des Maschinenrahmens 4 ist ein in Maschinenlängsrichtung verlaufendes Förderband 22 mit einem Drehantrieb 23 vorgesehen. Ein von der Saugöffnung 16 weiter distanziertes Ende 24 dieses Förderbandes 22 ist oberhalb des endseitig am Maschinenrahmen 4 befestigten Schienenfahrwerkes 2 und unterhalb der Fahrkabine 5 positioniert. Dem genannten Ende 24 des Förderbandes 22 ist ein mit einem Aufnahmeende 25 unterhalb des Förderbandes 22 angeordnetes Übergabeförderband 26 zugeordnet. Dieses ist auf einer durch einen Drehantrieb 27 um eine vertikale Drehachse 28 drehbar am Maschinenrahmen 4 befestigten Abstützung 29 gelagert und in bezug auf diese durch einen Antrieb 30 in Maschinenlängsrichtung - in eine in strichpunktierten Linien dargestellte Überstellposition - verschiebbar ausgebildet. Ein dem Übergabeförderband 26 zugeordneter Förderantrieb 31 ist wahlweise in beiden Drehrichtungen beaufschlagbar. An die Saugmaschine 1 ist ein Speicherwagen 34 zur Aufnahme des angesaugten Schotters angeschlossen.
- Wie insbesondere in Fig. 2 und 3 ersichtlich, ist ein Ende 32 des Saugrohres 10 durch einen Verteiler 33 jeweils mit einer Ansaugöffnung 35,36 des Schotterspeichers 17 bzw. 18 verbunden. Zwischen jedem Schotterspeicher 17,18 und der anschließenden Filterkammer 20 ist ebenfalls eine Ansaugöffnung 37,38 vorgesehen. Die beiden Filterkammern 20 weisen außerdem noch weitere Ansaugöffnungen 39,40 auf, die über eine Ansaugleitung 41 mit dem Unterdruckerzeuger 3 in Verbindung stehen. Den Ansaugöffnungen 35,36,37,38 der Schotterspeicher 17,18 ist jeweils ein durch einen Antrieb 42,43 steuerbares Verschlußorgan 44,45 zugeordnet.
- Der Verteiler 33 weist eine zentrale Eingangsöffnung 46 auf, die mit dem Ende 32 des Saugrohres 10 verbunden ist. Am gegenüberliegenden Ende des Verteilers 33 sind zwei Ausgangsöffnungen 47 vorgesehen, die jeweils mit der Ansaugöffnung 35,36 des entsprechenden Schotterspeichers 17 bzw. 18 verbunden sind. Im Bereich der Eingangsöffnung 46 des Verteilers 33 ist ein durch einen Antrieb 48 um eine vertikale Achse verschwenkbarer Leitschieber 49 zur wahlweisen Umlenkung des Ansaugstromes von der einen zur anderen Ausgangsöffnung 47 vorgesehen.
- Sämtliche zur Verstellung eines Verschlußorganes 44,45 und des Leitschiebers 49 bzw. zur Öffnung der Entladeöffnungen 19 dienenden Antriebe 42,43,48 und 50 sind durch ein Oder-Schaltglied 51 der zentralen Steuereinrichtung 6 beaufschlagbar. Jedem Schotterspeicher 17,18 ist ein als Berührungssensor ausgebildeter Füllstandsanzeiger 52 zur Registrierung einer maximalen Füllhöhe zugeordnet. Jeder Füllstandsanzeiger 52 ist zur Aktivierung des Oder-Schaltgliedes 51 mit der Steuereinrichtung 6 verbunden.
- Wie insbesondere in Fig. 3 ersichtlich, ist das den beiden Ansaugöffnungen 35,36 zugeordnete Verschlußorgan 44 als Absperrschieber 53 ausgebildet, der durch den Antrieb 42 senkrecht zu einer durch eine strichpunktierte Linie angedeuteten Saugstromrichtung verschiebbar gelagert ist.
- Zum Ansaugen des Bettungsschotters wird die Saugöffnung 16 mit Hilfe der verschiedenen Antriebe 13 der Tragkonstruktion 11 in den Schotter eingetaucht. Dabei wird der durch den Unterdruckerzeuger 3 gebildete Saugstrom unter entsprechender Stellung der Verschlußorgane 44,45 und des Leitschiebers 49 durch einen der beiden Schotterspeicher 17,18 geführt. In dem in Fig. 2 dargestellten Ausführungsbeispiel wird der Saugstrom in der durch einen Pfeil 54 angedeutete Saugstromrichtung durch den linken Schotterspeicher 18 geführt, um diesen mit dem angesaugten Schotter zu füllen. Parallel dazu erfolgt durch Beaufschlagung des entsprechenden Antriebes 50 eine Öffnung der Entladeöffnung 19 des rechten Schotterspeichers 17, um diesen zu Entleeren. Die Ansaugöffnungen 35 und 37 dieses Schotterspeichers 17 sind - wie bereits erwähnt - durch die entsprechenden Verschlußorgane 44 bzw. 45 luftdicht abgeschlossen. Damit wird verhindert, daß Luft über die geöffnete Entladeöffnung 19 in den Verteiler 33 gelangt.
- Die Befüllung des linken Schotterspeichers 18 erfolgt solange, bis durch den zugeordneten Füllstandsanzeiger 52 das Erreichen der maximalen Füllhöhe gemeldet wird. Dies führt zu einer Aktivierung des Oder-Schaltgliedes 51, das zu einer automatischen Beaufschlagung sämtlicher die Verschlußorgane 44,45 bzw. den Leitschieber 49 oder die Entladeöffnungen 19 beaufschlagenden Antriebe 42,43,48 und 50 führt. Das heißt, daß der Leitschieber 49 in die mit strichpunktierten Linien angedeutete Position (Fig. 2) verschwenkt wird, während gleichzeitig die Verschlußorgane 44 und 45 des rechten Schotterspeichers 17 geöffnet werden, nachdem unmittelbar zuvor die Entladeöffnung 19 geschlossen wurde. Parallel dazu werden die Ansaugöffnungen 36, 38 des linken Schotterspeichers 18 durch die entsprechenden Verschlußorgane 44,45 luftdicht abgeschlossen. Danach erfolgt ein Öffnen der Entladeöffnung 19, um den gespeicherten Schotter auf das darunterliegende Förderband 22 zu entleeren. Diese Umschaltung des Saugstromes von einem zum anderen Schotterspeicher 17,18 kann ohne Unterbrechung der Schotteransaugung durchgeführt werden. Nach Befüllung des rechten Schotterspeichers 17 erfolgt wiederum eine automatische Umlenkung des Saugstromes auf den gegenüberliegenden Schotterspeicher.
- Bei dem in Fig. 4 dargestellten weiteren Ausführungsbeispiel sind der Einfachheit halber funktionsmäßig identische Bauteile mit den selben Bezugszeichen wie in Fig. 1 bis 3 bezeichnet. Der wesentliche Unterschied des in Fig. 4 dargestellten Ausführungsbeispieles im Vergleich zu dem oben beschriebenen besteht darin, daß anstelle eines Verteilers das Ende 32 des Saugrohres 10 durch einen Antrieb 55 von der dem ersten Schotterspeicher 17 zugeordneten Ansaugöffnung 35 zu der davon distanzierten Ansaugöffnung 36 des zweiten Schotterspeichers 18 verschiebbar gelagert ist. Zu diesem Zweck ist eine die beiden Ansaugöffnungen 35,36 miteinander verbindende Kulissenführung 56 vorgesehen, in der ein mit dem Ende 32 des Saugrohres 10 und dem Antrieb 55 verbundener Flansch 57 quer zur Maschinenlängsrichtung bzw. zur Saugstromrichtung verschiebbar gelagert ist.
- In der durch den Pfeil 54 angedeuteten Saugstromrichtung gesehen wird im Ausführungsbeispiel gemäß Fig. 4 gerade der rechte Schotterspeicher 17 gefüllt, wobei die Ansaugöffnung 37 zwischen dem Schotterspeicher 17 und der angrenzenden Filterkammer 20 geöffnet ist. Die weitere, den zweiten Schotterspeicher 18 mit der Filterkammer 20 verbindende Ansaugöffnung 38 ist durch das Verschlußorgan 45 luftdicht abgeschlossen. Die Entladeöffnung 19 dieses zweiten Schotterspeichers 18 kann daher zu dessen Entladung geöffnet werden. Sobald durch den Füllstandsanzeiger die Befüllung des ersten Schotterspeichers 17 registriert wird, erfolgt durch die zentrale Steuereinrichtung 6 automatisch ein Verschluß der Entladeöffnung 19 des zweiten Schotterspeichers 18, eine Beaufschlagung des Antriebes 55 zur Verschiebung des Saugrohres 10 zur gegenüberliegenden Ansaugöffnung 36, ein Verschluß der Ansaugöffnung 37 und ein Öffnen der Ansaugöffnung 38. Anschließend erfolgt auch ein Öffnen der Entladeöffnung 19 des ersten Schotterspeichers 17. Sobald der zweite Schotterspeicher 18 gefüllt ist, erfolgt die beschriebene Vorgangsweise in umgekehrter Reihenfolge.
Claims (10)
- Saugmaschine zur Absaugung von Bettungsschotter eines Gleises, mit einem auf Schienenfahrwerken (2) verfahrbaren Maschinenrahmen (4), einem Unterdruckerzeuger (3) sowie einem eine Ansaug- und eine Entladeöffnung (35-38,19) aufweisenden Schotterspeicher (17,18), wobei der Ansaugöffnung (35,36) des Schotterspeichers (17,18) ein Saugrohr (10) mit einer in Bettungsschotter eintauchbaren und durch Antriebe (13) höhen- und querverstellbaren Saugöffnung (16) zugeordnet ist, dadurch gekennzeichnet, daß zwei jeweils eine eigene Ansaug- und Entladeöffnung (35,36,19) aufweisende Schotterspeicher (17,18) vorgesehen sind, wobei zum wahlweisen luftdichten Verschluß jeweils wenigstens einer Ansaugöffnung (35-38) jedes Schotterspeichers (17,18) ein eigenes Verschlußorgan (44,45) zugeordnet ist.
- Maschine nach Anspruch 1, dadurch gekennzeichnet, daß jedem Verschlußorgan (44,45) ein eigener, über eine zentrale Steuereinrichtung (6) beaufschlagbarer Antrieb (42,43) zur Überstellung in eine Verschlußposition zugeordnet ist, wobei die Steuereinrichtung (6) ein Oder-Schaltglied zur Beaufschlagung des jeweiligen Antriebes aufweist.
- Maschine nach Anspruch 2, dadurch gekennzeichnet, daß einer jeweils als Verbindung zwischen Schotterspeicher (17,18) und einer angrenzenden Filterkammer (20) vorgesehenen weiteren Ansaugöffnung (37,38) ein Verschlußorgan (45) mit einem eigenen Antrieb (43) zugeordnet ist, der ebenfalls durch das Oder-Schaltglied (51) beaufschlagbar ist.
- Maschine nach einem der Ansprüche 1, 2 oder 3, dadurch gekennzeichnet, daß das Saugrohr (10) auf einer Eingangsöffnung (46) eines Verteilers (33) befestigt ist, dessen beide in Saugrichtung am gegenüberliegenden Ende befindlichen Ausgangsöffnungen (47) jeweils mit einer Ansaugöffnung (35,36) eines Schotterspeichers (17,18) verbunden sind.
- Maschine nach Anspruch 4, dadurch gekennzeichnet, daß im Bereich der Eingangsöffnung (46) des Verteilers (33) ein durch einen Antrieb (48) verstellbarer Leitschieber (49) zur wahlweisen Umlenkung des Ansaugstromes von der einen zur anderen Ausgangsöffnung (47) zugeordnet ist.
- Maschine nach einem der Ansprüche 1 bis 5, dadurch gekennzeichnet, daß jeder Ansaugöffnung (35) ein durch den Antrieb (42) senkrecht zu einer Längsachse des Saugrohres (10) bzw. zur Saugstromrichtung verschiebbar gelagerter Absperrschieber (53) zugeordnet ist.
- Maschine nach einem der Ansprüche 1 bis 6, dadurch gekennzeichnet, daß sämtliche zur Verstellung eines Verschlußorganes (44,45), der Entladeöffnungen (19) und gegebenenfalls des Leitschiebers (49) dienenden Antriebe (42,43,48,50) durch das Oder-Schaltglied (51) der zentralen Steuereinrichtung (6) beaufschlagbar sind.
- Maschine nach Anspruch 1, dadurch gekennzeichnet, daß ein an die Ansaugöffnung (35,36) anschließendes Ende (32) des Saugrohres (10) durch einen Antrieb (55) von einer dem ersten Schotterspeicher (17,18) zugeordneten Ansaugöffnung (35,36) zu einer davon distanzierten, dem zweiten Schotterspeicher (17,18) zugeordneten zweiten Ansaugöffnung (35,36) verschiebbar gelagert ist.
- Maschine nach Anspruch 8, gekennzeichnet durch eine die beiden Ansaugöffnungen (35,36) miteinander verbindende Kulissenführung (56), in der ein mit dem Ende (32) des Saugrohres (10) und mit dem Antrieb (55) verbundener Flansch (57) quer zur Maschinenlängsrichtung bzw. zur Saugstromrichtung verschiebbar gelagert ist.
- Maschine nach einem der Ansprüche 1 bis 9, dadurch gekennzeichnet, daß jedem Schotterspeicher (17,18) ein Füllstandsanzeiger (52) zur Registrierung einer maximalen Füllhöhe zugeordnet ist, die mit der Steuereinrichtung (6) zur Aktivierung des Oder-Schaltgliedes (51) verbunden sind.
Applications Claiming Priority (4)
| Application Number | Priority Date | Filing Date | Title |
|---|---|---|---|
| AT1749/93 | 1993-08-31 | ||
| AT174993 | 1993-08-31 | ||
| AT805/94 | 1994-04-18 | ||
| AT80594 | 1994-04-18 |
Publications (2)
| Publication Number | Publication Date |
|---|---|
| EP0640720A1 EP0640720A1 (de) | 1995-03-01 |
| EP0640720B1 true EP0640720B1 (de) | 1995-12-27 |
Family
ID=25593969
Family Applications (1)
| Application Number | Title | Priority Date | Filing Date |
|---|---|---|---|
| EP94890128A Expired - Lifetime EP0640720B1 (de) | 1993-08-31 | 1994-07-29 | Saugmaschine zur Absaugung von Bettungsschotter eines Gleises |
Country Status (14)
| Country | Link |
|---|---|
| US (1) | US5502904A (de) |
| EP (1) | EP0640720B1 (de) |
| JP (1) | JP3559317B2 (de) |
| CN (1) | CN1066506C (de) |
| AT (1) | ATE132219T1 (de) |
| CA (1) | CA2131206C (de) |
| CZ (1) | CZ279897B6 (de) |
| DE (1) | DE59400073D1 (de) |
| ES (1) | ES2083305T3 (de) |
| FI (1) | FI107821B (de) |
| HU (1) | HU216120B (de) |
| PL (1) | PL176289B1 (de) |
| RU (1) | RU2070949C1 (de) |
| SK (1) | SK280732B6 (de) |
Families Citing this family (11)
| Publication number | Priority date | Publication date | Assignee | Title |
|---|---|---|---|---|
| ES2128029T3 (es) * | 1994-04-18 | 1999-05-01 | Plasser Bahnbaumasch Franz | Maquina aspiradora. |
| AT403708B (de) * | 1994-09-15 | 1998-05-25 | Plasser Bahnbaumasch Franz | Gleisbaumaschine |
| AT3655U3 (de) | 2000-02-29 | 2001-02-26 | Plasser Bahnbaumasch Franz | Stopfmaschine mit einer schotterabsaugdüse |
| DE102011119924A1 (de) * | 2011-12-02 | 2013-06-06 | Alfons Braun | Seitenwechselbarer Kraftarm |
| CH708460B1 (de) * | 2013-08-20 | 2017-06-30 | Matisa Matériel Ind Sa | Maschine zur Erneuerung von Schwellen eines Gleises. |
| BE1023480B1 (fr) * | 2015-09-29 | 2017-04-05 | Lange Christian Sa | Appareil de separation de dechets |
| CN105401494B (zh) * | 2015-12-22 | 2017-05-24 | 常州市瑞泰工程机械有限公司 | 道砟挖掘装置 |
| DE102020001928B3 (de) | 2020-03-25 | 2021-08-05 | Bernd Rudat | Saugbagger zum gezielten Aufnehmen von Sauggut, insbesondere zum Ausheben von Erdreich |
| RU2760917C1 (ru) * | 2021-04-28 | 2021-12-01 | Василий Николаевич Губашин | Способ очистки щебня, непосредственно расположенного в железнодорожном пути, от загрязнителей |
| WO2024030051A1 (ru) * | 2022-08-02 | 2024-02-08 | Олег Зякярович ЮНКИН | Клапан переключения входных потоков малой вакуумной машины |
| AT526060B1 (de) * | 2022-12-20 | 2023-11-15 | Plasser & Theurer Export Von Bahnbaumaschinen Gmbh | Speicherwagen für Schüttgut |
Family Cites Families (9)
| Publication number | Priority date | Publication date | Assignee | Title |
|---|---|---|---|---|
| AT363115B (de) * | 1978-05-09 | 1981-07-10 | Plasser Bahnbaumasch Franz | Selbstfahrbare gleisbett-reinigungsmaschine mit speichervorrichtung |
| AT379176B (de) * | 1981-12-22 | 1985-11-25 | Plasser Bahnbaumasch Franz | Fahrbare anlage und verfahren zur kontinuierlich fortschreitenden sanierung des gleisunterbaues |
| DE3312492A1 (de) * | 1982-09-23 | 1984-03-29 | Franz Plasser Bahnbaumaschinen-Industriegesellschaft mbH, 1010 Wien | Schuettgutverladewagen, insbesondere zur abraumverladung von einer schotterbett-reinigungsmaschine |
| DE3318756C2 (de) * | 1983-05-24 | 1994-12-08 | Schneider Walter Gmbh Co Kg | Fahrbare Einrichtung zum Aufnehmen von Abfällen, insbesondere aus Schotterbetten einer Gleisanlage |
| AT380708B (de) * | 1984-01-31 | 1986-06-25 | Plasser Bahnbaumasch Franz | Verfahren und maschine zum reinigen einer gleis -schotterbettung |
| AT384446B (de) * | 1985-03-14 | 1987-11-10 | Plasser Bahnbaumasch Franz | Gleisfahrbare maschine zum absaugen des schotters aus einer schotterbettung |
| ES2018718B3 (es) * | 1988-04-13 | 1991-05-01 | Franz Plasser Bahnbaumaschinen- Ind M B H | Maquina movible por via para limpiar superestructuras viarias con mecanismos de aspiracion |
| EP0436757B1 (de) * | 1990-01-10 | 1992-12-30 | Franz Plasser Bahnbaumaschinen-Industriegesellschaft m.b.H. | Gleisstopfmaschine |
| DE59304816D1 (de) * | 1992-11-18 | 1997-01-30 | Plasser Bahnbaumasch Franz | Verladewagen zum Transport von Schüttgut |
-
1994
- 1994-07-29 EP EP94890128A patent/EP0640720B1/de not_active Expired - Lifetime
- 1994-07-29 ES ES94890128T patent/ES2083305T3/es not_active Expired - Lifetime
- 1994-07-29 AT AT94890128T patent/ATE132219T1/de not_active IP Right Cessation
- 1994-07-29 DE DE59400073T patent/DE59400073D1/de not_active Expired - Fee Related
- 1994-08-19 PL PL94304763A patent/PL176289B1/pl not_active IP Right Cessation
- 1994-08-22 CZ CZ942019A patent/CZ279897B6/cs not_active IP Right Cessation
- 1994-08-26 SK SK1030-94A patent/SK280732B6/sk not_active IP Right Cessation
- 1994-08-29 US US08/297,136 patent/US5502904A/en not_active Expired - Lifetime
- 1994-08-30 RU RU9494031560A patent/RU2070949C1/ru not_active IP Right Cessation
- 1994-08-30 JP JP20508394A patent/JP3559317B2/ja not_active Expired - Fee Related
- 1994-08-30 FI FI943969A patent/FI107821B/fi active
- 1994-08-30 HU HUP9402489A patent/HU216120B/hu not_active IP Right Cessation
- 1994-08-31 CA CA002131206A patent/CA2131206C/en not_active Expired - Fee Related
- 1994-08-31 CN CN94115748A patent/CN1066506C/zh not_active Expired - Fee Related
Also Published As
| Publication number | Publication date |
|---|---|
| EP0640720A1 (de) | 1995-03-01 |
| CN1106485A (zh) | 1995-08-09 |
| SK103094A3 (en) | 1995-03-08 |
| JP3559317B2 (ja) | 2004-09-02 |
| CN1066506C (zh) | 2001-05-30 |
| CA2131206A1 (en) | 1995-03-01 |
| ATE132219T1 (de) | 1996-01-15 |
| HUT71001A (en) | 1995-11-28 |
| PL176289B1 (pl) | 1999-05-31 |
| CA2131206C (en) | 2004-06-29 |
| FI943969A0 (fi) | 1994-08-30 |
| FI943969L (fi) | 1995-03-01 |
| CZ279897B6 (cs) | 1995-08-16 |
| HU216120B (hu) | 1999-04-28 |
| FI107821B (fi) | 2001-10-15 |
| HU9402489D0 (en) | 1994-10-28 |
| RU94031560A (ru) | 1996-04-27 |
| ES2083305T3 (es) | 1996-04-01 |
| CZ201994A3 (en) | 1995-03-15 |
| US5502904A (en) | 1996-04-02 |
| SK280732B6 (sk) | 2000-07-11 |
| PL304763A1 (en) | 1995-03-06 |
| JPH0790802A (ja) | 1995-04-04 |
| DE59400073D1 (de) | 1996-02-08 |
| RU2070949C1 (ru) | 1996-12-27 |
Similar Documents
| Publication | Publication Date | Title |
|---|---|---|
| DE2550391C2 (de) | Verfahren zum Entnehmen von Bettungsmaterial aus Schotterbettungen | |
| EP0640720B1 (de) | Saugmaschine zur Absaugung von Bettungsschotter eines Gleises | |
| DE4017206C2 (de) | Filteranordnung mit mehreren Trommelfiltern | |
| DE2152266C3 (de) | Fahrbare Einrichtung zum Aufnehmen bzw. Abtransport von gebrauchten Schienenbefestigungsorganen | |
| AT400341B (de) | Maschine zum schwellenwechseln | |
| EP0752499A1 (de) | Schienenladewagen | |
| AT394530B (de) | Schuettgutverladewagen | |
| EP0844330B1 (de) | Schüttgutverladewagen | |
| DE2217975C3 (de) | An einem Fahrzeug, insbesondere Schienenfahrzeug, angeordnete Einrichtung zum Reinigen von Schotterbetten, Gleisschwellen u.dgl. einer Gleisanlage | |
| EP0824164A2 (de) | Gleisbaumaschine zum Aushub von Bettungsmaterial eines Gleises | |
| AT3877U2 (de) | Stopfmaschine | |
| DE2518522C3 (de) | Fahrbare pneumatische Vorrichtung zum Absaugen und Abblasen von Faserflug bei Textilmaschinen | |
| EP0176699A1 (de) | Rohrpoststation | |
| EP0824163A2 (de) | Gleisbaumaschine zum Aushub von Bettungsmaterial | |
| DE4400807A1 (de) | Maschinenanordnung zum Unterstopfen eines Gleises | |
| EP0665331A1 (de) | Gleisstopfmaschine | |
| EP0678621A2 (de) | Saugmaschine | |
| DE2851947C2 (de) | Gleisbaumaschine zum Verteilen und Profilieren des Bettungsschotters eines Gleises | |
| EP0429714A1 (de) | Schienengängiger Verladewagen für Schüttgut | |
| EP0663472A1 (de) | Maschine zur Reinigung der Schotterbettung eines Gleises | |
| EP0731216A1 (de) | Verfahren zum Unterstopfen einer Vielzahl von Schwellen eines Gleises | |
| EP0812960A2 (de) | Schwellenverlegevorrichtung | |
| DE2129563A1 (de) | Fahrbares reinigungsgeraet fuer textilmaschinen | |
| DE2507622C2 (de) | Vorrichtung zur Abscheidung von in einem Gas enthaltenem Staub | |
| EP0755368A1 (de) | Vorrichtung zum umsetzen von kompost |
Legal Events
| Date | Code | Title | Description |
|---|---|---|---|
| PUAI | Public reference made under article 153(3) epc to a published international application that has entered the european phase |
Free format text: ORIGINAL CODE: 0009012 |
|
| AK | Designated contracting states |
Kind code of ref document: A1 Designated state(s): AT CH DE ES FR GB IT LI NL SE |
|
| 17P | Request for examination filed |
Effective date: 19950315 |
|
| 17Q | First examination report despatched |
Effective date: 19950531 |
|
| GRAA | (expected) grant |
Free format text: ORIGINAL CODE: 0009210 |
|
| AK | Designated contracting states |
Kind code of ref document: B1 Designated state(s): AT CH DE ES FR GB IT LI NL SE |
|
| REF | Corresponds to: |
Ref document number: 132219 Country of ref document: AT Date of ref document: 19960115 Kind code of ref document: T |
|
| ITF | It: translation for a ep patent filed | ||
| REF | Corresponds to: |
Ref document number: 59400073 Country of ref document: DE Date of ref document: 19960208 |
|
| GBT | Gb: translation of ep patent filed (gb section 77(6)(a)/1977) |
Effective date: 19960117 |
|
| REG | Reference to a national code |
Ref country code: CH Ref legal event code: NV Representative=s name: BOVARD AG PATENTANWAELTE |
|
| REG | Reference to a national code |
Ref country code: ES Ref legal event code: FG2A Ref document number: 2083305 Country of ref document: ES Kind code of ref document: T3 |
|
| ET | Fr: translation filed | ||
| PLBE | No opposition filed within time limit |
Free format text: ORIGINAL CODE: 0009261 |
|
| STAA | Information on the status of an ep patent application or granted ep patent |
Free format text: STATUS: NO OPPOSITION FILED WITHIN TIME LIMIT |
|
| 26N | No opposition filed | ||
| REG | Reference to a national code |
Ref country code: GB Ref legal event code: IF02 |
|
| PG25 | Lapsed in a contracting state [announced via postgrant information from national office to epo] |
Ref country code: IT Free format text: LAPSE BECAUSE OF NON-PAYMENT OF DUE FEES;WARNING: LAPSES OF ITALIAN PATENTS WITH EFFECTIVE DATE BEFORE 2007 MAY HAVE OCCURRED AT ANY TIME BEFORE 2007. THE CORRECT EFFECTIVE DATE MAY BE DIFFERENT FROM THE ONE RECORDED. Effective date: 20050729 |
|
| PGRI | Patent reinstated in contracting state [announced from national office to epo] |
Ref country code: IT Effective date: 20090401 |
|
| PGFP | Annual fee paid to national office [announced via postgrant information from national office to epo] |
Ref country code: FR Payment date: 20090723 Year of fee payment: 16 Ref country code: ES Payment date: 20090721 Year of fee payment: 16 |
|
| PGFP | Annual fee paid to national office [announced via postgrant information from national office to epo] |
Ref country code: SE Payment date: 20090723 Year of fee payment: 16 Ref country code: NL Payment date: 20090723 Year of fee payment: 16 Ref country code: GB Payment date: 20090626 Year of fee payment: 16 Ref country code: CH Payment date: 20090723 Year of fee payment: 16 Ref country code: AT Payment date: 20090617 Year of fee payment: 16 |
|
| PGFP | Annual fee paid to national office [announced via postgrant information from national office to epo] |
Ref country code: DE Payment date: 20090922 Year of fee payment: 16 |
|
| PGFP | Annual fee paid to national office [announced via postgrant information from national office to epo] |
Ref country code: IT Payment date: 20090727 Year of fee payment: 16 |
|
| REG | Reference to a national code |
Ref country code: NL Ref legal event code: V1 Effective date: 20110201 |
|
| REG | Reference to a national code |
Ref country code: CH Ref legal event code: PL |
|
| GBPC | Gb: european patent ceased through non-payment of renewal fee |
Effective date: 20100729 |
|
| REG | Reference to a national code |
Ref country code: FR Ref legal event code: ST Effective date: 20110331 |
|
| PG25 | Lapsed in a contracting state [announced via postgrant information from national office to epo] |
Ref country code: DE Free format text: LAPSE BECAUSE OF NON-PAYMENT OF DUE FEES Effective date: 20110201 Ref country code: LI Free format text: LAPSE BECAUSE OF NON-PAYMENT OF DUE FEES Effective date: 20100731 Ref country code: CH Free format text: LAPSE BECAUSE OF NON-PAYMENT OF DUE FEES Effective date: 20100731 |
|
| REG | Reference to a national code |
Ref country code: DE Ref legal event code: R119 Ref document number: 59400073 Country of ref document: DE Effective date: 20110201 |
|
| PG25 | Lapsed in a contracting state [announced via postgrant information from national office to epo] |
Ref country code: AT Free format text: LAPSE BECAUSE OF NON-PAYMENT OF DUE FEES Effective date: 20100729 Ref country code: FR Free format text: LAPSE BECAUSE OF NON-PAYMENT OF DUE FEES Effective date: 20100802 Ref country code: IT Free format text: LAPSE BECAUSE OF NON-PAYMENT OF DUE FEES Effective date: 20100729 Ref country code: NL Free format text: LAPSE BECAUSE OF NON-PAYMENT OF DUE FEES Effective date: 20110201 |
|
| PG25 | Lapsed in a contracting state [announced via postgrant information from national office to epo] |
Ref country code: GB Free format text: LAPSE BECAUSE OF NON-PAYMENT OF DUE FEES Effective date: 20100729 |
|
| REG | Reference to a national code |
Ref country code: ES Ref legal event code: FD2A Effective date: 20110818 |
|
| PG25 | Lapsed in a contracting state [announced via postgrant information from national office to epo] |
Ref country code: ES Free format text: LAPSE BECAUSE OF NON-PAYMENT OF DUE FEES Effective date: 20100730 |
|
| PG25 | Lapsed in a contracting state [announced via postgrant information from national office to epo] |
Ref country code: SE Free format text: LAPSE BECAUSE OF NON-PAYMENT OF DUE FEES Effective date: 20100730 |