EP0545375A2 - Selbstdichtendes Düsenpaket - Google Patents

Selbstdichtendes Düsenpaket Download PDF

Info

Publication number
EP0545375A2
EP0545375A2 EP92120531A EP92120531A EP0545375A2 EP 0545375 A2 EP0545375 A2 EP 0545375A2 EP 92120531 A EP92120531 A EP 92120531A EP 92120531 A EP92120531 A EP 92120531A EP 0545375 A2 EP0545375 A2 EP 0545375A2
Authority
EP
European Patent Office
Prior art keywords
seal
nozzle
pressure piece
pot
channel
Prior art date
Legal status (The legal status is an assumption and is not a legal conclusion. Google has not performed a legal analysis and makes no representation as to the accuracy of the status listed.)
Granted
Application number
EP92120531A
Other languages
English (en)
French (fr)
Other versions
EP0545375B1 (de
EP0545375A3 (en
Inventor
Wolfgang Peschke
Herbert Scheiber
Current Assignee (The listed assignees may be inaccurate. Google has not performed a legal analysis and makes no representation or warranty as to the accuracy of the list.)
Akzo Nobel NV
Original Assignee
Akzo NV
Akzo Nobel NV
Priority date (The priority date is an assumption and is not a legal conclusion. Google has not performed a legal analysis and makes no representation as to the accuracy of the date listed.)
Filing date
Publication date
Application filed by Akzo NV, Akzo Nobel NV filed Critical Akzo NV
Publication of EP0545375A2 publication Critical patent/EP0545375A2/de
Publication of EP0545375A3 publication Critical patent/EP0545375A3/de
Application granted granted Critical
Publication of EP0545375B1 publication Critical patent/EP0545375B1/de
Anticipated expiration legal-status Critical
Expired - Lifetime legal-status Critical Current

Links

Images

Classifications

    • DTEXTILES; PAPER
    • D01NATURAL OR MAN-MADE THREADS OR FIBRES; SPINNING
    • D01DMECHANICAL METHODS OR APPARATUS IN THE MANUFACTURE OF ARTIFICIAL FILAMENTS, THREADS, FIBRES, BRISTLES OR RIBBONS
    • D01D4/00Spinnerette packs; Cleaning thereof
    • D01D4/02Spinnerettes
    • DTEXTILES; PAPER
    • D01NATURAL OR MAN-MADE THREADS OR FIBRES; SPINNING
    • D01DMECHANICAL METHODS OR APPARATUS IN THE MANUFACTURE OF ARTIFICIAL FILAMENTS, THREADS, FIBRES, BRISTLES OR RIBBONS
    • D01D4/00Spinnerette packs; Cleaning thereof
    • D01D4/08Supporting spinnerettes or other parts of spinnerette packs

Definitions

  • the invention relates to a self-sealing nozzle packet for a spinning head of a spinning machine for spinning endless thread from a viscous spinning liquid under high pressure, consisting of a nozzle pot, in which a nozzle plate is inserted and covered by a filter packet, a piston-like pressure piece that can move axially in the nozzle pot central channel, the upper surface of which adjoins the lower surface of a distributor block which has at least one channel, an upper seal between the pressure piece and the distributor block, a middle seal for sealing the space above the filter pack from the nozzle cup and a lower flat one Ring seal to seal the nozzle cup downwards.
  • Such a self-sealing nozzle package and its mode of operation are known from EP-A2-0 300 120 and EP-B1-0 163 248.
  • This known nozzle package can also have a distributor plate (perforated plate) between the nozzle plate and the filter package, which is pot-like at the top is designed to hold the filter package (EP-B1-0 163 248; Item 27).
  • this known nozzle package has three, two of which are inadequate seals, one of which, the metal membrane seal, is relatively expensive.
  • Another disadvantage was that a relatively large free space was formed by the membrane seal below it, which led to an undesirably long dwell time of the spinning liquid, especially at low thread titers, which resulted in an undesirable change in the same, polymer degradation and the like.
  • the present invention was therefore based on the object of providing a generic self-sealing nozzle package which no longer has the disadvantages mentioned above and which is particularly reliable no longer has, which is particularly reliable self-sealing and thus more reliable, which is simpler in construction and therefore cheaper and which has a smaller free space above the filter pack, which leads to a reduction in the dwell time of the spinning liquid in this area.
  • Part of the task was to be able to increase the filter area of the filter pack even when using a distributor plate (perforated plate).
  • the upper seal is tubular, has an inner diameter which corresponds to the diameter of the central channel of the pressure piece or the channel of the distributor block, and extends into both channels, that the upper surface of the pressure piece is firmly attached to the lower surface of the distributor block under operating conditions, that the pressure piece is designed in a pot-like manner downwards for receiving the filter pack and possibly a distributor plate and that the middle seal is also tubular and the annular gap between the nozzle pot and covers and seals the edge of the pot-like configuration of the pressure piece.
  • the solution principle on which the invention is based consists in designing the pressure piece movable in the nozzle pot in such a way that annular gaps are formed at the top between the pressure piece and the distributor block and between the pressure piece and the nozzle pot or the distributor plate at the bottom, which initially extend radially from the inside to the outside , the width of the annular gaps (gap width) possibly changing during operational use, and that this Annular gaps are each covered with a tubular seal, so that the seals are pressed radially outward onto the annular gap by the pressurized spinning liquid and thus bring about a fluid-tight seal.
  • the middle, tubular seal is the upward and / or downward leg of a seal with an L-shaped cross section (angled seal).
  • the middle, tubular seal that is also the angled seal, is arranged above the nozzle plate, the upper part of the seal or the upwardly pointing leg of the angled seal extending into the pot-like configuration of the pressure piece, i.e. into the pot-like configuration of the pressure piece protrudes.
  • An important aspect of the invention is that the sealing effect of the upper and middle, tubular seals, or the upward and / or downward leg of the angular seal, is achieved in that the seals by the high pressure of the spinning liquid (for example 50 to 80 bar) are pushed radially outwards and slightly expanded.
  • the membrane seal is no longer necessary and when using an angled seal only two instead of three seals are required, as the upward and / or downward leg of the angled seal performs the sealing function of the membrane seal. This also means that the space above the filter package can now be dimensioned much smaller. The resulting advantage, namely shorter residence time of the spinning liquid, has already been explained.
  • the self-sealing effect takes place in the nozzle package according to the invention in the same way as in the known one.
  • the pressure builds up in the space above the filter pack, there is a slight movement of the pressure piece within the nozzle cup by only a few tenths of a millimeter up until the upper surface of the pressure piece lies firmly against the lower surface of the distributor block.
  • the pressure acts downwards in such a way that the filter pack or - if available - the distributor plate (perforated plate) or the nozzle plate is pressed onto the lower, flat ring seal, which in the case of an angular seal is formed by the radially inward leg of the angular seal becomes.
  • the optionally usable perforated plate is not pot-shaped at the top, but is also flat at the top. This leads to a significant increase in the filter area of the filter pack, which can be, for example, approximately 25%, since the outer diameter of the filter pack corresponds to the inner diameter of the nozzle cup in the lower region.
  • the filter pack can have the usual means corresponding to the state of the art, such as sieves with different mesh sizes, filter granules, for example sand, with different grain sizes, disks made of sintered materials, etc.
  • the distributor plate is expediently provided with a narrow border at the top, the height of which corresponds to the bed height of the filter granulate layer.
  • Its design with regard to structure, height, selection of filter media, etc. depends on the type of viscous spinning liquid, which is the melt of thermoplastic polymers such as polyester, polyamide, etc., a solution, such as polyacrylonitrile in solution with DMF, and others can act.
  • soft aluminum has proven to be the best material for the seals, but soft iron and other easily deformable materials are also suitable. Suitable materials are those that can withstand the high temperatures of the spinning liquid, which can be up to 450 ° C, for example, in the case of polymer melts.
  • the central channel in the pressure piece can have the same diameter or cross-section over its entire length, but can also have a diameter or cross-section that widens or decreases in the direction of flow, that is to say it has a conical shape.
  • a mixing element preferably a so-called static mixer, can be arranged in the channel of the pressure piece.
  • the nozzle pot can be attached to the distributor block using conventional means such as screws or in some other way.
  • this has proven to be particularly advantageous known connection with the help of a multiple thread, which is arranged on the outer circumference of the lower part of the distributor block and as a cooperating counterpart on the inner circumference of the upper part of the nozzle pot. It is possible to achieve a sufficient permanent attachment of the nozzle cup with a rotation of only 180 ° or at most 360 ° of the same. It is important to dimension the pitch of the thread so small that self-locking against loosening of this screw connection is achieved. Otherwise, another protection against rotation, for example a locking pin, must be provided.
  • the shape and dimensions of the nozzle package and its parts are not subject to any restrictions - neither upwards nor downwards - and are adapted to the respective requirements.
  • Another significant advantage of the nozzle package according to the invention is that its self-sealing effect always occurs reliably even after repeated complete - intentional or unwanted - pressure drop or pressure reduction.
  • FIG. 2 an embodiment of the pressure piece 4 is shown.
  • the parts 5; 6; 7; 10; 12 and 20, which have already been explained above for FIG. 1, are not listed and described again here.
  • 21 designates one of three bores, for example, which make it easier to fix the pressure piece 4 while inserting the filter pack (3) and possibly the distributor plate (11) by means of a corresponding number of pins arranged on a base.
  • the pressure piece 4 is reversed around, so with the surface 5 down.
  • the channel 12 has in its upper end section the extension 22 for receiving the lower part of the seal 10.
  • FIG. 3 differs from the embodiment shown in FIG. 1 only in that the central, tubular seal 14 and the lower, flat seal 15 are not part of an angular seal.
  • the lower, flat seal 15 is arranged below the nozzle plate 2. Since all other parts are identical to the parts shown in Figure 1, a further description of this embodiment is omitted.
  • FIGS. 4 to 7 essentially differ only in the design of the pressure piece 4 and, if present, the perforated plate 11 and the design and arrangement of the seals 14 and 15. All other parts are therefore only provided with item numbers. if they are mentioned in the description below. In Figures 5 to 7, the upper parts and the filter pack (3) are also omitted. A further description of these figures than the following is unnecessary with regard to the description of FIGS. 1 to 3.
  • FIG. 4 shows an embodiment in which no distributor plate (11) is used, so that the filter pack 3 lies directly on the nozzle plate 2.
  • the middle, tubular seal 14 and the lower, flat seal 15 are again formed by the legs of an angular seal 13. In this embodiment, this is arranged below the nozzle plate 2.
  • the middle, tubular seal 14 is arranged above the distributor plate 11, the lower, flat seal 15 between the distributor plate 11 and the nozzle plate 2.
  • the distributor plate 11 is not flat at the top, but rather pot-like - for example for receiving of filter granules such as sand or the like. - educated.
  • the middle, tubular seal 14 protrudes into the pot-like part of the distributor plate 11 and the pressure piece 4 and lies against the inner surface of the "pot rim".
  • annular gap 16 between the lower edge of the pot-like design of the pressure piece 4 and the upper edge of the pot-like design of the distributor plate 11, which is covered by the central, tubular seal 14, can be clearly seen, even if it is caused by the movement of the pressure piece 4 upwards, for example to double the width.
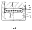
  • FIG. 6 corresponds essentially to that shown in Figure 5, but here the central tubular seal 14 is arranged in an annular groove, which is at the lower end of the pot-like design of the pressure piece 4 and at the upper end of the pot-like design of the distributor plate 11 is arranged.
  • FIG. 8 shows a double angular seal in longitudinal section, through which the central, tubular seal 14 is formed both by the legs 14a and 14b pointing upwards and downwards.
  • the lower, flat seal 15 is also formed here, as in the case of a simple angular seal, by the leg pointing inwards.

Landscapes

  • Engineering & Computer Science (AREA)
  • Mechanical Engineering (AREA)
  • Textile Engineering (AREA)
  • Spinning Methods And Devices For Manufacturing Artificial Fibers (AREA)

Abstract

Düsenpaket bestehend aus einem Düsentopf (1), einer Düsenplatte (2), einem Filterpaket (3), einem axial beweglichen Druckstück (4) mit einem zentralen Kanal sowie Dichtungen (10,13), wobei erfindungsgemäß als Dichtungen zwei rohrförmige radial dichtende Elemente (Dichtung, bzw. Teil einer Dichtung) eingesetzt werden.

Description

  • Die Erfindung betrifft ein selbstdichtendes Düsenpaket für einen Spinnkopf einer Spinnmaschine zum Spinnen von endlosen Faden aus einer viskosen Spinnflüssigkeit unter hohem Druck, bestehend aus einem Düsentopf, in welchen eine Düsenplatte eingesetzt und durch ein Filterpaket abgedeckt ist, einem axial im Düsentopf beweglichen kolbenartigen Druckstuck mit einem zentralen Kanal, das mit seiner oberen Fläche an die untere Fläche eines Verteilerblockes, der wenigstens einen Kanal aufweist, angrenzt, einer oberen Dichtung zwischen dem Druckstück und dem Verteilerblock, einer mittleren Dichtung zum Abdichten des Raumes oberhalb des Filterpaketes gegenüber dem Düsentopf sowie einer unteren flachen Ringdichtung zum Abdichten des Düsentopfes nach unten.
  • Ein solches selbstdichtendes Düsenpaket und seine Wirkungsweise sind aus der EP-A2-0 300 120 und der EP-B1-0 163 248 bekannt. Dieses bekannte Düsenpaket kann zwischen der Düsenplatte und dem Filterpaket auch noch eine Verteilerplatte (Lochplatte) aufweisen, welche nach oben topfartig ausgebildet ist zur Aufnahme des Filterpaketes (EP-B1-0 163 248; Pos.27).
  • Dieses bekannte Düsenpaket ist teuer und kompliziert im Aufbau und führte beim betrieblichen Einsatz zu erheblichen Problemen und Schwierigkeiten. Durch die obere Dichtung wurde ein Spalt zwischen der oberen Fläche des Druckstückes und der unteren Fläche des Verteilerblockes gebildet. Durch hohen Schmelzedruck, hohen Anpreßdruck und hohe Schmelzetemperaturen fand ein allmähliches Verformen und Schwinden der Dichtung durch Fließen des Dichtungsmaterials in diesen Spalt statt. Hierdurch bildete sich ein Totraum, in welchem es wegen der hohen Verweilzeit der Schmelze zum Polymerabbau kam. Darüberhinaus traten an dieser Stelle immer wieder Undichtigkeiten auf. Dieselben Probleme, nämlich Verformung und Reißen der Dichtung, Bildung von Toträumen (Totwasserzonen), Polymerabbau und Undichtigkeit, traten insbesondere auch an der Metallmembrandichtung (die zudem aufwendig in der Herstellung ist) und demzufolge auch an der unteren Dichtung auf. Insgesamt hat dieses bekannte Düsenpaket also drei, davon zwei unzulängliche, Dichtungen, wovon eine, die Metallmembrandichtung, relativ teuer ist. Ein weiterer Nachteil bestand darin, daß durch die Membrandichtung unterhalb derselben ein relativ großer Freiraum gebildet wurde, der zu einer unerwünschten langen Verweilzeit der Spinnflüssigkeit, insbesondere bei niedrigen Fadentitern, führte, die eine unerwünschte Veränderung derselben, Polymerabbau und dergleichen zur Folge hatte.
  • Der vorliegenden Erfindung lag daher die Aufgabe zugrunde, ein gattungsgemäßes selbstdichtendes Düsenpaket zur Verfügung zu stellen, das die zuvor genannten Nachteile nicht mehr aufweist, das insbesondere zuverlässig nicht mehr aufweist, das insbesondere zuverlässig selbstdichtend und damit betriebssicherer ist, das einfacher im Aufbau und damit billiger ist und das oberhalb des Filterpaketes einen kleineren Freiraum aufweist, der zu einer Verringerung dar Verweilzeit der Spinnflüssigkeit in diesem Bereich führt. Eine Teilaufgabe bestand darin, auch bei Verwendung einer Verteilerplatte (Lochplatte), eine Vergrößerung der Filterfläche des Filterpaketes erreichen zu können.
  • Diese Aufgabe wurde bei dem selbstdichtenden Düsenpaket der eingangs beschriebenen Art erfindungsgemäß dadurch gelöst, daß die obere Dichtung rohrförmig ausgebildet ist, einen Innendurchmesser aufweist, der dem Durchmesser des zentralen Kanals des Druckstückes bzw. des Kanals des Verteilerblockes entspricht, und sich in beide Kanäle erstreckt, daß die obere Fläche des Druckstückes unter Betriebsbedingungen an der unteren Fläche des Verteilerblockes fest anliegt, daß das Druckstück nach unten topfartig ausgebildet ist zur Aufnahme des Filterpaketes und ggf. einer Verteilerplatte und daß die mittlere Dichtung ebenfalls rohrförmig ausgebildet ist und den Ringspalt zwischen dem Düsentopf und dem Rand der topfartigen Ausbildung des Druckstückes überdeckt und abdichtet.
  • Das der Erfindung zugrundeliegende Lösungsprinzip besteht also darin, das im Düsentopf bewegliche Druckstück so auszugestalten, daß oben zwischen dem Druckstück und dem Verteilerblock und unten zwischend dem Druckstück und dem Düsentopf bzw. der Verteilerplatte Ringspalten gebildet werden, die sich zunächst radial von innen nach außen erstrecken, wobei sich die weite der Ringspalten (Spaltweite) bei betrieblicher Nutzung ggf. ändert, und daß diese Ringspalten mit je einer rohrförmigen Dichtung überdeckt werden, so daß durch die unter Druck stehende Spinnfüssigkeit die Dichtungen radial nach außen auf die Ringspalte gedrückt werden und somit eine fluiddichte Abdichtung bewirken. Es muß als überraschend angesehen werden, daß, selbst wenn durch eine axiale Bewegung des kolbenartigen Druckstückes im Düsentopf die Ringspalte sich vergrößern oder verkleinern, keine Undichtigkeiten auftreten, selbst dann nicht, wenn der Spinnflüssigkeitsdruck mehrfach erhöht und wieder abgesenkt wird und das Druckstück hierdurch wiederholt axial hin und her in der Regel also auf und ab bewegt wird.
  • In besonders bevorzugter Ausgestaltung ist die mittlere, rohrförmige Dichtung der nach oben und/oder unten weisende Schenkel einer Dichtung mit L-förmigem Querschnitt (Winkeldichtung). In weiterer bevorzugter Ausgestaltung ist die mittlere, rohrförmige Dichtung, also auch die Winkeldichtung, oberhalb der Düsenplatte angeordnet, wobei sich der obere Teil der Dichtung bzw. der nach oben weisende Schenkel der Winkeldichtung in die topfartige Ausbildung des Druckstückes erstreckt, also in die topfartige Ausbildung des Druckstückes hineinragt.
  • Ein wesentlicher Aspekt der Erfindung besteht darin, daß die dichtende Wirkung der oberen und mittleren, rohrförmig ausgebildeten, Dichtungen bzw. des nach oben und/oder unten weisenden Schenkels der Winkeldichtung, dadurch erreicht wird, daß die Dichtungen durch den hohen Druck der Spinnflüssigkeit (beispielsweise 50 bis 80 bar) radial nach außen gedrückt und dabei geringstfügig aufgeweitet werden. Ein weiterer wesentlicher Aspekt ist, daß die Membrandichtung nicht mehr erforderlich ist und bei Verwendung einer Winkeldichtung nur noch zwei statt wie bisher drei Dichtungen benötigt werden, da der nach oben und/oder unten weisende Schenkel der Winkeldichtung die Abdichtfunktion der Membrandichtung ausübt. Hieraus ergibt sich zudem, daß der Raum oberhalb des Filterpaketes nunmehr wesentlich kleiner bemessen werden kann. Der sich daraus ergebende Vorteil, nämlich geringere Verweilzeit der Spinnflüssigkeit, wurde zuvor bereits erläutert.
  • Im übrigen erfolgt die selbstabdichtende Wirkung bei dem erfindungsgemäßen Düsenpaket auf die gleiche Art und Weise wie bei dem bekannten. Auch hierbei erfolgt bei einem Druckaufbau in dem Raum oberhalb des Filterpaketes eine hier allerdings geringfügige Bewegung des Druckstückes innerhalb des Düsentopfes um nur wenige zehntel Millimeter nach oben, bis die obere Fläche des Druckstückes fest an der unteren Fläche des Verteilerblockes anliegt. Nach unten wirkt der Druck in der Weise, daß das Filterpaket bzw. - falls vorhanden - die Verteilerplatte (Lochplatte) oder die Düsenplatte auf die untere, flache Ringdichtung gedrückt wird, die im Falle einer Winkeldichtung durch den radial nach innen weisenden Schenkel der Winkeldichtung gebildet wird.
  • In Ausgestaltung der Erfindung ist die wahlweise einsetzbare Lochplatte nicht nach oben topfartig ausgebildet, sondern auch oben flach. Dies führt zu einer nennenswerten Vergrößerung der Filterfläche des Filterpaketes, die beispielsweise ca. 25 % betragen kann, da hierbei der Außendurchmesser des Filterpaketes dem Innendurchmesser des Düsentopfes im unteren Bereich entspricht.
  • Das Filterpaket kann die üblichen, dem Stand der Technik entsprechenden Mittel wie Siebe mit unterschiedlicher Maschengröße, Filtergranulat, beispielsweise Sand, mit unterschiedlicher Korngröße, Scheiben aus gesinterten Werkstoffen usw. aufweisen. Bei der Verwendung von losem Filtergranulat wird die Verteilerplatte zweckmäßigerweise oben mit einer schmalen Umrandung versehen, deren Höhe der Schütthöhe der Filtergranulatschicht entspricht. Seine Ausgestaltung hinsichtlich Aufbau, Höhe, Auswahl der Filtermittel usw. richtet sich nach der Art der viskosen Spinnflüssigkeit, bei der es sich um die Schmelze thermoplastischer Polymere wie Polyester, Polyamid usw., um eine Lösung, wie Polyacrylnitril in Lösung mit DMF, und andere handeln kann.
  • Als Werkstoff für die Dichtungen hat sich insbesondere Weichaluminium bestens bewährt, jedoch sind auch Weicheisen und andere gut verformbare Werkstoffe geeignet. Geeignete Werkstoffe sind solche, die auch den ggf. hohen Temperaturen der Spinnflüssigkeit, die bei Polymerschmelzen beispielsweise bis zu 450°C betragen kann, dauerhaft standhalten.
  • Der zentrale Kanal im Druckstück kann auf seiner gesamten Länge den gleichen Durchmesser bzw. Querschnitt aufweisen, aber auch einen im Strömungsrichtung sich erweiternden oder sich verkleinernden Durchmesser bzw. Querschnitt, also Konusform, haben. Insbesondere kann in dem Kanal des Druckstückes ein Mischelement, vorzugsweise ein sog. statischer Mischer, angeordnet sein.
  • Die Befestigung des Düsentopfes am Verteilerblock kann mit üblichen Mitteln wie Schrauben oder auf andere Weise erfolgen. Als besonders vorteilhaft hat sich die an sich bekannte Verbindung mit Hilfe eines mehrgängigen Gewindes erwiesen, das am äußeren Umfang des unteren Teils des Verteilerblockes und als damit zusammenwirkendes Gegenstück am inneren Umfang des oberen Teils des Düsentopfes angeordhet ist. Hierbei ist es möglich, eine ausreichende dauerhafte Befestigung des Düsentopfes bereits mit einer Drehung von nur 180° oder allenfalls 360° desselben zu erreichen. Wichtig dabei ist, die Steigung des Gewindes so gering zu bemessen, daß eine Selbsthemmung gegen selbständiges Lösen dieser Schraubverbindung erreicht wird. Andernfalls ist eine andere Sicherung gegen Verdrehung, beispielsweise ein Sicherungsstift, vorzusehen.
  • Die Form und die Abmessungen des Düsenpaketes und seiner Teile unterliegen keinen Beschränkungen - weder nach oben, noch nach unten - und werden den jeweiligen Erfordernissen angepaßt.
  • Ein weiterer wesentlicher Vorteil beim erfindungsgemäßen Düsenpaket besteht darin, daß seine selbstdichtende Wirkung auch nach einem mehrmaligen völligen - gewollten oder ungewollten - Druckabfall oder Druckabbau immer wieder zuverlässig eintritt.
  • Die Erfindung wird nachfolgend an Hand der Figuren näher erläutert. Es zeigt in z.T. vereinfachter Darstellungweise:
  • Figur 1
    eine besonders bevorzugte Ausführungsform des Düsenpaketes im Längsschnitt,
    Figur 2
    eine Ausführungsform des Druckstückes im Längsschnitt,
    Figur 3 bis 7
    weitere Ausführungsformen des Düsenpaketes im Längsschnitt,
    Figur 8
    eine doppelte Winkeldichtung im Längsschnitt.
  • In den Figuren bezeichnen folgende Positionszahlen folgende Teile:
  • 1
    Düsentopf
    2
    Düsenplatte
    3
    Filterpaket
    4
    Druckstück
    5
    Obere Fläche des Druckstückes
    6
    Topfartige Ausbildung des Druckstückes
    7
    Raum oberhalb des Filterpaketes
    8
    Verteilerblock
    9
    Untere Fläche des Verteilerblockes
    10
    Obere Dichtung
    11
    Verteilerplatte; Lochplatte
    12
    Zentraler Kanal des Druckstückes
    13
    Winkeldichtung
    14
    Axial nach oben und/oder unten weisender Schenkel der Winkeldichtung; mittlere Dichtung
    15
    Radial nach innen weisender Schenkel der Winkeldichtung; untere Dichtung
    16
    Ringspalt
    17
    Mehrgängiges Gewinde
    18
    Düsenöffnungen
    19
    Kanal des Verteilerblockes
    20
    Rand der topfartigen Ausbildung des Druckstückes
    21
    Montagebohrungen
    22
    Erweiterung des Kanals 12
    In Figur 1 sind folgende Teile dargestellt, deren Anordnung, Funktion und Wirkungsweise zuvor bereits ausführlich beschrieben wurden: Der Düsentopf 1, welcher mit Hilfe des zwei-, drei- oder viergängigen Gewindes 17 am unteren Ende des Verteilerblockes 8 befestigt ist, darin angeordnet die Düsenplatte 2 mit den Düsenöffnungen 18, die als Lochplatte ausgestaltete Verteilerplatte 11, die Winkeldichtung 13 mit dem axial nach oben weisenden Schenkel 14 und dem radial nach innen weisenden Schenkel 15, das Filterpaket 3, der Raum 7 oberhalb des Filterpaketes 3, das Druckstück 4 mit dem zentralen Kanal 12 und der topfartigen Ausbildung 6 im unteren Teil des Druckstückes 4 zur Aufnahme des Filterpaketes 3 und der Lochplatte 11, welche über den Rand 20 der topfartigen Ausbildung 6 herausragt, der Ringspalt 16 zwischen dem Rand 20 und dem Absatz des Düsentopfes 1 an dieser Stelle, welcher von dem Schenkel 14 der Winkeldichtung 13 abgedeckt und abgedichtet wird, die obere Fläche 5 des Druckstückes 4, welche fest an der unteren Fläche 9 des Verteilerblockes 8 anliegt, ohne einen Spalt freizulassen, die obere Dichtung welche die Fuge zwischen den Flächen 5 und 9 abdeckt und abdichtet und in den Kanal 12 des Druckstückes 4 und den Kanal 19 des Verteilerblockes 8 hineinragt. Der Innendurchmesser der oberen Dichtung 10 ist gleich dem Durchmesser der Kanäle 12 und 19, so daß auf diese Weise eine glatte Zuleitung ohne Vorsprünge für die Spinnflüssigkeit gebildet wird. Der Schenkel 14 der Dichtung 13 dichtet den Raum 7 oberhalb des Filterpaketes 3 gegenüber dem Spalt zwischen dem Druckstück 4 und dem Düsentopf 1 ab, um ein Eindringen von spinnflüssigkeit in diesen Spalt zu vermeiden. Er übt damit auf wesentlich einfachere und zuverlässige Weise dieselbe Funktion aus wie zuvor die aufwendige und störanfällige Membrandichtung des Standes der Technik. Der Schenkel 14 der Dichtung 13 ist - für sich betrachtet - rohrförmig ausgebildet, der Schenkel 15 hat - für sich betrachtet - die Form einer flachen Dichtung (Flachdichtung). Der Schenkel 14 dichtet auf Druck hin radial (radiale Druckkomponente), der Schenkel 15 auf Druck hin axial (axiale Druckkomponente). Statt der Lochplatte 11, wie in Figur 1 dargestellt, kann an dieser Stelle auch die Düsenplatte 2 angeordnet werden. An der Innenfläche des Düsentopfes 1 ist dann eine entsprechende vorspringende Auflagefläche zum Abstützen der Düsenplatte 2 vorzusehen.
  • Mit einfachen Mitteln und Versuchen ist es möglich, auch eine geeignete Ausführungsform des Düsenpaketes zu konstruieren und zu ermitteln, bei welcher die Winkeldichtung 13 anders herum, also mit dem axialen Schenkel 14 nach unten weisend, eingebaut werden kann.
  • In Figur 2 ist eine Ausführungsform des Druckstückes 4 dargestellt. Die Teile 5; 6; 7; 10; 12 und 20, die bereits oben zu Figur 1 erläutert wurden, werden hier nicht nochmals aufgezählt und beschrieben. Mit 21 ist eine von beispielsweise drei Bohrungen bezeichnet, die eine Festlegung des Druckstückes 4 während des Einlegens des Filterpaketes (3) und ggf. der Verteilerplatte (11) durch eine entsprechende Anzahl von auf einer Unterlage angeordneten Stiften erleichtern. Zu diesem Zweck wird das Druckstück 4 verkehrt herum, also mit der Fläche 5 nach unten, angeordnet. Der Kanal 12 weist in seinem oberen Endabschnitt die Erweiterung 22 zur Aufnahme des unteren Teils der Dichtung 10 auf.
  • Die in Figur 3 dargestellte Ausführungsform unterscheidet sich von der in Figur 1 dargestellten Ausführungsform lediglich dadurch, daß die mittlere, rohrförmige Dichtung 14 und die untere, flache Dichtung 15 nicht Teile einer Winkeldichtung sind. Die untere, flache Dichtung 15 ist hierbei unterhalb der Düsenplatte 2 angeordnet. Da alle übrigen Teile mit den in Figur 1 dargestellten Teilen identisch sind, wird auf eine weitergehende Beschreibung dieser Ausführungsform verzichtet.
  • Die in den Figuren 4 bis 7 dargestellten Ausführungsformen unterscheiden sich im wesentlichen lediglich durch die Ausgestaltung des Druckstückes 4 und, soweit vorhanden, der Lochplatte 11 sowie der Ausgestaltung und Anordnung der Dichtungen 14 und 15. Alle übrigen Teile sind daher nur dann mit Positionszahlen versehen, wenn sie in der nachfolgenden Beschreibung genannt werden. In den Figuren 5 bis 7 sind zudem die oberen Teile und das Filterpaket (3) weggelassen. Eine weitergehende Beschreibung dieser Figuren als die nachfolgende erübrigt sich im Hinblick auf die Beschreibung der Figuren 1 bis 3.
  • In Figur 4 ist eine Ausführungsform dargestellt, bei welcher keine Verteilerplatte (11) verwendet wird, so daß das Filterpaket 3 direkt auf der Düsenplatte 2 aufliegt. Die mittlere, rohrförmige Dichtung 14 und die untere, flache Dichtung 15 werden hierbei wieder durch die Schenkel einer Winkeldichtung 13 gebildet. Diese ist bei dieser Ausführungsform unterhalb der Düsenplatte 2 angeordnet.
  • Bei der in Figur 5 dargestellten Ausführungsform ist die mittlere, rohrförmige Dichtung 14 oberhalb der Verteilerplatte 11 angeordnet, die untere, flache Dichtung 15 zwischen der Verteilerplatte 11 und der Düsenplatte 2. Die Verteilerplatte 11 ist hierbei oben nicht flach, sondern topfartig - beispielsweise zur Aufnahme von Filtergranulat wie Sand o.dgl. - ausgebildet. Die mittlere, rohrförmige Dichtung 14 ragt in den topfartigen Teil der Verteilerplatte 11 und des Druckstückes 4 hinein und liegt an der Innenfläche des "Topfrandes" an. Gut zu erkennen ist der Ringspalt 16 zwischen dem unteren Rand der topfartigen Ausbildung des Druckstückes 4 und dem oberen Rand der topfartigen Ausbildung der Verteilerplatte 11, der von der mittleren, rohrförmigen Dichtung 14 überdeckt wird, selbst dann, wenn er sich durch die Bewegung des Druckstückes 4 nach oben, beispielsweise auf die doppelte Weite, vergrößern sollte.
  • Die in Figur 6 dargestellte Ausführungsform entspricht im wesentlichen der in Figur 5 dargestellten, wobei hier jedoch die mittlere, rohrförmige Dichtung 14 in je einer Ringnut angeordnet ist, die am unteren Ende der topfartigen Ausbildung des Druckstückes 4 und am oberen Ende der topfartigen Ausbildung der Verteilerplatte 11 angeordnet ist.
  • Die in Figur 7 dargestellte Ausführungsform entspricht im wesentlichen der in Figur 5 dargestellten. Bei dieser Ausführungsform verläuft der von der mittleren, rohrförmigen Dichtung 14 überdeckte radial nach außen führende Ringspalt 16 jedoch nicht horizontal wie bei den zuvor beschriebenen Ausführungsformen, sondern schräg nach oben. Genausogut könnte er schräg nach unten verlaufen. Die Dichtwirkung wird hierdurch nicht beeinträchtig.
  • Figur 8 zeigt eine doppelte Winkeldichtung im Längsschnitt, durch welche die mittlere, rohrförmige Dichtung 14 sowohl durch den nach oben als auch durch den nach unten weisenden Schenkel 14a bzw. 14b gebildet wird. Die untere, flache Dichtung 15 wird auch hierbei wie bei einer einfachen Winkeldichtung durch den nach innen weisenden Schenkel gebildet. Mit einfachen Mitteln und Versuchen ist es möglich, eine geeignete Ausführungsform des Düsenpaketes zu konstruieren, bei welcher diese doppelte Winkeldichtung erfolgreich eingesetzt werden kann.

Claims (4)

  1. Selbstdichtendes Düsenpaket für einen Spinnkopf einer Spinnmaschine zum Spinnen von endlosen Fäden aus einer viskosen Spinnflüssigkeit unter hohem Druck, bestehend aus einem Düsentopf, in welchen eine Düsenplatte eingesetzt und durch ein Filterpaket abgedeckt ist, einem axial im Düsentopf beweglichen kolbenartigen Druckstück mit einem zentralen Kanal, das mit seiner oberen Fläche an die untere Fläche eines Verteilerblockes, der wenigstens einen Kanal aufweist, angrenzt, einer oberen Dichtung zwischen dem Druckstück und dem Verteilerblock, einer mittleren Dichtung zum Abdichten des Raumes oberhalb des Filterpaketes gegenüber dem Düsentopf sowie einer unteren flachen Ringdichtung zum Abdichten des Düsentopfes nach unten, dadurch gekennzeichnet, daß die obere Dichtung rohrförmig ausgebildet ist, einen Innendurchmesser aufweist, der dem Durchmesser des zentralen Kanals des Druckstückes bzw. des Kanals des Verteilerblockes entspricht, und sich in beide Kanäle erstreckt, daß die obere Fläche des Druckstückes unter Betriebsbedingungen an der unteren Fläche des Verteilerblockes fest anliegt, daß das Druckstück nach unten topfartig ausgebildet ist zur Aufnahme des Filterpaketes und ggf. einer Verteilerplatte und daß die mittlere Dichtung ebenfalls rohrförmig ausgebildet ist und den Ringspalt zwischen dem Düsentopf und dem Rand der topfartigen Ausbildung des Druckstückes überdeckt und abdichtet.
  2. Düsenpaket nach Anspruch 1, dadurch gekennzeichnet, daß die mittlere, rohrförmige Dichtung der nach oben und/oder unten weisende Schenkel einer Dichtung mit L-förmigem Querschnitt (Winkeldichtung) ist.
  3. Düsenpaket nach Anspruch 1 oder 2, gekennzeichnet durch eine oberhalb der Düsenplatte und unterhalb des Filterpaketes angeordnete oben flache Verteilerplatte.
  4. Düsenpaket nach wenigstens einem der Ansprüche 1 bis 3, gekennzeichnet durch ein in dem Kanal des Druckstückes angeordnetes (statisches) Mischelement.
EP92120531A 1991-12-06 1992-12-02 Selbstdichtendes Düsenpaket Expired - Lifetime EP0545375B1 (de)

Applications Claiming Priority (2)

Application Number Priority Date Filing Date Title
DE4140269 1991-12-06
DE4140269 1991-12-06

Publications (3)

Publication Number Publication Date
EP0545375A2 true EP0545375A2 (de) 1993-06-09
EP0545375A3 EP0545375A3 (en) 1993-12-08
EP0545375B1 EP0545375B1 (de) 1995-11-15

Family

ID=6446445

Family Applications (1)

Application Number Title Priority Date Filing Date
EP92120531A Expired - Lifetime EP0545375B1 (de) 1991-12-06 1992-12-02 Selbstdichtendes Düsenpaket

Country Status (6)

Country Link
US (1) US5387097A (de)
EP (1) EP0545375B1 (de)
KR (1) KR930013231A (de)
CN (1) CN1031655C (de)
DE (2) DE4236570A1 (de)
TW (1) TW224147B (de)

Cited By (2)

* Cited by examiner, † Cited by third party
Publication number Priority date Publication date Assignee Title
WO2001009413A1 (de) * 1999-07-30 2001-02-08 Lurgi Zimmer Ag Selbstdichtende kompaktdüse für schmelzspinnverfahren
WO2003066940A1 (de) * 2002-02-08 2003-08-14 Zimmer Ag Düsenblock zur herstellung synthetischer fäden und fasern

Families Citing this family (16)

* Cited by examiner, † Cited by third party
Publication number Priority date Publication date Assignee Title
DE19643425C2 (de) * 1996-10-22 1999-12-02 Geb Schroeder Beeck Sandlose Spinndüse
DE19821406A1 (de) * 1998-05-13 1999-11-18 Lurgi Zimmer Ag Abdichtungselement für Schmelzekanäle
KR100302319B1 (ko) * 1999-07-06 2001-09-22 홍덕희 열용융 방사장치의 노즐팩 구조
DE10014292B4 (de) * 2000-03-23 2008-04-03 Lurgi Zimmer Gmbh Selbstdichtende Sandfilterdüse
JP2005504191A (ja) * 2001-09-28 2005-02-10 ザウラー ゲゼルシャフト ミット ベシュレンクテル ハフツング ウント コンパニー コマンディートゲゼルシャフト 紡糸ノズル
DE10160204B4 (de) * 2001-12-07 2006-01-26 Zimmer Ag Düsenblock mit einer Stützplatte
DE10314294A1 (de) 2003-03-29 2004-10-07 Saurer Gmbh & Co. Kg Vorrichtung zum Schmelzspinnen
CN100368606C (zh) * 2005-11-14 2008-02-13 中国石化仪征化纤股份有限公司 螺栓紧固式高产能紧凑上装式纺丝组件
DE102007034092A1 (de) 2007-07-21 2009-01-22 Oerlikon Textile Gmbh & Co. Kg Schmelzspinnvorrichtung
JP5452243B2 (ja) * 2010-01-19 2014-03-26 Tmtマシナリー株式会社 溶融紡糸装置の紡糸パック
DE102013014568A1 (de) 2012-09-26 2014-03-27 Oerlikon Textile Gmbh & Co. Kg Düsenpaket zum Schmelzspinnen
DE102014000305A1 (de) * 2014-01-10 2015-07-16 Oerlikon Textile Gmbh & Co. Kg Spinndüsenvorrichtung
CN108411387A (zh) * 2018-04-20 2018-08-17 中国纺织科学研究院有限公司 熔体纺丝设备
CN109234824B (zh) * 2018-09-20 2020-03-03 深圳市恩裳纺织品有限公司 一种再生聚酯纤维纺丝工艺
CN108866663B (zh) * 2018-09-20 2020-01-21 杭州金象纺织有限公司 一种再生聚酯纤维纺丝装置
CN115233321B (zh) * 2021-04-23 2024-09-10 江苏金斗重工有限公司 一种莱赛尔纤维纺丝机熔体分配梁

Family Cites Families (31)

* Cited by examiner, † Cited by third party
Publication number Priority date Publication date Assignee Title
DE155090C (de) *
US3123858A (en) * 1964-03-10 Heated
GB755954A (en) * 1953-08-28 1956-08-29 Ici Ltd Melt-spinning method and apparatus
DE1250961B (de) * 1956-05-14 1967-09-28
US3050774A (en) * 1957-09-03 1962-08-28 Du Pont Spinneret assembly
US3028627A (en) * 1959-04-10 1962-04-10 Du Pont Spinneret pack assembly
US3237245A (en) * 1962-10-10 1966-03-01 Mitsubishi Vonnel Co Ltd Apparatus for the production of conjugated artificial filaments
GB1079295A (en) * 1964-06-03 1967-08-16 Ici Ltd Improvements in or relating to the melt-spinning of synthetic linear polymers
NL6500067A (de) * 1965-01-06 1966-07-07
CH432711A (de) * 1965-03-03 1967-03-31 Inventa Ag Vorrichtung zum Spinnen von Fäden aus synthetischem Material
DE1660209A1 (de) * 1965-07-15 1970-02-05 Barmag Barmer Maschf Schmelzespinnkopf fuer das Spinnen unter hohem Druck
CH445840A (de) * 1966-04-09 1967-10-31 Barmag Barmer Maschf Vorrichtung an einer Strangpresse zum Abdichten der Anschlussstelle zwischen einem Zuführorgan und einem Werkzeug oder Werkzeugfutter
NL6703657A (de) * 1967-03-09 1968-09-10
US3466703A (en) * 1967-08-11 1969-09-16 Du Pont Spinneret assembly
US3762854A (en) * 1970-04-08 1973-10-02 Akzona Inc Melt spinning apparatus
DE2250837A1 (de) * 1972-10-17 1974-05-02 Zimmer Ag Spinnvorrichtung fuer das ausspinnen hochviskoser spinnmassen
US4197020A (en) * 1972-11-30 1980-04-08 E. I. Du Pont De Nemours And Company Spinning pack containing mixing means
US4134954A (en) * 1975-07-19 1979-01-16 Bayer Aktiengesellschaft Spinning process and device with static mixing inserts
US4260350A (en) * 1980-04-16 1981-04-07 Fiber Industries, Inc. Filter for high viscosity liquids
DD155090A1 (de) * 1980-12-08 1982-05-12 Reinhard Wagner Spinnduesenpaket zur erspinnung von faeden,insbesondere zum schmelzspinnen von synthetischen hochpolymeren
US4493628A (en) * 1982-07-15 1985-01-15 Barmag Barmer Maschinenfabrik Ag Melt spinning apparatus
DE3475083D1 (en) * 1983-03-23 1988-12-15 Barmag Barmer Maschf Spinning head for melt-spinning filaments
US4494921A (en) * 1983-08-08 1985-01-22 E. I. Du Pont De Nemours And Company Filter element
DE3575313D1 (de) * 1984-05-26 1990-02-15 Barmag Barmer Maschf Spinnbalken zum schmelzspinnen synthetischer faeden.
US4696633A (en) * 1984-05-26 1987-09-29 Barmag Ag Melt spinning apparatus
DE3642867A1 (de) * 1986-12-16 1988-06-30 Barmag Barmer Maschf Spinnanlage
EP0387470B1 (de) * 1989-03-17 1994-06-08 Karl Fischer Industrieanlagen Gmbh Vorrichtung zum Verspinnen thermoplastischer Schmelzen
DE3915819A1 (de) * 1989-05-16 1990-11-22 Akzo Gmbh Garn aus kern-mantel-faeden und verfahren zu dessen herstellung
KR930012184B1 (ko) * 1989-11-27 1993-12-24 바마크 악티엔 게젤샤프트 용융 방사장치
GB9010024D0 (en) * 1990-05-03 1990-06-27 Pall Corp Filters for polymer spinnerets and their manufacture
DE4239560C2 (de) * 1992-11-25 2003-04-30 Zimmer Ag Düsenblock

Cited By (2)

* Cited by examiner, † Cited by third party
Publication number Priority date Publication date Assignee Title
WO2001009413A1 (de) * 1999-07-30 2001-02-08 Lurgi Zimmer Ag Selbstdichtende kompaktdüse für schmelzspinnverfahren
WO2003066940A1 (de) * 2002-02-08 2003-08-14 Zimmer Ag Düsenblock zur herstellung synthetischer fäden und fasern

Also Published As

Publication number Publication date
EP0545375B1 (de) 1995-11-15
CN1077505A (zh) 1993-10-20
KR930013231A (ko) 1993-07-21
DE4236570A1 (de) 1993-06-09
DE59204347D1 (de) 1995-12-21
EP0545375A3 (en) 1993-12-08
US5387097A (en) 1995-02-07
TW224147B (de) 1994-05-21
CN1031655C (zh) 1996-04-24

Similar Documents

Publication Publication Date Title
EP0545375B1 (de) Selbstdichtendes Düsenpaket
DE3024108C2 (de)
DE1946220U (de) Dichtungsring.
EP0658638B1 (de) Spinnkopf mit Filterkerze
DE2462474A1 (de) Sprinklerkopf fuer ein sprinklersystem
DE29816629U1 (de) Luftfilter
DE4239560A1 (de) Spinnblock
DE19545791C2 (de) Filtertrockner, insbesondere Groß-Filtertrockner, für stationäre Kälteanlagen, sowie Filtertrocknerkartusche zur Verwendung bei einem solchen Filtertrockner
DE19905378C1 (de) Filtertrockner, insbesondere Groß-Filtertrockner, für stationäre Kälteanlagen sowie Filtertrocknerkartusche zur Verwendung bei einem solchen Filtertrockner
DE202006001793U1 (de) Stützkörper für Filterelemente und Filterelement hiermit
EP1247635A2 (de) Vorrichtung zum Filtrieren einer Flüssigkeit, insbesondere zum Filtrieren einer polymeren Kunststoffschmelze
EP2481474B1 (de) Dichtungsanordnung für stabförmige keramische Filterelemente
DE102016219889B4 (de) Dichtring
DE8711084U1 (de) Filterkerze
DE2854830A1 (de) Roehrendruckfilter
DE4124221C3 (de) Dichtring
DE3249756C2 (de) Filterkerze
EP1472392B1 (de) Düsenblock zur herstellung synthetischer fäden und fasern
DE3210209A1 (de) Kraftstoff-einspritzduese fuer brennkraftmaschinen
DE2734695C2 (de) Bleistiftspitzer mit Spänebehälter und staubdicht aufsitzendem Verschlußstopfen
DE8813974U1 (de) Filtervorrichtung zum Filtern von Flüssigkeiten, insbesondere Getränken
DE69811176T2 (de) Filter für Brennstoffeinspritzung und für Bremssysteme mit Antiblockiersystem (ABS)
DE102019123996A1 (de) Verbindungsanordnung
DE10014292A1 (de) Selbstdichtende Sandfilterdüse
DE29908968U1 (de) Dichtung

Legal Events

Date Code Title Description
PUAI Public reference made under article 153(3) epc to a published international application that has entered the european phase

Free format text: ORIGINAL CODE: 0009012

AK Designated contracting states

Kind code of ref document: A2

Designated state(s): CH DE FR GB IT LI

PUAL Search report despatched

Free format text: ORIGINAL CODE: 0009013

AK Designated contracting states

Kind code of ref document: A3

Designated state(s): CH DE FR GB IT LI

17P Request for examination filed

Effective date: 19931105

RAP1 Party data changed (applicant data changed or rights of an application transferred)

Owner name: AKZO NOBEL N.V.

17Q First examination report despatched

Effective date: 19950411

GRAA (expected) grant

Free format text: ORIGINAL CODE: 0009210

ITF It: translation for a ep patent filed
AK Designated contracting states

Kind code of ref document: B1

Designated state(s): CH DE FR GB IT LI

ET Fr: translation filed
REF Corresponds to:

Ref document number: 59204347

Country of ref document: DE

Date of ref document: 19951221

GBT Gb: translation of ep patent filed (gb section 77(6)(a)/1977)

Effective date: 19960108

PLBE No opposition filed within time limit

Free format text: ORIGINAL CODE: 0009261

STAA Information on the status of an ep patent application or granted ep patent

Free format text: STATUS: NO OPPOSITION FILED WITHIN TIME LIMIT

26N No opposition filed
PGFP Annual fee paid to national office [announced via postgrant information from national office to epo]

Ref country code: FR

Payment date: 19981029

Year of fee payment: 7

PGFP Annual fee paid to national office [announced via postgrant information from national office to epo]

Ref country code: CH

Payment date: 19981030

Year of fee payment: 7

PGFP Annual fee paid to national office [announced via postgrant information from national office to epo]

Ref country code: GB

Payment date: 19981102

Year of fee payment: 7

PGFP Annual fee paid to national office [announced via postgrant information from national office to epo]

Ref country code: DE

Payment date: 19981110

Year of fee payment: 7

PG25 Lapsed in a contracting state [announced via postgrant information from national office to epo]

Ref country code: GB

Free format text: LAPSE BECAUSE OF NON-PAYMENT OF DUE FEES

Effective date: 19991202

PG25 Lapsed in a contracting state [announced via postgrant information from national office to epo]

Ref country code: LI

Free format text: LAPSE BECAUSE OF NON-PAYMENT OF DUE FEES

Effective date: 19991231

Ref country code: CH

Free format text: LAPSE BECAUSE OF NON-PAYMENT OF DUE FEES

Effective date: 19991231

GBPC Gb: european patent ceased through non-payment of renewal fee

Effective date: 19991202

PG25 Lapsed in a contracting state [announced via postgrant information from national office to epo]

Ref country code: FR

Free format text: LAPSE BECAUSE OF NON-PAYMENT OF DUE FEES

Effective date: 20000831

PG25 Lapsed in a contracting state [announced via postgrant information from national office to epo]

Ref country code: DE

Free format text: LAPSE BECAUSE OF NON-PAYMENT OF DUE FEES

Effective date: 20001003

REG Reference to a national code

Ref country code: FR

Ref legal event code: ST

PG25 Lapsed in a contracting state [announced via postgrant information from national office to epo]

Ref country code: IT

Free format text: LAPSE BECAUSE OF NON-PAYMENT OF DUE FEES;WARNING: LAPSES OF ITALIAN PATENTS WITH EFFECTIVE DATE BEFORE 2007 MAY HAVE OCCURRED AT ANY TIME BEFORE 2007. THE CORRECT EFFECTIVE DATE MAY BE DIFFERENT FROM THE ONE RECORDED.

Effective date: 20051202