EP0417249B1 - Einrichtung an einem transportfahrzeug zum aufbringen eines luftstroms auf verkehrsflächen - Google Patents
Einrichtung an einem transportfahrzeug zum aufbringen eines luftstroms auf verkehrsflächen Download PDFInfo
- Publication number
- EP0417249B1 EP0417249B1 EP90905486A EP90905486A EP0417249B1 EP 0417249 B1 EP0417249 B1 EP 0417249B1 EP 90905486 A EP90905486 A EP 90905486A EP 90905486 A EP90905486 A EP 90905486A EP 0417249 B1 EP0417249 B1 EP 0417249B1
- Authority
- EP
- European Patent Office
- Prior art keywords
- vehicle
- lower shaft
- shaft section
- plane
- unit according
- Prior art date
- Legal status (The legal status is an assumption and is not a legal conclusion. Google has not performed a legal analysis and makes no representation as to the accuracy of the status listed.)
- Expired - Lifetime
Links
- 238000007789 sealing Methods 0.000 claims abstract description 10
- 238000007664 blowing Methods 0.000 claims description 24
- 230000001154 acute effect Effects 0.000 claims description 4
- 238000005192 partition Methods 0.000 abstract 1
- 238000006073 displacement reaction Methods 0.000 description 4
- 239000000565 sealant Substances 0.000 description 2
- 235000014245 Ceanothus cuneatus Nutrition 0.000 description 1
- 240000008069 Ceanothus cuneatus Species 0.000 description 1
- 235000014233 Ceanothus velutinus Nutrition 0.000 description 1
- 238000005299 abrasion Methods 0.000 description 1
- 238000010276 construction Methods 0.000 description 1
- 239000000428 dust Substances 0.000 description 1
- 230000007257 malfunction Effects 0.000 description 1
Images
Classifications
-
- E—FIXED CONSTRUCTIONS
- E01—CONSTRUCTION OF ROADS, RAILWAYS, OR BRIDGES
- E01H—STREET CLEANING; CLEANING OF PERMANENT WAYS; CLEANING BEACHES; DISPERSING OR PREVENTING FOG IN GENERAL CLEANING STREET OR RAILWAY FURNITURE OR TUNNEL WALLS
- E01H1/00—Removing undesirable matter from roads or like surfaces, with or without moistening of the surface
- E01H1/08—Pneumatically dislodging or taking-up undesirable matter or small objects; Drying by heat only or by streams of gas; Cleaning by projecting abrasive particles
- E01H1/0809—Loosening or dislodging by blowing ; Drying by means of gas streams
-
- E—FIXED CONSTRUCTIONS
- E01—CONSTRUCTION OF ROADS, RAILWAYS, OR BRIDGES
- E01H—STREET CLEANING; CLEANING OF PERMANENT WAYS; CLEANING BEACHES; DISPERSING OR PREVENTING FOG IN GENERAL CLEANING STREET OR RAILWAY FURNITURE OR TUNNEL WALLS
- E01H1/00—Removing undesirable matter from roads or like surfaces, with or without moistening of the surface
- E01H1/08—Pneumatically dislodging or taking-up undesirable matter or small objects; Drying by heat only or by streams of gas; Cleaning by projecting abrasive particles
- E01H1/0827—Dislodging by suction; Mechanical dislodging-cleaning apparatus with independent or dependent exhaust, e.g. dislodging-sweeping machines with independent suction nozzles ; Mechanical loosening devices working under vacuum
-
- E—FIXED CONSTRUCTIONS
- E01—CONSTRUCTION OF ROADS, RAILWAYS, OR BRIDGES
- E01H—STREET CLEANING; CLEANING OF PERMANENT WAYS; CLEANING BEACHES; DISPERSING OR PREVENTING FOG IN GENERAL CLEANING STREET OR RAILWAY FURNITURE OR TUNNEL WALLS
- E01H5/00—Removing snow or ice from roads or like surfaces; Grading or roughening snow or ice
- E01H5/10—Removing snow or ice from roads or like surfaces; Grading or roughening snow or ice by application of heat for melting snow or ice, whether cleared or not, combined or not with clearing or removing mud or water, e.g. burners for melting in situ, heated clearing instruments; Cleaning snow by blowing or suction only
- E01H5/106—Clearing snow or ice exclusively by means of rays or streams of gas or steam, or by suction with or without melting
Definitions
- the simplest and therefore particularly advantageous embodiment is, according to claim 4, an inclined parting plane which includes an acute angle with the plane of a sideways and upward sloping guide, such that the lower shaft part together with the floor nozzle can be moved along a translational oblique guide on one side of the vehicle into the upper transport position, the plane of the oblique guide including the horizontal plane at an acute angle than the parting plane.
- This geometry ensures, on the one hand, that the sealant is lifted off smoothly in the region of the parting plane and, on the other hand, that the floor nozzle is lifted off the surface of the traffic route without the floor nozzle sliding on it in the direction of displacement.
- the angle between the parting plane T and the horizontal plane essentially results from the dimensions of the vehicle and the desired ground clearance.
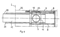
- Guide rod 8 is displaceable, the piston rod 10 of the hydraulic cylinder 9 (FIG. 4) being articulated on the inside of the guide slide 7 under a slide widening 33 for the slide adjustment.
Landscapes
- Engineering & Computer Science (AREA)
- Architecture (AREA)
- Civil Engineering (AREA)
- Structural Engineering (AREA)
- Vehicle Cleaning, Maintenance, Repair, Refitting, And Outriggers (AREA)
- Road Repair (AREA)
- Soil Working Implements (AREA)
Priority Applications (1)
| Application Number | Priority Date | Filing Date | Title |
|---|---|---|---|
| AT90905486T ATE86326T1 (de) | 1989-04-04 | 1990-04-04 | Einrichtung an einem transportfahrzeug zum aufbringen eines luftstroms auf verkehrsflaechen. |
Applications Claiming Priority (2)
| Application Number | Priority Date | Filing Date | Title |
|---|---|---|---|
| DE3910834 | 1989-04-04 | ||
| DE3910834A DE3910834C1 (enExample) | 1989-04-04 | 1989-04-04 |
Publications (2)
| Publication Number | Publication Date |
|---|---|
| EP0417249A1 EP0417249A1 (de) | 1991-03-20 |
| EP0417249B1 true EP0417249B1 (de) | 1993-03-03 |
Family
ID=6377806
Family Applications (1)
| Application Number | Title | Priority Date | Filing Date |
|---|---|---|---|
| EP90905486A Expired - Lifetime EP0417249B1 (de) | 1989-04-04 | 1990-04-04 | Einrichtung an einem transportfahrzeug zum aufbringen eines luftstroms auf verkehrsflächen |
Country Status (3)
| Country | Link |
|---|---|
| EP (1) | EP0417249B1 (enExample) |
| DE (2) | DE3910834C1 (enExample) |
| WO (1) | WO1990012153A1 (enExample) |
Families Citing this family (2)
| Publication number | Priority date | Publication date | Assignee | Title |
|---|---|---|---|---|
| DE102004022120B4 (de) * | 2004-05-05 | 2007-11-15 | Karl Wiedemann | Vorrichtung zur Reinigung kommunaler Einrichtungen im Straßenbereich |
| DE102014017539B4 (de) | 2014-11-21 | 2019-01-17 | Hartmut Sassowsky | Fugensanierungsmaschine und Verfahren zur deren Betrieb sowie deren Verwendung |
Family Cites Families (12)
| Publication number | Priority date | Publication date | Assignee | Title |
|---|---|---|---|---|
| DE7223682U (de) * | 1972-11-09 | Streicher M Fa | Straßenkehrmaschine | |
| CH441414A (de) * | 1964-08-28 | 1967-08-15 | Otto Prof Zweifel | Vorrichtung zur Schneeräumung |
| US3515168A (en) * | 1968-05-31 | 1970-06-02 | Wayne Manufacturing Co | Street cleaner suction seal |
| CS149353B1 (enExample) * | 1970-08-12 | 1973-07-05 | ||
| DE2455199C3 (de) * | 1974-11-21 | 1982-10-07 | KIBO Kommunalmaschinen GmbH & Co KG, 8011 Hohenbrunn | Straßenreinigungsmaschine |
| US4006511A (en) * | 1976-01-08 | 1977-02-08 | Fmc Corporation | Sweeper with recirculation hood and independent filter system |
| US4633603A (en) * | 1981-12-08 | 1987-01-06 | Pierre David | Snow removal apparatus |
| DE3764750D1 (de) * | 1986-09-16 | 1990-10-11 | Anton Kahlbacher | Vorrichtung zur raeumung von verkehrsflaechen von schnee, schneematsch, wasser, schmutz od.dgl. |
| DE8701741U1 (de) * | 1987-02-05 | 1987-04-02 | Hubert Weisser KG, 78199 Bräunlingen | Anbauschneepflug |
| US4773121A (en) * | 1987-02-27 | 1988-09-27 | Tymco, Inc. | High speed pick-up head |
| CN1012831B (zh) * | 1987-04-23 | 1991-06-12 | 雷伯里地区企业沙恩公司 | 用于清扫带坚硬表面的地面的清扫车 |
| DE8806854U1 (de) * | 1988-05-26 | 1988-07-07 | Ernst Augl Gesellschaft m.b.H. & Co. KG, Pasching | Als Saugkehrvorrichtung dienender Zusatzgerätesatz für Traktoren |
-
1989
- 1989-04-04 DE DE3910834A patent/DE3910834C1/de not_active Expired - Fee Related
-
1990
- 1990-04-04 WO PCT/EP1990/000528 patent/WO1990012153A1/de not_active Ceased
- 1990-04-04 DE DE9090905486T patent/DE59000964D1/de not_active Expired - Fee Related
- 1990-04-04 EP EP90905486A patent/EP0417249B1/de not_active Expired - Lifetime
Also Published As
| Publication number | Publication date |
|---|---|
| DE59000964D1 (de) | 1993-04-08 |
| DE3910834C1 (enExample) | 1991-01-17 |
| WO1990012153A1 (de) | 1990-10-18 |
| EP0417249A1 (de) | 1991-03-20 |
Similar Documents
| Publication | Publication Date | Title |
|---|---|---|
| EP0261097B1 (de) | Vorrichtung zur Räumung von Verkehrsflächen von Schnee, Schneematsch, Wasser, Schmutz od.dgl. | |
| DE2751423A1 (de) | Durch vakuum kehricht aufnehmendes fahrzeug | |
| EP0613980A2 (de) | Schotterplaniermaschine | |
| DE3437990A1 (de) | Saugschacht an einem kehrfahrzeug | |
| DE4108673A1 (de) | Verfahren und vorrichtung zum reinigen eines schotterbetts | |
| EP0482293B1 (de) | Bodenbearbeitungsmaschine und Fahrwerk | |
| DE3604053C2 (enExample) | ||
| EP0417249B1 (de) | Einrichtung an einem transportfahrzeug zum aufbringen eines luftstroms auf verkehrsflächen | |
| DE9320980U1 (de) | Saugmaschine | |
| EP0447601A1 (de) | Einrichtung zum Reinigen von Markierungen in Verkehrswegen | |
| DE9017025U1 (de) | Fahrbare Vorrichtung zum Reinigen von Bodenbelägen | |
| DE69119491T2 (de) | Reinigungsfahrzeuge | |
| DE2541108C2 (de) | Kehrmaschine in Form eines selbstangetriebenen Fahrzeugs | |
| AT389339B (de) | Fahrbare vorrichtung fuer die strassenreinigung | |
| DE69612238T2 (de) | Selbstfahrende kompakte Hochleistungsstadtkehrmaschine mit umgekehrt montierter Turbine | |
| EP0435978B1 (de) | Kehrfahrzeug | |
| EP0197259A2 (de) | Doppelwalzen-Kehrmaschine | |
| DE4416132C2 (de) | Saugeinrichtung für Kehrfahrzeuge | |
| WO2016198456A1 (de) | Luftführungselement zum reduzieren des luftwiderstandes eines lastfahrzeuges | |
| DE2235131A1 (de) | Fahrzeug zum reinigen von strassenpflastern und dgl | |
| DE8806854U1 (de) | Als Saugkehrvorrichtung dienender Zusatzgerätesatz für Traktoren | |
| DE2916012A1 (de) | Fahrzeug zum reinigen von verparkten strassen, verkehrsflaechen o.dgl. nach dem servosaugprinzip | |
| DE9104224U1 (de) | Mehrbesen-Kehrmaschine | |
| DE9401755U1 (de) | Trittbrett für Fahrzeuge des Personennah- und -fernverkehrs | |
| DE4407959C2 (de) | Absaugeinrichtung, insbesondere für eine Naßgutentsorgungseinrichtung |
Legal Events
| Date | Code | Title | Description |
|---|---|---|---|
| PUAI | Public reference made under article 153(3) epc to a published international application that has entered the european phase |
Free format text: ORIGINAL CODE: 0009012 |
|
| AK | Designated contracting states |
Kind code of ref document: A1 Designated state(s): AT CH DE LI SE |
|
| 17P | Request for examination filed |
Effective date: 19910220 |
|
| 17Q | First examination report despatched |
Effective date: 19911008 |
|
| GRAA | (expected) grant |
Free format text: ORIGINAL CODE: 0009210 |
|
| AK | Designated contracting states |
Kind code of ref document: B1 Designated state(s): AT CH DE LI SE |
|
| PG25 | Lapsed in a contracting state [announced via postgrant information from national office to epo] |
Ref country code: SE Effective date: 19930303 |
|
| REF | Corresponds to: |
Ref document number: 86326 Country of ref document: AT Date of ref document: 19930315 Kind code of ref document: T |
|
| REF | Corresponds to: |
Ref document number: 59000964 Country of ref document: DE Date of ref document: 19930408 |
|
| PLBE | No opposition filed within time limit |
Free format text: ORIGINAL CODE: 0009261 |
|
| STAA | Information on the status of an ep patent application or granted ep patent |
Free format text: STATUS: NO OPPOSITION FILED WITHIN TIME LIMIT |
|
| 26N | No opposition filed | ||
| PGFP | Annual fee paid to national office [announced via postgrant information from national office to epo] |
Ref country code: AT Payment date: 19980423 Year of fee payment: 9 |
|
| PGFP | Annual fee paid to national office [announced via postgrant information from national office to epo] |
Ref country code: CH Payment date: 19980424 Year of fee payment: 9 |
|
| PG25 | Lapsed in a contracting state [announced via postgrant information from national office to epo] |
Ref country code: AT Free format text: LAPSE BECAUSE OF NON-PAYMENT OF DUE FEES Effective date: 19990404 |
|
| PG25 | Lapsed in a contracting state [announced via postgrant information from national office to epo] |
Ref country code: LI Free format text: LAPSE BECAUSE OF NON-PAYMENT OF DUE FEES Effective date: 19990430 Ref country code: CH Free format text: LAPSE BECAUSE OF NON-PAYMENT OF DUE FEES Effective date: 19990430 |
|
| REG | Reference to a national code |
Ref country code: CH Ref legal event code: PL |
|
| PGFP | Annual fee paid to national office [announced via postgrant information from national office to epo] |
Ref country code: DE Payment date: 20000627 Year of fee payment: 11 |
|
| PG25 | Lapsed in a contracting state [announced via postgrant information from national office to epo] |
Ref country code: DE Free format text: LAPSE BECAUSE OF NON-PAYMENT OF DUE FEES Effective date: 20020201 |