DE69837433T2 - VERFAHREN ZUR HERSTELLUNG VON 5H, 9bH-2a, 4a,7,9a-OCTAHYDRO-TETRAAZACYCLOOCTA ÄcdÜ PENTALEN - Google Patents

VERFAHREN ZUR HERSTELLUNG VON 5H, 9bH-2a, 4a,7,9a-OCTAHYDRO-TETRAAZACYCLOOCTA ÄcdÜ PENTALEN Download PDF

Info

Publication number
DE69837433T2
DE69837433T2 DE69837433T DE69837433T DE69837433T2 DE 69837433 T2 DE69837433 T2 DE 69837433T2 DE 69837433 T DE69837433 T DE 69837433T DE 69837433 T DE69837433 T DE 69837433T DE 69837433 T2 DE69837433 T2 DE 69837433T2
Authority
DE
Germany
Prior art keywords
tetraazacyclododecane
reaction
acid
compound
solvent
Prior art date
Legal status (The legal status is an assumption and is not a legal conclusion. Google has not performed a legal analysis and makes no representation as to the accuracy of the status listed.)
Expired - Lifetime
Application number
DE69837433T
Other languages
English (en)
Other versions
DE69837433D1 (de
DE69837433T8 (de
Inventor
Carlo Felice Viscardi
Marina Ausonio
Massimo Gagna
Carlo Secchi
Current Assignee (The listed assignees may be inaccurate. Google has not performed a legal analysis and makes no representation or warranty as to the accuracy of the list.)
Bracco International BV
Original Assignee
Bracco International BV
Priority date (The priority date is an assumption and is not a legal conclusion. Google has not performed a legal analysis and makes no representation as to the accuracy of the date listed.)
Filing date
Publication date
Application filed by Bracco International BV filed Critical Bracco International BV
Publication of DE69837433D1 publication Critical patent/DE69837433D1/de
Application granted granted Critical
Publication of DE69837433T2 publication Critical patent/DE69837433T2/de
Publication of DE69837433T8 publication Critical patent/DE69837433T8/de
Active legal-status Critical Current

Links

Classifications

    • CCHEMISTRY; METALLURGY
    • C07ORGANIC CHEMISTRY
    • C07DHETEROCYCLIC COMPOUNDS
    • C07D257/00Heterocyclic compounds containing rings having four nitrogen atoms as the only ring hetero atoms
    • C07D257/02Heterocyclic compounds containing rings having four nitrogen atoms as the only ring hetero atoms not condensed with other rings

Landscapes

  • Chemical & Material Sciences (AREA)
  • Organic Chemistry (AREA)
  • Nitrogen Condensed Heterocyclic Rings (AREA)
  • Organic Low-Molecular-Weight Compounds And Preparation Thereof (AREA)
  • Nitrogen And Oxygen Or Sulfur-Condensed Heterocyclic Ring Systems (AREA)
  • Transition And Organic Metals Composition Catalysts For Addition Polymerization (AREA)
  • Steroid Compounds (AREA)
  • Macromolecular Compounds Obtained By Forming Nitrogen-Containing Linkages In General (AREA)

Description

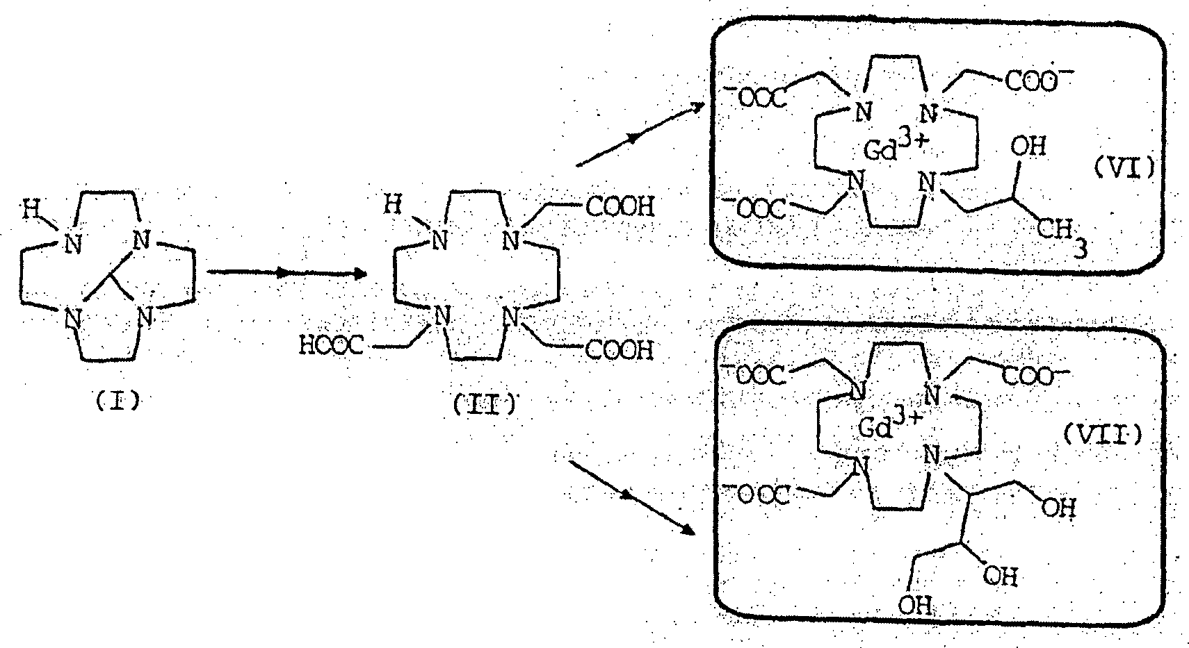
  • 5H,9bH-2a,4a,7,9a-Octahydrotetraazacycloocta[cd]pentalen (CAS RN 67705-42-4) der Formel (I), das unten beschrieben ist, ist ein Intermediat für die Herstellung von 1,4,7,10-Tetraazacyclododecan-Derivaten, worin drei Stickstoffatome mit der gleichen funktionellen Gruppe, z.B. einer Carboxymethylgruppe, substituiert sind, während das vierte Stickstoffatom mit einer Gruppe, die sich von der vorherigen unterscheidet, substituiert ist.
  • Von besonderer Bedeutung ist z.B. die Synthese von 1,4,7,10-Tetraazacyclododecan-1,4,7-triessigsäure (allgemein bekannt als DO3A) der Formel (II), die in verschiedenen Arbeiten beschrieben wurde, zuerst in EP 0 292 689 und in EP 0 232 751 und anschließend in dem Paper (Dischino et al., Inorg. Chem., 1991, 30, 1265), worin die Synthese gemäß Schema 1 detailliert beschrieben ist. Schema 1
    Figure 00010001
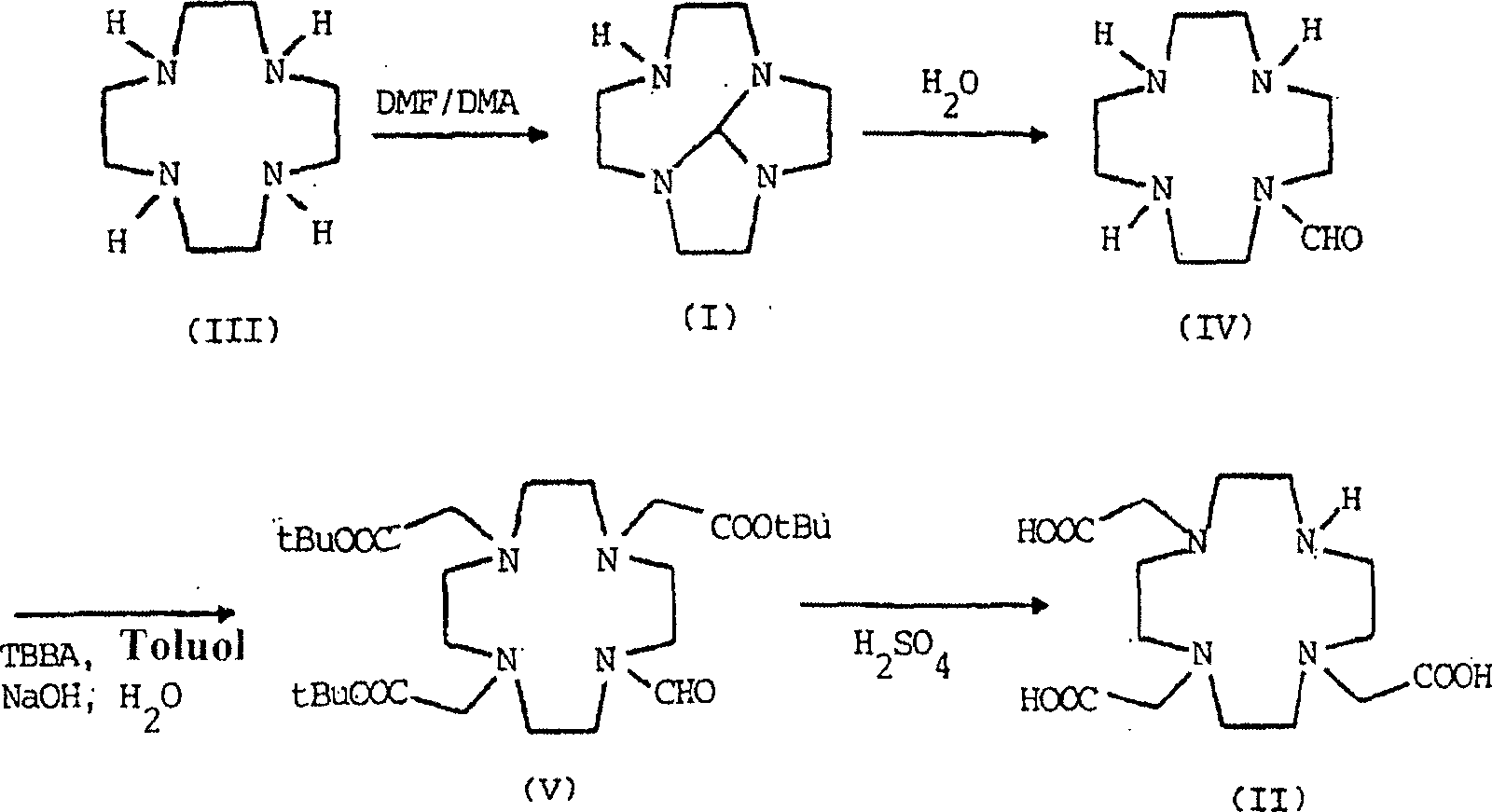
  • Der Schritt von dem im Handel verfügbaren Ausgangsprodukt 1,4,7,10-Tetraazacyclododecan (III) zu der Verbindung der Formel (I) wird nach dem herkömmlichen Verfahren durchgeführt, das in US 4,085,106 beschrieben ist, gefolgt von der Bildung von 1-Formyl-1,4,7,10-tetraazacyclododecan der Formel (IV) in Wasser-Alkohol-Medium.
  • Dieses Intermediat wird anschließend mit tert-Butylbromacetat (TBBA) in Dimethylformamid tricarboxymethyliert, dann mit einem Toluol-Natriumhydroxid-Zweiphasengemisch behandelt, um die Verbindung der Formel (V), 10-Formyl-1,4,7,10-tetraazacyclododecan-1,4,7-triessigsäure-tris(1,1-dimethylethyl)ester zu ergeben, der dann in saurer Lösung zur Verbindung der Formel (II) hydrolysiert wird.
  • Makrocyclische Derivate dieses Typs sind Intermediate für die Herstellung von Gadoliniumkomplexen, die als Kontrastmittel für magnetische Resonanz (MRI) verwendet werden können, z.B. Gadoteridol der Formel (VI), ein Gadoliniumkomplex von 10-(2-Hydroxypropyl)-1,4,7,10-tetraazacyclododecan-1,4,7-triessigsäure, oder Gadobutrol der Formel (VII), Gadoliniumkomplex von [10-[2,3-Dihydroxy-1-(hydroxymethyl)propyl]-1,4,7,10-tetraazacyclododecan-1,4,7-triessigsäure.
    Figure 00020001
  • Die Herstellung von Verbindung (I) mit hohem Reinheitsniveau unter einfach reproduzierbaren Bedingungen ist eine essentielle Anforderung für die Herstellung dieser wichtigen diagnostischen Mittel im industriellen Maßstab.
  • Verbindung (I) und ihre Herstellung wurden zuerst in US 4,130,715 oder in US 4,085,106 beschrieben, ein derartiges Verfahren wird auch in den anderen Referenzen verwendet, in denen dieser Intermediattyp notwendig ist.
  • Die beschriebenen Vorgehensweisen basieren auf der Verwendung von Dialkylformamid-dialkylacetalen: beispielsweise offenbart J. Atkins (zitierte Patente) die Synthese von Verbindung (I) in einem aromatischen Lösungsmittel (Benzol) durch Umsetzung von 1,4,7,10-Tetraazacyclododecan und N,N-Dimethylformamid-dimethylacetal (üblicherweise in äquimolaren Mengen) ohne Katalysator.
  • Aliphatische und cycloaliphatische Kohlenwasserstoffe, chlorierte Kohlenwasserstoffe, Dialkylether und Alkylnitrile können als alternative Lösungsmittel zu den aromatischen verwendet werden.
  • Atkins selbst (J. Am. Chem. Soc. 1980, 102, 6364-6365) nennt auch die Möglichkeit eines Arbeitens in Abwesenheit von Lösungsmitteln.
  • Obgleich diese Bedingungen die Verbindung (I) in guten Ausbeuten liefern, ist ihre Anwendung im industriellen Maßstab aufgrund der extremen Reaktivität von Dialkylformamid-dialkylacetal für solche Nucleophile wie Wasser und die Verbindung (I) selbst schwierig.
  • Um eine übermäßige Bildung von Nebenprodukten zu vermeiden, die eine Abnahme in der Ausbeute und eine Verschlechterung der Qualität von Verbindung (I) involviert, ist es notwendig: a) unter wasserfreien Bedingungen zu arbeiten und b) Dialkylformamid-dialkylacetal in Mengen zuzusetzen, die zu 1,4,7,10-Tetraazacyclododecan äquimolar sind oder irgendwie eine vollständige Umwandlung des Letztgenannten bewirken.
  • Das Vorliegen von Wasser in der Reaktion kann einerseits die Zerstörung von Dialkylformamid-dialkylacetal und andererseits die Hydrolyse von Verbindung (I) zu 1-Formyl-1,4,7,10-tetraazacyclododecan involvieren, welches wiederum mit Dialkylformamid-dialkylacetal unter Produktion weiterer Nebenprodukte reagieren kann.
  • Kommerzielles 1,4,7,10-Tetraazacyclododecan enthält üblicherweise Wasser in minimalen prozentualen Gehalten, was allerdings ausreichend ist, um einen nicht vernachlässigbaren Teil des reaktiven Bestandteils oder der Verbindung (I) selbst zu hydrolysieren: Für die Reaktionsumgebung ist es daher notwendig, dass sie vor der Zugabe von Dimethylformamid-dialkylacetal trocken ist. Wenn das verwendete Lösungsmittel ein aromatisches Lösungsmittel ist, ist die Reaktionslösung besonders schwierig zu trocknen: beispielsweise involviert die Destillation des Wasser-Toluol-Azeotrops einen hohen Verbrauch des organischen Lösungsmittels, und sie erfordert lange Reaktionszeiten, was die Produktivität beeinträchtigt.
  • Andererseits ist der Zusatz von Dialkylformamid-dialkylacetal kritisch, da ein Überschuss desselben immerhin die schnelle Bildung von Nebenprodukten verursachen kann, wohingegen ein Mangel an diesem bedeutet, dass noch restliches 1,4,7,10-Tetraazacyclododecan vorliegt und das Fortschreiten der Synthese für die Herstellung der oben genannten makrocyclischen Derivate schädigt. Die Kontrolle der Reaktionsstöchiometrie ist ziemlich kritisch und schwierig, wenn man auch berücksichtigt, dass Dimethylformamid-dimethylacetal-Assay die Tendenz hat, mit der Zeit abzunehmen. Im industriellen Maßstab können daher erfolgreiche Resultate nur erhalten werden, wenn das Fortschreiten der Reaktion durch eine Reihe von Verfahrenskontrollen untersucht wird: beispielsweise verschwindet 1,4,7,10-Tetraazacyclodecan tatsächlich im Allgemeinen nur nach allmählichen Zugaben von Dialkylformamid-dialkylacetal, was durch gaschromatographische Kontrollen bestimmt wird.
  • Eine weitere Komplikation, die aus der Verwendung eines Dialkylformamid-dialkylacetals im industriellen Maßstab resultiert, ist die, dass die Anlage mit einem geeigneten Gaswäscher ausgestattet sein muss, wenn die oben genannte reaktive Komponente im Handel verfügbar ist, z.B. N,N-Dimethylformamid-dimethylacetal oder N,N-Dimethylformamid-diethylacetal. Die mit diesen reaktiven Komponenten durchgeführte Reaktion bewirkt in der Tat die Bildung von gasförmigem Dimethylamin, das geeigneterweise zu entfernen ist, z.B. mit einem Schwefelsäureabsorber.
  • Darüber hinaus wird die Reaktion üblicherweise in Gegenwart von eher hohen Mengen eines aromatischen Lösungsmittels durchgeführt; dadurch werden Produktivität und Kosten bezüglich Verkauf, Gewinnung und Entsorgung des verwendeten Lösungsmittels beeinträchtigt: Tatsache ist, dass die von Atkins beschriebene Massenreaktion eine geringe Anwendbarkeit in industriellen Maßstab hat, da das erste Reagenz hoch reaktiv und hoch toxisch ist und das zweite ein Feststoff ist, was Probleme bezüglich Arbeitsweise und thermischer Kontrolle verursacht.
  • Schließlich machen die hohen Kosten für Dimethylformamid-dimethylacetal das Verfahren weniger attraktiv.
  • Die Hauptalternative zu Dialkylformamid-dialkylacetalen besteht in der Verwendung von Trialkylorthoformiaten, die gemäß der Literatur (Weisman, Tetrahedron Letters, 21, 3635-3638, 1980) eine niedrigere Reaktivität als die oben genannten Dialkylformamid-dialkylacetale haben, so dass die Reaktion trotz des Zusatzes eines sauren Katalysators nicht beendet werden kann.
  • Die niedrigen Ausbeuten, die von Weisman im Fall von Reaktionen, die in aromatischen Lösungsmitteln durchgeführt wurden, beschrieben wurden, stützen die Anwendbarkeit des Verfahrens im industriellen Maßstab nicht.
  • Andererseits werden die Beispiele von Säure-katalysierten Massenreaktionen zwischen Polyaminen und Triethylorthoformiat (Stetter, Chem. Ber. 106, 2523-2529, 1973) auch durch Ausbeuten gekennzeichnet, die für industrielle Anwendungen in der Synthese der Verbindung (I) zu niedrig sind, was extrem unökonomisch wäre.
  • Es wurde nun überraschenderweise gefunden, und dies ist der Gegenstand der vorliegenden Erfindung, dass unter geeigneten Bedingungen 1,4,7,10-Tetraazacyclododecan in hohen Ausbeuten in die Verbindung (I) umgewandelt werden kann, indem genau Triethylorthoformiat verwendet wird, und zwar in Abwesenheit eines Lösungsmittels und in Gegenwart eines Säurekatalysators bei hoher Temperatur.
  • Bedingungen, die Sauerstoff und Licht aus der Reaktionsumgebung ausschließen, sind weiter bevorzugt, wobei Sauerstoff z.B. ausgeschlossen wird, indem die üblichen Techniken mit Stickstoffdecke verwendet werden.
  • Triethylorthoformiat kann in Mengen zugesetzt werden, die von 105% bis 200% des stöchiometrischen Werts reichen.
  • Die Reaktionstemperatur kann von 110 bis 150°C reichen, und die Reaktionszeit kann von 5 bis 24 h reichen.
  • Der Katalysator ist eine Carbonsäure, die wenigstens 3 Kohlenstoffatome hat, C3-C18, vorzugsweise ausgewählt aus der Gruppe, bestehend aus Propionsäure, Buttersäure und Pivalinsäure, und sie wird in Mengen zugesetzt, die zwischen 4 und 42 g/kg Substrat liegen.
  • Triethylorthoformiat ist ein billigeres Produkt als N,N-Dimethylformamid-dimethylacetal, produziert keine gefährlichen, nicht-kondensierbaren gasförmigen Nebenprodukte, sondern nur Ethanol, welches vorteilhaft für die Herstellung von Triethylorthoformiat oder zu anderen Synthesezwecken gewonnen werden kann.
  • Darüber hinaus ist Triethylorthoformiat weniger reaktiv als N,N-Dimethylformamid-dimethylacetal, was es möglich macht, die Zusätze der reaktiven Komponenten und die Reaktion selbst sogar in einem großen Maßstab unter völlig sicheren Bedingungen durchzuführen; das Fortschreiten der Reaktion lässt sich auf der Basis solcher Arbeitsparameter wie Zeit und Temperatur besser überwachen, ohne dass das Fortschreiten durch Gaschromatographie untersucht wird, und es macht den Zusatz des reaktiven Bestandteils dadurch weniger kritisch, dass dieser von Anfang an zugesetzt werden kann, ohne dass die Bildung von unerwünschten Nebenprodukten verursacht wird: All das macht das Verfahren für die Herstellung von Verbindung (I) unter leicht reproduzierbaren Bedingungen geeignet.
  • Wie im Fall von N,N-Dimethylformamid-dimethylacetal, muss Wasser, das im kommerziellen 1,4,7,10-Tetraazacyclododecan enthalten ist, entfernt werden: Die Wasserentfer nung kann einfach durchgeführt werden, entweder indem 1,4,7,10-Tetraazacyclododecan im Stickstoffstrom geschmolzen wird oder indem ein geeignetes Lösungsmittel zugesetzt wird und anschließend eine Destillation des Lösungsmittels zu einem Rest von trockenem geschmolzenem 1,4,7,10-Tetraazacyclododecan bei einer Temperatur von über 110°C durchgeführt wird.
  • Ethylorthoformiat und der Säurekatalysator können direkt ohne Probleme der thermischen Kontrolle oder der Sicherheit zu diesem Rückstand gegeben werden, da nämlich Orthoformiat wenig reaktionsfähig ist und die Reaktion nicht exotherm ist.
  • Das Trocknungslösungsmittel kann aus geradkettigen oder verzweigten (C4-C6)-Alkoholen ausgewählt werden, vorzugsweise aus der Gruppe, bestehend aus 1-Butanol, 2-Butanol, Amylalkohol, Isoamylalkohol.
  • Die Reaktion involviert eine Ethanolentwicklung: Eine erste Menge des entwickelten Ethanols verbleibt in dem Reaktionsgemisch, bis es eine solche Konzentration erreicht, dass der Dampfdruck des Reaktionsgemisches den atmosphärischen Wert erreicht: von diesem Punkt an destilliert das entwickelte Ethanol zusammen mit einer kleinen Menge an Orthoformiat aus dem Reaktionsgemisch. Um Verluste an Orthoformiat zu vermeiden, kann der entwickelte Dampf leicht mit einer kleinen Rektifizierkolonne rektifiziert werden: das Destillat aus dem Kopf der Kolonne ist im Wesentliches reines Ethanol, wohingegen die Flüssigkeit vom Boden, die mit Orthoformiat angereichert ist, zum Reaktor zurückgeführt wird.
  • Bei vorher eingestellten Arbeitsbedingungen ist die Messung des Gewichts oder des Volumens des entwickelten Ethanols ein zweckdienlicher, genauer Index für das Fortschreiten der Reaktion.
  • Wenn die Reaktion beendet ist, kann die Verbindung (I) in Abhängigkeit von den Synthesezwecken als solche eingesetzt werden oder sie kann durch fraktionierte Destillation gereinigt werden. In beiden Fällen ist die Ausbeute an Verbindung (I) äußerst hoch (typischerweise 95 bis 98% für die rohe Verbindung (I) und höher als 90% für die gereinigte Verbindung (I)).
  • Ein weiterer Gegenstand der vorliegenden Erfindung ist das Verfahren zur Herstellung der Verbindung (II), 1,4,7,10-Tetraazacyclododecan-1,4,7-triessigsäure, das die folgenden Schritte umfasst:
    • a) Herstellung von 5H,9bH-2a,4a,7,9a-Octahydrotetraazacycloocta[cd]pentalen, ausgehend von 1,4,7,10-Tetraazacyclododecan nach dem Verfahren der Erfindung, wobei die Verbindung, ohne dass sie isoliert wird, carboxymethyliert und anschließend hydrolysiert wird, und zwar nach bekannten Verfahren, um das gewünschte Produkt zu erhalten.
  • Die folgenden Beispiele erläutern die besten experimentellen Bedingungen zur Durchführung des Verfahrens der Erfindung.
  • Das folgende gaschromatographische Verfahren wurde verwendet, um das Fortschreiten der Reaktionen zu kontrollieren:
    Gerätschaft: Gaschromatographieeinheit Hewlett-Packard, Serie 5890 II Plus, ausgestattet mit einem Autosampler, Serie 7673 und der Einheit HP-3365
    Säule: 25 m Quarzkapillare, innerer Durchmesser 0,32 mm, stationäre Phase CP Sil 19CB, Filmdicke 0,2 μm (Chrompack Art. 7742)
    Ofentemperaturprogramm: zuerst isoterm bei 120°C für 5 min; Temperaturanstieg 15°C/min; abschließend isotherm bei 260°C für 2 min
    Injiziertes Volumen: 1 μL
    Detektor: FID; Experimenteller Abschnitt Temperatur 275°C
  • Beispiel 1
  • Herstellung von Verbindung (I) durch Reaktion zwischen 1,4,7,10-Tetraazacyclododecan und Triethylorthoformiat in Gegenwart von Propionsäure
  • Ein Gasreaktor, der mit einer Randompackungssäule, einem Destillationskopf und einem Kühler ausgestattet ist, mit einer Aluminiumfolie vor Licht geschützt ist, wird mit 71,4 g (0,414 mol) 1,4,7,10-Tetraazacyclododecan und 71,4 g n-Butanol beschickt. Das Gemisch wird bis zur vollständigen Auflösung auf 80°C erhitzt und die Lösung wird durch Abdestillieren des n-Butanol-Wasser-Azeotrops (14,4 g) bei reduziertem Druck getrocknet, dann wird das restliche n-Butanol abdestilliert, bis die Bodentemperatur 120°C erreicht und der restliche Druck 20 mbar erreicht. Nach Wiederherstellung des atmosphärischen Drucks mit Stickstoff werden 73,5 g (0,498 mol) Triethylorthoformiat und 0,6 g Propionsäure zugegeben. Das Gemisch wird für 7 h bei 135°C erhitzt, während das entwickelte Ethanol kondensiert und getrennt gewonnen wurde. Das überschüssige Triethylorthoformiat wird bei reduziertem Druck abdestilliert, um 76,0 g der gewünschten Verbindung zu erhalten (GC-Assay: 95% Fläche).
  • Die Destillation bei reduziertem Druck (7 mbar) bei 128°C ergibt 68,8 g (0,377 mol) an gereinigtem 5H,9bH,2a,4a,7,9a-Octahydrotetraazacycloocta[cd]pentalen (GC-Assay: 99% Fläche).
    Gesamtausbeute: 91%
  • Die 1H-NMR-, 13C-NMR-, IR- und MS-Spektren stimmen mit der angegebenen Struktur überein.
  • Beispiel 2
  • Herstellung der Verbindung (I) durch Reaktion zwischen 1,4,7,10-Tetraazacyclododecan und Triethylorthoformiat in Gegenwart von Pivalinsäure
  • Ein Glasreaktor, ausgestattet mit einer Randompackungssäule, einem Destillationskopf und einem Kühler, mit Stickstoff unter einem Manometerdruck von 1 mbar bedeckt und mit einer Aluminiumfolie vor Licht geschützt, wird mit 102,6 g (0,593 mol) 1,4,7,10-Tetraazacyclododecan, das 0,5 Gew.-% Wasser enthält, beladen, dann wird die Verbindung bei 140°C unter einem milden Stickstoffstrom geschmolzen. Weiße Kristalle, die aus der sublimierten Substratform bestehen, bilden sich in der Säule. Nach Abkühlen auf 130°C werden 123 g (0,829 mol) Triethylorthoformiat und danach 1 g Pivalinsäure zugesetzt. Nach 5-stündigem Erwärmen bei 140°C, bis eine Ethanolmenge von 90% der stöchiometrischen Menge gewonnen ist, wird der Triethylorthoformiatüberschuss unter Vakuum abdestilliert, wodurch 108 g der gewünschten Verbindung als viskoses gelbes Öl erhalten werden (GC-Assay: 96% Fläche).
    Ausbeute: 96%
  • Die 1H-NMR-, 13C-NMR-, IR- und MS-Spektren stimmen mit der angegebenen Struktur überein.
  • Beispiel 3
  • Wiederholung der Herstellung von Beispiel 2 in Gegenwart von atmosphärischem Sauerstoff und Licht
  • Das Verfahren des Beispiels 2 wird in einem Reaktor wiederholt, der mit einer Decke aus trockener Luft versehen ist, ohne dass eine Abschirmung mit einer Aluminiumfolie erfolgt. Es wird dieselbe Menge an Produkt erhalten, allerdings ist es dunkel und hat einen deutlich niederen GC-Assay (89%).
  • Beispiel 4
  • Herstellung von Verbindung (I) durch Reaktion zwischen 1,4,7,10-Tetraazacyclododecan und Triethylorthoformiat in Gegenwart von Propionsäure
  • Ein Glasreaktor, ausgestattet mit einer Randompackungssäule, einem Destillationskopf und einem Kühler und mit einer Aluminiumfolie vor Licht geschützt, wird mit 110 g (0,634 mol) 1,4,7,10-Tetraazacyclododecan, das 0,7 Gew.-% Wasser enthält, beschickt, die Verbindung wird bei 144°C unter einem milden Stickstoffstrom geschmolzen. Nach Abkühlung auf 115°C werden 113 g (0,761 mol) Triethylorthoformiat und 1,65 g Propionsäure zugesetzt. Das Gemisch wird für 20 h bei 115°C umgesetzt, während Ethanol abdestilliert wird. Schließlich wird der Triethylorthoformiatüberschuss unter Vakuum abdestilliert, wodurch 115 g des gewünschten Produkts erhalten werden (GC-Assay: 95% Fläche).
    Ausbeute: 94%
  • Die 1H-NMR-, 13C-NMR-, IR- und MS-Spektren sind mit der angegebenen Struktur konsistent.
  • Beispiel 5
  • Herstellung von Verbindung (I) und sofortige Umwandlung in 1,4,7,10-Tetraazacyclododecan-1,4,7-triessigsäure (II)
  • (A) Herstellung einer wässrigen Lösung der Verbindung (II) als Trinatriumsalz
  • 110 g (0,634 mol) 1,4,7,10-Tetraazacyclododecan, das 0,7 Gew.-% Wasser enthält, werden in 110 g Amylalkohol gelöst. Das Wasser-Amylalkohol-Azeotrop und der Amylalkoholüberschuss werden nacheinander unter Vakuum abdestilliert, dann werden 113 g (0,761 mol) Triethylorthoformiat und 1,2 g Propionsäure in Stickstoffatmosphäre zugegeben. Das Gemisch wird für 8 h bei 135°C erhitzt, während der gebildete Ethanol abdestilliert wird, dann wird das Reaktionsgemisch auf 35°C abgekühlt, um die rohe Verbindung (I) als flüssiges Öl zu erhalten, das zu einer Lösung gegeben wird, die durch Lösen von 274 g (1,972 mol) Bromessigsäure und 263 g 30 Gew.-% NaOH in 370 g Wasser hergestellt wird, gegeben wird. Während der Zugabe der rohen Verbindung (I) wird der pH durch Zusatz von NaOH bei 10 gehalten; am Ende der Zugabe wird der pH erneut durch Zugabe von 30 Gew.-%igem NaOH, auf 11,3 eingestellt, und das Gemisch wird für 24 h bei 30°C umgesetzt.
  • 360 g 30 Gew.-%iges NaOH werden dann zugegeben und die Lösung wird für 9 h auf 75°C erwärmt. Eine wässrige Lösung, die 204 g (0,589 mol) 1,4,7,10-Tetraazacyclododecan-1,4,7-triessigsäure (Gehalt bestimmt durch HPLC) als Trinatriumsalz enthält, wird erhalten.
    Ausbeute: 93%
  • B) Gewinnung von Verbindung (II) als Sulfat
  • Die Lösung von Schritt A) wird mit 192 g 40%iger H2SO4 angesäuert und mit Aceton versetzt, um 70,2 g der gewünschten Verbindung (0,158 mol) zu präzipitieren.
    Ausbeute: 81%
  • Die 1H-NMR-, 13C-NMR-, IR- und MS-Spektren sind mit der angegebenen Struktur konsistent.
  • C) Freie Säure aus dem in Schritt B) erhaltenen Salz
  • Das in Schritt B) erhaltene Salz wird auf ein PVP-Harz aufgebracht (entsprechend dem Verfahren, beschrieben in Dischino et al., Inorg. Chem., 1991, 30, 1265).
  • Es werden 49,25 g der Verbindung (II) (0,142 mol) erhalten.
    Ausbeute: 90%
  • Die 1H-NMR-, 13C-NMR-, IR- und MS-Spektren sind mit der angegebenen Struktur konsistent.
  • Beispiel 6
  • Herstellung von Verbindung (I) und sofortige Umwandlung in 1,4,7,10-Tetraazacyclododecan-1,4,7-triessigsäure (II), einsetzbar für die Synthese von Gadoteridol
    Figure 00100001
  • A) Herstellung von Verbindung (I)
  • 23,8 kg (0,138 kmol) 1,4,7,10-Tetraazacyclododecan, das 0,7 Gew.-% Wasser enthält, werden in 23,8 kg Amylalkohol gelöst. Das Wasser-Amylalkohol-Azeotrop und der Amylalkoholüberschuss werden bei reduziertem Druck nacheinander abdestilliert, dann werden 24,5 kg (0,166 kmol) Triethylorthoformiat und 355 g Propionsäure in Stickstoffatmosphäre zugegeben. Das Gemisch wird für 11 h auf 125°C erwärmt, während das gebildete Ethanol abdestilliert wird, dann wird das Reaktionsgemisch auf 35°C gekühlt, um Verbindung (I) als flüssiges Öl zu erhalten.
  • B) Herstellung von 10-Formyl-1,4,7,10-tetraazacyclododecan-1,4,7-triessigsäure-Natriumsalz
  • Verbindung (I), erhalten in Schritt A), wird zu einer Lösung gegeben, die durch Lösen von 81,5 kg (0,469 kmol) Bromessigsäure und etwa 62,6 kg 30 Gew.-%iges NaOH in 100 kg Wasser zu pH 5 gelöst wurde. Während der Zugabe der rohen Verbindung (I) wird der pH durch Zugabe von NaOH bei 11 gehalten; am Ende der Zugabe wird der pH wiederum durch Zusatz von 30 Gew.-%igem NaOH auf pH 11,1 eingestellt; das Gemisch wird für 24 h bei 35°C umgesetzt.
  • C) Herstellung von 1,4,7,10-Tetraazacyclododecan-1,4,7-triessigsäure-Natriumsalz
  • Das Gemisch von Schritt B) wird dann mit 77,3 kg 30 Gew.-%igem NaOH versetzt und für 9 h bei 70°C erwärmt. Die resultierende wässrige Lösung enthält 0,131 kmol der gewünschten Verbindung (Gehalt bestimmt durch HPLC) als Trinatriumsalz.
  • D) Synthese von Gadoteridol
  • Der pH wird mit konz. HCl auf 12,3 eingestellt, 15,2 kg (0,262 kmol) Propylenoxid werden zugesetzt und das Gemisch wird für 4 h bei 40°C umgesetzt. Danach wird die Lösung auf 50°C erwärmt und mit 120 kg einer wässrigen Lösung, die 0,135 kmol Gadoliniumtrichlorid enthält, versetzt. Nach 1 h wird das Gemisch auf 17°C abgekühlt und mit konz. HCl auf pH 1,7 angesäuert; der pH wird für 2 h bei diesem Wert kontrolliert. Danach wird die Lösung auf 50°C erwärmt, der pH wird mit Natriumhydroxid auf 7 eingestellt, und die Lösung wird für 1 h bei diesen Bedingungen gehalten.
  • E) Vorreinigung der rohen Gadoteridol-Lösung
  • Die rohe Gadoteridol-Lösung aus dem vorangehenden Schritt wird gekühlt und durch ein "In-Line"-Filter und eine Säule, die mit 150 L R&H Amberlite XAD 1600-Harz gepackt ist, zu einer Nanofiltrationseinheit transferiert, die mit Desal DK4040F-Elementen versehen ist. Wenn der Reaktor leer ist, werden der Reaktor, der "In-Line"-Filter und die Säule 3-mal mit 300 L entionisiertem Wasser gewaschen. Die resultierende Waschlösung wird mit der Produktlösung in der Nanofiltrationseinheit kombiniert, wo das Produkt bei 32 bar und 25°C konzentriert und teilweise entsalzt wird.
  • 250 L Lösung von rohem Gadoteridol mit einer Leitfähigkeit von 2,9 mS/cm werden schließlich erhalten.
  • F) Endentsalzen
  • Die Gadoteridol-Lösung wird dann mit 200 L/h zu einer Reihe von 4 Ionenaustauscherbetten geleitet, wobei das erste (C1) aus 120 L stark basischem Anionenaustauscher Relite 3ASfb in Hydrogencarbonatform besteht, das zweite (C2) aus 100 L eines schwach sauren Kationenaustauschers Relite CC in der H+-Form besteht, das dritte (C3) aus 20 L Relite 3ASfb in der OH--Form besteht und das vierte (C4) aus 20 L Relite CC-Harz in der H+-Form besteht. Alle Säulen werden in die Atmosphäre entlüftet und die Flüssigkeit aus der zweiten Säule wird durch einen Gasabtrennungstank, der an eine Vakuumpumpe angeschlossen ist, geführt, um das entwickelte CO2 aus der Lösung zu entfernen. Der Auslass aus der vierten Säule ist mit einem Dichtewandler ausgestattet, um das Produkt im Eluat zu detektieren. Die ersten 180 L Eluat werden verworfen; das Eluat wird dann in einer produktreichen Fraktion gesammelt. Wenn die gesamte Lösung von rohem Gadoteridol auf die Ionenaustauschereinheit aufgebracht worden ist, wird das Produkt mit 600 L entionisiertem Wasser eluiert, das Eluat wird dann mit der produktreichen Fraktion kombiniert, die farblos ist und im Wesentlichen frei von ionischen Verunreinigungen ist (Leitfähigkeit 2,2 μS/cm).
  • Die Ausbeute der Endentsalzung, bestimmt durch HPLC, ist 98%.
  • G) Isolierung des Produkts (Gadoteridol)
  • Die produktreiche Fraktion wird dann thermisch zu einem viskosen Rückstand konzentriert, der mit 350 kg Isopropanol mit 79°C versetzt wird.
  • Die resultierende Suspension wird für 1 h unter Rückfluss erhitzt, dann abgekühlt, zentrifugiert und bei reduziertem Druck getrocknet, wodurch 68,2 kg Gadoteridol, das 10 Hydratwasser enthält, (0,111 kmol) erhalten wird, HPLC-Assay: 98,5% (s.a.)
    Gesamtausbeute: 80,7%
  • Die 1H-NMR-, IR- und MS-Spektren sind mit der angegebenen Struktur konsistent.

Claims (14)

  1. Verfahren zur Herstellung von 5H,9bH-2a,4a,7,9a-Octahydrotetraazacycloocta[cd]pentalen, das die Reaktion von 1,4,7,10-Tetraazacyclododecan mit Triethylorthoformiat in Abwesenheit von Lösungsmittel und in Gegenwart eines Säurekatalysators umfasst.
  2. Verfahren nach Anspruch 1, wobei Sauerstoff und Licht aus der Reaktionsumgebung ausgeschlossen werden.
  3. Verfahren nach Anspruch 2, wobei Sauerstoff durch herkömmliche Techniken mit Stickstoffpolster ausgeschlossen wird.
  4. Verfahren nach einem der Ansprüche 1 bis 3, wobei Triethylorthoformiat in Mengen, die von 105% bis 200 des stöchiometrischen Werts reichen, zugesetzt wird.
  5. Verfahren nach einem der Ansprüche 1 bis 4, wobei die Temperatur von 110°C bis 150°C reicht und die Reaktionszeit zwischen 4 und 24 Stunden liegt.
  6. Verfahren nach einem der Ansprüche 1 bis 5, wobei der Säurekatalysator eine Carbonsäure mit 3 bis 18 Kohlenstoffatomen ist und in Mengen zugesetzt wird, die von 4 bis 42 g/kg Substrat reichen.
  7. Verfahren nach Anspruch 6, wobei die genannte Carbonsäure aus der Gruppe, bestehend aus Propionsäure, Buttersäure und Pivalinsäure, ausgewählt wird.
  8. Verfahren nach einem der Ansprüche 1 bis 7, wobei 1,4,7,10-Tetraazacyclododecan durch Schmelzen in Stickstoffstromatmosphäre getrocknet wird.
  9. Verfahren nach einem der Ansprüche 1 bis 7, wobei 1,4,7,10-Tetraazacyclododecan durch Zusatz eines geeigneten Lösungsmittels und anschließende Destillation des Lösungsmittels getrocknet wird.
  10. Verfahren nach Anspruch 9, wobei das genannte Lösungsmittel ein geradkettiger oder verzweigtkettiger C4-C6-Alkohol ist.
  11. Verfahren nach Anspruch 10, wobei der genannte Alkohol aus der Gruppe, bestehend aus 1-Butanol, 2-Butanol, Amylalkohol, Isoamylalkohol, ausgewählt wird.
  12. Verfahren nach einem der Ansprüche 1 bis 7, wobei der Dampf, der sich während der Reaktion entwickelt, rektifiziert wird und die Flüssigkeit vom Boden der Säule zum Reaktor zurückgeführt wird.
  13. Verfahren nach einem der Ansprüche 1 bis 7, wobei das Fortschreiten der Reaktion untersucht wird, indem die Menge an erzeugtem Ethanol gemessen wird.
  14. Verfahren für die Herstellung von 1,4,7,10-Tetraazacyclododecan-1,4,7-triessigsäure, das die folgenden Schritte umfasst: a) Herstellung des Zwischenprodukts 5H,9bH-2a,4a,7,9a-Octahydrotetraazacycloocta[cd]pentalen nach dem Verfahren nach Anspruch 1-13 und ohne Isolierung des Zwischenprodukts, b) Carboxymethylierung des Zwischenprodukts unter Erhalt von 10-Formyl-1,4,7,10-tetraazacyclododecan-1,4,7-triessigsäure; c) Hydrolyse der Verbindung aus Schritt b).
DE69837433T 1997-06-11 1998-06-04 VERFAHREN ZUR HERSTELLUNG VON 5H, 9bH-2a, 4a,7,9a-OCTAHYDRO-TETRAAZACYCLOOCTA[cd]PENTALEN Active DE69837433T8 (de)

Applications Claiming Priority (3)

Application Number Priority Date Filing Date Title
ITMI971374 1997-06-11
IT97MI001374A IT1292131B1 (it) 1997-06-11 1997-06-11 Processo per la preparazione di 5h,9bh-2a,4a,7,9a-ottaidrotetraaza- ciclootta(cd)pentalene
PCT/EP1998/003352 WO1998056791A1 (en) 1997-06-11 1998-06-04 A PROCESS FOR THE PREPARATION OF 5H,9bH-2a, 4a,7,9a-OCTAHYDROTETRAAZACYCLOOCTA [cd]PENTALENE

Publications (3)

Publication Number Publication Date
DE69837433D1 DE69837433D1 (de) 2007-05-10
DE69837433T2 true DE69837433T2 (de) 2007-12-13
DE69837433T8 DE69837433T8 (de) 2008-04-10

Family

ID=11377339

Family Applications (1)

Application Number Title Priority Date Filing Date
DE69837433T Active DE69837433T8 (de) 1997-06-11 1998-06-04 VERFAHREN ZUR HERSTELLUNG VON 5H, 9bH-2a, 4a,7,9a-OCTAHYDRO-TETRAAZACYCLOOCTA[cd]PENTALEN

Country Status (15)

Country Link
US (1) US5925753A (de)
EP (1) EP0988305B1 (de)
JP (1) JP4308330B2 (de)
CN (1) CN1117094C (de)
AT (1) ATE358132T1 (de)
AU (1) AU7918298A (de)
DE (1) DE69837433T8 (de)
DK (1) DK0988305T3 (de)
ES (1) ES2284207T3 (de)
IN (1) IN186469B (de)
IT (1) IT1292131B1 (de)
NO (1) NO314263B1 (de)
PT (1) PT988305E (de)
WO (1) WO1998056791A1 (de)
ZA (1) ZA985029B (de)

Families Citing this family (3)

* Cited by examiner, † Cited by third party
Publication number Priority date Publication date Assignee Title
KR101253100B1 (ko) * 2010-02-16 2013-04-10 경북대학교 산학협력단 폴리아자마크로사이클릭 화합물, 그 제조 방법 및 생의학적 적용
CN109293592A (zh) * 2017-07-24 2019-02-01 天津科伦药物研究有限公司 一种制备钆布醇的方法
CN113549025B (zh) * 2021-07-14 2023-07-25 江苏美迪克化学品有限公司 一种1,4,7,10-四氮杂环十二烷-1,4,7-三乙酸及其钠盐的制备方法

Family Cites Families (1)

* Cited by examiner, † Cited by third party
Publication number Priority date Publication date Assignee Title
US4085106A (en) * 1976-01-07 1978-04-18 E. I. Du Pont De Nemours And Company Bicyclic and tricyclic trisaminomethanes

Also Published As

Publication number Publication date
EP0988305B1 (de) 2007-03-28
PT988305E (pt) 2007-06-22
AU7918298A (en) 1998-12-30
ATE358132T1 (de) 2007-04-15
NO996078L (no) 1999-12-09
NO996078D0 (no) 1999-12-09
EP0988305A1 (de) 2000-03-29
WO1998056791A1 (en) 1998-12-17
JP2002503237A (ja) 2002-01-29
NO314263B1 (no) 2003-02-24
CN1259953A (zh) 2000-07-12
ZA985029B (en) 1999-01-20
ITMI971374A1 (it) 1998-12-11
ITMI971374A0 (de) 1997-06-11
DE69837433D1 (de) 2007-05-10
DK0988305T3 (da) 2007-07-30
DE69837433T8 (de) 2008-04-10
IT1292131B1 (it) 1999-01-25
CN1117094C (zh) 2003-08-06
JP4308330B2 (ja) 2009-08-05
IN186469B (de) 2001-09-08
US5925753A (en) 1999-07-20
ES2284207T3 (es) 2007-11-01

Similar Documents

Publication Publication Date Title
DD233126A5 (de) Verfahren zur herstellung von pyridin-n-oxiden
DE2600541C3 (de) Verfahren zur Herstellung von Phenylbrenztraubensäure oder Arylbrenztraubensäuren
DE2338257A1 (de) Verfahren zur herstellung n-substituierter lactame
DE1695753B2 (de) Verfahren zur Herstellung von 6,6disubstituierten 2,2-Dimethyl-4-oxopiperidinen
DE3215752A1 (de) Verfahren zur herstellung von calciumpropionat
DE69837433T2 (de) VERFAHREN ZUR HERSTELLUNG VON 5H, 9bH-2a, 4a,7,9a-OCTAHYDRO-TETRAAZACYCLOOCTA ÄcdÜ PENTALEN
DE2365302C3 (de) Verfahren zur herstellung von 2- amino-nicotino-nitrilen
DE69208126T2 (de) Verfahren zur Wiedergewinnung von Essigsäure aus Essigsäure und Wasser enthaltenden Zusammensetzungen
DE2517054A1 (de) Verfahren zur herstellung von nicotinsaeureamid
DE2607294A1 (de) Verfahren zur herstellung von 2-amino-1-butanol
DE2804417C2 (de) Verfahren zur Herstellung von Anthrachinon
DE2841644C2 (de)
DE2726258A1 (de) Verfahren zur herstellung von 5-fluoruracil
CH645623A5 (en) 2-Methyl-3-acetoxy-4,5-bis(halomethyl)pyridines, process for their preparation and process for the preparation of pyridoxin
DE60014330T2 (de) Verfahren zur herstellung von 1,4,7,10-tetraazacyclododecan
EP0055797A1 (de) Verfahren zur Herstellung substituierter Essigsäuren und/oder deren Estern bzw. substituierter Acetonitrile
DE69603565T2 (de) Isomerisierung von Equilin
DE2721265C2 (de) Verfahren zur Herstellung von Di- n-propylacetonitril
CH424753A (de) Verfahren zur Herstellung von Spirilloxanthin
DE3135840C1 (de) 2-Azido-3-benzyloxy-propionsaeure-benzylester und Verfahren zu dessen Herstellung
DE3231449A1 (de) Imidazolderivate und verfahren zu ihrer herstellung
DE3607275C2 (de)
DE69130995T2 (de) Verfahren zur Herstellung von 5-Arylhydantoin
DE3325976C2 (de)
DE2065698A1 (de) Verfahren zur herstellung von 2isopropyl-6-methyl-4(3h)-pyrimidon