WO2020189061A1 - 車両制御装置 - Google Patents

車両制御装置 Download PDF

Info

Publication number
WO2020189061A1
WO2020189061A1 PCT/JP2020/004242 JP2020004242W WO2020189061A1 WO 2020189061 A1 WO2020189061 A1 WO 2020189061A1 JP 2020004242 W JP2020004242 W JP 2020004242W WO 2020189061 A1 WO2020189061 A1 WO 2020189061A1
Authority
WO
WIPO (PCT)
Prior art keywords
route
vehicle
control device
distance
vehicle control
Prior art date
Legal status (The legal status is an assumption and is not a legal conclusion. Google has not performed a legal analysis and makes no representation as to the accuracy of the status listed.)
Ceased
Application number
PCT/JP2020/004242
Other languages
English (en)
French (fr)
Japanese (ja)
Inventor
直之 田代
大司 清宮
松田 聡
今井 正人
Current Assignee (The listed assignees may be inaccurate. Google has not performed a legal analysis and makes no representation or warranty as to the accuracy of the list.)
Hitachi Astemo Ltd
Original Assignee
Hitachi Automotive Systems Ltd
Priority date (The priority date is an assumption and is not a legal conclusion. Google has not performed a legal analysis and makes no representation as to the accuracy of the date listed.)
Filing date
Publication date
Application filed by Hitachi Automotive Systems Ltd filed Critical Hitachi Automotive Systems Ltd
Priority to DE112020000283.7T priority Critical patent/DE112020000283B4/de
Priority to CN202080006833.2A priority patent/CN113597392B/zh
Priority to US17/430,209 priority patent/US11975709B2/en
Publication of WO2020189061A1 publication Critical patent/WO2020189061A1/ja
Anticipated expiration legal-status Critical
Ceased legal-status Critical Current

Links

Images

Classifications

    • BPERFORMING OPERATIONS; TRANSPORTING
    • B60VEHICLES IN GENERAL
    • B60WCONJOINT CONTROL OF VEHICLE SUB-UNITS OF DIFFERENT TYPE OR DIFFERENT FUNCTION; CONTROL SYSTEMS SPECIALLY ADAPTED FOR HYBRID VEHICLES; ROAD VEHICLE DRIVE CONTROL SYSTEMS FOR PURPOSES NOT RELATED TO THE CONTROL OF A PARTICULAR SUB-UNIT
    • B60W30/00Purposes of road vehicle drive control systems not related to the control of a particular sub-unit, e.g. of systems using conjoint control of vehicle sub-units
    • B60W30/06Automatic manoeuvring for parking
    • BPERFORMING OPERATIONS; TRANSPORTING
    • B60VEHICLES IN GENERAL
    • B60WCONJOINT CONTROL OF VEHICLE SUB-UNITS OF DIFFERENT TYPE OR DIFFERENT FUNCTION; CONTROL SYSTEMS SPECIALLY ADAPTED FOR HYBRID VEHICLES; ROAD VEHICLE DRIVE CONTROL SYSTEMS FOR PURPOSES NOT RELATED TO THE CONTROL OF A PARTICULAR SUB-UNIT
    • B60W10/00Conjoint control of vehicle sub-units of different type or different function
    • B60W10/04Conjoint control of vehicle sub-units of different type or different function including control of propulsion units
    • BPERFORMING OPERATIONS; TRANSPORTING
    • B60VEHICLES IN GENERAL
    • B60WCONJOINT CONTROL OF VEHICLE SUB-UNITS OF DIFFERENT TYPE OR DIFFERENT FUNCTION; CONTROL SYSTEMS SPECIALLY ADAPTED FOR HYBRID VEHICLES; ROAD VEHICLE DRIVE CONTROL SYSTEMS FOR PURPOSES NOT RELATED TO THE CONTROL OF A PARTICULAR SUB-UNIT
    • B60W10/00Conjoint control of vehicle sub-units of different type or different function
    • B60W10/18Conjoint control of vehicle sub-units of different type or different function including control of braking systems
    • BPERFORMING OPERATIONS; TRANSPORTING
    • B60VEHICLES IN GENERAL
    • B60WCONJOINT CONTROL OF VEHICLE SUB-UNITS OF DIFFERENT TYPE OR DIFFERENT FUNCTION; CONTROL SYSTEMS SPECIALLY ADAPTED FOR HYBRID VEHICLES; ROAD VEHICLE DRIVE CONTROL SYSTEMS FOR PURPOSES NOT RELATED TO THE CONTROL OF A PARTICULAR SUB-UNIT
    • B60W10/00Conjoint control of vehicle sub-units of different type or different function
    • B60W10/20Conjoint control of vehicle sub-units of different type or different function including control of steering systems
    • GPHYSICS
    • G01MEASURING; TESTING
    • G01CMEASURING DISTANCES, LEVELS OR BEARINGS; SURVEYING; NAVIGATION; GYROSCOPIC INSTRUMENTS; PHOTOGRAMMETRY OR VIDEOGRAMMETRY
    • G01C21/00Navigation; Navigational instruments not provided for in groups G01C1/00 - G01C19/00
    • G01C21/26Navigation; Navigational instruments not provided for in groups G01C1/00 - G01C19/00 specially adapted for navigation in a road network
    • G01C21/34Route searching; Route guidance
    • G01C21/36Input/output arrangements for on-board computers
    • G01C21/3679Retrieval, searching and output of POI information, e.g. hotels, restaurants, shops, filling stations, parking facilities
    • G01C21/3685Retrieval, searching and output of POI information, e.g. hotels, restaurants, shops, filling stations, parking facilities the POI's being parking facilities
    • BPERFORMING OPERATIONS; TRANSPORTING
    • B60VEHICLES IN GENERAL
    • B60WCONJOINT CONTROL OF VEHICLE SUB-UNITS OF DIFFERENT TYPE OR DIFFERENT FUNCTION; CONTROL SYSTEMS SPECIALLY ADAPTED FOR HYBRID VEHICLES; ROAD VEHICLE DRIVE CONTROL SYSTEMS FOR PURPOSES NOT RELATED TO THE CONTROL OF A PARTICULAR SUB-UNIT
    • B60W2520/00Input parameters relating to overall vehicle dynamics
    • B60W2520/10Longitudinal speed
    • BPERFORMING OPERATIONS; TRANSPORTING
    • B60VEHICLES IN GENERAL
    • B60WCONJOINT CONTROL OF VEHICLE SUB-UNITS OF DIFFERENT TYPE OR DIFFERENT FUNCTION; CONTROL SYSTEMS SPECIALLY ADAPTED FOR HYBRID VEHICLES; ROAD VEHICLE DRIVE CONTROL SYSTEMS FOR PURPOSES NOT RELATED TO THE CONTROL OF A PARTICULAR SUB-UNIT
    • B60W2540/00Input parameters relating to occupants
    • B60W2540/18Steering angle
    • BPERFORMING OPERATIONS; TRANSPORTING
    • B60VEHICLES IN GENERAL
    • B60WCONJOINT CONTROL OF VEHICLE SUB-UNITS OF DIFFERENT TYPE OR DIFFERENT FUNCTION; CONTROL SYSTEMS SPECIALLY ADAPTED FOR HYBRID VEHICLES; ROAD VEHICLE DRIVE CONTROL SYSTEMS FOR PURPOSES NOT RELATED TO THE CONTROL OF A PARTICULAR SUB-UNIT
    • B60W2554/00Input parameters relating to objects
    • B60W2554/80Spatial relation or speed relative to objects
    • B60W2554/801Lateral distance
    • BPERFORMING OPERATIONS; TRANSPORTING
    • B60VEHICLES IN GENERAL
    • B60WCONJOINT CONTROL OF VEHICLE SUB-UNITS OF DIFFERENT TYPE OR DIFFERENT FUNCTION; CONTROL SYSTEMS SPECIALLY ADAPTED FOR HYBRID VEHICLES; ROAD VEHICLE DRIVE CONTROL SYSTEMS FOR PURPOSES NOT RELATED TO THE CONTROL OF A PARTICULAR SUB-UNIT
    • B60W2554/00Input parameters relating to objects
    • B60W2554/80Spatial relation or speed relative to objects
    • B60W2554/802Longitudinal distance
    • BPERFORMING OPERATIONS; TRANSPORTING
    • B60VEHICLES IN GENERAL
    • B60WCONJOINT CONTROL OF VEHICLE SUB-UNITS OF DIFFERENT TYPE OR DIFFERENT FUNCTION; CONTROL SYSTEMS SPECIALLY ADAPTED FOR HYBRID VEHICLES; ROAD VEHICLE DRIVE CONTROL SYSTEMS FOR PURPOSES NOT RELATED TO THE CONTROL OF A PARTICULAR SUB-UNIT
    • B60W2710/00Output or target parameters relating to a particular sub-units
    • B60W2710/20Steering systems

Definitions

  • the present invention relates to a vehicle control device that supports parking of a vehicle.
  • the automatic parking system is a system in which a vehicle control device automatically performs a part or all of accelerator, brake, and steering operations when the driver specifies a target parking position to park the vehicle.
  • Vehicles that provide automatic parking are first equipped with sensing devices such as cameras and ultrasonic sensors that grasp the surrounding environment of the vehicle, and the control device is the position of obstacles (parked vehicles, etc.) acquired from the sensing device. Based on the information (sensor information), the travelable area is calculated.
  • sensing devices such as cameras and ultrasonic sensors that grasp the surrounding environment of the vehicle
  • the control device is the position of obstacles (parked vehicles, etc.) acquired from the sensing device.
  • the control device Based on the information (sensor information), the travelable area is calculated.
  • control device calculates the turning position, etc. based on the calculated travelable area, calculates the planned movement route to the target parking position, and if the route search is successful, the vehicle follows the route. Control. Since the start and stop of automatic control is left to the driver's judgment, it is necessary to present the planned operation of the automatic parking system (movement destination position, movement route, etc.) to the driver in an easy-to-understand manner.
  • Patent Document 1 discloses a technique of displaying a locus of a planned movement on a navigation system or the like at predetermined intervals so that the steering amount can be easily grasped when the vehicle is parked while turning and reversing. ..
  • the automatic parking system we are searching for a route that shortens the parking route length so that the time to complete parking is shortened.
  • the vehicle 300 at the start of automatic parking is larger than the parking frame 120.
  • the planned movement route 107 is long.
  • the planned movement route 107 may be shortened.
  • the display since it is presented at predetermined distance intervals, the display may be difficult for the driver to perceive depending on the amount of movement in each section.
  • the vehicle 300 steers slightly to the right to move forward after passing the parking position (parking frame 120), stops temporarily at the turning position 108, and then steers to the left to move backward.
  • the vehicle 300 stops after decelerating after increasing the vehicle speed to some extent to the turning position 108.
  • the vehicle 300 reaches the turning position 109 when it is steered slightly to the right and moves forward a little. After that, the vehicle 300 will steer to the left and move backward. In this case, the vehicle 300 will stop at a position where the tires have rotated several times, and even if the trajectory to be moved is displayed in the navigation, the braking operation may be unintended for the driver, giving a sense of discomfort.
  • the present invention is a vehicle control device having a processor and a memory, which is mounted on a vehicle and controls the vehicle to a target parking position, and includes an obstacle detection unit that detects the position of an obstacle around the vehicle.
  • a travelable area setting unit that sets a travelable area as a travelable area based on the position of the obstacle and sets the target parking position within the travelable area, and a travelable area setting unit within the travelable area.
  • the route generation unit includes a route generation unit that calculates a travel route to the target parking position and a parking execution unit that causes the vehicle to travel toward the target parking position based on the travel route.
  • a route from the parking start position to the target parking position is generated in one or more sections, and when the distance of the section is less than the predetermined distance, the distance of the section is corrected to the predetermined distance or more.
  • the driver can perceive the control content to be performed by the vehicle control device even at various parking start positions, and smooth automatic parking can be realized.
  • FIG. 1 is a plan view showing Example 1 of the present invention and showing an example of setting a travelable area based on the position of an obstacle.
  • FIG. 5 is a flowchart showing Example 1 of the present invention and showing an example of processing performed by the vehicle control device.
  • FIG. 1 is a plan view showing Example 1 of the present invention and showing an example of setting a travelable area based on the position of an obstacle.
  • Example 1 is a plan view showing Example 1 of the present invention and showing an example of setting a travelable area based on the position of an obstacle.
  • FIG. 1 is a plan view showing Example 1 of the present invention and showing an example of setting a travelable area based on the position of an obstacle.
  • It is a flowchart which shows Example 1 of this invention and shows an example of the traveling route generation processing.
  • It is a flowchart which shows Example 1 of this invention and shows an example of a delivery route calculation process.
  • It is a top view which shows Example 1 of this invention and shows an example of the result of the delivery route calculation.
  • Example 1 of this invention shows an example of the minimum movement distance calculation processing. It is a figure which shows Example 1 of this invention and shows an example of the 1st movement distance. It is a top view which shows Example 1 of this invention and shows an example of the 2nd moving distance. It is a flowchart which shows Example 1 of this invention and shows an example of connection determination processing. It is a top view which shows Example 1 of this invention and shows the connection path by one-sided steering. It is a top view which shows Example 1 of this invention and shows the connection path by S-shaped steering. It is a top view which shows Example 1 of this invention and shows an example of the retreat start processing. It is a flowchart which shows Example 2 of this invention and shows an example of connection determination processing.
  • FIG. 2 is a plan view showing Example 2 of the present invention and showing an example of a delivery route correction process.
  • FIG. 2 is a plan view showing Example 2 of the present invention and showing an example of a delivery route correction process.
  • It is a flowchart which shows Example 3 of this invention and shows an example of the minimum movement distance calculation processing.
  • FIG. 3 is a plan view showing Example 3 of the present invention and showing an example of a second movement distance limitation implementation.
  • FIG. 3 is a plan view showing Example 3 of the present invention and showing an example of a second movement distance limitation implementation.
  • FIG. 3 is a plan view showing Example 3 of the present invention and showing an example of a second movement distance limitation implementation.
  • FIG. 3 is a plan view showing Example 3 of the present invention and showing an example of a second movement distance limitation implementation.
  • FIG. 3 is a plan view showing Example 3 of the present invention and showing an example of a second movement distance limitation implementation.
  • FIG. 5 is a block diagram showing a fifth embodiment of the present invention and showing an example of a function of the vehicle control device.
  • FIG. 2 is a block diagram showing a configuration of a vehicle including the vehicle control device 324 according to the first embodiment of the present invention.
  • the vehicle 300 has a driving force generating mechanism 310 which is a power source, a brake 311 for braking the vehicle, and a transmission mechanism for switching the driving force generated by the driving force generating mechanism 310 in an appropriate direction to move the vehicle forward or backward. It has a transmission 312. The output of the transmission 312 rotates the left and right wheels 314 to drive the vehicle 300, and the brake 311 is controlled to generate a braking force to decelerate the vehicle 300.
  • the driving force generation mechanism 310 may be an engine, a hybrid mechanism of an engine and a motor, or a single motor.
  • the vehicle 300 has a steering wheel 313, and by operating the steering wheel 313, the steering angle of the wheels 314 is changed, and the vehicle 300 turns.
  • the brake 311 includes an actuator that controls the braking force.
  • the transmission 312 includes an actuator that shifts gears.
  • the steering 313 includes an actuator for steering. A control device is connected to each actuator.
  • the driving force control device 320 controls the driving force generated by the driving force generating mechanism 310.
  • the transmission control device 323 switches the forward or backward movement of the vehicle and controls the gear ratio.
  • the brake control device 321 controls the brake 311 so that a predetermined braking force (brake torque) is generated.
  • the steering control device 322 controls the steering 313 so as to have a predetermined steering angle even when the driver does not operate the steering 313.
  • the vehicle 300 is provided with a plurality of peripheral situation recognition sensors 325 for recognizing the peripheral situation of the vehicle, a vehicle speed sensor 326 for acquiring vehicle speed information, and a steering angle sensor 315 for detecting the steering angle of the steering 313. ..
  • the vehicle 300 is equipped with a navigation device 328 that detects the position of the own vehicle using GPS (Global Positioning System). The position of the own vehicle may be estimated from the detection values of the wheel speed sensor (vehicle speed sensor 326) and the steering angle sensor 315.
  • GPS Global Positioning System
  • the surrounding situation recognition sensors 325 are installed in front of, behind, and to the side of the vehicle 300, respectively.
  • a camera, sonar, or the like is used for the surrounding situation recognition sensor (obstacle detection unit) 325 to detect obstacles and white lines around the vehicle 300.
  • the surrounding situation recognition sensor 325 may include an optical distance measuring device and a distance measuring device using electromagnetic waves. Further, the surrounding situation recognition sensor 325 functions as an obstacle position detection unit.
  • vehicle speed sensor 326 that acquires the speed information of the vehicle 300 is not limited to the pulse information of the wheel speed sensor, and uses the value detected by the resolver rotation speed sensor of the motor, the rotation speed sensor of the transmission 312, or the like. Each control device may calculate indirectly.
  • the vehicle control device 324 receives information from the surrounding situation recognition sensor 325, the vehicle speed sensor 326, and the steering angle sensor 315, and receives the information of the driving force control device 320, the brake control device 321 and the steering control device 322, and the transmission control device 323.
  • the command value is sent to.
  • an input / output device 327 that receives input or a command from the driver and presents the information to the driver is provided for information related to automatic parking.
  • Specific input information includes determination of parking position and start of automatic parking, and output information includes parking frame as target parking position, travel route information, turning position, and around own vehicle during automatic parking. Includes a bird's-eye view of a composite of images.
  • the input / output device 327 may be included in the navigation device 328. Further, the input / output device 327 can include a touch panel, a microphone, and a speaker.
  • FIG. 3A An example of the function of the vehicle control device 324 according to the first embodiment of the present invention is shown in the block diagram of FIG. 3A.
  • the parking target candidate presentation unit 401 calculates a parkable space (target parking position) based on the position of obstacles and the position of the white line obtained from the surrounding situation recognition sensor 325, and inputs and outputs the candidate of the target parking position. It is output to the device 327 and presented to the driver.
  • candidates for the target parking position are displayed on the screen of the input / output device 327 or the like with a parking frame or the like, and the position where the driver wants to park from the candidates for the target parking position is input by touch input or the like on the screen of the input / output device 327. select.
  • the parking target candidate presentation unit (travelable area setting unit) 401 can drive the vehicle 300 from the position of an obstacle or the position of a white line acquired from the surrounding situation recognition sensor 325 when calculating a candidate for a target parking position. Calculate the travelable area as an area. A well-known or known technique may be applied to the calculation method of the target parking position and the travelable area 104.
  • the own vehicle position estimation unit 402 is based on the vehicle speed information acquired from the vehicle speed sensor 326, the steering angle acquired by the steering angle sensor 315, and the travelable area calculated by the parking target candidate presentation unit 401.
  • the position of the vehicle 300 specifically the coordinates and the mileage, are calculated.
  • the distance may be calculated from the value of the wheel speed sensor (not shown).
  • the route generation unit 403 can move from the automatic parking start position to the target parking position based on the target parking position, the travelable area, and the position of the obstacle without touching the obstacle (outer circumference of the travelable area). Calculate the travel route (planned travel route).
  • the route generation unit 403 When the route generation unit 403 generates a travel route, it outputs curvature information and a turning position with respect to the travel distance.
  • the travel path generated by the route generation unit 403 includes a turning position for switching the traveling direction from forward to backward (or backward to forward).
  • the route generation unit 403 detects a step on the traveling route, it determines whether or not the height of the step can be overcome. When the route generation unit 403 determines that the step can be run through, the step is not regarded as an obstacle, and when it is determined that the step cannot be overcome, the step is regarded as an obstacle.
  • the target steering angle calculation unit 404 determines the target steering angle based on the curvature information with respect to the mileage based on the travel path which is the output result of the route generation unit 403 and the vehicle position which is the output of the vehicle position estimation unit 402. It is calculated and transmitted to the steering control device 322.
  • the target steering angle is not limited to the output result of the route generation unit 403, and the target steering is the one to which the correction value of the steering amount is added when the relative relationship with the parking frame or the obstacle is deviated during automatic parking. It may be a horn.
  • the target vehicle speed calculation unit 405 is based on the traveling route, which is the output result of the route generation unit 403, and the vehicle position, which is the output of the vehicle position estimation unit 402, based on the magnitude of curvature, the position of obstacles, and the like. Determine the standard target vehicle speed.
  • the target vehicle speed calculation unit 405 realizes smooth acceleration / deceleration by correcting the target vehicle speed in consideration of acceleration and further acceleration when the reference target vehicle speed changes.
  • the target vehicle speed calculation unit 405 presets a plurality of target vehicle speeds as reference target vehicle speeds used in automatic parking, as will be described later.
  • the target vehicle speed calculation unit 405 reduces the target vehicle speed when the surrounding situation recognition sensor 325 detects a step or a wheel stop on the traveling route after the automatic parking is started. As a result, it is possible to park the driver without giving an unpleasant shock when passing through a step or contacting the wheel clamp.
  • the target driving force calculation unit 406 calculates the required driving force (or braking force) based on the difference between the target vehicle speed and the vehicle speed information (actual vehicle speed).
  • the target driving force calculation unit 406 transmits the brake torque to the brake control device 321 when generating the braking force, and transmits the driving torque to the driving force control device 320 when generating the driving force.
  • the driving force generation mechanism 310 includes a motor, the brake torque can be transmitted to the driving force control device 320.
  • the target driving force calculation unit 406 corrects the driving force when a gradient or a step is detected by the surrounding situation recognition sensor 325. Specifically, the target driving force calculation unit 406 corrects the driving force so that the driving force becomes large in the case of an uphill slope, and the target driving force becomes small (or negative) in the case of a downhill slope. The calculation unit 406 corrects the driving force.
  • the target driving force calculation unit 406 corrects so that the higher the step, the larger the driving force. As a result, the target driving force calculation unit 406 can improve the ability to follow the target vehicle speed.
  • the forward / backward switching determination unit 407 switches between forward and reverse based on the turning position on the traveling route, which is the output result of the route generation unit 403, and the own vehicle position, which is the output of the target vehicle speed calculation unit 405. Command the control device 323.
  • the driving force generating mechanism 310 is a motor
  • a command for switching the rotation direction may be transmitted to the driving force generating mechanism 310.
  • the target steering angle calculation unit 404, the target vehicle speed calculation unit 405, the target driving force calculation unit 406, and the forward / backward switching determination unit 407 direct the vehicle 300 toward the target parking position along the calculated travel route. It constitutes an automatic parking execution unit 470 to be controlled.
  • FIG. 3B is a block diagram showing an example of the configuration of the vehicle control device 324.
  • the vehicle control device 324 includes a processor 1, a memory 2, a non-volatile memory 3, and an I / O interface 4.
  • the vehicle control program 10 is loaded into the memory 2 and executed by the processor 1. Programs and data are stored in the non-volatile memory 3.
  • the I / O interface 4 is connected to various sensors and networks. Communication with other control devices is performed via the I / O interface 4.
  • the vehicle control program 10 includes a parking target candidate presentation unit 401, a vehicle position estimation unit 402, a route generation unit 403, a target steering angle calculation unit 404, a target vehicle speed calculation unit 405, and a target shown in FIG. 3A.
  • Each function unit of the driving force calculation unit 406 and the forward / backward switching determination unit 407 is included.
  • the processor 1 operates as a functional unit that provides a predetermined unit by executing processing according to a program of each functional unit.
  • the processor 1 functions as a route generation unit 403 by executing processing according to a route generation program. The same applies to other programs.
  • the processor 1 also operates as a functional unit that provides each unit of a plurality of processes executed by each program.
  • step S501 the parking target candidate presentation unit 401 calculates a parkingable space based on the parking frame information detected by the surrounding situation recognition sensor 325 and the vacant space information without obstacles.
  • the parking target candidate presenting unit 401 displays it on the input / output device 327 as a candidate for the target parking position. If the parkingable space is not calculated, the parking target candidate presentation unit 401 ends the process.
  • step S502 if the parking target candidate presenting unit 401 accepts the target parking position selected by the driver from the candidates for the target parking position via the input / output device 327, the process proceeds to step S503, and if not accepted, the process proceeds to step S503. stand by.
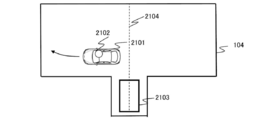
  • step S503 the route generation unit 403 sets the travelable area 104 based on the selected target parking position and the position information 103 of the obstacle 102 (see FIG. 5A) acquired by the surrounding situation recognition sensor 325.
  • FIG. 5A is a plan view showing an example of the travelable area 104.
  • the route is approximated by a T-shaped plane shape including the parking frame 120 as the target parking position, with the position information of the obstacle 102 closest to the vehicle 300 as an end point.
  • the generation unit 403 sets a region in which the T-shape is deformed as a travelable region 104.
  • the parking frame 120 is set as a frame capable of surrounding the vehicle 300.
  • the vehicle control device 324 can display the parking frame 120 as the target parking position on the input / output device 327 or the navigation device 328.
  • the route generation unit 403 is located at a position separated from the position of the vehicle 300 at the start of automatic parking by a predetermined value Th1 with respect to the rear of the front and the rear of the vehicle 300 having no obstacle 102 or not being detected.
  • the rear end of the travelable area 104 is set to, and the front end of the travelable area 104 is set at a position separated from the left end of the parking frame 120 by a predetermined value Th2 in the front.
  • the route generation unit 403 sets Th1 to 0 to suppress the approach to the following waiting vehicle and does not give the driver a sense of discomfort.
  • the route generation unit 403 may be changed depending on the passage width W. Specifically, the larger the passage width W, the smaller the distance of the predetermined value Th2. As a result, the route generation unit 403 can generate a more natural travel route without the travel route becoming longer in the forward direction.
  • FIG. 5C is a plan view showing an example of the travelable area 104. As shown in FIG. 5C, when there is no obstacle 102 and only the target parking frame 601 is determined, the travelable area 104 is set to a position separated by a predetermined value Th3 from the position of the vehicle 300 to the side.
  • the predetermined value Th3 is set based on the detection distance of the surrounding situation recognition sensor 325. Further, the line segments (104c, 104d, 104e) on the target parking frame 601 side are set at positions separated from the target parking frame 601 by a predetermined value Th4.
  • the predetermined values Th4 from the line segments 104c to 104d are not all limited to the same value, and different values may be set.
  • the reason why the travelable area 104 has a T-shape is to reduce the calculation load such as route calculation.
  • the shape is not limited to the T shape, and as shown in FIG. 5B, based on the position information 103 of each obstacle 102.
  • a polygonal approximation may be set as the travelable area 104.
  • a T-shaped region will be used as the travelable region 104.
  • step S504 the route generation unit 403 calculates the planned travel route from the current position of the own vehicle to the target parking position based on the target parking position and the travelable area 104.
  • a specific calculation method of the traveling route will be described with reference to FIGS. 6 to 15.
  • FIG. 6 is a flowchart showing an example of the traveling route generation process. This process is performed in step S504 of FIG.
  • step S601 the route generation unit 403 calculates the reference vehicle speed pattern Vbase when the vehicle 300 travels on the travel route. Specifically, when the upper limit vehicle speed Vmax with respect to the travelable area 104 is used as a reference, the vehicle speed is reduced by a predetermined interval Vd, and the minimum vehicle speed is Vmin, the reference is as shown in the following equation (1).
  • the vehicle speed pattern Vbase is generated.
  • the upper limit vehicle speed Vmax and the lower limit vehicle speed Vmin are preset values.
  • the route generation unit 403 sets the upper limit vehicle speed Vmax to be smaller as the passage width W is narrower and the distance between the obstacle and the vehicle position is closer. As a result, the vehicle speed can be lowered when the passage is narrow or the distance to the obstacle is short, and the driver's discomfort can be alleviated.
  • the route generation unit 403 sets the upper limit vehicle speed Vmax to a value smaller than that of forward movement, so that it is difficult for the driver to check the surrounding conditions and the vehicle speed at the time of reverse movement can be lowered, which makes the driver feel uncomfortable. It can be relaxed. Further, even if the curvature is the same, the route generation unit 403 sets the reference vehicle speed to be smaller as the curvature is larger because the lateral acceleration is larger as the vehicle speed is higher. As a result, the driver is not subjected to excessive lateral acceleration, and the drivability is improved.
  • the route generation unit 403 reduces the vehicle speed in an environment where it is difficult for the driver to visually recognize the surrounding conditions of the vehicle. Specifically, when the route generation unit 403 detects a situation in which the illuminance of the surrounding environment is dark based on the sensor information acquired from the illuminance sensor (not shown) or the surrounding situation recognition sensor 325, the wiper signal or the surrounding situation. When raindrops are detected by the recognition sensor 325, the vehicle speed is set low. By lowering the vehicle speed in a situation where it is difficult for the driver to recognize the surrounding situation, it is possible to suppress the driver's discomfort.
  • step S602 the route generation unit 403 selects one reference vehicle speed for which the route generation process has not been completed from the plurality of reference vehicle speed patterns calculated above, and performs the following route generation process for the selected reference vehicle speed. Execute.
  • FIG. 7 shows a flowchart of the delivery route calculation.
  • step S701 the route generation unit 403 virtually arranges the vehicle 300 with the target parking position as the initial position.
  • step S702 the route generation unit 403 calculates the minimum movement distance Dist_min with respect to the vehicle position. The calculation of the minimum moving distance Dist_min will be described in detail in FIG.
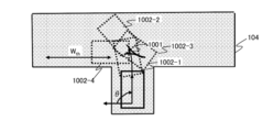
  • step S703 the route generation unit 403 moves the vehicle 300 from the target parking position by a predetermined distance. Specifically, as shown in FIG. 8A, from the state in which the vehicle 300 is arranged at the target parking position, the vehicle turns around without contacting the obstacle 102 in the travelable area 104, and the travel path 1001 that can be exited is set. calculate. In addition, in FIG. 8A, the positions 1002-1 to 1002-4 of the vehicle on the traveling path 1001 are shown.
  • the route generation unit 403 sequentially calculates the delivery route based on the minimum turning radius at the time of turning, but the delivery route is calculated by increasing the radius at the time of turning. May be good.
  • the wider the passage width the larger the radius of the path generation unit 403 when turning.
  • the vehicle 300 is added by a predetermined distance from the target parking position, and the total movement distance is recorded as the section movement distance Dist_move.
  • the section in automatic parking indicates the traveling route from the start (automatic parking start position) to the stop (turning position or target parking position), and the traveling route from the automatic parking start position to the target parking position is one or more sections. It is composed. Further, when a plurality of turning positions are included, the start point and the ending point of the section can be set as the turning positions, respectively. Further, when the distance from the automatic parking start position to the target parking position is long, the traveling route can be divided into predetermined time units as a section.
  • step S704 it is determined whether or not the route generation unit 403 collides with an obstacle at the vehicle position moved by a predetermined distance. If there is a collision, the process proceeds to step S706, and if there is no collision, the process proceeds to step S705.
  • step S705 it is determined whether or not the route generation unit 403 ends the delivery route calculation. If the delivery route calculation end condition is satisfied, the delivery route calculation is completed. If the condition is not satisfied, the process returns to step S703 and the vehicle position is further moved by a predetermined distance until the delivery route calculation end condition is satisfied. And repeat the process.
  • the end condition of the delivery route calculation for example, as shown in FIG. 8A, a condition that the vehicle body center line of the vehicle 300 is perpendicular to the parking direction and parallel to the direction of the aisle, and target parking. It includes a plurality of conditions such as a condition for reaching a point Wth away from a position by a predetermined distance.
  • the route generation unit 403 performs the issue route calculation until at least one of the plurality of end conditions is satisfied.
  • step S706 the route generation unit 403 compares the section movement distance Dist_move with the minimum movement distance Dist_min, and when the section movement distance Dist_move is equal to or greater than the minimum movement distance Dist_min, the route length of the section satisfies the minimum movement distance.
  • the section is adopted as a traveling route, and the process proceeds to step S707.
  • the route generation unit 403 does not adopt the section as the travel route and fails to generate the route (S709). ) To end the issue route calculation.
  • step S707 since the vehicle collided with an obstacle at the vehicle position, the direction of travel was switched and the delivery route calculation was continued. Specifically, as shown in FIG. 8B, when the travelable area 104 is narrow, it is necessary to turn back at the position 1002-2 where the obstacle collided during the delivery route calculation.
  • the route generation unit 403 steers in the opposite direction from that position to switch the traveling direction of the vehicle 300.
  • step S708 since the route generation unit 403 has completed the movement of the section to be processed, the section movement distance Dist_move is initialized.
  • the route generation unit 403 repeats the above process, and as shown in FIG. 8B, when it collides with an obstacle again, it turns back again at the position 1002-3, and calculates the delivery route without colliding with the obstacle.
  • the delivery route calculation is completed at the position 1002-4 that satisfies the end condition.
  • the route generation unit 403 generates a travel route (delivery route) 1001 in consideration of turning back.
  • FIG. 9 shows a flowchart of the calculation process of the minimum moving distance.
  • step S901 the route generation unit 403 sets the first movement distance D1.
  • the first moving distance D1 is a required value for vehicle control and is set according to predetermined vehicle specifications. As an example, the determination is made based on the position accuracy of the own vehicle that can be detected by the vehicle control device 324.
  • the position of the vehicle 300 is estimated using at least one such as a wheel speed sensor, a motor angle sensor, and a high-precision GPS. Since the position accuracy of the sensor is, for example, about 0.01 to 0.1 [m], the route generation unit 403 calculates the minimum value Ds of the moving distance based on those values.
  • the minimum value Ds is the minimum controllable moving distance.
  • FIG. 10 is a graph showing the relationship between the vehicle speed, the moving distance, and the time.
  • the moving distance Dc is the reference vehicle speed selected in step S602, and indicates the minimum moving distance based on the vehicle speed at which the actual vehicle speed is equal to or higher than the predetermined value Vth.
  • the route generation unit 403 selects and sets the first movement distance D1 from the minimum value Ds and the movement distance Dc, whichever is larger.
  • the first moving distance D1 is set to the larger of the minimum value Ds based on the control accuracy and the moving distance Dc based on the predetermined value Vth of the vehicle speed.
  • step S902 the route generation unit 403 sets the second movement distance D2.
  • the second movement distance D2 is a required value for allowing the driver to perceive the next operation (movement) of automatic parking, and is a value (distance) preset based on a route display method or the like. is there. Specifically, as shown in FIG. 11, the display device displays the next turning position 1100 and the vehicle locus 1101 until the position is reached.
  • the second moving distance D2 is set to at least the distance from the front wheel position to the vehicle end point with respect to the traveling direction so that the driver can perceive the trajectory of the front wheels.
  • the value of the second moving distance D2 may be changed according to the shape of the traveling path. Specifically, since the movement locus of the front wheels is easier to see on the swivel track than on the straight track, the distance may be set longer than the swivel track in the case of the straight track.
  • step S903 the larger of the first moving distance D1 and the second moving distance D2 is set as the minimum moving distance Dist_min, and this process ends.
  • step S604 the route generation unit 403 generates a connection route by one-sided steering.
  • the route generation unit 403 determines whether the vehicle can be connected to the position 1002 (see FIGS. 8A and 8B) calculated from the current vehicle position by the one-sided steering, and if it can be connected, the route information is transmitted. Store.
  • the route generation unit 403 does not determine whether or not all of the positions 1002-1 to 1002-4 in FIGS. 8A and 8B calculated in the delivery route can be connected, and the angle of the vehicle 300 at the automatic parking start position.
  • the connection possibility determination is performed as a connection candidate position.
  • the route generation unit 403 can generate a route that does not give a sense of discomfort to the driver.
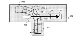
  • FIG. 12 is a flowchart showing an example of the connection determination process performed in steps S604 and S605 of FIG.
  • step S1200 the route generation unit 403 selects whether the steering method from the automatic parking start position to the connection candidate position is one-sided steering or S-shaped steering.
  • the one-sided steering indicates an operation of turning the steering of the vehicle 300 to only one of the left and right sides.
  • FIG. 13 is a plan view showing an example of connection by one-sided steering.
  • step S1201 it is determined whether or not the connection candidate can be connected by the steering method selected by the route generation unit 403, and if the connection is possible, the process proceeds to S1202. If the connection is not possible, the determination is made for the next connection candidate. Do.
  • the route generation unit 403 performs the axis L1 and the axis L2 as shown in FIG.
  • the distance Ls between the intersection C and the automatic parking start position A and the distance Le between the intersection C and the arrival target position T are calculated.
  • the route generation unit 403 selects the shorter distance (in the example shown in FIG. 13, the distance Le is selected). Then, the route generation unit 403 has two axis lines L1 and L2 as a common tangent line, and draws an arc passing through a position separated by a shorter distance from the intersection C.
  • the radius R of the circle at that time is calculated by the following equation (2).
  • the route generation unit 403 can generate a route from the automatic parking start position A to the arrival target position T by combining a straight line and an arc.
  • the connection by one-sided steering is not limited to a straight line and an arc, and a path may be generated by using a relaxation curve such as a clothoid.
  • step S1202 if the one-sided steering connection route length Dist_connect from the automatic parking start position A to the arrival target position T is the minimum travel distance Dist_min or more, the route generation is successful and the travel route calculated by the calculation of the delivery route (S603). ) And the route calculated in the generation of the connection route by one-sided steering (S604) are stored in the route information as the traveling route.
  • the one-sided steering connection path length Dist_connect is less than the minimum movement distance Dist_min, the connection to the connection candidate is prohibited, and the search for the next connection candidate is started.
  • step S605 of FIG. 6 the route generation unit 403 generates a connection route by S-shaped steering.
  • the route generation unit 403 determines whether or not the automatic parking start position A can be connected to the position 1002 (FIGS. 8A and 8B) calculated by the above-mentioned delivery route by the S-shaped steering, and if the connection is possible, the connection is made.
  • the route information is stored in the route information as a traveling route.
  • the route generation unit 403 can connect to all of the positions 1002-1 to 1002-4 (FIGS. 8A and 8B) calculated in the delivery route. As described above, this is performed only for the positions 1002-1 to 1002-3 where the angle of the vehicle 300 is larger than the angle of the vehicle 300 at the automatic parking start position A. As a result, the route generation unit 403 can generate a travel route that does not give the driver a sense of discomfort.
  • FIG. 14 is a plan view showing a connection path by S-shaped steering.
  • the route generation unit 403 can facilitate the calculation by setting the turning radius of the S-shaped steering to the same radius R, but generates a connection path by the S-shaped steering using different radii. You may. By using different radii for the route generation unit 403, the degree of freedom of the connection route by the S-shaped steering is increased, and it becomes easier to reach the arrival target position T. In the following, an example of S-shaped steering using the same radius R will be described.
  • the radius of the common circle is calculated by the center coordinates C1 and C2 of each circle, it is calculated by the following equations (3) and (4) from the distance between the center coordinates.
  • the route generation unit 403 uses the calculated turning radius R to generate a connection route by S-shaped steering.
  • the route generation unit 403 may generate a connection route using a relaxation curve such as a clothoid, and the connection by the S shape is not limited to the arc. In this way, by generating the connection route using not only the one-sided steering but also the S-shaped steering, the degree of freedom of the traveling route is increased and the connection route can be easily generated.
  • step S606 of FIG. 6 the route generation unit 403 determines the end of the route generation process by starting the retreat.
  • the route generation unit 403 proceeds to step S607 if the route generation process by starting the retreat has not already been performed, and proceeds to step S608 if the generation process by starting the retreat has already been completed.
  • FIG. 15 is a plan view showing an example of the backward start processing.
  • the route generation unit 403 searches for a connection route from the own vehicle position 1302 that has retracted by a predetermined amount of Dist_back to the route 1001 that can be delivered. As a result, the traveling route becomes compact, and the discomfort to the driver can be reduced.
  • the route generation unit 403 sets the predetermined amount Dist_back to be equal to or greater than the minimum movement distance Dist_min. Further, the route generation unit 403 adjusts the angle of the vehicle when reversing so that the automatic parking start position 701 is not parallel to the aisle.
  • the route generation unit 403 executes the generation of the connection route by one-sided steering (S604) and the generation of the connection route by S-shaped steering (S605) after moving to the own vehicle position 1302 by the reverse start processing (S607). Then, when the travel route is successfully generated, it is stored in the route information.
  • step S608 the route generation unit 403 determines whether or not the generation of travel routes based on all the reference vehicle speed patterns has been completed.
  • the route generation unit 403 generates a travel route by starting forward and backward for each reference vehicle speed pattern, and then finishes generation of a candidate for the travel route.
  • step S505 if the travel route can be generated in step S504, the process proceeds to step S506, and if the route generation unit 403 cannot generate the travel route for automatic parking, this process ends.
  • step S506 it is determined whether or not the vehicle control device 324 has accepted the automatic parking start request by the operation of the input / output device 327 by the driver.
  • the process proceeds to step S507.
  • the request for starting automatic parking is not limited to the input of the driver, but also includes a request via communication from the outside of the vehicle 300 such as control.
  • step S507 the vehicle control device 324 travels following the travel path and determines whether or not the vehicle 300 has reached the target parking position T.
  • the vehicle control device 324 ends this process if the vehicle position has reached the target parking position T, and if the vehicle position has not reached the target parking position T, the vehicle control device 324 follows the travel path in step S508. To execute.
  • step S508 the vehicle is controlled so that the vehicle control device 324 follows the traveling path. Specifically, steering is controlled based on curvature information with respect to the moving distance from the automatic parking start position 701, and driving force is controlled based on speed information with respect to the moving distance from the automatic parking start position 701.
  • the vehicle control device 324 controls switching between steering and traveling direction when shift switching and stationary steering (steering while the vehicle is stopped) are required at the turning position.
  • step S509 the vehicle control device 324 determines whether or not a situation has occurred in which the travel route is recalculated during automatic parking.
  • the vehicle control device 324 shifts to step S503, sets the travelable area 104, and recalculates the travel route.
  • the route generation unit 403 sets the traveling route from the automatic parking start position to the target parking position for each reference vehicle speed pattern Vbase by one-sided steering or S-shaped steering in section units. It can be generated by combining retreats. As a result, the driver can easily perceive the scheduled operation of automatic parking even at various automatic parking start positions, and the vehicle 300 can be smoothly moved to realize automatic parking.
  • the travel route (section) generated by the route generation unit 403 is the minimum travel distance (Dc) based on the vehicle speed at which the actual vehicle speed is equal to or higher than the predetermined value Vth, or the minimum travel distance (Dc) capable of maintaining the control accuracy.
  • Ds) or more or the second moving distance D2 or more is set.
  • the actual vehicle speed accelerates to a predetermined value Vth or more, it is possible to avoid traveling at an extremely low speed as in the conventional example and secure the control accuracy of automatic parking.
  • the first embodiment shows an example in which the vehicle control device 324 starts running when an automatic parking command is received from the input / output device 327, but the present invention is not limited to this.
  • the vehicle control device 324 is connected to the mobile terminal via wireless communication, and the mobile terminal can transmit an intervention command for starting automatic parking or driving operation.
  • Example 2 shows an example of the process of generating the connection route in steps S604 and S605 of FIG. 6 shown in the first embodiment.
  • FIG. 16 shows a flowchart of the connection route generation process in the second embodiment.
  • step S1200 the route generation unit 403 selects whether the steering method from the automatic parking start position to the connection candidate position is one-sided steering or S-shaped steering.
  • step S1201 the route generation unit 403 determines whether or not the connection candidate can be connected by the steering method selected above, proceeds to S1202 if the connection is possible, and determines the next connection candidate if the connection is not possible. I do.
  • step S1202 if the route generation unit 403 has a one-sided steering connection route length Dist_connect from the automatic parking start position A (FIGS. 13 and 14) to the arrival target position T of the minimum movement distance Dist_min or more, the route generation is successful.
  • the travel route (S603) calculated by calculating the delivery route and the route calculated by generating the connection route by one-sided steering (S604) are stored in the route information as the travel route.
  • the route generation unit 403 shifts to the delivery route correction process (S1601).
  • step S1601 as shown in FIGS. 17A and 17B, a method of expanding the turning radius or imparting (or extending) a straight line can be mentioned.
  • FIG. 17A shows the delivery route 1701 (dotted line) calculated by the delivery route calculation and the connection position 1702 (dotted line rectangle) determined to be connectable from the automatic parking start position.
  • the turning radius of the delivery route can be greatly corrected to become the delivery route 1704, and the delivery position 1705 (solid rectangle) Generated in the distance.
  • the distance Dist_connect of the connection route 1706 connecting the automatic parking start position and the connection position (delivery position 1705) also becomes long, and when the minimum movement distance Dist_min or more is reached, the route generation unit 403 registers the connection route as route information.
  • the method of correcting the delivery route is not limited to the expansion of the turning radius, and a method of adding a straight route may be used.
  • the delivery route 1701 (dotted line) calculated by the delivery route calculation and the connection position 1702 (dotted line rectangle) determined to be connectable from the automatic parking start position are shown.
  • the delivery position 1707 (solid rectangle) is generated in the distance by giving (or extending) straightness to the delivery route. Will be done.
  • connection route 1708 connecting the automatic parking start position and the connection position (delivery position 1707) also becomes long, and when the minimum movement distance Dist_min or more is reached, it is registered as a connection route.
  • the delivery route correction process at least one of the expansion of the turning radius or the addition of the straight-ahead distance is used. At that time, the correction by expanding the turning radius is prioritized, and if the correction by expanding the turning radius cannot be performed, the correction by adding the straight running distance is performed. This is because the correction by expanding the turning radius is a path that does not give the driver a sense of discomfort compared to the case where straight-ahead is added.
  • step S1602 the route generation unit 403 determines whether either the delivery route correction by expanding the turning radius or the delivery route correction with the addition of straight travel is possible, and if it is possible, the route generation is successful and fails. If possible, search for the next connection candidate.
  • the parking conditions are expanded so that the driver can easily perceive the scheduled operation of automatic parking and can generate a smooth route for the vehicle to move even at various automatic parking start positions. can do.
  • the traveling path generated by the route generation unit 403 is accelerated to a predetermined value Vth or more at a distance of the minimum moving distance Dist_min or more as in the first embodiment, so that the traveling is stopped immediately after the start. It is possible to prohibit the generation of routes and provide drivers and passengers with comfortable automatic parking. Further, the vehicle control device 324 can make the driver perceive the movement of the vehicle by the automatic parking by accelerating to the predetermined value Vth or more of the vehicle speed at the predetermined acceleration set by the automatic parking.
  • Example 3 shows an example of the calculation process of the minimum moving distance in step S702 of FIG. 7 shown in the first embodiment.
  • FIG. 18 shows a flowchart of the calculation process of the minimum moving distance in the third embodiment.
  • step S901 the route generation unit 403 sets the first movement distance D1.
  • the first moving distance D1 is the same as that of the first embodiment, is a required value for vehicle control, and is set according to the vehicle specifications.
  • step S1801 the route generation unit 403 determines whether or not the distance is limited by the second movement distance D2, and when the distance is limited by the second movement distance D2, the process proceeds to step S902 and the second step is performed. If the distance limitation by the moving distance D2 is not implemented, the process proceeds to step S1802.
  • step S1801 when turning back in the parking frame in order to match the position and angle of the vehicle 300 with respect to the target parking position, the distance limitation by the second moving distance D2 is prohibited.
  • a route 1902 is performed to turn back in the parking frame in order to adjust the position and angle. It becomes.
  • the route generation unit 403 does not limit the distance by the second moving distance D2. This makes it possible to generate a more compact route.
  • step S509 of the first embodiment when a situation occurs in which the travel route is recalculated during automatic parking, the route generation unit 403 prohibits the distance limitation by the second travel distance D2. To do.
  • the situation where the traveling route is recalculated includes a case where the position of the obstacle 102 detected at the start of automatic parking changes significantly, or a case where it is necessary to change the turning position due to a driver's shift switching or braking operation. ..
  • the route generation unit 403 recalculates the traveling route.
  • the route generation unit 403 recalculates the forward travel route, if the travelable area 104 is small, it may be possible to generate only the short forward route 2005 having the turning position 2006 as shown in FIG. 20C.
  • the distance limitation can be implemented by the second moving distance D2, but when the implementation condition of the distance limitation is satisfied, it is compared with the case where the implementation condition of the distance limitation is not satisfied.
  • the second moving distance D2 may be set to a small value.
  • the route generation unit 403 may compare the second movement distance D2 and the first movement distance D1 and set the larger one to the minimum movement distance Dist_min.
  • step S902 the route generation unit 403 sets the second movement distance D2.
  • the second moving distance D2 is a required value for allowing the driver to perceive the next operation of automatic parking, and is a value preset by a traveling route display method or the like.
  • step S903 the route generation unit 403 sets the larger of the first movement distance D1 and the second movement distance D2 as the minimum movement distance Dist_min, and ends this process.
  • step S1802 the route generation unit 403 sets the first movement distance D1 as the minimum movement distance Dist_min, and ends this process.
  • the driver can easily perceive the scheduled operation of automatic parking by the vehicle control device 324 even for various automatic parking start positions, and the vehicle can move smoothly. Parking conditions can be expanded.
  • Example 4 shows an example of the setting method for the second moving distance D2 of step S902 shown in the first embodiment.
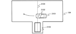
  • the second moving distance D2 is changed based on the relationship between the automatic parking start position and the target parking position.
  • the automatic parking start position 2101 when parking is started in the forward direction (arrow in the figure), the automatic parking start position 2101, specifically, the driver's seating position 2102 extends the center of the target parking position 2103.
  • the driver sets the second moving distance D2 longer in order to be aware that the space in front of the line 2104 is used.
  • the route generation unit 403 increases the second travel distance D2.
  • the automatic parking start position 2001 when parking is started in the forward direction (arrow), the automatic parking start position 2001, specifically, the driver's seating position 2102 is more than the line 2104 extending the center of the target parking position 2103.
  • the driver sets the second moving distance D2 short in order to be careful not to leave the parking position as much as possible.
  • the route generation unit 403 reduces the second travel distance D2.
  • the case where the automatic parking start position 2001 or the driver's seating position 2102 is on the right side in the figure is higher than the case where the driver's seating position 2102 is on the left side in the figure from the target parking position 2103.
  • the moving distance D2 may be set longer.
  • the second movement distance D2 is set longer as the distance to the extension line 2104 increases.
  • the second moving distance D2 is set to a short predetermined value.
  • the second moving distance D2 may be changed based on the distance between the automatic parking start position and the boundary between the obstacle or the travelable area. Specifically, as shown in FIG. 22A, when parking is started in the forward direction (arrow), the distance 2202 until the route generation unit 403 comes into contact with the boundary between the automatic parking start position 2201 and the travelable area 104 is calculated. The second moving distance D2 is changed based on the distance 2202 between the automatic parking start position and the position of the obstacle (boundary).
  • the second moving distance D2 may be set shorter as the linear distance between the automatic parking start position and the travelable area becomes larger.
  • the steering angle is automatically controlled, and the driver operates the accelerator and the brake to adjust the speed.
  • An example of setting the minimum moving distance Dist_min (step S702 in FIG. 7) is shown.
  • the driver since the driver operates the accelerator and the brake to control the speed, it is necessary to step on the brake immediately after releasing the brake in order to travel a short distance, which makes the operation cumbersome. Therefore, by setting the first movement distance D1 to a larger value than when the speed is automatically controlled, the driver can operate with a margin.
  • the vehicle control devices 324 of the above Examples 1 to 5 can have the following configurations.
  • a vehicle control device 324 that has a processor 1 and a memory 2 and is mounted on a vehicle 300 to control the vehicle 300 to a target parking position, and is an obstacle detection unit that detects the position of an obstacle around the vehicle 300. Based on the (surrounding situation recognition sensor 325) and the position of the obstacle, the travelable area where the vehicle can travel is set as the travelable area 104, and the target parking position is set within the travelable area 104.
  • the area setting unit (parking target candidate presentation unit 401), the route generation unit 403 that calculates the travel route to the target parking position in the travelable area 104, and the vehicle 300 for target parking based on the travel route.
  • a parking execution unit (automatic parking execution unit 470) for traveling toward a position, and the route generation unit 403 generates a route from a set parking start position to a target parking position in one or more sections.
  • the distance of the section is less than a predetermined distance (minimum moving distance Dist_min)
  • the distance of the section is corrected to be equal to or more than a predetermined distance (minimum moving distance Dist_min).
  • the actual vehicle speed accelerates to a predetermined value Vth or more, it is possible to avoid traveling at an extremely low speed as in the conventional example and secure the control accuracy of automatic parking.
  • the route generation unit 403 includes a turning position 1100 that switches the traveling direction to the section, and the distance of the section is less than the predetermined distance (minimum moving distance Dist_min). ), The turning radius in the section is expanded, or a straight path is added to the traveling path in the section to correct the distance in the section (minimum moving distance Dist_min) to the predetermined distance or more. ..
  • the distance of the section is corrected to a predetermined distance (minimum moving distance Dist_min) or more by expanding the turning radius or adding a straight route, increasing the vehicle speed to ensure control accuracy, and the vehicle by automatic parking. Can be moved closer to the driver.
  • the route generation unit 403 has a distance of the section less than the predetermined distance (minimum moving distance Dist_min) and expands the turning radius in the section. If this is not possible, a straight path is added to the section to correct the distance of the section to the predetermined distance (minimum moving distance Dist_min) or more.
  • the distance of the section is corrected to a predetermined distance (minimum movement distance Dist_min) or more, the vehicle speed is increased to ensure control accuracy, and the movement of the vehicle by automatic parking is used as the driver. Can be brought closer.
  • the route generation unit 403 is for causing the driver to perceive the first movement distance D1 set as the minimum movement distance based on the vehicle speed and the movement by automatic parking.
  • the second moving distance D2 set as the predetermined moving distance whichever is larger is selected as the predetermined distance (minimum moving distance Dist_min).
  • the target parking position has a range (parking frame 120) surrounding the vehicle 300, and the route generation unit has a part of the end points of the vehicle. When it is within the range (parking frame 120), the use of the second moving distance D2 is prohibited.
  • the route limitation by the second moving distance D2 is not implemented. This is especially in the case of parallel parking, etc., after a part of the vehicle 300 enters the parking frame 1901 as shown in FIG. 19, in order to adjust the position and angle, the route 1902 is used to turn back in the parking frame. Become. In this case, since the distance to the obstacle is short, even if the moving distance is short, the driver does not feel uncomfortable. Therefore, the route generation unit 403 does not limit the distance by the second moving distance D2. This makes it possible to generate a more compact route.
  • the route generation unit 403 prohibits the use of the second travel distance D2 when a recalculation occurs in the calculation of the travel route. ..
  • the route generation unit 403 is used from the parking start position.
  • the second moving distance D2 is set shorter than when the traveling route is close to the target parking position.
  • the route generation unit 403 increases as the distance between the parking start position and the obstacle increases.
  • the second moving distance D2 is set short.
  • the first moving distance D1 is a distance at which the vehicle speed reaches a predetermined value Vth.
  • the vehicle control device 324 according to (4), wherein the vehicle control device is connected to a display unit (input / output device 327) that displays a travel route, and the second travel distance D2 is the route generation. It is related to the length when the unit 403 outputs the traveling route to be traveled to the display unit (327).
  • the path generation unit 403 is to the predetermined value Vth of the vehicle speed. Set to a value.
  • the route generation unit 403 sets a value larger than the predetermined value Vth of the vehicle speed as the gradient of the travelable area 104 increases.
  • the present invention is not limited to the above-described examples, and includes various modifications.
  • the above-described embodiment is described in detail in order to explain the present invention in an easy-to-understand manner, and is not necessarily limited to the one having all the configurations described.
  • any of addition, deletion, or replacement of other configurations can be applied alone or in combination.
  • each of the above configurations, functions, processing units, processing means, etc. may be realized by hardware by designing a part or all of them by, for example, an integrated circuit. Further, each of the above configurations, functions, and the like may be realized by software by the processor interpreting and executing a program that realizes each function. Information such as programs, tables, and files that realize each function can be placed in a memory, a hard disk, a recording device such as an SSD (Solid State Drive), or a recording medium such as an IC card, an SD card, or a DVD.
  • SSD Solid State Drive
  • control lines and information lines indicate what is considered necessary for explanation, and not all control lines and information lines are necessarily shown on the product. In practice, it can be considered that almost all configurations are interconnected.

Landscapes

  • Engineering & Computer Science (AREA)
  • Transportation (AREA)
  • Mechanical Engineering (AREA)
  • Chemical & Material Sciences (AREA)
  • Combustion & Propulsion (AREA)
  • Radar, Positioning & Navigation (AREA)
  • Remote Sensing (AREA)
  • Automation & Control Theory (AREA)
  • Physics & Mathematics (AREA)
  • General Physics & Mathematics (AREA)
  • Control Of Driving Devices And Active Controlling Of Vehicle (AREA)
  • Steering Control In Accordance With Driving Conditions (AREA)
PCT/JP2020/004242 2019-03-15 2020-02-05 車両制御装置 Ceased WO2020189061A1 (ja)

Priority Applications (3)

Application Number Priority Date Filing Date Title
DE112020000283.7T DE112020000283B4 (de) 2019-03-15 2020-02-05 Fahrzeugsteuervorrichtung
CN202080006833.2A CN113597392B (zh) 2019-03-15 2020-02-05 车辆控制装置
US17/430,209 US11975709B2 (en) 2019-03-15 2020-02-05 Vehicle control device

Applications Claiming Priority (2)

Application Number Priority Date Filing Date Title
JP2019048026A JP7212556B2 (ja) 2019-03-15 2019-03-15 車両制御装置
JP2019-048026 2019-03-15

Publications (1)

Publication Number Publication Date
WO2020189061A1 true WO2020189061A1 (ja) 2020-09-24

Family

ID=72430163

Family Applications (1)

Application Number Title Priority Date Filing Date
PCT/JP2020/004242 Ceased WO2020189061A1 (ja) 2019-03-15 2020-02-05 車両制御装置

Country Status (5)

Country Link
US (1) US11975709B2 (enExample)
JP (1) JP7212556B2 (enExample)
CN (1) CN113597392B (enExample)
DE (1) DE112020000283B4 (enExample)
WO (1) WO2020189061A1 (enExample)

Cited By (3)

* Cited by examiner, † Cited by third party
Publication number Priority date Publication date Assignee Title
CN112389465A (zh) * 2020-11-17 2021-02-23 湖南三一智能控制设备有限公司 工程车辆的控制方法、控制系统和工程车辆
US11975774B2 (en) 2021-01-21 2024-05-07 Daimler Truck AG Driving assistance device
WO2024204300A1 (ja) * 2023-03-31 2024-10-03 株式会社アイシン 駐車支援システム

Families Citing this family (7)

* Cited by examiner, † Cited by third party
Publication number Priority date Publication date Assignee Title
JP7668629B2 (ja) * 2020-10-14 2025-04-25 株式会社小松製作所 無人車両の制御システム、無人車両、及び無人車両の制御方法
CN113978479B (zh) * 2021-11-26 2025-04-01 上海安亭地平线智能交通技术有限公司 控制车辆自动驾驶的方法和装置
JP7611131B2 (ja) * 2021-12-27 2025-01-09 本田技研工業株式会社 制御装置、及び移動体
CN114879600B (zh) * 2022-04-19 2025-11-28 南通旭志精工科技有限公司 一种基于物联大数据的数控加工中心用的恒稳控制系统
JP7783157B2 (ja) * 2022-10-26 2025-12-09 本田技研工業株式会社 制御装置、制御方法、及び制御プログラム
CN117111089B (zh) * 2023-10-24 2024-02-02 青岛慧拓智能机器有限公司 矿卡卸载点可用状态识别方法、系统、设备和存储介质
CN117962876B (zh) * 2024-04-02 2024-06-21 北京易控智驾科技有限公司 车辆的停靠控制方法、装置和无人车

Citations (4)

* Cited by examiner, † Cited by third party
Publication number Priority date Publication date Assignee Title
JP2004352110A (ja) * 2003-05-29 2004-12-16 Toyota Motor Corp 車両用走行支援装置
WO2018051396A1 (ja) * 2016-09-13 2018-03-22 日産自動車株式会社 駐車支援方法及び装置
US20180093663A1 (en) * 2016-10-04 2018-04-05 Lg Electronics Inc. Parking assistance apparatus and vehicle having the same
WO2019003720A1 (ja) * 2017-06-26 2019-01-03 日立オートモティブシステムズ株式会社 自動駐車制御装置

Family Cites Families (17)

* Cited by examiner, † Cited by third party
Publication number Priority date Publication date Assignee Title
JP3818654B2 (ja) * 2003-06-26 2006-09-06 トヨタ自動車株式会社 車両用走行支援装置
DE102010043742A1 (de) * 2010-11-11 2012-06-06 Robert Bosch Gmbh Verfahren zur Auswahl einer Parklücke bei mehreren zum Einparken geeigneten Parklücken
DE102010063840A1 (de) * 2010-12-22 2012-06-28 Robert Bosch Gmbh Verfahren zum Einparken oder Manövrieren eines Kraftfahrzeugs mit niedriger Geschwindigkeit und Vorrichtung zur Durchführung desselben
WO2013121961A1 (ja) * 2012-02-14 2013-08-22 日産自動車株式会社 走行制御装置及び走行制御方法
JP5983248B2 (ja) * 2012-09-28 2016-08-31 株式会社デンソー 駐車支援装置
JP5958280B2 (ja) * 2012-10-31 2016-07-27 トヨタ自動車株式会社 運転支援装置
JP6511729B2 (ja) 2014-05-09 2019-05-15 日産自動車株式会社 駐車支援装置及び駐車支援方法
DE102014111128A1 (de) * 2014-08-05 2016-02-11 Valeo Schalter Und Sensoren Gmbh Bereitstellen von Fahrhinweisen während eines Parkmanövers
JP6067635B2 (ja) * 2014-09-12 2017-01-25 アイシン精機株式会社 駐車支援装置
CN105035075B (zh) * 2015-06-24 2018-08-21 合肥中科自动控制系统有限公司 一种用于自主平行泊车的路径规划方法
JP6623602B2 (ja) * 2015-07-31 2019-12-25 アイシン精機株式会社 駐車支援装置
JP6547495B2 (ja) * 2015-07-31 2019-07-24 アイシン精機株式会社 駐車支援装置
KR102005944B1 (ko) * 2016-10-19 2019-08-01 주식회사 만도 주차 보조 시스템 및 그 제어 방법
JP2018135028A (ja) * 2017-02-23 2018-08-30 トヨタ自動車株式会社 駐車支援装置
JP6911434B2 (ja) * 2017-03-23 2021-07-28 株式会社アイシン 車両走行支援装置
DE102017115810A1 (de) * 2017-07-13 2019-01-17 Valeo Schalter Und Sensoren Gmbh Autonomes Parken eines Fahrzeugs basierend auf einem befahrbaren Bereich
JP6836189B2 (ja) * 2017-08-30 2021-02-24 トヨタ自動車株式会社 操舵支援装置

Patent Citations (4)

* Cited by examiner, † Cited by third party
Publication number Priority date Publication date Assignee Title
JP2004352110A (ja) * 2003-05-29 2004-12-16 Toyota Motor Corp 車両用走行支援装置
WO2018051396A1 (ja) * 2016-09-13 2018-03-22 日産自動車株式会社 駐車支援方法及び装置
US20180093663A1 (en) * 2016-10-04 2018-04-05 Lg Electronics Inc. Parking assistance apparatus and vehicle having the same
WO2019003720A1 (ja) * 2017-06-26 2019-01-03 日立オートモティブシステムズ株式会社 自動駐車制御装置

Cited By (3)

* Cited by examiner, † Cited by third party
Publication number Priority date Publication date Assignee Title
CN112389465A (zh) * 2020-11-17 2021-02-23 湖南三一智能控制设备有限公司 工程车辆的控制方法、控制系统和工程车辆
US11975774B2 (en) 2021-01-21 2024-05-07 Daimler Truck AG Driving assistance device
WO2024204300A1 (ja) * 2023-03-31 2024-10-03 株式会社アイシン 駐車支援システム

Also Published As

Publication number Publication date
DE112020000283B4 (de) 2025-07-31
DE112020000283T5 (de) 2021-10-14
US20220161785A1 (en) 2022-05-26
US11975709B2 (en) 2024-05-07
JP2020147220A (ja) 2020-09-17
JP7212556B2 (ja) 2023-01-25
CN113597392A (zh) 2021-11-02
CN113597392B (zh) 2024-07-12

Similar Documents

Publication Publication Date Title
WO2020189061A1 (ja) 車両制御装置
JP7186057B2 (ja) 車両制御装置
JP7133336B2 (ja) 駐車支援装置
JP6909168B2 (ja) 駐車支援装置
JP6365390B2 (ja) 車線変更支援装置
JP7113383B2 (ja) 運転支援システム、運転支援装置、運転支援方法
JP6376059B2 (ja) 自動運転車両の制御装置
US20180129206A1 (en) Vehicle control device
US9896098B2 (en) Vehicle travel control device
JP2018030495A (ja) 車両制御装置
CN112739596B (zh) 车辆控制装置
JP2019128643A (ja) 操舵支援装置
JP6918203B2 (ja) 駐車支援装置
CN111770865A (zh) 车辆行驶控制装置
JP6972792B2 (ja) 運転支援車両の走行制御方法及び走行制御装置
JP2018169269A (ja) 経路生成装置、経路生成方法、及び経路生成プログラム
WO2016110732A1 (ja) 目標経路生成装置および走行制御装置
JP2019166949A (ja) 車両の運転支援装置
JP7377004B2 (ja) 車両制御装置
JP2019104442A (ja) 車両の運転支援装置
JP2012011818A (ja) 駐車支援装置
JP2018169268A (ja) 経路生成装置、経路生成方法、及び経路生成プログラム
JP2012011817A (ja) 駐車支援装置
JP2025035860A (ja) 運転支援装置
JP2025044537A (ja) 車両の制御装置

Legal Events

Date Code Title Description
121 Ep: the epo has been informed by wipo that ep was designated in this application

Ref document number: 20774740

Country of ref document: EP

Kind code of ref document: A1

122 Ep: pct application non-entry in european phase

Ref document number: 20774740

Country of ref document: EP

Kind code of ref document: A1

WWG Wipo information: grant in national office

Ref document number: 112020000283

Country of ref document: DE