WO2020031615A1 - 配線回路基板集合体シートおよびその製造方法 - Google Patents

配線回路基板集合体シートおよびその製造方法 Download PDF

Info

Publication number
WO2020031615A1
WO2020031615A1 PCT/JP2019/027676 JP2019027676W WO2020031615A1 WO 2020031615 A1 WO2020031615 A1 WO 2020031615A1 JP 2019027676 W JP2019027676 W JP 2019027676W WO 2020031615 A1 WO2020031615 A1 WO 2020031615A1
Authority
WO
WIPO (PCT)
Prior art keywords
circuit board
printed circuit
area
assembly sheet
wiring
Prior art date
Legal status (The legal status is an assumption and is not a legal conclusion. Google has not performed a legal analysis and makes no representation as to the accuracy of the status listed.)
Ceased
Application number
PCT/JP2019/027676
Other languages
English (en)
French (fr)
Japanese (ja)
Inventor
卓矢 谷内
良平 垣内
柴田 直樹
恭也 大薮
Current Assignee (The listed assignees may be inaccurate. Google has not performed a legal analysis and makes no representation or warranty as to the accuracy of the list.)
Nitto Denko Corp
Original Assignee
Nitto Denko Corp
Priority date (The priority date is an assumption and is not a legal conclusion. Google has not performed a legal analysis and makes no representation as to the accuracy of the date listed.)
Filing date
Publication date
Application filed by Nitto Denko Corp filed Critical Nitto Denko Corp
Priority to US17/265,922 priority Critical patent/US11503716B2/en
Priority to CN201980052621.5A priority patent/CN112544125B/zh
Publication of WO2020031615A1 publication Critical patent/WO2020031615A1/ja
Anticipated expiration legal-status Critical
Ceased legal-status Critical Current

Links

Images

Classifications

    • HELECTRICITY
    • H05ELECTRIC TECHNIQUES NOT OTHERWISE PROVIDED FOR
    • H05KPRINTED CIRCUITS; CASINGS OR CONSTRUCTIONAL DETAILS OF ELECTRIC APPARATUS; MANUFACTURE OF ASSEMBLAGES OF ELECTRICAL COMPONENTS
    • H05K3/00Apparatus or processes for manufacturing printed circuits
    • H05K3/02Apparatus or processes for manufacturing printed circuits in which the conductive material is applied to the surface of the insulating support and is thereafter removed from such areas of the surface which are not intended for current conducting or shielding
    • H05K3/06Apparatus or processes for manufacturing printed circuits in which the conductive material is applied to the surface of the insulating support and is thereafter removed from such areas of the surface which are not intended for current conducting or shielding the conductive material being removed chemically or electrolytically, e.g. by photo-etch process
    • HELECTRICITY
    • H05ELECTRIC TECHNIQUES NOT OTHERWISE PROVIDED FOR
    • H05KPRINTED CIRCUITS; CASINGS OR CONSTRUCTIONAL DETAILS OF ELECTRIC APPARATUS; MANUFACTURE OF ASSEMBLAGES OF ELECTRICAL COMPONENTS
    • H05K1/00Printed circuits
    • H05K1/02Details
    • HELECTRICITY
    • H05ELECTRIC TECHNIQUES NOT OTHERWISE PROVIDED FOR
    • H05KPRINTED CIRCUITS; CASINGS OR CONSTRUCTIONAL DETAILS OF ELECTRIC APPARATUS; MANUFACTURE OF ASSEMBLAGES OF ELECTRICAL COMPONENTS
    • H05K2201/00Indexing scheme relating to printed circuits covered by H05K1/00
    • H05K2201/09Shape and layout
    • H05K2201/09209Shape and layout details of conductors
    • H05K2201/09654Shape and layout details of conductors covering at least two types of conductors provided for in H05K2201/09218 - H05K2201/095
    • H05K2201/09781Dummy conductors, i.e. not used for normal transport of current; Dummy electrodes of components
    • HELECTRICITY
    • H05ELECTRIC TECHNIQUES NOT OTHERWISE PROVIDED FOR
    • H05KPRINTED CIRCUITS; CASINGS OR CONSTRUCTIONAL DETAILS OF ELECTRIC APPARATUS; MANUFACTURE OF ASSEMBLAGES OF ELECTRICAL COMPONENTS
    • H05K2203/00Indexing scheme relating to apparatus or processes for manufacturing printed circuits covered by H05K3/00
    • H05K2203/05Patterning and lithography; Masks; Details of resist
    • H05K2203/0562Details of resist
    • HELECTRICITY
    • H05ELECTRIC TECHNIQUES NOT OTHERWISE PROVIDED FOR
    • H05KPRINTED CIRCUITS; CASINGS OR CONSTRUCTIONAL DETAILS OF ELECTRIC APPARATUS; MANUFACTURE OF ASSEMBLAGES OF ELECTRICAL COMPONENTS
    • H05K2203/00Indexing scheme relating to apparatus or processes for manufacturing printed circuits covered by H05K3/00
    • H05K2203/13Moulding and encapsulation; Deposition techniques; Protective layers
    • H05K2203/1377Protective layers
    • H05K2203/1383Temporary protective insulating layer
    • HELECTRICITY
    • H05ELECTRIC TECHNIQUES NOT OTHERWISE PROVIDED FOR
    • H05KPRINTED CIRCUITS; CASINGS OR CONSTRUCTIONAL DETAILS OF ELECTRIC APPARATUS; MANUFACTURE OF ASSEMBLAGES OF ELECTRICAL COMPONENTS
    • H05K2203/00Indexing scheme relating to apparatus or processes for manufacturing printed circuits covered by H05K3/00
    • H05K2203/14Related to the order of processing steps
    • H05K2203/1461Applying or finishing the circuit pattern after another process, e.g. after filling of vias with conductive paste, after making printed resistors
    • HELECTRICITY
    • H05ELECTRIC TECHNIQUES NOT OTHERWISE PROVIDED FOR
    • H05KPRINTED CIRCUITS; CASINGS OR CONSTRUCTIONAL DETAILS OF ELECTRIC APPARATUS; MANUFACTURE OF ASSEMBLAGES OF ELECTRICAL COMPONENTS
    • H05K2203/00Indexing scheme relating to apparatus or processes for manufacturing printed circuits covered by H05K3/00
    • H05K2203/14Related to the order of processing steps
    • H05K2203/1476Same or similar kind of process performed in phases, e.g. coarse patterning followed by fine patterning
    • HELECTRICITY
    • H05ELECTRIC TECHNIQUES NOT OTHERWISE PROVIDED FOR
    • H05KPRINTED CIRCUITS; CASINGS OR CONSTRUCTIONAL DETAILS OF ELECTRIC APPARATUS; MANUFACTURE OF ASSEMBLAGES OF ELECTRICAL COMPONENTS
    • H05K2203/00Indexing scheme relating to apparatus or processes for manufacturing printed circuits covered by H05K3/00
    • H05K2203/15Position of the PCB during processing
    • H05K2203/1509Horizontally held PCB
    • HELECTRICITY
    • H05ELECTRIC TECHNIQUES NOT OTHERWISE PROVIDED FOR
    • H05KPRINTED CIRCUITS; CASINGS OR CONSTRUCTIONAL DETAILS OF ELECTRIC APPARATUS; MANUFACTURE OF ASSEMBLAGES OF ELECTRICAL COMPONENTS
    • H05K2203/00Indexing scheme relating to apparatus or processes for manufacturing printed circuits covered by H05K3/00
    • H05K2203/16Inspection; Monitoring; Aligning
    • H05K2203/166Alignment or registration; Control of registration
    • HELECTRICITY
    • H05ELECTRIC TECHNIQUES NOT OTHERWISE PROVIDED FOR
    • H05KPRINTED CIRCUITS; CASINGS OR CONSTRUCTIONAL DETAILS OF ELECTRIC APPARATUS; MANUFACTURE OF ASSEMBLAGES OF ELECTRICAL COMPONENTS
    • H05K3/00Apparatus or processes for manufacturing printed circuits
    • H05K3/02Apparatus or processes for manufacturing printed circuits in which the conductive material is applied to the surface of the insulating support and is thereafter removed from such areas of the surface which are not intended for current conducting or shielding
    • H05K3/06Apparatus or processes for manufacturing printed circuits in which the conductive material is applied to the surface of the insulating support and is thereafter removed from such areas of the surface which are not intended for current conducting or shielding the conductive material being removed chemically or electrolytically, e.g. by photo-etch process
    • H05K3/067Etchants

Definitions

  • the present invention relates to a printed circuit board assembly sheet and a method for manufacturing the same.
  • a dummy pattern restricts the flow of an etchant, thereby suppressing the amount of side etching progressing between lines and securing a desired line width in a circuit pattern.
  • Patent Document 1 it is necessary to first specify the above-mentioned wide line intervals in a plurality of lines, and to arrange a resist film corresponding to the dummy pattern for each of the positions, which is complicated.
  • the present invention provides a method for manufacturing a printed circuit board assembly sheet, which can easily manufacture a printed circuit board with high reliability, and a printed circuit board assembly sheet obtained by the method.
  • wiring including a conductive layer, A support substrate made of a metal-based layer is formed by etching.
  • the etching resist is arranged in the product region and the etching is performed, the etching solution reaches the margin region while forming the wiring and the support substrate while the etching solution is in contact with the etching resist.
  • the margin area has a first area adjacent to the product area and a second area located on the opposite side of the product area with respect to the first area. Since the substrate is arranged in at least a part of the first area, the accuracy of the dummy wiring circuit board is reduced even if the etchant drops when the etchant reaches the second area from the product area, causing turbulence. However, since the influence of the turbulent flow of the etchant on the printed circuit board is reduced, a decrease in the precision of the printed circuit board is suppressed. Therefore, in the printed circuit board assembly sheet, the reliability of the printed circuit board is excellent.
  • the present invention (2) includes the wired circuit board assembly sheet according to (1), wherein the dummy wired circuit board is arranged over the entire first area.
  • the wiring circuit according to (1) or (2), wherein the printed circuit board includes wiring formed of a conductor layer, and the dummy printed circuit board includes dummy wiring formed of the conductor layer. includes a substrate assembly sheet.
  • the conductor layer corresponding to the wiring and the dummy wiring is used in manufacturing the printed circuit board assembly sheet.
  • An etching resist When the etchant drops from the first area to the second area and the etchant drops, causing turbulence, the accuracy of the dummy wiring is reduced, but the reduction in the precision of the wiring is suppressed. Therefore, the wiring circuit board assembly sheet has excellent wiring reliability.
  • the wiring circuit assembly sheet has a long shape, is included in the second area, has both ends in the width direction orthogonal to the long direction, and both ends in the width direction.
  • the wiring circuit assembly sheet has a long shape, the wiring circuit board assembly sheet is etched and manufactured while being transported in the long direction.
  • the present invention (5) provides the printed circuit board according to any one of (1) to (4), wherein the printed circuit board includes a support substrate formed of a metal-based layer, and the dummy printed circuit board includes a dummy support substrate formed of the metal-based layer.
  • the printed circuit board assembly sheet according to any one of the preceding claims.
  • the manufacturing method of the printed circuit board assembly sheet includes the support substrate and the dummy support substrate.
  • An etching resist is arranged on the metal-based layer corresponding to the above.
  • the wiring circuit assembly sheet may have a long shape, and may be included in the second area and have both ends in the width direction orthogonal to the long direction, and both ends in the width direction.
  • the wiring circuit assembly sheet has a long shape, the wiring circuit board assembly sheet is etched and manufactured while being transported in the long direction.
  • the present invention (7) is a wiring circuit assembly sheet in which a product area in which a plurality of wiring circuit boards as products are aligned and a margin area surrounding the product area are partitioned.
  • the wiring circuit assembly sheet includes a wiring formed of a conductive layer, the wiring circuit assembly sheet has a long shape, is included in the margin area, has width direction both ends orthogonal to the long direction, and has both ends in the width direction.
  • a printed circuit board assembly sheet provided with a conductor end made of the conductor layer.
  • the present invention (8) is a wiring circuit assembly sheet that divides a product area in which a plurality of wiring circuit boards as products are arranged and a margin area surrounding the product area, wherein the wiring circuit board includes:
  • the wiring circuit assembly sheet includes a support substrate made of a metal-based layer, the wiring circuit assembly sheet has a long shape, is included in the margin area, has both ends in a width direction orthogonal to the long direction, and has a width
  • the printed circuit board assembly sheet includes metal-based ends that are disposed at both ends in the direction and that includes the metal-based layer.
  • the present invention (9) is the method for manufacturing a wiring circuit assembly sheet according to (3), wherein a first etching resist is disposed on the conductor layer so as to correspond to the wiring and the dummy wiring.
  • a method for manufacturing a wiring circuit board assembly sheet comprising one step and a second step of forming the wiring and the dummy wiring by etching the conductor layer exposed from the first etching resist.
  • the first step if the first etching resist is disposed on the conductor layer so as to correspond to the wiring and the dummy wiring, the side etching of the dummy wiring caused by the turbulent flow of the etching solution in the first area is performed in the second step.
  • the width of the dummy wiring cannot be sufficiently secured, the product region is hardly affected by the turbulence, and the width of the wiring can be sufficiently secured.
  • the conductor layer may be conveyed along a conveyance direction in a second step, and may be included in the second area and have both ends in a width direction orthogonal to the conveyance direction.
  • the first etching resist covers one side in the thickness direction of both ends in the width direction of the conductor layer, and protrudes from both ends in the width direction of the conductor layer to both outer sides in the width direction.
  • the first etching resist is formed so as to cover one surface in the thickness direction of both ends in the width direction of the conductor layer and to protrude from both ends in the width direction to both outer sides in the width direction of the conductor layer.
  • a place where the turbulence of the etching solution easily occurs can be kept away from the product area. Thereby, the influence of the disorder of the etching solution can be reduced in the product area.
  • the present invention (11) is the method for producing a wiring circuit assembly sheet according to (5), wherein a second etching resist is applied to the metal-based layer so as to correspond to the support substrate and the dummy support substrate.
  • Producing a wiring circuit board assembly sheet comprising: a third step of disposing; and a fourth step of etching the metal-based layer exposed from the second etching resist to form the support substrate and the dummy support substrate. Including methods.
  • the first step if the first etching resist is disposed on the metal-based layer so as to correspond to the support substrate and the dummy support substrate, in the second step, the dummy support caused by the turbulent flow of the etchant in the first area is formed. Even if the width of the dummy support substrate cannot be sufficiently secured by the side etching of the substrate, the product region is hardly affected by the turbulence, and the width of the wiring can be sufficiently secured.
  • the metal-based layer is transported in a transport direction in a fourth step, and is included in the second area and has both ends in a width direction orthogonal to the transport direction.
  • the second etching resist covers one side in the thickness direction of both ends in the width direction of the metal-based layer, and extends from the both ends in the width direction to both outsides in the width direction of the metal-based layer.
  • Etching is performed by forming the first etching resist so as to cover one surface in the thickness direction of both ends in the width direction of the metal-based layer and to project outward from both ends in the width direction of the metal-based layer.
  • a place where the turbulence of the etchant is likely to occur can be kept away from the product area. Thereby, the influence of the disorder of the etching solution can be reduced in the product area.
  • the printed circuit board assembly sheet of the present invention has excellent printed circuit board reliability.
  • the method for manufacturing a printed circuit board assembly sheet of the present invention can easily manufacture a printed circuit board having excellent reliability.
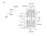
  • FIG. 1 shows a plan view of a first embodiment of a printed circuit board assembly sheet of the present invention.
  • 2A to 2D are manufacturing process diagrams of the printed circuit board assembly sheet shown in FIG. 1, and are cross-sectional views along the line AA in FIG. 1.
  • FIG. Shows a resist disposing step
  • FIG. 2C shows an etching step
  • FIG. 2D shows a resist removing step and a cover step.
  • FIG. 3 shows a plan view of a modification of the first embodiment.
  • FIG. 4 shows a plan view of the printed circuit board assembly sheet of the second embodiment.
  • 5A to 5C are cross-sectional views of the printed circuit board assembly sheet shown in FIG. 4 along the line AA in FIG. 4, where FIG. 5A is a resist arrangement step, and FIG. FIG.
  • FIG. 5C shows a resist removing step and a cover step.
  • 6A to 6C are manufacturing process diagrams (cross-sectional views) of the printed circuit board assembly sheet of the third embodiment.
  • FIG. 6A shows a base material preparing process
  • FIG. 6B shows a first resist disposing process
  • FIG. One etching step is shown.
  • 7 is a manufacturing process diagram (cross-sectional view) of the printed circuit board assembly sheet of the third embodiment, following FIG. 6C
  • FIG. 7D shows a first resist removing process
  • FIG. 7E shows a base layer forming process
  • FIG. 7F shows the cover step.
  • FIG. 8 is a manufacturing process diagram (cross-sectional view) of the printed circuit board assembly sheet according to the third embodiment, following FIG. 7F.
  • FIG. 8G shows a second resist disposing process
  • FIG. FIG. 7I shows the second resist removing step.
  • a first embodiment of the printed circuit board assembly sheet of the present invention will be described with reference to FIGS. 1 to 2D.
  • FIG. 1 is an enlarged view of the printed circuit board and the dummy printed circuit board, and the hatched figure in the lower right is a view in which each area is divided according to the type of hatching. .
  • the printed circuit board assembly sheet 1 has a long sheet shape extending in the longitudinal direction.
  • the printed circuit board assembly sheet 1 has a predetermined length in a width direction orthogonal to the longitudinal direction.
  • the printed circuit board assembly sheet 1 has one surface and the other surface facing each other at an interval in a thickness direction orthogonal to the longitudinal direction and the width direction.
  • the printed circuit board assembly sheet 1 includes a support sheet 2 and a plurality of printed circuit boards 3.
  • the support sheet 2 has the same planar view shape (outer shape) as the printed circuit board assembly sheet 1.
  • Examples of the material of the support sheet 2 include a resin such as polyimide.
  • the thickness of the support sheet 2 is, for example, 1 ⁇ m or more and 1 mm or less.
  • the printed circuit board 3 has a substantially rectangular shape in plan view.
  • a plurality of printed circuit boards 3 are arranged on the support sheet 2.
  • Each of the plurality of printed circuit boards 3 is supported on the support sheet 2 so as to be separable.
  • an opening 14 is formed around the printed circuit board 3, and the printed circuit board 3 is Are connected to the support sheet 2.
  • the opening 14 has a substantially rectangular frame shape surrounding the printed circuit board 3 in a plan view, and penetrates in the thickness direction of the support sheet 2.
  • the joint 24 crosses the opening 14, thereby suspending the support sheet 2 on the printed circuit board 3.
  • the joint 24 has the same material and thickness as the support sheet 2.
  • the layer configuration of the printed circuit board 3 will be described later.
  • the printed circuit board 3 is a product in the printed circuit board assembly sheet 1 unlike the dummy printed circuit board 11 described later.
  • a product area 4 and a margin area 5 are defined.
  • the product region 4 is a region partitioned into a substantially rectangular shape in a plan view, and in the printed circuit board assembly sheet 1, a sufficient interval between each other in the longitudinal direction and the width direction (specifically, a margin region 5 described later is formed). (Provided area).
  • the plurality of printed circuit boards 3 are arranged and arranged with a slight gap 25 therebetween. More specifically, in the product area 4, the adjacent printed circuit boards 3 are separated from each other by minute gaps 25, and the gaps 25 improve the yield of the printed circuit boards 3 in the printed circuit board assembly sheet 1. From the viewpoint, it is set as small (narrow) as possible.
  • the ratio of the length (width) of the gap 25 separating the adjacent printed circuit boards 3 to the width of the printed circuit board 3 is, for example, 0.1 or less, preferably 0.01 or less, more preferably 0.001 or less. And, for example, 0.0001 or more.
  • the length (width) of the gap 25 separating the adjacent printed circuit boards 3 is, for example, 100 ⁇ m or less, preferably 50 ⁇ m or less, more preferably 10 ⁇ m or less, and for example, 0.1 ⁇ m or less. That is all.
  • all the gaps 25 have the same width. That is, the printed circuit boards 3 are arranged and arranged with the gap 25 having the same width therebetween.
  • the margin region 5 surrounds the product region 4.
  • the margin region 5 has a substantially rectangular frame shape surrounding one product region 4.
  • the margin region 5 has a substantially cross-girder shape and a band-like shape extending in the longitudinal direction along both edges in the width direction of the support sheet 2 in plan view in the printed circuit board assembly sheet 1. . That is, regarding the margin region 5 having a substantially cross-girder shape, one margin region 5 corresponding to one product region 4A and another margin region 5 corresponding to another product region 4B adjacent to the one product region 4A are different from each other. , Is continuous.
  • the margin area 5 has a first area 6 and a second area 7.
  • the first area 6 is hatched by oblique lines from upper left to lower right
  • the second area 7 is hatched by oblique lines from upper right to lower left.
  • the first area 6 is adjacent to the product area 4. Specifically, the first area 6 is arranged near the product region 4, that is, close to the periphery of the product region 4.
  • the first area 6 is divided into a substantially rectangular frame shape in plan view that surrounds the vicinity just outside the product area 4. That is, the inner size of the first area 6 is set substantially equal to the outer size of the product area 4.
  • a dummy wiring circuit board 11 described later is arranged in the first area 6.
  • the second area 7 is located on the opposite side of the product area 4 with respect to the first area 6. That is, the second area 7 is remote from the product area 4 via the first area 6. In other words, the second area 7 surrounds the first area 6.
  • the second area 7 is divided into a substantially rectangular frame shape in plan view surrounding the area immediately outside the first area 6. That is, the inner size of the second area 7 is set to be substantially the same as the outer size of the first area 6.
  • the second area 7 located between the two adjacent product areas 4A and 4B is shared by the two product areas 4A and 4B.
  • the second area 7 is defined as a blank area in the margin area 5.
  • the first area 6 and the second area 7 are arranged in order toward the outside of the product area 4 (outside in the plane perpendicular to the thickness direction).
  • the margin region 5 does not include the gap 25 in the product region 4, that is, is distinguished from the gap 25.
  • the width of the margin region 5 is sufficiently large.
  • the ratio of the width of the margin region 5 to the width of the product region 4 is, for example, 10 or more. It is preferably at least 100, more preferably at least 1,000, and for example, at most 100,000.
  • the width of the margin region 5 between the product regions 4A and 4B adjacent in the width direction is the length in the width direction.
  • the width of the margin region 5 between the product regions 4A and 4C adjacent in the longitudinal direction is the longitudinal length.
  • the width of the margin region 5 located on the outermost side in the width direction is the widthwise length between the widthwise edge of the margin region 5 and the product region 4A (or 4C) located on the outermost side in the widthwise direction.
  • the width direction length, the length direction length, and the like of the margin region 5 can be collectively referred to as the width direction of the margin region 5.
  • the length in the short direction of the margin region 5 is, for example, 5 mm or more, preferably 10 mm or more, more preferably 20 mm or more, and is, for example, 50 mm or less.
  • the printed circuit board 3 covers the base layer 8, the wiring 9 disposed on one surface in the thickness direction of the base layer 8, and the wiring 9 on one surface in the thickness direction of the base layer 8. And a cover layer 10 (virtual line) disposed on the second side.
  • the base layer 8 has the same planar shape as the printed circuit board 3.
  • the base layer 8 is separated from the surrounding support sheet 2 by an opening 14 (see FIG. 1).
  • the material and thickness of the base layer 8 are the same as those of the support sheet 2.
  • the wiring 9 has a pattern included in the base layer 8 in a plan view.
  • the pattern shape of the wiring 9 is not particularly limited, and is appropriately set according to the application and purpose.
  • the wiring 9 includes, for example, a signal line (such as a differential wiring), a power line (such as a power wiring), a ground line (such as a ground line), an antenna line (such as a transmission / reception line), and the like.
  • the wiring 9 may further include, for example, an auxiliary unit (a terminal or the like) (not illustrated) corresponding to the function of each wiring described above in a plan view.
  • the wiring 9 is made of a conductor layer 15 (see FIGS. 2A and 2B) described later.
  • Examples of the material of the wiring 9 include a conductor such as a metal-based material (specifically, a metal material).
  • a metal-based material include metal elements classified into Groups 1 to 16 in the periodic table and alloys containing two or more of these metal elements.
  • the metal-based material may be either a transition metal or a typical metal. More specifically, examples of the metal-based material include Group 2 metal elements such as calcium, Group 4 metal elements such as titanium and zirconium, Group 5 metal elements such as vanadium, chromium, molybdenum, and tungsten.
  • Group 6 metal elements Group 7 metal elements such as manganese, Group 8 metal elements such as iron, Group 9 metal elements such as cobalt, Group 10 metal elements such as nickel and platinum, copper, silver, gold, etc.
  • Group 11 metal element a Group 12 metal element such as zinc, a Group 13 metal element such as aluminum and gallium, and a Group 14 metal element such as germanium and tin. These can be used alone or in combination.
  • the ratio of the thickness of the wiring 9 to the thickness of the base layer 8 is, for example, 0.5 or more, preferably 1.0 or more, more preferably 1.5 or more, and for example, 3.0 or less. is there. Specifically, the thickness of the wiring 9 is, for example, 1 ⁇ m or more and 1000 ⁇ m or less.
  • the width of the wiring 9 is, for example, not less than 10 ⁇ m and not more than 1000 ⁇ m.
  • the cover layer 10 covers one surface of the base layer 8 exposed from the wiring 9 and the side surface and one surface in the thickness direction of the wiring 9.
  • the material of the cover layer 10 is the same as the material of the base layer 8.
  • the ratio of the thickness of the cover layer 10 to the thickness of the base layer 8 is, for example, 0.2 or more, preferably 0.3 or more, more preferably 0.5 or more, and, for example, 2.0 or less. It is. Specifically, the thickness of the cover layer 10 is, for example, not less than 25 ⁇ m and not more than 1000 ⁇ m.
  • the dummy wiring circuit board 11 is arranged in the first area 6. Specifically, the dummy wiring circuit board 11 is arranged in the entire first area 6. Specifically, in the first area 6, a plurality of the dummy wiring circuit boards 11 are arranged in a line along the frame forming the first area 6 at intervals.
  • the dummy wiring circuit board 11 includes a first dummy wiring circuit board 26 arranged on both sides in the longitudinal direction and a width direction of the product region 4 and a second dummy wiring board arranged diagonally outside the product region 4. And a circuit board 27.
  • the first dummy wiring circuit boards 26A arranged on both sides in the longitudinal direction of the product region 4 are arranged in one row at intervals in the width direction.
  • the pitch in the width direction of the first dummy wiring circuit board 26A and the pitch in the width direction of the wiring circuit board 3 are the same.
  • the length and the interval in the width direction of the first dummy wiring circuit board 26A are the same as the length and the interval in the width direction of the wiring circuit board 3 respectively.
  • the longitudinal length L1 of the first dummy wired circuit board 26A and the longitudinal length L0 of the wired circuit board 3 satisfy, for example, the following expression (5), and preferably satisfy the following expression (6). Satisfies, more preferably, satisfies the following expression (7), and satisfies the following expression (8).
  • L1 ⁇ L0 (5) L1 ⁇ 0.5 ⁇ L0 (6)
  • the first dummy wiring circuit boards 26B arranged on both sides in the width direction of the product region 4 are arranged in one row at intervals in the longitudinal direction.
  • the longitudinal pitch of the first dummy printed circuit board 26B and the longitudinal pitch of the printed circuit board 3 are the same. Specifically, the length and the interval in the longitudinal direction of the first dummy wired circuit board 26B are the same as the length and the interval in the longitudinal direction of the wired circuit board 3 respectively.
  • the width direction length W1 of the first dummy wiring circuit board 26B and the width direction length W0 of the wiring circuit board 3 satisfy, for example, the following expression (9), and preferably satisfy the following expression (10). Satisfies, more preferably, satisfies the following expression (11), and also satisfies the following expression (12).
  • W1 ⁇ W0 (9) W1 ⁇ 0.5 ⁇ W0 (10) W1 ⁇ 0.25 ⁇ W0 (11) 0.001 ⁇ W0 ⁇ W1 (12)
  • the second dummy wiring circuit board 27 is smaller than the first dummy wiring circuit board 26.
  • the length L2 and the width W2 of the second dummy wiring circuit board 27 are respectively equal to the length L1 of the first dummy wiring circuit board 26A arranged on both sides in the longitudinal direction of the product area 4, and 4 is the same as the width W1 of the first dummy wiring circuit board 26B disposed on both sides in the width direction.
  • the second dummy wiring circuit board 27 is arranged at each of the four corners of the frame forming the first area 6.
  • the printed circuit board 3, the first dummy printed circuit board 26, and the second dummy printed circuit board 27 are separated by an equal interval (a minute gap 25). They are arranged.
  • the dummy wiring circuit board 11 is smaller than the wiring circuit board 3. Specifically, the dummy printed circuit board 11 is smaller than the printed circuit board 3 in a plan view. More specifically, the plane area S1 of the dummy printed circuit board 11 and the plane area S0 of the printed circuit board 3 are expressed by the following formula. It satisfies (13), preferably satisfies the following expression (14), more preferably satisfies the following expression (15), and still more preferably satisfies the following expression (16).
  • the dummy printed circuit board 11 has the same layer configuration as the printed circuit board 3, unlike the printed circuit board 3, the dummy printed circuit board 11 is not collected (collected) from the printed circuit board assembly sheet 1 as a product, and is supported by the support sheet 2. And remain in the state. That is, the dummy wiring circuit board 11 is not a product.
  • the dummy wiring circuit board 11 includes a dummy base layer 12 and a dummy wiring 13 arranged on one surface of the dummy base layer 12 in the thickness direction.
  • Dummy base layer 12 and dummy wiring 13 have the same layer configuration and thickness as base layer 8 and wiring 9 of printed circuit board 3.
  • the dummy base layer 12 is partitioned by the openings 14 (see FIG. 1).
  • Dummy wiring 13 is formed of conductor layer 15 # (see FIGS. 2A and 2B).
  • the width of the dummy wiring 13 is allowed to be smaller than the width of the wiring 9.
  • the width W6 of the dummy wiring 13 and the width W5 of the wiring 9 satisfy the following expression (17), and further satisfy the following expression (18).
  • W6 ⁇ W5 (17) 0.01 ⁇ W5 ⁇ W6 ⁇ 0.5 ⁇ W5 (18)
  • a method of manufacturing the printed circuit board assembly sheet 1 will be described.
  • the method of manufacturing the printed circuit board assembly sheet 1 includes a base material preparing step, a resist arranging step as an example of a first step, an etching step as an example of a second step, and resist removal. Process and a cover process.
  • the method of manufacturing the printed circuit board assembly sheet 1 is performed, for example, according to a roll-to-roll method.
  • a roll-to-roll method in a device for manufacturing each layer (not shown), a take-up roll and a take-up roll ( Each of them is not shown), and in each step, each member that is unwound from the unwinding roll is unwound toward the take-up roll.
  • a two-layer base material 16 including the support sheet 2 and the conductor layer 15 arranged on one surface in the thickness direction of the support sheet 2 is prepared.
  • the two-layer substrate 16 preferably includes only the support sheet 2 and the conductor layer 15.
  • the support sheet 2 has not been formed with the above-described opening 14 (see the upper right diagram in FIG. 1), and therefore, is a long sheet that is continuous in the longitudinal direction and has no opening 14. Be prepared.
  • the conductor layer 15 is disposed on the entire surface of one side in the thickness direction of the support sheet 2.
  • a pattern corresponding to the wirings 9 and the dummy wirings 13 has not been formed yet, and the conductive layer 15 is prepared as a long conductive sheet continuous in the longitudinal direction.
  • the material and thickness of the conductor layer 15 are the same as those of the wiring 9 described above.
  • a resin is applied to the other surface in the thickness direction of the conductor layer 15 and then dried to form the support sheet 2.
  • a two-layer base material 16 provided in advance with the support sheet 2 and the conductor layer 15 can be prepared as it is.
  • the first etching resist 17 is disposed on one surface in the thickness direction of the conductor layer 15 so as to correspond to the wiring 9 and the dummy wiring 13 (see FIG. 2C).
  • first etching resist 17 is formed on the conductor layer 15, although not shown, for example, first, a sheet-like dry film resist is arranged on one entire surface of the conductor layer 15 in the thickness direction. Next, a first etching resist 17 is formed from the dry film resist by photolithography (exposure and development) so as to have a shape corresponding to the wiring 9 and the dummy wiring 13.
  • the first etching resist 17 includes a resist product part 18 corresponding to the wiring 9 and a resist dummy part 19 corresponding to the dummy wiring 13.
  • Each of the resist product section 18 and the resist dummy section 19 has the same width as the wiring 9 to be formed next in plan view.
  • a resist laminate 20 including the support sheet 2, the conductor layer 15, and the first etching resist 17 in order toward one side in the thickness direction is manufactured.
  • an etching apparatus (not shown) having a discharge port (a nozzle, a shower head, etc.) is used.
  • the discharge ports (not shown) are arranged on one side in the thickness direction of the resist laminate 20, and are arranged in parallel in the width direction of the resist laminate 20. Are provided so as to oppose to each other.
  • the etching solution comes in contact with the resist product portion 18 and the conductor layer 15 exposed from the discharge port, reaches the resist dummy portion 19 disposed outside the resist product portion 18, and then continues. As a result, it falls into the conductor layer 15 corresponding to the second area 7.
  • the etchant spreads from the resist product portion 18 toward the resist dummy portion 19, and then, from the resist dummy portion 19, the etchant just before falling into the conductor layer 15 corresponding to the second area 7, that is, the resist dummy portion 19
  • the turbulence occurs in the etching around. Therefore, the etching solution contacts the conductor layer 15 exposed from the resist dummy portion 19 at a high speed, so that the etching rate of the conductor layer 15 increases.
  • an over-etched dummy wiring 13 is formed.
  • the width of the dummy wiring 13 is smaller than the width of the resist dummy portion 19.
  • the resist product portion 18 is disposed on the inner side of the resist dummy portion 19 with the resist dummy portion 19 interposed therebetween, so that the influence of the turbulence described above is small (it is hard to be affected).
  • This suppresses the increase in the speed of the etchant caused by the above. Therefore, an increase in the etching rate is also suppressed, so that the above-described over-etching is suppressed.
  • the width of the wiring 9 becomes the same as the width of the resist product portion 18. That is, the patterning accuracy of the wiring 9 is high.
  • the first etching resist 17 is removed by, for example, peeling.
  • the cover layer 10 is disposed on one side in the thickness direction of the support sheet 2 so as to cover one surface and side surfaces in the thickness direction of the wiring 9.
  • the support sheet 2 is externally processed to form the opening 14.
  • a joint 24 (see FIG. 1) is formed.
  • the printed circuit board assembly sheet 1 is manufactured.
  • the printed circuit board 3 is separated from the support sheet 2 and collected (collected) from the printed circuit board assembly sheet 1.
  • the dummy wiring circuit board 11 remains supported by the support sheet 2 and is then discarded together with the support sheet 2.
  • the etchant falls from the product region 4 to the second area 7, the etchant drops and the first area 6
  • the accuracy of the dummy printed circuit board 11 arranged in the product region 4 is reduced, the influence of the turbulent flow of the etchant on the printed circuit board 3 is reduced. Is suppressed. Therefore, in the printed circuit board assembly sheet 1, the reliability of the printed circuit board 3 is excellent.
  • the printed circuit board 3 includes the wiring 9 formed of the conductor layer 15, and the dummy printed circuit board 11 includes the dummy wiring 13 formed of the conductor layer 15. Therefore, in the manufacture of the printed circuit board assembly sheet 1, the first etching resist 17 is disposed on the conductor layer 15 corresponding to the wiring 9 and the dummy wiring 13. When the etchant drops from the first area 6 to the second area 7 and the etchant drops, causing turbulence, the accuracy of the dummy wiring 13 is reduced, but the reduction of the accuracy of the wiring 9 is suppressed. You. Therefore, in the wired circuit board assembly sheet 1, the reliability of the wiring 9 is excellent.
  • the dummy wiring circuit board 11 is arranged over the entire first area 6, but the dummy wiring circuit board 11 may be arranged over a part of the first area 6. Good.
  • the dummy wiring circuit board 11 has the first dummy wiring circuit board 26 and does not have the second dummy wiring circuit board 27, the dummy wiring circuit board 11 has the second dummy wiring circuit board.
  • a second embodiment having the substrate 27 and not having the first dummy wiring circuit board 26 is exemplified.
  • the dummy wiring circuit board 11 is not arranged in the first area 6 arranged between the product areas 4 which are adjacent (close to each other) in the longitudinal direction. 6, a dummy wiring circuit board 11 may be arranged.
  • each first area 6 the dummy wiring circuit board 11 is arranged along a substantially U-shaped line in plan view.
  • Second Embodiment In the following second embodiment, the same members and steps as those in the first embodiment described above are denoted by the same reference numerals, and detailed description thereof will be omitted. Further, the first embodiment and the second embodiment can be appropriately combined. Further, the second embodiment can achieve the same functions and effects as those of the first embodiment except for special mention.
  • FIG. 4 the conductor end portions 28 (described later) are hatched to clearly show the arrangement and the shape.
  • the resist end portion 21 (described later) is not provided in the printed circuit board assembly sheet 1, it is used in the course of its manufacture, and is shown by a virtual line.
  • the entire second area 7 is defined as a blank area, but as shown in FIGS. 4 and 5C, the conductor end 28 is It may be provided in the printed circuit board assembly sheet 1 so as to be partially included.
  • the printed circuit board assembly sheet 1 includes the conductor end 28 independent of the wiring 9 and the dummy wiring 13.
  • the conductor ends 28 are arranged at both ends in the width direction of the support sheet 2. Each of the two conductor ends 28 has a substantially band shape extending in the longitudinal direction. Note that the conductor end 28 is partially included in the second area 7, but not included in the first area 6.
  • the widthwise outer edge of the conductor end 28 coincides with the widthwise outer edge of the support sheet 2 in plan view.
  • the inner edge in the width direction of the conductor end portion 28 coincides with the boundary between the second area 7 and the first area 6 in plan view, and specifically, has a slight distance from the outer dummy wiring 13. Are arranged at intervals.
  • a first etching resist 17 having a resist end 21 is arranged on the two-layer base material 16 in a resist arranging step.
  • the first etching resist 17 includes a resist product part 18 and a resist dummy part 19, and further includes a resist end part 21.
  • the resist end portion 21 integrally includes a resist base end portion 22 and a resist projecting portion 23.
  • the resist base end portion 22 is arranged corresponding to the conductor end portion 28. Specifically, in the same pattern as the conductor end portion 28, the resist base end portion 22 is arranged on one surface and the other surface in the thickness direction of the two-layer base material 16. ing.
  • the resist projecting portion 23 is a free end projecting from each outer end surface in the width direction of the resist base end portion 22 to both outer sides in the width direction.
  • the resist projecting portion 23 has a substantially blade shape extending from each of the outer end surfaces in the width direction of the two-layer base material 16 to both outer sides in the width direction.
  • the resist protrusion 23 has a substantially band shape in plan view extending in the longitudinal direction in parallel with the resist base end 22 as shown by a virtual line in FIG.
  • the width (projection length) W7 of the resist projecting portion 23 and the width (length in the width direction) W8 of the resist base end portion 22 are such that the resist end portion 21 has the tip (outer edge in the width direction) of the resist projecting portion 23. It is set so that the etching liquid immediately before falling from the area (area) sufficiently stays (described later).
  • the etching solution discharged from the discharge port to the resist product portion 18 and the resist dummy portion 19 flows slowly (or stays) at the resist base end portion 22 and then protrudes from the resist. It falls from the tip edge of the part 23 to the other side in the thickness direction.
  • the conductor end 28 is formed from the conductor layer 15 that covers the resist base end 22.
  • the first etching resist 17 is removed.
  • the printed circuit board assembly sheet 1 including the conductor end portions 28 is manufactured.
  • the wiring circuit assembly sheet 1 has a long shape, and the wiring circuit board assembly sheet 1 is manufactured while transporting the resist laminate 20 in the long direction.
  • the resist base end portion 22 supports the resist protrusion 23. Since the resist base end portions 22 are arranged on both sides in the thickness direction of the two-layer base material 16, the resist protruding portions 23 are more firmly supported.
  • the resist end portion 21 in the resist disposing step, has the resist base end portion 22 and the resist projecting portion 23.
  • the resist end portion 21 does not have the resist projecting portion 23, and 22.
  • the manufactured printed circuit board assembly sheet 1 includes the conductor end portion 28.
  • the printed circuit board assembly sheet 1 includes the dummy printed circuit board 11 and the conductor end 28.
  • the printed circuit board aggregate sheet 1 does not include the dummy printed circuit board 11 and includes the conductor end 28. You can also.
  • the etching solution can sufficiently stay at the resist end portion 21 in the etching step, and the disturbance of the etching solution in the product region 4 can be suppressed.
  • the dummy wiring circuit board 11 includes the wiring 9, but in the third embodiment, as shown in FIG. 8I, the dummy wiring circuit board 11 further includes a dummy support board. 32.
  • the dummy wiring 13 is formed as shown in FIGS. 6B to 6C, and then the dummy wiring 13 is formed as shown in FIGS. 8G to 8H.
  • the support substrate 32 is formed.
  • the method of manufacturing the printed circuit board assembly sheet 1 includes two resist disposing steps, two etching steps, and two resist removing steps.
  • the method of manufacturing the wiring circuit board assembly sheet 1 includes a base material preparing step, a first resist arranging step as an example of a first step, a first etching step as an example of a second step, and a first resist removing step.
  • a three-layer base material 34 including the metal-based layer 30, the resin layer 33, and the conductor layer 15 is prepared.
  • the metal-based layer 30 is a sheet that forms the other surface in the thickness direction of the three-layer base material 34.
  • Examples of the material of the metal-based layer 30 include the metal-based materials exemplified as the material of the metal-based layer 30.
  • the resin layer 33 is disposed on one surface in the thickness direction of the metal-based layer 30.
  • Examples of the material of the resin layer 33 include the resins exemplified for the support sheet 2 of the first embodiment.
  • the conductor layer 15 is arranged on one surface in the thickness direction of the resin layer 33 and forms one surface in the thickness direction of the three-layer base material 34.
  • the first etching resist 17 having the resist end 21 is disposed on one surface and the other surface in the thickness direction of the three-layer base material 34.
  • the conductor layer 15 exposed from the resist product part 18, the resist dummy part 19 and the resist end part 21 is etched to form the wiring 9, the dummy wiring 13 and the conductor end part 28. Form.
  • the first etching resist 17 is removed.
  • the resin layer 33 is patterned to form the base layer 8, the dummy base layer 12, and the base end 37.
  • the base end 37 has a pattern corresponding to the conductor end 28.
  • the cover layer 10 is disposed.
  • the second etching resist 29 is disposed on the metal-based layer 30 as shown in FIG. 8G.
  • the second etching resist 29 includes a second resist product part 38 corresponding to the support substrate 31, a second resist dummy part 39 corresponding to the dummy support substrate 32, and the resist end 21.
  • the second resist product part 38 is arranged on the other surface in the thickness direction of the metal-based layer 30 and has the same pattern as the support substrate 31 (see FIG. 8H) in plan view.
  • the second resist dummy portion 39 is disposed on the other surface in the thickness direction of the metal-based layer 30 and on one surface in the thickness direction of the dummy base layer 12, and is the same as the dummy support substrate 32 (see FIG. 8H) in plan view. Has a pattern.
  • the resist end 21 has a resist base end 22 and a resist protrusion 23 integrally.
  • the metal-based layer 30 exposed from the second etching resist 29 (the base layer 8 and the cover layer 10) is etched to support the support substrate 31, the dummy support substrate 32 and the support substrate 31.
  • a substrate end 36 is formed.
  • the support substrate end 36 has the same shape as the conductor end 28 in a plan view.
  • the second etching resist 29 is removed.
  • the printed circuit board assembly sheet 1 including the printed circuit board 3, the dummy printed circuit board 11, the conductor end 28, and the support board end 36 is obtained.
  • the second etching resist 29 corresponding to the support substrate 31 and the dummy support substrate 32 is disposed on the metal-based layer 30.
  • the etchant reaches the second area 7 from the first area 6, the etchant drops, causing turbulence, and the accuracy of the dummy support substrate 32 is reduced. Since the influence of the flow is reduced, a decrease in the accuracy of the support substrate 31 is suppressed. Therefore, in the printed circuit board assembly sheet 1, the reliability of the support substrate 31 is excellent.
  • the printed circuit board assembly sheet 1 has an elongated shape, and while the metal-based layer 30 provided with the second etching resist 29 is transported in the elongated direction, The printed circuit board assembly sheet 1 is manufactured by etching.
  • a place where the turbulence of the etchant easily occurs can be moved away from the resist product section 18 by the resist protrusion 23 as shown in FIG. 8G.
  • the influence of the disorder of the etching solution can be reduced in the resist product section 18.
  • the resist base end portion 22 supports the resist protrusion 23. Since the resist base end portions 22 are arranged on both sides in the thickness direction of the two-layer base material 16, the resist protruding portions 23 are more firmly supported.
  • the dummy support substrate 32 and the dummy wiring 13 are formed. Further, in the first embodiment, the dummy wiring 13 is formed.
  • the dummy support substrate 32 can be formed without forming the dummy wiring 13.
  • the printed circuit board assembly sheet is used for various purposes.

Landscapes

  • Engineering & Computer Science (AREA)
  • Microelectronics & Electronic Packaging (AREA)
  • Manufacturing & Machinery (AREA)
  • Structure Of Printed Boards (AREA)
  • Manufacturing Of Printed Circuit Boards (AREA)
PCT/JP2019/027676 2018-08-10 2019-07-12 配線回路基板集合体シートおよびその製造方法 Ceased WO2020031615A1 (ja)

Priority Applications (2)

Application Number Priority Date Filing Date Title
US17/265,922 US11503716B2 (en) 2018-08-10 2019-07-12 Wiring circuit board assembly sheet and producing method thereof
CN201980052621.5A CN112544125B (zh) 2018-08-10 2019-07-12 布线电路基板集合体片及其制造方法

Applications Claiming Priority (2)

Application Number Priority Date Filing Date Title
JP2018151348A JP7003012B2 (ja) 2018-08-10 2018-08-10 配線回路基板集合体シートおよびその製造方法
JP2018-151348 2018-08-10

Publications (1)

Publication Number Publication Date
WO2020031615A1 true WO2020031615A1 (ja) 2020-02-13

Family

ID=69413804

Family Applications (1)

Application Number Title Priority Date Filing Date
PCT/JP2019/027676 Ceased WO2020031615A1 (ja) 2018-08-10 2019-07-12 配線回路基板集合体シートおよびその製造方法

Country Status (5)

Country Link
US (1) US11503716B2 (enExample)
JP (1) JP7003012B2 (enExample)
CN (1) CN112544125B (enExample)
TW (1) TWI835831B (enExample)
WO (1) WO2020031615A1 (enExample)

Cited By (1)

* Cited by examiner, † Cited by third party
Publication number Priority date Publication date Assignee Title
JPWO2023162367A1 (enExample) * 2022-02-24 2023-08-31

Families Citing this family (3)

* Cited by examiner, † Cited by third party
Publication number Priority date Publication date Assignee Title
JP6970230B2 (ja) 2020-03-24 2021-11-24 日東電工株式会社 配線回路基板集合体シート
JP6979486B1 (ja) * 2020-06-25 2021-12-15 日東電工株式会社 配線回路基板集合体シートおよびその製造方法
WO2025022857A1 (ja) * 2023-07-26 2025-01-30 日本発條株式会社 剥離フィルム付き回路パターン集合体の製造方法、回路基板の製造方法、及び剥離フィルム付き回路パターン集合体

Citations (3)

* Cited by examiner, † Cited by third party
Publication number Priority date Publication date Assignee Title
JPS5994894A (ja) * 1982-11-22 1984-05-31 日本電気株式会社 薄膜パタ−ンの形成方法
JP2004140587A (ja) * 2002-10-17 2004-05-13 Toyo Aluminium Kk アンテナ回路構成体およびそれを備えた機能カード
JP2012038914A (ja) * 2010-08-06 2012-02-23 Nitto Denko Corp 配線回路基板集合体シートおよびその製造方法

Family Cites Families (17)

* Cited by examiner, † Cited by third party
Publication number Priority date Publication date Assignee Title
JP2000200957A (ja) * 1999-01-07 2000-07-18 Sharp Corp プリント基板の製造方法
JP2000208881A (ja) * 1999-01-12 2000-07-28 Nitto Denko Corp プリント配線板の導体パタ―ン形成方法およびプリント配線板
JP3172509B2 (ja) * 1999-07-02 2001-06-04 日本特殊陶業株式会社 配線基板集合体の製造方法
JP4572096B2 (ja) * 2004-08-02 2010-10-27 Nec液晶テクノロジー株式会社 積層金属膜パターン形成方法
JP2006120867A (ja) * 2004-10-21 2006-05-11 Nitto Denko Corp 配線回路基板の製造方法
JP4515276B2 (ja) * 2005-01-31 2010-07-28 日東電工株式会社 配線回路基板集合体
JP2007048963A (ja) 2005-08-10 2007-02-22 Sharp Corp プリント配線板の製造方法、プリント配線板用フォトマスク、およびフォトマスク作成プログラム
KR100797682B1 (ko) * 2007-02-07 2008-01-23 삼성전기주식회사 인쇄회로기판의 제조방법
KR20090054817A (ko) * 2007-11-27 2009-06-01 삼성전기주식회사 인쇄회로기판
JP2010192530A (ja) * 2009-02-16 2010-09-02 Hitachi Cable Ltd 半導体装置用テープキャリアの製造方法
KR101066642B1 (ko) * 2009-08-31 2011-09-22 삼성전기주식회사 인쇄회로기판 제조방법
JP2011135153A (ja) * 2009-12-22 2011-07-07 Toppan Printing Co Ltd アンテナシートおよびアンテナシートを備えた非接触ic媒体
KR101048717B1 (ko) * 2010-01-19 2011-07-14 삼성전기주식회사 인쇄회로기판 스트립 및 전자소자 내장형 인쇄회로기판 제조방법
JP5539800B2 (ja) * 2010-07-07 2014-07-02 日本特殊陶業株式会社 配線基板の中間製品及び配線基板の製造方法
JP5565182B2 (ja) * 2010-08-05 2014-08-06 大日本印刷株式会社 支持枠付サスペンション用基板およびその製造方法
KR20120036446A (ko) * 2010-10-08 2012-04-18 삼성전자주식회사 보드 온 칩 패키지용 인쇄회로기판, 이를 포함하는 보드 온 칩 패키지 및 이의 제조 방법
JP2016143725A (ja) * 2015-01-30 2016-08-08 イビデン株式会社 プリント配線板およびその製造方法

Patent Citations (3)

* Cited by examiner, † Cited by third party
Publication number Priority date Publication date Assignee Title
JPS5994894A (ja) * 1982-11-22 1984-05-31 日本電気株式会社 薄膜パタ−ンの形成方法
JP2004140587A (ja) * 2002-10-17 2004-05-13 Toyo Aluminium Kk アンテナ回路構成体およびそれを備えた機能カード
JP2012038914A (ja) * 2010-08-06 2012-02-23 Nitto Denko Corp 配線回路基板集合体シートおよびその製造方法

Cited By (3)

* Cited by examiner, † Cited by third party
Publication number Priority date Publication date Assignee Title
JPWO2023162367A1 (enExample) * 2022-02-24 2023-08-31
WO2023162367A1 (ja) * 2022-02-24 2023-08-31 住友電気工業株式会社 伝送基板の製造方法
JP7790546B2 (ja) 2022-02-24 2025-12-23 住友電気工業株式会社 伝送基板の製造方法

Also Published As

Publication number Publication date
TWI835831B (zh) 2024-03-21
US20210185826A1 (en) 2021-06-17
JP2020027848A (ja) 2020-02-20
CN112544125B (zh) 2025-10-17
US11503716B2 (en) 2022-11-15
TW202010362A (zh) 2020-03-01
JP7003012B2 (ja) 2022-02-04
CN112544125A (zh) 2021-03-23

Similar Documents

Publication Publication Date Title
WO2020031615A1 (ja) 配線回路基板集合体シートおよびその製造方法
JP4515276B2 (ja) 配線回路基板集合体
CN104822228B (zh) 带电路的悬挂基板集合体板
CN103841772A (zh) 布线电路基板及其制造方法
CN102448252A (zh) 电路板制作方法
JP2004266144A (ja) フレキシブル配線回路基板
KR20090084710A (ko) 배선 회로 기판 및 그 제조 방법
JP2007048963A (ja) プリント配線板の製造方法、プリント配線板用フォトマスク、およびフォトマスク作成プログラム
WO2019230338A1 (ja) 配線回路基板集合体シート、その製造方法および配線回路基板の製造方法
JP4753749B2 (ja) 配線回路基板集合体シートおよびその製造方法
CN1976555B (zh) 布线电路板
JP7211930B2 (ja) 配線回路基板の製造方法
JP2013055365A (ja) 配線回路基板集合体シートの製造方法
CN115868253A (zh) 布线电路基板集合体片和其制造方法
JP7790546B2 (ja) 伝送基板の製造方法
TWI420993B (zh) 電路板製作方法
JP5554543B2 (ja) リードフレーム及び半導体装置の中間製品
US20240206053A1 (en) Wiring circuit board and method for producing wiring circuit board
JP4549939B2 (ja) 配線回路基板保持シート
JP3004397B2 (ja) フレキシブルプリント基板
JP6476492B2 (ja) リードフレーム集合基板及び半導体装置集合体、並びにリードフレーム集合基板及び半導体装置の製造方法
JP4645908B2 (ja) 半導体装置用テープキャリアの製造方法
JP2001076609A (ja) 回路保護素子及びその製造方法
KR101041004B1 (ko) 다열형 리드리스 프레임 및 반도체 패키지의 제조방법
JP4029201B2 (ja) サーミスタ素子の製造方法

Legal Events

Date Code Title Description
121 Ep: the epo has been informed by wipo that ep was designated in this application

Ref document number: 19847834

Country of ref document: EP

Kind code of ref document: A1

NENP Non-entry into the national phase

Ref country code: DE

122 Ep: pct application non-entry in european phase

Ref document number: 19847834

Country of ref document: EP

Kind code of ref document: A1

WWG Wipo information: grant in national office

Ref document number: 201980052621.5

Country of ref document: CN