WO2019013334A1 - セラミックス造形用粉体、セラミックス造形物、およびその製造方法 - Google Patents

セラミックス造形用粉体、セラミックス造形物、およびその製造方法 Download PDF

Info

Publication number
WO2019013334A1
WO2019013334A1 PCT/JP2018/026539 JP2018026539W WO2019013334A1 WO 2019013334 A1 WO2019013334 A1 WO 2019013334A1 JP 2018026539 W JP2018026539 W JP 2018026539W WO 2019013334 A1 WO2019013334 A1 WO 2019013334A1
Authority
WO
WIPO (PCT)
Prior art keywords
powder
ceramic
absorber
composition
particles
Prior art date
Legal status (The legal status is an assumption and is not a legal conclusion. Google has not performed a legal analysis and makes no representation as to the accuracy of the status listed.)
Ceased
Application number
PCT/JP2018/026539
Other languages
English (en)
French (fr)
Japanese (ja)
Inventor
安居 伸浩
薮田 久人
香菜子 大志万
齋藤 宏
良太 大橋
久保田 純
彰 上林
Current Assignee (The listed assignees may be inaccurate. Google has not performed a legal analysis and makes no representation or warranty as to the accuracy of the list.)
Canon Inc
Original Assignee
Canon Inc
Priority date (The priority date is an assumption and is not a legal conclusion. Google has not performed a legal analysis and makes no representation as to the accuracy of the date listed.)
Filing date
Publication date
Priority claimed from JP2018130952A external-priority patent/JP7011548B2/ja
Application filed by Canon Inc filed Critical Canon Inc
Priority to CN201880048475.4A priority Critical patent/CN110944814B/zh
Priority to EP18832882.7A priority patent/EP3636403A4/en
Priority to CN202210310657.2A priority patent/CN114633344B/zh
Publication of WO2019013334A1 publication Critical patent/WO2019013334A1/ja
Priority to US16/736,067 priority patent/US11718567B2/en
Anticipated expiration legal-status Critical
Priority to US17/932,823 priority patent/US12024469B2/en
Ceased legal-status Critical Current

Links

Images

Classifications

    • BPERFORMING OPERATIONS; TRANSPORTING
    • B28WORKING CEMENT, CLAY, OR STONE
    • B28BSHAPING CLAY OR OTHER CERAMIC COMPOSITIONS; SHAPING SLAG; SHAPING MIXTURES CONTAINING CEMENTITIOUS MATERIAL, e.g. PLASTER
    • B28B1/00Producing shaped prefabricated articles from the material
    • B28B1/30Producing shaped prefabricated articles from the material by applying the material on to a core or other moulding surface to form a layer thereon
    • BPERFORMING OPERATIONS; TRANSPORTING
    • B28WORKING CEMENT, CLAY, OR STONE
    • B28BSHAPING CLAY OR OTHER CERAMIC COMPOSITIONS; SHAPING SLAG; SHAPING MIXTURES CONTAINING CEMENTITIOUS MATERIAL, e.g. PLASTER
    • B28B1/00Producing shaped prefabricated articles from the material
    • B28B1/001Rapid manufacturing of 3D objects by additive depositing, agglomerating or laminating of material
    • BPERFORMING OPERATIONS; TRANSPORTING
    • B29WORKING OF PLASTICS; WORKING OF SUBSTANCES IN A PLASTIC STATE IN GENERAL
    • B29CSHAPING OR JOINING OF PLASTICS; SHAPING OF MATERIAL IN A PLASTIC STATE, NOT OTHERWISE PROVIDED FOR; AFTER-TREATMENT OF THE SHAPED PRODUCTS, e.g. REPAIRING
    • B29C64/00Additive manufacturing, i.e. manufacturing of three-dimensional [3D] objects by additive deposition, additive agglomeration or additive layering, e.g. by 3D printing, stereolithography or selective laser sintering
    • B29C64/10Processes of additive manufacturing
    • B29C64/141Processes of additive manufacturing using only solid materials
    • B29C64/153Processes of additive manufacturing using only solid materials using layers of powder being selectively joined, e.g. by selective laser sintering or melting
    • BPERFORMING OPERATIONS; TRANSPORTING
    • B32LAYERED PRODUCTS
    • B32BLAYERED PRODUCTS, i.e. PRODUCTS BUILT-UP OF STRATA OF FLAT OR NON-FLAT, e.g. CELLULAR OR HONEYCOMB, FORM
    • B32B18/00Layered products essentially comprising ceramics, e.g. refractory products
    • BPERFORMING OPERATIONS; TRANSPORTING
    • B33ADDITIVE MANUFACTURING TECHNOLOGY
    • B33YADDITIVE MANUFACTURING, i.e. MANUFACTURING OF THREE-DIMENSIONAL [3-D] OBJECTS BY ADDITIVE DEPOSITION, ADDITIVE AGGLOMERATION OR ADDITIVE LAYERING, e.g. BY 3-D PRINTING, STEREOLITHOGRAPHY OR SELECTIVE LASER SINTERING
    • B33Y10/00Processes of additive manufacturing
    • BPERFORMING OPERATIONS; TRANSPORTING
    • B33ADDITIVE MANUFACTURING TECHNOLOGY
    • B33YADDITIVE MANUFACTURING, i.e. MANUFACTURING OF THREE-DIMENSIONAL [3-D] OBJECTS BY ADDITIVE DEPOSITION, ADDITIVE AGGLOMERATION OR ADDITIVE LAYERING, e.g. BY 3-D PRINTING, STEREOLITHOGRAPHY OR SELECTIVE LASER SINTERING
    • B33Y70/00Materials specially adapted for additive manufacturing
    • B33Y70/10Composites of different types of material, e.g. mixtures of ceramics and polymers or mixtures of metals and biomaterials
    • CCHEMISTRY; METALLURGY
    • C04CEMENTS; CONCRETE; ARTIFICIAL STONE; CERAMICS; REFRACTORIES
    • C04BLIME, MAGNESIA; SLAG; CEMENTS; COMPOSITIONS THEREOF, e.g. MORTARS, CONCRETE OR LIKE BUILDING MATERIALS; ARTIFICIAL STONE; CERAMICS; REFRACTORIES; TREATMENT OF NATURAL STONE
    • C04B35/00Shaped ceramic products characterised by their composition; Ceramics compositions; Processing powders of inorganic compounds preparatory to the manufacturing of ceramic products
    • C04B35/01Shaped ceramic products characterised by their composition; Ceramics compositions; Processing powders of inorganic compounds preparatory to the manufacturing of ceramic products based on oxide ceramics
    • C04B35/10Shaped ceramic products characterised by their composition; Ceramics compositions; Processing powders of inorganic compounds preparatory to the manufacturing of ceramic products based on oxide ceramics based on aluminium oxide
    • C04B35/101Refractories from grain sized mixtures
    • C04B35/106Refractories from grain sized mixtures containing zirconium oxide or zircon (ZrSiO4)
    • CCHEMISTRY; METALLURGY
    • C04CEMENTS; CONCRETE; ARTIFICIAL STONE; CERAMICS; REFRACTORIES
    • C04BLIME, MAGNESIA; SLAG; CEMENTS; COMPOSITIONS THEREOF, e.g. MORTARS, CONCRETE OR LIKE BUILDING MATERIALS; ARTIFICIAL STONE; CERAMICS; REFRACTORIES; TREATMENT OF NATURAL STONE
    • C04B35/00Shaped ceramic products characterised by their composition; Ceramics compositions; Processing powders of inorganic compounds preparatory to the manufacturing of ceramic products
    • C04B35/01Shaped ceramic products characterised by their composition; Ceramics compositions; Processing powders of inorganic compounds preparatory to the manufacturing of ceramic products based on oxide ceramics
    • C04B35/10Shaped ceramic products characterised by their composition; Ceramics compositions; Processing powders of inorganic compounds preparatory to the manufacturing of ceramic products based on oxide ceramics based on aluminium oxide
    • C04B35/111Fine ceramics
    • C04B35/117Composites
    • CCHEMISTRY; METALLURGY
    • C04CEMENTS; CONCRETE; ARTIFICIAL STONE; CERAMICS; REFRACTORIES
    • C04BLIME, MAGNESIA; SLAG; CEMENTS; COMPOSITIONS THEREOF, e.g. MORTARS, CONCRETE OR LIKE BUILDING MATERIALS; ARTIFICIAL STONE; CERAMICS; REFRACTORIES; TREATMENT OF NATURAL STONE
    • C04B35/00Shaped ceramic products characterised by their composition; Ceramics compositions; Processing powders of inorganic compounds preparatory to the manufacturing of ceramic products
    • C04B35/01Shaped ceramic products characterised by their composition; Ceramics compositions; Processing powders of inorganic compounds preparatory to the manufacturing of ceramic products based on oxide ceramics
    • C04B35/10Shaped ceramic products characterised by their composition; Ceramics compositions; Processing powders of inorganic compounds preparatory to the manufacturing of ceramic products based on oxide ceramics based on aluminium oxide
    • C04B35/111Fine ceramics
    • C04B35/117Composites
    • C04B35/119Composites with zirconium oxide
    • CCHEMISTRY; METALLURGY
    • C04CEMENTS; CONCRETE; ARTIFICIAL STONE; CERAMICS; REFRACTORIES
    • C04BLIME, MAGNESIA; SLAG; CEMENTS; COMPOSITIONS THEREOF, e.g. MORTARS, CONCRETE OR LIKE BUILDING MATERIALS; ARTIFICIAL STONE; CERAMICS; REFRACTORIES; TREATMENT OF NATURAL STONE
    • C04B35/00Shaped ceramic products characterised by their composition; Ceramics compositions; Processing powders of inorganic compounds preparatory to the manufacturing of ceramic products
    • C04B35/01Shaped ceramic products characterised by their composition; Ceramics compositions; Processing powders of inorganic compounds preparatory to the manufacturing of ceramic products based on oxide ceramics
    • C04B35/14Shaped ceramic products characterised by their composition; Ceramics compositions; Processing powders of inorganic compounds preparatory to the manufacturing of ceramic products based on oxide ceramics based on silica
    • CCHEMISTRY; METALLURGY
    • C04CEMENTS; CONCRETE; ARTIFICIAL STONE; CERAMICS; REFRACTORIES
    • C04BLIME, MAGNESIA; SLAG; CEMENTS; COMPOSITIONS THEREOF, e.g. MORTARS, CONCRETE OR LIKE BUILDING MATERIALS; ARTIFICIAL STONE; CERAMICS; REFRACTORIES; TREATMENT OF NATURAL STONE
    • C04B35/00Shaped ceramic products characterised by their composition; Ceramics compositions; Processing powders of inorganic compounds preparatory to the manufacturing of ceramic products
    • C04B35/01Shaped ceramic products characterised by their composition; Ceramics compositions; Processing powders of inorganic compounds preparatory to the manufacturing of ceramic products based on oxide ceramics
    • C04B35/16Shaped ceramic products characterised by their composition; Ceramics compositions; Processing powders of inorganic compounds preparatory to the manufacturing of ceramic products based on oxide ceramics based on silicates other than clay
    • C04B35/18Shaped ceramic products characterised by their composition; Ceramics compositions; Processing powders of inorganic compounds preparatory to the manufacturing of ceramic products based on oxide ceramics based on silicates other than clay rich in aluminium oxide
    • C04B35/195Alkaline earth aluminosilicates, e.g. cordierite or anorthite
    • CCHEMISTRY; METALLURGY
    • C04CEMENTS; CONCRETE; ARTIFICIAL STONE; CERAMICS; REFRACTORIES
    • C04BLIME, MAGNESIA; SLAG; CEMENTS; COMPOSITIONS THEREOF, e.g. MORTARS, CONCRETE OR LIKE BUILDING MATERIALS; ARTIFICIAL STONE; CERAMICS; REFRACTORIES; TREATMENT OF NATURAL STONE
    • C04B35/00Shaped ceramic products characterised by their composition; Ceramics compositions; Processing powders of inorganic compounds preparatory to the manufacturing of ceramic products
    • C04B35/01Shaped ceramic products characterised by their composition; Ceramics compositions; Processing powders of inorganic compounds preparatory to the manufacturing of ceramic products based on oxide ceramics
    • C04B35/44Shaped ceramic products characterised by their composition; Ceramics compositions; Processing powders of inorganic compounds preparatory to the manufacturing of ceramic products based on oxide ceramics based on aluminates
    • CCHEMISTRY; METALLURGY
    • C04CEMENTS; CONCRETE; ARTIFICIAL STONE; CERAMICS; REFRACTORIES
    • C04BLIME, MAGNESIA; SLAG; CEMENTS; COMPOSITIONS THEREOF, e.g. MORTARS, CONCRETE OR LIKE BUILDING MATERIALS; ARTIFICIAL STONE; CERAMICS; REFRACTORIES; TREATMENT OF NATURAL STONE
    • C04B35/00Shaped ceramic products characterised by their composition; Ceramics compositions; Processing powders of inorganic compounds preparatory to the manufacturing of ceramic products
    • C04B35/01Shaped ceramic products characterised by their composition; Ceramics compositions; Processing powders of inorganic compounds preparatory to the manufacturing of ceramic products based on oxide ceramics
    • C04B35/48Shaped ceramic products characterised by their composition; Ceramics compositions; Processing powders of inorganic compounds preparatory to the manufacturing of ceramic products based on oxide ceramics based on zirconium or hafnium oxides, zirconates, zircon or hafnates
    • C04B35/486Fine ceramics
    • C04B35/488Composites
    • CCHEMISTRY; METALLURGY
    • C04CEMENTS; CONCRETE; ARTIFICIAL STONE; CERAMICS; REFRACTORIES
    • C04BLIME, MAGNESIA; SLAG; CEMENTS; COMPOSITIONS THEREOF, e.g. MORTARS, CONCRETE OR LIKE BUILDING MATERIALS; ARTIFICIAL STONE; CERAMICS; REFRACTORIES; TREATMENT OF NATURAL STONE
    • C04B35/00Shaped ceramic products characterised by their composition; Ceramics compositions; Processing powders of inorganic compounds preparatory to the manufacturing of ceramic products
    • C04B35/50Shaped ceramic products characterised by their composition; Ceramics compositions; Processing powders of inorganic compounds preparatory to the manufacturing of ceramic products based on rare-earth compounds
    • CCHEMISTRY; METALLURGY
    • C04CEMENTS; CONCRETE; ARTIFICIAL STONE; CERAMICS; REFRACTORIES
    • C04BLIME, MAGNESIA; SLAG; CEMENTS; COMPOSITIONS THEREOF, e.g. MORTARS, CONCRETE OR LIKE BUILDING MATERIALS; ARTIFICIAL STONE; CERAMICS; REFRACTORIES; TREATMENT OF NATURAL STONE
    • C04B35/00Shaped ceramic products characterised by their composition; Ceramics compositions; Processing powders of inorganic compounds preparatory to the manufacturing of ceramic products
    • C04B35/622Forming processes; Processing powders of inorganic compounds preparatory to the manufacturing of ceramic products
    • C04B35/64Burning or sintering processes
    • CCHEMISTRY; METALLURGY
    • C04CEMENTS; CONCRETE; ARTIFICIAL STONE; CERAMICS; REFRACTORIES
    • C04BLIME, MAGNESIA; SLAG; CEMENTS; COMPOSITIONS THEREOF, e.g. MORTARS, CONCRETE OR LIKE BUILDING MATERIALS; ARTIFICIAL STONE; CERAMICS; REFRACTORIES; TREATMENT OF NATURAL STONE
    • C04B35/00Shaped ceramic products characterised by their composition; Ceramics compositions; Processing powders of inorganic compounds preparatory to the manufacturing of ceramic products
    • C04B35/622Forming processes; Processing powders of inorganic compounds preparatory to the manufacturing of ceramic products
    • C04B35/653Processes involving a melting step
    • CCHEMISTRY; METALLURGY
    • C04CEMENTS; CONCRETE; ARTIFICIAL STONE; CERAMICS; REFRACTORIES
    • C04BLIME, MAGNESIA; SLAG; CEMENTS; COMPOSITIONS THEREOF, e.g. MORTARS, CONCRETE OR LIKE BUILDING MATERIALS; ARTIFICIAL STONE; CERAMICS; REFRACTORIES; TREATMENT OF NATURAL STONE
    • C04B2235/00Aspects relating to ceramic starting mixtures or sintered ceramic products
    • C04B2235/02Composition of constituents of the starting material or of secondary phases of the final product
    • C04B2235/30Constituents and secondary phases not being of a fibrous nature
    • C04B2235/32Metal oxides, mixed metal oxides, or oxide-forming salts thereof, e.g. carbonates, nitrates, (oxy)hydroxides, chlorides
    • C04B2235/3224Rare earth oxide or oxide forming salts thereof, e.g. scandium oxide
    • CCHEMISTRY; METALLURGY
    • C04CEMENTS; CONCRETE; ARTIFICIAL STONE; CERAMICS; REFRACTORIES
    • C04BLIME, MAGNESIA; SLAG; CEMENTS; COMPOSITIONS THEREOF, e.g. MORTARS, CONCRETE OR LIKE BUILDING MATERIALS; ARTIFICIAL STONE; CERAMICS; REFRACTORIES; TREATMENT OF NATURAL STONE
    • C04B2235/00Aspects relating to ceramic starting mixtures or sintered ceramic products
    • C04B2235/02Composition of constituents of the starting material or of secondary phases of the final product
    • C04B2235/30Constituents and secondary phases not being of a fibrous nature
    • C04B2235/32Metal oxides, mixed metal oxides, or oxide-forming salts thereof, e.g. carbonates, nitrates, (oxy)hydroxides, chlorides
    • C04B2235/3224Rare earth oxide or oxide forming salts thereof, e.g. scandium oxide
    • C04B2235/3225Yttrium oxide or oxide-forming salts thereof
    • CCHEMISTRY; METALLURGY
    • C04CEMENTS; CONCRETE; ARTIFICIAL STONE; CERAMICS; REFRACTORIES
    • C04BLIME, MAGNESIA; SLAG; CEMENTS; COMPOSITIONS THEREOF, e.g. MORTARS, CONCRETE OR LIKE BUILDING MATERIALS; ARTIFICIAL STONE; CERAMICS; REFRACTORIES; TREATMENT OF NATURAL STONE
    • C04B2235/00Aspects relating to ceramic starting mixtures or sintered ceramic products
    • C04B2235/02Composition of constituents of the starting material or of secondary phases of the final product
    • C04B2235/30Constituents and secondary phases not being of a fibrous nature
    • C04B2235/34Non-metal oxides, non-metal mixed oxides, or salts thereof that form the non-metal oxides upon heating, e.g. carbonates, nitrates, (oxy)hydroxides, chlorides
    • C04B2235/3418Silicon oxide, silicic acids or oxide forming salts thereof, e.g. silica sol, fused silica, silica fume, cristobalite, quartz or flint
    • CCHEMISTRY; METALLURGY
    • C04CEMENTS; CONCRETE; ARTIFICIAL STONE; CERAMICS; REFRACTORIES
    • C04BLIME, MAGNESIA; SLAG; CEMENTS; COMPOSITIONS THEREOF, e.g. MORTARS, CONCRETE OR LIKE BUILDING MATERIALS; ARTIFICIAL STONE; CERAMICS; REFRACTORIES; TREATMENT OF NATURAL STONE
    • C04B2235/00Aspects relating to ceramic starting mixtures or sintered ceramic products
    • C04B2235/02Composition of constituents of the starting material or of secondary phases of the final product
    • C04B2235/50Constituents or additives of the starting mixture chosen for their shape or used because of their shape or their physical appearance
    • C04B2235/54Particle size related information
    • C04B2235/5418Particle size related information expressed by the size of the particles or aggregates thereof
    • C04B2235/5436Particle size related information expressed by the size of the particles or aggregates thereof micrometer sized, i.e. from 1 to 100 micron
    • CCHEMISTRY; METALLURGY
    • C04CEMENTS; CONCRETE; ARTIFICIAL STONE; CERAMICS; REFRACTORIES
    • C04BLIME, MAGNESIA; SLAG; CEMENTS; COMPOSITIONS THEREOF, e.g. MORTARS, CONCRETE OR LIKE BUILDING MATERIALS; ARTIFICIAL STONE; CERAMICS; REFRACTORIES; TREATMENT OF NATURAL STONE
    • C04B2235/00Aspects relating to ceramic starting mixtures or sintered ceramic products
    • C04B2235/02Composition of constituents of the starting material or of secondary phases of the final product
    • C04B2235/50Constituents or additives of the starting mixture chosen for their shape or used because of their shape or their physical appearance
    • C04B2235/54Particle size related information
    • C04B2235/5418Particle size related information expressed by the size of the particles or aggregates thereof
    • C04B2235/5445Particle size related information expressed by the size of the particles or aggregates thereof submicron sized, i.e. from 0,1 to 1 micron
    • CCHEMISTRY; METALLURGY
    • C04CEMENTS; CONCRETE; ARTIFICIAL STONE; CERAMICS; REFRACTORIES
    • C04BLIME, MAGNESIA; SLAG; CEMENTS; COMPOSITIONS THEREOF, e.g. MORTARS, CONCRETE OR LIKE BUILDING MATERIALS; ARTIFICIAL STONE; CERAMICS; REFRACTORIES; TREATMENT OF NATURAL STONE
    • C04B2235/00Aspects relating to ceramic starting mixtures or sintered ceramic products
    • C04B2235/60Aspects relating to the preparation, properties or mechanical treatment of green bodies or pre-forms
    • C04B2235/602Making the green bodies or pre-forms by moulding
    • C04B2235/6026Computer aided shaping, e.g. rapid prototyping
    • CCHEMISTRY; METALLURGY
    • C04CEMENTS; CONCRETE; ARTIFICIAL STONE; CERAMICS; REFRACTORIES
    • C04BLIME, MAGNESIA; SLAG; CEMENTS; COMPOSITIONS THEREOF, e.g. MORTARS, CONCRETE OR LIKE BUILDING MATERIALS; ARTIFICIAL STONE; CERAMICS; REFRACTORIES; TREATMENT OF NATURAL STONE
    • C04B2235/00Aspects relating to ceramic starting mixtures or sintered ceramic products
    • C04B2235/65Aspects relating to heat treatments of ceramic bodies such as green ceramics or pre-sintered ceramics, e.g. burning, sintering or melting processes
    • C04B2235/66Specific sintering techniques, e.g. centrifugal sintering
    • C04B2235/665Local sintering, e.g. laser sintering
    • CCHEMISTRY; METALLURGY
    • C04CEMENTS; CONCRETE; ARTIFICIAL STONE; CERAMICS; REFRACTORIES
    • C04BLIME, MAGNESIA; SLAG; CEMENTS; COMPOSITIONS THEREOF, e.g. MORTARS, CONCRETE OR LIKE BUILDING MATERIALS; ARTIFICIAL STONE; CERAMICS; REFRACTORIES; TREATMENT OF NATURAL STONE
    • C04B2235/00Aspects relating to ceramic starting mixtures or sintered ceramic products
    • C04B2235/65Aspects relating to heat treatments of ceramic bodies such as green ceramics or pre-sintered ceramics, e.g. burning, sintering or melting processes
    • C04B2235/66Specific sintering techniques, e.g. centrifugal sintering
    • C04B2235/667Sintering using wave energy, e.g. microwave sintering
    • CCHEMISTRY; METALLURGY
    • C04CEMENTS; CONCRETE; ARTIFICIAL STONE; CERAMICS; REFRACTORIES
    • C04BLIME, MAGNESIA; SLAG; CEMENTS; COMPOSITIONS THEREOF, e.g. MORTARS, CONCRETE OR LIKE BUILDING MATERIALS; ARTIFICIAL STONE; CERAMICS; REFRACTORIES; TREATMENT OF NATURAL STONE
    • C04B2235/00Aspects relating to ceramic starting mixtures or sintered ceramic products
    • C04B2235/70Aspects relating to sintered or melt-casted ceramic products
    • C04B2235/74Physical characteristics
    • C04B2235/76Crystal structural characteristics, e.g. symmetry
    • C04B2235/762Cubic symmetry, e.g. beta-SiC
    • C04B2235/764Garnet structure A3B2(CO4)3
    • CCHEMISTRY; METALLURGY
    • C04CEMENTS; CONCRETE; ARTIFICIAL STONE; CERAMICS; REFRACTORIES
    • C04BLIME, MAGNESIA; SLAG; CEMENTS; COMPOSITIONS THEREOF, e.g. MORTARS, CONCRETE OR LIKE BUILDING MATERIALS; ARTIFICIAL STONE; CERAMICS; REFRACTORIES; TREATMENT OF NATURAL STONE
    • C04B2235/00Aspects relating to ceramic starting mixtures or sintered ceramic products
    • C04B2235/70Aspects relating to sintered or melt-casted ceramic products
    • C04B2235/74Physical characteristics
    • C04B2235/77Density
    • CCHEMISTRY; METALLURGY
    • C04CEMENTS; CONCRETE; ARTIFICIAL STONE; CERAMICS; REFRACTORIES
    • C04BLIME, MAGNESIA; SLAG; CEMENTS; COMPOSITIONS THEREOF, e.g. MORTARS, CONCRETE OR LIKE BUILDING MATERIALS; ARTIFICIAL STONE; CERAMICS; REFRACTORIES; TREATMENT OF NATURAL STONE
    • C04B2235/00Aspects relating to ceramic starting mixtures or sintered ceramic products
    • C04B2235/70Aspects relating to sintered or melt-casted ceramic products
    • C04B2235/96Properties of ceramic products, e.g. mechanical properties such as strength, toughness, wear resistance
    • YGENERAL TAGGING OF NEW TECHNOLOGICAL DEVELOPMENTS; GENERAL TAGGING OF CROSS-SECTIONAL TECHNOLOGIES SPANNING OVER SEVERAL SECTIONS OF THE IPC; TECHNICAL SUBJECTS COVERED BY FORMER USPC CROSS-REFERENCE ART COLLECTIONS [XRACs] AND DIGESTS
    • Y02TECHNOLOGIES OR APPLICATIONS FOR MITIGATION OR ADAPTATION AGAINST CLIMATE CHANGE
    • Y02PCLIMATE CHANGE MITIGATION TECHNOLOGIES IN THE PRODUCTION OR PROCESSING OF GOODS
    • Y02P10/00Technologies related to metal processing
    • Y02P10/25Process efficiency

Definitions

  • the present invention relates to a powder used when forming a ceramic shaped article by laser irradiation and a manufacturing method using the powder.
  • Non-Patent Document 1 the melting point is lowered by using an Al 2 O 3 -ZrO 2 eutectic system, and when it is melted and solidified, a microstructure unique to the eutectic system is formed to be high.
  • Methods have also been proposed to realize mechanical strength.
  • it has succeeded in satisfying the point of improving the compactness of a shaped object, a large number of projections are generated on the surface of the shaped object, and the situation has not reached a sufficient modeling accuracy.
  • the wavelength of the laser light is Nd: YAG (about 1 ⁇ m), and neither Al 2 O 3 nor ZrO 2 show clear absorption even if the melting point is lowered in the eutectic system, so the material system is melted and solidified. In order to do that, you need some energy. In such a system, there are problems such as nonuniform melting in a desired shaped portion and wide nonuniform sintering region around the desired shape, accompanied by light diffusion in powder.
  • the powder for ceramic formation of the present invention is a powder for ceramic formation for obtaining a shaped article by repeatedly sintering or melting and solidifying the powder in a portion irradiated with a laser beam successively, Is an absorber comprising a plurality of compositions, at least one composition of said composition exhibiting an absorption relatively higher for said laser light than the other compositions, said absorption resulting from the irradiation of said laser light It is characterized in that at least a part of the body changes to another composition having relatively low absorption to the laser light.
  • a ceramic shaped article in which a shaped article is obtained by repeating sintering or melting and solidifying powder sequentially in a portion irradiated with laser light to obtain a shaped article, (I) disposing the above-mentioned powder for ceramic formation in a laser irradiation part, (Ii) applying a laser to the powder for ceramic formation based on three-dimensional formation data to sinter or melt the powder for ceramic formation and then solidify; and (iii) the step (i) ) And (ii) to produce a shaped article, It is characterized by having.
  • the powder for ceramic formation of the present invention When the powder for ceramic formation of the present invention is used, a region after sintering or melting is obtained by changing a part of the absorber to another composition having relatively low absorption with respect to the laser light by laser light irradiation. Is less susceptible to laser irradiation during subsequent shaping.
  • the absorber can also reduce light diffusion because the absorption with respect to the laser light is relatively higher than that of the other composition constituting the powder. As a result, it is possible to realize production of a ceramic shaped article with high shaping accuracy.
  • Powder is an aggregate of particles that can be recognized as isolated particles. Moreover, powder consists of several compositions.
  • the composition is composed of a plurality of components (elements or compounds).
  • powder is composed of a plurality of compositions, when many kinds of particles consisting of one kind of composition are mixed, or one kind or many kinds of particles consisting of plural kinds of composition are mixed I mean the case.
  • the absorber is defined as a composition having a relatively high absorption capacity for the laser light used as compared to other compositions constituting the powder. In other words, the absorber has the highest ability to absorb laser light among the compositions contained in the powder.
  • At least one composition constituting the powder of the present invention is an absorber capable of absorbing laser light.
  • the absorptivity of the absorber is preferably an absorptivity of 10% or more for the laser light of the wavelength used.
  • the absorption rate is more preferably 40% or more, and still more preferably 60% or more.
  • a general spectrometer may be used, and an integrator alone is used to measure the assumed wavelength (near the laser wavelength used in manufacturing) to the absorber alone filled in the sample plate. Irradiate and measure.
  • the absorptivity is calculated from the ratio using the case where there is no sample as reference data.
  • the powder of the present invention is composed of a plurality of compositions of two or more types, and the plurality of compositions include at least one composition which is an absorber.
  • Each particle constituting the powder may consist of a single composition, or one particle may consist of a plurality of compositions. The following will be described in order by case.
  • the powder is composed of particles consisting of a single composition.
  • a plurality of compositions are composed of three types of Al 2 O 3 , ZrO 2 , and Tb 4 O 7 (absorber), Al 2 O 3 particles, ZrO 2 particles, Tb 4 O 7 particles Are present, and the powder is constituted as a mixture of those particles.
  • the powder contains particles composed of two or more kinds of compositions.
  • the composition Al 2 O 3, ZrO 2 , Tb 4 O 7 when configured in three (absorbers), only particles made of Al 2 O 3 -ZrO 2 -Tb 4 O 7 and the condition being constituted, Al 2 O 3 -ZrO 2 particles, as saying that Tb 4 O 7 particles, a state such as Al 2 O 3 -ZrO 2 belong to the same particles.
  • the Tb 4 O 7 which is an example of the absorber according to the present invention should be maintained in the Tb 4 O 7 state. Is preferred.
  • the composition which is an absorber is preferable in the condition where it constitutes particles alone, regardless of how the other compositions are constituted.
  • the flowability of the powder is important in the case where a powder bed layer is formed using a recoater by a powder bed fusion bonding method, and in the case where powder is sprayed from a nozzle in cladding method. It is.
  • the powder it is preferable to use a powder that satisfies 40 [sec / 50 g] or less as a fluidity index.
  • the particles are preferably spherical. However, spherical shape is not essential if the above liquidity index is satisfied.
  • the particle size of the particles of the composition constituting the absorber (the particle size is not the single particle but the median value of the particles having the same composition, but not the single particle) It is preferable that it is 1/5 or less of the particle size of particle
  • the powder of this invention does not contain the resin binder.
  • a process of explosively burning away may be generated by laser irradiation, which may cause internal inclusion of pores and the like in the modeling region.
  • carbon is contained, in addition to being combined with oxygen to form a gas, the volume occupied by the carbon component may be vacancies, so the amount is preferably small. Therefore, the content of carbon is preferably 1000 ppm or less in molar ratio with respect to the metal elements of the plurality of compositions constituting the powder.
  • carbon is contained, it is oxidized by laser irradiation and oxidized to gasify and adversely affect the formation, so it is incorporated into a formed article with a change to a different composition by laser irradiation like the absorber of the present invention Is preferred.
  • the absorber, the composition and the particles have been described, but the powder for ceramic formation in the present invention may be in a crystalline or amorphous state, or a mixture thereof.
  • the composition it is not necessary for the composition to completely match between the powder and the shaped article, and in particular, there may be a difference such as an oxidation state or a nitriding state. Therefore, it is also preferable to control the atmosphere during the shaping process, and not only in the atmosphere, but also in an inactive state such as nitrogen or other rare gas atmosphere, a state where it is easily reduced due to partial hydrogen content or decompression, etc. Is also preferred. Such atmosphere control does not exclude the inclusion of a partially metallic composition as the raw material powder.
  • the present invention is a powder for forming a ceramic, but the present invention is not limited to a state where the formed object is made of a ceramic consisting of 100% crystals, and a part of the object is obtained when desired physical property values are obtained. Alternatively, a region in an amorphous state, a region in a reduced metal state, or the like may be formed over half.
  • the absorber suitable for the present invention absorbs laser light and sinters or melts the powder at the laser light irradiation site by its heat amount to convert it into a solidified body, which itself remains in the shaped object. At that time, a part of the absorber is converted to another composition having a relatively low ability to absorb the laser light, and is incorporated into the shaped article. Therefore, in the region converted to the solidified body, the absorption to the laser light is lower than that in the powder before the irradiation of the laser light.
  • the action and effect of the absorber of the present invention will be described in detail.
  • the first effect is that the laser light used at the time of production as an absorber is efficiently absorbed, and the temperature itself is increased, which also spreads to other compositions present in the region corresponding to the focal size of the laser light. Temperature rise. As a result, effective local heating is realized, the interface between the process area (the area irradiated with the laser beam) and the non-process area (the area not irradiated with the laser beam) can be clarified, and the modeling accuracy is improved.
  • the second effect is that the area where the shaping process has been completed by reducing the absorption of the laser light is low absorption, so that the adjacent and lower areas in the layer of the portion where the process is to be carried out It is possible to suppress the deterioration by absorbing light.
  • the process margin such as the laser irradiation condition can be broadened, and the adverse influence on the formation accuracy due to the fluctuation of the irradiation condition can be reduced.
  • molding of high accuracy is realizable by the 1st effect mentioned above and a 2nd effect.
  • FIG. 3 is a conceptual diagram.
  • the horizontal axis is the laser irradiation time, and the vertical axis is the temperature of the laser irradiation area.
  • the line A shows the characteristics of the powder containing no absorber.
  • the laser irradiation starts to raise the temperature, and linearly melts above the melting point to reach the shaping temperature indicated by the broken line.
  • line B shows the characteristics of the powder containing the absorber of the present invention.
  • the laser irradiation causes a rapid temperature rise due to the light absorption effect of the absorber, and the effect as the absorber decreases from before the dissolution, and the temperature rise speed similar to that of the line A when the absorber is not included become.
  • the powder exhibiting the characteristics of line A has poor heating efficiency, and a low density sintered part with a wide width is generated at the boundary between the solidified part and the powder in the area irradiated with laser light, and adjacent It affects the powder part in a wide range, and spatial modeling accuracy can not be obtained.
  • the heating efficiency is good and the local heating can be realized. Therefore, when the laser irradiation area is formed, the temperature difference with the adjacent area can be sufficiently ensured, and only a narrow sintered part is generated at the boundary between the melted and solidified part and the powder. Modeling accuracy is obtained. Furthermore, since the formation end portion after laser irradiation does not show absorption and shows characteristics like line A, even if the process conditions fluctuate and the influence of the laser light on the existing formation area, the temperature rise by the laser light Is relatively small, and its effect can be avoided.
  • the absorber of the present invention can be used without limitation as long as at least a part thereof changes to another composition having relatively low absorption by laser irradiation, but it is preferably selected from metal oxides .
  • metal oxides the valence number of the metal element changes due to the release of oxygen as the temperature rises, and changes to other metal oxides with relatively low absorption to laser light (for example, Tb 4 This is because O 7 ⁇ Tb 2 O 3 and Tb 3+ tend to cause substitution of GdAlO 3 with Gd (gadolinium) site.
  • the affinity with other compositions constituting the ceramic is also high, and it is possible to be incorporated into a shaped object.
  • the metal oxides whose valence change functions as a change in absorptivity with respect to various laser wavelengths are Ti, V, Cr, Mn, Fe, Co, Ni, Cu, Zn, Zr, Nb, Mo, Hf, Ta It is preferable to use an oxide of a metal selected from W, In, Sn, Bi, Ce, Pr, Sm, Eu, Tb and Yb.
  • YAG laser (1070 nm) which is a typical laser used for shaping, the use of oxides of Tb and Pr is preferable, and the oxidation state is Tb 4 O 7 or Pr 6 O 11 Is more preferred.
  • Terbium oxide most preferable as the composition of the absorber of the present invention will be described in detail by way of example.
  • Terbium oxide has various states, typically, a state called Tb 4 O 7 and a state called Tb 2 O 3 .
  • Tb 4 O 7 is a substance composed of half each of Tb 4 + and Tb 3 +, but is composed of only Tb 3 + in Tb 2 O 3 .
  • This high infrared absorptivity of Tb 4 O 7 is remarkable around 1070 nm of the Nd: YAG laser, and may reach over 60% and reach 70%.
  • Tb 4+ decreases gradually, the absorptivity decreases, and it becomes about 7% in the Tb 2 O 3 state constituted only by Tb 3+ . Therefore, it is clear that the absorptivity decreases due to the decrease in Tb 4+ , so terbium oxide (Tb 4 O 7 ) containing tetravalent terbium in the absorber is suitable as one composition for realizing the present invention .
  • Tb 4+ may be present at about 10% with respect to the total amount of Tb 3+ and Tb 4+ .
  • XAFS X-ray absorption fine structure analysis
  • XPS X-ray photoelectron spectroscopy
  • ESR electron spin resonance
  • the metal element in the case of an oxide in which the ratio of metal element to oxygen is 2: 3, the metal element is stabilized at a valence of 3+, and thus after conversion to a solidified body, another composition (for example, Y 2 O 3 or Gd 2 O 3 and others R 2 O 3 (R: metal element) exists as a solid solution. Therefore, the area converted to the solidified body after shaping does not show large absorption. Further, in a compound in which R 3 + is stable also in multi-element oxides and the like, the same state can be realized by substituting Tb at the R site. In addition, ZrO 2 forms a solid solution to contribute to the stabilization of the fluorite structure, and also in this case, the valence number is 3+. Thus, the absorber of the present invention also functions as a material constituting a shaped article.
  • the absorptivity preferably has a difference of 1.2 times or more, and more preferably 2 times or more before and after performing the process by laser light irradiation.
  • the absorption rate is preferably 50% or more before the process and 40% or less after the process.
  • the absorption rate is preferably 60% or more before the process and 20% or less after the process.
  • Tb 4 O 7 which is an example of an absorber, as a composition is preferable for achieving this situation.
  • the absorptivity is that of the absorber alone.
  • the absorber is contained in a plurality of compositions, the effect can be obtained, but it is more preferable that the composition which is the absorber is contained in the powder at 0.5 vol% or more and 53 vol% or less .
  • vol% it is important how much area the absorber occupies with respect to the irradiation size (focus size) of the laser light, and if the composition that constitutes the powder changes, It is because it can not respond by mol% notation.
  • the lower limit value of the content of the absorber is determined from the need to include at least one particle of the absorber within the laser focal size.
  • the upper limit is determined from the influence on the main composition constituting the object.
  • the laser focal spot size is 10 ⁇ m
  • the melted area of the laser can be regarded as a hemispherical shape with a diameter of 10 ⁇ m, and one 0.5 ⁇ m diameter particle of the absorber exists in that area.
  • the lower limit of the composition is preferably 0.5 vol% or more.
  • Tb 3 Al 5 O 12 is formed when Tb 4 O 7 is added to Al 2 O 3 generally used as a structural ceramic.
  • Tb 4 O 7 53 vol% or less, and in this case Tb 3 Al 5 O
  • the upper limit value is preferably 53 vol% because a situation in which a small amount of Al 2 O 3 is dispersed in grain boundaries in the 12 main phases is realized.
  • the particle size of the absorber is also important, preferably 10 ⁇ m or less, more preferably 1 ⁇ m to 10 ⁇ m, and most preferably 1 ⁇ m to 5 ⁇ m.
  • the particle size in the present invention defines the range of the median value of the particle size distribution of particles composed of the same composition, and means that the particle size outside the range is not included. Absent. Further, the measurement of the grain size is applied not only to grains in a single crystal state but also to a polycrystal state and an aggregation state.
  • the composition which is an absorber may constitute particles alone.
  • the composition which is an absorber constitutes particles alone
  • the particle size is 1 ⁇ m
  • the bulk density of the powder layer is 50% of the true density
  • the particle size is 10 ⁇ m
  • the laser focal spot size of 100 ⁇ m corresponds to a state in which one particle is contained in the heating area, so the particle size selection of the absorber matched to the laser focal spot size is important.
  • the particle spacing of each absorber is preferably 100 ⁇ m or less, more preferably 50 ⁇ m or less. It is also preferable to adjust the laser focus size so that such a situation can be realized. As described above, it is preferable that the particle diameter of the absorber is 1 ⁇ m or more and 10 ⁇ m or less as described above, assuming that the laser focal spot size is the upper limit 100 ⁇ m from the viewpoint of the shaping accuracy. However, the laser focal spot size may be 100 ⁇ m or more in accordance with the desired formation accuracy.
  • the median and the shape of the particle size distribution of the particles of the composition which is a base material of the shaped object and not an absorber be spherical with 5 ⁇ m or more.
  • the particle size of the absorber is in the range of 1 ⁇ m to 10 ⁇ m, the particle size is preferably as fine as possible. The reason is from the viewpoint of the dispersibility of the absorber in the powder and the high packing density.
  • the particle size of the absorber is preferably 1 ⁇ 5 or less of the particle size of the composition other than the absorber.
  • composition other than absorber includes a composition which is a main component as a ceramic structure. Since such a composition greatly contributes to properties such as strength in the final shaped article, it should be selected appropriately for the application. Therefore, it is preferable to select a composition which is one or more main components from metal oxides having a relatively low absorption effect by determining an absorber for the wavelength of laser light used in production. It is also preferred to select a compound or mixture.
  • a composition which is one or more main components from metal oxides having a relatively low absorption effect by determining an absorber for the wavelength of laser light used in production It is also preferred to select a compound or mixture.
  • aluminum oxide and zirconium oxide stabilization and metastabilization
  • silicon oxide, silicon nitride and aluminum nitride can also be used.
  • silicon nitride exhibits a laser absorption effect, it does not function as the absorber of the present invention because the absorptivity does not change before and after the process.
  • select ceramic materials such as cordierite (2MgO ⁇ 2Al 2 O 3 ⁇ 5SiO 2 ), zircon (ZrO 2 ⁇ SiO 2 ), mullite (3Al 2 O 3 ⁇ 2SiO 2 ), yttrium oxide, aluminum titanate, etc. You can also.
  • the mixture of each said material may be sufficient.
  • composition as the main component may further contain small-diameter silicon oxide particles having a particle size of less than 5 ⁇ m.
  • small-diameter silicon oxide particles having a particle size of less than 5 ⁇ m. The function of the silicon oxide particles is described in detail below.
  • the absorber in the irradiated part absorbs energy and generates heat. Since the small diameter silicon oxide has a small particle size of less than 5 ⁇ m and is easy to melt, the heat of the absorber first melts the small diameter silicon oxide particles present around the absorber. Then, the melted small-diameter silicon oxide particles transfer heat to other relatively large particles, and the particles melt. The small-diameter silicon oxide particles melted in the laser light irradiation area soften and deform, and contact with other relatively large particles in a large area to efficiently transmit heat to the surface of the particles.
  • the particle diameter of the small-diameter silicon oxide particles be smaller than the particle diameter of particles made of other compositions, and the diameter be less than 5 ⁇ m.
  • the particle diameter of the small diameter silicon oxide particles is smaller than the particle diameter of each of the plural types of particles. This is because the small particle size facilitates melting along with the absorber, and the softened small-diameter silicon oxide particles are more evenly distributed than other particles, so the temperature distribution in the powder for ceramic shaping during melting Can be further reduced.
  • the small-diameter silicon oxide particles are preferably spherical from the viewpoint of fluidity, but may be anisotropic shapes such as indeterminate, plate-like and needle-like.
  • the small diameter silicon oxide particles preferably have a narrow particle size distribution.
  • the particles can be homogeneously dispersed in the powder for ceramic formation, and when softened, they can be more uniformly distributed to the surface of particles composed of other compositions.
  • the mass of the small-diameter silicon oxide particles contained in the powder for forming a ceramic is preferably 0.04% or more and 5.0% or less with respect to the mass of the particles of the absorber.
  • the inclusion of 0.04% or more of SiO 2 particles is desirable because the water absorption can be made to be 1.0% or less.
  • the mass of the small diameter silicon oxide particles is 5.0% or less with respect to the mass of the particles of the absorber, almost all of the small diameter silicon oxide particles existing between particles of the composition as the main component melts . It is more desirable because it does not cause melting residue that may lower the mechanical strength of the ceramic shaped article.
  • the small-diameter silicon oxide particles are melted by irradiation of laser light and play a role of a heat medium, and a part thereof becomes glass and is distributed on the surface and inside of the ceramic shaped article.
  • the mass of the small diameter silicon oxide particles is more preferably 1.0% or less with respect to the mass of the particles composed of the composition as the main component.
  • the powder of the present invention is composed of a plurality of compositions, and preferably contains at least one component by an absorber, and at least one component of aluminum oxide, zirconium oxide and silicon oxide as main components forming a ceramic structure.
  • Aluminum oxide, zirconium oxide, and silicon oxide are preferable because they have lower absorption capacity than the absorber, and they constitute a eutectic system with many material systems, and maintain high strength by the expression of their microstructure, and low
  • the effect of melting can also be obtained.
  • aluminum oxide when it is a mixture of two types with Tb 4 O 7 which is an absorber, it is related to Tb 3 Al 5 O 12 or TbAlO 3 with a change from Tb 4 O 7 at the time of modeling A composition is generated.
  • zirconium oxide it plays a role of stabilizing zirconium oxide into tetragonal crystals in the state of Tb 3+ .
  • silicon oxide be configured as a shaped object without asking for amorphous or crystal.
  • silicon oxide contains not only two types of compositions with the absorber but also zirconium oxide, aluminum oxide and the like, and be composed of three components and four components. Furthermore, zircon, mullite, silicate with an absorber, etc. may be contained in the silicon oxide-containing shaped article.
  • a plurality of compositions be contained in a relation of forming a eutectic composition.
  • the eutectic composition is the composition at the eutectic point shown in the eutectic phase diagram, but since the shaping process using the laser light of the present invention is repeatedly heated and cooled at a very high speed, from the equilibrium state It's extremely different. Therefore, it is preferable to define the eutectic composition as the composition range in which the eutectic structure is formed, and the range of ⁇ 10 mol% from the eutectic composition in the eutectic phase diagram is acceptable.
  • At least one or more rare earth oxides that are not absorbers are included.
  • the metal element of the rare earth oxide is preferably selected from Sc, Y, La, Ce, Nd, Sm, Eu, Gd, Dy, Ho, Er, Tm, Yb, Lu.
  • RAlO 3 or R 3 Al 5 O 12 or the like may be formed with respect to R 2 O 3 (or RO 2 in some cases) depending on the composition, and a new composition is formed between the compositions. Where possible, it is also preferred to use the composition. In some cases, it is also preferred that the composition be a eutectic composition.
  • material systems consisting of Tb 3+ and Pr 3+ are also applicable.
  • molding of this invention is used in the manufacturing process (manufacturing method) of the molded article by irradiation of a laser beam.
  • the manufacturing process includes (i) disposing the above-described powder for ceramic formation of the present invention in a portion irradiated with laser light, and (ii) irradiating the powder for ceramic formation on the basis of three-dimensional formation data.
  • the ceramic powder has a step of sintering or melting and then solidifying it, and (iii) a step of repeating the steps (i) and (ii) to form a shaped object.
  • sintering or melting and solidification in the present invention is not unique as sintering when the powder is not melted at all, and melting when there is no unmelted powder.
  • liquid phase sintering and the area of each term is obscured. Therefore, from the degree of sintering that bonds the powders, liquid phase sintering in which the melt is present so as to surround the powder, and also dissolution in which the powder that is partially melted remains is also interpreted The above is not excluded.
  • the heating means is not limited, and can be selected and used according to the purpose, such as a resistance heating method, an induction heating method, an infrared lamp method, a laser method, and an electron beam method.
  • the heat treatment is also suitable for adjusting the crystal grain size of the shaped object for the purpose of improving the density and strength of the shaped object.
  • the steps (i) and (ii) may be performed by irradiating a laser beam after the powder of the present invention is spread. Further, the steps (i) and (ii) may be performed by ejecting the powder of the present invention to a predetermined location and irradiating the predetermined position with a laser beam.
  • a so-called powder bed fusion bonding method or a cladding method corresponds to a method of obtaining a shaped object by repeating sintering or melting and solidifying successively in a portion irradiated with a laser beam.
  • a lens or a fiber adjusted to a desired focal point size such as 10 ⁇ m to 2 mm.
  • the focal point size is one of the parameters that affect the formation accuracy, and in order to satisfy the formation accuracy of 0.1 mm, although depending on the situation, the line width is preferably the same degree, and the focal point size is 100 ⁇ m or less Is preferred.
  • Irradiation of the laser light may be continuous or pulsed.
  • One example is an Nd: YAG laser, and the wavelength is around 1070 nm.
  • the powder bed fusion bonding process is described with reference to FIG.
  • the apparatus used for this method includes a powder crucible 11, a shaping stage unit 12, a recoater unit 13, a scanner unit 14, a laser light source 15, and the like.
  • the powder is operated by the recoater unit 13 while the powder crucible 11 and the shaping stage unit 12 move up and down appropriately, and the powder is spread evenly in a region wider than the assumed modeled object.
  • the powder layer is directly drawn by the laser light generated from the laser light source 15 and the scanner unit 14 in one cross-sectional shape of the shaped object.
  • the drawn area is sintered or melted to cause solidification, and in this repetition, the cross sections of the shaped object are laminated to form the final shaped object.
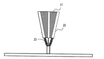
  • the cladding method is described with reference to FIG. A method in which powder is ejected from a plurality of powder supply holes 22 in the cladding nozzle 21 and laser light 23 is irradiated to a region where the powder is focused to sequentially form a three-dimensional object at a desired location. It is characterized in that it can be shaped on a curved surface or the like.
  • Example 1 A present Example is related with the improvement of the modeling precision by containing the absorber of this invention.
  • the powder bed of 1.5 mm in thickness was melted and solidified by irradiation of a laser beam, and the state observation of the irradiated part of the laser beam and the non-irradiated part was performed.
  • Sample 1 is a mixed powder of Al 2 O 3 powder, Gd 2 O 3 powder, and Tb 4 O 7 powder (composition ratio: Al 2 O 3 : 64.40 vol%, Gd 2 O 3 : 32.73 vol%, Tb 4 O 7 : 2.87 vol%) is configured as a powder bed of 1.5 mm thickness, Nd: YAG laser (1070 nm) focal diameter 100 ⁇ m, laser power 30 W, laser beam irradiation speed 100 mm / sec, 250 mm / sec The lines of 10 mm in length were irradiated at 40 ⁇ m at a pitch of 50 ⁇ m at two different speeds.
  • Tb 4 O 7 An example of the absorber adopted here, Tb 4 O 7 , is in a state of including not only Tb 3+ but also Tb 4+ . Moreover, in volume composition calculation, Al 2 O 3 : 3.96 [g / cm 3 ], Gd 2 O 3 : 7.40 [g / cm 3 ], Tb 4 O 7 : 7.60 [true density]. g / cm 3 ] was used. Even if this true density is a somewhat different value, it does not affect the essence of the present invention.
  • Comparative sample 1 contains no absorber, and comparative sample 2 is present in a form in which Tb is substituted for the Gd 3+ site of GdAlO 3 , and Tb 4+ hardly exists and the absorption effect disappears .
  • these two comparative samples having no absorber effect they were almost in the powdery state under the irradiation condition of laser light of 250 mm / sec, and a tissue solidified at 100 mm / sec and then solidified was clearly obtained.
  • the in-plane nonuniformity in the heated state is large, and a shaped object of a two-dimensional surface can not be obtained even as a solidified body, and locally melted and solidified grains are rolled. .
  • Sample 1 showed sufficient dissolution from 250 mm / sec, and it could be confirmed that a two-dimensional structure was formed in a planar shape.
  • the Tb 4 O 7 is taken into the Gd site of GdAlO 3 as Tb 3 + , and the shaped object in the irradiated portion reaches a state where the absorption effect similar to Comparative Sample 2 is low.
  • the sample 1 is mixed with the powder in the state of 60% or more of the absorptivity, and after irradiation of the laser light, the absorption is less than 30% because almost no tetravalent exists from fluorescence observation.
  • the absorptivity was 30% or less from the powder state before shaping from fluorescence observation, and there was no change even after the irradiation of the laser light, and it was 30% or less.
  • FIG. 4 shows the result of calculating the swing width of the outline of the boundary portion by cutting out an image with a width of 3.83 mm from the micrograph of the boundary between the irradiated region 42 and the non-irradiated region 41 of the laser light.
  • Comparative sample 1 was 391 ⁇ m wide
  • comparative sample 2 was 273 ⁇ m wide
  • sample 1 was 85 ⁇ m wide.
  • sample 1 since the area after shaping of sample 1 and the powder of comparative sample 2 are in the same state in terms of the effect of the absorber, sample 1 has a 250 mm / mm with respect to the powder area where the absorber functions. It became clear that it could form by sec and the area after formation hardly functions at 250 mm / sec.
  • the sample of the present invention is excellent in modeling accuracy relative to the comparative sample, and a shaped object can be obtained without disturbing the area where the process is completed again.
  • Tb 4 O 7 of the metal oxide which is an example of the absorber contains 4+ in valence
  • the absorption characteristics are changed due to the valence reduction to 3+ in the region after formation.
  • the irradiation conditions of the laser light are not limited to only the values described in the present embodiment because they are changed according to the surrounding environment, the material configuration, the thickness of the powder layer, and the like.
  • Example 2 The present example relates to the addition effect of Tb 4 O 7 which is a candidate of an absorber.
  • Tb 4 O 7 has a value of 60% or more as an absorptivity at around 1070 nm, and when it is only a Tb 3+ state such as Tb 2 O 3 , the absorptivity is 30% or less.
  • a mixed powder of Al 2 O 3 powder, Gd 2 O 3 powder, and Tb 4 O 7 powder as the sample 1 composition ratio is Al 2 O 3 : 64.40 vol%, Gd 2 O 3 : 32 .73vol%, Tb 4 O 7: 2.87vol%) and was used, the samples 2, 3, 4, 5, and Comparative sample 3 was formulated as in table 1 was added thereto. At this time, the particle diameter of the Tb 4 O 7 powder was about 2 ⁇ m.
  • These powders were spread on an Al 2 O 3 substrate to a thickness of about 20 ⁇ m and then irradiated with a Nd: YAG laser.
  • the conditions were 12 lines with a focal length of 20 ⁇ m, 10 W, 50 mm / sec, and 4.5 mm length at 50 ⁇ m pitch.
  • the width of the boundary between the irradiated area of the laser beam and the unirradiated area was observed in the range of 2 mm in width.
  • the results are shown in Table 1.
  • the blending amount (vol%) of each composition, the width ( ⁇ m) of the boundary portion, and the effect of Tb 4 O 7 addition are represented as excellent ⁇ , good ⁇ , and ⁇ .
  • the width (swinging width) of the boundary is an index substantially equivalent to the surface roughness of the side surface of the shaped object, and the larger the width, the rougher the surface of the manufactured shaped object.
  • the standard surface roughness of a shaped article manufactured using metal powder is said to be about ten and several ⁇ m. Therefore, the equivalent case is evaluated as ⁇ .
  • the same criteria are used in the other examples.
  • Example 3 This example relates to the addition effect of Pr 6 O 11 (praseodymium oxide), which is a candidate of an absorber. It has an absorption of 80% or more at around 1070 nm in the state of valence near Pr 6 O 11 or 10 10 nm, and has an absorption of 50% or less when there are many Pr 3+ states such as Pr 2 O 3 .
  • Sample 6 is a mixed powder of Al 2 O 3 powder, Gd 2 O 3 powder, and Pr 6 O 11 powder (composition ratio: Al 2 O 3 : 63.85 vol%, Gd 2 O 3 : 33.29 vol%, Pr 6 O 11 : 2.86 vol%) was used. At this time, the particle diameter of the Pr 6 O 11 powder was about 2 ⁇ m.
  • these powders were spread on an Al 2 O 3 substrate to a thickness of about 20 ⁇ m and then irradiated with an Nd: YAG laser.
  • the conditions were 12 lines with a focal length of 20 ⁇ m, 10 W, 50 mm / sec, and 4.5 mm length at 50 ⁇ m pitch.
  • the width of the boundary between the irradiated area of the laser beam and the unirradiated area was observed in the range of 2 mm in width.
  • the results are shown in Table 2.
  • the compounding amount (vol%) of each composition was as described above, the width of the boundary was 42.7 ⁇ m, and the effect of Pr 6 O 11 addition was good ⁇ .
  • the width of the boundary is shown to be narrower than that of Comparative Sample 3 of Example 2, and when Pr 6 O 11 which is an example of the absorber of the present invention is added, the judgment result shown in Table 2 is obtained. It turned out that the effect that modeling accuracy improves with respect to the case of addition is acquired.
  • Example 4 The present example relates to the effect of the absorber on compositions other than the absorber.
  • the compositions investigated are shown in Table 3.
  • Al 2 O 3 3.96 [g / cm 3 ], ZrO 2 : 5.68, Y 2 O 3 : 5.01 [g / cm 3 ], Tb 4 O 7 as true density. : 7.60 [g / cm ⁇ 3 >] was used. Even if this true density is a somewhat different value, it does not affect the essence of the present invention. Powders containing these compositions were spread on an Al 2 O 3 substrate to a thickness of about 20 ⁇ m and then irradiated with laser light.
  • the conditions were as follows: The focus size was 100 ⁇ m, 30 W, and a 4.5 mm long line was drawn at a 50 ⁇ m pitch at a scanning speed of 50, 100, 200, 500 mm / sec for comparison of the molten states.
  • the pure Al 2 O 3 of Comparative Sample 4 could be melted and solidified in a line to 100 mm / sec, but could be up to 500 mm / sec for Sample 7 to which the absorber was added.
  • the pure ZrO 2 of Comparative Sample 5 was in a state where it could be melted and solidified in a line shape up to 100 mm / sec, but with Sample 8 to which the absorber was added, it could be up to 500 mm / sec.
  • comparative sample 6 in the vicinity of the eutectic composition Al 2 O 3 -ZrO 2 system has been in a state which can be solidified by melting in a line to 200 mm / sec, the sample 9 were added to the absorber, 500 mm / It was possible to sec.
  • Comparative Sample 7 near the eutectic composition of the Al 2 O 3 -Y 2 O 3 system was in a state where it could be melted and solidified in a line shape up to 200 mm / sec, but in Sample 10 to which an absorber was added, Up to 500 mm / sec was possible.
  • Example 5 The present example relates to 3D formability when the absorber is contained.
  • Each particle diameter of the composition which comprises the powder used by a present Example is shown to Table 4, 5.
  • the particles of these compositions used were spherical except for Tb 4 O 7 and Pr 6 O 11 which function as absorbers.
  • Tables 6 and 7 show the volume compositions of the implemented material systems.
  • ProX (trade name) series DMP 100 of 3D systems was used as a modeling apparatus.
  • a shaped product of 6 ⁇ 6 ⁇ 6 mm was produced under the forming conditions shown in Table 8 for Comparative Sample 8 not containing an absorber, and Samples 11 to 24 composed of a plurality of compositions containing an absorber.
  • the thickness of the powder layer was 20 micrometers and the base material used the alumina board. The thickness of the powder layer is a value for lowering the shaping stage portion 12 of FIG.
  • the apparent thickness of the powder layer is As the lamination is repeated, the thickness gradually increases and converges in the range of 67 to 133 ⁇ m. Therefore, although the average particle diameter of the composition of Tables 4 and 5 is larger than 20 micrometers of powder layers at the time of shaping
  • the surface roughness Ra was measured using Alpha-step (trade name) manufactured by KLA Tencor Co., Ltd., and the modeling accuracy was confirmed. Because the roughness is relatively greater on the side than on the surface of the object, the evaluation was made on the side.
  • the scan width at the time of calculation is 1 mm.
  • Comparative Sample 8 which does not contain the absorber of the present invention, although it is partially dissolved as in Comparative Sample 1 of Example 1, the shape as a shaped object is maintained as a result of additive manufacturing. could not.
  • the other samples 11 to 24 were densely formed as layered products, and it was possible to measure the surface roughness of the side surface. It has been shown that the absorber of the present invention can improve the surface roughness, in particular, obtain a shaped object suppressed to about several tens of ⁇ m, and can be shaped with high accuracy.
  • Example 6 This example relates to the case where the composition other than the absorber is an individual particle and the case where the composition is the same particle. Comparison of sample 13 of Example 5 with a sample in which Al 2 O 3 and Gd 2 O 3 are eutectic powder (mixed state of Al 2 O 3 and GdAlO 3 ) and mixed with Tb 4 O 7 , and the sample 15 and Al 2 O 3 and Y 2 O 3 were eutectic powders (a mixed state of Al 2 O 3 and Y 3 Al 5 O 12 ), and a comparison was made with a sample in which Tb 4 O 7 was mixed.
  • Example 5 As in Example 5, a ProX (trade name) DMP 100 manufactured by 3D systems was used as a modeling apparatus. Under the modeling conditions of Table 11, a 6x6x6 mm shaped article was produced. The following judgment was made about the formability. No shape: Bad x, roughening on the surface or side: Slightly bad ⁇ A shaped object according to the specified dimensions can be obtained: Good ⁇ . Moreover, in all, the thickness of the powder layer was 20 micrometers and the base material used the alumina board.
  • Example 7 This embodiment relates to an example of the tolerance to the change of the irradiation condition of the laser beam when the absorber of the present invention is used.
  • a mixed powder of Al 2 O 3 powder, Gd 2 O 3 powder, Tb 4 O 7 powder, which is the powder composition of sample 13 of Example 5 (composition ratio is Al 2 O 3 : 64.40 vol%, Gd 2 O 3 : 32.73 vol%, Tb 4 O 7 : 2.87 vol%) was used, and ProX (trade name) DMP 200 manufactured by 3D systems was used as a modeling apparatus.
  • the laser light irradiation speed was 500 mm / s
  • the laser light irradiation line pitch was fixed at 130 ⁇ m
  • the laser power was changed
  • the energy density at the time of modeling was increased or decreased.
  • the thickness of the powder layer was 25 ⁇ m
  • an alumina plate was used as a substrate.
  • a 6x6x6 mm shaped object was produced with the laser power shown in Table 12, and the following determination was made regarding its formability. No shape: Bad x, roughening on the surface or side: Slightly bad ⁇
  • a shaped object according to the specified dimensions can be obtained: Good ⁇ .
  • Example 8 The present example is an example in which SiO 2 particles are added.
  • molding of a present Example was manufactured in the following procedures.
  • the main components are mixed Al 2 O 3 powder (purity 99.99% or more, particle size 20 ⁇ m) and Gd 2 O 3 powder (purity 99.99% or more, particle size 20 ⁇ m) in a mass ratio of 1: 1. I used what I did.
  • Tb 4 O 7 powder purity 99.9% or more, particle diameter 4 ⁇ m
  • the SiO 2 particles used had a purity of 99.9% or more and a particle diameter of 4 ⁇ m.
  • Example 27 Each powder was weighed so that the particles forming the main component, the particles forming the absorber, and the SiO 2 particles had a mass ratio of 96.4: 3.5: 0.14.
  • the weighed powder was mixed in a dry ball mill for 30 minutes to obtain a mixed powder (powder for forming a ceramic) (Sample 27).
  • the powder for ceramic formation was dissolved by heating with dilute sulfuric acid, and composition analysis was performed by ICP emission spectrometry.
  • the mass ratio of Al 2 O 3 , Gd 2 O 3 , Tb 4 O 7 and SiO 2 was 48.2: 48.2: 3.5: 0.14, which was the same as the feed composition ratio.
  • the content of the other components was less than 0.2% by mass with respect to the powder for ceramic formation.
  • Example 9 to 25 In the same manner as in Example 8 except that the raw material type and the compounding ratio were changed according to Table 13, powders for shaping a ceramic of Samples 28 to 44 were manufactured as Examples 9 to 25.
  • zirconium oxide ZrO 2 powder (purity 99.9% or more, particle diameter 15 ⁇ m) was used.
  • Praseodymium oxide Pr 6 O 11 powder (purity 99.9% or more, particle diameter 4 ⁇ m) was used.
  • the compositions of the powders for ceramic formation of Samples 28 to 44 were analyzed in the same manner as in Example 8.
  • a powder for ceramic formation for comparison was manufactured in the same manner as Example 8.
  • the powder for forming a ceramic for comparison is configured only with Al 2 O 3 and Gd 2 O 3 and Tb 4 O 7 which is particles serving as an absorber without using SiO 2 particles.
  • the mass ratio of Al 2 O 3 , Gd 2 O 3 , and Tb 4 O 7 was the same as the preparation composition ratio.
  • SiO 2 was less than 50 ppm based on the powder for ceramic formation for comparison.
  • the content of the other components was less than 0.2% by mass with respect to the powder for ceramic formation.
  • Ceramic shaped articles were formed using the powders for ceramic shaping in Examples 8 to 25 and Comparative Example.
  • ProD (trade name) series DMP 100 of 3D SYSTEMS in which a 50 W Nd: YAG laser (beam diameter 65 ⁇ m) is mounted, was used.
  • the powder for ceramic formation is spread on the laser irradiation portion on the base 130 made of alumina, and the first powder layer 102 having a thickness of 20 ⁇ m is obtained. Formed.
  • the powder layer was irradiated with a laser beam 180 of 30 W from a laser source 181 to melt and solidify the powder in a 5 mm ⁇ 42 mm rectangular area.
  • the drawing speed was 100 mm / s to 140 mm / s, and the drawing pitch was 100 ⁇ m.
  • the drawing line was made to be 45 degrees diagonal to the side of the rectangle.
  • a powder layer having a thickness of 20 ⁇ m was newly spread to cover the melted and solidified portion.
  • the powder layer immediately above the rectangular area was irradiated with a laser beam so as to be orthogonal to the drawing line of the first layer, and the area of 5 mm ⁇ 42 mm was melted and solidified.
  • Such a lamination molding process was repeated to form a prismatic shaped object having a bottom surface of 5 mm ⁇ 42 mm and a height of 6 mm for use in the three-point bending strength test.
  • a square column shaped body with a square of 22 mm square and a height of 12 mm was also formed for the water absorption test.
  • the irregularities on the surface of the model are 30 ⁇ m or less, the sample 40, and the sample 41 for the samples 27 to 39 and samples 42 to 44. And 40 ⁇ m or less in the shaped article of Comparative Sample 9.
  • the shaped object is separated from the base made of alumina, and by grinding, a ceramic shaped object of W40 mm ⁇ D4 mm ⁇ H3 mm (FIG. 6A) for a three-point bending strength test, and W20 mm ⁇ D20 mm ⁇ H10 mm ceramic shaping for a water absorption test
  • the thing (FIG. 6B) was obtained.
  • a compression tester manufactured by Instron was used for the three-point bending test. Table 15 shows the three-point bending strengths of the ceramic shaped articles of the examples and the comparative example 1.
  • the mass w1 [g] of the absolutely dried ceramic shaped article dried at 80 ° C. for 4 hours was measured.
  • the ceramic shaped article was submerged under the water surface of the boiling tank and boiled for 30 minutes, then water was added and the mixture was cooled to room temperature to obtain a saturated sample.
  • the water sample was taken out of the water, and the surface was quickly wiped with wet gauze to remove water droplets, and the mass w2 [g] of the ceramic shaped article in a surface-dried and water-saturated state was measured.
  • the ceramic shaped article produced from the powder for ceramic shaping in Examples 8 to 25 had a high 3-point bending strength of 20 MPa or more in 3-point bending strength, and the water absorption rate was as small as 1.0% or less.
  • ceramic shaped articles of samples 27, 28, 30 to 36, 38, 39, 42 to 44 satisfying ⁇ ⁇ 1.0, 0.04 ⁇ ⁇ ⁇ 5, ⁇ ⁇ 20 have a high three-point bending of 25 MPa or more It had strength.
  • the powder for ceramic shaping of the present invention can obtain a ceramic shaped article with high shaping accuracy by addition of an absorber in the powder bed fusion bonding method or cladding method, and in the ceramic component field requiring a complicated shape It is available.

Landscapes

  • Chemical & Material Sciences (AREA)
  • Engineering & Computer Science (AREA)
  • Ceramic Engineering (AREA)
  • Manufacturing & Machinery (AREA)
  • Materials Engineering (AREA)
  • Structural Engineering (AREA)
  • Organic Chemistry (AREA)
  • Composite Materials (AREA)
  • Inorganic Chemistry (AREA)
  • Civil Engineering (AREA)
  • Mechanical Engineering (AREA)
  • Physics & Mathematics (AREA)
  • Optics & Photonics (AREA)
  • Compositions Of Oxide Ceramics (AREA)
  • Producing Shaped Articles From Materials (AREA)
PCT/JP2018/026539 2017-07-14 2018-07-13 セラミックス造形用粉体、セラミックス造形物、およびその製造方法 Ceased WO2019013334A1 (ja)

Priority Applications (5)

Application Number Priority Date Filing Date Title
CN201880048475.4A CN110944814B (zh) 2017-07-14 2018-07-13 陶瓷制造用粉体、陶瓷制造物及其制造方法
EP18832882.7A EP3636403A4 (en) 2017-07-14 2018-07-13 POWDER FOR CERAMIC MOLDING, CERAMIC MOLDED BODY AND METHOD FOR MANUFACTURING THEREOF
CN202210310657.2A CN114633344B (zh) 2017-07-14 2018-07-13 陶瓷制造用粉体、陶瓷制造物及其制造方法
US16/736,067 US11718567B2 (en) 2017-07-14 2020-01-07 Powder for ceramic manufacturing, ceramic manufactured object, and manufacturing method thereof
US17/932,823 US12024469B2 (en) 2017-07-14 2022-09-16 Powder for ceramic manufacturing, ceramic manufactured object, and manufacturing method thereof

Applications Claiming Priority (4)

Application Number Priority Date Filing Date Title
JP2017138505 2017-07-14
JP2017-138505 2017-07-14
JP2018-130952 2018-07-10
JP2018130952A JP7011548B2 (ja) 2017-07-14 2018-07-10 セラミックス造形用粉体、セラミックス造形物、およびその製造方法

Related Child Applications (1)

Application Number Title Priority Date Filing Date
US16/736,067 Continuation US11718567B2 (en) 2017-07-14 2020-01-07 Powder for ceramic manufacturing, ceramic manufactured object, and manufacturing method thereof

Publications (1)

Publication Number Publication Date
WO2019013334A1 true WO2019013334A1 (ja) 2019-01-17

Family

ID=65001308

Family Applications (1)

Application Number Title Priority Date Filing Date
PCT/JP2018/026539 Ceased WO2019013334A1 (ja) 2017-07-14 2018-07-13 セラミックス造形用粉体、セラミックス造形物、およびその製造方法

Country Status (4)

Country Link
US (1) US12024469B2 (enExample)
JP (2) JP7383738B2 (enExample)
CN (2) CN110944814B (enExample)
WO (1) WO2019013334A1 (enExample)

Cited By (9)

* Cited by examiner, † Cited by third party
Publication number Priority date Publication date Assignee Title
WO2021079907A1 (ja) * 2019-10-23 2021-04-29 キヤノン株式会社 セラミックス物品の製造方法、金属成分含有液、セラミックス物品製造用キットおよびセラミックス物品
WO2021079909A1 (ja) * 2019-10-23 2021-04-29 キヤノン株式会社 セラミックス物品の製造方法およびセラミックス物品
JP2021066177A (ja) * 2019-10-23 2021-04-30 キヤノン株式会社 セラミックス物品の製造方法、およびセラミックス物品
JP2023501090A (ja) * 2019-11-07 2023-01-18 ヴァンドヴィル・スウェーデン・アクチエボラグ インサートを有するタフティングツール
WO2023022051A1 (ja) * 2021-08-20 2023-02-23 住友化学株式会社 アルミナ焼結体の製造方法
WO2023085385A1 (ja) * 2021-11-12 2023-05-19 キヤノン株式会社 セラミックス構造体およびその製造方法
US20230191652A1 (en) * 2020-02-26 2023-06-22 Sumitomo Chemical Company, Limited Method for manufacturing sintered body
US11718567B2 (en) 2017-07-14 2023-08-08 Canon Kabushiki Kaisha Powder for ceramic manufacturing, ceramic manufactured object, and manufacturing method thereof
US12024469B2 (en) 2017-07-14 2024-07-02 Canon Kabushiki Ka Ha Powder for ceramic manufacturing, ceramic manufactured object, and manufacturing method thereof

Families Citing this family (2)

* Cited by examiner, † Cited by third party
Publication number Priority date Publication date Assignee Title
CN111925213B (zh) * 2020-06-16 2021-09-03 季华实验室 一种表面包覆金属氧化物层的碳化钨粉体及其成型方法
CN116375470B (zh) * 2023-03-31 2024-08-23 太原理工大学 一种萤石型高熵陶瓷制备方法

Citations (5)

* Cited by examiner, † Cited by third party
Publication number Priority date Publication date Assignee Title
JPS59102865A (ja) * 1982-12-03 1984-06-14 日本特殊陶業株式会社 切削用セラミツク工具の製造方法
CN105832563A (zh) * 2016-05-05 2016-08-10 东莞市爱嘉义齿有限公司 一种3d打印义齿材料
WO2017110829A1 (ja) * 2015-12-22 2017-06-29 株式会社フジミインコーポレーテッド 粉末積層造形に用いるための造形用材料
JP2017138505A (ja) 2016-02-04 2017-08-10 富士ゼロックス株式会社 現像装置及び画像形成装置
JP2018130952A (ja) 2017-02-13 2018-08-23 ザ・ボーイング・カンパニーThe Boeing Company 熱可塑性複合構造体の作製方法及びこれに用いられるプリプレグテープ

Family Cites Families (26)

* Cited by examiner, † Cited by third party
Publication number Priority date Publication date Assignee Title
JPS59102865U (ja) * 1982-12-28 1984-07-11 ワイケイケイ株式会社 折畳み建具の引寄装置
JPH0730362B2 (ja) 1987-03-20 1995-04-05 株式会社日立製作所 電子部品及びその製造方法
JPH07149599A (ja) * 1993-11-30 1995-06-13 Natl Inst For Res In Inorg Mater Tb含有Al酸化物単結晶
CN1211312C (zh) * 1996-07-01 2005-07-20 宇部兴产株式会社 陶瓷复合材料和多孔陶瓷材料及其生产方法
JP3743462B2 (ja) * 1996-07-01 2006-02-08 宇部興産株式会社 セラミックス複合材料
JP2001123165A (ja) 1999-10-27 2001-05-08 Sumitomo Chem Co Ltd 真空紫外線励起発光素子用蛍光体
US6676853B1 (en) 1999-10-27 2004-01-13 Sumitomo Chemical Company, Limited Phosphor for vacuum ultraviolet excitation material
JP2002151777A (ja) * 2000-11-10 2002-05-24 Keyence Corp レーザー発振器およびそのレーザーパルス制御方法
DE102004012682A1 (de) 2004-03-16 2005-10-06 Degussa Ag Verfahren zur Herstellung von dreidimensionalen Objekten mittels Lasertechnik und Auftragen eines Absorbers per Inkjet-Verfahren
US20060008677A1 (en) * 2004-07-12 2006-01-12 General Electric Company Ceramic bonding composition, method of making, and article of manufacture incorporating the same
KR101768010B1 (ko) 2010-02-04 2017-08-14 닛토덴코 가부시키가이샤 발광 세라믹 적층체 및 이를 제조하는 방법
CN103193486B (zh) * 2013-03-18 2014-06-11 大连理工大学 一种激光近净成形Al2O3-ZrO2共晶陶瓷结构件的方法
CN104341622A (zh) * 2014-10-23 2015-02-11 中国印刷科学技术研究院 一种易于激光雕刻的稀土/橡胶复合材料
CN105732092B (zh) 2014-12-08 2018-06-15 辽宁爱尔创医疗服务有限公司 一种着色氧化锆陶瓷的后处理方法
CN104609867B (zh) * 2015-02-15 2016-10-26 上海材料研究所 一种选择性激光烧结陶瓷件的致密方法
CN104710982B (zh) 2015-03-16 2016-08-17 哈尔滨工业大学深圳研究生院 一种稀土离子共掺杂的铝硅酸盐新型绿光荧光粉及其制备方法
WO2017018985A1 (en) * 2015-07-24 2017-02-02 Hewlett-Packard Development Company, L.P. Three-dimensional (3d) printing
WO2017104234A1 (ja) 2015-12-14 2017-06-22 コニカミノルタ株式会社 粉末材料、立体造形物の製造方法および立体造形装置
US10807905B2 (en) * 2016-04-21 2020-10-20 Nippon Electric Glass Co., Ltd. Ceramic powder, composite powder material, and sealing material
WO2018207132A1 (en) 2017-05-12 2018-11-15 3M Innovative Properties Company Articles comprising ceramics and method of making the same
CN110944814B (zh) 2017-07-14 2022-04-12 佳能株式会社 陶瓷制造用粉体、陶瓷制造物及其制造方法
JP7277103B2 (ja) 2017-10-27 2023-05-18 キヤノン株式会社 セラミックス造形物の製造方法
US11285661B2 (en) 2017-11-08 2022-03-29 Canon Kabushiki Kaisha Powder for ceramic shaping and ceramic shaping method using the same
US10759712B2 (en) 2017-11-09 2020-09-01 Canon Kabushiki Kaisha Powder for additive modeling, structure, semiconductor production device component, and semiconductor production device
US20190300441A1 (en) 2018-04-03 2019-10-03 Canon Kabushiki Kaisha Ceramic powder, method of manufacturing ceramic powder, and method of manufacturing ceramic object using the ceramic powder
JP7614720B2 (ja) 2018-12-21 2025-01-16 キヤノン株式会社 無機材料粉末、および構造体の製造方法

Patent Citations (5)

* Cited by examiner, † Cited by third party
Publication number Priority date Publication date Assignee Title
JPS59102865A (ja) * 1982-12-03 1984-06-14 日本特殊陶業株式会社 切削用セラミツク工具の製造方法
WO2017110829A1 (ja) * 2015-12-22 2017-06-29 株式会社フジミインコーポレーテッド 粉末積層造形に用いるための造形用材料
JP2017138505A (ja) 2016-02-04 2017-08-10 富士ゼロックス株式会社 現像装置及び画像形成装置
CN105832563A (zh) * 2016-05-05 2016-08-10 东莞市爱嘉义齿有限公司 一种3d打印义齿材料
JP2018130952A (ja) 2017-02-13 2018-08-23 ザ・ボーイング・カンパニーThe Boeing Company 熱可塑性複合構造体の作製方法及びこれに用いられるプリプレグテープ

Non-Patent Citations (1)

* Cited by examiner, † Cited by third party
Title
PHYSICS PROCEDIA, vol. 5, 2010, pages 587 - 594

Cited By (14)

* Cited by examiner, † Cited by third party
Publication number Priority date Publication date Assignee Title
US11718567B2 (en) 2017-07-14 2023-08-08 Canon Kabushiki Kaisha Powder for ceramic manufacturing, ceramic manufactured object, and manufacturing method thereof
US12024469B2 (en) 2017-07-14 2024-07-02 Canon Kabushiki Ka Ha Powder for ceramic manufacturing, ceramic manufactured object, and manufacturing method thereof
JP2021066653A (ja) * 2019-10-23 2021-04-30 キヤノン株式会社 セラミックス物品の製造方法、金属成分含有液、セラミックス物品製造用キットおよびセラミックス物品
WO2021079907A1 (ja) * 2019-10-23 2021-04-29 キヤノン株式会社 セラミックス物品の製造方法、金属成分含有液、セラミックス物品製造用キットおよびセラミックス物品
CN114585597A (zh) * 2019-10-23 2022-06-03 佳能株式会社 制造陶瓷制品的方法和陶瓷制品
JP2021066177A (ja) * 2019-10-23 2021-04-30 キヤノン株式会社 セラミックス物品の製造方法、およびセラミックス物品
EP4049989A4 (en) * 2019-10-23 2023-11-29 Canon Kabushiki Kaisha Ceramic article production method and ceramic article
WO2021079909A1 (ja) * 2019-10-23 2021-04-29 キヤノン株式会社 セラミックス物品の製造方法およびセラミックス物品
US12264107B2 (en) 2019-10-23 2025-04-01 Canon Kabushiki Kaisha Method for manufacturing ceramic article, metal component-containing liquid, kit for manufacturing ceramic article, and ceramic article
JP2023501090A (ja) * 2019-11-07 2023-01-18 ヴァンドヴィル・スウェーデン・アクチエボラグ インサートを有するタフティングツール
JP7474845B2 (ja) 2019-11-07 2024-04-25 ヴァンドヴィル・スウェーデン・アクチエボラグ インサートを有するタフティングツール
US20230191652A1 (en) * 2020-02-26 2023-06-22 Sumitomo Chemical Company, Limited Method for manufacturing sintered body
WO2023022051A1 (ja) * 2021-08-20 2023-02-23 住友化学株式会社 アルミナ焼結体の製造方法
WO2023085385A1 (ja) * 2021-11-12 2023-05-19 キヤノン株式会社 セラミックス構造体およびその製造方法

Also Published As

Publication number Publication date
JP7383738B2 (ja) 2023-11-20
US20230021311A1 (en) 2023-01-26
CN110944814B (zh) 2022-04-12
JP2022040270A (ja) 2022-03-10
CN114633344A (zh) 2022-06-17
US12024469B2 (en) 2024-07-02
CN114633344B (zh) 2024-10-22
JP2024020323A (ja) 2024-02-14
CN110944814A (zh) 2020-03-31

Similar Documents

Publication Publication Date Title
JP7383738B2 (ja) セラミックス造形用粉体、セラミックス造形物、およびその製造方法
JP7011548B2 (ja) セラミックス造形用粉体、セラミックス造形物、およびその製造方法
JP7483840B2 (ja) 付加造形用の材料粉末、構造物、半導体製造装置部品、および半導体製造装置
JP7277103B2 (ja) セラミックス造形物の製造方法
US12409579B2 (en) Ceramics product manufacturing method and ceramics product
US20190300441A1 (en) Ceramic powder, method of manufacturing ceramic powder, and method of manufacturing ceramic object using the ceramic powder
JP7557264B2 (ja) セラミックス物品の製造方法、及びセラミックス物品
US20250206669A1 (en) Method for manufacturing ceramic article, metal component-containing liquid, kit for manufacturing ceramic article, and ceramic article
JP7588949B2 (ja) セラミックス粉体、セラミックス粉体の製造方法およびセラミックス粉体を用いたセラミックス構造物の製造方法
JP7191644B2 (ja) 付加造形用の材料粉末、構造物、半導体製造装置部品、および半導体製造装置
WO2020116568A1 (ja) セラミックス物品の製造方法、及びセラミックス物品
JP2022162538A (ja) 付加製造法に用いられる粉末およびそれを用いたセラミックス物品の製造方法
TWI877982B (zh) 積層造形用金屬粉末、及積層造形用金屬粉末之製造方法
WO2022220193A1 (ja) 付加製造法に用いられる粉末およびそれを用いたセラミックス物品の製造方法
JP2023072375A (ja) セラミックス構造体を製造するための粉末およびそれを用いたセラミックス構造体の製造方法

Legal Events

Date Code Title Description
121 Ep: the epo has been informed by wipo that ep was designated in this application

Ref document number: 18832882

Country of ref document: EP

Kind code of ref document: A1

NENP Non-entry into the national phase

Ref country code: DE

ENP Entry into the national phase

Ref document number: 2018832882

Country of ref document: EP

Effective date: 20200109