WO2018135127A1 - 表示装置 - Google Patents

表示装置 Download PDF

Info

Publication number
WO2018135127A1
WO2018135127A1 PCT/JP2017/041959 JP2017041959W WO2018135127A1 WO 2018135127 A1 WO2018135127 A1 WO 2018135127A1 JP 2017041959 W JP2017041959 W JP 2017041959W WO 2018135127 A1 WO2018135127 A1 WO 2018135127A1
Authority
WO
WIPO (PCT)
Prior art keywords
insulating
wiring
film thickness
region
display device
Prior art date
Legal status (The legal status is an assumption and is not a legal conclusion. Google has not performed a legal analysis and makes no representation as to the accuracy of the status listed.)
Ceased
Application number
PCT/JP2017/041959
Other languages
English (en)
French (fr)
Japanese (ja)
Inventor
憲太 梶山
眞澄 西村
Current Assignee (The listed assignees may be inaccurate. Google has not performed a legal analysis and makes no representation or warranty as to the accuracy of the list.)
Japan Display Inc
Original Assignee
Japan Display Inc
Priority date (The priority date is an assumption and is not a legal conclusion. Google has not performed a legal analysis and makes no representation as to the accuracy of the date listed.)
Filing date
Publication date
Application filed by Japan Display Inc filed Critical Japan Display Inc
Priority to CN201780084096.6A priority Critical patent/CN110226192B/zh
Publication of WO2018135127A1 publication Critical patent/WO2018135127A1/ja
Priority to US16/512,646 priority patent/US10985232B2/en
Anticipated expiration legal-status Critical
Priority to US17/210,680 priority patent/US11508802B2/en
Ceased legal-status Critical Current

Links

Images

Classifications

    • HELECTRICITY
    • H10SEMICONDUCTOR DEVICES; ELECTRIC SOLID-STATE DEVICES NOT OTHERWISE PROVIDED FOR
    • H10KORGANIC ELECTRIC SOLID-STATE DEVICES
    • H10K59/00Integrated devices, or assemblies of multiple devices, comprising at least one organic light-emitting element covered by group H10K50/00
    • H10K59/10OLED displays
    • H10K59/12Active-matrix OLED [AMOLED] displays
    • H10K59/131Interconnections, e.g. wiring lines or terminals
    • GPHYSICS
    • G09EDUCATION; CRYPTOGRAPHY; DISPLAY; ADVERTISING; SEALS
    • G09FDISPLAYING; ADVERTISING; SIGNS; LABELS OR NAME-PLATES; SEALS
    • G09F9/00Indicating arrangements for variable information in which the information is built-up on a support by selection or combination of individual elements
    • GPHYSICS
    • G09EDUCATION; CRYPTOGRAPHY; DISPLAY; ADVERTISING; SEALS
    • G09FDISPLAYING; ADVERTISING; SIGNS; LABELS OR NAME-PLATES; SEALS
    • G09F9/00Indicating arrangements for variable information in which the information is built-up on a support by selection or combination of individual elements
    • G09F9/30Indicating arrangements for variable information in which the information is built-up on a support by selection or combination of individual elements in which the desired character or characters are formed by combining individual elements
    • HELECTRICITY
    • H05ELECTRIC TECHNIQUES NOT OTHERWISE PROVIDED FOR
    • H05BELECTRIC HEATING; ELECTRIC LIGHT SOURCES NOT OTHERWISE PROVIDED FOR; CIRCUIT ARRANGEMENTS FOR ELECTRIC LIGHT SOURCES, IN GENERAL
    • H05B33/00Electroluminescent light sources
    • H05B33/02Details
    • HELECTRICITY
    • H05ELECTRIC TECHNIQUES NOT OTHERWISE PROVIDED FOR
    • H05BELECTRIC HEATING; ELECTRIC LIGHT SOURCES NOT OTHERWISE PROVIDED FOR; CIRCUIT ARRANGEMENTS FOR ELECTRIC LIGHT SOURCES, IN GENERAL
    • H05B33/00Electroluminescent light sources
    • H05B33/12Light sources with substantially two-dimensional radiating surfaces
    • HELECTRICITY
    • H05ELECTRIC TECHNIQUES NOT OTHERWISE PROVIDED FOR
    • H05BELECTRIC HEATING; ELECTRIC LIGHT SOURCES NOT OTHERWISE PROVIDED FOR; CIRCUIT ARRANGEMENTS FOR ELECTRIC LIGHT SOURCES, IN GENERAL
    • H05B33/00Electroluminescent light sources
    • H05B33/12Light sources with substantially two-dimensional radiating surfaces
    • H05B33/22Light sources with substantially two-dimensional radiating surfaces characterised by the chemical or physical composition or the arrangement of auxiliary dielectric or reflective layers
    • HELECTRICITY
    • H10SEMICONDUCTOR DEVICES; ELECTRIC SOLID-STATE DEVICES NOT OTHERWISE PROVIDED FOR
    • H10KORGANIC ELECTRIC SOLID-STATE DEVICES
    • H10K59/00Integrated devices, or assemblies of multiple devices, comprising at least one organic light-emitting element covered by group H10K50/00
    • H10K59/10OLED displays
    • H10K59/12Active-matrix OLED [AMOLED] displays
    • H10K59/124Insulating layers formed between TFT elements and OLED elements
    • HELECTRICITY
    • H10SEMICONDUCTOR DEVICES; ELECTRIC SOLID-STATE DEVICES NOT OTHERWISE PROVIDED FOR
    • H10KORGANIC ELECTRIC SOLID-STATE DEVICES
    • H10K77/00Constructional details of devices covered by this subclass and not covered by groups H10K10/80, H10K30/80, H10K50/80 or H10K59/80
    • H10K77/10Substrates, e.g. flexible substrates
    • H10K77/111Flexible substrates
    • HELECTRICITY
    • H10SEMICONDUCTOR DEVICES; ELECTRIC SOLID-STATE DEVICES NOT OTHERWISE PROVIDED FOR
    • H10KORGANIC ELECTRIC SOLID-STATE DEVICES
    • H10K2102/00Constructional details relating to the organic devices covered by this subclass
    • H10K2102/301Details of OLEDs
    • H10K2102/311Flexible OLED
    • HELECTRICITY
    • H10SEMICONDUCTOR DEVICES; ELECTRIC SOLID-STATE DEVICES NOT OTHERWISE PROVIDED FOR
    • H10KORGANIC ELECTRIC SOLID-STATE DEVICES
    • H10K59/00Integrated devices, or assemblies of multiple devices, comprising at least one organic light-emitting element covered by group H10K50/00
    • H10K59/10OLED displays
    • H10K59/12Active-matrix OLED [AMOLED] displays
    • YGENERAL TAGGING OF NEW TECHNOLOGICAL DEVELOPMENTS; GENERAL TAGGING OF CROSS-SECTIONAL TECHNOLOGIES SPANNING OVER SEVERAL SECTIONS OF THE IPC; TECHNICAL SUBJECTS COVERED BY FORMER USPC CROSS-REFERENCE ART COLLECTIONS [XRACs] AND DIGESTS
    • Y02TECHNOLOGIES OR APPLICATIONS FOR MITIGATION OR ADAPTATION AGAINST CLIMATE CHANGE
    • Y02EREDUCTION OF GREENHOUSE GAS [GHG] EMISSIONS, RELATED TO ENERGY GENERATION, TRANSMISSION OR DISTRIBUTION
    • Y02E10/00Energy generation through renewable energy sources
    • Y02E10/50Photovoltaic [PV] energy
    • Y02E10/549Organic PV cells

Definitions

  • the present invention relates to a display device.
  • Flat panel displays such as organic electroluminescence (EL) displays have a display panel in which thin film transistors (TFTs) and organic light emitting diodes (OLEDs) are formed on a substrate.
  • TFTs thin film transistors
  • OLEDs organic light emitting diodes
  • a glass substrate has been used as a base material of a display panel, but in recent years, a flexible display capable of bending the display panel using a resin film or the like such as a polyimide film as the base material is under development .
  • a narrow frame is formed by bending a mounting portion of an integrated circuit (IC) or a flexible printed circuit (FPC) provided outside the image display area of a display panel to the back side of the display area.
  • IC integrated circuit
  • FPC flexible printed circuit
  • Patent Document 1 discloses a configuration in which a plurality of wirings with different potentials is provided on the upper surface of the insulating sheet in a curved region formed by bending the mounting portion to the back surface side of the display region.
  • the suppression of the short circuit between the plurality of wires having different potentials is not sufficient. That is, since it is necessary to lower the rigidity of the insulating sheet in the above-mentioned curved region, it is desirable to reduce the film thickness of the insulating sheet. However, if the film thickness of the insulating sheet is reduced stepwise, a step portion connecting the plurality of wires may occur. In the step portion, when the wiring layer is formed on the upper surface of the insulating sheet and then processed into a wiring shape by dry etching or the like, unnecessary wiring layers may not be removed and remain. . As a result, there is a possibility that a short circuit may occur due to the remaining part of the wiring layer electrically connecting a plurality of wirings having different potentials.
  • the present invention has been made in view of the above problems, and an object thereof is to suppress a short circuit between a plurality of wirings having different potentials in a curved region.
  • a display device includes a display area having a pixel array section, a drive section forming area provided on the back side of the display area and having a drive section for driving the pixel array section, and the display area And a display panel having a curved area connecting the drive section forming area, wherein the display panel is provided from the display area to the drive section forming area, and in the curved area, a film of the display area
  • a first film thickness area having a first film thickness thinner than a thickness and a film thickness of the drive section formation area; and a first film disposed between the display area and the first film thickness area
  • An insulating sheet having a step portion, a second step portion disposed between the drive portion forming region and the first film thickness region, and the first sheet above the insulating sheet Traversing the step portion and the second step portion, and From the first step portion between the first wiring and the second wiring electrically connecting the pixel array portion and the driving portion, and the first wiring and the second wiring; And an insulating wall extending to the second insul
  • the upper surface of the insulating wall may be continuous with the upper surface of the insulating sheet in the display region and the drive portion formation region.
  • the display device in the above (1) to (2) may include a first conductor disposed in the first stepped portion and the second stepped portion.
  • the insulating sheet has a second film thickness thinner than the first film thickness at the center side of the first film thickness region. It has a second film thickness area, and at least one of the first wiring and the second wiring is disposed between the first film thickness area and the second film thickness area. It may be arranged to cross the third step.
  • the display device in the above (4) may include the second conductor disposed in the third stepped portion.
  • the insulating sheet includes an insulating base, and a first insulating film provided on the insulating base, In the film thickness region of 2, the upper surface of the insulating base material may be exposed from at least a part of the first insulating film.
  • the insulating substrate may be made of polyimide.
  • the first insulating film may be a stacked body of a silicon oxide layer and a silicon nitride layer.
  • the insulating sheet is formed between the first insulating film and the first wiring in the display area, and the first insulating film and the second A second insulating film may be further included between the wiring and the wiring.
  • a step reduction layer may be provided between the second insulating film and the first insulating film.
  • At least a part of the insulating wall may be made of the same material as the second insulating film.
  • the first wiring and the second wiring may be signal lines having different potentials.
  • the display device includes a display area having a pixel array section, a drive section formation area provided on the back side of the display area and having a drive section for driving the pixel array section, and the display area And a curved region connecting the driving portion forming region, wherein the display panel is provided on an insulating base made of an organic material, and on the insulating base, and an inorganic insulating material
  • the display region to the drive portion formation region, and having a first film thickness smaller than the film thickness of the display region and the film thickness of the drive portion formation region in the curved region A first step portion having a film thickness area of 1 and disposed between the display area and the first film thickness area, and between the drive section formation area and the first film thickness area
  • An inorganic insulating film having a second step portion disposed in the First wiring which crosses the first step and the second step above the inorganic insulating film and which electrically connects the pixel array portion and the driving portion; And an insulating wall extending from the first stepped portion to
  • the upper surface of the insulating wall may be continuous with the upper surface of the inorganic insulating film in the display region and the drive portion formation region.
  • the display according to (13) or (14) may include the first conductor disposed in the first stepped portion and the second stepped portion.
  • the inorganic insulating film has a second film thickness thinner than the first film thickness at the center side of the first film thickness region. It has a second film thickness area, and at least one of the first wiring and the second wiring is disposed between the first film thickness area and the second film thickness area. It may be arranged to cross the third step.
  • the inorganic insulating film may be a first insulating film disposed between the insulating base and the first wiring and the second wiring;
  • the semiconductor device may include a second insulating film disposed between the first insulating film and the first wiring and the second wiring.
  • a step reduction layer may be provided between the second insulating film and the first insulating film.
  • At least a part of the insulating wall may be made of the same material as the second insulating film.
  • FIG. 1 is a schematic view showing a schematic configuration of a display device according to the present embodiment.
  • FIG. 2 is a schematic plan view of the display panel in the display device according to the present embodiment.
  • FIG. 3 is a schematic vertical sectional view of the display panel at a position along the line III-III shown in FIG.
  • FIG. 4 is a schematic vertical cross-sectional view of the display panel in the display device according to the present embodiment.
  • FIG. 5 is a schematic vertical sectional view of a display panel having a curved region according to the present embodiment.
  • FIG. 6 is a schematic vertical cross-sectional view of the vicinity of the curved region of the display device according to the present embodiment.
  • FIG. 7 is a schematic plan view showing the manufacturing process of the display device according to the present embodiment.
  • FIG. 8 is a schematic plan view showing the manufacturing process of the display device according to the present embodiment.
  • FIG. 9 is a schematic plan view showing the manufacturing process of the display device according to the present embodiment.
  • FIG. 10 is a schematic vertical sectional view of the display panel at a position along line XX shown in FIG.
  • FIG. 11 is a schematic vertical cross-sectional view of the vicinity of the curved region of the display device according to the present embodiment.
  • FIG. 12 is a schematic vertical cross-sectional view of the display panel at a position along line XII-XII shown in FIG.
  • FIG. 13 is a schematic vertical cross-sectional view of the vicinity of the curved region of the display device according to the present embodiment.
  • FIG. 10 is a schematic vertical sectional view of the display panel at a position along line XX shown in FIG.
  • FIG. 11 is a schematic vertical cross-sectional view of the vicinity of the curved region of the display device according to the present embodiment.
  • FIG. 12 is a schematic vertical
  • FIG. 14 is a schematic vertical sectional view of the display panel at a position along line XIV-XIV shown in FIG.
  • FIG. 15 is a schematic vertical cross-sectional view of the vicinity of the curved region of the display device according to the present embodiment.
  • FIG. 16 is a schematic plan view showing the manufacturing process of the display device according to the present embodiment.
  • FIG. 17 is a schematic plan view showing the manufacturing process of the display device according to the present embodiment.
  • FIG. 18 is a schematic vertical cross-sectional view in the curved region of the display device according to the present embodiment.
  • FIG. 19 is a schematic plan view showing the manufacturing process of the display device according to the present embodiment.
  • FIG. 20 is a schematic vertical sectional view of the display panel at a position along the line XX-XX shown in FIG.
  • the display device 2 is, for example, an organic electroluminescence display device, and is mounted on a television, a personal computer, a portable terminal, a mobile phone or the like.
  • FIG. 1 is a schematic view showing a schematic configuration of a display device 2 according to the present embodiment.
  • the display device 2 includes a pixel array unit 4 that displays an image, and a drive unit that drives the pixel array unit 4.
  • the display device 2 is a flexible display, and has a wiring layer including a base made of a flexible resin film or the like, and a wiring provided inside or above the base.
  • organic light emitting diodes 6 and pixel circuits 8 are arranged in a matrix corresponding to the pixels.
  • the pixel circuit 8 includes a light film transistor (thin film transistor) 10, a drive TFT 12, a capacitor 14, and the like.
  • the driving unit includes the scanning line driving circuit 20, the video line driving circuit 22, the driving power supply circuit 24, and the control device 26, drives the pixel circuit 8, and controls light emission of the organic light emitting diode 6.
  • the scanning line driving circuit 20 is connected to a scanning signal line 28 provided for each horizontal row (pixel row) of pixels.
  • the scanning line drive circuit 20 sequentially selects the scanning signal line 28 in accordance with the timing signal input from the control device 26, and applies a voltage for turning on the lighting TFT 10 to the selected scanning signal line 28.
  • the video line drive circuit 22 is connected to a video signal line 30 provided for each vertical row (pixel column) of pixels.
  • the video line drive circuit 22 receives a video signal from the control device 26, and in accordance with the selection of the scanning signal line 28 by the scanning line drive circuit 20, a voltage corresponding to the video signal of the selected pixel row is input to each video signal line 30. Output to The voltage is written to the capacitor 14 via the lighting TFT 10 in the selected pixel row.
  • the driving TFT 12 supplies a current corresponding to the written voltage to the organic light emitting diode 6, whereby the organic light emitting diode 6 of the pixel corresponding to the selected scanning signal line 28 emits light.
  • the drive power supply circuit 24 is connected to a drive power supply line 32 provided for each pixel column, and supplies a current to the organic light emitting diode 6 through the drive power supply line 32 and the drive TFT 12 of the selected pixel row.
  • the lower electrode of the organic light emitting diode 6 is connected to the drive TFT 12.
  • the upper electrode of each organic light emitting diode 6 is formed of an electrode common to the organic light emitting diodes 6 of all the pixels.
  • the lower electrode is configured as an anode (anode)
  • a high potential is input
  • the upper electrode is a cathode (cathode)
  • a low potential is input
  • the upper electrode is an anode (anode)
  • a high potential is input.
  • FIG. 2 is a schematic plan view of the display panel 40 of the display device 2.
  • the pixel array unit 4 shown in FIG. 1 is provided in the display area 42 of the display panel 40, and the organic light emitting diodes 6 are arranged in the pixel array unit 4 as described above.
  • the upper electrode 104 constituting the organic light emitting diode 6 is formed in common to each pixel and covers substantially the entire display area 42.
  • a drive portion formation region 46 is provided on one side of the display panel 40 which is a rectangle, and a wire connected to the display region 42 is disposed. Further, a driver IC 48 constituting a drive unit is mounted in the drive unit formation region 46, or an FPC (Flexible Printed Circuits) 50 is connected.
  • the FPC 50 is connected to the scanning line drive circuit 20, the video line drive circuit 22, the drive power supply circuit 24, the control device 26 and the like, and an IC is mounted thereon.
  • FIG. 3 is a schematic vertical sectional view of the display panel 40 at a position along the line III-III shown in FIG.
  • the display panel 40 has a structure in which a circuit layer composed of a TFT 72 or the like, an organic light emitting diode 6, and a sealing layer 106 for sealing the organic light emitting diode 6 are laminated on an insulating base 70 made of a resin film. .
  • a polyimide film can be used as the insulating substrate 70.
  • a protective film 114 can be formed on the sealing layer 106.
  • the pixel array unit 4 is a top emission type, and the light generated by the organic light emitting diode 6 is emitted on the opposite side to the insulating base 70, that is, upward in FIG.
  • a color filter is disposed between the sealing layer 106 and the protective film 114 or on the opposite substrate side, and the organic light emitting diode 6 emits white light.
  • the organic light emitting diode 6 emits white light.
  • a color filter By generating the white light and passing the white light through a color filter, light of a color such as red (R), green (G) and blue (B) is produced.
  • the pixel circuit 8 In the circuit layer of the display area 42, the pixel circuit 8, the scanning signal line 28, the video signal line 30, the driving power supply line 32, and the like described above are formed.
  • at least a part of the drive unit can be formed on the insulating base 70 as a circuit layer in an area adjacent to the display area 42.
  • the driver IC 48 and the FPC 50 which constitute the drive unit can be connected to the wiring 116 of the circuit layer in the drive unit formation region 46.
  • polysilicon is formed on the insulating base material 70 via the first insulating film 80 as an underlayer formed of an inorganic insulating material such as silicon nitride (SiNy) or silicon oxide (SiOx).
  • a film is formed, and the p-Si film is patterned to selectively leave the p-Si film at the portion used in the circuit layer.
  • a semiconductor region 82 to be a channel portion and a source / drain portion of the top gate type TFT 72 is formed using a p-Si film.
  • a gate electrode 86 is disposed on the channel portion of the TFT 72 via the gate insulating film 84.
  • the gate electrode 86 is formed by patterning a metal film formed by sputtering or the like. Thereafter, an interlayer insulating film 88 covering the gate electrode 86 is stacked. Impurities are introduced into p-Si to be a source part and a drain part of the TFT 72 by ion implantation, and a source electrode 90a and a drain electrode 90b electrically connected to them are formed. After the TFT 72 is formed in this manner, the interlayer insulating film 92 is stacked.
  • the metal film formed by sputtering or the like can be patterned on the surface of the interlayer insulating film 92 to form the wiring 94 and the like, which are used to form the metal film and the gate electrode 86, the source electrode 90a, and the drain electrode 90b.
  • the wiring 116, and the scanning signal line 28, the video signal line 30, and the driving power supply line 32 shown in FIG. 1 can be formed in a multilayer wiring structure.
  • an organic material such as an acrylic resin is laminated thereon to form a planarizing film 96, whereby the organic light emitting diode 6 is formed on the surface of the display area 42 planarized.
  • the organic light emitting diode 6 is composed of a lower electrode 100, an organic material layer 102 and an upper electrode 104, and the lower electrode 100, the organic material layer 102 and the upper electrode 104 are sequentially stacked from the insulating base 70 side.
  • the lower electrode 100 is an anode (anode) of the organic light emitting diode 6
  • the upper electrode 104 is a cathode (cathode).
  • the organic material layer 102 includes a hole transport layer, a light emitting layer, an electron transport layer, and the like.
  • the lower electrode 100 is connected to the source electrode 90 a of the TFT 72. Specifically, after the formation of the planarizing film 96 described above, the contact hole 110 for connecting the lower electrode 100 to the TFT 72 is formed, and the conductive film formed on the surface of the planarizing film 96 and in the contact hole 110 is patterned. Then, the lower electrode 100 connected to the TFT 72 is formed for each pixel.
  • a bank 112 is formed at the pixel boundary.
  • the lower electrode 100 is exposed in the effective area of the pixel surrounded by the bank 112.
  • the layers constituting the organic material layer 102 are sequentially stacked on the lower electrode 100.
  • An upper electrode 104 is formed on the organic material layer 102 using a transparent electrode material.
  • a SiNy film is formed as a sealing layer 106 on the surface of the upper electrode 104 by the CVD method.
  • the protective film 114 is laminated on the surface of the display area.
  • the protective film 114 is not provided in the drive portion formation region 46 in order to facilitate connection of the IC and the FPC.
  • the wiring of the FPC 50 and the terminal of the driver IC 48 are electrically connected to, for example, the wiring 116.
  • a display function layer including a circuit layer such as the organic light emitting diode 6 or the TFT 72 as a display element is formed on one main surface of the flexible film-like insulating substrate 70 using FIG.
  • the structure of the display panel 40 has been described.
  • the display panel 40 is manufactured with the entire insulating substrate 70 kept flat as shown in FIG. 3, but when stored in the housing of the display device 2, the display panel 40 is curved outward from the display area 42 of the display panel 40.
  • the area 120 can be provided, and the drive portion formation area 46 can be folded back to the back side of the display area 42.
  • FIGS. 4 and 5 are schematic vertical cross-sectional views of the display panel 40 corresponding to the formation of the curved region 120, and show a cross-section at a position along the line III-III shown in FIG.
  • the laminated structure such as the display functional layer on the insulating substrate 70 is used as the upper structural layer 118, and in FIGS.
  • FIG. 4 is a cross section in a state in which the display panel 40 is kept flat
  • FIG. 5 is a sectional view in which a curved area 120 is provided between the drive area 46 and the display area 42 to which the FPC 50 and driver IC 48 are attached. Is a cross section of the display area 42 in the state of being folded back.
  • the display area 42 has the pixel array section 4, and the drive section formation area 46 has a drive section for driving the pixel array section 4.
  • a plurality of wirings 116 electrically connecting the pixel array unit 4 and the drive unit are disposed in the upper structural layer 118 in the curved region 120 connecting the display region 42 and the drive unit formation region 46. .
  • the display panel 40 includes a spacer 256, a front reinforcing film 254, a back reinforcing film 258, an FPC 50, and a driver IC 48. .
  • the front reinforcing film 254 and the back reinforcing film 258 are provided to protect and reinforce the insulating base 70 and the upper structural layer 118.
  • the spacers 256 are provided to guide the curvature of the insulating substrate 70 and the upper structural layer 118.
  • a display area 42 for displaying an image, a curved area 120, and a drive portion forming area 46 are provided side by side in this order.
  • the curved region 120 has a curved shape along the shape of the guide portion 256A of the spacer 256.
  • the drive portion forming area 46 is disposed on the back side of the spacer 256 by the bending of the curved area 120.
  • the front reinforcing film 254 is provided on the display surface side of the display area 42 of the display panel 40 so as not to overlap with the curved area 120.
  • the back reinforcing film 258 is provided between the insulating base 70 and the spacer 256 in the display area 42, and is driven with a first reinforcing portion 258A attached to the insulating base 70, and a drive.
  • the second reinforcing portion 258B provided between the insulating base 70 and the spacer 256 in the portion forming area 46 and attached to the insulating base 70, and the insulating base 70 and the spacer 256 in the curved area 120.
  • a curved reinforcing portion 258C attached to the insulating substrate 70.
  • the second reinforcing portion 258B of the back reinforcing film 258 is attached to the surface on the back side of the spacer 256 by the bonding member 266, and the first reinforcing portion 258A of the back reinforcing film 258 is
  • the adhesive member 262 is attached to the surface on the display surface side of the spacer 256.
  • the adhesive member 262 and the adhesive member 266 may be made of an adhesive resin or the like, or may be a double-sided tape or the like.
  • the curved reinforcing portion 258C is not bonded to the spacer 256 by an adhesive member, but an adhesive member may be provided also on the guide portion 256A of the spacer 256.
  • a resin having adhesiveness as an adhesive member may be filled in the space between the curved reinforcing portion 258C and the spacer 256, and the curved reinforcing portion 258C and the guide portion 256A of the spacer 256 may be directly bonded.
  • the spacer 256 has a shape in which a guide portion 256A for guiding the curvature of the curved area 120 of the display panel 40 is rounded in a cross sectional view. With such a shape, disconnection or breakage of the wiring 116 and the like in the curved region 120 of the display panel 40 is unlikely to occur.
  • the back reinforcing film 258 is provided on the inner surface side of the curvature of the curved region 120, the stress generated in the display panel 40 can be alleviated, and the disconnection of the wiring 116 of the display panel 40 is suppressed. be able to.
  • the stress is most likely to occur in the curved region, since the curved reinforcing portion 258C is provided in the curved region 120, the stress is more easily relaxed.
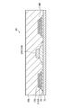
  • FIG. 6 is a schematic vertical cross-sectional view of the vicinity of the curved region 120 of the display device 2 according to the present embodiment.
  • a first laminate of silicon nitride (SiNy) and silicon oxide (SiOx) or the like is formed on the upper surface of the insulating base 70 made of polyimide or the like.
  • the insulating film 80 is formed.
  • a second insulating film 134 is formed on the upper surface of the first insulating film 80.
  • the second insulating film 134 corresponds to, for example, the gate insulating film 84 or the interlayer insulating film 88 shown in FIG. Similar to the first insulating film 80, the second insulating film 134 can be formed using silicon nitride (SiNy), silicon oxide (SiOx), or the like.
  • the insulating substrate 70, the first insulating film 80, and the second insulating film 134 constitute an insulating sheet 132.
  • the first insulating film 80 and the second insulating film 134 are inorganic insulating films, and the insulating base 70 is an organic insulating film.
  • FIG. 7 is a top view showing a state after the second insulating film 134 is formed.
  • the second insulating film 134 is not provided in most of the curved region 120, but is provided only between the two wiring formation regions 136A and 136B where the wiring 116 is formed.
  • the second insulating film 134 provided between the two wiring formation regions 136A and 136B serves as the insulating wall 200.
  • the second insulating film 134 is not provided in most of the curved region 120 except the region where the insulating wall 200 is formed, whereby the insulating sheet 132 shown in FIG. Stiffness can be reduced.
  • the film thickness of the insulating sheet 132 is a first film thickness thinner than the film thickness of the display region 42 and the film thickness of the drive portion formation region 46. This region is defined as a first film thickness region 126.
  • a first stepped portion 170 is formed between the first film thickness region 126 and the display region 42, and a second stepped portion between the first film thickness region 126 and the drive portion formation region 46. 172 is formed.
  • the insulating wall 200 extends from the first stepped portion 170 to the second stepped portion 172.
  • the top surface of the second insulating film 134 and the top surface of the insulating wall 200 are continuous. That is, the upper surface of the insulating wall 200 is continuous with the upper surface of the insulating sheet 132 in the display area 42 and the drive portion forming area 46. This is because, in the process of forming the second insulating film 134, the insulating wall 200 and the second insulating film 134 are simultaneously formed using the same material.
  • the insulating sheet 132 is a second film thickness region having a second film thickness thinner than the first film thickness on the center side of the first film thickness region 126. It has 128.
  • the curved region 120 can realize a further decrease in the rigidity of the insulating sheet 132 by having a thinner second film thickness region 128.
  • a third step portion 174 is formed at the boundary between the first film thickness region 126 and the second film thickness region 128.
  • the wiring 116 is provided on the upper surface of the second insulating film 134 and the upper surface of the first insulating film 80 in the curved region 120.
  • the wiring 116 is processed into the shape of the wiring 116 by dry etching after the wiring layer is formed on the entire surface of the insulating sheet 132 by sputtering, for example.
  • FIG. 8 is a top view showing a state in which the first wiring 116A and the second 116B are formed by dry etching after the wiring layer is formed.
  • the first wires 116A and the second wires 116B run parallel to each other, and electrically connect the pixel array unit 4 provided in the display area 42, and the driver IC 48 and the like constituting the drive unit provided in the drive unit formation area 46.
  • Connected to The first wiring 116A and the second wiring 116B cross the first step portion 170 and the second step portion 172, respectively. Further, in the present embodiment, the first wiring 116A and the second wiring 116B both cross the third step portion 174.
  • first wiring 116A and the second wiring 116B are formed only in the portions scheduled for the wiring formation regions 136A and 136B described above with reference to FIG.
  • first step 170 and the second step 172 there is a possibility that the first conductor 140A which could not be removed in the dry etching step may remain. is there.
  • the second conductor 140B that could not be removed in the dry etching step may remain.
  • the display panel 40 since the display panel 40 has the insulating wall 200 formed before the formation of the conductor 140, the first conductor 140A which can not be completely removed in the dry etching process, It can be suppressed that the second conductor 140B electrically connects the first wiring 116A and the second wiring 116B.
  • the third conductor 140C which can not be completely removed in the dry etching step remains even in the step portion at the boundary between the insulating wall 200 forming portion and the insulating wall 200 non-forming portion.
  • the insulating wall 200 is configured to extend from the first stepped portion 170 to the second stepped portion 172 between the first wiring 116A and the second wiring 116B, the third conductor 140C
  • the first conductor 140A remaining on one side of the insulating wall 200 and the first conductor 140A remaining on the other side of the insulating wall 200 can be prevented from being electrically connected, and as a result thereof It is possible to suppress the electrical connection between the first first wiring 116A and the second wiring 116B.
  • the first wiring 116A and the second wiring 116B are formed, as shown in FIG. 9, the first wiring 116A of the first insulating film 80 in the second film thickness region 128, the second The region where the wiring 116B is not formed may be etched to expose the upper surface of the insulating base 70 from a part or the entire surface of the first insulating film 80. With such a configuration, it is possible to realize a further reduction in the rigidity of the insulating sheet 132.
  • an inorganic insulating film 150 is formed covering the top and side surfaces of the first wiring 116A and the second wiring 116B.
  • the inorganic insulating film 150 is formed using, for example, silicon nitride or the like.
  • planarizing film 96 is formed on the exposed upper surface of the display region 42 and the inorganic insulating film 150 in the drive portion formation region 46, and the first insulating film 80 and the second insulating film 134.
  • the planarization film 96 is formed using, for example, polyimide.
  • a sealing layer 106 which seals the entire top surface of the display panel 40 is formed.
  • the sealing layer 106 is formed using, for example, a silicon nitride film as described above.
  • the planarizing film 96 may be provided in all the regions 42, the curved region 120, and the drive portion formation region 46.
  • the inorganic insulating film 150 is provided in all of the display region 42, the curved region 120, and the drive portion forming region 46 , but as shown in FIGS. It may be formed only in the display area 42, and the inorganic insulating film 150 may not be provided in the curved area 120 and the drive part formation area 46. Since the planarization film 96, the sealing layer 106, and the like cover the upper surfaces and the side surfaces of the plurality of wirings 116, the insulating film between the planarization film 96 and the sealing layer 106 has a plurality of wirings 116 without providing the inorganic insulating film 150. Can be secured. In the embodiment shown in FIGS.
  • the upper surface of the insulating base 70 is exposed from the entire surface of the first insulating film 80 in the second film thickness region 128, and the second film thickness region 128 is exposed.
  • the wiring 116 is provided on the upper surface of the insulating base 70. That is, the film thickness of the insulating sheet 132 in the second film thickness region 128 is only the thickness of the insulating base material 70. With such a configuration, the rigidity in the curved region 120 can be further reduced.
  • the step reduction layer 160 is interposed between the second insulating film 134 and the first insulating film 80. It is desirable to provide it.
  • the step difference relaxation layer 160 is formed on the upper surface of the first insulating film 80, and is formed so that a part thereof protrudes from the lower surface of the second insulating film 134.
  • Step reduction layer 160 can be formed using, for example, a polysilicon film or the like.
  • the first insulating film 80 is not provided below the wiring 116, whereby the risk of the wiring 116 being broken can be reduced. That is, generally, the inorganic insulating film has a high risk of being broken as it is bent. Therefore, there is a risk that the first insulating film 80 which is an inorganic insulating film is broken when the curved region 120 is bent.
  • the first insulating film 80 since the first insulating film 80 is not provided below the wiring 116 in the curved region 120, the bending of the curved region 120 is caused. It is possible to suppress the first insulating film 80 from being broken. As a result, it is possible to reduce the risk that the wiring 116 is broken due to the impact accompanying the crack of the first insulating film 80.
  • the configuration in which the insulating wall 200 is integrally formed with the second insulating film 134 is described as an example, but the insulating wall 200 and the second insulating film 134 are separately configured. It may be However, as shown in this embodiment, the manufacturing cost can be reduced by integrally forming the insulating wall 200 and the second insulating film 134 with the same material.
  • the possibility of the first wiring 116A and the second wiring 116B being electrically connected is further reduced. be able to. That is, the highest risk that the first wiring 116A and the second wiring 116B are electrically connected is because the first conductor 140A may remain due to the difference in level that has arisen in the vicinity of the insulating wall 200.
  • the boundary region between the first insulating film 80 and the second insulating film 134 which is the boundary region between the first insulating film 80 and the second insulating film 134, corresponds to the second insulating film 134 and the insulating wall 200.
  • the stress applied at the time of forming the curved region 120 causes the second insulating film 134 and the insulating wall 200 to split.
  • the possibility of electrically connecting the first wiring 116A and the second wiring 116B can be further reduced.
  • the above-described insulating wall 200 is provided between the plurality of signal lines 116C, 116D, and 116E having different potentials, whereby the signal line 116C, the signal line 116D, and the signal lines It is desirable that electrical connection between the signal line 116D and the signal line 116E can be suppressed by the first conductor 140A and the second conductor 140B that can not be removed in the dry etching step.
  • the signal line 116E and the power supply line 116F can be the first conductor 140A and the second conductor 140B. Is desirable because it can suppress electrical connection.
  • the power supply line 116F in the case where an opening is provided in the power supply line 116F in order to reduce the rigidity of the curved region 120, it is necessary to provide the insulating wall 200 in the opening formation region. There is no. The potential of the power supply line 116F does not change between the right side and the left side of the opening, and there is no problem even if it is electrically connected by the first conductor 140A and the second conductor 140B that could not be removed in the dry etching process. It is. Further, by not providing the insulating wall 200 in the opening formation region, the power supply line 116F can be formed with a limited area, and the area reduction of the display device 2 can be achieved.
  • each wire 116 has a shape in which a plurality of rhombuses are combined
  • a curve according to the apex of the rhombus It is desirable to have a zigzag shape having a portion. With such a configuration, the wirings 116 and the insulating wall 200 can be disposed closer to each other. Furthermore, the bending resistance of each wire 116 itself is also increased.
  • the conductor is removed by etching or the like on the inner side of the rhombus shape in each wiring 116 to form an opening and expose the first insulating film 80 and the insulating base 70.

Landscapes

  • Engineering & Computer Science (AREA)
  • Microelectronics & Electronic Packaging (AREA)
  • Physics & Mathematics (AREA)
  • General Physics & Mathematics (AREA)
  • Theoretical Computer Science (AREA)
  • Electroluminescent Light Sources (AREA)
  • Devices For Indicating Variable Information By Combining Individual Elements (AREA)
PCT/JP2017/041959 2017-01-20 2017-11-22 表示装置 Ceased WO2018135127A1 (ja)

Priority Applications (3)

Application Number Priority Date Filing Date Title
CN201780084096.6A CN110226192B (zh) 2017-01-20 2017-11-22 显示装置
US16/512,646 US10985232B2 (en) 2017-01-20 2019-07-16 Display device included a folded-back display panel portion for a driver
US17/210,680 US11508802B2 (en) 2017-01-20 2021-03-24 Semiconductor device

Applications Claiming Priority (2)

Application Number Priority Date Filing Date Title
JP2017008563A JP6777558B2 (ja) 2017-01-20 2017-01-20 表示装置
JP2017-008563 2017-01-20

Related Child Applications (1)

Application Number Title Priority Date Filing Date
US16/512,646 Continuation US10985232B2 (en) 2017-01-20 2019-07-16 Display device included a folded-back display panel portion for a driver

Publications (1)

Publication Number Publication Date
WO2018135127A1 true WO2018135127A1 (ja) 2018-07-26

Family

ID=62908724

Family Applications (1)

Application Number Title Priority Date Filing Date
PCT/JP2017/041959 Ceased WO2018135127A1 (ja) 2017-01-20 2017-11-22 表示装置

Country Status (4)

Country Link
US (2) US10985232B2 (enExample)
JP (1) JP6777558B2 (enExample)
CN (1) CN110226192B (enExample)
WO (1) WO2018135127A1 (enExample)

Cited By (6)

* Cited by examiner, † Cited by third party
Publication number Priority date Publication date Assignee Title
WO2020017007A1 (ja) * 2018-07-19 2020-01-23 シャープ株式会社 表示装置およびその製造方法
WO2020044439A1 (ja) * 2018-08-28 2020-03-05 シャープ株式会社 表示装置
WO2020065825A1 (ja) * 2018-09-27 2020-04-02 シャープ株式会社 表示デバイス、表示デバイスの製造方法
WO2020145296A1 (ja) * 2019-01-09 2020-07-16 株式会社Joled 表示パネルおよび表示装置
US20210066440A1 (en) * 2018-01-31 2021-03-04 Sharp Kabushiki Kaisha Display device
EP3859783A4 (en) * 2018-09-27 2022-06-22 Boe Technology Group Co., Ltd. ARRAY SUBSTRATE, DISPLAY PANEL AND DISPLAY DEVICE

Families Citing this family (8)

* Cited by examiner, † Cited by third party
Publication number Priority date Publication date Assignee Title
KR102370450B1 (ko) * 2017-07-07 2022-03-04 삼성디스플레이 주식회사 표시 장치
KR102426617B1 (ko) * 2017-10-27 2022-07-28 엘지디스플레이 주식회사 표시장치 및 그의 제조방법
JP7068800B2 (ja) * 2017-10-30 2022-05-17 株式会社ジャパンディスプレイ 表示装置
WO2020148852A1 (ja) * 2019-01-17 2020-07-23 シャープ株式会社 表示装置
CN114600556B (zh) * 2019-10-21 2025-06-03 夏普株式会社 显示装置
CN111146189A (zh) * 2019-12-16 2020-05-12 深圳市华星光电半导体显示技术有限公司 一种显示模组及其制备方法及电子装置
KR102842888B1 (ko) * 2020-12-08 2025-08-07 주식회사 엘엑스세미콘 회로 구동부 및 그를 포함한 표시 장치
US20230180399A1 (en) * 2021-12-07 2023-06-08 Meta Platforms Technologies, Llc Design to protect chip-on-flex for dual bending

Citations (5)

* Cited by examiner, † Cited by third party
Publication number Priority date Publication date Assignee Title
JPH02132418A (ja) * 1988-07-11 1990-05-21 Toshiba Corp フレキシブル配線基板及びその製造方法及び電子部品
JP2001148547A (ja) * 1999-11-18 2001-05-29 Sanyo Electric Co Ltd 電気装置の接続に用いるcof基板
JP2002358026A (ja) * 2001-03-26 2002-12-13 Sharp Corp 表示モジュール並びにフレキシブル配線板及びフレキシブル配線板の接続方法
JP2014197181A (ja) * 2013-03-07 2014-10-16 株式会社半導体エネルギー研究所 表示装置
JP2015121777A (ja) * 2013-11-20 2015-07-02 株式会社Joled 表示装置、およびその製造方法

Family Cites Families (12)

* Cited by examiner, † Cited by third party
Publication number Priority date Publication date Assignee Title
US9419065B2 (en) * 2012-08-07 2016-08-16 Apple Inc. Flexible displays
US8890408B2 (en) 2013-01-18 2014-11-18 Nokia Corporation Method and apparatus for coupling an active display portion and substrate
US9740035B2 (en) 2013-02-15 2017-08-22 Lg Display Co., Ltd. Flexible organic light emitting display device and method for manufacturing the same
US9516743B2 (en) 2013-02-27 2016-12-06 Apple Inc. Electronic device with reduced-stress flexible display
JP2014206596A (ja) * 2013-04-11 2014-10-30 株式会社ジャパンディスプレイ 液晶表示装置及びその製造方法
KR102018741B1 (ko) 2013-06-03 2019-09-06 삼성디스플레이 주식회사 커버 윈도우를 구비하는 표시 장치
KR102086644B1 (ko) * 2013-12-31 2020-03-09 엘지디스플레이 주식회사 플렉서블표시장치 및 이의 제조방법
JP6469427B2 (ja) * 2014-12-03 2019-02-13 株式会社ジャパンディスプレイ 表示装置
US20160172428A1 (en) 2014-12-11 2016-06-16 Lg Display Co., Ltd. Flexible display device with corrosion resistant printed circuit film
CN104934438A (zh) * 2015-04-24 2015-09-23 京东方科技集团股份有限公司 一种显示基板及其制作方法、显示装置
JP6762845B2 (ja) * 2016-10-28 2020-09-30 株式会社ジャパンディスプレイ 表示装置及び配線基板
WO2018163337A1 (ja) * 2017-03-08 2018-09-13 シャープ株式会社 可撓性表示パネル、可撓性表示装置及び可撓性表示パネルの製造方法

Patent Citations (5)

* Cited by examiner, † Cited by third party
Publication number Priority date Publication date Assignee Title
JPH02132418A (ja) * 1988-07-11 1990-05-21 Toshiba Corp フレキシブル配線基板及びその製造方法及び電子部品
JP2001148547A (ja) * 1999-11-18 2001-05-29 Sanyo Electric Co Ltd 電気装置の接続に用いるcof基板
JP2002358026A (ja) * 2001-03-26 2002-12-13 Sharp Corp 表示モジュール並びにフレキシブル配線板及びフレキシブル配線板の接続方法
JP2014197181A (ja) * 2013-03-07 2014-10-16 株式会社半導体エネルギー研究所 表示装置
JP2015121777A (ja) * 2013-11-20 2015-07-02 株式会社Joled 表示装置、およびその製造方法

Cited By (9)

* Cited by examiner, † Cited by third party
Publication number Priority date Publication date Assignee Title
US20210066440A1 (en) * 2018-01-31 2021-03-04 Sharp Kabushiki Kaisha Display device
US11574982B2 (en) * 2018-01-31 2023-02-07 Sharp Kabushiki Kaisha Display device
WO2020017007A1 (ja) * 2018-07-19 2020-01-23 シャープ株式会社 表示装置およびその製造方法
WO2020044439A1 (ja) * 2018-08-28 2020-03-05 シャープ株式会社 表示装置
CN112585665A (zh) * 2018-08-28 2021-03-30 夏普株式会社 显示装置
US11889728B2 (en) 2018-08-28 2024-01-30 Sharp Kabushiki Kaisha Display device
WO2020065825A1 (ja) * 2018-09-27 2020-04-02 シャープ株式会社 表示デバイス、表示デバイスの製造方法
EP3859783A4 (en) * 2018-09-27 2022-06-22 Boe Technology Group Co., Ltd. ARRAY SUBSTRATE, DISPLAY PANEL AND DISPLAY DEVICE
WO2020145296A1 (ja) * 2019-01-09 2020-07-16 株式会社Joled 表示パネルおよび表示装置

Also Published As

Publication number Publication date
JP6777558B2 (ja) 2020-10-28
JP2018116224A (ja) 2018-07-26
CN110226192B (zh) 2021-08-27
US20210210586A1 (en) 2021-07-08
US10985232B2 (en) 2021-04-20
CN110226192A (zh) 2019-09-10
US20190341442A1 (en) 2019-11-07
US11508802B2 (en) 2022-11-22

Similar Documents

Publication Publication Date Title
CN110226192B (zh) 显示装置
JP6253541B2 (ja) 表示装置
US10573706B2 (en) Display device
US10720485B2 (en) Display device having a reduced risk of disconnection of a wiring line included in a curved region
US10134828B2 (en) Display device and method of manufacturing a display device
JP2020109452A (ja) 表示装置及び表示装置の製造方法
WO2019187074A1 (ja) 表示デバイス
JP2018116236A (ja) 表示装置
JP2018155999A (ja) 表示装置
WO2019187159A1 (ja) 表示デバイス
JP2018109683A (ja) 表示装置
JP2019003040A (ja) 表示装置
CN110476198B (zh) 显示装置
JP2018205486A (ja) 表示装置および表示装置の製造方法
WO2018220683A1 (ja) 表示装置及び表示装置の製造方法
JP2019016504A (ja) 表示装置、及び表示装置の製造方法
JP2019003026A (ja) 表示装置
JP6056073B2 (ja) 表示装置
JP7246534B2 (ja) アレイ基板
JP2019066683A (ja) 表示装置および表示装置の製造方法
US20180358423A1 (en) Display device
JP7220084B2 (ja) 表示装置
WO2019187161A1 (ja) 表示デバイス
JP2018106803A (ja) 有機el表示装置および有機el表示装置の製造方法
JP2019095592A (ja) 表示装置

Legal Events

Date Code Title Description
121 Ep: the epo has been informed by wipo that ep was designated in this application

Ref document number: 17892776

Country of ref document: EP

Kind code of ref document: A1

NENP Non-entry into the national phase

Ref country code: DE

122 Ep: pct application non-entry in european phase

Ref document number: 17892776

Country of ref document: EP

Kind code of ref document: A1