WO2018092629A1 - 流体圧機器のポートに直接取り付ける複合弁 - Google Patents

流体圧機器のポートに直接取り付ける複合弁 Download PDF

Info

Publication number
WO2018092629A1
WO2018092629A1 PCT/JP2017/040012 JP2017040012W WO2018092629A1 WO 2018092629 A1 WO2018092629 A1 WO 2018092629A1 JP 2017040012 W JP2017040012 W JP 2017040012W WO 2018092629 A1 WO2018092629 A1 WO 2018092629A1
Authority
WO
WIPO (PCT)
Prior art keywords
valve
body part
axis
module
fluid
Prior art date
Legal status (The legal status is an assumption and is not a legal conclusion. Google has not performed a legal analysis and makes no representation as to the accuracy of the status listed.)
Ceased
Application number
PCT/JP2017/040012
Other languages
English (en)
French (fr)
Japanese (ja)
Inventor
山田博介
楊清海
Current Assignee (The listed assignees may be inaccurate. Google has not performed a legal analysis and makes no representation or warranty as to the accuracy of the list.)
SMC Corp
Original Assignee
SMC Corp
Priority date (The priority date is an assumption and is not a legal conclusion. Google has not performed a legal analysis and makes no representation as to the accuracy of the date listed.)
Filing date
Publication date
Application filed by SMC Corp filed Critical SMC Corp
Priority to BR112019009849-6A priority Critical patent/BR112019009849B1/pt
Priority to MX2019005698A priority patent/MX2019005698A/es
Priority to DE112017005825.2T priority patent/DE112017005825B4/de
Priority to CN201780071117.0A priority patent/CN110023631B/zh
Priority to KR1020197013919A priority patent/KR102389484B1/ko
Priority to US16/346,384 priority patent/US10794403B2/en
Priority to RU2019118656A priority patent/RU2747588C2/ru
Publication of WO2018092629A1 publication Critical patent/WO2018092629A1/ja
Anticipated expiration legal-status Critical
Ceased legal-status Critical Current

Links

Images

Classifications

    • FMECHANICAL ENGINEERING; LIGHTING; HEATING; WEAPONS; BLASTING
    • F15FLUID-PRESSURE ACTUATORS; HYDRAULICS OR PNEUMATICS IN GENERAL
    • F15BSYSTEMS ACTING BY MEANS OF FLUIDS IN GENERAL; FLUID-PRESSURE ACTUATORS, e.g. SERVOMOTORS; DETAILS OF FLUID-PRESSURE SYSTEMS, NOT OTHERWISE PROVIDED FOR
    • F15B11/00Servomotor systems without provision for follow-up action; Circuits therefor
    • F15B11/02Systems essentially incorporating special features for controlling the speed or actuating force of an output member
    • F15B11/04Systems essentially incorporating special features for controlling the speed or actuating force of an output member for controlling the speed
    • FMECHANICAL ENGINEERING; LIGHTING; HEATING; WEAPONS; BLASTING
    • F16ENGINEERING ELEMENTS AND UNITS; GENERAL MEASURES FOR PRODUCING AND MAINTAINING EFFECTIVE FUNCTIONING OF MACHINES OR INSTALLATIONS; THERMAL INSULATION IN GENERAL
    • F16KVALVES; TAPS; COCKS; ACTUATING-FLOATS; DEVICES FOR VENTING OR AERATING
    • F16K31/00Actuating devices; Operating means; Releasing devices
    • F16K31/44Mechanical actuating means
    • F16K31/50Mechanical actuating means with screw-spindle or internally threaded actuating means
    • F16K31/508Mechanical actuating means with screw-spindle or internally threaded actuating means the actuating element being rotatable, non-rising, and driving a non-rotatable axially-sliding element
    • FMECHANICAL ENGINEERING; LIGHTING; HEATING; WEAPONS; BLASTING
    • F15FLUID-PRESSURE ACTUATORS; HYDRAULICS OR PNEUMATICS IN GENERAL
    • F15BSYSTEMS ACTING BY MEANS OF FLUIDS IN GENERAL; FLUID-PRESSURE ACTUATORS, e.g. SERVOMOTORS; DETAILS OF FLUID-PRESSURE SYSTEMS, NOT OTHERWISE PROVIDED FOR
    • F15B11/00Servomotor systems without provision for follow-up action; Circuits therefor
    • F15B11/02Systems essentially incorporating special features for controlling the speed or actuating force of an output member
    • F15B11/04Systems essentially incorporating special features for controlling the speed or actuating force of an output member for controlling the speed
    • F15B11/0413Systems essentially incorporating special features for controlling the speed or actuating force of an output member for controlling the speed in one direction only, with no control in the reverse direction, e.g. check valve in parallel with a throttle valve
    • FMECHANICAL ENGINEERING; LIGHTING; HEATING; WEAPONS; BLASTING
    • F15FLUID-PRESSURE ACTUATORS; HYDRAULICS OR PNEUMATICS IN GENERAL
    • F15BSYSTEMS ACTING BY MEANS OF FLUIDS IN GENERAL; FLUID-PRESSURE ACTUATORS, e.g. SERVOMOTORS; DETAILS OF FLUID-PRESSURE SYSTEMS, NOT OTHERWISE PROVIDED FOR
    • F15B11/00Servomotor systems without provision for follow-up action; Circuits therefor
    • F15B11/06Servomotor systems without provision for follow-up action; Circuits therefor involving features specific to the use of a compressible medium, e.g. air, steam
    • FMECHANICAL ENGINEERING; LIGHTING; HEATING; WEAPONS; BLASTING
    • F15FLUID-PRESSURE ACTUATORS; HYDRAULICS OR PNEUMATICS IN GENERAL
    • F15BSYSTEMS ACTING BY MEANS OF FLUIDS IN GENERAL; FLUID-PRESSURE ACTUATORS, e.g. SERVOMOTORS; DETAILS OF FLUID-PRESSURE SYSTEMS, NOT OTHERWISE PROVIDED FOR
    • F15B13/00Details of servomotor systems ; Valves for servomotor systems
    • F15B13/02Fluid distribution or supply devices characterised by their adaptation to the control of servomotors
    • F15B13/027Check valves
    • FMECHANICAL ENGINEERING; LIGHTING; HEATING; WEAPONS; BLASTING
    • F15FLUID-PRESSURE ACTUATORS; HYDRAULICS OR PNEUMATICS IN GENERAL
    • F15BSYSTEMS ACTING BY MEANS OF FLUIDS IN GENERAL; FLUID-PRESSURE ACTUATORS, e.g. SERVOMOTORS; DETAILS OF FLUID-PRESSURE SYSTEMS, NOT OTHERWISE PROVIDED FOR
    • F15B15/00Fluid-actuated devices for displacing a member from one position to another; Gearing associated therewith
    • F15B15/20Other details, e.g. assembly with regulating devices
    • F15B15/204Control means for piston speed or actuating force without external control, e.g. control valve inside the piston
    • FMECHANICAL ENGINEERING; LIGHTING; HEATING; WEAPONS; BLASTING
    • F16ENGINEERING ELEMENTS AND UNITS; GENERAL MEASURES FOR PRODUCING AND MAINTAINING EFFECTIVE FUNCTIONING OF MACHINES OR INSTALLATIONS; THERMAL INSULATION IN GENERAL
    • F16KVALVES; TAPS; COCKS; ACTUATING-FLOATS; DEVICES FOR VENTING OR AERATING
    • F16K11/00Multiple-way valves, e.g. mixing valves; Pipe fittings incorporating such valves
    • F16K11/10Multiple-way valves, e.g. mixing valves; Pipe fittings incorporating such valves with two or more closure members not moving as a unit
    • F16K11/14Multiple-way valves, e.g. mixing valves; Pipe fittings incorporating such valves with two or more closure members not moving as a unit operated by one actuating member, e.g. a handle
    • F16K11/18Multiple-way valves, e.g. mixing valves; Pipe fittings incorporating such valves with two or more closure members not moving as a unit operated by one actuating member, e.g. a handle with separate operating movements for separate closure members
    • FMECHANICAL ENGINEERING; LIGHTING; HEATING; WEAPONS; BLASTING
    • F16ENGINEERING ELEMENTS AND UNITS; GENERAL MEASURES FOR PRODUCING AND MAINTAINING EFFECTIVE FUNCTIONING OF MACHINES OR INSTALLATIONS; THERMAL INSULATION IN GENERAL
    • F16KVALVES; TAPS; COCKS; ACTUATING-FLOATS; DEVICES FOR VENTING OR AERATING
    • F16K27/00Construction of housing; Use of materials therefor
    • FMECHANICAL ENGINEERING; LIGHTING; HEATING; WEAPONS; BLASTING
    • F16ENGINEERING ELEMENTS AND UNITS; GENERAL MEASURES FOR PRODUCING AND MAINTAINING EFFECTIVE FUNCTIONING OF MACHINES OR INSTALLATIONS; THERMAL INSULATION IN GENERAL
    • F16KVALVES; TAPS; COCKS; ACTUATING-FLOATS; DEVICES FOR VENTING OR AERATING
    • F16K27/00Construction of housing; Use of materials therefor
    • F16K27/04Construction of housing; Use of materials therefor of sliding valves
    • F16K27/041Construction of housing; Use of materials therefor of sliding valves cylindrical slide valves
    • FMECHANICAL ENGINEERING; LIGHTING; HEATING; WEAPONS; BLASTING
    • F16ENGINEERING ELEMENTS AND UNITS; GENERAL MEASURES FOR PRODUCING AND MAINTAINING EFFECTIVE FUNCTIONING OF MACHINES OR INSTALLATIONS; THERMAL INSULATION IN GENERAL
    • F16KVALVES; TAPS; COCKS; ACTUATING-FLOATS; DEVICES FOR VENTING OR AERATING
    • F16K3/00Gate valves or sliding valves, i.e. cut-off apparatus with closing members having a sliding movement along the seat for opening and closing
    • F16K3/22Gate valves or sliding valves, i.e. cut-off apparatus with closing members having a sliding movement along the seat for opening and closing with sealing faces shaped as surfaces of solids of revolution
    • F16K3/24Gate valves or sliding valves, i.e. cut-off apparatus with closing members having a sliding movement along the seat for opening and closing with sealing faces shaped as surfaces of solids of revolution with cylindrical valve members
    • FMECHANICAL ENGINEERING; LIGHTING; HEATING; WEAPONS; BLASTING
    • F16ENGINEERING ELEMENTS AND UNITS; GENERAL MEASURES FOR PRODUCING AND MAINTAINING EFFECTIVE FUNCTIONING OF MACHINES OR INSTALLATIONS; THERMAL INSULATION IN GENERAL
    • F16KVALVES; TAPS; COCKS; ACTUATING-FLOATS; DEVICES FOR VENTING OR AERATING
    • F16K3/00Gate valves or sliding valves, i.e. cut-off apparatus with closing members having a sliding movement along the seat for opening and closing
    • F16K3/30Details
    • F16K3/34Arrangements for modifying the way in which the rate of flow varies during the actuation of the valve
    • FMECHANICAL ENGINEERING; LIGHTING; HEATING; WEAPONS; BLASTING
    • F15FLUID-PRESSURE ACTUATORS; HYDRAULICS OR PNEUMATICS IN GENERAL
    • F15BSYSTEMS ACTING BY MEANS OF FLUIDS IN GENERAL; FLUID-PRESSURE ACTUATORS, e.g. SERVOMOTORS; DETAILS OF FLUID-PRESSURE SYSTEMS, NOT OTHERWISE PROVIDED FOR
    • F15B13/00Details of servomotor systems ; Valves for servomotor systems
    • F15B13/01Locking-valves or other detent i.e. load-holding devices
    • FMECHANICAL ENGINEERING; LIGHTING; HEATING; WEAPONS; BLASTING
    • F15FLUID-PRESSURE ACTUATORS; HYDRAULICS OR PNEUMATICS IN GENERAL
    • F15BSYSTEMS ACTING BY MEANS OF FLUIDS IN GENERAL; FLUID-PRESSURE ACTUATORS, e.g. SERVOMOTORS; DETAILS OF FLUID-PRESSURE SYSTEMS, NOT OTHERWISE PROVIDED FOR
    • F15B13/00Details of servomotor systems ; Valves for servomotor systems
    • F15B2013/002Modular valves, i.e. consisting of an assembly of interchangeable components
    • F15B2013/004Cartridge valves
    • FMECHANICAL ENGINEERING; LIGHTING; HEATING; WEAPONS; BLASTING
    • F15FLUID-PRESSURE ACTUATORS; HYDRAULICS OR PNEUMATICS IN GENERAL
    • F15BSYSTEMS ACTING BY MEANS OF FLUIDS IN GENERAL; FLUID-PRESSURE ACTUATORS, e.g. SERVOMOTORS; DETAILS OF FLUID-PRESSURE SYSTEMS, NOT OTHERWISE PROVIDED FOR
    • F15B13/00Details of servomotor systems ; Valves for servomotor systems
    • F15B2013/002Modular valves, i.e. consisting of an assembly of interchangeable components
    • F15B2013/006Modular components with multiple uses, e.g. kits for either normally-open or normally-closed valves, interchangeable or reprogrammable manifolds
    • FMECHANICAL ENGINEERING; LIGHTING; HEATING; WEAPONS; BLASTING
    • F15FLUID-PRESSURE ACTUATORS; HYDRAULICS OR PNEUMATICS IN GENERAL
    • F15BSYSTEMS ACTING BY MEANS OF FLUIDS IN GENERAL; FLUID-PRESSURE ACTUATORS, e.g. SERVOMOTORS; DETAILS OF FLUID-PRESSURE SYSTEMS, NOT OTHERWISE PROVIDED FOR
    • F15B2211/00Circuits for servomotor systems
    • F15B2211/30Directional control
    • F15B2211/305Directional control characterised by the type of valves
    • F15B2211/30505Non-return valves, i.e. check valves
    • FMECHANICAL ENGINEERING; LIGHTING; HEATING; WEAPONS; BLASTING
    • F15FLUID-PRESSURE ACTUATORS; HYDRAULICS OR PNEUMATICS IN GENERAL
    • F15BSYSTEMS ACTING BY MEANS OF FLUIDS IN GENERAL; FLUID-PRESSURE ACTUATORS, e.g. SERVOMOTORS; DETAILS OF FLUID-PRESSURE SYSTEMS, NOT OTHERWISE PROVIDED FOR
    • F15B2211/00Circuits for servomotor systems
    • F15B2211/80Other types of control related to particular problems or conditions
    • F15B2211/885Control specific to the type of fluid, e.g. specific to magnetorheological fluid
    • F15B2211/8855Compressible fluids, e.g. specific to pneumatics
    • FMECHANICAL ENGINEERING; LIGHTING; HEATING; WEAPONS; BLASTING
    • F16ENGINEERING ELEMENTS AND UNITS; GENERAL MEASURES FOR PRODUCING AND MAINTAINING EFFECTIVE FUNCTIONING OF MACHINES OR INSTALLATIONS; THERMAL INSULATION IN GENERAL
    • F16KVALVES; TAPS; COCKS; ACTUATING-FLOATS; DEVICES FOR VENTING OR AERATING
    • F16K11/00Multiple-way valves, e.g. mixing valves; Pipe fittings incorporating such valves
    • F16K11/10Multiple-way valves, e.g. mixing valves; Pipe fittings incorporating such valves with two or more closure members not moving as a unit
    • F16K11/20Multiple-way valves, e.g. mixing valves; Pipe fittings incorporating such valves with two or more closure members not moving as a unit operated by separate actuating members
    • F16K11/22Multiple-way valves, e.g. mixing valves; Pipe fittings incorporating such valves with two or more closure members not moving as a unit operated by separate actuating members with an actuating member for each valve, e.g. interconnected to form multiple-way valves
    • FMECHANICAL ENGINEERING; LIGHTING; HEATING; WEAPONS; BLASTING
    • F16ENGINEERING ELEMENTS AND UNITS; GENERAL MEASURES FOR PRODUCING AND MAINTAINING EFFECTIVE FUNCTIONING OF MACHINES OR INSTALLATIONS; THERMAL INSULATION IN GENERAL
    • F16KVALVES; TAPS; COCKS; ACTUATING-FLOATS; DEVICES FOR VENTING OR AERATING
    • F16K15/00Check valves
    • F16K15/14Check valves with flexible valve members
    • FMECHANICAL ENGINEERING; LIGHTING; HEATING; WEAPONS; BLASTING
    • F16ENGINEERING ELEMENTS AND UNITS; GENERAL MEASURES FOR PRODUCING AND MAINTAINING EFFECTIVE FUNCTIONING OF MACHINES OR INSTALLATIONS; THERMAL INSULATION IN GENERAL
    • F16KVALVES; TAPS; COCKS; ACTUATING-FLOATS; DEVICES FOR VENTING OR AERATING
    • F16K15/00Check valves
    • F16K15/18Check valves with actuating mechanism; Combined check valves and actuated valves

Definitions

  • the present invention relates to a composite valve that is directly attached to a port of a fluid pressure device.
  • a speed controller is well known as a composite valve that is directly attached to a port of a fluid pressure cylinder, which is a kind of fluid pressure device.
  • this speed controller includes a check valve that controls the flow direction of pressure fluid in only one direction, forward or reverse, inside the valve body, It incorporates a needle valve that controls the flow rate, and is used to control the operating speed of the fluid pressure cylinder.
  • Such a composite valve can be obtained by incorporating a plurality of valve mechanisms having different control functions into the inside of the valve body.
  • a plurality of types of composite valves having different combinations of control functions are manufactured and used. Accordingly, a composite valve having a control function suitable for the application must be selected and used.
  • many types of composite valves must be manufactured, which tends to cause a decrease in productivity, complicated product management, and the like. For this reason, it is desirable to reduce the types of composite valves to be manufactured as much as possible.
  • the technical problem of the present invention is to provide a composite valve having a combination of control functions according to applications by using a plurality of valve mechanisms (valve modules) modularized for each control function and a valve body to which the valve module can be attached.
  • valve modules valve mechanisms
  • a composite valve of the present invention has a valve body, a first valve module and a second valve module attached to the valve body, and the valve body is for attaching the first valve module.
  • a fourth body part having an output port for forming an attachment port, and a mounting part for directly screwing and attaching to the screw-shaped port of the fluid pressure device is formed on the fourth body part.
  • the first body part and the second body part extend along a first axis and a second axis that are parallel to each other, and the third body part is one of the first axis and the second axis, or Including both A fourth body part extending along a third axis that is in a plane or in another plane parallel to the plane and that is oriented at 90 degrees with respect to either the first axis or the second axis; Extends along a fourth axis whose direction differs by 90 degrees with respect to any of the first axis, the second axis, and the third axis, and the first valve module and the second valve module include the first body portion and Fluid control functions different from each other having a module body that can be attached to the first body part and the second body part by being inserted into the attachment hole of the second body part, and a valve mechanism assembled to the module body.
  • the first body part, the second body part, the third body part, and the fourth body part each have a hollow columnar shape, and the first body part and the second body part are The first mounting hole of the first body part and the second mounting hole of the second body part are opposite to each other along the first axis and the second axis. Open in the direction.
  • the third body portion and the fourth body portion are disposed at positions opposite to each other with the first body portion or the second body portion interposed therebetween.
  • the second body part and the third body part are disposed so as to be all within the height range of the fourth body part.
  • the fourth body portion has a hollow outer body and a columnar inner body that is accommodated in the outer body so as to be rotatable about the fourth axis.
  • the upper end of the inner body is exposed to the outside from the upper end of the outer body, the lower end of the inner body protrudes to the outside from the lower end of the outer body, a fluid flow path is formed inside the inner body, and a mounting portion at the lower end of the inner body And an output port, and an operating portion for rotating with a wrench is formed at the upper end of the internal body.
  • the first valve module and the second valve module can be attached to both the first body part and the second body part.
  • the combination of the first valve module and the second valve module is any one of a speed controller and a pilot check valve, a pilot check valve and a residual pressure exhaust valve, a speed controller and a speed controller.
  • the valve mechanism of the speed controller has a check valve body that controls the flow direction of the pressure fluid flowing through the fluid flow path, and a needle valve body that controls the flow rate of the pressure fluid, and the valve mechanism of the pilot check valve
  • the check valve body that controls the flow direction of the pressure fluid flowing through the fluid flow path, and the check valve body is displaced to a position that allows both the forward flow and the reverse flow of the pressure fluid by the action of the pilot fluid.
  • the residual pressure exhaust valve has a pilot valve body and a pilot port for supplying a pilot fluid to the pilot valve body, and the valve mechanism of the residual pressure exhaust valve branches from the fluid flow path and communicates with the outside.
  • a discharge valve body for opening and closing the path.
  • the present invention by attaching a valve module having a necessary control function to the first body part and the second body part of the valve body, it is possible to easily obtain a composite valve having a combination of control functions according to the application. Can do. Further, by combining a plurality of body portions forming the valve body in a rational arrangement and compactly, the composite valve can be compactly attached to the port of the fluid pressure device in a low posture.
  • FIG. 1 is a perspective view showing a first embodiment of a composite valve according to the present invention.
  • FIG. 2 is an exploded view of FIG. 1. It is a top view of FIG.
  • FIG. 4 is a front view of FIG. 3.
  • FIG. 5 is an enlarged sectional view taken along line VV in FIG. 4.
  • FIG. 4 is a partial sectional view taken along line VI-VI in FIG. 3.
  • It is an enlarged view of the 1st valve module in FIG.
  • the pilot check valve in FIG. It is principal part sectional drawing which shows the operation state from which a pilot check valve differs.
  • FIG. 11 is an exploded view of FIG. 10.
  • FIG. 14 is an exploded view of FIG. 13. It is the cross-sectional view which cut
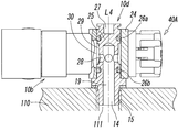
  • the first composite valve 1A according to the first embodiment is used by being directly attached to a port 111 (see FIG. 4) of the fluid pressure device 110, and is attached to one valve body 10A and the valve body 10A. It has a first valve module 40A and a second valve module 70A.
  • the first valve module 40A and the second valve module 70A have different fluid control functions.
  • the first valve module 40A has a speed controller function
  • the second valve module 70A has a pilot check valve function. is doing.
  • the first composite valve 1A controls the operating speed of the fluid pressure device 110 by the first valve module 40A during normal operation of the fluid pressure circuit, and the pressure fluid Is stopped
  • the second valve module 70A can contain the pressure fluid in the fluid pressure device 110, and the fluid pressure device 110 can be stopped at the current operating position.
  • the fluid pressure device 110 is an air cylinder
  • the pressure fluid is air. Therefore, in the following description, the reference numeral 110 may be given to the air cylinder.
  • the valve body 10A is formed of a metal such as an aluminum alloy or a synthetic resin, and includes a first body portion 10a having a first mounting hole 11 for mounting the first valve module 40A, and a second valve module 70A.
  • a fourth body 10b having a second body part 10b having a second attachment hole 12 for attachment, a third body part 10c having an input port 13 for introducing pressure fluid, and an output port 14 for outputting pressure fluid.
  • the body part 10d is integrally joined to the part where the output port 14 of the fourth body part 10d is formed, and is screwed and attached directly to the threaded port 111 of the fluid pressure device 110.
  • a mounting portion 15 is formed.
  • the valve body 10A may be formed by dividing it into a plurality of parts, and these parts may be joined together. However, the parts other than the inner body 25 of the fourth body part 10d are integrated as a whole. It is desirable to mold.
  • the first body part 10a, the second body part 10b, the third body part 10c, and the fourth body part 10d each have a hollow cylindrical shape.
  • the first body part 10a extends along the first axis L1
  • the second body part 10b extends along the second axis L2 parallel to the first axis L1
  • the third body part 10c The fourth body portion 10d extends along the third axis L3 whose direction differs by 90 degrees with respect to both the first axis L1 and the second axis L2, and the fourth body portion 10d includes the first axis L1, the second axis L2, and the third axis L3. It extends along the fourth axis L4 whose direction is 90 degrees different from any of the axis L3.
  • the first body part 10a and the second body part 10b are disposed at positions adjacent to each other so that part of the side surfaces overlap each other.
  • the first mounting hole 11 and the second body part of the first body part 10a The second mounting hole 12 of 10b opens in the opposite directions along the first axis L1 and the second axis L2.
  • the third body portion 10c and the fourth body portion 10d are disposed at positions opposite to each other across the first body portion 10a.
  • the fourth axis L4 of the fourth body portion 10d and the second axis L2 of the second body portion 10b are located within the same vertical plane circle, but are in a positional relationship slightly shifted in the direction of the third axis L3. Also good.
  • the third body portion 10c and the fourth body portion 10d may be disposed at positions opposite to each other with the second body portion 10b interposed therebetween, or both the first body portion 10a and the second body portion 10b may be disposed. It can also be disposed at positions opposite to each other.
  • the first axis L1, the second axis L2, and the third axis L3 are all located in the same plane, but it is not always necessary that all the axes are located in the same plane.
  • the first axis L1 is located in the first plane
  • the second axis L2 is located in the second plane parallel to the first plane
  • the third axis L3 is parallel to the first plane and the second plane, respectively.
  • the first axis L1 and the second axis L2 may be located in the first plane
  • the third axis L3 may be located in the third plane parallel to the first plane. You may do it.
  • the first body portion 10a, the second body portion 10b, and the third body portion 10c are all disposed within the range of the height H excluding the mounting portion 15 of the fourth body portion 10d. It has been done.
  • the composite valve 1A can be compactly attached to the port 111 of the fluid pressure device 110 in a low posture as shown in FIG.
  • a flow path hole that forms a fluid flow path connecting the input port 13 and the output port 14 is formed in the valve body 10 ⁇ / b> A.
  • the flow path hole includes an input hole 16 inside the third body portion 10c, a first attachment hole 11 of the first body portion 10a, an input communication hole 17 that allows the input hole 16 to communicate with the first attachment hole 11, and The second mounting hole 12 of the second body portion 10b, the connection hole 18 connecting the tip end portion of the first mounting hole 11 and the side surface portion of the second mounting hole 12, and the output hole 19 extending inside the fourth body portion 10d.
  • a simple connection type pipe joint 20 is attached to the input port 13 of the third body portion 10c.
  • the pipe (tube) 102 made of synthetic resin is inserted into the pipe joint 20
  • the edge 21 a of the locking member 21 is locked to the outer periphery of the pipe 102 to hold the pipe 102 in a retaining state.
  • the release bush 22 is pushed along the pipe 102, the tip of the release bush 22 releases the locking of the edge 21a, and the pipe 102 can be pulled out.
  • the fourth body portion 10 d includes a hollow outer body 24 and a cylindrical inner body 25 accommodated in the outer body 24 so as to be rotatable around the fourth axis L ⁇ b> 4.
  • the two seal members 26a and 26b are interposed between the outer periphery of the inner body 25 and the inner periphery of the outer body 24 with a space between each other.
  • the upper end and the lower end of the inner body 25 protrude outward from the upper end and the lower end of the outer body 24, respectively, and the output port 14 and the attachment portion 15 with a male screw cut on the outer periphery are formed at the lower end portion of the inner body 25.
  • An operation portion 27 having a hexagonal hole is formed at the upper end portion of the inner body 25 for inserting and rotating a wrench when the attachment portion 15 is screwed into the port 111 of the fluid pressure device 110.
  • the upper end portion of the inner body 25 does not have to protrude outward from the upper end of the outer body 24, and may be exposed to the outside.
  • the lower end of the output hole 19 extending through the center of the inner body 25 communicates with the output port 14, and the upper end is formed on the side surface of the inner body 25 at a position between the two seal members 26a and 26b.
  • the plurality of communication holes 28, the inner hole 29 of the outer body 24, and the opening 30 formed in the side surface of the outer body 24 communicate with the second mounting hole 12.
  • the first valve module 40A has a function as a speed controller.
  • the first valve module 40A can be attached to the first body portion 10a by being inserted into the first attachment hole 11, and is assembled to the module body 41.
  • the valve mechanism 42 includes a check valve body 43 and a needle valve body 44.
  • the module body 41 includes a small-diameter distal end fitting portion 41a that fits airtightly to one end of the connection hole 18 in order from the distal end side to the proximal end side along the central axis (first axis L1), and the distal end fitting
  • a branch flow path forming portion 41b having a diameter larger than that of the portion 41a, a valve body holding portion 41c for holding the needle valve body 44, and a handle mounting portion 41d for attaching a handle 45 for advancing and retracting the needle valve body 44 are The handle attachment portion 41d protrudes outside the first body portion 10a.
  • the branch flow path forming part 41b is a part that branches a part of the fluid flow path into a first flow path 46 and a second flow path 47 that are parallel to each other.
  • An O-ring 48 is attached between the inner periphery of the hole 11.
  • the first flow path 46 is formed by a plurality of flow path holes penetrating the branch flow path forming portion 41b in the first axis L1 direction, and the second flow path 47 is composed of the tip fitting portion 41a and the branch flow path forming portion 41b. It is formed by a central hole that passes through the center. Therefore, in the following description, the reference numeral 46 may be attached to the flow path hole and the reference numeral 47 may be attached to the center hole.
  • the base end of the first flow path 46 and the base end of the second flow path 47 are a plurality of communication holes formed in the side surface of the module body 41 at a position closer to the valve body holding portion 41 c than the O-ring 48. 50, and communicates with the first mounting hole 11 through the first mounting hole 11 and the module body 41 at a position closer to the front end fitting portion 41 a than the O-ring 48.
  • the tip of the second flow path 47 is in direct communication with the connection hole 18 through the flow path hole 51.
  • An annular and plate-like check valve body 43 made of an elastic body such as synthetic rubber is fitted on the outer periphery of the base end portion of the distal end fitting portion 41a, and this check valve body 43 is branched by the action of pressure fluid.
  • the 1st flow path 46 is opened and closed by separating and contacting with respect to the front end surface 41e of the formation part 41b.
  • the check valve body 43 has an inner diameter side end portion sandwiched between the hole edge of the connection hole 18 and the inner diameter end of the branch flow path forming portion 41b, so that the inner end face 11a of the first mounting hole 11
  • the inner end surface 11a of the first attachment hole 11 and the front end surface 41e of the branch flow passage forming portion 41b are attached between the front end surface 41e of the branch flow passage forming portion 41b and the outer diameter of the first attachment hole 11. It forms a conical surface that is inclined in the direction in which the distance between them increases in the direction.
  • the check valve body 43 acts on the forward flow of the pressure fluid from the input port 13 toward the output port 14 from the front end surface 41e of the branch flow path forming portion 41b by the action of the forward flow.
  • opening the first flow path 46 away the flow is allowed, and for the reverse flow of the pressure fluid from the output port 14 toward the input port 13, a branch flow path is formed by the action of this reverse flow.
  • the flow is blocked by abutting the tip surface 41e of the part 41b and closing the first flow path 46.
  • the needle valve body 44 is disposed inside the valve holding hole 53 at the center of the valve body holding portion 41c in an airtight manner via the valve seal 54 and is movable back and forth along the first axis L1.
  • the throttle portion 44a at the tip of the throttle portion is fitted into the second flow path 47, and a throttle hole 44b is formed on the side surface of the throttle portion 44a.
  • the throttle hole 44b is inclined in a direction in which the cross-sectional area gradually increases toward the distal end side of the throttle portion 44a, and when the needle valve body 44 advances and the degree of entry of the throttle portion 44a into the second flow path 47 increases.
  • a male screw 44c is cut on the outer periphery of the needle valve body 44, and this male screw 44c meshes with a screw hole of a needle guide 55 fixed inside the valve body holding portion 41c.
  • a cap-shaped handle 45 for rotational operation is rotatably attached to a handle attachment portion 41 d at the base end of the module body 41, and a needle valve is provided inside an operation hole 45 a formed at the center of the handle 45.
  • the ends of the body 44 are relatively displaceable in the direction of the first axis L1, but are inserted in a state of being fixed to each other in the rotational direction around the first axis L1. Therefore, when the handle 45 is rotated in the forward / reverse direction, the needle valve body 44 is rotated in the forward / reverse direction, and is guided by the needle guide 55 to advance and retreat in the direction of the first axis L1.
  • a display 45b indicating the relationship between the rotation direction of the handle 45 and the opening degree of the needle valve is provided on the outer surface of the handle 45, and the side surface of the handle 45 serves as a pointer indicating the operation direction and the degree of operation.
  • a protrusion 45c is provided.
  • the handle 45 is movable along the first axis L1 between a locked position and an unlocked position.
  • the needle valve element 44 is advanced or retracted, the handle 45 is moved to the unlocked position, and the needle valve element 44 is advanced or retracted.
  • move to the lock position since the structure for that is well known, further detailed explanation is omitted.
  • the first valve module 40A configured as described above is inserted into the first mounting hole 11 of the first body portion 10a via the cylindrical attachment 57 that is airtightly fixed to the outside of the module body 41, and the first mounting is performed.
  • the outer periphery of the attachment 57 to the inner periphery of the first mounting hole 11 in an airtight manner while being positioned by sandwiching the attachment 57 between the step portion 11b of the hole 11 and the flange portion 41f of the module body 41
  • the first body portion 10a is attached. It can be said that the attachment 57 is a part of the first valve module 40A.
  • the forward flow of the pressure fluid from the input port 13 toward the output port 14 becomes a free flow when the check valve body 43 opens the first flow path 46.
  • the reverse flow of the pressure fluid toward the second direction flows through the second flow path 47 because the check valve body 43 closes the first flow path 46, and the flow rate is controlled by the needle valve body 44.
  • the second valve module 70A functions as a pilot check valve, and is a cylindrical module body 71 that can be attached to the second body portion 10b by being inserted into the second attachment hole 12 of the second body portion 10b. And a valve mechanism 72 incorporated in the module body 71.
  • the valve mechanism 72 includes a check valve body 73, a pilot valve body 74 that displaces the check valve body 73 between a check position and a fully open position, and a pilot port 75 that supplies pilot fluid to the pilot valve body 74.
  • the “non-return position” is a position where the check valve body 73 can perform the original non-return function
  • the “fully open position” is the check valve body 73 with the flow path fully open. It is a position that cannot function.
  • the module body 71 has an elbow shape, a cylindrical valve housing portion 76 that is inserted into and fixed to the second mounting hole 12 via a ring-shaped attachment 79, and a cylindrical shape that extends perpendicularly from the valve housing portion 76.
  • Port forming portion 77, and the axis of the port forming portion 77 is directed parallel to the third axis L 3.
  • a pilot port 75 is formed in the port forming portion 77, and a simple connection type pipe joint 78 is attached to the pilot port 75.
  • the pipe joint 78 has the same configuration as the pipe joint 20 attached to the input port 13 of the third body portion 10c.
  • the valve accommodating portion 76 has a valve accommodating hole 80 extending along the second axis L2, and the valve rod 81 is accommodated inside the valve accommodating hole 80 so as to be displaceable along the second axis L2. Yes.
  • the distal end portion of the valve accommodation hole 80 opens into the second mounting hole 12, and the proximal end portion of the valve accommodation hole 80 communicates with the pilot port 75 through the piston chamber 82 and the communication hole 83, and the middle of the valve accommodation hole 80.
  • the portion communicates with the second mounting hole 12 (and hence the connection hole 18) through a plurality of communication holes 84 formed on the side surface of the valve accommodating portion 76.
  • an O-ring 48 and a check valve body 73 made of a lip-shaped seal member are attached.
  • the position where the O-ring 48 is provided is closer to the base end of the valve rod 81 than the communication hole 84, and the position where the check valve body 73 is provided is the tip of the valve rod 81 rather than the communication hole 84. It is a close position.
  • the check valve body 73 is arranged with the lip 73a facing the distal end side of the valve rod 81. For this reason, the check valve body 73 opens the flow path for the forward flow of the pressure fluid from the input port 13 toward the output port 14 by separating the lip 73a from the inner periphery of the valve accommodation hole 80. The flow is allowed and the reverse flow of the pressure fluid from the output port 14 toward the input port 13 is blocked by the lip 73a contacting the inner periphery of the valve accommodating hole 80 to block the flow. To do.
  • a piston 86 that functions as a pilot valve body is formed integrally with the base end portion of the valve rod 81, and this piston 86 is slidably accommodated in the piston chamber 82 via a seal member 86a.
  • the piston 86 has a larger diameter than the valve rod 81.
  • a pilot pressure chamber 88 is formed between the back surface of the piston 86 and a lid 87 that closes the end of the piston chamber 82, and the pilot pressure chamber 88 communicates with the pilot port 75 through the communication hole 83.
  • an open chamber 89 formed between the front surface of the piston 86 and the O-ring 48 is opened to the outside through the open hole 89a, and returned between the front surface of the piston 86 and the step portion 76a of the valve housing portion 76.
  • a spring 90 is provided.
  • the first composite valve 1A formed in this way is used by being directly attached to, for example, the port 111 (see FIGS. 4 and 6) of the air cylinder 110, and controls the supply and discharge of the pressure fluid to and from the air cylinder 110.
  • An example of the control operation is as follows.
  • the pressure fluid that has flowed into the first body portion 10a from the third body portion 10c is a forward flow and the check valve of the first valve module 40A.
  • the body 43 is pushed open, flows through the first flow path 46 in a free flow state, reaches the second body portion 10b and the second valve module 70A from the connection hole 18, and in FIG.
  • the air cylinder passes through the valve accommodating hole 80, reaches the fourth body portion 10d, and flows into the pressure chamber of the air cylinder from the output port 14 through the output hole 19, so that the air cylinder performs a work stroke.
  • the input port 13 is connected to the atmosphere by the main fluid switching valve, so that the pressure fluid discharged from the pressure chamber of the air cylinder flows in the reverse direction as during the work stroke.
  • the reverse path to reach the input port 13 and is discharged to the atmosphere via the main fluid switching valve.
  • the first valve module 40A since the check valve body 43 closes the first flow path 46 and blocks the reverse flow of the pressure fluid, the pressure fluid passes through the second flow path 47 and the needle valve body. It distributes in a state where the flow rate is restricted at 44. For this reason, the air cylinder performs a return stroke at a speed corresponding to the flow rate of the pressure fluid. Therefore, the first valve module 40A is a meter-out speed controller.
  • the first composite valve 1A has a configuration of a fluid pressure circuit.
  • the air cylinder When the air cylinder is driven, that is, when pressure fluid flows in the forward direction from the input port 13 toward the output port 14,
  • pilot fluid When pilot fluid is not supplied to the pilot port 75 (therefore, the check valve body 73 occupies the non-return position) and the air cylinder returns, that is, pressure fluid flows in the reverse direction from the output port 14 toward the input port 13.
  • a pilot fluid is supplied to the pilot port 75 (therefore, the check valve body 73 occupies the fully open position).
  • the first valve module 40B attached to the first body portion 10a of the valve body 10B has a function as a pilot check valve, and is a second attached to the second body portion 10b.
  • the valve module 70B has a function as a residual pressure discharge valve.
  • valve body 10B in the second composite valve 1B is the same as the configuration of the valve body 10A in the first composite valve 1A. For this reason, the same code
  • the first valve module 40B is a pilot check valve, and is the same as the second valve module 70A incorporated in the first composite valve 1A. For this reason, also in this 1st valve module 40B, the code
  • the second valve module 70B has a cylindrical module body 91 that can be attached to the second body portion 10b by being inserted into the second attachment hole 12, and a valve mechanism 92 incorporated in the module body 91.
  • the valve mechanism 92 includes a discharge passage 93 that communicates with the second mounting hole 12 to the outside, and a discharge valve body 94 that opens and closes the discharge passage 93.
  • the module body 91 includes an insertion portion 91a that is airtightly inserted into the second mounting hole 12 via the O-ring 95, and a button housing portion 91b that has a larger diameter than the insertion portion 91a and opens to the outside. 91b protrudes outside the second body portion 10b.
  • the discharge passage 93 is formed at the center of the insertion portion 91 a so as to connect the second mounting hole 12 and the button accommodating portion 91 b, and has a larger diameter than the discharge passage 93 at the tip (inner end) of the insertion portion 91 a.
  • the valve chamber 96 is formed so as to face the second mounting hole 12, and a discharge valve seat 97 surrounding the discharge flow path 93 is formed in the valve chamber 96.
  • the discharge valve rod 98 slides in the direction of the second axis L2 while maintaining a slight gap through which fluid flows between the outer periphery and the inner periphery of the discharge channel 93.
  • the tip of the discharge valve rod 98 passes through the valve chamber 96 to reach the second mounting hole 12, and the rear end portion of the discharge valve rod 98 protrudes into the button accommodating portion 91b.
  • a small-diameter valve body attachment portion 98a is formed at the tip of the discharge valve rod 98, and the discharge valve body 94 is attached to the valve body attachment portion 98a so as to be displaceable in the second axis L2 direction. 94 is always urged by the valve spring 99 toward the discharge valve seat 97 side.
  • An operation button 100 is attached to a portion of the rear end portion of the discharge valve rod 98 protruding into the button accommodating portion 91 b, and the operation button 100 is a return spring interposed between the operation button 100 and the module body 91. 101, the discharge valve rod 98 is always urged in the direction in which the discharge valve rod 98 is retracted, that is, in the direction in which the discharge valve body 94 is brought into contact with the discharge valve seat 97.
  • the discharge valve body 94 occupies a closed position where it abuts on the discharge valve seat 97 by the spring force of the valve spring 99 and the return spring 101. 93 is closed. Therefore, the pressure fluid in the second mounting hole 12 is not discharged to the outside.
  • the discharge valve rod 98 moves forward and the discharge valve body 94 moves away from the discharge valve seat 97, so that the discharge passage 93 is opened and the pressure fluid in the second mounting hole 12 is opened.
  • the gap between the outer periphery of the discharge valve rod 98 and the inner periphery of the discharge flow passage 93 Passes through the gap between the outer periphery of the discharge valve rod 98 and the inner periphery of the discharge flow passage 93 and is discharged to the outside in a state where the flow rate is restricted through the inside of the button accommodating portion 91b. Therefore, the gap between the outer periphery of the discharge valve rod 98 and the inner periphery of the discharge flow path 93 forms a throttle.
  • the pilot fluid is supplied to the pilot port 75 of the first valve module 40B, so that the piston 86 and the valve rod 81 are advanced and checked.
  • the valve body 73 occupies the fully open position, and in this state, the input port 13 is alternately connected to the pressure fluid source and the atmosphere by the main fluid switching valve.
  • the discharge valve body 94 of the second valve module 70 ⁇ / b> B is in contact with the discharge valve seat 97 to close the discharge flow path 93.
  • the pressure fluid flowing into the third body portion 10c passes through the first valve module 40B in a free flow state and passes through the second attachment hole 12 from the connection hole 18. Then, the air cylinder reaches the fourth body portion 10d and flows into the pressure chamber of the air cylinder from the output port 14 through the output hole 19, so that the air cylinder performs a work process.
  • the input port 13 When the air cylinder performs a return stroke, the input port 13 is connected to the atmosphere by the main fluid switching valve, and the pressure fluid discharged from the pressure chamber of the air cylinder flows in the reverse direction, which is opposite to that during the work stroke. The route reaches the input port 13 and is discharged to the atmosphere via the main fluid switching valve.
  • the operation button 100 of the second valve module 70B is pushed by hand, thereby separating the discharge valve body 94 from the discharge valve seat 97 and opening the discharge flow path 93.
  • the pressure fluid confined in the air cylinder is gradually discharged through the gap between the outer periphery of the discharge valve rod 98 and the inner periphery of the discharge flow path 93.
  • the return operation is performed at the specified speed.
  • the second composite valve 1B has a configuration of a fluid pressure circuit.
  • the air cylinder When the air cylinder is driven, that is, when pressure fluid flows in the forward direction from the input port 13 toward the output port 14,
  • pilot fluid When pilot fluid is not supplied to the pilot port 75 (therefore, the check valve body 73 occupies the non-return position) and the air cylinder returns, that is, pressure fluid flows in the reverse direction from the output port 14 toward the input port 13.
  • a pilot fluid is supplied to the pilot port 75 (therefore, the check valve body 73 occupies the fully open position).
  • 13 to 15 show a third composite valve 1C which is a third embodiment of the composite valve.
  • the first valve module 40C attached to the first body portion 10a of the valve body 10C is a meter-out speed controller, and the second valve attached to the second body portion 10b.
  • the module 70C is a meter-in type speed controller, and the two speed controllers can control both the operating speed of the air cylinder during the work stroke and the operating speed during the return stroke.
  • the configuration of the valve body 10C in the third composite valve 1C is the same as the configuration of the valve body 10A in the first composite valve 1A. For this reason, the same code
  • the first valve module 40C is the same as the first valve module 40A in the first composite valve 1A.
  • subjected to 40 A of 1st valve modules is attached
  • the second valve module 70C is slightly different in configuration from the first valve module 40C, and the difference is that the flow path forming member 103 is attached to the tip fitting portion 41a of the module body 41.
  • the O-ring is not attached to the outer periphery of the branch flow path forming portion 41b.
  • the other configuration is the same as that of the first valve module 40C.
  • the flow path forming member 103 is an annular member, and has a plurality of flow path holes 104 that are opened and closed by the check valve body 43.
  • the flow path hole 104 prevents the forward flow of the pressure fluid from the input port 13 toward the output port 14 by being closed by the check valve body 43, thereby preventing the forward flow from the output port 14. With respect to the reverse flow of the pressure fluid directed to 13, the reverse flow is permitted by being opened by the check valve body 43.
  • the pressure fluid flows from the first mounting hole 11 into the communication hole 50 of the first valve module 40C, and the check valve By pushing the body 43 open, it passes through the first flow path 46 in a free flow state, flows into the second mounting hole 12 and the second valve module 70C through the communication hole 51 and the connection hole 18.
  • the check valve element 43 closes the flow path hole 104 when the pressure fluid passes through the outer periphery of the module body 41, the communication hole 50, and the first flow path 46 toward the flow path hole 104 of the flow path forming member 103. Therefore, it is blocked at this position.
  • the pressure fluid flowing through the second flow path 47 from the communication hole 50 is in a state where the flow rate is restricted by the needle valve body 44, and from the output hole 19 of the fourth body portion 10d through the output port 14 to the pressure chamber of the air cylinder. Flow into. For this reason, the air cylinder is driven at a speed corresponding to the supply flow rate of the pressure fluid, and meter-in control is performed.
  • the check valve element 43 opens the flow path hole 104 of the flow path forming member 103, so that the pressure fluid flows freely from the flow path hole 104 around the outer periphery of the module body 41. And passes through the connection hole 18 to reach the first valve module 40C.
  • the pressure fluid flows through the second flow path 47 while being restricted in flow rate by the needle valve body 44, and the input port. It is discharged outside through 13. For this reason, the air cylinder moves backward at a speed corresponding to the discharge flow rate of the pressure fluid, and meter-out control is performed.
  • a plurality of valve mechanisms valve modules
  • the composite valve can be compactly attached to the port of the fluid pressure device in a low posture.

Landscapes

  • Engineering & Computer Science (AREA)
  • General Engineering & Computer Science (AREA)
  • Mechanical Engineering (AREA)
  • Physics & Mathematics (AREA)
  • Fluid Mechanics (AREA)
  • Fluid-Pressure Circuits (AREA)
  • Valve Housings (AREA)
  • Check Valves (AREA)
  • Multiple-Way Valves (AREA)
  • Control Of Fluid Pressure (AREA)
PCT/JP2017/040012 2016-11-18 2017-11-07 流体圧機器のポートに直接取り付ける複合弁 Ceased WO2018092629A1 (ja)

Priority Applications (7)

Application Number Priority Date Filing Date Title
BR112019009849-6A BR112019009849B1 (pt) 2016-11-18 2017-11-07 Válvula composta conectada a uma porta de um aparelho de pressão de fluido
MX2019005698A MX2019005698A (es) 2016-11-18 2017-11-07 Valvula compuesta para union directa a orificio de aparato hidraulico.
DE112017005825.2T DE112017005825B4 (de) 2016-11-18 2017-11-07 Verbundventil zur direkten Befestigung an dem Anschluss einer Fluiddruckvorrichtung
CN201780071117.0A CN110023631B (zh) 2016-11-18 2017-11-07 直接安装于流体压力设备的端口的复合阀
KR1020197013919A KR102389484B1 (ko) 2016-11-18 2017-11-07 유체압 기기의 포트에 직접 부착하는 복합 밸브
US16/346,384 US10794403B2 (en) 2016-11-18 2017-11-07 Composite valve for direct attachment to port of hydraulic apparatus
RU2019118656A RU2747588C2 (ru) 2016-11-18 2017-11-07 Комбинированный клапан для непосредственного крепления к отверстию гидравлического устройства

Applications Claiming Priority (2)

Application Number Priority Date Filing Date Title
JP2016-225468 2016-11-18
JP2016225468A JP6751911B2 (ja) 2016-11-18 2016-11-18 流体圧機器のポートに直接取り付ける複合弁

Publications (1)

Publication Number Publication Date
WO2018092629A1 true WO2018092629A1 (ja) 2018-05-24

Family

ID=62146268

Family Applications (1)

Application Number Title Priority Date Filing Date
PCT/JP2017/040012 Ceased WO2018092629A1 (ja) 2016-11-18 2017-11-07 流体圧機器のポートに直接取り付ける複合弁

Country Status (10)

Country Link
US (1) US10794403B2 (enExample)
JP (1) JP6751911B2 (enExample)
KR (1) KR102389484B1 (enExample)
CN (1) CN110023631B (enExample)
BR (1) BR112019009849B1 (enExample)
DE (1) DE112017005825B4 (enExample)
MX (1) MX2019005698A (enExample)
RU (1) RU2747588C2 (enExample)
TW (1) TWI745466B (enExample)
WO (1) WO2018092629A1 (enExample)

Families Citing this family (3)

* Cited by examiner, † Cited by third party
Publication number Priority date Publication date Assignee Title
KR102171455B1 (ko) 2019-07-15 2020-10-29 엘지전자 주식회사 모터
JP7722130B2 (ja) * 2021-10-21 2025-08-13 Smc株式会社 パイロットチェック弁
JP7589995B2 (ja) * 2021-10-28 2024-11-26 テラル株式会社 配管装置、及び、給水装置

Citations (1)

* Cited by examiner, † Cited by third party
Publication number Priority date Publication date Assignee Title
US5081904A (en) * 1989-08-30 1992-01-21 Aladdin Engineering & Mfg., Inc. Locking valve and flow control valve assembly

Family Cites Families (23)

* Cited by examiner, † Cited by third party
Publication number Priority date Publication date Assignee Title
US1234930A (en) * 1915-08-10 1917-07-31 Edwin M Niebling Valve-set.
JPS5399527A (en) * 1977-02-14 1978-08-31 Shoketsu Kinzoku Kogyo Kk Speed controller for air pressure
JPS54154909A (en) 1978-05-26 1979-12-06 Nec Corp Error supervisory system
JPS5756984A (en) 1980-09-23 1982-04-05 Mitsubishi Electric Corp Assembling method for semiconductor light emitting device
CN87205839U (zh) * 1987-03-30 1988-01-13 浙江余姚液压装置厂 多功能复合液压阀
JP2788809B2 (ja) 1991-06-24 1998-08-20 エスエムシー 株式会社 スピードコントローラ
DE69204760T2 (de) * 1991-06-24 1996-04-25 Smc K.K., Tokio/Tokyo Geschwindigkeitssteuerung.
CN2130217Y (zh) * 1992-01-29 1993-04-21 广州市国营白云液压机械厂 液控单向、单向节流复合阀
JP2626483B2 (ja) 1993-08-02 1997-07-02 日本電気株式会社 空圧シリンダ駆動装置
RU3795U1 (ru) * 1995-04-26 1997-03-16 Производственно-коммерческое предприятие "Регитон" Блок гидроклапанов
JP3717598B2 (ja) * 1996-07-19 2005-11-16 Smc株式会社 スピードコントローラ
JP3778634B2 (ja) * 1996-11-22 2006-05-24 Smc株式会社 パイロットチェック弁付スピードコントローラ
JP3558556B2 (ja) * 1999-03-10 2004-08-25 Smc株式会社 圧力流量制御弁
RU2211382C2 (ru) * 2001-09-17 2003-08-27 Открытое акционерное общество "Павловский машиностроительный завод ВОСХОД" Пневмораспределитель клапанного типа
JP4409221B2 (ja) * 2003-07-17 2010-02-03 株式会社不二工機 複合弁
JP5738029B2 (ja) * 2011-03-25 2015-06-17 株式会社不二工機 複合弁
JP5754567B2 (ja) * 2011-09-08 2015-07-29 Smc株式会社 残圧排気弁
CN202399904U (zh) * 2011-12-29 2012-08-29 广西玉柴机器股份有限公司 农用拖拉机动力输出装置
WO2015029866A1 (ja) * 2013-09-02 2015-03-05 Smc株式会社 流体制御弁
JP6047796B2 (ja) * 2015-03-03 2016-12-21 有限会社浜インターナショナル スピードコントローラ
JP5756984B1 (ja) 2014-08-01 2015-07-29 有限会社浜インターナショナル スピードコントローラ
EP3176482B1 (en) 2014-08-01 2019-01-02 Yugen Kaisha Hama International Speed controller
JP6673547B2 (ja) * 2016-04-27 2020-03-25 Smc株式会社 流体制御弁

Patent Citations (1)

* Cited by examiner, † Cited by third party
Publication number Priority date Publication date Assignee Title
US5081904A (en) * 1989-08-30 1992-01-21 Aladdin Engineering & Mfg., Inc. Locking valve and flow control valve assembly

Also Published As

Publication number Publication date
RU2747588C2 (ru) 2021-05-11
BR112019009849B1 (pt) 2023-05-09
JP2018080820A (ja) 2018-05-24
CN110023631A (zh) 2019-07-16
TWI745466B (zh) 2021-11-11
RU2019118656A3 (enExample) 2021-03-11
RU2019118656A (ru) 2020-12-18
TW201829944A (zh) 2018-08-16
JP6751911B2 (ja) 2020-09-09
BR112019009849A2 (pt) 2019-08-20
CN110023631B (zh) 2021-01-01
KR20190084976A (ko) 2019-07-17
DE112017005825B4 (de) 2025-07-10
KR102389484B1 (ko) 2022-04-22
MX2019005698A (es) 2019-08-22
US10794403B2 (en) 2020-10-06
US20200056632A1 (en) 2020-02-20
DE112017005825T5 (de) 2019-08-08

Similar Documents

Publication Publication Date Title
CA2965687C (en) Flow control valve having a motion conversion device
CN100520088C (zh) 流量控制阀和带有该流量控制阀的缸设备
CN102483177B (zh) 电动针阀
US10030677B2 (en) Fluid control valve
WO2018092629A1 (ja) 流体圧機器のポートに直接取り付ける複合弁
KR20080101884A (ko) 도관용 멀티커넥터
HK1221758A1 (zh) 步進馬達操作的平衡液流控制閥
JP6462898B2 (ja) リミット調節可能な機械的ロック装置を適用した油圧アクチュエータ
US11781674B2 (en) Electromagnetic valve manifold
US9803774B2 (en) Flow control valve having a motion conversion device
CN109312764B (zh) 速度控制器
US11781663B2 (en) Pilot check valve
CN210461783U (zh) 一种abb智能阀门定位器专用失气锁气阀
JP4241344B2 (ja) 流体圧シリンダ
KR20080031170A (ko) 유압 시스템
JPS5932689B2 (ja) プレイバック式ロボットのシリンダ装置

Legal Events

Date Code Title Description
121 Ep: the epo has been informed by wipo that ep was designated in this application

Ref document number: 17870931

Country of ref document: EP

Kind code of ref document: A1

ENP Entry into the national phase

Ref document number: 20197013919

Country of ref document: KR

Kind code of ref document: A

REG Reference to national code

Ref country code: BR

Ref legal event code: B01A

Ref document number: 112019009849

Country of ref document: BR

ENP Entry into the national phase

Ref document number: 112019009849

Country of ref document: BR

Kind code of ref document: A2

Effective date: 20190514

122 Ep: pct application non-entry in european phase

Ref document number: 17870931

Country of ref document: EP

Kind code of ref document: A1

WWG Wipo information: grant in national office

Ref document number: 112017005825

Country of ref document: DE