WO2018079270A1 - 配線モジュール - Google Patents

配線モジュール Download PDF

Info

Publication number
WO2018079270A1
WO2018079270A1 PCT/JP2017/036907 JP2017036907W WO2018079270A1 WO 2018079270 A1 WO2018079270 A1 WO 2018079270A1 JP 2017036907 W JP2017036907 W JP 2017036907W WO 2018079270 A1 WO2018079270 A1 WO 2018079270A1
Authority
WO
WIPO (PCT)
Prior art keywords
wall
mounting plate
plate
wiring module
conductor
Prior art date
Legal status (The legal status is an assumption and is not a legal conclusion. Google has not performed a legal analysis and makes no representation as to the accuracy of the status listed.)
Ceased
Application number
PCT/JP2017/036907
Other languages
English (en)
French (fr)
Japanese (ja)
Inventor
善弘 肥田
真也 伊東
雄也 深水
Current Assignee (The listed assignees may be inaccurate. Google has not performed a legal analysis and makes no representation or warranty as to the accuracy of the list.)
Sumitomo Wiring Systems Ltd
AutoNetworks Technologies Ltd
Sumitomo Electric Industries Ltd
Original Assignee
Sumitomo Wiring Systems Ltd
AutoNetworks Technologies Ltd
Sumitomo Electric Industries Ltd
Priority date (The priority date is an assumption and is not a legal conclusion. Google has not performed a legal analysis and makes no representation as to the accuracy of the date listed.)
Filing date
Publication date
Application filed by Sumitomo Wiring Systems Ltd, AutoNetworks Technologies Ltd, Sumitomo Electric Industries Ltd filed Critical Sumitomo Wiring Systems Ltd
Priority to US16/343,821 priority Critical patent/US10611321B2/en
Priority to CN201780063212.6A priority patent/CN109845057B/zh
Publication of WO2018079270A1 publication Critical patent/WO2018079270A1/ja
Anticipated expiration legal-status Critical
Ceased legal-status Critical Current

Links

Images

Classifications

    • BPERFORMING OPERATIONS; TRANSPORTING
    • B60VEHICLES IN GENERAL
    • B60RVEHICLES, VEHICLE FITTINGS, OR VEHICLE PARTS, NOT OTHERWISE PROVIDED FOR
    • B60R16/00Electric or fluid circuits specially adapted for vehicles and not otherwise provided for; Arrangement of elements of electric or fluid circuits specially adapted for vehicles and not otherwise provided for
    • B60R16/02Electric or fluid circuits specially adapted for vehicles and not otherwise provided for; Arrangement of elements of electric or fluid circuits specially adapted for vehicles and not otherwise provided for electric constitutive elements
    • B60R16/0207Wire harnesses
    • B60R16/0215Protecting, fastening and routing means therefor
    • BPERFORMING OPERATIONS; TRANSPORTING
    • B60VEHICLES IN GENERAL
    • B60RVEHICLES, VEHICLE FITTINGS, OR VEHICLE PARTS, NOT OTHERWISE PROVIDED FOR
    • B60R16/00Electric or fluid circuits specially adapted for vehicles and not otherwise provided for; Arrangement of elements of electric or fluid circuits specially adapted for vehicles and not otherwise provided for
    • B60R16/02Electric or fluid circuits specially adapted for vehicles and not otherwise provided for; Arrangement of elements of electric or fluid circuits specially adapted for vehicles and not otherwise provided for electric constitutive elements
    • B60R16/03Electric or fluid circuits specially adapted for vehicles and not otherwise provided for; Arrangement of elements of electric or fluid circuits specially adapted for vehicles and not otherwise provided for electric constitutive elements for supply of electrical power to vehicle subsystems or for
    • HELECTRICITY
    • H02GENERATION; CONVERSION OR DISTRIBUTION OF ELECTRIC POWER
    • H02GINSTALLATION OF ELECTRIC CABLES OR LINES, OR OF COMBINED OPTICAL AND ELECTRIC CABLES OR LINES
    • H02G3/00Installations of electric cables or lines or protective tubing therefor in or on buildings, equivalent structures or vehicles
    • H02G3/22Installations of cables or lines through walls, floors or ceilings, e.g. into buildings

Definitions

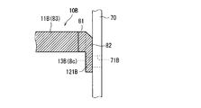
  • a vehicle is provided with a wall for partitioning a space, and a metal wiring (hereinafter also referred to as a conductor plate) may be disposed through the wall.
  • a metal wiring hereinafter also referred to as a conductor plate
  • a through hole corresponding to the cross section of the conductor plate is formed in the wall. That is, the shape of the through-hole formed in the wall depends on the cross section of the conductor plate, and the design freedom is limited.
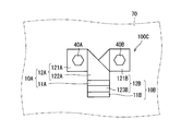
  • the mounting plate 12A of the conductor plate 10A includes a fastening target portion 121A, an overlapping portion 122A, and a connecting portion 123A.
  • the connecting portion 123A is a portion that connects the fastening target portion 121A and the overlapping portion 122A.
  • the connection portion 123 ⁇ / b> A extends so as to approach the wall 70 as it approaches the fastening target portion 121 ⁇ / b> A. Therefore, the fastening target portion 121A can be disposed closer to the wall 70 than the overlapping portion 122A.
  • the fastening target portion 121 ⁇ / b> A is in contact with the wall 70. Accordingly, the fastening member 40A can easily fasten the fastening target portion 121A.
  • Such a conductor plate 10A can also be produced by bending a predetermined conductor plate.

Landscapes

  • Engineering & Computer Science (AREA)
  • Mechanical Engineering (AREA)
  • Architecture (AREA)
  • Civil Engineering (AREA)
  • Structural Engineering (AREA)
  • Connection Of Plates (AREA)
  • Installation Of Indoor Wiring (AREA)
  • Connection Or Junction Boxes (AREA)
  • Connection Of Batteries Or Terminals (AREA)
PCT/JP2017/036907 2016-10-26 2017-10-12 配線モジュール Ceased WO2018079270A1 (ja)

Priority Applications (2)

Application Number Priority Date Filing Date Title
US16/343,821 US10611321B2 (en) 2016-10-26 2017-10-12 Wiring module
CN201780063212.6A CN109845057B (zh) 2016-10-26 2017-10-12 配线模块

Applications Claiming Priority (2)

Application Number Priority Date Filing Date Title
JP2016209401A JP6620716B2 (ja) 2016-10-26 2016-10-26 配線モジュール
JP2016-209401 2016-10-26

Publications (1)

Publication Number Publication Date
WO2018079270A1 true WO2018079270A1 (ja) 2018-05-03

Family

ID=62024752

Family Applications (1)

Application Number Title Priority Date Filing Date
PCT/JP2017/036907 Ceased WO2018079270A1 (ja) 2016-10-26 2017-10-12 配線モジュール

Country Status (4)

Country Link
US (1) US10611321B2 (enExample)
JP (1) JP6620716B2 (enExample)
CN (1) CN109845057B (enExample)
WO (1) WO2018079270A1 (enExample)

Families Citing this family (2)

* Cited by examiner, † Cited by third party
Publication number Priority date Publication date Assignee Title
US11081814B2 (en) * 2016-10-31 2021-08-03 Autonetworks Technologies, Ltd. Wiring module
JP7314793B2 (ja) * 2019-12-20 2023-07-26 株式会社オートネットワーク技術研究所 配線部材

Citations (3)

* Cited by examiner, † Cited by third party
Publication number Priority date Publication date Assignee Title
JPH0731036A (ja) * 1993-07-14 1995-01-31 Yazaki Corp 電気接続箱
JP2012016085A (ja) * 2010-06-29 2012-01-19 Mitsubishi Heavy Ind Ltd 電子制御装置
JP2016120901A (ja) * 2014-12-24 2016-07-07 株式会社オートネットワーク技術研究所 自動車用電源供給装置

Family Cites Families (16)

* Cited by examiner, † Cited by third party
Publication number Priority date Publication date Assignee Title
US2957157A (en) * 1957-06-10 1960-10-18 Fostoria Corp Electrical terminal connector
US3663867A (en) * 1970-08-24 1972-05-16 Louis P Fister General purpose presettable electro-mechanical combination safety lock device
JPS4928759A (enExample) * 1972-07-17 1974-03-14
US5023752A (en) * 1989-10-31 1991-06-11 General Motors Corporation Electrical power distribution center
JP2695068B2 (ja) * 1991-06-20 1997-12-24 住友電気工業株式会社 アンチロックブレーキシステム
JP2924561B2 (ja) * 1993-05-25 1999-07-26 住友電装株式会社 バッテリー・ターミナル
US5508877A (en) * 1993-10-25 1996-04-16 Tii Industries Inc. Weatherproof telephone station protectors
US5828008A (en) * 1997-02-06 1998-10-27 Barnstead/Thermolyne Fastener assembly for establishing a mechanical and electrical connection to coated metal
AU703483B2 (en) * 1997-04-24 1999-03-25 Sumitomo Wiring Systems, Ltd. Electrical assembly including a connection box having a junction block therein
US6361375B1 (en) * 2001-01-23 2002-03-26 Kenneth E. Sinclair Clamp-on multiple lug buss bar assembly
JP5709056B2 (ja) * 2011-11-01 2015-04-30 株式会社デンソー 電流検出装置
JP6008751B2 (ja) * 2013-02-04 2016-10-19 小島プレス工業株式会社 車両部品の取付具
JP6259230B2 (ja) * 2013-09-03 2018-01-10 矢崎総業株式会社 ねじ止め端子の接続構造
CN203553393U (zh) * 2013-11-08 2014-04-16 深圳市汇川技术股份有限公司 电动汽车机箱功率端子
CN203632005U (zh) * 2013-12-03 2014-06-04 航天新长征电动汽车技术有限公司 一种高压配电箱电连接装置
US10338518B2 (en) * 2016-07-29 2019-07-02 Lexmark International, Inc. Redundant electrical contact between a fastener and a component

Patent Citations (3)

* Cited by examiner, † Cited by third party
Publication number Priority date Publication date Assignee Title
JPH0731036A (ja) * 1993-07-14 1995-01-31 Yazaki Corp 電気接続箱
JP2012016085A (ja) * 2010-06-29 2012-01-19 Mitsubishi Heavy Ind Ltd 電子制御装置
JP2016120901A (ja) * 2014-12-24 2016-07-07 株式会社オートネットワーク技術研究所 自動車用電源供給装置

Also Published As

Publication number Publication date
JP6620716B2 (ja) 2019-12-18
US20190248309A1 (en) 2019-08-15
CN109845057B (zh) 2021-07-16
JP2018074670A (ja) 2018-05-10
CN109845057A (zh) 2019-06-04
US10611321B2 (en) 2020-04-07

Similar Documents

Publication Publication Date Title
JP6132063B1 (ja) 自動車用電源供給装置
JP6036745B2 (ja) インバータの車載構造及びインバータ車載用ブラケットユニット
WO2012026272A1 (ja) ワイヤハーネス
JP6822922B2 (ja) 電子機器の車載構造
JP6620716B2 (ja) 配線モジュール
WO2016104101A1 (ja) 自動車用電源供給装置
JP6743734B2 (ja) 形状維持具
WO2018163819A1 (ja) 固定具
CN110116684A (zh) 车辆
JP2018073501A (ja) 配線モジュール
WO2018123495A1 (ja) 導電部材及び複数の導電部材を用いた導電路
JP7540926B2 (ja) ワイヤハーネス
CN109804506B (zh) 配线模块
JP6564627B2 (ja) 車両用アース部材
JP5723623B2 (ja) ブラケット
JP4365714B2 (ja) 車載用電子機器
CN222905467U (zh) 一种驾驶舱保险丝盒和运输装置
JP2015093650A (ja) 車両用コネクタ固定構造
CN110116686A (zh) 配线组件及包括配线组件的车辆
JP2001039235A (ja) 自動車の計器パネル
CN109038965A (zh) 具有电子地整流的马达和电子单元的驱动单元
JP2017007439A (ja) 車両用内装材
JP2024120257A (ja) 電気機器の車載構造
JP2007143372A (ja) ホルダと該ホルダを備えた接続箱ユニット
JP2011078264A (ja) 固定構造

Legal Events

Date Code Title Description
121 Ep: the epo has been informed by wipo that ep was designated in this application

Ref document number: 17864021

Country of ref document: EP

Kind code of ref document: A1

NENP Non-entry into the national phase

Ref country code: DE

122 Ep: pct application non-entry in european phase

Ref document number: 17864021

Country of ref document: EP

Kind code of ref document: A1