WO2017017993A1 - 逆浸透膜用洗浄剤、洗浄液、および洗浄方法 - Google Patents
逆浸透膜用洗浄剤、洗浄液、および洗浄方法 Download PDFInfo
- Publication number
- WO2017017993A1 WO2017017993A1 PCT/JP2016/059148 JP2016059148W WO2017017993A1 WO 2017017993 A1 WO2017017993 A1 WO 2017017993A1 JP 2016059148 W JP2016059148 W JP 2016059148W WO 2017017993 A1 WO2017017993 A1 WO 2017017993A1
- Authority
- WO
- WIPO (PCT)
- Prior art keywords
- cleaning
- membrane
- reverse osmosis
- osmosis membrane
- ring
- Prior art date
- Legal status (The legal status is an assumption and is not a legal conclusion. Google has not performed a legal analysis and makes no representation as to the accuracy of the status listed.)
- Ceased
Links
- 0 *[C@](CC1)NC1=O Chemical compound *[C@](CC1)NC1=O 0.000 description 1
- NQRYJNQNLNOLGT-UHFFFAOYSA-N C1CCNCC1 Chemical compound C1CCNCC1 NQRYJNQNLNOLGT-UHFFFAOYSA-N 0.000 description 1
- WHNWPMSKXPGLAX-UHFFFAOYSA-N C=CN(CCC1)C1=O Chemical compound C=CN(CCC1)C1=O WHNWPMSKXPGLAX-UHFFFAOYSA-N 0.000 description 1
- HNJBEVLQSNELDL-UHFFFAOYSA-N O=C1NCCC1 Chemical compound O=C1NCCC1 HNJBEVLQSNELDL-UHFFFAOYSA-N 0.000 description 1
- YAMHXTCMCPHKLN-UHFFFAOYSA-N O=C1NCCN1 Chemical compound O=C1NCCN1 YAMHXTCMCPHKLN-UHFFFAOYSA-N 0.000 description 1
Images
Classifications
-
- B—PERFORMING OPERATIONS; TRANSPORTING
- B01—PHYSICAL OR CHEMICAL PROCESSES OR APPARATUS IN GENERAL
- B01D—SEPARATION
- B01D65/00—Accessories or auxiliary operations, in general, for separation processes or apparatus using semi-permeable membranes
- B01D65/02—Membrane cleaning or sterilisation ; Membrane regeneration
- B01D65/06—Membrane cleaning or sterilisation ; Membrane regeneration with special washing compositions
-
- B—PERFORMING OPERATIONS; TRANSPORTING
- B01—PHYSICAL OR CHEMICAL PROCESSES OR APPARATUS IN GENERAL
- B01D—SEPARATION
- B01D71/00—Semi-permeable membranes for separation processes or apparatus characterised by the material; Manufacturing processes specially adapted therefor
- B01D71/06—Organic material
- B01D71/56—Polyamides, e.g. polyester-amides
-
- C—CHEMISTRY; METALLURGY
- C11—ANIMAL OR VEGETABLE OILS, FATS, FATTY SUBSTANCES OR WAXES; FATTY ACIDS THEREFROM; DETERGENTS; CANDLES
- C11D—DETERGENT COMPOSITIONS; USE OF SINGLE SUBSTANCES AS DETERGENTS; SOAP OR SOAP-MAKING; RESIN SOAPS; RECOVERY OF GLYCEROL
- C11D1/00—Detergent compositions based essentially on surface-active compounds; Use of these compounds as a detergent
- C11D1/02—Anionic compounds
- C11D1/12—Sulfonic acids or sulfuric acid esters; Salts thereof
- C11D1/22—Sulfonic acids or sulfuric acid esters; Salts thereof derived from aromatic compounds
-
- C—CHEMISTRY; METALLURGY
- C11—ANIMAL OR VEGETABLE OILS, FATS, FATTY SUBSTANCES OR WAXES; FATTY ACIDS THEREFROM; DETERGENTS; CANDLES
- C11D—DETERGENT COMPOSITIONS; USE OF SINGLE SUBSTANCES AS DETERGENTS; SOAP OR SOAP-MAKING; RESIN SOAPS; RECOVERY OF GLYCEROL
- C11D3/00—Other compounding ingredients of detergent compositions covered in group C11D1/00
- C11D3/16—Organic compounds
- C11D3/26—Organic compounds containing nitrogen
- C11D3/28—Heterocyclic compounds containing nitrogen in the ring
-
- Y—GENERAL TAGGING OF NEW TECHNOLOGICAL DEVELOPMENTS; GENERAL TAGGING OF CROSS-SECTIONAL TECHNOLOGIES SPANNING OVER SEVERAL SECTIONS OF THE IPC; TECHNICAL SUBJECTS COVERED BY FORMER USPC CROSS-REFERENCE ART COLLECTIONS [XRACs] AND DIGESTS
- Y02—TECHNOLOGIES OR APPLICATIONS FOR MITIGATION OR ADAPTATION AGAINST CLIMATE CHANGE
- Y02A—TECHNOLOGIES FOR ADAPTATION TO CLIMATE CHANGE
- Y02A20/00—Water conservation; Efficient water supply; Efficient water use
- Y02A20/124—Water desalination
- Y02A20/131—Reverse-osmosis
Definitions
- the present invention relates to an RO membrane cleaning agent and a cleaning agent that effectively recovers performance, and an RO membrane cleaning method using the same.
- an aromatic polyamide RO membrane that can be operated at a low pressure and has excellent desalting performance has been widely used. Since the aromatic polyamide RO membrane has low resistance to chlorine, it cannot be treated with chlorine under the operating conditions like the cellulose acetate RO membrane, and contamination by microorganisms and organic matter is cellulose acetate. There is a problem that it is more likely to occur than conventional RO membranes. The resistance to alkali is higher in the aromatic polyamide RO membrane than in the cellulose acetate RO membrane, and it is possible to perform cleaning under alkaline conditions of pH 10 or higher.
- Non-patent Document 1 ⁇ Alkaline agents (such as sodium hydroxide) ⁇ Surfactant (such as sodium lauryl sulfate) ⁇ Chelating agents (EDTA, etc.)
- RO membrane when an RO membrane is used to treat raw water containing a large amount of inorganic or organic matter in a wastewater recovery system or seawater desalination facility, contaminants containing inorganic and organic matter adhere to the RO membrane. In the case of such a deposit, the cleaning effect may be insufficient even when the cleaning chemical is used.
- a water supply containing a polymer polyalkylene glycol, a nonionic surfactant, saccharides and proteins is treated with an RO membrane, these TOC components adhere to the membrane, and the performance of the membrane gradually decreases. It is extremely difficult to restore the performance of this RO membrane with the above conventional cleaning chemicals.
- Sodium hypochlorite is a powerful drug against microorganisms and organic matter, but aromatic polyamide RO membranes have low resistance to chlorine, so sodium hypochlorite is used to clean aromatic polyamide RO membranes. Is not used.
- a chlorine-based disinfectant it is known that free chlorine is reduced using a reducing agent and then supplied to the RO membrane (Patent Document 1).
- pyrrolidone-based drugs are used as membrane solvents, as described in Patent Document 2, or as examples of modifiers as described in Patent Document 3. There is. As described in Patent Document 4, it may be used as a film structuring agent.
- Patent Documents 5 to 7 disclose a technique for decomposing and washing a photosensitive agent component remaining on a filter obtained by filtering a photoresist solution with N-methylpyrrolidone. It is not intended for RO membranes contaminated with organic substances. The contaminating component of the RO film to be cleaned and removed in the present invention is not decomposed and cleaned like the photosensitive agent component.
- the conventional cleaning agent when a RO membrane used for water treatment, in particular, an aromatic polyamide RO membrane is contaminated and the performance such as permeation flux, differential pressure, and desalination rate is lowered, the conventional cleaning agent is sufficient. It is an object of the present invention to provide an RO membrane cleaning agent and cleaning liquid that can effectively remove contaminants that cannot be removed, and an RO membrane cleaning method using the same.
- a compound having an N-containing saturated heterocyclic ring particularly a pyrrolidine ring, a pyrrolidone ring, an imidazolidine ring, or an imidazolidine ring. It has been found that a compound having a non-ring as a skeleton gives a high cleaning effect to contaminants adhering to an aromatic polyamide RO membrane.
- the gist of the present invention is as follows.
- a detergent for a reverse osmosis membrane containing a compound having an N-containing saturated heterocyclic ring a compound having an N-containing saturated heterocyclic ring.
- the compound having an N-containing saturated heterocyclic ring is composed of pyrrolidine represented by the following formula (1) and a derivative thereof, and imidazolidine and a derivative thereof represented by the following formula (2).
- a cleaning agent for reverse osmosis membranes which is one or more selected from the group.
- R 1 and R 2 each independently represent a hydrogen atom or a hydrocarbon group having 1 to 4 carbon atoms which may have a substituent.
- Q 1 to Q 4 each independently represent two hydrogen atoms, an oxygen atom, a hydrogen atom and an arbitrary substituent, or two arbitrary substituents.
- a reverse osmosis membrane cleaning solution comprising the reverse osmosis membrane cleaner according to any one of [1] to [6].
- Formula (1) includes a pyrrolidine ring and a pyrrolidone ring.
- Formula (2) includes an imidazolidine ring and an imidazolidinone ring.
- N-containing saturated heterocyclic compound examples include the following compounds.
- N-containing saturated heterocyclic compounds may be used alone or in combination of two or more.
- alkali agent used in the cleaning agent for RO membrane of the present invention examples include hydroxides of alkali metals such as sodium hydroxide and potassium hydroxide.
- Solvents other than N-containing saturated heterocyclic compounds include alcohols such as ethanol, polyols such as ethylene glycol, propylene glycol and butanediol, amines such as monoethanolamine, diethanolamine and triethanolamine, and ketones such as acetone. , Ethers such as dimethyl ether, diethyl ether and diethylene glycol monomethyl ether.
- cleaning agents examples include surfactants and dispersants.
- Surfactants include anionic surfactants such as alkylbenzene sulfonates such as sodium dodecylbenzene sulfonate, alkyl sulfates such as sodium dodecyl sulfate, and nonionic surfactants such as polyalkylene glycol monoalkyl ethers such as diethylene glycol monomethyl ether. Surfactant etc. can be mentioned.
- anionic surfactants are particularly preferable in terms of dispersion effect.
- Dispersants include ethylenediaminetetraacetic acid (EDTA), glycol etherdiaminetetraacetic acid (EGTA), polyphosphoric acid, phosphonobutanetricarboxylic acid (PBTC), phosphonic acid, polymaleic acid, citric acid, oxalic acid, gluconic acid and their Chelating agents such as salts can be mentioned.
- EDTA ethylenediaminetetraacetic acid
- EGTA glycol etherdiaminetetraacetic acid
- PBTC phosphonobutanetricarboxylic acid
- phosphonic acid polymaleic acid
- citric acid citric acid
- oxalic acid gluconic acid
- Chelating agents such as salts can be mentioned.
- the cleaning agent for RO membrane of the present invention may be a one-agent type in which an N-containing saturated heterocyclic compound, an alkali agent, a cleaning agent and the like are mixed in advance, and a part of these is supplied as another agent. Two or more dosage forms may be used.
- the RO membrane cleaning liquid of the present invention prepared by diluting the RO membrane cleaning agent of the present invention with water may also be a one-drug type, a two-drug type, or a higher dosage form.
- the RO membrane may be washed with a washing solution containing an N-containing saturated heterocyclic compound and then washed with a washing solution containing another washing agent.
- the RO membrane cleaning agent of the present invention has a concentration of each drug suitable for the RO membrane cleaning solution of the present invention described later when diluted to about 5 to 100 times by weight with water, preferably pure water. Each drug concentration is adjusted to be about 5 to 100 times the drug concentration in the RO membrane cleaning solution.
- the cleaning agent for RO membrane of the present invention is prepared as an aqueous solution, or all or part of it as a powder or solid.
- the cleaning solution for RO membrane of the present invention is an aqueous solution obtained by diluting the cleaning agent for RO membrane of the present invention with water.
- the RO membrane cleaning solution of the present invention is adjusted to a predetermined concentration by diluting the RO membrane cleaning agent of the present invention with water and, if necessary, adding an alkali agent, a cleaning agent, other solvents, etc. It may be what you did.
- the RO membrane cleaning liquid of the present invention may be prepared directly at a predetermined drug concentration without going through the RO membrane cleaning agent of the present invention.
- the concentration of the N-containing saturated heterocyclic compound in the RO membrane cleaning liquid of the present invention depends on the type of N-containing saturated heterocyclic compound to be used, the pH of the cleaning liquid, whether or not other cleaning agents are used in combination, and the type and concentration thereof. Although it is different, it is preferably about 0.1 to 10% by weight, particularly about 0.5 to 5% by weight.
- concentration of the N-containing saturated heterocyclic compound is lower than the lower limit, it is not possible to sufficiently obtain the RO membrane cleaning effect by using the N-containing saturated heterocyclic compound. Even if the concentration of the N-containing saturated heterocyclic compound is higher than the above upper limit, the cleaning effect may be reduced, and the nitrogen content of the cleaning waste liquid is unnecessarily increased.
- the RO membrane cleaning liquid of the present invention preferably has a pH of 8 or more, particularly 10 to 14 in terms of its cleaning effect.
- the membrane permeability may not be sufficiently recovered by cleaning.
- the pH of the cleaning liquid is preferably 14 or less, more preferably 11 or more and 13 or less.
- the RO membrane cleaning liquid of the present invention is prepared to have the above-mentioned suitable pH by adding an alkaline agent.
- the pH can be adjusted to about 6 to 8 and used in combination with a surfactant to form a cleaning liquid.
- the concentration of the surfactant in the RO membrane cleaning liquid of the present invention is preferably 100 to 10,000 mg / L, particularly 300 to 5000 mg / L. Is preferred.
- the surfactant concentration in the RO membrane cleaning liquid of the present invention is too low, the dispersion effect by the surfactant and the effect of improving the cleaning action cannot be sufficiently obtained. If the surfactant concentration in the cleaning liquid for RO membrane of the present invention is too high, the association of the surfactant is rather strong and the cleaning effect may be reduced.
- the concentration of the dispersant in the RO membrane cleaning liquid of the present invention is preferably 100 to 20000 mg / L, and particularly preferably 1000 to 10,000 mg / L. . If the dispersant concentration in the RO membrane cleaning liquid of the present invention is too low, the dispersion and cleaning effects by the dispersant cannot be sufficiently obtained. If the concentration of the dispersant in the cleaning liquid for RO membrane of the present invention is too high, the cleaning effect does not increase with respect to the concentration.
- the cleaning agent for RO membrane of the present invention is prepared by mixing N-containing saturated heterocyclic compound with an alkali agent, a cleaning agent, other solvents and the like, which are blended as necessary.
- the cleaning agent for RO membrane of the present invention may be prepared as a powder or solid in whole or in part.
- the RO membrane cleaning solution of the present invention is prepared by diluting the thus prepared RO membrane cleaning agent of the present invention with water, preferably pure water, and if necessary, an alkaline agent, a cleaning agent, other solvents, etc. It is manufactured by adding.
- the RO membrane cleaning solution of the present invention can also be produced directly by the same method as described above without passing through the RO membrane cleaning agent of the present invention.
- the method for cleaning the RO membrane using the RO membrane cleaning liquid of the present invention is not particularly limited as long as the RO membrane is brought into contact with the cleaning liquid.
- immersion cleaning is performed in which a cleaning liquid is introduced to the raw water side of the RO membrane module and allowed to stand. Circulating cleaning in which the cleaning liquid is circulated may be performed before and / or after this immersion cleaning.
- the cleaning agent for RO membrane and the cleaning solution for RO membrane of the present invention are in a two-agent type or more, they may be mixed and used for cleaning, or sequentially cleaned using different agents. You may make it perform. For example, after washing with a cleaning liquid containing an N-containing saturated heterocyclic compound, it may be cleaned with a cleaning liquid containing other chemicals.
- acid cleaning effective for removing scales and metal colloids may be performed.
- an aqueous solution containing one or more acids such as hydrochloric acid, nitric acid, citric acid and oxalic acid can be used.
- the pH of the aqueous acid solution is preferably pH 4 or less, particularly pH 1 to 3 from the viewpoint of cleaning effect and handleability.
- the cleaning procedure is not particularly limited.
- the acid cleaning with the acid aqueous solution is performed before the cleaning with the RO membrane cleaning liquid of the present invention, it is effective for removing scale components.
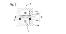
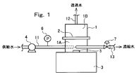
- the RO membrane supply water is supplied from the pipe 11 to the raw water chamber 1A below the flat membrane cell 2 in which the RO membrane of the sealed container 1 is set by the high pressure pump 4.
- the sealed container 1 is composed of a lower case 1a on the raw water chamber 1A side and an upper case 1b on the permeate water chamber 1B side, and a flat membrane is formed between the lower case 1a and the upper case 1b.
- the cell 2 is fixed via an O-ring 8.
- the flat membrane cell 2 is configured such that the permeate side of the RO membrane 2A is supported by the porous support plate 2B.
- the raw water chamber 1 ⁇ / b> A below the flat membrane cell 2 is stirred by rotating the stirring bar 5 with the stirrer 3.
- Example 1 pH 12 sodium hydroxide aqueous solution containing 1% by weight of N-methyl-2-pyrrolidone, 1500 mg / L sodium dodecyl sulfate and 5000 mg / L sodium gluconate
- Comparative Example I-1 pH 12 Sodium hydroxide aqueous solution
- Comparative Example I-2 pH 12 sodium hydroxide aqueous solution containing 1% by weight of propylene glycol, 1500 mg / L sodium dodecyl sulfate and 5000 mg / L sodium gluconate
- Comparative Example I-3 1 PH 12 sodium hydroxide aqueous solution containing ethanol by weight, 1500 mg / L sodium dodecyl sulfate and 5000 mg / L sodium gluconate
- Comparative Example I-4 1% by weight diethylene glycol monomethyl ether and 1500 mg / L Sodium dodecyl sulfate, 500 PH 12 sodium hydroxide aqueous solution containing 0 mg /
- Example I-1 and Comparative Examples I-1 to I-4 the desalting rate of the RO membrane after washing was almost equal to the desalting rate of the RO membrane before washing, which was about 98 to 99%.
- Comparative Example II-1 pH 12 sodium hydroxide aqueous solution
- Comparative Example II-2 pH 12 sodium hydroxide aqueous solution containing 1500 mg / L sodium dodecylbenzenesulfonate
- Comparative Example II-3 2% by weight of propylene glycol; PH 12 sodium hydroxide aqueous solution containing 1500 mg / L sodium dodecylbenzene sulfonate
- Comparative Example II-4 pH 12 sodium hydroxide aqueous solution containing 2 wt% ethylene glycol and 1500 mg / L sodium dodecyl benzene sulfonate
- Comparative Example II-5 pH 12 sodium hydroxide aqueous solution containing 2% by weight of diethylene glycol monomethyl ether and 1500 mg / L sodium dodecylbenzenesulfonate
- Comparative Example II-6 2% by weight of monoethanolamine and 1500 mg / L L's dode PH 12 sodium hydroxide aqueous solution containing sodium ruben
Landscapes
- Chemical & Material Sciences (AREA)
- Chemical Kinetics & Catalysis (AREA)
- Life Sciences & Earth Sciences (AREA)
- Engineering & Computer Science (AREA)
- Oil, Petroleum & Natural Gas (AREA)
- Wood Science & Technology (AREA)
- Organic Chemistry (AREA)
- Separation Using Semi-Permeable Membranes (AREA)
- Detergent Compositions (AREA)
Abstract
水処理に使用されたRO膜、特に芳香族ポリアミド系RO膜が汚染して透過流束や差圧、脱塩率などの性能が低下した際に、従来の洗浄剤では十分に除去することができない汚染物質を効果的に除去する逆浸透膜用洗浄剤。この逆浸透膜用洗浄剤は、N含有飽和複素環を有する化合物を含むRO膜用洗浄剤及びこれを含む。この洗浄剤又は洗浄液を用いてRO膜を洗浄する方法。N含有飽和複素環を有する化合物、特にピロリジン環、ピロリドン環、もしくはイミダゾリジン環、イミダゾリジノン環を骨格として有する化合物は、芳香族ポリアミド系RO膜に付着した汚染物質に対して高い洗浄効果を与える。
Description
本発明は、水処理分野で使用された逆浸透(RO)膜、特に芳香族ポリアミド系RO膜が汚染して、透過流束や差圧、脱塩率などの性能が低下した際に、その性能を効果的に回復させるRO膜用洗浄剤及び洗浄剤と、これを用いたRO膜の洗浄方法に関する。
全世界的な水供給量不足の対策として、RO膜システムを用いた海水、かん水の淡水化や排水回収が行われている。RO膜システムにおいて、RO膜は無機物や有機物などの種々の汚染物質により汚染される。RO膜の汚染による脱塩率、差圧、透過流束といった性能低下が問題となっている。汚染したRO膜の性能を効果的に回復させる洗浄技術の開発が望まれている。
水処理用RO膜としては、低圧運転が可能で、脱塩性能に優れる芳香族ポリアミド系のRO膜が広く使われるようになってきている。芳香族ポリアミド系RO膜は、塩素に対する耐性が低いため、酢酸セルロース系のRO膜のように、運転条件下で塩素と接触させる処理を行うことができず、微生物や有機物による汚染が酢酸セルロース系のRO膜よりも起こりやすいという課題がある。アルカリに対する耐性は、芳香族ポリアミド系RO膜の方が酢酸セルロース系RO膜よりも高く、pH10以上のアルカリ条件での洗浄を行うことが可能である。
耐アルカリ性の芳香族ポリアミドRO膜に対して、従来から知られている微生物や有機物などの膜汚染物質に有効な洗浄剤として、以下のものがある(非特許文献1)。
・ アルカリ剤(水酸化ナトリウムなど)
・ 界面活性剤(ラウリル硫酸ナトリウムなど)
・ キレート剤(EDTAなど)
・ アルカリ剤(水酸化ナトリウムなど)
・ 界面活性剤(ラウリル硫酸ナトリウムなど)
・ キレート剤(EDTAなど)
RO膜の汚染が激しいと、上記のような薬剤では十分に洗浄を行えない場合がある。
例えば、排水回収系や海水淡水化設備における無機物や有機物を多く含む原水の処理にRO膜を用いた場合、RO膜に無機物および有機物を含む汚染物質が付着する。このような付着物の場合、上記洗浄薬剤を用いても洗浄効果が不十分な場合がある。特に、高分子のポリアルキレングリコール、ノニオン系界面活性剤、糖類や蛋白質を含む給水をRO膜で処理すると、これらのTOC成分が膜に付着し、膜の性能が除々に低下していく。上記従来の洗浄薬剤でこのRO膜の性能を回復させることは極めて困難である。
次亜塩素酸ナトリウムは、微生物や有機物に対して強力な薬剤であるが、芳香族ポリアミド系RO膜は、塩素に対する耐性が低いため、次亜塩素酸ナトリウムは芳香族ポリアミド系RO膜の洗浄には使用されていない。塩素系殺菌剤を用いる場合には、還元剤を用いて遊離塩素を還元した後にRO膜に供給することが知られている(特許文献1)。
ピロリドン系の薬剤は、膜分離技術の分野では、特許文献2に記載されているように、膜の溶剤として用いたり、特許文献3に記載されているように、修飾剤として用いられている例がある。特許文献4に記載されているように、膜の構造剤として用いることもある。
ピロリドン系の薬剤をRO膜の洗浄剤成分として用いられている事例はこれまでにない。
特許文献5~7には、フォトレジスト液を濾過したフィルターに残存している感光剤成分をN-メチルピロリドンにより分解洗浄する技術が開示されているが、本発明で洗浄対象とするような微生物や有機物で汚染されたRO膜を対象とするものではない。本発明で洗浄除去するRO膜の汚染成分は、感光剤成分のように分解洗浄されるものでもない。
「膜の劣化とファウリング対策 膜汚染防止・洗浄法からトラブルシューティングまで」(NTS発行)p142 2008
本発明は、水処理に使用されたRO膜、特に芳香族ポリアミド系RO膜が汚染して透過流束や差圧、脱塩率などの性能が低下した際に、従来の洗浄剤では十分に除去することができない汚染物質を効果的に除去することができるRO膜用洗浄剤及び洗浄液と、これを用いたRO膜の洗浄方法を提供することを課題とする。
本発明者は、様々な汚染RO膜を入手・作成し、有効な洗浄剤成分について鋭意検討した結果、N含有飽和複素環を有する化合物、特にピロリジン環、ピロリドン環、もしくはイミダゾリジン環、イミダゾリジノン環を骨格として有する化合物が、芳香族ポリアミド系RO膜に付着した汚染物質に対して高い洗浄効果を与えることを見出した。
本発明は、以下を要旨とする。
[1] N含有飽和複素環を有する化合物を含む逆浸透膜用洗浄剤。
[2] [1]において、前記N含有飽和複素環が、ピロリジン環、ピロリドン環、イミダゾリジン環、イミダゾリジノン環、ピペリジン環及びピペラジン環から選ばれることを特徴とする逆浸透膜用洗浄剤。
[3] [2]において、前記N含有飽和複素環を有する化合物が、下記式(1)で表されるピロリジン及びその誘導体、並びに下記式(2)で表されるイミダゾリジン及びその誘導体よりなる群から選ばれる1種又は2種以上であることを特徴とする逆浸透膜用洗浄剤。
式(1)中、R1,R2は各々独立に水素原子、又は置換基を有していてもよい炭素数1~4の炭化水素基を表す。Q1~Q4は各々独立に2個の水素原子、酸素原子、水素原子と任意の置換基、或いは2個の任意の置換基を表す。
[4] [1]ないし[3]のいずれかにおいて、アルカリ条件下で使用されることを特徴とする逆浸透膜用洗浄剤。
[5] [1]ないし[4]のいずれかにおいて、更にアニオン系界面活性剤を含むことを特徴とする逆浸透膜用洗浄剤。
[6] [1]ないし[5]のいずれかにおいて、更に分散剤を含むことを特徴とする逆浸透膜用洗浄剤。
[7] [1]ないし[6]のいずれかに記載の逆浸透膜用洗浄剤を含む逆浸透膜用洗浄液。
[8] [7]において、pH8以上のアルカリ性であることを特徴とする逆浸透膜用洗浄液。
[9] [1]ないし[6]のいずれかに記載の逆浸透膜用洗浄剤、あるいは[7]又は[8]に記載の逆浸透膜用洗浄液を用いることを特徴とする逆浸透膜の洗浄方法。
[10] [9]において、前記逆浸透膜が芳香族ポリアミド系逆浸透膜であることを特徴とする逆浸透膜の洗浄方法。
[11] [9]又は[10]において、前記逆浸透膜が海水淡水化あるいは排水処理に使用されたものであることを特徴とする逆浸透膜の洗浄方法。
本発明によれば、水処理に使用されたRO膜、特に芳香族ポリアミド系RO膜が汚染して透過流束や差圧、脱塩率などの性能が低下した際に、従来の洗浄剤では十分に除去することができない汚染物質を効果的に除去することができる。
以下に本発明の実施の形態を詳細に説明する。
[作用機構]
本発明による作用機構の詳細は明らかではないが、以下の通り考えられる。
洗浄時のアルカリ条件における剥離効果、加水分解効果に加えて、N含有飽和複素環を有する化合物(以下「N含有飽和複素環化合物」と称す場合がある。)の汚染物質への浸透・親水化効果、更にはアニオン系界面活性剤を併用した場合のアニオン系界面活性剤による汚染物質への浸透・剥離効果、分散剤を併用した場合の分散剤による無機物の分散・キレート効果を付与することにより、これらが相乗的に作用してアルカリ洗浄効果を向上させることができる。
本発明による作用機構の詳細は明らかではないが、以下の通り考えられる。
洗浄時のアルカリ条件における剥離効果、加水分解効果に加えて、N含有飽和複素環を有する化合物(以下「N含有飽和複素環化合物」と称す場合がある。)の汚染物質への浸透・親水化効果、更にはアニオン系界面活性剤を併用した場合のアニオン系界面活性剤による汚染物質への浸透・剥離効果、分散剤を併用した場合の分散剤による無機物の分散・キレート効果を付与することにより、これらが相乗的に作用してアルカリ洗浄効果を向上させることができる。
ピロリジン誘導体やイミダゾリジン誘導体等のN含有飽和複素環化合物の洗浄効果に対する作用機構は明らかでないが、窒素原子を含む飽和の環状構造が、RO膜のポリアミド、特に芳香族ポリアミド表面と何らかの親和性を有し、汚染物質を親水化することによるものと考えられる。
[RO膜]
本発明において、洗浄対象となるRO膜は、芳香族ポリアミド系RO膜等のポリアミド系RO膜であってもよく、酢酸セルロース系RO膜であってもよい。本発明は、特に、芳香族ポリアミド系RO膜の洗浄に有効である。本発明は、海水淡水化あるいは排水処理に使用され、様々な汚染物質で汚染されているために、従来の洗浄剤では十分な洗浄効果を得ることができないRO膜に特に有効である。
本発明において、洗浄対象となるRO膜は、芳香族ポリアミド系RO膜等のポリアミド系RO膜であってもよく、酢酸セルロース系RO膜であってもよい。本発明は、特に、芳香族ポリアミド系RO膜の洗浄に有効である。本発明は、海水淡水化あるいは排水処理に使用され、様々な汚染物質で汚染されているために、従来の洗浄剤では十分な洗浄効果を得ることができないRO膜に特に有効である。
[RO膜用洗浄剤]
本発明のRO膜用洗浄剤は、N含有飽和複素環化合物を含むことを特徴とするものである。本発明のRO膜用洗浄剤は、通常、N含有飽和複素環化合物と、必要に応じて用いられるアルカリ剤、その他の薬剤等を水に溶解させて調製される。
本発明のRO膜用洗浄剤は、N含有飽和複素環化合物を含むことを特徴とするものである。本発明のRO膜用洗浄剤は、通常、N含有飽和複素環化合物と、必要に応じて用いられるアルカリ剤、その他の薬剤等を水に溶解させて調製される。
本発明において、「洗浄剤」は製品の流通、保管のために、使用時よりもN含有飽和複素環化合物やその他の薬剤濃度を高めに設定して調製されたものをさす。「洗浄液」は、この洗浄剤を水で希釈して、実際に膜面の洗浄を行う濃度に調整したものをさす。
<N含有飽和複素環化合物>
N含有飽和複素環化合物が有するN含有飽和複素環としては、環の構成原子として窒素原子を有する飽和の複素環であればよく、特に制限はない。N含有飽和複素環としては、好ましくは5員環又は6員環、より好ましくは5員環である。N含有飽和複素環としては、例えば、ピロリジン環、ピロリドン環、イミダゾリジン環、イミダゾリジノン環などの5員環、ピペリジン環、ピペラジン環等の6員環等が挙げられる。
N含有飽和複素環化合物が有するN含有飽和複素環としては、環の構成原子として窒素原子を有する飽和の複素環であればよく、特に制限はない。N含有飽和複素環としては、好ましくは5員環又は6員環、より好ましくは5員環である。N含有飽和複素環としては、例えば、ピロリジン環、ピロリドン環、イミダゾリジン環、イミダゾリジノン環などの5員環、ピペリジン環、ピペラジン環等の6員環等が挙げられる。
N含有飽和複素環化合物としては、特にその洗浄効果の面から、下記式(1)で表されるピロリジン及びその誘導体、下記式(2)で表されるイミダゾリジン及びその誘導体が好ましい。式(1)はピロリジン環とピロリドン環を包含する。式(2)はイミダゾリジン環とイミダゾリジノン環を包含する。
式(1)中、R1,R2は各々独立に水素原子、又は置換基を有していてもよい炭素数1~4の炭化水素基を表す。Q1~Q4は各々独立に2個の水素原子、酸素原子、水素原子と任意の置換基、或いは2個の任意の置換基を表す。
「置換基」とは水素原子以外の官能基又は原子であり、ハロゲン原子も置換基に含まれる。
式(1),(2)において、R1,R2の炭化水素基としては、アルキル基、アルケニル基、アルキニル基等が挙げられる。アルキル基としては、メチル基(-CH3)、エチル基(-CH2CH3)等が挙げられる。アルケニル基としては、ビニル基(-CH=CH2)等が挙げられる。これらの炭化水素基が有していてもよい置換基としては、アミノカルボニル基、カルボキシル基、アミノ基、ヒドロキシ基、ハロゲン原子等が挙げられる。例えば、メチル基にアミノアルボニル基が置換した基として、アミノカルボニルメチル基(-CH2C(O)NH2)等が挙げられる。
Q1~Q4の任意の置換基としては、カルボキシル基(-COOH)、アミノ基(-NH2)、ヒドロキシ基(-OH)、ハロゲン原子等が挙げられる。
N含有飽和複素環化合物としては、具体的には、以下の化合物が挙げられる。
N含有飽和複素環化合物は、1種を単独で用いてもよく、2種以上を混合して用いてもよい。
<その他の成分>
本発明のRO膜用洗浄剤には、N含有飽和複素環化合物以外に、RO膜の洗浄に必要なアルカリ剤や洗浄薬剤、N含有飽和複素環化合物以外の溶媒が含有されていてもよい。
本発明のRO膜用洗浄剤には、N含有飽和複素環化合物以外に、RO膜の洗浄に必要なアルカリ剤や洗浄薬剤、N含有飽和複素環化合物以外の溶媒が含有されていてもよい。
本発明のRO膜用洗浄剤に用いるアルカリ剤としては、水酸化ナトリウム、水酸化カリウムなどのアルカリ金属の水酸化物が挙げられる。
N含有飽和複素環化合物以外の溶媒としては、エタノールなどのアルコール類、エチレングリコール、プロピレングリコール、ブタンジオールなどのポリオール類、モノエタノールアミン、ジエタノールアミン、トリエタノールアミンなどのアミン類、アセトンなどのケトン類、ジメチルエーテル、ジエチルエーテル、ジエチレングリコールモノメチルエーテルなどのエーテル類などを挙げることができる。
洗浄薬剤としては、界面活性剤、分散剤などを挙げることができる。
界面活性剤としては、ドデシルベンゼンスルホン酸ナトリウム等のアルキルベンゼンスルホン酸塩、ドデシル硫酸ナトリウム等のアルキル硫酸塩等のアニオン系界面活性剤、ジエチレングリコールモノメチルエーテルなどのポリアルキレングリコールモノアルキルエーテルのようなノニオン系界面活性剤などを挙げることができる。
これらのうち、特に分散効果の面でアニオン系界面活性剤が好ましい。
分散剤としては、エチレンジアミン四酢酸(EDTA)、グリコールエーテルジアミン四酢酸(EGTA)、ポリリン酸、ホスホノブタントリカルボン酸(PBTC)、ホスホン酸、ポリマレイン酸、クエン酸、シュウ酸、グルコン酸およびそれらの塩などのキレート剤が挙げられる。
これらはいずれも1種を単独で用いてもよく、2種以上を組み合わせて用いてもよい。
本発明のRO膜用洗浄剤は、N含有飽和複素環化合物と、アルカリ剤、洗浄薬剤等が予め混合された1剤型であってもよく、これらの一部が別の薬剤として供給される2剤型、或いはそれ以上の剤型であってもよい。
本発明のRO膜用洗浄剤を水で希釈して調製される本発明のRO膜用洗浄液についても、1剤型であっても、2剤型、或いはそれ以上の剤型であってもよい。2剤型、或いはそれ以上の剤型の場合、例えば、N含有飽和複素環化合物を含む洗浄液でRO膜を洗浄した後、他の洗浄薬剤を含む洗浄液で洗浄するようにしてもよい。
本発明のRO膜用洗浄剤は、水、好ましくは純水で5~100重量倍程度に希釈したときに、後述の本発明のRO膜用洗浄液に好適な各薬剤の濃度となるように、それぞれの薬剤濃度がRO膜用洗浄液における薬剤濃度の5~100重量倍程度となるように調製される。
本発明のRO膜用洗浄剤は、水溶液、あるいは全てもしくはその一部が粉末、固形物として調製される。
[洗浄液]
本発明のRO膜用洗浄液は、本発明のRO膜用洗浄剤を水で希釈してなる水溶液である。本発明のRO膜用洗浄液は、本発明のRO膜用洗浄剤を水で希釈すると共に、更に、必要に応じて、アルカリ剤、洗浄薬剤、他の溶媒等を添加して所定の濃度に調整したものであってもよい。
本発明のRO膜用洗浄液は、本発明のRO膜用洗浄剤を水で希釈してなる水溶液である。本発明のRO膜用洗浄液は、本発明のRO膜用洗浄剤を水で希釈すると共に、更に、必要に応じて、アルカリ剤、洗浄薬剤、他の溶媒等を添加して所定の濃度に調整したものであってもよい。
本発明のRO膜用洗浄液は、本発明のRO膜用洗浄剤を経ることなく、直接、所定の薬剤濃度に調製されたものであってもよい。
本発明のRO膜用洗浄液中のN含有飽和複素環化合物の濃度は、用いるN含有飽和複素環化合物の種類、洗浄液のpHや、その他の洗浄薬剤の併用の有無、その種類と濃度などによっても異なるが、0.1~10重量%、特に0.5~5重量%程度とすることが好ましい。N含有飽和複素環化合物濃度が上記下限より低いと、N含有飽和複素環化合物を用いることによるRO膜の洗浄効果を十分に得ることができない。N含有飽和複素環化合物濃度が上記上限より高くても洗浄効果が低下するおそれがある上、洗浄廃液の窒素含有量を不必要に上昇させてしまう。
本発明のRO膜用洗浄液は、その洗浄効果の面で、pHが8以上、特に10~14であることが好ましい。
洗浄液のpHが8未満であると、洗浄により膜の透過性を十分に回復させることができない場合がある。洗浄液のpHは高い方が洗浄効果に優れるが、高過ぎると、洗浄液としての取り扱い性が悪くなり、RO膜が劣化する危険性が高くなる。洗浄液のpHは好ましくは14以下、より好ましくは11以上13以下である。
本発明のRO膜用洗浄液は、アルカリ剤の添加により、上記好適pHとなるように調製される。
本発明のRO膜用洗浄液を、酢酸セルロース膜の洗浄に適用する場合には、pHを6~8程度の中性に調整し、界面活性剤と併用して洗浄液とすることもできる。
本発明のRO膜用洗浄液が界面活性剤を含む場合、本発明のRO膜用洗浄液中の界面活性剤濃度は、100~10000mg/Lであることが好ましく、特に300~5000mg/Lであることが好ましい。本発明のRO膜用洗浄液中の界面活性剤濃度が低過ぎると界面活性剤による分散効果、洗浄作用の向上効果を十分に得ることができない。本発明のRO膜用洗浄液中の界面活性剤濃度が高過ぎるとむしろ界面活性剤の会合が強くなって洗浄効果を低下させるおそれがある。
本発明のRO膜用洗浄液が分散剤を含む場合、本発明のRO膜用洗浄液中の分散剤濃度は、100~20000mg/Lであることが好ましく、特に1000~10000mg/Lであることが好ましい。本発明のRO膜用洗浄液中の分散剤濃度が低過ぎると分散剤による分散、洗浄効果を十分に得ることができない。本発明のRO膜用洗浄液中の分散剤濃度が高過ぎると、濃度に対して洗浄効果が上がらなくなる。
<RO膜用洗浄剤及びRO膜用洗浄液の製造方法>
本発明のRO膜用洗浄剤は、水にN含有飽和複素環化合物と、必要に応じて配合されるアルカリ剤、洗浄薬剤、その他の溶媒等を混合して調製される。本発明のRO膜用洗浄剤は、全てもしくはその一部が粉末、固形物として調製されても良い。
本発明のRO膜用洗浄剤は、水にN含有飽和複素環化合物と、必要に応じて配合されるアルカリ剤、洗浄薬剤、その他の溶媒等を混合して調製される。本発明のRO膜用洗浄剤は、全てもしくはその一部が粉末、固形物として調製されても良い。
本発明のRO膜用洗浄液は、このようにして製造された本発明のRO膜用洗浄剤を水、好ましくは純水で希釈し、必要に応じて、アルカリ剤、洗浄薬剤、他の溶媒等を添加して製造される。本発明のRO膜用洗浄液は本発明のRO膜用洗浄剤を経ることなく、直接上記と同様の方法で製造することもできる。
<洗浄方法>
本発明のRO膜用洗浄液を用いてRO膜を洗浄する方法としては、この洗浄液にRO膜を接触させればよく、特に制限はない。通常、RO膜モジュールの原水側に洗浄液を導入して静置する浸漬洗浄が行われる。この浸漬洗浄の前及び/又は後に洗浄液を循環する循環洗浄を行ってもよい。
本発明のRO膜用洗浄液を用いてRO膜を洗浄する方法としては、この洗浄液にRO膜を接触させればよく、特に制限はない。通常、RO膜モジュールの原水側に洗浄液を導入して静置する浸漬洗浄が行われる。この浸漬洗浄の前及び/又は後に洗浄液を循環する循環洗浄を行ってもよい。
本発明のRO膜用洗浄剤、及びRO膜用洗浄液が、2剤型或いはそれ以上の剤型の場合、これらを混合して洗浄に用いてもよく、別々の剤を用いて、順次洗浄を行うようにしてもよい。例えば、N含有飽和複素環化合物を含有する洗浄液で洗浄した後、その他の薬剤を含む洗浄液で洗浄してもよい。
本発明のRO膜用洗浄液による洗浄の前後で、他の洗浄、例えば、アルカリ水溶液や酸水溶液を用いる洗浄を行う場合も、通常の場合、上記と同様の浸漬洗浄、或いは浸漬洗浄と循環洗浄が採用される。
本発明のRO膜用洗浄液以外の洗浄液による洗浄として、本発明のRO膜用洗浄液による洗浄後に、N含有飽和複素環化合物を含まないアルカリ水溶液による洗浄を行うことができる。アルカリ水溶液のアルカリ剤としては、本発明のRO膜用洗浄液に用いるアルカリ剤として前記したものを用いることができる。アルカリ水溶液のpHは、洗浄効果と取り扱い性の面から、pH10以上、特にpH11~13であることが好ましい。
本発明のRO膜用洗浄液以外の洗浄液による洗浄として、スケールや金属コロイド除去に有効な酸洗浄を行ってもよい。酸洗浄には、塩酸、硝酸、クエン酸、シュウ酸などの酸の1種又は2種以上を含む水溶液を用いることができる。酸水溶液のpHは、洗浄効果と取り扱い性の面から、pH4以下、特にpH1~3であることが好ましい。
本発明のRO膜用洗浄液、その他の洗浄液による浸漬洗浄時間には特に制限はなく、目的とする膜性能の回復率が得られる程度であればよい。浸漬洗浄時間は通常2~24時間程度である。浸漬洗浄の前後で循環洗浄を行う場合、循環洗浄時間には特に制限はなく、目的とする膜性能の回復率が得られる程度であればよい。循環洗浄時間は通常0.5~3時間程度である。
本発明のRO膜用洗浄液による洗浄と、アルカリ水溶液及び/又は酸水溶液による洗浄とを組み合わせて行う場合、その洗浄手順には特に制限はない。酸水溶液による酸洗浄は、本発明のRO膜用洗浄液による洗浄の前に行うと、スケール成分の除去に有効である。
上記の洗浄液による洗浄後は、通常、純水等の高純度水を通水して仕上げ洗浄を行う。その後、RO膜システムの運転を再開する。
以下に実施例及び比較例を挙げて本発明をより具体的に説明する。
以下の実施例及び比較例では、図1,2に示す平膜試験装置を用いてRO膜の洗浄効果を調べた。
この平膜試験装置において、RO膜供給水は、配管11より高圧ポンプ4で、密閉容器1のRO膜をセットした平膜セル2の下側の原水室1Aに供給される。図2に示すように、密閉容器1は、原水室1A側の下ケース1aと、透過水室1B側の上ケース1bとで構成され、下ケース1aと上ケース1bとの間に、平膜セル2がOリング8を介して固定されている。平膜セル2はRO膜2Aの透過水側が多孔質支持板2Bで支持された構成とされている。平膜セル2の下側の原水室1A内はスターラー3で撹拌子5を回転させることにより撹拌される。RO膜透過水は平膜セル2の上側の透過水室1Bを経て配管12より取り出される。濃縮水は配管13より取り出される。密閉容器1内の圧力は、給水配管11に設けた圧力計6と、濃縮水取出配管13に設けた圧力調整バルブ7により調整される。
洗浄試験はいずれも25℃で行った。
RO膜の透過流束、脱塩率は、それぞれ下記式より算出した。
透過流束[m3/(m2・day)]=透過水流量[m3/day]/膜面積[m2]×温度換算係数[-]
脱塩率[%]=(1-透過水電気伝導度[mS/m]/濃縮水電気伝導度[mS/m])×100
RO膜の透過流束、脱塩率は、それぞれ下記式より算出した。
透過流束[m3/(m2・day)]=透過水流量[m3/day]/膜面積[m2]×温度換算係数[-]
脱塩率[%]=(1-透過水電気伝導度[mS/m]/濃縮水電気伝導度[mS/m])×100
[実施例I-1、比較例I-1~4]
以下の洗浄液を用いて、以下に示す洗浄試験を行った。
以下の洗浄液を用いて、以下に示す洗浄試験を行った。
<洗浄液>
実施例1:1重量%のN-メチル-2-ピロリドンと、1500mg/Lのドデシル硫酸ナトリウムと、5000mg/Lのグルコン酸ナトリウムを含む、pH12の水酸化ナトリウム水溶液
比較例I-1:pH12の水酸化ナトリウム水溶液
比較例I-2:1重量%のプロピレングリコールと、1500mg/Lのドデシル硫酸ナトリウムと、5000mg/Lのグルコン酸ナトリウムを含む、pH12の水酸化ナトリウム水溶液
比較例I-3:1重量%のエタノールと、1500mg/Lのドデシル硫酸ナトリウムと、5000mg/Lのグルコン酸ナトリウムを含む、pH12の水酸化ナトリウム水溶液
比較例I-4:1重量%のジエチレングリコールモノメチルエーテルと、1500mg/Lのドデシル硫酸ナトリウムと、5000mg/Lのグルコン酸ナトリウムを含む、pH12の水酸化ナトリウム水溶液
実施例1:1重量%のN-メチル-2-ピロリドンと、1500mg/Lのドデシル硫酸ナトリウムと、5000mg/Lのグルコン酸ナトリウムを含む、pH12の水酸化ナトリウム水溶液
比較例I-1:pH12の水酸化ナトリウム水溶液
比較例I-2:1重量%のプロピレングリコールと、1500mg/Lのドデシル硫酸ナトリウムと、5000mg/Lのグルコン酸ナトリウムを含む、pH12の水酸化ナトリウム水溶液
比較例I-3:1重量%のエタノールと、1500mg/Lのドデシル硫酸ナトリウムと、5000mg/Lのグルコン酸ナトリウムを含む、pH12の水酸化ナトリウム水溶液
比較例I-4:1重量%のジエチレングリコールモノメチルエーテルと、1500mg/Lのドデシル硫酸ナトリウムと、5000mg/Lのグルコン酸ナトリウムを含む、pH12の水酸化ナトリウム水溶液
<試験方法>
東レ社製 芳香族ポリアミド系RO膜「TM-820A」(新膜、透過流束0.6[m3/(m2・day)])を海水淡水化ROシステムにおけるRO装置に装填し、3年間運転した。運転後の膜をRO装置から取り出して解体し、汚染膜の平膜試料を入手した。この平膜試料を円形に切り取り、同サイズの膜を装填できる、図1,2に示す平膜試験装置に設置して、以下の手順で試験を行った。
東レ社製 芳香族ポリアミド系RO膜「TM-820A」(新膜、透過流束0.6[m3/(m2・day)])を海水淡水化ROシステムにおけるRO装置に装填し、3年間運転した。運転後の膜をRO装置から取り出して解体し、汚染膜の平膜試料を入手した。この平膜試料を円形に切り取り、同サイズの膜を装填できる、図1,2に示す平膜試験装置に設置して、以下の手順で試験を行った。
(1) 洗浄前の汚染膜に1.55MPaで純水を通水して洗浄前の汚染膜の純水の透過流束を求めた。次いで、2000mg/L塩化ナトリウム水溶液を同条件で通水して脱塩率を求めた。
(2) その後、各洗浄液を供給して洗浄を行った。洗浄操作は、いずれも、2時間の循環洗浄→15時間の浸漬洗浄→2時間の循環洗浄の順で行った。循環洗浄時の運転圧力は0.2MPaとした。
(3) その後、上記(1)と同様に、洗浄後の純水の透過流束と脱塩率を求めた。
(4) 下記式で回復率を算出した。
回復率[-]=(洗浄後の透過流束)/(新膜の透過流束)
(2) その後、各洗浄液を供給して洗浄を行った。洗浄操作は、いずれも、2時間の循環洗浄→15時間の浸漬洗浄→2時間の循環洗浄の順で行った。循環洗浄時の運転圧力は0.2MPaとした。
(3) その後、上記(1)と同様に、洗浄後の純水の透過流束と脱塩率を求めた。
(4) 下記式で回復率を算出した。
回復率[-]=(洗浄後の透過流束)/(新膜の透過流束)
結果を表1に示す。表中、「DEGME」はジエチレングリコールモノメチルエーテルを示し、「SDS」はドデシル硫酸ナトリウムを示し、「GANa」はグルコン酸ナトリウムを示す。
表1より、溶媒の中でもN-メチル-ピロリドンを用いた洗浄液では、他の溶媒系よりも洗浄効果が優れていることが分かる。
実施例I-1及び比較例I-1~4において、いずれも洗浄後のRO膜の脱塩率は洗浄前のRO膜の脱塩率とほぼ同等で、98~99%程度であった。
[実施例II-1~10、比較例II-1~9]
以下の洗浄液を用いて、以下に示す洗浄試験を行った。
以下の洗浄液を用いて、以下に示す洗浄試験を行った。
<洗浄液>
実施例II-1:2重量%のN-メチル-2-ピロリドンと、1500mg/Lのドデシルベンゼンスルホン酸ナトリウムを含む、pH12の水酸化ナトリウム水溶液
実施例II-2:2重量%の2-ピロリドンと、1500mg/Lのドデシルベンゼンスルホン酸ナトリウムを含む、pH12の水酸化ナトリウム水溶液
実施例II-3:2重量%の1-エチル-2-ピロリドンと、1500mg/Lのドデシルベンゼンスルホン酸ナトリウムを含む、pH12の水酸化ナトリウム水溶液
実施例II-4:2重量%のピロリジンと、1500mg/Lのドデシルベンゼンスルホン酸ナトリウムを含む、pH12の水酸化ナトリウム水溶液
実施例II-5:2重量%のL-ピログルタミン酸と、1500mg/Lのドデシルベンゼンスルホン酸ナトリウムを含む、pH12の水酸化ナトリウム水溶液
実施例II-6:2重量%の2-イミダゾリジノンと、1500mg/Lのドデシルベンゼンスルホン酸ナトリウムを含む、pH12の水酸化ナトリウム水溶液
実施例II-7:2重量%のピラセタムと、1500mg/Lのドデシルベンゼンスルホン酸ナトリウムを含む、pH12の水酸化ナトリウム水溶液
実施例II-8:2重量%のN-メチル-2-ピロリドンを含む、pH12の水酸化ナトリウム水溶液
実施例II-9:2重量%のピロリジンを含む、pH12の水酸化ナトリウム水溶液
実施例II-10:2重量%のピペリジンを含む、pH12の水酸化ナトリウム水溶液
実施例II-1:2重量%のN-メチル-2-ピロリドンと、1500mg/Lのドデシルベンゼンスルホン酸ナトリウムを含む、pH12の水酸化ナトリウム水溶液
実施例II-2:2重量%の2-ピロリドンと、1500mg/Lのドデシルベンゼンスルホン酸ナトリウムを含む、pH12の水酸化ナトリウム水溶液
実施例II-3:2重量%の1-エチル-2-ピロリドンと、1500mg/Lのドデシルベンゼンスルホン酸ナトリウムを含む、pH12の水酸化ナトリウム水溶液
実施例II-4:2重量%のピロリジンと、1500mg/Lのドデシルベンゼンスルホン酸ナトリウムを含む、pH12の水酸化ナトリウム水溶液
実施例II-5:2重量%のL-ピログルタミン酸と、1500mg/Lのドデシルベンゼンスルホン酸ナトリウムを含む、pH12の水酸化ナトリウム水溶液
実施例II-6:2重量%の2-イミダゾリジノンと、1500mg/Lのドデシルベンゼンスルホン酸ナトリウムを含む、pH12の水酸化ナトリウム水溶液
実施例II-7:2重量%のピラセタムと、1500mg/Lのドデシルベンゼンスルホン酸ナトリウムを含む、pH12の水酸化ナトリウム水溶液
実施例II-8:2重量%のN-メチル-2-ピロリドンを含む、pH12の水酸化ナトリウム水溶液
実施例II-9:2重量%のピロリジンを含む、pH12の水酸化ナトリウム水溶液
実施例II-10:2重量%のピペリジンを含む、pH12の水酸化ナトリウム水溶液
比較例II-1:pH12の水酸化ナトリウム水溶液
比較例II-2:1500mg/Lのドデシルベンゼンスルホン酸ナトリウムを含む、pH12の水酸化ナトリウム水溶液
比較例II-3:2重量%のプロピレングリコールと、1500mg/Lのドデシルベンゼンスルホン酸ナトリウムを含む、pH12の水酸化ナトリウム水溶液
比較例II-4:2重量%のエチレングリコールと、1500mg/Lのドデシルベンゼンスルホン酸ナトリウムを含む、pH12の水酸化ナトリウム水溶液
比較例II-5:2重量%のジエチレングリコールモノメチルエーテルと、1500mg/Lのドデシルベンゼンスルホン酸ナトリウムを含む、pH12の水酸化ナトリウム水溶液
比較例II-6:2重量%のモノエタノールアミンと、1500mg/Lのドデシルベンゼンスルホン酸ナトリウムを含む、pH12の水酸化ナトリウム水溶液
比較例II-7:2重量%のエタノールを含む、pH12の水酸化ナトリウム水溶液
比較例II-8:2重量%のアセトンを含む、pH12の水酸化ナトリウム水溶液
比較例II-9:2重量%のプロピレングリコールを含む、pH12の水酸化ナトリウム水溶液
比較例II-2:1500mg/Lのドデシルベンゼンスルホン酸ナトリウムを含む、pH12の水酸化ナトリウム水溶液
比較例II-3:2重量%のプロピレングリコールと、1500mg/Lのドデシルベンゼンスルホン酸ナトリウムを含む、pH12の水酸化ナトリウム水溶液
比較例II-4:2重量%のエチレングリコールと、1500mg/Lのドデシルベンゼンスルホン酸ナトリウムを含む、pH12の水酸化ナトリウム水溶液
比較例II-5:2重量%のジエチレングリコールモノメチルエーテルと、1500mg/Lのドデシルベンゼンスルホン酸ナトリウムを含む、pH12の水酸化ナトリウム水溶液
比較例II-6:2重量%のモノエタノールアミンと、1500mg/Lのドデシルベンゼンスルホン酸ナトリウムを含む、pH12の水酸化ナトリウム水溶液
比較例II-7:2重量%のエタノールを含む、pH12の水酸化ナトリウム水溶液
比較例II-8:2重量%のアセトンを含む、pH12の水酸化ナトリウム水溶液
比較例II-9:2重量%のプロピレングリコールを含む、pH12の水酸化ナトリウム水溶液
<試験方法>
日東電工社製 芳香族ポリアミド系RO膜「ES-20」(新膜)から平膜を円形に切り取り、同サイズの膜を装填できる図1,2に示す平膜試験装置に設置し、以下の手順で洗浄試験を行った。
日東電工社製 芳香族ポリアミド系RO膜「ES-20」(新膜)から平膜を円形に切り取り、同サイズの膜を装填できる図1,2に示す平膜試験装置に設置し、以下の手順で洗浄試験を行った。
(1) 新膜に0.75MPaで純水を24時間通水して新膜の純水の透過流束を求めた。次いで、500mg/L塩化ナトリウム水溶液を同条件で通水して脱塩率を求めた。
(2) 次いで、非イオン性界面活性剤を含む水溶液(200mg/LセミクリーンKG(横浜油脂工業)水溶液)を0.75MPaで3日間通水して汚染膜を作成した。この汚染膜について、上記(1)と同様に、純水の透過流束と脱塩率を求めた。
(3) その後、各洗浄液を供給して洗浄を行った。洗浄操作は、いずれも、2時間の循環洗浄→15時間の浸漬洗浄→2時間の循環洗浄の順で行った。循環洗浄時の運転圧力は0.2MPaとした。
(4) その後、上記(1)と同様に、純水の透過流束と脱塩率を求めた。
(5) 下記式で回復率を算出した。
回復率[-]=(洗浄後の透過流束)/(新膜の透過流束)
(2) 次いで、非イオン性界面活性剤を含む水溶液(200mg/LセミクリーンKG(横浜油脂工業)水溶液)を0.75MPaで3日間通水して汚染膜を作成した。この汚染膜について、上記(1)と同様に、純水の透過流束と脱塩率を求めた。
(3) その後、各洗浄液を供給して洗浄を行った。洗浄操作は、いずれも、2時間の循環洗浄→15時間の浸漬洗浄→2時間の循環洗浄の順で行った。循環洗浄時の運転圧力は0.2MPaとした。
(4) その後、上記(1)と同様に、純水の透過流束と脱塩率を求めた。
(5) 下記式で回復率を算出した。
回復率[-]=(洗浄後の透過流束)/(新膜の透過流束)
結果を表2に示す。表中、「DEGME」はジエチレングリコールモノメチルエーテルをしめし、「SDBS」はドデシルベンゼンスルホン酸ナトリウムを示す。
表2より明らかなように、実施例II-1~II-10のうち、アニオン系界面活性剤を併用した実施例II-1~II-7は、いずれも回復率が0.85以上であり、アニオン系界面活性剤を用いていない実施例II-8~II-10でも、アニオン系界面活性剤を用いない比較例II-7~9や、アニオン系界面活性剤を用いた比較例II-2よりも優れた洗浄効果を示している。比較例II-6と比較しても、アニオン系界面活性剤を配合せずに高い洗浄効果が得られる。
特に、ピロリジン、1-エチル-2-ピロリドン、N-メチル-2-ピロリドンを用いた洗浄液は洗浄効果が高い。
特に、ピロリジン、1-エチル-2-ピロリドン、N-メチル-2-ピロリドンを用いた洗浄液は洗浄効果が高い。
これらの結果から、ピロリジン環、ピロリドン環、イミダゾリジン環、イミダゾリジノン環等のN含有飽和複素環を有する化合物を用いることにより、他の溶媒(プロピレングリコール、ジエチレングリコール、モノエタノールアミン等)を含む洗浄液よりも高い洗浄効果が得られることが分かる。
実施例II-1~II-10、比較例II-1~II-9のいずれも、新膜、汚染汚染、及び洗浄後のRO膜の脱塩率はほぼ同等で97~99%であり、本発明による洗浄で脱塩率の低下は殆どないことが確認された。
本発明を特定の態様を用いて詳細に説明したが、本発明の意図と範囲を離れることなく様々な変更が可能であることは当業者に明らかである。
本出願は、2015年7月27日付で出願された日本特許出願2015-147778に基づいており、その全体が引用により援用される。
本出願は、2015年7月27日付で出願された日本特許出願2015-147778に基づいており、その全体が引用により援用される。
1 容器
2 平膜セル
2A RO膜
2B 多孔質支持板
3 スターラー
4 高圧ポンプ
5 撹拌子
6 圧力計
7 圧力調整バルブ
8 Oリング
2 平膜セル
2A RO膜
2B 多孔質支持板
3 スターラー
4 高圧ポンプ
5 撹拌子
6 圧力計
7 圧力調整バルブ
8 Oリング
Claims (11)
- N含有飽和複素環を有する化合物を含む逆浸透膜用洗浄剤。
- 請求項1において、前記N含有飽和複素環が、ピロリジン環、ピロリドン環、イミダゾリジン環、イミダゾリジノン環、ピペリジン環及びピペラジン環から選ばれることを特徴とする逆浸透膜用洗浄剤。
- 請求項1ないし3のいずれか1項において、アルカリ条件下で使用されることを特徴とする逆浸透膜用洗浄剤。
- 請求項1ないし4のいずれか1項において、更にアニオン系界面活性剤を含むことを特徴とする逆浸透膜用洗浄剤。
- 請求項1ないし5のいずれか1項において、更に分散剤を含むことを特徴とする逆浸透膜用洗浄剤。
- 請求項1ないし6のいずれか1項に記載の逆浸透膜用洗浄剤を含む逆浸透膜用洗浄液。
- 請求項7において、pH8以上のアルカリ性であることを特徴とする逆浸透膜用洗浄液。
- 請求項1ないし6のいずれか1項に記載の逆浸透膜用洗浄剤、あるいは請求項7又は8に記載の逆浸透膜用洗浄液を用いることを特徴とする逆浸透膜の洗浄方法。
- 請求項9において、前記逆浸透膜が芳香族ポリアミド系逆浸透膜であることを特徴とする逆浸透膜の洗浄方法。
- 請求項9又は10において、前記逆浸透膜が海水淡水化あるいは排水処理に使用されたものであることを特徴とする逆浸透膜の洗浄方法。
Applications Claiming Priority (2)
| Application Number | Priority Date | Filing Date | Title |
|---|---|---|---|
| JP2015-147778 | 2015-07-27 | ||
| JP2015147778A JP6090376B2 (ja) | 2015-07-27 | 2015-07-27 | 水処理用ポリアミド系逆浸透膜用洗浄剤、洗浄液、および洗浄方法 |
Publications (1)
| Publication Number | Publication Date |
|---|---|
| WO2017017993A1 true WO2017017993A1 (ja) | 2017-02-02 |
Family
ID=57884329
Family Applications (1)
| Application Number | Title | Priority Date | Filing Date |
|---|---|---|---|
| PCT/JP2016/059148 Ceased WO2017017993A1 (ja) | 2015-07-27 | 2016-03-23 | 逆浸透膜用洗浄剤、洗浄液、および洗浄方法 |
Country Status (3)
| Country | Link |
|---|---|
| JP (1) | JP6090376B2 (ja) |
| TW (1) | TW201710488A (ja) |
| WO (1) | WO2017017993A1 (ja) |
Cited By (1)
| Publication number | Priority date | Publication date | Assignee | Title |
|---|---|---|---|---|
| CN114082305A (zh) * | 2021-11-11 | 2022-02-25 | 西安热工研究院有限公司 | 用于微生物、有机物污染的反渗透清洗剂及其制备方法 |
Families Citing this family (1)
| Publication number | Priority date | Publication date | Assignee | Title |
|---|---|---|---|---|
| JP7144922B2 (ja) * | 2017-05-09 | 2022-09-30 | オルガノ株式会社 | 逆浸透膜の運転方法および逆浸透膜装置 |
Citations (11)
| Publication number | Priority date | Publication date | Assignee | Title |
|---|---|---|---|---|
| JPS6023309A (ja) * | 1983-07-15 | 1985-02-05 | Lion Corp | 脱臭性組成物 |
| JPH01503044A (ja) * | 1986-06-27 | 1989-10-19 | ジーエイエフ・コーポレーション | 農業用乳剤組成物 |
| JP2000256365A (ja) * | 1999-03-03 | 2000-09-19 | Meiji Milk Prod Co Ltd | 水溶性銀錯体 |
| JP2001507750A (ja) * | 1997-01-09 | 2001-06-12 | バイエル・アクチエンゲゼルシヤフト | 表面のクリーニング法 |
| JP2001161811A (ja) * | 1999-12-13 | 2001-06-19 | Aisei:Kk | 人工透析装置用洗浄剤 |
| JP2003268400A (ja) * | 2002-03-19 | 2003-09-25 | Kumano Yushi Kk | 手洗用発泡性洗浄液 |
| JP2004244345A (ja) * | 2003-02-13 | 2004-09-02 | Toray Ind Inc | 水処理用殺菌剤、水処理方法および水処理装置 |
| JP2012149202A (ja) * | 2011-01-21 | 2012-08-09 | Shikoku Chem Corp | 分離膜用洗浄剤及び洗浄方法 |
| JP2013223835A (ja) * | 2012-04-20 | 2013-10-31 | Nitto Denko Corp | 膜ファウリングの評価方法および分離膜の洗浄方法 |
| JP2014088526A (ja) * | 2012-10-31 | 2014-05-15 | Neos Co Ltd | シリカスケール除去剤組成物 |
| JP2015127056A (ja) * | 2015-03-03 | 2015-07-09 | 三浦工業株式会社 | 膜分離装置 |
Family Cites Families (2)
| Publication number | Priority date | Publication date | Assignee | Title |
|---|---|---|---|---|
| DE4408478A1 (de) * | 1994-03-14 | 1995-09-21 | Bayer Ag | Mittel zur Wasserbehandlung |
| JP3608006B2 (ja) * | 1994-11-09 | 2005-01-05 | 大塚化学ホールディングス株式会社 | 洗浄剤組成物 |
-
2015
- 2015-07-27 JP JP2015147778A patent/JP6090376B2/ja not_active Expired - Fee Related
-
2016
- 2016-03-23 WO PCT/JP2016/059148 patent/WO2017017993A1/ja not_active Ceased
- 2016-04-11 TW TW105111226A patent/TW201710488A/zh unknown
Patent Citations (11)
| Publication number | Priority date | Publication date | Assignee | Title |
|---|---|---|---|---|
| JPS6023309A (ja) * | 1983-07-15 | 1985-02-05 | Lion Corp | 脱臭性組成物 |
| JPH01503044A (ja) * | 1986-06-27 | 1989-10-19 | ジーエイエフ・コーポレーション | 農業用乳剤組成物 |
| JP2001507750A (ja) * | 1997-01-09 | 2001-06-12 | バイエル・アクチエンゲゼルシヤフト | 表面のクリーニング法 |
| JP2000256365A (ja) * | 1999-03-03 | 2000-09-19 | Meiji Milk Prod Co Ltd | 水溶性銀錯体 |
| JP2001161811A (ja) * | 1999-12-13 | 2001-06-19 | Aisei:Kk | 人工透析装置用洗浄剤 |
| JP2003268400A (ja) * | 2002-03-19 | 2003-09-25 | Kumano Yushi Kk | 手洗用発泡性洗浄液 |
| JP2004244345A (ja) * | 2003-02-13 | 2004-09-02 | Toray Ind Inc | 水処理用殺菌剤、水処理方法および水処理装置 |
| JP2012149202A (ja) * | 2011-01-21 | 2012-08-09 | Shikoku Chem Corp | 分離膜用洗浄剤及び洗浄方法 |
| JP2013223835A (ja) * | 2012-04-20 | 2013-10-31 | Nitto Denko Corp | 膜ファウリングの評価方法および分離膜の洗浄方法 |
| JP2014088526A (ja) * | 2012-10-31 | 2014-05-15 | Neos Co Ltd | シリカスケール除去剤組成物 |
| JP2015127056A (ja) * | 2015-03-03 | 2015-07-09 | 三浦工業株式会社 | 膜分離装置 |
Cited By (1)
| Publication number | Priority date | Publication date | Assignee | Title |
|---|---|---|---|---|
| CN114082305A (zh) * | 2021-11-11 | 2022-02-25 | 西安热工研究院有限公司 | 用于微生物、有机物污染的反渗透清洗剂及其制备方法 |
Also Published As
| Publication number | Publication date |
|---|---|
| JP6090376B2 (ja) | 2017-03-08 |
| TW201710488A (zh) | 2017-03-16 |
| JP2017023975A (ja) | 2017-02-02 |
Similar Documents
| Publication | Publication Date | Title |
|---|---|---|
| JP6090377B2 (ja) | 水処理用ポリアミド系逆浸透膜用洗浄剤、洗浄液、および洗浄方法 | |
| TWI704221B (zh) | 逆滲透膜之洗淨液、及洗淨方法 | |
| JP6459512B2 (ja) | 透過膜の洗浄方法 | |
| JP6364751B2 (ja) | 芳香族ポリアミド系逆浸透膜の洗浄剤及び洗浄方法 | |
| JP5910696B1 (ja) | 逆浸透膜の洗浄剤、洗浄液、および洗浄方法 | |
| JP6090376B2 (ja) | 水処理用ポリアミド系逆浸透膜用洗浄剤、洗浄液、および洗浄方法 | |
| EP3329984B1 (en) | Cleaning method for a reverse osmosis polyamide membrane | |
| JP2018122206A (ja) | 逆浸透膜の洗浄方法 | |
| WO2018056242A1 (ja) | 逆浸透膜の阻止率向上剤及び阻止率向上方法 | |
| JP5839087B1 (ja) | 酢酸セルロース系逆浸透膜の洗浄液及びその製造方法 | |
| JP2018015694A (ja) | 選択性透過膜の洗浄剤、洗浄液、および洗浄方法 |
Legal Events
| Date | Code | Title | Description |
|---|---|---|---|
| 121 | Ep: the epo has been informed by wipo that ep was designated in this application |
Ref document number: 16830098 Country of ref document: EP Kind code of ref document: A1 |
|
| NENP | Non-entry into the national phase |
Ref country code: DE |
|
| 122 | Ep: pct application non-entry in european phase |
Ref document number: 16830098 Country of ref document: EP Kind code of ref document: A1 |





