WO2016093012A1 - ケーブルアッセンブリ及びケーブルアッセンブリの製造方法 - Google Patents

ケーブルアッセンブリ及びケーブルアッセンブリの製造方法 Download PDF

Info

Publication number
WO2016093012A1
WO2016093012A1 PCT/JP2015/081744 JP2015081744W WO2016093012A1 WO 2016093012 A1 WO2016093012 A1 WO 2016093012A1 JP 2015081744 W JP2015081744 W JP 2015081744W WO 2016093012 A1 WO2016093012 A1 WO 2016093012A1
Authority
WO
WIPO (PCT)
Prior art keywords
cable assembly
line
conductive
pair
cable
Prior art date
Legal status (The legal status is an assumption and is not a legal conclusion. Google has not performed a legal analysis and makes no representation as to the accuracy of the status listed.)
Ceased
Application number
PCT/JP2015/081744
Other languages
English (en)
French (fr)
Japanese (ja)
Inventor
快人 近藤
Current Assignee (The listed assignees may be inaccurate. Google has not performed a legal analysis and makes no representation or warranty as to the accuracy of the list.)
Hosiden Corp
Original Assignee
Hosiden Corp
Priority date (The priority date is an assumption and is not a legal conclusion. Google has not performed a legal analysis and makes no representation as to the accuracy of the date listed.)
Filing date
Publication date
Application filed by Hosiden Corp filed Critical Hosiden Corp
Priority to MX2017006059A priority Critical patent/MX383912B/es
Priority to EP15868092.6A priority patent/EP3232447B1/en
Priority to CN201580067040.0A priority patent/CN107046814B/zh
Priority to US15/529,761 priority patent/US10188020B2/en
Publication of WO2016093012A1 publication Critical patent/WO2016093012A1/ja
Anticipated expiration legal-status Critical
Ceased legal-status Critical Current

Links

Images

Classifications

    • HELECTRICITY
    • H05ELECTRIC TECHNIQUES NOT OTHERWISE PROVIDED FOR
    • H05KPRINTED CIRCUITS; CASINGS OR CONSTRUCTIONAL DETAILS OF ELECTRIC APPARATUS; MANUFACTURE OF ASSEMBLAGES OF ELECTRICAL COMPONENTS
    • H05K9/00Screening of apparatus or components against electric or magnetic fields
    • H05K9/0073Shielding materials
    • H05K9/0098Shielding materials for shielding electrical cables
    • HELECTRICITY
    • H01ELECTRIC ELEMENTS
    • H01BCABLES; CONDUCTORS; INSULATORS; SELECTION OF MATERIALS FOR THEIR CONDUCTIVE, INSULATING OR DIELECTRIC PROPERTIES
    • H01B11/00Communication cables or conductors
    • H01B11/002Pair constructions
    • HELECTRICITY
    • H01ELECTRIC ELEMENTS
    • H01BCABLES; CONDUCTORS; INSULATORS; SELECTION OF MATERIALS FOR THEIR CONDUCTIVE, INSULATING OR DIELECTRIC PROPERTIES
    • H01B11/00Communication cables or conductors
    • H01B11/02Cables with twisted pairs or quads
    • H01B11/06Cables with twisted pairs or quads with means for reducing effects of electromagnetic or electrostatic disturbances, e.g. screens
    • HELECTRICITY
    • H01ELECTRIC ELEMENTS
    • H01BCABLES; CONDUCTORS; INSULATORS; SELECTION OF MATERIALS FOR THEIR CONDUCTIVE, INSULATING OR DIELECTRIC PROPERTIES
    • H01B13/00Apparatus or processes specially adapted for manufacturing conductors or cables
    • HELECTRICITY
    • H01ELECTRIC ELEMENTS
    • H01BCABLES; CONDUCTORS; INSULATORS; SELECTION OF MATERIALS FOR THEIR CONDUCTIVE, INSULATING OR DIELECTRIC PROPERTIES
    • H01B13/00Apparatus or processes specially adapted for manufacturing conductors or cables
    • H01B13/22Sheathing; Armouring; Screening; Applying other protective layers
    • H01B13/26Sheathing; Armouring; Screening; Applying other protective layers by winding, braiding or longitudinal lapping
    • HELECTRICITY
    • H01ELECTRIC ELEMENTS
    • H01BCABLES; CONDUCTORS; INSULATORS; SELECTION OF MATERIALS FOR THEIR CONDUCTIVE, INSULATING OR DIELECTRIC PROPERTIES
    • H01B7/00Insulated conductors or cables characterised by their form
    • HELECTRICITY
    • H01ELECTRIC ELEMENTS
    • H01BCABLES; CONDUCTORS; INSULATORS; SELECTION OF MATERIALS FOR THEIR CONDUCTIVE, INSULATING OR DIELECTRIC PROPERTIES
    • H01B7/00Insulated conductors or cables characterised by their form
    • H01B7/17Protection against damage caused by external factors, e.g. sheaths or armouring
    • HELECTRICITY
    • H01ELECTRIC ELEMENTS
    • H01RELECTRICALLY-CONDUCTIVE CONNECTIONS; STRUCTURAL ASSOCIATIONS OF A PLURALITY OF MUTUALLY-INSULATED ELECTRICAL CONNECTING ELEMENTS; COUPLING DEVICES; CURRENT COLLECTORS
    • H01R13/00Details of coupling devices of the kinds covered by groups H01R12/70 or H01R24/00 - H01R33/00
    • H01R13/646Details of coupling devices of the kinds covered by groups H01R12/70 or H01R24/00 - H01R33/00 specially adapted for high-frequency, e.g. structures providing an impedance match or phase match
    • H01R13/6473Impedance matching
    • HELECTRICITY
    • H05ELECTRIC TECHNIQUES NOT OTHERWISE PROVIDED FOR
    • H05KPRINTED CIRCUITS; CASINGS OR CONSTRUCTIONAL DETAILS OF ELECTRIC APPARATUS; MANUFACTURE OF ASSEMBLAGES OF ELECTRICAL COMPONENTS
    • H05K1/00Printed circuits
    • H05K1/02Details
    • H05K1/0213Electrical arrangements not otherwise provided for
    • H05K1/0237High frequency adaptations
    • HELECTRICITY
    • H05ELECTRIC TECHNIQUES NOT OTHERWISE PROVIDED FOR
    • H05KPRINTED CIRCUITS; CASINGS OR CONSTRUCTIONAL DETAILS OF ELECTRIC APPARATUS; MANUFACTURE OF ASSEMBLAGES OF ELECTRICAL COMPONENTS
    • H05K3/00Apparatus or processes for manufacturing printed circuits
    • H05K3/30Assembling printed circuits with electric components, e.g. with resistor
    • H05K3/32Assembling printed circuits with electric components, e.g. with resistor electrically connecting electric components or wires to printed circuits
    • HELECTRICITY
    • H05ELECTRIC TECHNIQUES NOT OTHERWISE PROVIDED FOR
    • H05KPRINTED CIRCUITS; CASINGS OR CONSTRUCTIONAL DETAILS OF ELECTRIC APPARATUS; MANUFACTURE OF ASSEMBLAGES OF ELECTRICAL COMPONENTS
    • H05K9/00Screening of apparatus or components against electric or magnetic fields
    • HELECTRICITY
    • H01ELECTRIC ELEMENTS
    • H01RELECTRICALLY-CONDUCTIVE CONNECTIONS; STRUCTURAL ASSOCIATIONS OF A PLURALITY OF MUTUALLY-INSULATED ELECTRICAL CONNECTING ELEMENTS; COUPLING DEVICES; CURRENT COLLECTORS
    • H01R13/00Details of coupling devices of the kinds covered by groups H01R12/70 or H01R24/00 - H01R33/00
    • H01R13/648Protective earth or shield arrangements on coupling devices, e.g. anti-static shielding  
    • H01R13/658High frequency shielding arrangements, e.g. against EMI [Electro-Magnetic Interference] or EMP [Electro-Magnetic Pulse]
    • H01R13/6591Specific features or arrangements of connection of shield to conductive members
    • H01R13/6592Specific features or arrangements of connection of shield to conductive members the conductive member being a shielded cable

Definitions

  • the present invention relates to a cable assembly and a method for manufacturing the cable assembly.
  • a general composite cable has a cylindrical outer insulator, a shield conductor arranged in the outer insulator, and a plurality of signal lines arranged in the shield conductor.
  • the following Patent Document 1 describes a first cable assembly that can eliminate the above-described impedance mismatch of signal lines, and the following Patent Document 2 resolves the above-described impedance mismatch of signal lines.
  • a possible second cable assembly is described.
  • the first cable assembly includes a composite cable, a substrate, and a heat-shrinkable tube that is an insulator.
  • the composite cable includes two signal lines for differential transmission, one drain line, and a shield conductor.
  • the signal line and the drain line are disposed in the cylindrical shield conductor.
  • One end of the shield conductor in the length direction is cut, and the ends of the signal line and the drain line protrude from the shield conductor.
  • the protruding ends of the signal line and the drain line are connected to the electrodes of the substrate, respectively. Further, the end portions of the signal line and the drain line are inserted into the heat shrinkable tube except for the tip portion of the end portion, and are covered with the heat shrinkable tube.
  • the second cable assembly includes a composite cable, a connector, and a two-layer heat shrinkable tube.
  • the composite cable includes two signal lines for differential transmission, one drain line, a shield conductor, and an outer insulator.
  • a cylindrical shield conductor is disposed in the cylindrical outer insulator.
  • the signal line and the drain line are disposed in the shield conductor.
  • One end of the shield conductor and the outer insulator in the length direction is cut, and the ends of the signal line and the drain line protrude from the shield conductor and the outer insulator.
  • the protruding ends of the signal line and the drain line are respectively connected to the terminals of the connector.
  • the ends of the signal line and the drain line are inserted into a cylindrical two-layer heat shrinkable tube and covered with the two-layer heat shrinkable tube.
  • the inner layer of the two-layer heat shrinkable tube is a conductive layer, and the outer layer is an insulator.
  • the protruding ends of the signal line and the drain line are covered with the heat-shrinkable tube, so that an increase in impedance at the ends of the signal line and the drain line is suppressed, and the end part and the other part And impedance matching can be achieved.
  • the work of fixing the heat-shrinkable tube to the ends of the signal line and the drain line is troublesome. This is because it is necessary to heat-shrink the heat-shrinkable tube after inserting the end portions of the signal line and the drain line into the heat-shrinkable tube.
  • the present invention has been made in view of the above circumstances, and an object of the present invention is to provide a cable assembly and a cable that can reduce the impedance of the protruding end of the signal line of the cable and can be easily manufactured. It is to provide a method for manufacturing an assembly.
  • the cable assembly of the present invention includes a first connecting portion having conductivity, a cable, and a conductive member.
  • the cable includes an outer insulator, a shield conductor disposed in the outer insulator, and at least one first wire.
  • the first line is a signal line disposed in the shield conductor.
  • the first line has a protruding portion that protrudes in a substantially first direction from the shield conductor and the outer insulator.
  • the first direction is the longitudinal direction of the cable.
  • the core wire of the protruding portion is connected to the first connection portion.
  • the conductive member is a conductive plate or a conductive tape wound around at least a part of the protruding portion in the first direction.
  • Such a cable assembly has the following technical features and effects. 1stly, since the electrically-conductive member is wound around at least one part of the protrusion part of a 1st line, the impedance of the protrusion part of a 1st line can be reduced. For this reason, it becomes possible to match the impedance of the protruding portion of the first line with the impedance of the shield conductor of the first line and the portion in the outer insulator. Second, the cable assembly is easily manufactured. The reason is as follows. Since the conductive member, which is a conductive plate or a conductive tape, is only wound around at least a part of the protruding portion, the attaching operation of the conductive member to the protruding portion becomes very simple.
  • the first connection part can be a pair.
  • the first line of the cable can be a pair. It is possible to have a configuration in which the conductive member is wound around at least a part of the protrusions of the pair of first lines. Such a cable assembly is more easily manufactured. Even if the protrusions of the pair of first lines are separated from each other, the conductive member can be wound around at least a part of the protrusions while bringing the protrusions closer to each other.
  • the pair of first connecting portions can be configured to be spaced apart in the second direction intersecting the first direction.
  • the pair of first lines can be configured to transmit a differential signal.
  • the conductive member projects the pair of first lines so that the distance in the second direction between a part of the projecting parts of the pair of first lines is smaller than the distance in the second direction between the pair of first connection parts. It is possible to have a configuration wound around at least a part of the part.
  • the distance in the second direction between a part of the protrusions of the pair of first lines is smaller than the distance in the second direction between the pair of first connection parts. Impedance further decreases. Therefore, it is possible to further match the impedance of the protruding portion of the first line with the impedance of the shield conductor of the first line and the portion in the outer insulator.
  • the conductive member may have a first end and a second end opposite to the first end.
  • the conductive member can be configured to be wound around at least a part of the protruding portion so that at least one of the first end and the second end is in contact with the conductive member. In the case of such a cable assembly, winding of the conductive member around the protruding portion is facilitated. This is because the conductive member may be wound around at least a part of the protruding portion so that at least one of the first end portion and the second end portion of the conductive member is in contact with the conductive member.
  • the conductive member may be configured to be wound around at least a part of the protruding portion so that the first end portion and the second end portion face each other with a gap therebetween.
  • winding of the conductive member around the protruding portion is facilitated. This is because the conductive member may be wound around at least a part of the protruding portion so that the first end portion and the second end portion of the conductive member face each other with a gap therebetween.
  • the conductive member can be configured to float electrically. Such a cable assembly is more easily manufactured. This is because it is not necessary to electrically connect the conductive member to another member.
  • the conductive member can be configured to be electrically connected to the shield conductor of the cable. In the case of such a cable assembly, the conductive member can be easily connected to the ground via the shield conductor.
  • the cable assembly according to any one of the above aspects can further include a shield case that covers at least the protruding portion of the first wire, the conductive member, and the connecting portion between the core wire of the protruding portion and the first connecting portion. It is.
  • the conductive member is electrically connected to the shield case.
  • the conductive member can be easily connected to the ground via the shield case.
  • the cable assembly can further include a conductive second connection portion.
  • the cable may further include a second wire other than the signal wire disposed in the shield conductor.
  • the second line may have a protruding portion that protrudes in the first direction from the shield conductor and the outer insulator.
  • the core wire of the protruding portion of the second line can be configured to be connected to the second connecting portion.
  • the conductive member may be configured to be wound around at least a part of the protrusions of the pair of first lines.
  • the second connecting portion may be arranged on one side of the third direction intersecting the first direction and the second direction with respect to the first connecting portion.
  • the protruding portion of the second line can be configured to be disposed on one side in the third direction from the protruding portion of the first line.
  • a conductive member is a protrusion part of a pair of 1st lines This is because the second wire is unlikely to get in the way when wound around at least a part of the wire.
  • the cable assembly according to any one of the aspects described above can be configured to further include an insulating body.
  • the body can be configured to hold the first connection portion and the second connection portion.
  • the first connection portion and the second connection portion can be terminals.
  • the body can be replaced with a substrate.
  • the first connection portion and the second connection portion can be electrodes provided on the substrate instead of the terminals.
  • the cable assembly manufacturing method of the present invention cuts the end portion of the outer insulator of the cable and the end portion of the shield conductor disposed in the outer insulator, and the first wire which is a signal line from the shield conductor and the outer insulator.
  • the end of the first wire is projected in the first direction, which is the longitudinal direction of the cable, the core wire of the end of the first wire is connected to the terminal or the electrode of the substrate, and the end of the first wire is connected after the connection of the core wire of the first wire
  • a conductive plate or a conductive tape is wound around at least a part of the first direction of the portion. Note that the conductive plate or the conductive tape can be wound before the connection of the core wire of the first wire.
  • the manufacturing method of such an embodiment has the following technical features and effects.
  • the impedance of the edge part of a 1st line can be reduced only by winding a conductive plate or a conductive tape around at least one part of the edge part of a 1st line. For this reason, it is possible to match the impedance of the end portion of the first line with the impedance of the shield conductor of the first line and the portion in the outer insulator.
  • this manufacturing method can easily manufacture the cable assembly. This is because the conductive plate or the conductive tape is only wound around at least a part of the end portion of the first line, so that the attaching operation of the conductive plate or the conductive tape to the end portion of the first line becomes very simple.
  • the first line can be a pair.
  • the terminals or the electrodes of the substrate can be a pair.
  • the connection of the core wire of the first line can be a process including connecting the core wires at the ends of the pair of first wires to the pair of terminals or the pair of electrodes of the substrate, respectively.
  • the winding of the conductive plate or the conductive tape can be a process including winding the conductive plate or the conductive tape around at least a part of the ends of the pair of first lines.
  • the manufacturing method of this aspect can manufacture the cable assembly more easily. Even if the protrusions of the pair of first lines are separated from each other, the conductive member can be wound around at least a part of the protrusions while bringing the protrusions closer to each other.
  • the pair of terminals or the pair of electrodes on the substrate can be configured to be spaced apart in the second direction intersecting the first direction.
  • the winding of the conductive plate or the conductive tape is such that the distance in the second direction between the end portions of the pair of first lines is smaller than the distance in the second direction between the pair of terminals or the pair of electrodes. It can be a process including winding a conductive plate or a conductive tape around at least a part of the ends of the pair of first lines.
  • the distance in the second direction between the end portions of the pair of first lines is smaller than the distance in the second direction between the pair of terminals or the pair of electrodes.
  • the impedance at the end of the first line is further reduced. Accordingly, it is possible to further match the impedance of the end portion of the first line with the impedance of the shield conductor of the first line and the portion in the outer insulator.
  • the conductive plate or conductive tape may have a first end and a second end opposite to the first end.
  • the winding of the conductive plate or the conductive tape is performed by placing the conductive plate or the conductive tape on at least one of the ends of the first line so that at least one of the first end and the second end contacts the conductive plate or the conductive tape.
  • Winding of the conductive plate or the conductive tape includes winding the conductive plate or the conductive tape so that the first end and the second end face each other with a gap therebetween. It is possible to set it as the process including winding around at least one part of an edge part.
  • winding around the protruding portion of the conductive plate or the conductive tape becomes easy.
  • One of the first end and the second end of the conductive plate or the conductive tape is in contact with the conductive plate or the conductive tape, or the first end and the second end of the conductive plate or the conductive tape, This is because the conductive plate or the conductive tape may be wound around at least a part of the projecting portion so as to face each other with a gap.
  • the manufacturing method of any one of the above aspects may further include electrically connecting the conductive plate or the conductive tape to the shield conductor of the cable. According to the manufacturing method of such an aspect, the conductive plate or the conductive tape can be easily grounded via the shield conductor.
  • the manufacturing method may further include covering at least the end portion of the first line, the conductive plate or the conductive tape, and the connection portion with the shield case.
  • the connecting portion can be a connecting portion between the core wire at the end of the first wire and the terminal or the electrode of the substrate.
  • the manufacturing method may further include electrically connecting the shield case to a conductive plate or a conductive tape. According to the manufacturing method of such an aspect, the conductive plate or the conductive tape can be easily connected to the ground via the shield case.
  • the cable may further include a second line other than the signal line arranged in the shield conductor.
  • the cutting of the outer insulator and the shield conductor of the cable may be a process including projecting the end of the first wire and the end of the second wire from the shield conductor and the outer insulator in the first direction of the cable. Is possible.
  • the connection of the core wire of the first line can be a process including connecting the core wire at the end of the second line to another terminal or another electrode of the substrate.
  • the winding of the conductive plate or the conductive tape may be a process including winding the conductive plate or the conductive tape around at least a part of the end portion of the first line.
  • the conductive plate or the conductive tape is only wound around the end portion of the first line, so that the attaching operation to the end portion of the first line of the conductive plate or the conductive tape is very simple. It becomes.
  • FIG. 2B is an end view of the cable assembly, taken along line 2A-2A in FIG. 1A, showing one embodiment of a conductive member.
  • FIG. 2B is an end view of the cable assembly, taken along line 2A-2A in FIG. 1A, showing another embodiment of the conductive member.
  • FIG. 5 is an end view of the cable assembly, taken along line 5A-5A in FIG. 4, showing one embodiment of a conductive member.
  • FIG. 5 is an end view of the cable assembly, taken along line 5A-5A in FIG. 4, showing another embodiment of the conductive member.
  • FIG. 6 is a schematic plan view of a cable assembly according to a third embodiment of the present invention, and is a view through a shield case.
  • FIG. 7B is an end view of the cable assembly, taken along line 7-7 in FIG. 6A, showing one embodiment of a conductive member.
  • FIG. 6 is a schematic plan view showing a first design modification of the cable assembly according to the first embodiment, and is a view through a shield case.
  • FIG. 10 is a schematic side view showing a first design modification of the cable assembly according to the third embodiment, and is a view through a shield case.
  • FIG. 10 is a schematic plan view showing a second design modification of the cable assembly according to the first embodiment, and is a view through a shield case.
  • FIG. 10 is a schematic plan view illustrating a third design modification of the cable assembly according to the first embodiment, and is a view through a shield case.
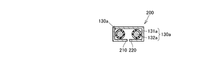
  • the cable assembly A1 includes a cable 100, a conductive member 200, a body 300, a pair of terminals 400a (first connection portions), a pair of terminals 400b (second connection portions), and a shield case 500.
  • each component of the cable assembly A1 will be described in detail.
  • 1A and 1B corresponds to the longitudinal direction of the cable 100 and the first direction of the claims.
  • the X-X ′ direction shown in FIG. 1A corresponds to the arrangement direction of the terminals 400 a and 400 b and the second direction of the claims.
  • the X-X ′ direction intersects the Y-Y ′ direction at a right angle.
  • the Z-Z ′ direction in FIG. 1B corresponds to the third direction of the claims.
  • the Z-Z 'direction intersects the Y-Y' direction and the X-X 'direction at right angles.
  • the cable 100 includes an outer insulator 110, a shield conductor 120, a pair of first wires 130a, and a pair of second wires 130b.
  • FIGS. 1A and 1B only a part of the cable 100 is shown.
  • the outer insulator 110 is a cylindrical sheath.
  • the shield conductor 120 is a tubular braided conductor or a tape made of metal foil wound in a spiral shape, and is disposed in the outer insulator 110.
  • the pair of first lines 130 a and the pair of second lines 130 b are disposed in the shield conductor 120.
  • the ends on the Y direction side of the outer insulator 110 and the shield conductor 120 are cut. For this reason, the end of the first line 130a on the Y-direction side (hereinafter referred to as the protrusion Pa) and the end of the second line 130b on the Y-direction side (hereinafter referred to as the protrusion Pb) are separated from the outer insulator 110 and the shield conductor 120. Projecting in the Y direction.
  • the pair of first lines 130a is a signal line capable of transmitting a high-frequency signal (differential signal), and constitutes a differential pair.
  • Each first wire 130a has an inner insulator 131a and a core wire 132a.
  • the core wire 132a is disposed in a cylindrical inner insulator 131a.
  • the end portion on the Y direction side of the inner insulator 131a is cut, and the end portion on the Y direction side of the core wire 132a protrudes.
  • Each second line 130b is a line other than a signal line (for example, a power supply line, a ground line and / or a drain line) and / or a low speed signal line (for example, a signal line capable of transmitting a signal lower than the high frequency signal). It is.
  • Each second wire 130b has an inner insulator 131b and a core wire 132b.
  • the core wire 132b is arrange
  • the end of the inner insulator 131b on the Y direction side is cut, and the end of the core wire 132b on the Y direction side protrudes.
  • the body 300 is a block made of insulating resin as shown in FIGS. 1A and 1B.
  • the body 300 holds the terminals at intervals in the X-X ′ direction in the order of 400b, 400a, 400a, 400b.
  • the terminals 400a and 400b may be insert-molded in the body 300, or may be press-fitted and held in holes or grooves in the body 300.
  • the pair of terminals 400a constitute a differential pair capable of transmitting a high-frequency signal (differential signal).
  • Each terminal 400a has a contact portion 410a and a tail portion 420a.
  • the contact portion 410a is an end portion of the terminal 400a in the Y direction and protrudes from the body 300 in the Y direction.
  • the contact portion 410a is a portion that can contact a signal transmission terminal of a connection target (not shown) such as a counterpart connector to which the cable assembly A1 is connected.
  • the tail portion 420a is an end portion in the Y ′ direction of the terminal 400a and protrudes from the body 300 in the Y ′ direction.
  • the end portion of the core wire 132a of the protruding portion Pa of the corresponding first wire 130a is connected to the tail portion 420a with solder or the like.
  • the terminal 400b is a terminal other than a signal terminal (for example, a power supply terminal, a ground terminal and / or a drain terminal) and / or a low speed signal terminal (for example, a terminal capable of transmitting a signal lower than the high frequency signal).
  • Each terminal 400b has a contact portion 410b and a tail portion 420b.
  • the contact portion 410b is an end portion of the terminal 400b in the Y direction and protrudes from the body 300 in the Y direction.
  • the contact portion 410b is a portion that can contact another terminal to be connected.
  • the tail portion 420b is an end portion in the Y ′ direction of the terminal 400b and protrudes from the body 300 in the Y ′ direction.
  • the end portion of the core wire 132b of the protruding portion Pb of the corresponding second wire 130b is connected to the tail portion 420b with solder or the like.
  • the conductive member 200 is a conductive plate (for example, a metal plate or a press-molded product made of a metal plate) or a conductive tape (for example, a copper foil tape).
  • the dimension of the conductive member 200 in the flat state (the state before winding) in the Y-Y 'direction is smaller than the Y-Y' direction of the protrusion Pa of the first line 130a.
  • the dimension of the conductive member 200 in the X-X ′ direction is a dimension that can cover the protrusions Pa of the pair of first lines 130 a.
  • the dimensions of the conductive member 200 in the YY ′ direction, the dimension in the XX ′ direction, and the thickness dimension are the impedance of the protruding portion Pa of each first line 130a, the shield conductor 120 and the outer insulation of each first line 130a. It is preferable that the dimension is set so as to achieve matching with the impedance of the portion located in the body 110.
  • the conductive member 200 has a first end 210 and a second end 220.
  • the second end 220 is an end opposite to the first end 210.
  • the conductive member 200 is wound around a part of the protrusion Pa of the pair of first lines 130a in the YY ′ direction (for example, an intermediate part of the protrusion Pa in the YY ′ direction). Covers the periphery of the part.
  • the conductive member 200 of one aspect shown in FIG. 2A has a protrusion Pa of the pair of first lines 130a such that the first end 210 and the second end 220 face each other with a gap therebetween. It is wound around a part in the YY ′ direction.
  • the second end portion 220 contacts the conductive member 200 from the outside.
  • the first line 130a is wound around a part of the protruding portion Pa in the YY ′ direction.
  • the conductive member 200 is fixed to a part of the protruding portion Pa of the pair of first lines 130a.
  • the fixing of the conductive member 200 is performed by winding the conductive member 200, crimping the conductive member 200, an adhesive and / or an adhesive. Note that the conductive member 200 is not wound around the protruding portion Pb of the second wire 130b.
  • the conductive member 200 can be (1) configured to be electrically floating, or (2) configured to be electrically connected to the shield conductor 120 and / or the shield case 500. .
  • the conductive member 200 is not in contact with the shield conductor 120 and / or the shield case 500 of the cable 100 and is not electrically connected to the shield conductor 120 and / or the shield case 500.
  • the conductive member 200 may be electrically connected by directly contacting the shield conductor 120 and / or the shield case 500, or (2b) connection means not shown.
  • the conductive member 200 is connected to the ground via the shield conductor 120 and / or the shield case 500.
  • the shield case 500 is a metal tube, and has an opening in the Y direction and an opening in the Y ′ direction. At least the protruding portion Pa of the first line 130a, the protruding portion Pb of the second line 130b, the conductive member 200, the plurality of first connection portions, and the plurality of second connection portions are accommodated in the shield case 500 (shield case). 500).
  • Each first connection portion is a connection portion between the tail portion 420a of the terminal 400a and the core wire 132a of the protruding portion Pa of the first wire 130a.
  • Each second connection portion is a connection portion between the tail portion 420b of the terminal 400b and the core wire 132b of the protruding portion Pb of the second wire 130b.
  • the body 300 is located outside the shield case 500 on the opening side in the Y direction of the shield case 500.
  • the cable 100 is led out of the shield case 500 from the opening in the Y ′ direction of the shield case 500.
  • the shield case 500 is indicated by a broken line.
  • the shield case 500 can be combined in the X-X ′ direction or the Z-Z ′ direction, and can be composed of two separable pieces.
  • the shield case 500 can be composed of three or more pieces that can be combined and separated.
  • the shield case 500 is electrically connected by direct contact with the shield conductor 120 of the cable 100 or via another connection means (not shown) (for example, a pin, solder, conductive adhesive, or lead wire). Good, but not limited to this.
  • the shield case 500 may be grounded by contacting the shield case to be connected.
  • a cable 100 is prepared.
  • the end of the outer insulator 110 of the cable 100 in the Y direction and the end of the shield conductor 120 are cut, and the ends of the pair of first wires 130a in the Y direction and the ends of the pair of second wires 130b in the Y direction are cut. It protrudes from the outer insulator 110 and the shield conductor 120.
  • An end portion of the first line 130a in the Y direction becomes the protruding portion Pa
  • an end portion of the second line 130b in the Y direction becomes the protruding portion Pb.
  • the end in the Y direction of the inner insulator 131a of the protrusion Pa is cut, and the end of the core wire 132a in the Y direction is protruded from the inner insulator 131a.
  • the end in the Y direction of the inner insulator 131b of the protrusion Pb is cut, and the end of the core wire 132b in the Y direction is protruded from the inner insulator 131b.
  • the conductive member 200 is prepared.
  • the conductive member 200 is wound around a part of the protrusion Pa of the pair of first lines 130a in the Y-Y 'direction and fixed to the part.
  • the method is the same as the following 1) or 2).
  • the conductive member 200 which is a conductive plate, is bent or curved so that the first end 210 and the second end 220 face each other with a gap therebetween, and the protrusions Pa of the pair of first lines 130a Wrap around only part of the YY 'direction.
  • the conductive member 200 which is a conductive tape
  • the first end portion 210 contacts the conductive member 200 from the inside
  • the second end portion 220 contacts the conductive member 200 from the outside.
  • the conductive member 200 is fixed to only a part of the protrusion Pa in the Y-Y ′ direction by any of the methods 1) and 2). This fixing may be performed by the following method instead of winding.
  • the conductive member 200 After or during winding, the conductive member 200 is caulked so that the first and second end portions 210 and 220 face inward, so that the conductive member 200 is only a part of the protruding portion Pa in the YY ′ direction. Fixed to. 4) By applying an adhesive or an adhesive to the wound conductive member 200 and a part of the protruding portion Pa in the YY ′ direction, the conductive member 200 only has a portion of the protruding portion Pa in the YY ′ direction. Fixed to. Note that the winding 1) or 2) of the conductive member 200 described above may be performed before the connecting step of the first wire 130a to the terminal 400a and the connecting step of the second wire 130b to the terminal 400b.
  • the conductive member 200 When the conductive member 200 is electrically floated, the conductive member 200 is not in contact with the shield conductor 120. When electrically connecting the conductive member 200 to the shield conductor 120, the conductive member 200 is brought into direct contact with the shield conductor 120 when the conductive member 200 is fixed to the protruding portion Pa. Alternatively, after the conductive member 200 is fixed, the conductive member 200 is electrically connected to the shield conductor 120 by the connecting means.
  • the shield case 500 is prepared.
  • the shield case 500 so that at least the protrusions Pa of the first lines 130 a, the protrusions Pb of the second lines 130 b, the conductive member 200, the first connection part, and the second connection part are accommodated in the shield case 500. Combine multiple pieces of.
  • the conductive member 200 is hollowly disposed in the shield case 500.
  • the conductive member 200 is brought into contact with the shield case 500 when the pieces of the shield case 500 are combined.
  • the conductive member 200 is electrically connected to at least one of the pieces by the separate connecting means.
  • the impedance of the pair of first lines 130a was measured.
  • a differential step pulse signal having a rising speed (Rise Time) of 200 ps was passed through the pair of first lines 130a.
  • the measurement result of Experimental Example 1 was as shown in FIG. 3A.
  • the impedance of a part (intermediate part) of the protrusion Pa was about 110.8 ⁇ as indicated by the broken line.
  • the measurement result of Experimental Example 2 was as shown in FIG. 3B.
  • the impedance of a part (intermediate part) of the protrusion Pa was about 104.0 ⁇ as shown by the broken line.
  • the cable assembly A1 and the manufacturing method thereof have the following technical characteristics and effects.
  • the cable assembly A1 can be easily manufactured. The reason is as follows. 1) Since the conductive member 200 is only wrapped around a part of the protruding portion Pa of the pair of first lines 130a, the conductive member 200 can be easily attached to the protruding portion Pa of the pair of first lines 130a. Even if the protrusions Pa of the pair of first lines 130a are separated from each other, the conductive member 200 can be wound around a part of the protrusions Pa while bringing the protrusions Pa closer to each other. 2) After the connection of the first line 130a to the terminal 400a and the connection of the second line 130b to the terminal 400b, the conductive member 200 can be wound around a part of the protruding portion Pa of the pair of first lines 130a.
  • the core wire 132a from which the protruding portion Pa protrudes can be connected to the terminal 400a before the protruding portion Pa of the first wire 130a is bundled with the conductive member 200, this connection work is facilitated.
  • the protruding portions Pa of the pair of first wires 130a are bundled by the conductive member 200, when the cable assembly A1 is manufactured, the protruding portions Pa of the pair of first wires 130a after being bundled are handled. It becomes easy.
  • the protruding portion Pa of the first line 130a, the protruding portion Pb of the second line 130b, the conductive member 200, the first connection portion, and the second connection portion are only accommodated in the shield case 500.
  • the electrical connection process of the conductive member 200 can be omitted.
  • the EMC (Electro-Magnetic Compatibility) characteristics of the cable assembly A1 are improved. This is because the protruding portion Pa of the first line 130a, the protruding portion Pb of the second line 130b, the conductive member 200, the first connection portion, and the second connection portion are accommodated in the shield case 500.
  • the cable assembly A2 has the same configuration as the cable assembly A1, except that the cable assembly A2 differs from the cable assembly A1 in the following differences.
  • the difference is that the configuration of the conductive member 200 ′ is different from the configuration of the conductive member 200.
  • FIG. 4 also shows the Y-Y ′ direction and the X-X ′ direction, similar to the assembly A1. In FIG. 4, only a part of the cable 100 is illustrated, and the shield case 500 is indicated by a broken line.
  • the conductive member 200 ′ is a conductive plate (for example, a metal plate or a press-formed product made of a metal plate) or a conductive tape (for example, a copper foil tape).
  • the dimension of the conductive member 200 'in the Y-Y' direction is smaller than the Y-Y 'direction of the protrusion Pa of the first line 130a.
  • the dimension in the X-X ′ direction of the conductive member 200 ′ in the flat state (the state before winding) is a dimension that can cover the protrusions Pa of the pair of first lines 130 a.
  • the dimensions of the conductive member 200 ′ in the YY ′ direction, the dimension in the XX ′ direction, and the thickness dimension are the impedance of the protrusion Pa of each first line 130a, the shield conductor 120 of each first line 130a, and the outer side. It is preferable that the dimension is set so as to achieve matching with the impedance of the portion located in the insulator 110.
  • the conductive member 200 ′ includes a portion other than the tip end portions of the protrusions Pa of the pair of first lines 130a (part of the protrusions Pa in the YY ′ direction). ) In the YY ′ direction of the protrusion Pa of the pair of first lines 130a so that the distance in the XX ′ direction is smaller than the distance in the XX ′ direction between the pair of terminals 400a. For example, it is wound around the intermediate portion of the protrusion Pa in the YY ′ direction and covers the periphery of the part of the protrusion Pa.
  • the tip end portion of the protruding portion Pa is a portion on the Y direction side from a portion around which the conductive member 200 ′ of the protruding portion Pa is wound. Portions other than the tip portions of the protrusions Pa of the pair of first lines 130a may be in contact with each other, or may have a gap between them. An example of this is shown in FIGS. 5A and 5B.
  • the conductive member 200 ′ of one aspect shown in FIG. 5A has a protruding portion Pa of the pair of first lines 130a such that the first end portion 210 ′ and the second end portion 220 ′ are opposed to each other with a gap therebetween. Is wound around a part of the YY ′ direction.
  • the first end portion 210 ′ contacts the conductive member 200 ′ from the inside, and the second end portion 220 ′ contacts the conductive member 200 ′ from the outside.
  • the protrusion Pa of the pair of first lines 130a is wound around a part in the YY ′ direction.
  • the conductive member 200 ′ is fixed to a part of the protruding portion Pa of the pair of first lines 130 a.
  • the conductive member 200 ′ is fixed by winding the conductive member 200 ′, crimping the conductive member 200 ′, an adhesive and / or an adhesive. Note that the conductive member 200 'is not wound around the protruding portion Pb of the second line 130b.
  • the configuration in which the conductive member 200 ′ is electrically floating or is electrically connected to the shield conductor 120 and / or the shield case 500 is as described in the first embodiment.
  • the manufacturing method of the cable assembly A2 having the above-described configuration is substantially the same as the manufacturing method of the cable assembly A1, except that the winding process of the conductive member 200 'is different from the winding process of the conductive member 200 of the first embodiment.
  • the winding process of the conductive member 200 ′ will be described in detail.
  • the winding process of the conductive member 200 ' is performed before or after the connecting process of the first wire 130a to the terminal 400a and the connecting process of the second wire 130b to the terminal 400b. Specifically, it is as follows.
  • the conductive member 200 ′ which is a conductive plate, is bent or curved so that the first end portion 210 ′ and the second end portion 220 ′ are opposed to each other with a gap therebetween, and the protruding portion Pa of the pair of first lines 130a. Wrap around only part of the YY 'direction.
  • This winding makes the distance in the X-X ′ direction of the portion other than the tip of the protruding portion Pa of the pair of first lines 130 a smaller than the distance in the X-X ′ direction between the pair of terminals 400 a.
  • a part of the protruding portion Pa of the pair of first lines 130a in the YY ′ direction so that the first end portion 210 ′ and the second end portion 220 ′ are in contact with each other on the conductive member 200 ′ that is a conductive tape. Wrap around only. This winding causes the first end 210 ′ and the second end so that the first end 210 ′ contacts the conductive member 200 ′ from the inside and the second end 220 ′ contacts the conductive member 200 ′ from the outside.
  • the conductive member 200 ′ is fixed to only a part of the protruding portion Pa in the Y-Y ′ direction by the winding. This fixing may be performed by the following method instead of winding. 1) After or during winding, the conductive member 200 ′ is caulked so that the first and second end portions 210 ′ and 220 ′ face inward, so that the conductive member 200 ′ is in the YY ′ direction of the protrusion Pa.
  • a part of the conductive member 200 in the YY ′ direction of the protruding portion Pa is formed by applying an adhesive or an adhesive to the wound conductive member 200 ′ and a portion of the protruding portion Pa in the YY ′ direction. Only fixed to.
  • the cable assembly A2 and the manufacturing method thereof have the same technical features and effects as the cable assembly A1 and the manufacturing method thereof.
  • the cable assembly A2 and the manufacturing method thereof further exhibit the following technical features and effects.
  • the conductive member 200 ′ is wound not only on the protrusions Pa of the pair of first lines 130a but also on the protrusions Pb of the pair of second lines 130b, the protrusions of the pair of first lines 130a.
  • the distance in the XX ′ direction of the portion other than the tip end portion of Pa is difficult to be smaller than the distance in the XX ′ direction between the pair of terminals 400a.
  • the cable assembly A2 since the conductive member 200 ′ is wound only around a part of the protruding portion Pa of the pair of first wires 130a, the cable assembly A2 is a portion other than the tip of the protruding portion Pa of the pair of first wires 130a.
  • the distance in the XX ′ direction can be easily made smaller than the distance in the XX ′ direction between the pair of terminals 400a.
  • the cable assembly A3 has the same configuration as the cable assembly A1 except that the cable assembly A3 differs from the cable assembly A1 in the following differences.
  • the first difference is that the configuration of the body 300 ′ is different from the configuration of the body 300 of the second embodiment.
  • the second difference is that the arrangement of the terminal 400b and the second line 130b is different from the arrangement of the terminal 400b and the second line 130b of the second embodiment.
  • the third difference is that the conductive member 200 is replaced with a conductive member 200 '.
  • the fourth difference is that the shape of the shield case 500 'is different from the shape of the shield case 500 of the first embodiment.
  • FIG. 6A also shows the Y-Y ′ direction and the X-X ′ direction, similar to the assembly A1.
  • FIG. 6B also shows the Y-Y ′ direction and the Z-Z ′ direction as in the assembly A1.
  • the body 300 ' is a block made of insulating resin, as shown in FIGS. 6A and 6B.
  • the dimension of the body 300 ′ in the X-X ′ direction is smaller than the dimension of the body 300 in the X-X ′ direction.
  • the dimension of the body 300 'in the Z-Z' direction is larger than the dimension of the body 300 in the Z-Z 'direction. That is, the body 300 'is elongated in the Y-Y' direction.
  • the body 300 ' holds the terminals 400a at an interval in the X-X' direction.
  • the terminals 400a and 400b may be insert-molded in the body 300 'or may be press-fitted and held in holes or grooves in the body 300'.
  • the end portions of the core wire 132b of the protruding portion Pb of the pair of second wires 130b of the cable 100 are respectively connected to the terminal 400b with solder or the like. For this reason, as shown in FIG. 6B and FIG. 7, the protruding portion Pb of the second line 130b is arranged on the Z ′ direction side (one side in the third direction) from the protruding portion Pa of the first line 130a. Yes. 6A and 6B, only a part of the cable 100 is shown.
  • the conductive member 200 ′ is as described in the second embodiment.
  • the shield case 500 ′ has the same configuration as the shield case 500 of the first embodiment except that it is a metal square tube.
  • the shield case 500 ' is indicated by a broken line for convenience of explanation.
  • connection process of the pair of second wires 130b is different from the connection process of the pair of second wires 130b of the first embodiment
  • winding process of the conductive member 200 ′ is the embodiment. 1 is substantially the same as the manufacturing method of the cable assembly A1 except that it is different from the winding process of one conductive member 200.
  • connection process of the pair of second wires 130b and the winding process of the conductive member 200 ' will be described in detail.
  • the core wire 132b protruding from the protruding portion Pb of the pair of second wires 130b of the cable 100 is connected to the terminal 400b with solder or the like.
  • the protrusion part Pb of the 2nd line 130b is arrange
  • a winding step (including a fixing step) of the conductive member 200 ′ is performed as in the second embodiment. .
  • this winding step since the protruding portion Pb of the second line 130b is located on the Z ′ direction side of the protruding portion Pa of the first line 130a, it is difficult to interfere with the winding of the conductive member 200 ′.
  • the cable assembly A3 and the manufacturing method thereof have the same technical characteristics and effects as the cable assembly A2 and the manufacturing method thereof.
  • the first connecting portion of the present invention can be arbitrarily changed in design as long as it has conductivity and can be connected to the core wire of the first wire of the above-described embodiment or the design modification described later.
  • the second connecting portion of the present invention can be arbitrarily changed in design as long as it has electrical conductivity and can be connected to the core wire of the second wire of the above-described embodiment or the design modification described later.
  • the cable assembly A1 'shown in FIG. 8 it is possible to adopt a configuration in which a substrate 600 is provided instead of the body 300, the terminal 400a, and the terminal 400b.
  • the cable assembly A1 ' has the same configuration as the cable assembly A1 except that the body 300, the terminal 400a, and the terminal 400b are replaced with the substrate 600.
  • electrodes are provided on the surface of the substrate 600 on the Z direction side, electrodes are provided in the order of 610b, 610a, 610a, and 610b at intervals in the X-X ′ direction.
  • the core wire 132a from which the protrusion part Pa of the first wire 130a protrudes is connected to the electrode 610a.
  • the core wires 132b projecting from the projecting portions Pb of the second wires 130b are respectively connected to the electrodes 610b.
  • the electrode 610a corresponds to the first connection portion
  • the electrode 610b corresponds to the second connection portion.
  • the cable assembly A2 can also be configured to include a substrate 600 instead of the body 300, the terminal 400a, and the terminal 400b.
  • 620a shown in FIG. 8 is an electrode that is provided on the Z-side surface of the substrate 600 and can contact the signal transmission terminal to be connected.
  • 620b is on the Z-side surface of the substrate 600. It is an electrode that is provided and can contact another terminal to be connected.
  • the electrode 610a and the electrode 620a are connected to each other by a conductive line (not shown) of the substrate 600.
  • the electrode 610b and the electrode 620b are connected to each other by a conductive line (not shown) of the substrate 600.
  • Electrodes 610a ' are provided on the surface in the Z direction of the substrate 600' with a gap in the X-X 'direction.
  • electrodes 610 b ′ are provided at an interval in the X-X ′ direction.
  • Core wires 132b projecting from the projecting portions Pb of the second wires 130b are connected to the electrodes 610b '.
  • the electrode 610a ' corresponds to the first connection portion, and the electrode 610b' corresponds to the second connection portion.
  • 620a ′ shown in FIG. 9 is an electrode that is provided on the Z-side surface of the substrate 600 and is capable of contacting the signal transmission terminal to be connected.
  • 620b ′ is an electrode on the Z′-side of the substrate 600. It is an electrode provided on the surface and capable of contacting another terminal to be connected.
  • the electrode 610a 'and the electrode 620a' are connected to each other by a conductive line (not shown) of the substrate 600 '.
  • the electrode 610b 'and the electrode 620b' are connected to each other by a conductive line (not shown) of the substrate 600 '.
  • the contact portion of the terminal in any one of the above-described modes can be configured not to protrude from the body but to be accommodated in a groove or hole in the body.
  • the terminal of the mating connector is inserted into the groove or hole of the body and contacts the contact portion of the terminal.
  • the first wire of the cable of the present invention is a signal wire disposed in the outer insulator and the shield conductor of the cable, and has a protruding portion that protrudes from the outer insulator and the shield conductor in a substantially first direction. As long as the core wire of the protruding portion is connected to the first connection portion of any one of the above-described aspects, it can be arbitrarily set.
  • the first direction is the longitudinal direction of the cable.
  • the first line of the present invention is at least one.
  • the first wire of the cable of the present invention can be configured to transmit signals other than differential signals.
  • the second wire of the cable of the present invention is a wire other than the signal wire disposed in the outer insulator and the shield conductor of the cable, and has a protruding portion protruding in the first direction from the outer insulator and the shield conductor.
  • the core wire of the protruding portion can be arbitrarily set as long as it is connected to the second connection portion of any one of the above-described aspects.
  • the second line of the present invention is at least one.
  • the second line of the cable of the present invention can be omitted. For example, as in the cable assembly A1 ′′ shown in FIG. 10, the second line and the terminals connected thereto can be omitted. Except for this omission, the cable assembly A1 ′′ has the same configuration as the cable assembly A1.
  • the cable assemblies A2 and A3 can also omit the second line and the terminals connected thereto. Also, in the cable assembly A ⁇ b> 1 ′′ ′′ shown in FIG. 11, the second line and the electrodes connected thereto are omitted. In the cable assembly A2 and the cable assembly A3 'provided with the substrate 600 instead of the body 300, the terminal 400a, and the terminal 400b, the second line and the electrode connected thereto can be omitted.
  • the conductive member of the present invention can be arbitrarily changed in design as long as it is a conductive plate or a conductive tape wound around at least a part of the protruding portion of the first line in any one of the above-described aspects.
  • the conductive member can be configured to cover the entire region in the first direction of the inner insulator of the protruding portion of the first line.
  • the conductive member projects the pair of first lines so that the distance in the second direction between a part of the projecting parts of the pair of first lines is smaller than the distance in the second direction between the pair of first connection parts. It is possible to have a configuration wound around at least a part of the part.
  • the second direction is a direction that intersects the first direction.
  • the conductive tape or conductive plate according to any one of the aspects described above may be configured according to any of the aspects described above so that the first end and the second end of the conductive tape or conductive plate face each other with a gap therebetween. It is possible to have a configuration in which the protrusion of the first line is wound around at least a part of the first direction.
  • the conductive plate or conductive tape according to any one of the aspects described above is configured so that one of the first end and the second end of the conductive plate or the conductive tape is in contact with the conductive plate or the conductive tape. It is possible to make it the structure wound around at least a part of the 1st direction of the protrusion part of the 1st line of such an aspect.
  • the conductive plate or the conductive tape according to any one of the aspects described above may be configured so that the tip of the first end of the conductive plate or the conductive tape contacts the tip of the second end. It is possible to have a configuration in which one line of the protruding portion is wound around at least a part in the first direction.
  • the conductive plate or the conductive tape according to any one of the aspects described above is wound around a part of at least a part of the protruding portion of the first line according to any one of the aspects described above in the first direction, and the first of the conductive plate or the conductive tape.
  • the end is in contact with the conductive plate or the conductive tape from the inside, and the second end opposite to the first end of the conductive plate or the conductive tape is in contact with the conductive plate or the conductive tape from the outside. It is possible.
  • the conductive member according to any one of the aspects described above can be configured to be wound around at least a part of the first line protrusion and the second line protrusion according to any aspect described above. is there.
  • the conductive member of any aspect described above may be fixed to at least a part in the first direction of the protruding portion of the first line of any aspect described above, as in the above-described embodiment.
  • the caulking of the conductive member according to any one of the aspects described above is fixed to at least a part in the first direction of the protruding portion of the first line according to any one of the aspects described above by deforming at least a part of the conductive member. You may make it.
  • the shield case of the present invention can be arbitrarily changed in design as long as it covers at least the protruding portion of the first line, the conductive member, and the connecting portion between the core wire of the protruding portion of the first line and the first connecting portion.
  • the shield case of the present invention includes the above-described body or the above-described substrate in addition to the above-described first wire protrusion, the conductive member, and the connection portion between the core wire of the first wire protrusion and the first connection portion. It is possible to make it the structure which covers at least one part.
  • the shield case of any one of the above-described aspects can be configured such that a metal film or the like is deposited on the inner surface of a cylinder made of insulating resin.
  • the shield case according to any one of the aspects described above has at least the first line protrusion, the conductive member, and the first line protrusion from either one of the third directions intersecting the first direction and the second direction. It is also possible to use a substantially semi-cylinder that covers the connecting portion between the core wire of the portion and the first connecting portion.
  • the shield case of the present invention can be omitted.
  • the protruding portion of the first wire, the conductive member, and the connecting portion between the core wire of the protruding portion of the first wire and the first connecting portion in any one of the above aspects are insert-molded in the mold resin.
  • the mold resin can be configured to hold the body or the substrate.
  • the shield case can be omitted.
  • the shield case of the present invention covers at least the protruding portion of the first line, the conductive member, and the connecting portion between the core wire of the protruding portion of the first line and the first connecting portion by covering the mold resin. It is also possible.
  • the end of the outer insulator of the cable and the end of the shield conductor disposed in the outer insulator are cut, and at least one of the shield conductor and the outer insulator is cut.
  • An end portion of the first wire protrudes in a first direction which is a longitudinal direction of the cable, the conductive plate or the conductive tape is wound around the at least part of the end portion of the first wire, and the conductive plate
  • the design can be arbitrarily changed as long as the core wire at the end of the first wire is connected to the terminal or the electrode of the substrate before or after the conductive tape is wound.
  • the core wire of the protruding portion of the first line is connected to the electrode of the substrate (for example, the electrodes 610a and 610a ′), and the core wire of the protruding portion of the second line is connected. It may be connected to another electrode of the substrate (for example, the electrodes 610b and 610b ′).
  • the winding step of the conductive member according to any one of the aspects described above may include winding around at least a part of the first line and the second line.
  • the first direction of the present invention can be arbitrarily set as long as it is the longitudinal direction of the cable.
  • the second direction of the present invention can be arbitrarily set as long as the direction intersects the first direction.
  • the third direction of the present invention can be arbitrarily set as long as it intersects the first direction and the second direction and is not located in the same plane as both directions.

Landscapes

  • Engineering & Computer Science (AREA)
  • Microelectronics & Electronic Packaging (AREA)
  • Manufacturing & Machinery (AREA)
  • Physics & Mathematics (AREA)
  • Electromagnetism (AREA)
  • Insulated Conductors (AREA)
  • Communication Cables (AREA)
  • Details Of Connecting Devices For Male And Female Coupling (AREA)
  • Shielding Devices Or Components To Electric Or Magnetic Fields (AREA)
  • Manufacturing Of Electrical Connectors (AREA)
PCT/JP2015/081744 2014-12-09 2015-11-11 ケーブルアッセンブリ及びケーブルアッセンブリの製造方法 Ceased WO2016093012A1 (ja)

Priority Applications (4)

Application Number Priority Date Filing Date Title
MX2017006059A MX383912B (es) 2014-12-09 2015-11-11 Ensamblaje de cable y método para la manufactura de ensamblaje de cable.
EP15868092.6A EP3232447B1 (en) 2014-12-09 2015-11-11 Cable assembly and cable assembly manufacturing method
CN201580067040.0A CN107046814B (zh) 2014-12-09 2015-11-11 电缆组件和电缆组件制造方法
US15/529,761 US10188020B2 (en) 2014-12-09 2015-11-11 Cable assembly and cable assembly manufacturing method

Applications Claiming Priority (2)

Application Number Priority Date Filing Date Title
JP2014249252A JP6348829B2 (ja) 2014-12-09 2014-12-09 ケーブルアッセンブリ及びケーブルアッセンブリの製造方法
JP2014-249252 2014-12-09

Publications (1)

Publication Number Publication Date
WO2016093012A1 true WO2016093012A1 (ja) 2016-06-16

Family

ID=56107206

Family Applications (1)

Application Number Title Priority Date Filing Date
PCT/JP2015/081744 Ceased WO2016093012A1 (ja) 2014-12-09 2015-11-11 ケーブルアッセンブリ及びケーブルアッセンブリの製造方法

Country Status (6)

Country Link
US (1) US10188020B2 (enExample)
EP (1) EP3232447B1 (enExample)
JP (1) JP6348829B2 (enExample)
CN (1) CN107046814B (enExample)
MX (1) MX383912B (enExample)
WO (1) WO2016093012A1 (enExample)

Families Citing this family (4)

* Cited by examiner, † Cited by third party
Publication number Priority date Publication date Assignee Title
FR3074616B1 (fr) 2017-12-06 2019-11-01 Raydiall Piece d'adaptation d'impedance electrique pour connecteur monte sur cable a fils electriques isoles
DE102018104253B4 (de) * 2018-02-26 2019-12-05 Rosenberger Hochfrequenztechnik Gmbh & Co. Kg Steckverbinderanordnung
JP6866887B2 (ja) * 2018-12-28 2021-04-28 株式会社オートネットワーク技術研究所 端子付き電線、端子モジュールおよびコネクタ
JP7206906B2 (ja) * 2018-12-28 2023-01-18 株式会社オートネットワーク技術研究所 端子モジュールおよびコネクタ

Citations (5)

* Cited by examiner, † Cited by third party
Publication number Priority date Publication date Assignee Title
JP2002135938A (ja) * 2000-10-27 2002-05-10 Tyco Electronics Amp Kk 電気ケーブル端部構造および電気ケーブル端部処理方法
JP2004071404A (ja) * 2002-08-07 2004-03-04 Auto Network Gijutsu Kenkyusho:Kk ツイストペア電線の端末部分のインピーダンス調整方法及びその端末処理構造
JP2005294174A (ja) * 2004-04-02 2005-10-20 Toshiba Corp ケーブル固定処理装置
JP2013069509A (ja) * 2011-09-21 2013-04-18 Auto Network Gijutsu Kenkyusho:Kk ハーネス
JP2014045016A (ja) * 2012-08-24 2014-03-13 Panasonic Corp 通信ケーブル

Family Cites Families (9)

* Cited by examiner, † Cited by third party
Publication number Priority date Publication date Assignee Title
JPH11345905A (ja) * 1998-06-02 1999-12-14 Mitsubishi Electric Corp 半導体装置
JP2005038617A (ja) 2003-07-15 2005-02-10 Totoku Electric Co Ltd 高速ディファレンシャル信号伝送用コネクタ付きケーブルハーネスの接続構造
US6790051B1 (en) * 2003-12-20 2004-09-14 Lear Corporation Connector for printed circuit board
DE112008001298T5 (de) * 2007-05-29 2010-04-29 Autonetworks Technologies, Ltd., Yokkaichi-shi Abgeschirmter Verbinder
JP5066243B2 (ja) * 2010-06-08 2012-11-07 ヒロセ電機株式会社 電気コネクタ、およびツイストペアケーブルと電気コネクタとの接続方法
CN103650256B (zh) * 2011-07-07 2017-04-12 莫列斯公司 用于端接一多导线线缆的托架以及线缆连接器
KR101514565B1 (ko) * 2013-11-14 2015-04-22 삼성전기주식회사 적층 세라믹 전자 부품 및 적층 세라믹 전자 부품의 실장 기판
KR101701022B1 (ko) * 2015-01-20 2017-01-31 삼성전기주식회사 적층 세라믹 전자부품, 그 제조방법 및 전자부품이 실장된 회로기판
JP6405327B2 (ja) * 2016-02-26 2018-10-17 太陽誘電株式会社 積層セラミックコンデンサ

Patent Citations (5)

* Cited by examiner, † Cited by third party
Publication number Priority date Publication date Assignee Title
JP2002135938A (ja) * 2000-10-27 2002-05-10 Tyco Electronics Amp Kk 電気ケーブル端部構造および電気ケーブル端部処理方法
JP2004071404A (ja) * 2002-08-07 2004-03-04 Auto Network Gijutsu Kenkyusho:Kk ツイストペア電線の端末部分のインピーダンス調整方法及びその端末処理構造
JP2005294174A (ja) * 2004-04-02 2005-10-20 Toshiba Corp ケーブル固定処理装置
JP2013069509A (ja) * 2011-09-21 2013-04-18 Auto Network Gijutsu Kenkyusho:Kk ハーネス
JP2014045016A (ja) * 2012-08-24 2014-03-13 Panasonic Corp 通信ケーブル

Also Published As

Publication number Publication date
EP3232447A1 (en) 2017-10-18
MX2017006059A (es) 2017-07-27
JP2016110916A (ja) 2016-06-20
EP3232447B1 (en) 2020-09-16
US10188020B2 (en) 2019-01-22
EP3232447A4 (en) 2017-12-13
CN107046814A (zh) 2017-08-15
JP6348829B2 (ja) 2018-06-27
CN107046814B (zh) 2019-08-13
US20170332525A1 (en) 2017-11-16
MX383912B (es) 2025-03-14

Similar Documents

Publication Publication Date Title
CN107887714B (zh) 电缆连接用结构和电缆用连接器
TWI463752B (zh) Coaxial connector device
US9325082B2 (en) Crimped terminal for coaxial cable
US8998641B2 (en) Terminal structure of electrical cable, shielded connector and terminal treatment method of electrical cable
US20140060882A1 (en) Communication cable having at least one insulated conductor
KR101974328B1 (ko) 동축 케이블 커넥터 및 동축 케이블 접속 방법
US10804665B2 (en) Terminal crimping method and terminal crimping structure
KR101958096B1 (ko) 클램핑력을 인가하고 임피던스 불연속의 영향을 감소시키기 위한 두 세트의 클램핑 판을 구비하는 케이블 커넥터
US10236637B2 (en) Communication connector
JP6348829B2 (ja) ケーブルアッセンブリ及びケーブルアッセンブリの製造方法
JP2016110916A5 (enExample)
JP6331152B2 (ja) マイクロ波ケーブルならびにかかるマイクロ波ケーブルの製造方法および使用方法
US11764519B2 (en) Wire including terminal provided with insulating barrel pieces
US11799226B2 (en) Wire including conductor exposed portion connected with wire barrel of terminal
JP2008123913A (ja) 内導体端子及び同軸コネクタ
JP5182923B2 (ja) シールド電線付きコネクタ端子、並びにシールド電線付きコネクタ端子の製造方法
JP6673301B2 (ja) 基板実装型同軸コネクタおよびその製造方法
JP3693973B2 (ja) L字プラグとその組み立て方法
WO2021029198A1 (ja) コネクタおよびコネクタ装置
US20240195132A1 (en) Connector
JP4807796B2 (ja) ケーブルコネクタ及びケーブル接続方法
KR101759286B1 (ko) 트랜지션 도파관 및 트랜지션 부재
CN115133364A (zh) 端子模块
US20190140401A1 (en) Cable connector with shield
WO2018037602A1 (ja) ツイストペアケーブル用コネクタ

Legal Events

Date Code Title Description
121 Ep: the epo has been informed by wipo that ep was designated in this application

Ref document number: 15868092

Country of ref document: EP

Kind code of ref document: A1

WWE Wipo information: entry into national phase

Ref document number: MX/A/2017/006059

Country of ref document: MX

WWE Wipo information: entry into national phase

Ref document number: 15529761

Country of ref document: US

REEP Request for entry into the european phase

Ref document number: 2015868092

Country of ref document: EP

NENP Non-entry into the national phase

Ref country code: DE