WO2016088314A1 - Projection optical system, exposure apparatus, and device manufacturing method - Google Patents

Projection optical system, exposure apparatus, and device manufacturing method Download PDF

Info

Publication number
WO2016088314A1
WO2016088314A1 PCT/JP2015/005744 JP2015005744W WO2016088314A1 WO 2016088314 A1 WO2016088314 A1 WO 2016088314A1 JP 2015005744 W JP2015005744 W JP 2015005744W WO 2016088314 A1 WO2016088314 A1 WO 2016088314A1
Authority
WO
WIPO (PCT)
Prior art keywords
optical system
convex mirror
projection optical
reflecting surface
supporting member
Prior art date
Legal status (The legal status is an assumption and is not a legal conclusion. Google has not performed a legal analysis and makes no representation as to the accuracy of the status listed.)
Ceased
Application number
PCT/JP2015/005744
Other languages
English (en)
French (fr)
Inventor
Yasuhito Sasaki
Mitsuru Seki
Takeshi Nakajima
Current Assignee (The listed assignees may be inaccurate. Google has not performed a legal analysis and makes no representation or warranty as to the accuracy of the list.)
Canon Inc
Original Assignee
Canon Inc
Priority date (The priority date is an assumption and is not a legal conclusion. Google has not performed a legal analysis and makes no representation as to the accuracy of the date listed.)
Filing date
Publication date
Application filed by Canon Inc filed Critical Canon Inc
Priority to KR1020177017295A priority Critical patent/KR101968432B1/ko
Priority to US15/526,277 priority patent/US10495978B2/en
Priority to CN201580064782.8A priority patent/CN107003615B/zh
Publication of WO2016088314A1 publication Critical patent/WO2016088314A1/en
Anticipated expiration legal-status Critical
Ceased legal-status Critical Current

Links

Images

Classifications

    • GPHYSICS
    • G03PHOTOGRAPHY; CINEMATOGRAPHY; ANALOGOUS TECHNIQUES USING WAVES OTHER THAN OPTICAL WAVES; ELECTROGRAPHY; HOLOGRAPHY
    • G03FPHOTOMECHANICAL PRODUCTION OF TEXTURED OR PATTERNED SURFACES, e.g. FOR PRINTING, FOR PROCESSING OF SEMICONDUCTOR DEVICES; MATERIALS THEREFOR; ORIGINALS THEREFOR; APPARATUS SPECIALLY ADAPTED THEREFOR
    • G03F7/00Photomechanical, e.g. photolithographic, production of textured or patterned surfaces, e.g. printing surfaces; Materials therefor, e.g. comprising photoresists; Apparatus specially adapted therefor
    • G03F7/70Microphotolithographic exposure; Apparatus therefor
    • G03F7/70058Mask illumination systems
    • G03F7/702Reflective illumination, i.e. reflective optical elements other than folding mirrors, e.g. extreme ultraviolet [EUV] illumination systems
    • GPHYSICS
    • G02OPTICS
    • G02BOPTICAL ELEMENTS, SYSTEMS OR APPARATUS
    • G02B17/00Systems with reflecting surfaces, with or without refracting elements
    • G02B17/02Catoptric systems, e.g. image erecting and reversing system
    • G02B17/06Catoptric systems, e.g. image erecting and reversing system using mirrors only, i.e. having only one curved mirror
    • G02B17/0605Catoptric systems, e.g. image erecting and reversing system using mirrors only, i.e. having only one curved mirror using two curved mirrors
    • GPHYSICS
    • G02OPTICS
    • G02BOPTICAL ELEMENTS, SYSTEMS OR APPARATUS
    • G02B17/00Systems with reflecting surfaces, with or without refracting elements
    • G02B17/02Catoptric systems, e.g. image erecting and reversing system
    • G02B17/06Catoptric systems, e.g. image erecting and reversing system using mirrors only, i.e. having only one curved mirror
    • G02B17/0605Catoptric systems, e.g. image erecting and reversing system using mirrors only, i.e. having only one curved mirror using two curved mirrors
    • G02B17/0615Catoptric systems, e.g. image erecting and reversing system using mirrors only, i.e. having only one curved mirror using two curved mirrors off-axis or unobscured systems in wich all of the mirrors share a common axis of rotational symmetry
    • GPHYSICS
    • G03PHOTOGRAPHY; CINEMATOGRAPHY; ANALOGOUS TECHNIQUES USING WAVES OTHER THAN OPTICAL WAVES; ELECTROGRAPHY; HOLOGRAPHY
    • G03BAPPARATUS OR ARRANGEMENTS FOR TAKING PHOTOGRAPHS OR FOR PROJECTING OR VIEWING THEM; APPARATUS OR ARRANGEMENTS EMPLOYING ANALOGOUS TECHNIQUES USING WAVES OTHER THAN OPTICAL WAVES; ACCESSORIES THEREFOR
    • G03B21/00Projectors or projection-type viewers; Accessories therefor
    • G03B21/14Details
    • G03B21/28Reflectors in projection beam
    • GPHYSICS
    • G03PHOTOGRAPHY; CINEMATOGRAPHY; ANALOGOUS TECHNIQUES USING WAVES OTHER THAN OPTICAL WAVES; ELECTROGRAPHY; HOLOGRAPHY
    • G03FPHOTOMECHANICAL PRODUCTION OF TEXTURED OR PATTERNED SURFACES, e.g. FOR PRINTING, FOR PROCESSING OF SEMICONDUCTOR DEVICES; MATERIALS THEREFOR; ORIGINALS THEREFOR; APPARATUS SPECIALLY ADAPTED THEREFOR
    • G03F7/00Photomechanical, e.g. photolithographic, production of textured or patterned surfaces, e.g. printing surfaces; Materials therefor, e.g. comprising photoresists; Apparatus specially adapted therefor
    • G03F7/70Microphotolithographic exposure; Apparatus therefor
    • G03F7/70216Mask projection systems
    • G03F7/70233Optical aspects of catoptric systems, i.e. comprising only reflective elements, e.g. extreme ultraviolet [EUV] projection systems
    • GPHYSICS
    • G03PHOTOGRAPHY; CINEMATOGRAPHY; ANALOGOUS TECHNIQUES USING WAVES OTHER THAN OPTICAL WAVES; ELECTROGRAPHY; HOLOGRAPHY
    • G03FPHOTOMECHANICAL PRODUCTION OF TEXTURED OR PATTERNED SURFACES, e.g. FOR PRINTING, FOR PROCESSING OF SEMICONDUCTOR DEVICES; MATERIALS THEREFOR; ORIGINALS THEREFOR; APPARATUS SPECIALLY ADAPTED THEREFOR
    • G03F7/00Photomechanical, e.g. photolithographic, production of textured or patterned surfaces, e.g. printing surfaces; Materials therefor, e.g. comprising photoresists; Apparatus specially adapted therefor
    • G03F7/70Microphotolithographic exposure; Apparatus therefor
    • G03F7/708Construction of apparatus, e.g. environment aspects, hygiene aspects or materials
    • G03F7/70858Environment aspects, e.g. pressure of beam-path gas, temperature
    • G03F7/709Vibration, e.g. vibration detection, compensation, suppression or isolation

Definitions

  • the present invention relates to a projection optical system, an exposure apparatus, and a device manufacturing method.
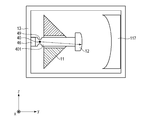
  • Fig. 9 is a schematic diagram of an exposure apparatus according to a related art.
  • the exposure apparatus includes an illumination optical system IL that illuminates a mask 18, and a projection optical system that projects a pattern drawn on the mask 18 onto a substrate 14.
  • the projection optical system includes polygonal optical member 1 having a first reflecting surface 1a and a second reflecting surface 1b, a concave mirror 17 having a first concave reflecting surface 17a and a second concave reflecting surface 17b, and a convex mirror 2. Furthermore, the projection optical system includes a lens barrel 3 that houses the above mirrors. Light emitted from the illumination optical system IL in the -z direction is transmitted through the mask 18 and is redirected in the +y direction by the first reflecting surface 1a of the polygonal optical member 1, which is provided below the mask 18.
  • the light redirected by the first reflecting surface 1a of the polygonal optical member 1 is reflected by the first concave reflecting surface 17a, the convex mirror 2, the second concave reflecting surface 17b, and the second reflecting surface 1b in that order and falls onto the substrate 14.
  • the convex mirror 2 is provided with a supporting member 15 that supports the convex mirror 2.
  • Fig. 10 is a sectional view of the projection optical system taken along an x-y plane.
  • the supporting member 15 is a beam-like member provided between the polygonal optical member 1 and the concave mirror 17 and extending in the x direction that is perpendicular to the optical axes of the convex mirror 2 and the concave mirror 17.
  • the supporting member 15 supports a side of the convex mirror 2 that is opposite a reflecting surface of the convex mirror 2. Two ends of the supporting member 15 are supported by respective supporting surfaces of the lens barrel 3.
  • the illumination optical system IL emits a beam of illuminating light whose cross section has an arc shape with a predetermined width, and illuminates the mask 18 within an arc-shaped illuminating area. Therefore, the areas of the first reflecting surface 1a, the first concave reflecting surface 17a, the convex mirror 2, the second concave reflecting surface 17b, and the second reflecting surface 1b that are to be illuminated each also have an arc shape of a predetermined size.
  • Fig. 11 is a plan view of the projection optical system that is seen from the side of the concave mirror 17. As illustrated in Fig. 11, the convex mirror 2 is surrounded by arc-shaped beam areas 16. The supporting member 15 is positioned between the beam area 16 on the upper side and the beam area 16 on the lower side.
  • the path of the light beam in the projection optical system is also widened.
  • the path of the light beam in that case is illustrated by dotted lines in Fig. 9.
  • the light beam reflected by the polygonal optical member 1 overlaps the supporting member 15 that supports the convex mirror 2, and the overlapped portion of the light beam is blocked or reflected by an upper portion A of the supporting member 15. Consequently, favorable imaging performance cannot be provided.
  • the size of the projection optical system including the sizes of the polygonal optical member 1, the convex mirror 2, and the lens barrel 3, may be increased.
  • the increase in the size of the projection optical system leads to an increase in manufacturing costs and an increase in the installation space.
  • the sizes of the polygonal optical member 1 and the convex mirror 2 increase, and the weights of the polygonal optical member 1 and the convex mirror 2 increase correspondingly.
  • the eigenvalues (natural frequencies) of the polygonal optical member 1 and the convex mirror 2 are lowered. If the eigenvalues are lowered, the amplitude of vibration due to disturbance, if any, becomes large.
  • the change in the position of the image plane of the projection optical system increases, the imaging performance in the exposure process performed on the substrate changes periodically and significantly, and the pattern projected on the substrate is distorted. Consequently, the resulting pattern formed on the substrate may have defects or include lines whose widths are nonuniform.
  • a projection optical system that projects an image of an object onto an image plane.
  • the projection optical system includes an imaging optical system including a first concave mirror, a convex mirror, and a second concave mirror; an optical member having a first reflecting surface and a second reflecting surface each redirecting an optical path; and a supporting member that supports the convex mirror.
  • the first reflecting surface, the first concave mirror, the convex mirror, the second concave mirror, and the second reflecting surface are provided in that order in a direction of travel of light from an object plane.
  • the optical member has a through hole having an opening on a side facing the convex mirror.
  • the supporting member extends through the through hole and from the opening to the convex mirror.
  • Fig. 1 is a schematic diagram of an exposure apparatus according to a first embodiment of the present invention.
  • Fig. 2 is a schematic diagram of a projection optical system according to a second embodiment of the present invention, illustrating a polygonal optical member, a convex mirror, and peripheral elements.
  • Fig. 3 is a sectional view of the projection optical system illustrated in Fig. 2 that is taken along an x-y plane.
  • Fig. 4 is a schematic diagram of a projection optical system according to a third embodiment of the present invention.
  • Fig. 5 is a schematic diagram of a projection optical system according to a fourth embodiment of the present invention, illustrating a polygonal optical member, a convex mirror, and peripheral elements.
  • Fig. 1 is a schematic diagram of an exposure apparatus according to a first embodiment of the present invention.
  • Fig. 2 is a schematic diagram of a projection optical system according to a second embodiment of the present invention, illustrating a polygonal optical member, a convex mirror
  • FIG. 6 is a sectional view of the projection optical system illustrated in Fig. 5 that is taken along an x-y plane.
  • Fig. 7 is a schematic diagram of a projection optical system according to a fifth embodiment of the present invention, illustrating a polygonal optical member, a convex mirror, and peripheral elements.
  • Fig. 8 is a schematic diagram of a projection optical system according to a sixth embodiment of the present invention, illustrating a polygonal optical member, a convex mirror, and peripheral elements.
  • Fig. 9 is a schematic diagram of an exposure apparatus according to a related art.
  • Fig. 10 is a sectional view of a projection optical system according to the related art.
  • Fig. 11 is a plan view of the projection optical system according to the related art that is seen from the side of a concave mirror.
  • Fig. 1 is a schematic diagram of an exposure apparatus according to a first embodiment of the present invention that includes a projection optical system.
  • the exposure apparatus according to the first embodiment projects an image of a pattern drawn on a mask M onto a glass substrate S, to which photoresist has been applied, while moving the mask M and the substrate S in the y direction, thereby performing exposure on the substrate S.
  • the exposure apparatus includes an illumination optical system IL1 that illuminates the mask M, and a projection optical system that projects the pattern drawn on the mask M onto the substrate S.
  • the projection optical system includes a polygonal optical member 11 (an optical member) having a first reflecting surface 11a and a second reflecting surface 11b, a concave mirror 117 having a first concave reflecting surface 117a and a second concave reflecting surface 117b, and a convex mirror 12.
  • the first concave reflecting surface 117a, the second concave reflecting surface 117b, and the convex mirror 12 constitute an imaging optical system that focuses an image of the pattern drawn on the mask M (an object plane) upon the substrate S (an image plane).
  • the concave mirror 117 and the convex mirror 12 share a common optical axis, which is illustrated by a dotted-chain line extending in the y direction.
  • the projection optical system further includes a lens barrel 13 that houses the above mirrors.
  • the polygonal optical member 11 is a member whose y-z section has a triangular or trapezoidal shape.
  • the polygonal optical member 11 is an optical member having a plurality of flat surfaces including the first reflecting surface 11a, the second reflecting surface 11b, and a surface 11c.
  • the first reflecting surface 11a and the second reflecting surface 11b of the polygonal optical member 11 are each provided with a reflecting film and each have a function of reflecting incoming light and thus redirecting the optical path of the light.
  • the polygonal optical member 11 according to the first embodiment has a through hole 11d.
  • the through hole 11d extends in the y direction and has an opening 11e on the side facing the convex mirror 12 and an opening 11f on the side facing the lens barrel 13 that is opposite the side facing the convex mirror 12.
  • the first reflecting surface 11a of the polygonal optical member 11 is transmitted through the mask M and is redirected in the +y direction by the first reflecting surface 11a of the polygonal optical member 11, which is positioned below the mask M.
  • the light thus redirected by the first reflecting surface 11a of the polygonal optical member 11 is reflected by the first concave reflecting surface 117a, the convex mirror 12, the second concave reflecting surface 117b, and the second reflecting surface 11b in that order and falls onto the substrate S. That is, the first reflecting surface 11a, the first concave reflecting surface 117a, the convex mirror 12, the second concave reflecting surface 117b, and the second reflecting surface 11b are provided in that order in the direction of travel of the light from the object plane.
  • the convex mirror 12 is provided with a supporting member 101 that supports the convex mirror 12.
  • the supporting member 101 is a beam-like member extending in the y direction, which is parallel to the optical axis of the imaging optical system.
  • the supporting member 101 extends through the through hole 11d of the polygonal optical member 11.
  • the inside diameter of the through hole 11d of the polygonal optical member 11 is larger than the outside diameter of the supporting member 101.
  • the supporting member 101 is not in contact with the polygonal optical member 11.
  • the supporting member 101 extends, at least between the polygonal optical member 11 and the convex mirror 12, from the opening 11e provided on the side facing the convex mirror 12 to the convex mirror 12.
  • the supporting member 101 supports, by a supporting surface 101a at one end thereof, the convex mirror 12 or a member holding the convex mirror 12, with a supported surface 101b at the other end thereof supported by the lens barrel 13. Thus, the supporting member 101 forms a cantilever supported only at the supported surface 101b thereof.
  • the supporting member 101 supports a side of the convex mirror 12 that is opposite a reflecting surface of the convex mirror 12.
  • the supporting member 101 is provided outside an optical path extending from the first reflecting surface 11a to the first concave reflecting surface 117a and an optical path extending from the second concave reflecting surface 117b to the second reflecting surface 11b and on the side of the convex mirror 12 that is opposite the reflecting surface of the convex mirror 12 so that the supporting member 101 does not overlap the optical paths. Therefore, even if the beam area (beam passing area) in the projection optical system is widened, the supporting member 101 does not block or reflect the light beam. Hence, even if the beam area in the projection optical system is widened with no increase in the size of the projection optical system, the favorable imaging performance of the projection optical system can be maintained.
  • the first embodiment does not employ the supporting member 15 employed in the related art, there is no need to provide a gap between the arc-shaped beam areas 16 illustrated in Fig. 11. That is, providing a gap between the arc-shaped beam areas 16 is not included in design restrictions.
  • the first embodiment is beneficial in terms of the design of the projection optical system. Therefore, even if the polygonal optical member 11 and the convex mirror 12 are of the same sizes as those employed in the related art, a light beam at a larger incident angle (numerical aperture, or NA) can be taken into the projection optical system or the beam area in the projection optical system can be widened.
  • a portion of the supporting member 101 that extends between the convex mirror 12 and the polygonal optical member 11 can be shaped such that the outer circumference of the portion is on the inner side of the outer circumference of the convex mirror 12 or the member holding the convex mirror 12.
  • the supporting member 101 can be assuredly prevented from blocking the optical path in the projection optical system.
  • the convex mirror 12 and the supporting member 101 can be fixed to each other with adhesive, a compression spring, or the like.
  • Fixing with adhesive is superior in that the shape of the reflecting surface of the convex mirror 12 is less likely to be distorted because the adhesive is hardened while the shape of the reflecting surface of the convex mirror 12 is retained.
  • Fixing with a compression spring is superior in that the fixing work can be done in a short time, that is, the fixing work is easy, because there is no need to wait for the adhesive to be hardened.
  • the supporting member 101 can be made of steel, fiber-reinforced plastic (FRP), or the like. Steel is less expensive than FRP and is superior in ease of processing. FRP has a higher stiffness per weight than steel and is superior in that the eigenvalue (natural frequency) of the supporting member 101 can be made high and the amplitude of vibration of the convex mirror 12 can be thus reduced.
  • FRP fiber-reinforced plastic
  • the supporting member 101 may be a hollow body. If the supporting member 101 is a hollow body, the supporting member 101 can have a light weight and a high dynamic stiffness. Furthermore, if temperature-conditioned air is fed into the hollow of the supporting member 101, the temperature of the convex mirror 12 becomes controllable. Thus, the imaging performance of the projection optical system can be improved.
  • the through hole 11d of the polygonal optical member 11 is provided at a position excluding areas of the polygonal optical member 11 to which the light beam is applied. Note that the diameter of the through hole 11d can be made as large as possible at a position excluding the areas to which the light beam is applied. If the diameter of the through hole 11d is made large, the diameter of the supporting member 101 to be inserted into the through hole 11d can be made large. Accordingly, the stiffness of the supporting member 101 can be increased.
  • Fig. 2 is a schematic diagram of a projection optical system according to a second embodiment of the present invention, illustrating the polygonal optical member 11, the convex mirror 12, and peripheral elements.
  • Fig. 3 is a sectional view of the projection optical system illustrated in Fig. 2 that is taken along an x-y plane.
  • the projection optical system according to the second embodiment includes the polygonal optical member 11 that is the same as that of the first embodiment, a supporting frame 25 that supports the polygonal optical member 11, a supporting frame 26 that supports the supporting member 101, a holding member 27 that holds the polygonal optical member 11, and a supporting shaft 28 that supports the supporting member 101.
  • the holding member 27 that holds the polygonal optical member 11 is in contact with the inner circumference of the through hole 11d provided in the polygonal optical member 11 and surrounds the outer circumference of the supporting member 101.
  • the inside diameter of the holding member 27 is larger than the outside diameter of the supporting member 101. Hence, the holding member 27 is not in contact with the supporting member 101.
  • the holding member 27 is connected to the supporting frame 25.
  • the supporting frame 25 is connected to the lens barrel 13.
  • the supporting member 101 is connected to the supporting frame 26.
  • the supporting frame 26 is connected to the lens barrel 13.
  • the convex mirror 12 is supported by the lens barrel 13 with the aid of the supporting member 101 and the supporting frame 26.
  • the supporting shaft 28 extends through through holes provided in the side faces of the polygonal optical member 11, through holes provided in the supporting frame 25, and through holes provided in the holding member 27.
  • the supporting shaft 28 connects the supporting member 101 and the supporting frame 26 to each other. That is, the supporting shaft 28 serves as an additional supporting member that supports the supporting member 101, with a point between two ends of the supporting member 101 acting as a fulcrum.
  • the supporting member 101 forms a cantilever to the tip of which the convex mirror 12 is attached. In such a configuration, the natural frequency of the supporting member 101 is lowered. Providing the supporting shaft 28 makes it possible to support the supporting member 101 at a position near the convex mirror 12. In such a configuration, the supporting member 101 forms a beam supported at the two ends thereof. Hence, the natural frequency of the supporting member 101 becomes high. Moreover, since the supporting shaft 28 extends through the openings provided in the side faces of the polygonal optical member 11, there is no chance that the supporting shaft 28 may interfere with the light beam traveling in the projection optical system.
  • Fig. 4 is a schematic diagram of a projection optical system according to a third embodiment of the present invention.
  • the projection optical system according to the third embodiment includes the polygonal optical member 11 that is the same as that of the first embodiment, a supporting member 401 provided as a substitute for the supporting member 101 and that supports the convex mirror 12, and a supporting member 46 that supports the supporting member 401.
  • the supporting member 401 extends in the y direction through the through hole provided in the polygonal optical member 11 and supports the convex mirror 12 at the tip thereof.
  • the inside diameter of the through hole provided in the polygonal optical member 11 is larger than the outside diameter of the supporting member 401.
  • the supporting member 401 is not in contact with the polygonal optical member 11.
  • the supporting member 401 includes a less-stiff portion 49 near a center of curvature 40 of the reflecting surface of the convex mirror 12.
  • the less-stiff portion 49 is a ring-shaped recess having a reduced diameter.
  • the supporting member 401 forms a cantilever one end of which is fixed to the supporting member 46.
  • the supporting member 46 is made of a material having a low stiffness.
  • the supporting member 401 including the less-stiff portion 49 has a lower stiffness at the center of curvature 40 of the reflecting surface of the convex mirror 12 than at the other positions excluding the center of curvature 40.
  • the exposure apparatus includes stages that move the mask M and the substrate S, respectively. Disturbance such as reaction forces generated when the stages are driven and vibrations transmitted from the floor on which the exposure apparatus is installed may vibrate the supporting member 401. Vibrations of the supporting member 401 provided in the form of a cantilever are rotational vibrations occurring in the ⁇ X and ⁇ Z directions around the center of curvature 40. That is, the convex mirror 12 vibrates around the center of curvature 40. Accordingly, the reflecting surface of the convex mirror 12 is only displaced within an extension of the reflecting surface, and the displacement of the convex mirror 12 in a direction normal to the reflecting surface is reduced.
  • the deterioration in the imaging performance of the projection optical system due to the displacement of the reflecting surface of the convex mirror 12 is smaller than in the projection optical system according to the related art.
  • the shift of an image projected onto the substrate S is reduced, and the distortion in the image of the pattern projected on the substrate S is therefore reduced. Consequently, defects in the pattern formed on the substrate S and the nonuniformity in the line width of the pattern are reduced.
  • the less-stiff portion 49 only needs to be less stiff. Therefore, the less-stiff portion 49 may be, instead of a recess, a structure such as an elastic hinge member or a less-stiff elastic member.
  • the elastic hinge member is superior in that the center of rotational vibration of the supporting member 401 is easily set to the hinge portion. Examples of the less-stiff elastic member include an aluminum alloy and the like. Such a less-stiff elastic member is superior to the elastic hinge member in that the less-stiff elastic member is less likely to undergo plastic deformation at impact.
  • FIG. 5 is a schematic diagram of the projection optical system according to the fourth embodiment, illustrating the polygonal optical member 11, the convex mirror 12, and peripheral elements.
  • Fig. 6 is a sectional view of the projection optical system illustrated in Fig. 5 that is taken along an x-y plane.
  • the projection optical system according to the fourth embodiment includes the elements employed in the second embodiment, a driving mechanism 52 that moves the polygonal optical member 11, and a driving mechanism 53 that moves the convex mirror 12.
  • the projection optical system according to the fourth embodiment includes a supporting shaft 58 as a substitute for the supporting shaft 28 employed in the second embodiment.
  • the driving mechanisms 52 and 53 each include a driving source such as an actuator.
  • the actuator may be a stepping motor, a linear motor, or the like.
  • the stepping motor is superior in being relatively inexpensive because it is a general actuator and in that position adjustment is easy because the position of an object of moving is controllable on the basis of the number of driving pulses.
  • the linear motor is a linearly driven actuator and therefore does not require a mechanism of converting a rotational motion into a linear motion, which is required in a case where a rotary driving actuator such as a stepping motor is employed. Hence, the linear motor is superior in structural simplicity.
  • the holding member 27 that holds the polygonal optical member 11 has a cylindrical shape and is fitted to the through hole of the polygonal optical member 11.
  • the polygonal optical member 11 and the holding member 27 are integrated with each other.
  • the supporting member 101 extends through the bore of the holding member 27 in such a manner as not to be in contact with the holding member 27.
  • the polygonal optical member 11 and the supporting frame 25 that supports the polygonal optical member 11 each have through holes in the right and left side faces, respectively, thereof, and the supporting shaft 58 connected to the holding member 27 extends through those through holes.
  • the supporting shaft 58 extends through the polygonal optical member 11 and the supporting frame 25 in such a manner as not to be in contact therewith, that is, with a gap provided therebetween.
  • the positions of the polygonal optical member 11 and the convex mirror 12 need to be adjusted.
  • the focal position only the position of the polygonal optical member 11 needs to be adjusted.
  • the position of the convex mirror 12 needs to be adjusted. That is, the polygonal optical member 11 and the convex mirror 12 need to be configured such that the positions thereof are adjustable independently of each other. Therefore, the fourth embodiment employs the driving mechanisms 52 and 53 provided to the polygonal optical member 11 and the convex mirror 12, respectively.
  • the driving mechanism 52 is provided between the supporting frame 25 and the supporting shaft 58. Activating the driving mechanism 52 enables the position of the supporting shaft 58 to be adjusted, with the supporting frame 25 that is connected to the lens barrel 13 being fixed.
  • the supporting shaft 58 is connected to and thus integrated with the polygonal optical member 11 with the holding member 27 interposed therebetween. Therefore, the position of the polygonal optical member 11 is adjustable by the driving mechanism 52.
  • the driving mechanism 52 includes two driving mechanisms 52 provided on the right and left side faces, respectively, of the supporting frame 25.
  • the right and left driving mechanisms 52 each have y and z driving axes.
  • the polygonal optical member 11 is movable linearly in two directions along the y axis and the z axis.
  • the polygonal optical member 11 is driven rotationally around the z axis.
  • the right and left driving mechanisms 52 are driven in opposite directions, respectively, along the z axis, the polygonal optical member 11 is driven rotationally around the y axis.
  • the driving mechanism 53 is provided between the lens barrel 13 and the supporting frame 26. Activating the driving mechanism 53 enables the position of the supporting frame 26 to be adjusted, with the lens barrel 13 being fixed. Thus, the position of the convex mirror 12 is adjustable by the driving mechanism 53 with the aid of the supporting frame 26 and the supporting member 101.
  • the driving mechanism 53 includes two driving mechanisms 53 provided below the right and left side portions, respectively, of the supporting frame 26.
  • the right and left driving mechanisms 53 each have x, y, and z driving axes.
  • the convex mirror 12 is movable linearly in three directions along the x axis, the y axis, and the z axis.
  • the driving mechanisms 53 may be provided between the convex mirror 12 and the supporting member 101. In that case, Activating the driving mechanisms 53 enables the position of the convex mirror 12 to be adjusted, with the supporting member 101 being fixed.
  • the driving mechanisms 53 each have x, y, and z driving axes. Hence, the convex mirror 12 is movable linearly in three directions along the x axis, the y axis, and the z axis. If the driving mechanisms 53 are provided between the lens barrel 13 and the supporting frame 26, the driving mechanisms 53 need to drive three elements, which are the convex mirror 12, the supporting member 101, and the supporting frame 26.
  • the driving mechanisms 53 are provided between the convex mirror 12 and the supporting member 101, the driving mechanisms 53 only need to drive the convex mirror 12. Hence, the total weight of objects of driving is reduced, and the size of the driving mechanisms 53 can be therefore reduced, which is beneficial. Moreover, since the object of driving, i.e., the convex mirror 12, is driven directly, the accuracy of driving is improved, which is also beneficial.
  • the driving mechanisms 53 are provided between the convex mirror 12 and the supporting member 101, the total weight of elements provided around the convex mirror 12 increases. Accordingly, the eigenvalue of the supporting member 101 is lowered.
  • the case where the driving mechanisms 53 are provided between the lens barrel 13 and the supporting frame 26 is superior in that the increase in the total weight of elements provided around the convex mirror 12 is suppressed and the reduction in the eigenvalue of the supporting member 101 is prevented.
  • the driving mechanisms 52 and 53 may each be a manually movable mechanism that is movable by hand.
  • the driving mechanisms 52 and 53 that are manually movable are superior in being simple and inexpensive.
  • Such manually movable driving mechanisms 52 and 53 are also superior in that, since no heat source such as an actuator is provided, there is no chance of deterioration in the imaging performance of the projection optical system due to heat generation.
  • the driving mechanisms 52 and 53 are both provided at positions in the projection optical system that are far from the light beam. Hence, there is no chance that the driving mechanisms 52 and 53 may interfere with the light beam.
  • Fig. 7 is a schematic diagram of a projection optical system according to a fifth embodiment of the present invention, illustrating the polygonal optical member 11, the convex mirror 12, and peripheral elements.
  • the projection optical system according to the fifth embodiment employs a combination of the elements according to the second embodiment and the elements according to the fourth embodiment.
  • the projection optical system according to the fifth embodiment includes the polygonal optical member 11, the supporting frame 25 that supports the polygonal optical member 11, the supporting frame 26 that supports the supporting member 101, the holding member 27 that holds the polygonal optical member 11, the supporting shaft 28 that supports the supporting member 101, the driving mechanism 52 that moves the polygonal optical member 11, the driving mechanism 53 that moves the convex mirror 12, and the supporting shaft 58.
  • the supporting shafts 28 and 58 each extend through the through holes provided in the side faces of the polygonal optical member 11 in such a manner as not to be in contact with the polygonal optical member 11 with a gap interposed therebetween.
  • the polygonal optical member 11 and the convex mirror 12 are moved independently of each other and relative to each other by the respective driving mechanisms 52 and 53.
  • the gap between the supporting shaft 28 and the polygonal optical member 11 is set to a size that is larger than or equal to the length of movement of the polygonal optical member 11 and the convex mirror 12 relative to each other.
  • the supporting shafts 28 and 58 each extend through the through holes provided in the side faces of the polygonal optical member 11. Hence, there is no chance that the supporting shafts 28 and 58 may interfere with the light beam traveling in the projection optical system.
  • Fig. 8 is a schematic diagram of a projection optical system according to a sixth embodiment of the present invention, illustrating the polygonal optical member 11, the convex mirror 12, and peripheral elements.
  • the projection optical system according to the sixth embodiment employs a combination of the elements according to the fourth embodiment and the less-stiff portion 49 according to the third embodiment.
  • the projection optical system according to the sixth embodiment includes the polygonal optical member 11, the supporting frame 25 that supports the polygonal optical member 11, the supporting frame 26 that supports the supporting member 101, the holding member 27 that holds the polygonal optical member 11, the driving mechanism 52 that moves the polygonal optical member 11, the supporting shaft 58, the driving mechanism 53 that moves the convex mirror 12, and the less-stiff portion 49.
  • the less-stiff portion 49 is provided in the form of a ring-shaped recess having a reduced diameter.
  • the supporting member 101 extends through the bore of the holding member 27 in such a manner as not to be in contact with the holding member 27 with a gap interposed therebetween. Hence, vibrations due to disturbance may cause the supporting member 101 to vibrate in such a manner as to rotate around the center of curvature of the convex mirror 12.
  • Such a configuration produces the effect of reducing the displacement in the reflecting surface of the convex mirror 12 and thus reducing the shift of an image projected on the substrate S.
  • the light beam is prevented from being eclipsed by the supporting member 101 or 401 that supports the convex mirror 12.
  • a projection optical system in which favorable imaging performance is maintained is provided.
  • the concave mirror 117 is a single member having the first concave reflecting surface 117a and the second concave reflecting surface 117b
  • the concave mirror 117 may be changed to two members that are independent of each other: specifically, a concave mirror having the first concave reflecting surface 117a, and a concave mirror having the second concave reflecting surface 117b.
  • the configuration of the supporting member 101 or 401 that supports the convex mirror 12 is not limited to those described in the above embodiments.
  • the supporting member 101 or 401 only needs to be a member that does not block or reflect the light beam traveling in the projection optical system even if the beam area in the projection optical system is widened.
  • the supporting member 101 or 401 that supports the convex mirror 12 may be a curved beam, a T-shaped member, or the like.
  • a method of manufacturing a device by using the above exposure apparatus will now be described.
  • the device is manufactured through the following steps: a step of performing exposure by using the above exposure apparatus upon a substrate (a wafer, a glass substrate, or the like) to which photoresist has been applied, a step of developing the substrate (the photoresist), and other known steps.
  • the other known steps include etching, resist stripping, dicing, bonding, packaging, and so forth.

Landscapes

  • Physics & Mathematics (AREA)
  • General Physics & Mathematics (AREA)
  • Health & Medical Sciences (AREA)
  • Optics & Photonics (AREA)
  • Toxicology (AREA)
  • Environmental & Geological Engineering (AREA)
  • Epidemiology (AREA)
  • Public Health (AREA)
  • Engineering & Computer Science (AREA)
  • Atmospheric Sciences (AREA)
  • Life Sciences & Earth Sciences (AREA)
  • Exposure Of Semiconductors, Excluding Electron Or Ion Beam Exposure (AREA)
  • Exposure And Positioning Against Photoresist Photosensitive Materials (AREA)
  • Lenses (AREA)
  • Optical Elements Other Than Lenses (AREA)
PCT/JP2015/005744 2014-12-02 2015-11-17 Projection optical system, exposure apparatus, and device manufacturing method Ceased WO2016088314A1 (en)

Priority Applications (3)

Application Number Priority Date Filing Date Title
KR1020177017295A KR101968432B1 (ko) 2014-12-02 2015-11-17 투영 광학계, 노광 장치, 및 디바이스 제조 방법
US15/526,277 US10495978B2 (en) 2014-12-02 2015-11-17 Projection optical system, exposure apparatus, and device manufacturing method
CN201580064782.8A CN107003615B (zh) 2014-12-02 2015-11-17 投影光学系统、曝光装置和器件制造方法

Applications Claiming Priority (2)

Application Number Priority Date Filing Date Title
JP2014244333A JP6386896B2 (ja) 2014-12-02 2014-12-02 投影光学系、露光装置、および、デバイス製造方法
JP2014-244333 2014-12-02

Publications (1)

Publication Number Publication Date
WO2016088314A1 true WO2016088314A1 (en) 2016-06-09

Family

ID=56091280

Family Applications (1)

Application Number Title Priority Date Filing Date
PCT/JP2015/005744 Ceased WO2016088314A1 (en) 2014-12-02 2015-11-17 Projection optical system, exposure apparatus, and device manufacturing method

Country Status (6)

Country Link
US (1) US10495978B2 (enExample)
JP (1) JP6386896B2 (enExample)
KR (1) KR101968432B1 (enExample)
CN (1) CN107003615B (enExample)
TW (2) TWI609251B (enExample)
WO (1) WO2016088314A1 (enExample)

Families Citing this family (2)

* Cited by examiner, † Cited by third party
Publication number Priority date Publication date Assignee Title
JP7075302B2 (ja) 2018-07-23 2022-05-25 キヤノン株式会社 光学装置、投影光学系、露光装置、および物品の製造方法
JP7204400B2 (ja) * 2018-09-28 2023-01-16 キヤノン株式会社 露光装置及び物品の製造方法

Citations (6)

* Cited by examiner, † Cited by third party
Publication number Priority date Publication date Assignee Title
JPH0689844A (ja) * 1992-09-09 1994-03-29 Toshiba Corp 露光装置
JP2001326160A (ja) * 2000-05-16 2001-11-22 Seiko Epson Corp 反射投影露光装置の歪み検出機構
US20080252871A1 (en) * 2007-04-13 2008-10-16 Orc Manufacturing Co., Ltd. Projection exposure apparatus
JP2010020017A (ja) * 2008-07-09 2010-01-28 Canon Inc 投影光学系、露光装置およびデバイス製造方法
JP2011082311A (ja) * 2009-10-06 2011-04-21 Canon Inc 投影光学系、露光装置及びデバイス製造方法
JP2011108793A (ja) * 2009-11-16 2011-06-02 Canon Inc 露光装置およびデバイス製造方法

Family Cites Families (10)

* Cited by examiner, † Cited by third party
Publication number Priority date Publication date Assignee Title
JP2005345582A (ja) 2004-06-01 2005-12-15 Dainippon Screen Mfg Co Ltd 投影光学系およびパターン描画装置
US7184124B2 (en) 2004-10-28 2007-02-27 Asml Holding N.V. Lithographic apparatus having an adjustable projection system and device manufacturing method
JP2008263092A (ja) 2007-04-13 2008-10-30 Orc Mfg Co Ltd 投影露光装置
JP2008311498A (ja) * 2007-06-15 2008-12-25 Orc Mfg Co Ltd 反射型露光装置
JP5201979B2 (ja) 2007-12-26 2013-06-05 キヤノン株式会社 露光装置およびデバイス製造方法
US8508735B2 (en) 2008-09-22 2013-08-13 Nikon Corporation Movable body apparatus, movable body drive method, exposure apparatus, exposure method, and device manufacturing method
US8773635B2 (en) 2008-12-19 2014-07-08 Nikon Corporation Exposure apparatus, exposure method, and device manufacturing method
JP5116726B2 (ja) * 2009-06-01 2013-01-09 キヤノン株式会社 露光装置およびデバイス製造方法
JP6041541B2 (ja) 2012-06-04 2016-12-07 キヤノン株式会社 露光装置及びデバイス製造方法
JP6410406B2 (ja) 2012-11-16 2018-10-24 キヤノン株式会社 投影光学系、露光装置および物品の製造方法

Patent Citations (6)

* Cited by examiner, † Cited by third party
Publication number Priority date Publication date Assignee Title
JPH0689844A (ja) * 1992-09-09 1994-03-29 Toshiba Corp 露光装置
JP2001326160A (ja) * 2000-05-16 2001-11-22 Seiko Epson Corp 反射投影露光装置の歪み検出機構
US20080252871A1 (en) * 2007-04-13 2008-10-16 Orc Manufacturing Co., Ltd. Projection exposure apparatus
JP2010020017A (ja) * 2008-07-09 2010-01-28 Canon Inc 投影光学系、露光装置およびデバイス製造方法
JP2011082311A (ja) * 2009-10-06 2011-04-21 Canon Inc 投影光学系、露光装置及びデバイス製造方法
JP2011108793A (ja) * 2009-11-16 2011-06-02 Canon Inc 露光装置およびデバイス製造方法

Also Published As

Publication number Publication date
JP6386896B2 (ja) 2018-09-05
US10495978B2 (en) 2019-12-03
KR101968432B1 (ko) 2019-04-11
JP2016109741A (ja) 2016-06-20
KR20170088938A (ko) 2017-08-02
CN107003615B (zh) 2019-01-25
TW201734668A (zh) 2017-10-01
TW201621476A (zh) 2016-06-16
TWI609251B (zh) 2017-12-21
US20170315448A1 (en) 2017-11-02
CN107003615A (zh) 2017-08-01
TWI588623B (zh) 2017-06-21

Similar Documents

Publication Publication Date Title
US8467117B2 (en) Pattern generation systems and high bandwidth focus control system with suppressed reaction forces and noise
US7148952B2 (en) Lithographic apparatus and device manufacturing method
TW200923593A (en) Lithographic apparatus, projection assembly and active damping
KR20040030315A (ko) 리소그래피장치 및 디바이스 제조방법
US10495978B2 (en) Projection optical system, exposure apparatus, and device manufacturing method
JP5206132B2 (ja) 光学素子保持装置、光学系、露光装置、デバイスの製造方法
KR20090097826A (ko) 광학소자 지지장치, 경통, 노광장치 및 디바이스 제조 방법
US7333179B2 (en) Moving mechanism with high bandwidth response and low force transmissibility
KR102193387B1 (ko) 보유 지지 장치, 투영 광학계, 노광 장치 및 물품 제조 방법
JP6352953B2 (ja) 光学系の少なくとも1つの素子を作動させる構成体
JP2003037153A (ja) 保持装置、ステージ装置、および露光装置ならびに半導体デバイス
WO2020209343A1 (ja) レンズ鏡筒及び画像投射装置
KR20230009492A (ko) 스테이지 장치, 노광 장치, 플랫 패널 디스플레이의 제조 방법, 및 디바이스 제조 방법
KR102165797B1 (ko) 광학 장치, 노광 장치 및 물품의 제조 방법
JP7075302B2 (ja) 光学装置、投影光学系、露光装置、および物品の製造方法
JP2018066958A (ja) 光学装置、投影光学系、露光装置及び物品の製造方法
JP2006339500A (ja) 微動装置及び光学素子調整装置
KR102202272B1 (ko) 위치 조정 기구, 노광 장치 및 물품의 제조 방법
US20250013067A1 (en) De-speckle mechanism
KR102782495B1 (ko) 광학장치, 노광장치 및 물품 제조방법
JP5328297B2 (ja) 露光装置およびデバイス製造方法
JP2006319047A (ja) 微動装置及び光学素子調整装置
JP2007108577A (ja) 走査光学装置及び画像形成装置
KR940012541A (ko) 축소투영 노광장치용 이중구조 레티클(Reticle) 구동계

Legal Events

Date Code Title Description
121 Ep: the epo has been informed by wipo that ep was designated in this application

Ref document number: 15865811

Country of ref document: EP

Kind code of ref document: A1

WWE Wipo information: entry into national phase

Ref document number: 15526277

Country of ref document: US

NENP Non-entry into the national phase

Ref country code: DE

ENP Entry into the national phase

Ref document number: 20177017295

Country of ref document: KR

Kind code of ref document: A

122 Ep: pct application non-entry in european phase

Ref document number: 15865811

Country of ref document: EP

Kind code of ref document: A1