WO2015163128A1 - クラッチ装置 - Google Patents

クラッチ装置 Download PDF

Info

Publication number
WO2015163128A1
WO2015163128A1 PCT/JP2015/060746 JP2015060746W WO2015163128A1 WO 2015163128 A1 WO2015163128 A1 WO 2015163128A1 JP 2015060746 W JP2015060746 W JP 2015060746W WO 2015163128 A1 WO2015163128 A1 WO 2015163128A1
Authority
WO
WIPO (PCT)
Prior art keywords
elastic
elastic member
axial direction
force
state
Prior art date
Legal status (The legal status is an assumption and is not a legal conclusion. Google has not performed a legal analysis and makes no representation as to the accuracy of the status listed.)
Ceased
Application number
PCT/JP2015/060746
Other languages
English (en)
French (fr)
Japanese (ja)
Inventor
山田 裕之
和正 楠瀬
彰一 山崎
太郎 塩崎
Current Assignee (The listed assignees may be inaccurate. Google has not performed a legal analysis and makes no representation or warranty as to the accuracy of the list.)
Aisin Corp
Original Assignee
Aisin Seiki Co Ltd
Priority date (The priority date is an assumption and is not a legal conclusion. Google has not performed a legal analysis and makes no representation as to the accuracy of the date listed.)
Filing date
Publication date
Application filed by Aisin Seiki Co Ltd filed Critical Aisin Seiki Co Ltd
Priority to EP15783088.6A priority Critical patent/EP3135942A4/en
Priority to CN201580015459.1A priority patent/CN106715943B/zh
Publication of WO2015163128A1 publication Critical patent/WO2015163128A1/ja
Anticipated expiration legal-status Critical
Ceased legal-status Critical Current

Links

Images

Classifications

    • FMECHANICAL ENGINEERING; LIGHTING; HEATING; WEAPONS; BLASTING
    • F16ENGINEERING ELEMENTS AND UNITS; GENERAL MEASURES FOR PRODUCING AND MAINTAINING EFFECTIVE FUNCTIONING OF MACHINES OR INSTALLATIONS; THERMAL INSULATION IN GENERAL
    • F16DCOUPLINGS FOR TRANSMITTING ROTATION; CLUTCHES; BRAKES
    • F16D13/00Friction clutches
    • F16D13/58Details
    • F16D13/583Diaphragm-springs, e.g. Belleville
    • F16D13/585Arrangements or details relating to the mounting or support of the diaphragm on the clutch on the clutch cover or the pressure plate

Definitions

  • Embodiments of the present invention relate to a clutch device.
  • a clutch device provided with an elastic member for assisting an operation force for releasing a clutch is known (see, for example, Patent Document 1).
  • the characteristic of the assisting force according to the stroke (position) of the operation portion is obtained by the plurality of elastic members.
  • the clutch device is provided with a first member rotatably provided about the rotation center, and is rotatably provided about the rotation center, and is directed toward the first member at least in the axial direction of the rotation center.
  • a second transmission state provided so as to be switchable between a transmission state in which torque is transmitted by friction with the first member and a shut-off state in which torque is not transmitted between the first member and the first member;
  • a first elastic member that elastically deforms in the axial direction in response to a change in the position of the direction to generate an elastic force in a direction to press
  • the clutch device supports, for example, the second elastic member in the axial direction in the first posture in which the second elastic member is elastically deformed, and the second elastic member In a state in which the second support member does not support the second elastic member in a state in which the second support member elastically deforms, and in a state in which at least the second elastic member is in the second support member And a fourth member having a second support portion for axially supporting the second elastic member.
  • the support portion (the support state, the support position) in which the fourth member supports the second elastic member according to the change in the posture of the second elastic member accompanying the movement of the third member ) Changes.
  • the change amount of the elastic force generated by the second elastic member with respect to the change amount of the position of the third member changes. That is, according to the clutch device of the present embodiment, for example, the characteristic that the change amount of the elastic force of the second elastic member with respect to the change amount of the position of the third member changes according to the position of the third member, It is obtained by a relatively simple configuration.
  • the second elastic member is in the first position in the first movement section of the third member, and is in the second position than the first movement section.
  • the second movement section has a second posture in the second movement section, and the change amount of the elastic force of the second elastic member with respect to the change amount in the axial direction of the position of the third member in the first movement section. Is larger than the amount of change in the elastic force of the second elastic member with respect to the amount of change in the axial direction of the position of the third member in the second movement section.
  • the first member and the second member are in the transmitting state
  • the amount of change in the elastic force of the second elastic member with respect to the amount of change in the axial direction of the position of the third member is smaller than that in the movement section of (5). Therefore, the change of the operating force in the case of moving the third member in the axial direction in the slipping state is smaller.
  • the fourth member is interposed between the third member and the second member, is rotatably provided about the rotation center, and moves along the axial direction.
  • the second elastic member is provided on the opposite side of the fourth member with respect to the fourth member in the axial direction. Therefore, the configuration in which the support portion for supporting the second elastic member by the fourth member changes according to the change in the posture of the second elastic member accompanying the movement of the third member is realized by a relatively simple configuration It can be done.
  • the clutch device has, for example, a first contact portion in contact with the first elastic member, and a second contact portion in contact with the second elastic member, and the first elastic member
  • the fourth member is located outside the third member and the second member, is rotatably provided about the rotation center, and moves along the axial direction.
  • the second elastic member is provided on the same side as the second member of the fourth member.
  • the clutch device has, for example, a first contact portion in contact with the first elastic member, and a second contact portion in contact with the second elastic member, and the first elastic member
  • a fifth member interposed between the second elastic member and the second elastic member, the fifth member moving along the axial direction as the third member moves along the axial direction; Are located outside the fifth member and the second member.
  • the second elastic member is a disc spring configured in an annular shape around the rotation center. Therefore, the second elastic member can be realized by a relatively simple configuration.
  • the second elastic member may be a disc spring portion configured in an annular shape around the rotation center, and a plate spring portion extending along the radial direction of the rotation center from the disc spring portion. And. Therefore, the degree of freedom in setting the elastic force of the second elastic member is high as compared with the case where the second elastic member is constituted only by the disc spring portion.
  • the plate spring portion may be a first plate portion extending from the disc spring portion along a radial direction of the rotation center, and a circumferential direction of the rotation center from the first plate portion. And a second plate portion extending along the same. Therefore, compared with the structure which the whole leaf
  • the first support portion is formed in an annular shape around the rotation center.
  • the second elastic member can be supported more stably.
  • the clutch device is, for example, a third elastic member different from the second elastic member, which generates an elastic force against the force applied to the third member by the first elastic member in the disconnected state. Equipped with Thus, for example, in the closed state, the third member can be given an elastic force that resists the force exerted by the first elastic member.
  • a third elastic member is widely known as a strap 24a described in prior art document 2 of Patent Document 1, but the elastic force is determined by the elastic force of the first and second elastic members. Small compared to.
  • the clutch device is, for example, a sixth member interposed between the first elastic member and the second elastic member, and moving in the axial direction integrally with the third member; and the sixth member Is interposed between the second member and the second member, and in a state where the third member is positioned at the first position, the third member abuts against the sixth member in the axial direction, and the third member And a seventh member spaced apart in the axial direction from the sixth member in a state where the second position is located on the second position side of the first position. Therefore, for example, the elastic force of the first elastic member can be easily reduced.
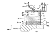
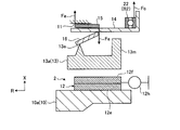
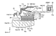
  • FIG. 1 is a cross-sectional view of the clutch device of the first embodiment.
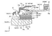
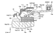
  • FIG. 2 is a cross-sectional view of a part of the clutch device of the first embodiment, in which the clutch device is in the transmission state.
  • FIG. 3 is a cross-sectional view of a part of the clutch device of the first embodiment, in which the clutch device is in a slipping state.
  • FIG. 4 is a cross-sectional view of a part of the clutch device of the first embodiment, in which the clutch device starts to be disengaged.
  • FIG. 5 is a cross-sectional view of a part of the clutch device of the first embodiment, in which the clutch device is in the disengaged state.
  • FIG. 6 is a graph showing the relationship between the position of the third member of the clutch device of the first embodiment and the force generated by each elastic member.
  • FIG. 7 is a cross-sectional view of the clutch device of the second embodiment.
  • FIG. 8 is a cross-sectional view of a portion of the second elastic member in the clutch device of the second embodiment, as viewed from the axial direction.
  • FIG. 9 is a cross-sectional view of a portion of the clutch device of the second embodiment, corresponding to the cross section taken along the line IX-IX of FIG.
  • FIG. 10 is a view showing a leaf spring portion of the second elastic member at the line of sight of arrow E in FIG.
  • FIG. 11 is a cross-sectional view of the clutch device of the third embodiment.
  • FIG. 12 is a cross-sectional view of a part of the clutch device of the third embodiment.
  • FIG. 13 is a view showing a part of the second elastic member in the clutch device of the fourth embodiment as viewed from the axial direction.
  • FIG. 14 is a cross-sectional view of a portion of the clutch device of the fourth embodiment, corresponding to the XIV-XIV cross section of FIG.
  • FIG. 15 is a view showing a part of the second elastic member in the clutch device of the fifth embodiment as viewed from the axial direction.
  • FIG. 16 is a cross-sectional view of a portion of the clutch device of the fifth embodiment, corresponding to the XVI-XVI cross section of FIG.
  • FIG. 17 is a cross-sectional view of the clutch device of the sixth embodiment.
  • FIG. 18 is a cross-sectional view of the clutch device of the seventh embodiment.
  • FIG. 19 is a cross-sectional view of a portion of the clutch device of the seventh embodiment, in which the clutch device is in the transmission state.
  • FIG. 20 is a cross-sectional view of a portion of the clutch device of the seventh embodiment, in which the clutch device is in a slipping state.
  • FIG. 21 is a cross-sectional view of a portion of the clutch device of the seventh embodiment, in which the clutch device is in the disengaged state.
  • FIG. 22 is a graph showing the relationship between the position of the third member of the clutch device of the seventh embodiment and the force generated by each elastic member.
  • FIG. 23 is a cross-sectional view of the clutch device of the eighth embodiment.
  • FIG. 24 is a cross-sectional view of the clutch device of the ninth embodiment.
  • FIG. 25 is a cross-sectional view of a portion of the clutch device of the ninth embodiment, in which the clutch device is in the transmission state.
  • FIG. 26 is a cross-sectional view of a portion of the clutch device of the ninth embodiment, in which the clutch device is in a slipping state.
  • FIG. 27 is a cross-sectional view of a portion of the clutch device of the ninth embodiment, in which the clutch device is in the disengaged state.
  • FIG. 28 is an explanatory view of the variation in elastic force of each elastic member in the ninth embodiment.
  • FIG. 29 is a cross-sectional view of the clutch device of the tenth embodiment.
  • the following embodiments include similar components. Common components are given the same reference numerals, and duplicate explanations are omitted.
  • the axial direction is the axial direction of the rotation center Ax (rotational axis)
  • the radial direction is the radial direction of the rotation center Ax
  • the circumferential direction is the circumferential direction of the rotation center Ax.
  • the other side in the axial direction is indicated by an arrow X
  • the outer side in the radial direction (the side moving away from the rotation center Ax, radial direction) is indicated by an arrow R.
  • the clutch device 1 of the present embodiment is positioned between an engine (a power unit, not shown) and a transmission (a transmission, not shown).
  • the clutch device 1 may be provided not only between the engine and the transmission but also at other positions, and may be provided also in various vehicles (for example, hybrid vehicles), machines having rotating elements, etc. .
  • the clutch device 1 is a so-called single clutch provided with one rotation transmission unit 2.
  • the clutch device 1 is rotated by the rotation transmission unit 2 by moving a movable portion (members 14, 23, the bearing 22, etc.) along an axial direction by an actuator (not shown) controlled by an ECU (not shown). It is possible to switch between a transmission state in which (torque) is transmitted and a blocking state in which the transmission of rotation in the rotation transmission unit 2 is blocked.
  • the rotation transmitting unit 2 can change the torque transmitted between the member 10 (for example, a flywheel) and the member 12 (shaft 100).
  • the member 10 is one of a torque input member and an output member, and the shaft 100 (member 12) is the other.
  • the member 10 is connected (coupled, fixed) to a crankshaft (not shown) of the engine, and the shaft 100 is connected (coupled, fixed) to a rotating portion of the transmission.
  • the rotation transmission unit 2 can also transmit rotation in a so-called half clutch state where the output torque is reduced with respect to the input torque.
  • the member 10 is located on one side in the axial direction (left side in FIG. 1) in the clutch device 1.
  • the member 10 is provided rotatably around the rotation center Ax.
  • the member 10 functions as an inertial body (fly wheel).
  • the member 10 is coupled to and supported by, for example, a bolt (not shown) on a crankshaft (not shown) of the engine.
  • the member 10 has a wall 10a.
  • the wall portion 10a is formed in an annular shape around the rotation center Ax.
  • the wall 10a is formed in a disk shape.
  • the wall 10 a extends in a direction intersecting (substantially orthogonal) with the rotation center Ax.
  • the wall 10a has a surface 10b.
  • the surface 10 b is provided on the other side of the wall 10 a in the axial direction.
  • the surface 10 b faces the member 11.
  • the member 10 is an example of a first member.
  • a member 11 (for example, a clutch cover) is located on the other side (right side in FIG. 1) of the clutch device 1 in the axial direction.
  • the member 11 is rotatably provided around the rotation center Ax.
  • the member 11 is configured in a dome shape that bulges on the other side in the axial direction about the rotation center Ax.
  • the member 11 covers the members 12 to 14 and the elastic members 15 and 16.
  • the member 11 is rotatably supported by the projection 101 via a bearing 17.
  • the protrusion 101 is connected (coupled, fixed) to a transmission case (not shown).
  • the protrusion part 101 is comprised in the cylindrical form centering on rotation center Ax.
  • the member 11 is connected (coupled, fixed) to the member 10 by the couplers 18 and 19 (for example, bolts and nuts).
  • the couplers 18 and 19 for example, bolts and nuts.
  • one axial end of the member 11 is coupled to the member 10, and the other axial end of the member 11 is rotatably supported by the projection 101 via the bearing 17.
  • the bearing 17 is, for example, a ball bearing.
  • the member 11 rotates relative to the protrusion 101 integrally with the member 10.
  • the member 11 is an example of a cover.
  • the member 11 has wall portions 11a and 11b and a protrusion 11c.
  • the wall portion 11a is positioned inward in the radial direction of the member 11 (rotation center Ax side, side approaching the rotation center Ax), and has a cylindrical shape.
  • the wall portion 11 b extends radially outward from one axial end of the wall portion 11 a.
  • the radial outer end of the wall 11b is located on one side in the axial direction of the radial inner end of the wall 11b.
  • the protrusion 11 c protrudes toward one side in the axial direction from a position between the radial outer end and the radial inner end of the wall 11 b.
  • the protrusion 11 c can be configured, for example, as a portion where the wall 11 b is partially bent.
  • the protrusion 11 c is configured in an annular shape around the rotation center Ax.
  • the protrusion part 11c does not need to extend over the perimeter along a circumferential direction, and several protrusion part 11c may be provided at intervals in the circumferential direction.
  • the members 12 to 14 and the elastic members 15 and 16 are located between the member 10 and the member 11 in the clutch device 1.
  • the member 12 e.g., a clutch disk, a damper device
  • the member 12 is rotatably provided around the rotation center Ax.
  • the member 12 is configured in a flat disk shape that is thin in the axial direction as a whole.
  • the member 12 (wall portion 12 a) constitutes the rotation transmission unit 2 together with the members 10 and 13.
  • a state where the member 12 is axially sandwiched between the member 10 and the member 13 and rotated integrally with the members 10 and 13 by the frictional force between them is the transmission state of the rotation transmission unit 2.
  • the member 12 is an example of a second member.
  • the wall 12 a constitutes a part of the member 12.
  • the wall portion 12 a is located radially outward of the member 12.
  • the wall 12a is formed in an annular shape around the rotation center Ax.
  • the wall 12a is formed in a disk shape.
  • the wall 12a extends in a direction intersecting (substantially orthogonal) with the rotation center Ax.
  • a friction material 12e is coupled (fixed) to the surface on one side in the axial direction of the wall 12a.
  • the friction material 12 f is coupled (fixed) to the other surface of the wall 12 a in the axial direction.
  • the friction members 12e and 12f are bonded to the wall portion 12a by bonding, a bonding tool or the like.
  • the friction members 12e and 12f are configured in an annular and plate shape around the rotation center Ax.
  • the friction members 12e and 12f may not be annular.
  • a plurality of rectangular friction members 12e and 12f may be arranged around the rotation center Ax.
  • the friction material 12e and the friction material 12f overlap each other in the axial direction.
  • the friction material 12e is located between the wall 12a and the member 10 (surface 10b), and the friction material 12f is located between the wall 12a and the member 13 (surface 13b).
  • the member 12 can be sandwiched between the member 10 and the member 13 via the friction members 12e and 12f.
  • the walls 12 b and 12 c constitute a part of the member 12.
  • the wall portions 12 b and 12 c are located radially inward of the wall portion 12 a.
  • the walls 12b, 12c are at least partially axially spaced from one another.
  • the wall 12 b is located on one side in the axial direction of the wall 12 c.
  • the wall portions 12 b and 12 c are configured in an annular and plate shape around the rotation center Ax.
  • the walls 12b and 12c extend in a direction intersecting (substantially orthogonal) with the rotation center Ax.
  • the walls 12b and 12c are substantially parallel to each other.
  • the radial outer end of the wall 12 b is connected (coupled, fixed) to the radial inner end of the wall 12 a.
  • Openings 12i and 12j are provided in the walls 12b and 12c, respectively.
  • the openings 12i and 12j are through holes axially penetrating the walls 12b and 12c.
  • the openings 12i and 12j overlap each other in the axial direction.
  • the walls 12a to 12c integrally rotate around the rotation center Ax.
  • the wall portion 12 d constitutes a part of the member 12.
  • the wall 12 d is located between the wall 12 b and the wall 12 c.
  • the wall portion 12 d is formed in an annular and plate shape around the rotation center Ax.
  • the wall 12 d extends in a direction intersecting (substantially orthogonal) to the rotation center Ax.
  • the wall portion 12d is provided so as to be relatively rotatable around the wall portions 12b and 12c and the rotation center Ax.
  • the relative rotation between the wall 12 d and the walls 12 b and 12 c is limited within a predetermined angle range, for example, by abutment of stoppers (not shown).
  • An opening 12k is provided in the wall 12d.
  • the opening 12k is a notch that is opened radially outward at the radial outer end of the wall 12d. Further, the opening 12k penetrates the wall 12d in the axial direction. The openings 12i, 12j, 12k overlap each other in the axial direction.
  • the cylindrical portion 12 g (e.g., a sleeve) constitutes a part of the member 12.
  • the cylindrical portion 12g is positioned radially inward of the wall portions 12b to 12d.
  • the cylindrical portion 12g is provided rotatably around the rotation center Ax.
  • the cylindrical portion 12g is configured in a cylindrical shape (circular tubular shape) around the rotation center Ax.
  • the shaft 100 is inserted into the inside of the cylinder of the cylinder portion 12g.
  • the cylindrical portion 12g is caught in the circumferential direction with the wall portion 12d and the shaft 100.
  • the cylindrical portion 12 g rotates integrally with the wall portion 12 d and the shaft 100.
  • the cylindrical portion 12g rotatably supports the wall portions 12b and 12c around the rotation center Ax. That is, the cylindrical portion 12g also functions as a bearing of the wall portions 12b and 12c.
  • the elastic member 12 h constitutes a part of the member 12.
  • the elastic member 12 h is interposed between the wall portions 12 b and 12 c and the wall portion 12 d.
  • the elastic member 12 h transmits torque between the wall portions 12 b and 12 c and the wall portion 12 d.
  • the elastic member 12 h functions as a compression spring that elastically contracts (elastically deforms, expands and contracts) along the circumferential direction.
  • the elastic member 12 h is a coil spring.
  • the elastic member 12h is accommodated in the openings 12i and 12j and the opening 12k.
  • the openings 12i and 12j containing the elastic member 12h and the openings 12k overlap each other in the axial direction.
  • the elastic member 12 h expands and contracts in the circumferential direction of the member 12 according to relative rotation between the wall portions 12 b and 12 c and the wall portion 12 d.
  • the elastic member 12 h elastically stores the torque as a compressive force by being contracted, and releases the compressive force as a torque by being elastically expanded. That is, the elastic member 12h can reduce the torque fluctuation between the wall portions 12b and 12c and the wall portion 12d.
  • the sheet members 24 (retainers, protective members) are also accommodated in the openings 12i and 12j and the opening 12k.
  • the sheet member 24 is interposed between the edge of the openings 12i, 12j, 12k and the elastic member 12h.
  • the sheet member 24 can hold the elastic member 12 h in a more desired posture.
  • the sheet member 24 can suppress the wear of the elastic member 12 h due to the friction with the wall portions 12 b, 12 c, and 12 d.
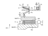
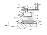
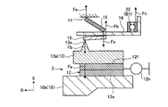
  • the member 13 (for example, a pressure plate) is located on the opposite side to the member 10 of the member 12 (wall 12a).
  • the member 13 is provided rotatably around the rotation center Ax.
  • the member 13 has a wall 13a.
  • the wall portion 13a is formed in an annular and plate shape around the rotation center Ax.
  • the wall 13 a extends in a direction intersecting (substantially orthogonal) with the rotation center Ax.
  • the wall 13a has surfaces 13b and 13c.
  • the surface 13b is located on one side in the axial direction of the wall 13a, and the surface 13c is located on the other side in the axial direction of the wall 13a.
  • the member 13 is an example of a fourth member.
  • the surface 13c has protrusions 13e and 13f.
  • the protrusions 13e and 13f are each formed in an annular shape around the rotation center Ax.
  • the protrusion 13 f is located radially inward of the protrusion 13 e.
  • the protrusions 13e and 13f are located between the radial outer end (edge) and the radial inner end (edge) on the surface 13c.
  • the protrusions 13e and 13f protrude toward the elastic member 16 (the other side in the axial direction).
  • the protrusion 13 f is an example of a first support
  • the protrusion 13 e is an example of a second support.
  • the member 13 and the member 11 are connected (coupled) via an elastic member 20 (strap, elastic portion).
  • the elastic member 20 is different from the elastic member 16.
  • a plurality of (for example, three) elastic members 20 are provided at the radial outer end of the member 13 at intervals in the circumferential direction.
  • the elastic member 20 extends, for example, in the circumferential direction on the radially outer side than the radial outer end of the member 13 and extends from the member 13 to the other side in the axial direction.
  • the elastic member 20 and the member 13 are connected (joined) by a coupler (for example, a rivet or the like, not shown) or welding.
  • the elastic member 20 and the wall portion 11b of the member 11 are connected (coupled or fixed) via a connector 21 (for example, a rivet or the like).
  • a connector 21 for example, a rivet or the like.
  • the elastic member 20 elastically deforms along with the axial movement of the member 13 (wall portion 13a). That is, the elastic member 20 applies an elastic force to the member 13 according to the position of the member 13 in the axial direction.
  • the elastic member 20 may be configured as a part of the member 13 (integrally with the member 13).
  • the elastic member 20 is an example of a third elastic member.
  • the member 14 (release plate) is located on the opposite side to the member 13 of the elastic member 16.
  • the member 14 is interposed between the elastic member 16 and the elastic member 15.
  • the member 14 is provided rotatably around the rotation center Ax.
  • the member 14 is configured in a circular and plate shape around the rotation center Ax.
  • the member 14 has a cylindrical portion 14a and a wall portion 14b.
  • the cylindrical portion 14 a is located inside the member 14 in the radial direction.
  • the cylindrical portion 14a is formed in a cylindrical shape around the rotation center Ax.
  • the cylindrical portion 14 a covers the shaft 100 from the outer side in the radial direction.
  • the wall portion 14 b extends radially outward from the cylindrical portion 14 a.
  • the wall portion 14b is formed in a relatively flat conical shape.
  • the wall portion 14b has surfaces 14c and 14d.
  • the surface 14c is a surface on one side in the axial direction of the wall portion 14b.
  • the surface 14 d is the surface on the other side in the axial direction of the wall portion 14 b.
  • the member 14 is an example of a fifth member.
  • Protrusions 14e and 14f are provided on the outer side in the radial direction of the wall 14b.
  • the protrusion 14 f is located radially outward of the protrusion 14 e.
  • the protrusion 14 e is located radially inward of the protrusion 13 f.
  • the protrusion 14 e is provided on the surface 14 c and protrudes on one side in the axial direction.
  • the protrusion 14 e contacts the elastic member 16.
  • the protrusion 14 f is provided on the surface 14 d and protrudes toward the other side in the axial direction.
  • the protrusion 14 f contacts the elastic member 15.
  • the protrusion 14 e is an example of a second contact portion, and the protrusion 14 f is an example of a first contact portion.
  • a guide portion 14g (support portion) is provided on the wall portion 14b.
  • the guide portion 14g extends from the wall portion 14b to one side in the axial direction.
  • the guide portion 14 g is located on the inner side in the radial direction of the annular elastic member 16.
  • the guide portion 14g is provided in a predetermined range (part) around the rotation center Ax.
  • the guide portion 14g radially supports the elastic member 16 moving in the radial direction and in contact with the guide portion 14g.
  • the guide portion 14g may be provided in an annular shape around the rotation center Ax.
  • the member 14 is rotatably supported by the member 23 via a bearing 22.
  • the bearing 22 is a ball bearing.
  • the member 23 is axially movably supported by the projection 101.
  • the recess of the member 23 and the claw of the fork are fitted and locked. That is, the member 23 can not rotate around the rotation center Ax, similarly to the protrusion 101.
  • the bearing 22 and the member 14 move axially. That is, the member 14 is movable along the axial direction.
  • the members 10, 11, 13 and 14 and the elastic members 15 and 16 integrally rotate around the rotation center Ax.
  • the member 12 and the shaft 100 integrally rotate around the rotation center Ax.
  • the member 12 and the shaft 100 rotate integrally with the members 10, 11, 13 and 14 and the elastic members 15 and 16.
  • the member 12 and the shaft 100 can rotate independently of the members 10, 11, 13, 14 and the elastic members 15, 16.
  • the members 10 to 14 and the elastic members 15 and 16 may be made of a metal material (for example, an iron-based material).
  • the friction members 12e and 12f may be made of, for example, a synthetic resin material containing a glass fiber material, a synthetic rubber, or the like.
  • the bearing 22 and the member 14 move to one side in the axial direction.
  • the member 13 is pushed to the one side in the axial direction via the elastic member 16.
  • the wall portion 12a of the member 12 includes the member 10 and the member via the friction members 12e and 12f. 13 torque (rotation) is transmitted between the members 10 and 13 and the member 12 by friction.
  • This state is the transmission state of the rotation transmission unit 2.
  • the bearing 22 and the member 14 move to the other side in the axial direction.
  • the member 23 has a position B1 (first position, FIG. 2) to which torque is transmitted by friction between the member 10 and the member 12 and a position B2 to which torque is not transmitted between the member 10 and the member 12 It is movable along the axial direction between (the second position, FIG. 5).
  • the rotation transmitting unit 2 When the member 23 is positioned at the position B1, the rotation transmitting unit 2 is in the transmitting state, and when the member 23 is positioned at the position B2, the rotation transmitting portion 2 is in the blocking state.
  • the member 23 is connected to the actuator via an operation member (not shown). The member 23 moves in the axial direction in response to the operation force (driving force) of the actuator.
  • the force of the elastic members 15, 16, 20 is transmitted to the member 23 and thus to the operation member via the member 14 and the bearing 22.
  • the member 23 may be moved by the operation of the clutch pedal by the operator (driver) without using the actuator.
  • the member 23 and the bearing 22 are an example of a third member.
  • the elastic member 15 is interposed between the member 11 and the member 14.
  • the elastic member 15 is provided rotatably around the rotation center Ax.
  • the elastic member 15 rotates integrally with the members 11 and 14.
  • the elastic member 15 is configured in an annular and plate shape around the rotation center Ax.
  • the elastic member 15 is, for example, a disc spring (cone spring).
  • the elastic member 15 is supported by the protrusion 11 c of the member 11 and the protrusion 14 f of the member 14.
  • the protrusion 11 c is located radially outward of the protrusion 14 f. Therefore, the portion where the elastic member 15 is supported by the projecting portion 11c is located radially outside the portion where the elastic member 15 is supported by the projecting portion 14f.
  • the elastic member 15 elastically deforms in accordance with the axial distance between (the protrusion 11 c of) the member 11 and (the protrusion 14 f of) the member 14. Specifically, as shown in FIGS. 2, 3, 4, and 5, the elastic member 15 is located on the inner side in the radial direction of the elastic member 15 with the protrusion 11 c as a fulcrum as the member 14 moves to the other side in the axial direction. To the other side in the axial direction toward the other side.
  • the elastic member 15 is elastically deformed to a larger extent in the axial direction, and the force (elastic force, reaction force) applied to the members 11 and 14 by the elastic member 15 Becomes smaller.
  • the elastic member 15 is an example of a first elastic member.
  • the elastic member 16 is interposed between the member 13 (member 12) and the member 14. Only one elastic member 16 is provided.
  • the elastic member 16 is provided rotatably around the rotation center Ax.
  • the elastic member 16 rotates integrally with the members 13 and 14.
  • the elastic member 16 is configured in an annular and plate shape around the rotation center Ax.
  • the elastic member 16 is, for example, a disc spring (cone spring).
  • the elastic member 16 has surfaces 16a and 16b.
  • the surface 16 a is a surface on one side in the axial direction of the elastic member 16.
  • the surface 16 a faces the surface 13 c of the member 13.
  • the surface 16 b is the surface on the other side in the axial direction of the elastic member 16.
  • the face 16b faces the face 14c.
  • a working point 16c which is a radially inner portion of the surface 16b, is in contact with the protrusion 14e.
  • the elastic member 16 elastically deforms in accordance with the axial distance between the member 13 and the member 14 (the protrusion 14 e thereof). Specifically, as shown in FIGS. 5, 4, 3 and 2, the elastic member 16 has an axial direction as the member 14 moves inward in the radial direction of the elastic member 16 as the member 14 moves in the axial direction. It deforms to a posture (shape) toward one side.
  • the elastic member 16 is elastically deformed to a larger extent in the axial direction, and the force (elastic force, reaction force) applied to the members 13 and 14 by the elastic member 16. Becomes larger.
  • the elastic member 16 is an example of a second elastic member.
  • the position at which the member 13 supports the elastic member 16 according to the deformation state (the amount of deformation, the posture C1 to C4) of the elastic member 16. That is, the support state of the elastic member 16 by the member 13 changes.
  • the posture C1 is an example of a first posture.
  • the protrusion 13 e supports the elastic member 16 in the axial direction and the protrusion 13 f does not support the elastic member 16.
  • the protrusions 13e and 13f support the elastic member 16 in the axial direction
  • the protrusions 13f support the elastic member 16 in the axial direction. That is, the protrusion 13e axially supports the elastic member 16 in the postures C2 to C4 and does not support the elastic member 16 in the posture C1.
  • the projecting portion 13f axially supports the elastic member 16 in the postures C1 and C2 and does not support the elastic member 16 in the postures C3 and C4.
  • the position B4 of the member 23 in the state shown in FIG. 3 is a position (boundary) at which the support state of the elastic member 16 by the member 13 changes. That is, when the member 23 is positioned closer to the position B1 than the position B4, the member 13 supports the elastic member 16 by the protrusion 13f, and when the member 23 is positioned closer to the position B2 than the position B4, the member 13 supports the elastic member 16 by the protrusion 13 e. The distance between the protrusion 13e in contact with the elastic member 16 in the state of FIGS.
  • the elastic member 16 is more easily bent (easy to be deformed, easily bent, lower in rigidity) with respect to the axial force received from the member 14 as compared with the state of FIG. That is, in the states of FIGS. 5 and 5, the amount of change in the elastic force of the elastic member 16 with respect to the amount of change in the axial position of the member 14 (moving amount) is smaller than in the state of FIG. In other words, in the state of FIG. 2, the amount of change in elastic force of the elastic member 16 with respect to the amount of change in the axial position of the member 14 (moving amount) is larger than in the states of FIGS.
  • FIG. 6 the magnitude of the force (elastic force, axial component) acting on the member 14 from each of the elastic members 15, 16, 20 corresponding to the position of the member 23 is shown.
  • the force by the elastic member 15 on the member 14 is shown by a line L1
  • the force by the elastic member 16 against the member 14 is shown by a line L2
  • the force by the elastic member 20 against the member 14 is shown by a line L3.
  • the vertical axis in FIG. 6 indicates the force (elastic force) acting on the member 14, and the horizontal axis in FIG. 6 indicates the position of the member 23 in the axial direction.
  • the origin of the horizontal axis in FIG. 6 is the position B1 (FIGS.
  • the elastic member 15 corresponding to the line L1 in FIG. 6 elastically deforms in the axial direction in response to a change in the axial position of the member 23, and causes the members 13, 14, 23 to move toward the member 12 ( The members 13 and 14 exert a force to be pushed toward the members 10 and 12).
  • the magnitude (absolute value) of the force by the elastic member 15 is maximum when the member 23 is positioned at the position B1 (origin), and as the member 23 moves in the axial direction from the position B1 to the position B2 become smaller gradually.
  • the elastic member 16 corresponding to the line L2 of FIG. 6 provides the members 14 and 23 with a force in a direction away from the member 12 (a force opposite to the force with which the member 13 is pushed toward the members 10 and 12).
  • the elastic member 16 is elastically deformed in the axial direction in response to a change in the axial position of the member 23, and is applied to the member 23 by the elastic member 15 when the member 23 moves from the position B1 to the position B2.
  • the magnitude (absolute value) of the force by the elastic member 16 is maximum when the member 23 is located at the position B1 (origin), and as the member 23 moves in the axial direction from the position B1 to the position B2 Become smaller gradually.
  • the magnitude of the force that the elastic member 16 applies to the members 13, 14, 23 is smaller than the magnitude of the force that the elastic member 15 applies to the members 13, 14, 23.
  • the elastic member 16 applies a force to the members 13, 14, 23 when the member 23 is located between the position B1 and the position B3 in the break point state. Further, when the member 23 is positioned between the position B2 and the position B3, the elastic member 16 operates the load of the elastic member 20 to generate a load, so that the force applied to the members 13, 14, 23 give.
  • the elastic member 20 applies a force (a force opposite to a force with which the members 13 and 14 are pushed toward the members 10 and 12) to the members 13, 14 and 23 in a direction away from the member 12.
  • the magnitude (absolute value) of the force by the elastic member 20 is constant when the member 23 is located between the position B1 and the position B3, and the member 23 moves from the position B3 to the other side in the axial direction It becomes smaller gradually.
  • the elastic member 20 generates an elastic force against the force applied to the member 23 by the elastic member 15 in a blocking state where torque is not transmitted between the member 10 and the member 23.
  • the elastic force of the elastic member 20 is used, for example, to separate the member 13 and the friction member 12 f from each other in the closed state (cut-up state) shown in FIG. 5.
  • the rotation transmission unit 2 of the clutch device 1 is in a transmission state when the member 23 is not operated, and the member 12 is sandwiched between the member 10 and the member 13 by the force generated by the elastic member 16. . Then, in the clutch device 1, the member 23 is moved to the other side (right side in FIG. 1) in the axial direction against the force generated by the elastic member 15 by the force (operation force) applied to the member 23 from the actuator or the like. Thus, the rotation transfer unit 2 is in the slip state, the turning point state, and the round up state. The elastic member 16 and the elastic member 20 generate a force that reduces the generated force of the elastic member 15.
  • the elastic member 16 and the elastic member 20 contribute to reducing the operation force for operating the member 23 in order to shift the rotation transmission unit 2 from the transmission state to the slip state, the break point state, or the cut-up state.
  • the respective elastic members 15, 16, 20 are set such that torque is transmitted without slippage between the member 10 and the member 12 in a state where the member 23 is positioned at the position B1. Ru.
  • the elastic members 15, 16 and 20 are set so that the force generated by the elastic member 15 is reduced by the force generated by the elastic members 16 and 20, and the force for operating the member 23 becomes relatively small. It can be understood from FIG. 6 that the elastic members 16 and 20 generate a force in the opposite direction to the force generated by the elastic member 15.
  • the elastic member 16 is an example of an assist spring.
  • the amount of change in the elastic force of the elastic member 16 (the rate of change in elastic force, the inclination of the line L2 in FIG. 6) with respect to the amount of axial change (displacement of unit length) It changes according to the support state (support position) of the elastic member 16 by the member 13.
  • the amount of change in the elastic force of the elastic member 16 with respect to the amount of change in the axial direction of the member 23 differs between the movement section D1 and the movement section D2 of the member 23.
  • the movement section D1 is a section between the position B5 of the member 23 between the position B1 and the position B4 and the position B4.
  • the length (distance) between the position B4 and the position B5 is the same as the length (distance) between the position B3 and the position B4.
  • the elastic member 16 is in the posture C1.
  • the movement section D2 is a section closer to the position B2 than the movement section D1.
  • the movement section D2 is a section between the position B3 and the position B4.
  • the elastic member 16 is in the posture C3.
  • the amount of change in the elastic force of the elastic member 16 with respect to the amount of change in the axial direction of the position of the member 23 in the movement section D1 corresponds to the amount of change in the elastic force of the elastic member 16 with respect to the amount of change in the position of the member 23 in the movement section D2. Larger than the amount of change.
  • the moving section D1 is an example of a first moving section
  • the moving section D2 is an example of a second moving section.
  • the clutch device 1 includes one elastic member 16 as a second elastic member. Therefore, for example, compared with the composition provided with a plurality of 2nd elastic members, clutch device 1 can be constituted simpler. Further, the space in the member 11 can be easily reduced. Further, in the configuration in which the plurality of second elastic members are provided, the variation in the elastic force in the plurality of second elastic members, the loss due to sliding, the setback, etc. Becomes large, which may increase the operation load of the clutch. On the other hand, in the present embodiment, since the number of the elastic members 16 is one, the variation in the operation load of the clutch is suppressed, so that the increase in the operation load of the clutch can be suppressed.
  • the member 13 has the protrusion 13 e and the protrusion 13 f.
  • the projecting portion 13 f axially supports the elastic member 16 in a state in which the elastic member 16 is elastically deformed in a posture C 1, and a state in which the elastic member 16 is elastically deformed in a posture C 3 And the elastic member 16 is not supported.
  • the protrusion 13e axially supports the elastic member 16 in the posture C3.
  • the support portion in accordance with the change in the posture of the elastic member 16 accompanying the movement of the member 23, the support portion (supporting state, support position) in which the member 13 supports the elastic member 16 changes.
  • the change amount of the elastic force generated by the elastic member 16 with respect to the change amount of the position of the member 23 changes. That is, according to the present embodiment, for example, the characteristic that the change amount of the elastic force of the elastic member 16 with respect to the change amount of the position of the member 23 changes according to the position of the member 23 can be obtained by a relatively simple configuration.
  • the protrusion 13 e and the protrusion 13 f are disposed on the member 13, but may be disposed on the member 14.
  • the elastic member 16 has the posture C1 in the movement section D1 of the member 23, and has the posture C3 in the movement section D2 of the member 23. Further, the amount of change in the elastic force of the elastic member 16 with respect to the amount of change in the axial direction of the position of the member 23 in the movement section D1 of the member 23 is elastic with respect to the amount of change in the axial direction of the position of the member 23 in the movement section D2 of the member 23 The change amount of the elastic force of the member 16 is larger.
  • the member 13 is interposed between the member 23 and the member 12 and provided rotatably around the rotation center Ax and movable along the axial direction.
  • the elastic member 16 is located on the opposite side of the member 13 to the member 13 in the axial direction. Therefore, according to the change of the posture of elastic member 16 accompanying the movement of member 23, the configuration in which the support portion supporting member 13 supports elastic member 16 can be realized by a relatively simple configuration.
  • the member 14 has a protrusion 14 f in contact with the elastic member 15 and a protrusion 14 e in contact with the elastic member 16, and is interposed between the elastic member 15 and the elastic member 16. ing. Further, the member 14 moves in the axial direction along with the movement of the member 23 in the axial direction. The elastic member 16 is interposed between the member 14 and the member 12. Therefore, the member 14 can be used as a transmission path of force from the member 23 to the member 12, a transmission path of elastic force by the elastic member 15, and a transmission path of elastic force by the elastic member 16. Therefore, the configuration having the member 23, the elastic member 15, and the elastic member 16 can be realized by a relatively simple configuration.
  • the elastic member 16 is a disc spring configured in an annular shape around the rotation center Ax.
  • the elastic member 16 can be configured relatively simply.
  • the protrusion 13 f is configured in an annular shape around the rotation center Ax.
  • the elastic member 16 can be supported more stably.
  • the clutch device 1 includes, for example, an elastic member 20 different from the elastic member 16.
  • the elastic member 20 generates an elastic force against the force applied to the member 23 by the elastic member 15 in a blocking state where torque is not transmitted between the member 10 and the member 23.
  • the member 23 can be given an elastic force that resists the force applied by the elastic member 15.
  • the protrusion 13 f is provided on the surface 13 c of the member 13 as in the first embodiment, the protrusion 13 e (see FIG. 1) is not provided. Moreover, the protrusion 13d is provided in the surface 13c. The protrusion 13 d protrudes toward the elastic member 16 (the other side in the axial direction). The protrusion 13 f is provided radially inward of the protrusion 13 d.
  • the elastic member 16 has a disc spring portion 16g and a plate spring portion 16h, as shown in FIGS.
  • the disc spring portion 16g is formed in an annular shape around the rotation center Ax.
  • the plate spring portion 16 h is provided on the outer side in the radial direction than the disc spring portion 16 g.
  • the plate spring portion 16 h has plate portions 16 i and 16 j and a contact portion 16 k.
  • the plate portion 16i extends radially outward from the radial outer end of the disc spring 16g.
  • the plate portion 16 j extends in the circumferential direction in a state of being separated from the disc spring portion 16 g from the radial outer end of the plate portion 16 i.
  • a contact portion 16k is provided on the side of the plate portion 16j opposite to the plate portion 16i.
  • the contact portion 16 k contacts the protrusion 13 d of the member 13.
  • the action point 16c is a radially inner portion of the disc spring portion 16g.
  • the plate 16i extends radially inward from the radial inner end of the disc spring 16g, and the plate 16j extends from the radial inner end of the plate 16i to the disc spring 16g. It may extend in the circumferential direction in a separated state.
  • the plate portion 16i is an example of a first plate portion
  • the plate portion 16j is an example of a second plate portion.
  • the protrusion 14e of the member 14 is in contact with the action point 16c of the disc spring 16g.
  • the protrusion 13 f is located on one side of the disc spring 16 g in the axial direction.
  • the protrusion 13 f is separated from the elastic member 16 in a state where the disc spring portion 16 g is positioned on the other side in the axial direction (second posture, not shown).
  • the plate spring portion 16h is mainly deformed. Further, in the state (first posture) in which the disc spring portion 16g contacts the projecting portion 13f, the disc spring portion 16h is mainly deformed in the elastic member 16.
  • the protrusion 13 f is an example of a first support
  • the protrusion 13 d is an example of a second support.
  • the member 13 has the protrusion 13 d and the protrusion 13 f.
  • the projecting portion 13 f axially supports the elastic member 16 in a state in which the elastic member 16 is in a first elastic deformation state, and the elastic member 16 is in a second elastic deformation state. In this state, the elastic member 16 is not supported.
  • the protrusion 13 d axially supports the elastic member 16 in the first and second positions. Therefore, in the present embodiment, as in the first embodiment, the supporting portion (supporting state, supporting position) in which the member 13 supports the elastic member 16 according to the change of the posture of the elastic member 16 accompanying the movement of the member 23 ) Changes.
  • the change amount of the elastic force generated by the elastic member 16 with respect to the change amount of the position of the member 23 changes. That is, according to the present embodiment, for example, the characteristic that the change amount of the elastic force of the elastic member 16 with respect to the change amount of the position of the member 23 changes according to the position of the member 23 can be obtained by a relatively simple configuration.
  • the elastic member 16 has a disc spring portion 16g and a plate spring portion 16h. Therefore, the bending rigidity (elastic force) of the elastic member 16 can be adjusted by adjusting the specifications (for example, length, thickness, width, shape, etc.) of the plate spring portion 16 h. That is, the degree of freedom in setting the bending rigidity (elastic force) of the elastic member 16 is high as compared with the case where the elastic member 16 is constituted only by the disc spring portion 16g.
  • the plate spring portion 16h includes a plate portion 16i extending in the radial direction (outside or inward) from the disc spring portion 16g, and a plate portion 16j extending in the circumferential direction from the plate portion 16i. ,have. Therefore, compared to the configuration in which the plate spring portion 16 h extends in the radial direction, the radial length of the plate spring portion 16 h is easily suppressed from being long.
  • the clutch device 1B of the present embodiment shown in FIGS. 11 and 12 differs from the first embodiment in that the member 30 and the elastic member 31 and the like are provided. Further, the clutch device 1B does not include the elastic member 15. Moreover, although the member 11 has the wall part 11b, it does not have the wall part 11a (refer FIG. 1).
  • the member 30 is located on the other side of the elastic member 16 in the axial direction.
  • the elastic member 31 is located on the other side of the member 30 in the axial direction.
  • the member 30 is interposed between the elastic member 16 and the elastic member 31.
  • the member 30 has a wall 30a.
  • the wall portion 30a is formed in an annular and plate shape around the rotation center Ax.
  • the wall 30a extends in a direction intersecting (substantially orthogonal) with the rotation center Ax.
  • the wall 30a is provided with protrusions 30b and 30c.
  • the protrusion 30 b is provided on the other surface of the wall 30 a in the axial direction.
  • the protrusion 30 b is provided between the radial outer end and the inner end of the wall 30 a.
  • the protrusion 30 b faces the elastic member 31.
  • the protrusion 30 b contacts with the elastic member 31 (a disc spring portion 31 a thereof).
  • the protrusion 30 c is provided on the surface on one side in the axial direction of the wall 30 a.
  • the protrusion 30 c is provided radially inward of the protrusion 30 b.
  • the protrusion 30 c faces the elastic member 16.
  • the protrusion 30 c contacts (the action point 16 c of) the elastic member 16.
  • the guide part 30d (support part) is provided in the wall part 30a.
  • the guide portion 30 d extends from one end in the radial direction of the wall portion 30 a to one side in the axial direction.
  • the guide portion 30 d is located on the inner side in the radial direction of the annular elastic member 16.
  • the guide portion 30d is provided in a predetermined range (part) around the rotation center Ax.
  • the guide portion 30d radially supports the elastic member 16 which is moved in the radial direction and abuts on the guide portion 30d.
  • the guide portion 30d may be provided in an annular shape around the rotation center Ax.
  • the radial outer end of the wall 30a is coupled to the support 13g.
  • the support portion 13 g is provided at the radial outer end of the member 13.
  • the support portion 13g is formed in a cylindrical shape around the rotation center Ax.
  • the support portion 13g protrudes to the other side in the axial direction.
  • the wall 30a and the support 13g may be coupled via a spline structure. That is, the member 30 rotates integrally with the member 13 and is movably supported by the member 13 in the axial direction.
  • the elastic member 31 is interposed between the bearing 22 and the member 30.
  • the elastic member 31 is a diaphragm spring.
  • the elastic member 31 has a disc spring portion 31a and a plurality of lever portions 31b.
  • the disc spring portion 31 a is provided outside the elastic member 31 in the radial direction.
  • the disc spring portion 31a is formed in an annular and plate shape around the rotation center Ax.
  • the disc spring portion 31a extends in a direction intersecting the rotation center Ax.
  • the lever portion 31b extends radially inward from the radial inner end of the disc spring portion 31a.
  • the plurality of lever portions 31 b are arranged along the circumferential direction of the disc spring portion 31 a.
  • the lever portion 31 b is formed in a triangular plate shape that becomes thinner toward the inside in the radial direction.
  • the lever portion 31 b extends in the direction intersecting the rotation center Ax. Further, a portion between the radial outer end portion and the radial inner end portion of the lever portion 31 b is swingably supported by the wall portion 11 b.
  • the elastic member 31 and the wall portion 11 b are coupled via a support member 32 (for example, a wire).
  • the elastic member 31 elastically deforms in the axial direction according to the movement of the member 23 in the axial direction.
  • the elastic member 31 applies a force (elastic force) associated with elastic deformation to the member 30 and the bearing 22.
  • the elastic member 31 applies a force to the member 30 in a direction in which the member 30 approaches the wall 13 a and a force in a direction away from the member 30 to the bearing 22. Further, the force of the elastic member 31 applied to the member 30 is transmitted to the member 12 via the elastic member 16 and the member 13. Further, the force of the elastic member 31 applied to the bearing 22 is transmitted to the member 23 through the bearing 22.
  • the elastic member 31 is an example of a first elastic member.
  • the bearing 22 is located on the other side of the elastic member 31 in the axial direction.
  • the radial outer end of the bearing 22 is in contact with the radial inner end of the lever portion 31b.
  • the radial outer end of the bearing 22 pushes the radial inner end of the lever portion 31b to one side in the axial direction.
  • the radially inner end of the bearing 22 is supported by the member 23.
  • the member 23 covers the projecting portion 101 from the outer peripheral side in the radial direction.
  • the member 23 is axially movably supported by the projection 101.
  • the member 23 moves in the axial direction by receiving an operation force (driving force) of an actuator (not shown).
  • the bearing 22 and the member 23 move integrally in the axial direction.
  • the actuator moves the lever portion 31 b and the disc spring portion 31 a via the member 23 and the bearing 22 and thus moves the member 30 in the axial direction.
  • the elastic member 31 that pushes the member 30 in one side in the axial direction.
  • the elastic force is maximized, and the rotation transmission unit 2 is in the transmission state.
  • the elastic member 20 separates the member 12 and the member 13 from each other. 2 is in the round-up state (blocked state).
  • the position of the member 23 when the rotation transmission unit 2 is in the transmission state, and the position of the member 23 when the rotation transmission unit 2 is in the cut-up state (cutoff state) are the first embodiment Is reversed.
  • the elastic member 31 elastically deforms according to the position of the member 23 in the axial direction.
  • the characteristic of the elastic force of the elastic member 31 is the same as that of the elastic member 15 of the first embodiment.
  • the posture of the elastic member 16 changes with the axial movement of the member 23. In the first embodiment, while the member 23 moves from one side to the other side in the axial direction, the posture of the elastic member 16 changes in the order of the posture C1, the posture C2, the posture C3, and the posture C4. In the configuration, in the process of moving the member 23 from the other side to the one side in the axial direction, the posture of the elastic member 16 changes in the order of the posture C1, the posture C2, the posture C3, and the posture C4.
  • the member 13 includes the protrusion 13 e and the protrusion 13 f in the same manner as in the first embodiment. Therefore, in the present embodiment, as in the first embodiment, the supporting portion (supporting state, supporting position) in which the member 13 supports the elastic member 16 according to the change of the posture of the elastic member 16 accompanying the movement of the member 23 ) Changes. Due to the change of the support portion, the change amount of the elastic force generated by the elastic member 16 with respect to the change amount of the position of the member 23 changes. That is, according to the present embodiment, for example, the characteristic that the change amount of the elastic force of the elastic member 16 with respect to the change amount of the position of the member 23 changes according to the position of the member 23 can be obtained by a relatively simple configuration.
  • the protrusion 13 d and the protrusion 13 f are provided on the surface 13 c of the member 13 as in the second embodiment.
  • the protrusion 13 f is a protrusion. It is provided on the outer side in the radial direction than the portion 13 d.
  • the elastic member 16 has a disc spring portion 16g and a plate spring portion 16h as in the second embodiment, as shown in FIGS. 13 and 14, but in the present embodiment, the plate spring portion 16h is , And is provided radially inward of the disc spring portion 16g.
  • the plate spring portion 16h includes the plate portion 16i and the contact portion 16k
  • the plate portion 16j (FIG. 8) is not provided in the plate spring portion 16h.
  • the plate portion 16i extends radially inward from the radial inner end portion of the disc spring portion 16g.
  • a contact portion 16k is provided on the side of the plate portion 16i opposite to the disc spring portion 16g. The contact portion 16 k contacts the protrusion 13 d of the member 13.
  • the action point 16c is a radially outer portion of the disc spring portion 16g.
  • the protrusion 14e of the member 14 is in contact with the action point 16c of the disc spring 16g.
  • the protrusion 13 f is located on one side of the disc spring 16 g in the axial direction.
  • the protrusion 13 f is separated from the elastic member 16 in a state where the disc spring portion 16 g is positioned on the other side in the axial direction (second posture, not shown).
  • the plate spring portion 16h is mainly deformed. Further, in the state (first posture) in which the disc spring portion 16g contacts the projecting portion 13f, the disc spring portion 16g is mainly deformed in the elastic member 16.
  • the guide part 13h (support part) is provided in the wall part 13a.
  • the guide portion 13 h extends from the surface 13 c to the other side in the axial direction.
  • the guide portion 13 h is located radially inward of the annular disc spring portion 16 g of the elastic member 16.
  • the guide portion 13 h is provided in a predetermined range (part) around the rotation center Ax. The guide portion 13 h radially supports the elastic member 16 which is moved in the radial direction and abuts on the guide portion 13 h.
  • the member 13 has the protrusion 13 d and the protrusion 13 f.
  • the projecting portion 13 f axially supports the elastic member 16 in a state in which the elastic member 16 is in a first elastic deformation state, and the elastic member 16 is in a second elastic deformation state. In this state, the elastic member 16 is not supported.
  • the protrusion 13 d axially supports the elastic member 16 in the first and second positions. Therefore, in the present embodiment, as in the second embodiment, the supporting portion (supporting state, supporting position) in which the member 13 supports the elastic member 16 according to the change in the posture of the elastic member 16 accompanying the movement of the member 23 ) Changes.
  • the change amount of the elastic force generated by the elastic member 16 with respect to the change amount of the position of the member 23 changes. That is, according to the present embodiment, for example, the characteristic that the change amount of the elastic force of the elastic member 16 with respect to the change amount of the position of the member 23 changes according to the position of the member 23 can be obtained by a relatively simple configuration.
  • the elastic member 16 has a disc spring portion 16g and a plate spring portion 16h. Therefore, the bending rigidity (elastic force) of the elastic member 16 can be adjusted by adjusting the specifications (for example, length, thickness, width, shape, etc.) of the plate spring portion 16 h. That is, the degree of freedom in setting the bending rigidity (elastic force) of the elastic member 16 is high as compared with the case where the elastic member 16 is constituted only by the disc spring portion 16g.
  • the clutch device 1D of the present embodiment shown in FIGS. 15 and 16 differs from the fourth embodiment in the protruding portions 13d and the protruding portions 13f of the member 13 and the plate spring portion 16h of the elastic member 16.
  • the protrusions 13d and the protrusions 13f are provided as in the fourth embodiment, but in the present embodiment, the protrusions 13f are protrusions. It is provided inside the radial direction than the portion 13d.
  • the elastic member 16 has a disc spring portion 16g and a plate spring portion 16h as in the fourth embodiment, but in the present embodiment, the plate spring portion 16h is , And is provided radially outward of the disc spring portion 16g. Further, in the present embodiment, the plate portion 16i of the plate spring portion 16h extends radially outward from the radial outer end portion of the disc spring portion 16g. A contact portion 16k is provided on the side of the plate portion 16i opposite to the disc spring portion 16g. The contact portion 16 k contacts the protrusion 13 d of the member 13. Further, in the present embodiment, the action point 16c is a radially inner portion of the disc spring portion 16g.
  • the protrusion 14e of the member 14 is in contact with the action point 16c of the disc spring 16g.
  • the protrusion 13 f is located on one side of the disc spring 16 g in the axial direction.
  • the protrusion 13f is separated from the elastic member 16.
  • the elastic member 16 is elastically deformed by receiving a force on one side in the axial direction from the member 14 and the disc spring portion 16g moves from the other side to the one side in the axial direction, the projecting portion 13f is the disc spring portion 16g Contact with the radially outer end of the first position (not shown).
  • the clutch device 1E of the present embodiment shown in FIG. 17 is a so-called twin clutch provided with two rotation transmission parts 210 and 220.
  • the movable portion (members 214, 224, 215, 225, 216, 226, bearings 231, 232, etc.) is moved along the axial direction by an actuator (not shown), whereby the rotation transmitting unit 210 and the rotation are rotated. It is possible to switch between a state in which rotation (torque) is selectively transmitted in one of the transmission units 220 and a state in which the transmission of rotation in both the rotation transmission unit 210 and the rotation transmission unit 220 is blocked.
  • the rotation transmission unit 210 can change the transmission state of rotation between the members 201 and 202 and the shaft 203.
  • the rotation transmission unit 220 can change the transmission state of rotation between the members 201 and 202 and the shaft 204.
  • Each of the rotation transmitting units 210 and 220 can also transmit rotation in a so-called half clutch state where the output torque is reduced with respect to the input torque.
  • the clutch device 1E includes members 201, 202, 213 to 216, a shaft 203, and a bearing 231 as components involved in transmission and interruption of rotation by the rotation transmission unit 210.
  • Each of the members 201, 202, 213 to 216 and the shaft 203 can be made of a metal material or the like.
  • the shafts 203 and 204 are rotatably supported by a case 205 (for example, a transmission case) via bearings (not shown).
  • the shafts 203 and 204 rotate around the rotation center Ax. That is, the shafts 203 and 204 are concentric multiple (in this embodiment, for example, double) rotating bodies.
  • One of the shafts 203 and 204 is at least partially cylindrically configured. The other is located in one of the tubular sections.
  • the case 205 is provided (fixed, coupled) with a protrusion 251.
  • the protrusion 251 covers the shafts 203 and 204 from the outer side (the outer peripheral side) in the radial direction.
  • the protrusion 251 protrudes cylindrically (cylindrically) from the wall 252 toward the other side in the axial direction (right side in FIG. 17).
  • the protrusion 251 may be integrally formed with another portion (for example, the wall 252) of the case 205, or may be formed as a separate member from the other portion and a connector (screw, rivet, etc., shown in the figure). Can be integrated using the
  • the case 205 is an example of a housing.
  • the member 201 (for example, a drive plate, a flywheel) is provided rotatably about the rotation center Ax.
  • the member 201 has wall portions 201a and 201b.
  • the wall portion 201 a is formed in a disk shape, and intersects (substantially orthogonal) with the rotation center Ax.
  • the wall portion 201b protrudes from one end in the radial direction of the wall portion 201a toward one side in the axial direction (left side in FIG. 17), and is formed in a cylindrical shape.
  • the member 201 is supported by a drive source (not shown, for example, an engine).
  • the member 202 (for example, a clutch cover) is provided rotatably about the rotation center Ax.
  • the member 202 has wall portions 202a, 202b and 202c.
  • the wall 202 a is connected (coupled, fixed) to the wall 201 b of the member 201.
  • the wall portion 202a is formed in an annular and plate shape, and intersects (substantially orthogonal) with the rotation center Ax.
  • the wall 202b protrudes cylindrically from one position (left side in FIG. 17) in the axial direction from a position closer to the rotation center Ax than the wall 201b of the wall 202a.
  • the wall 202 c is connected (coupled, fixed) to the wall 202 b.
  • the wall portion 202c is formed in a disk shape, and intersects and extends the rotation center Ax. Further, one rotating portion (for example, the radially inner rotating portion) of the bearing 233 is connected (coupled, fixed) with the protrusion 251 and the other rotating portion (for example, the radially outer rotating portion) is , And the inner end of the wall portion 202c (member 202) in the radial direction (connected, fixed).
  • the wall portion 202 c (member 202) is rotatably supported by a bearing 233 around the rotation center Ax.
  • the member 202 is an example of a first member.
  • the member 213 (for example, the first clutch disc) is provided on one side (left side in FIG. 17) of the wall portion 202 a in the axial direction.
  • the member 213 has wall portions 213a and 213b, an elastic member 213c, a friction material 213d, and a spline joint 213e.
  • the wall portion 213a is formed in a disk shape, and intersects (substantially orthogonal) with the rotation center Ax.
  • the wall portion 213b is formed in a disk shape, and intersects (substantially orthogonal) with the rotation center Ax.
  • one of the wall portion 213a and the wall portion 213b (in the present embodiment, for example, the wall portion 213b) is between the other two (two in the present embodiment, for example, the wall portion 213a). It is provided in the state of being pinched in the axial direction.
  • the wall portions 213a and 213b can rotate in an angular difference state (twisted to each other) in at least a partial rotation range.
  • the elastic member 213c (for example, a coil spring) is interposed between the wall portion 213a and the wall portion 213b, and is provided so as to be elastically expandable and contractable substantially along the circumferential direction.
  • the elastic member 213c expands and contracts along the circumferential direction according to the relative rotation angle between the wall portion 213a and the wall portion 213b.
  • the elastic member 213c elastically contracts and stores torque as compressive force, and elastically expands and releases compressive force as torque. That is, the member 213 can reduce the torque fluctuation by the elastic member 213c.
  • the member 213 rotates integrally with the shaft 203. Further, the member 213 is provided movably in the axial direction. Specifically, one of the wall portion 213a and the wall portion 213b (the wall portion 213b in the example of FIG. 17) is supported by the shaft 203 via the cylindrical spline joint portion 213e.
  • the other of the wall portion 213a and the wall portion 213b (the wall portion 213a in the example of FIG. 17) is positioned between the wall portions 202a and 214a and has a region sandwiched by the wall portions 202a and 214a.
  • the friction material 213d is provided on both sides in the axial direction of the region where the other (wall portion 213a) is sandwiched.
  • the member 213 is at least pressed in a direction toward the wall 202a of the member 202 in the axial direction of the rotation center Ax to transmit torque by friction with the member 202, and torque between the member 202 and the member 202 Is provided so as to be switchable between the shutoff state in which is not transmitted.
  • the member 214 (for example, the first pressure plate) has a wall 214a.
  • the wall portion 214a is formed in an annular and plate shape, and intersects (substantially orthogonal) with the rotation center Ax.
  • the member 214 is axially movably supported by the member 202.
  • the member 214 is configured to rotate integrally with the member 202.
  • the member 214 can be moved axially between a transmitting position (not shown) and a blocking position (FIG. 17).
  • the wall portion 213a is sandwiched between the wall portion 202a and the wall portion 214a via the friction material 213d in the transmission position.
  • the rotation is transmitted between the wall 202 a and the wall 213 a (transmission state).
  • the blocking position the wall 213a is farther from both the wall 202a and the wall 214a than in the transmission position.
  • the transmission of the rotation between the wall portion 202a and the wall portion 214a is cut off (blocked state).
  • the friction material 213d intervenes between the wall 202a and the wall 213a, and between the wall 213a and the wall 214a.
  • sliding may occur between the friction material 213d and the wall portions 202a and 214a (a so-called half clutch state).
  • the friction material can also be provided on the wall portions 202a and 214a.
  • the member 215 (for example, the first release plate) has a wall portion 215a, a penetration portion 215b, and a connection portion 215c.
  • the wall portion 215a is formed in a disk shape, and intersects (substantially orthogonal) with the rotation center Ax.
  • the plurality of through portions 215 b are connected (coupled, fixed) to the wall portion 215 a, and axially penetrate through the plurality of openings 202 d provided in the wall portion 202 c of the member 202.
  • the connection portion 215c is formed in an annular shape, and is connected (coupled, fixed) to the penetration portion 215b.
  • the member 215 is supported by the protrusion 251 rotatably around the rotation center Ax via a bearing 231.
  • One of the rotating portions (for example, the radially inner rotating portion) of the bearing 231 is configured not to rotate relative to the protrusion 251, and is axially movably supported by the protrusion 251 There is.
  • the other rotating portion (for example, the radially outer rotating portion) of the bearing 231 is connected (coupled, fixed) to the connection portion 215c. That is, the member 215 is axially movably supported by the projecting portion 251 via the bearing 231, and is rotatably supported around the rotation center Ax.
  • the member 215 rotates integrally with the member 202 due to the circumferential direction sticking between the members 202 and 215, friction, or the like.
  • An elastic member 217 (for example, a disc spring, a diaphragm spring) is interposed between the member 202 (wall portion 202c) and the member 215 (wall portion 215a).
  • the elastic member 217 can apply an axial force (load) to the member 202 and the member 215.
  • the elastic member 217 can provide a force that directly or indirectly pushes the member 214 or the member 216.
  • the member 216 is axially movably provided with respect to the case 205.
  • the member 216 has an extending portion 216a (arm portion, lever portion, wall portion).
  • the extending portion 216a extends in the radial direction, and is formed in a plate shape and a band shape or a rod shape.
  • the extending portion 216 a is connected (coupled, fixed) to a rotating portion (for example, a radially inner rotating portion) of the bearing 231 supported by the protruding portion 251.
  • an actuator moves the member 216 in the axial direction, which causes the member 215 and thus the member 214 to move in the axial direction to switch between the transmission state, the half clutch state and the disengaged state of the rotation transmitting unit 210.
  • the clutch device 1E includes members 201, 202, 223 to 226, a shaft 204, and a bearing 232 as components involved in transmission and interruption of rotation by the rotation transmission unit 220.
  • Each of the members 223 to 226 and the shaft 204 can be made of a metal material or the like.
  • the member 223 (for example, the second clutch disc) is located on the opposite side (the other side in the axial direction, the right side in FIG. 17) of the wall portion 202a to the member 213.
  • the member 223 has wall portions 223a and 223b, an elastic member 223c, a friction material 223d, and a spline joint 223e.
  • the wall 223a is formed in a disk shape, and intersects (substantially orthogonal) with the rotation center Ax.
  • the wall 223 b is formed in a disk shape, and intersects (substantially orthogonal) with the rotation center Ax.
  • one of the wall portion 223a and the wall portion 223b may be provided so as to be axially sandwiched between the other two (two pieces).
  • the wall portions 223a and 223b can rotate in an angular difference state (twisted to each other) in at least a partial rotation range.
  • the elastic member 223c (for example, a coil spring) is interposed between the wall 223a and the wall 223b, and is provided so as to be elastically stretchable in the circumferential direction.
  • the elastic member 223c expands and contracts along the circumferential direction according to the relative rotation angle between the wall 223a and the wall 223b.
  • the elastic member 223c elastically contracts and stores torque as compressive force, and elastically expands and releases compressive force as torque.
  • the member 223 can reduce the torque fluctuation by the elastic member 223c.
  • the member 223 is rotatably provided around the rotation center Ax.
  • the member 223 rotates integrally with the shaft 204.
  • the member 223 is provided movably in the axial direction. Specifically, one of the wall portion 223a and the wall portion 223b (the wall portion 223b in the example of FIG. 17) is supported by the shaft 204 via the spline coupling portion 223e.
  • the other of the wall 223a and the wall 223b (the wall 223a in the example of FIG. 17) is located between the walls 202a and 224a and has a region sandwiched by the walls 202a and 224a.
  • Friction members 223 d are provided on both sides in the axial direction of the region where the other (wall portion 223 a) is sandwiched.
  • the member 223 is at least pressed in a direction toward the wall 202a of the member 202 in the axial direction of the rotation center Ax, and a torque is transmitted between the member 202 and the member 202, and Is provided so as to be switchable between the shutoff state in which is not transmitted.
  • a member 224 (eg, a first pressure plate) is interposed between the bearing 232 and the member 223.
  • the member 224 is located outside the bearing 232 and the member 223.
  • the member 224 is provided rotatably about the rotation center Ax and is provided movable along the axial direction.
  • the member 224 has a wall portion 224a, a penetration portion 224b, and a wall portion 224c.
  • the wall portion 224a is formed in an annular and plate shape, and intersects (substantially orthogonal) with the rotation center Ax.
  • the plurality of through portions 224 b are connected (coupled, fixed) to the wall portion 224 a and axially penetrate through the plurality of openings 202 e provided in the wall portion 202 a of the member 202.
  • the wall portion 224c is formed in an annular shape, and is connected (coupled, fixed) to the penetration portion 224b.
  • the member 224 is axially movably supported by the member 202. Further, the member 224 is configured to rotate integrally with the member 202.
  • the member 224 is an example of a fourth member.
  • the wall portion 224c has projecting portions 224e and 224f.
  • the protrusions 224e and 224f are provided on the other surface of the wall portion 224c in the axial direction.
  • the protrusions 224e and 224f are each configured in a ring around the rotation center Ax.
  • the protrusion 224 f is located radially inward of the protrusion 224 e.
  • the protrusions 224e and 224f are located in the wall portion 224c between the radially outer end (edge) and the radially inner end (edge).
  • the protrusions 224e and 224f protrude toward the elastic member 235 (the other side in the axial direction).
  • the protrusion 224 f is an example of a first support
  • the protrusion 224 e is an example of a second support.
  • the member 224 can be moved axially between a transmitting position (not shown) and a blocking position (FIG. 17).
  • the transmission position the wall 223a is sandwiched between the wall 202a and the wall 224a via the friction material 223d.
  • the rotation is transmitted between the wall 202a and the wall 223a (transmission state).
  • the blocking position the wall 223a is farther from both the wall 202a and the wall 224a than the transmission position.
  • the transmission of the rotation between the wall portion 202a and the wall portion 224a is cut off (blocked state).
  • the friction material 223d intervenes between the wall portion 202a and the wall portion 223a and between the wall portion 223a and the wall portion 224a.
  • sliding may occur between the friction material 223d and the wall portions 202a and 224a (a so-called half clutch state).
  • the friction material can also be provided on the wall portions 202a and 224a.
  • a member 225 (for example, a second release plate) is interposed between the elastic member 227 and the elastic member 235.
  • the member 225 moves in the axial direction as the bearing 232 moves in the axial direction.
  • the member 225 is an example of a fifth member.
  • the member 225 has a wall portion 225a.
  • the wall 225a is located on the opposite side of the wall 215a of the wall 202c of the member 202.
  • the wall portion 225a is formed in a disk shape, and intersects (substantially orthogonal) with the rotation center Ax.
  • the bearing 232 is connected (coupled, fixed) to the radial inner end of the wall 225a.
  • the member 225 is supported by the connection portion 215 c of the member 215 through the bearing 232 so as to be rotatable about the rotation center Ax.
  • One rotating portion of the bearing 232 e.g., the radially inner rotating portion
  • the other rotating portion for example, the radially outer rotating portion
  • the member 225 rotates integrally with the member 202 due to circumferential hooking between the members 202 and 225, friction, or the like. That is, the member 225 is axially movably supported and rotatably supported by the member 215 via the bearing 232.
  • Protrusions 225e and 225f are provided on the radially outer side of the wall 225a.
  • the protrusion 225 f is located radially outward of the protrusion 225 e.
  • the protrusion 225 e is located radially inward of the protrusion 224 f.
  • the projecting portion 225 e is provided on one surface of the wall portion 225 a in the axial direction, and protrudes in the axial direction.
  • the protrusion 225 e contacts the elastic member 235.
  • the protrusion 225 f is provided on the other surface of the wall 225 a in the axial direction, and protrudes toward the other axial side.
  • the protrusion 225 f contacts the elastic member 227.
  • the protrusion 225 e is an example of a second contact portion
  • the protrusion 225 f is an example of a first contact portion.
  • the guide part 225g (support part) is provided in the wall part 225a.
  • the guide portion 225g extends from the wall portion 225a to one side in the axial direction.
  • the guide portion 225 g is located on the inner side in the radial direction of the annular elastic member 235.
  • the guide portion 225g is provided in a predetermined range (part) around the rotation center Ax.
  • the guide portion 225g radially supports the elastic member 235 which is moved in the radial direction and abuts on the guide portion 225g.
  • the guide portion 225g may be provided in an annular shape around the rotation center Ax.
  • An elastic member 227 intervenes between the member 202 (wall portion 202c) and the member 225 (wall portion 225a).
  • the elastic member 227 can apply an axial force (load) to the member 202 and the member 225.
  • the elastic member 227 can provide a force that directly or indirectly pushes the member 224 or the member 226.
  • the elastic member 227 elastically deforms in the axial direction in response to a change in the axial position of the bearing 232, and generates an elastic force in a direction to press the member 202 and the member 223 together.
  • the elastic member 227 is an example of a first elastic member.
  • an elastic member 235 (for example, a disc spring) is interposed between the member 225 (wall portion 225a) and the member 224 (wall portion 224c).
  • the elastic member 235 is located on the same side as the member 223 of the member 224.
  • the elastic member 235 is located outside the member 225 and the member 223.
  • the elastic member 235 can apply an axial force (load) to the member 225 and the member 224.
  • the elastic member 235 can provide a force that directly or indirectly pushes the member 224 or the member 226.
  • the elastic member 235 elastically deforms in the axial direction in response to a change in the axial position of the bearing 232 (third member), and the bearing 232 moves from the first position to the second position
  • the elastic member 227 exerts an elastic force against the force applied to the bearing 232.
  • the elastic member 235 is an example of a second elastic member.
  • the member 226 is axially movably provided with respect to the case 205.
  • the member 226 has an extending portion 226a (arm portion, lever portion, wall portion).
  • the extending portion 226a extends in the radial direction, and is formed in a plate shape and a band shape or a rod shape.
  • the extension 226 a is connected (coupled, fixed) to a rotating portion (for example, a radially inner rotating portion) of the bearing 232 supported by the member 215.
  • an actuator (not shown) axially moves the member 226, which causes the member 225 and thus the member 224 to move axially to switch between the transmission state, the half clutch state, and the disengaged state of the rotation transmission unit 220.
  • the member 226 may be supported by the protrusion 251 via a bearing (not shown) instead of the member 215.
  • the bearing 232 is provided to be able to transmit force to the member 223 in the axial direction. Specifically, the bearing 232 can transmit an axial force to the member 223 via the member 225, the elastic member 235, and the member 224.
  • the bearing 232 is an axis between a first position (not shown) in which the member 202 and the member 223 are in a transmission state and a second position (FIG. 17) in which the member 202 and the member 223 are in a disconnection state. It is provided to be movable along the direction.
  • the posture of the elastic member 235 changes, and the support state of the elastic member 235 by the protrusions 224 e and 224 f of the member 224 changes.
  • the protrusion 224 f axially supports the elastic member 235 in a state in which the elastic member 235 is elastically deformed in a first posture (FIG. 17), and the second elastic member 235 elastically deforms.
  • the elastic member 235 is not supported in the state (not shown).
  • the projecting portion 224e axially supports the elastic member 235 in a state in which at least the elastic member 235 is in the second posture, and the elastic member 235 in the state in which the elastic member 235 is in the first posture. No axial support of H.235.
  • the elastic member 235 is in the first posture in the first moving section (moving section in the axial direction) of the bearing 232, and the second moving section of the bearing 232 is more than the first moving section.
  • the second movement section near the position is in the second posture.
  • the amount of change in the elastic force of the elastic member 235 with respect to the amount of change in the axial direction of the position of the bearing 232 in the first movement section is the amount of change in the axial direction of the position of the bearing 232 in the second movement section. Greater than the change in elastic force of
  • the member 224 (fourth member) is located outside the bearing 232 (third member) and the member 223 (second member), and provided rotatably around the rotation center Ax. And is movable along the axial direction. Further, the elastic member 235 (second elastic member) is located on the same side as the member 223 of the member 224. Therefore, a twin clutch having a relatively simple configuration can be realized as the clutch device 1E.
  • the member 225 is a protrusion 225f (first contact portion) in contact with the elastic member 227 (first elastic member), and an elastic member 235 (second elastic) And a protrusion 225e (second contact portion) in contact with the member.
  • the member 225 is interposed between the elastic member 227 and the elastic member 235, and moves in the axial direction along with the movement of the bearing 232 (third member) in the axial direction.
  • the elastic member 235 is positioned outside the member 225 and the member 223. Therefore, a twin clutch having a relatively simple configuration can be realized as the clutch device 1E.
  • the member 14 has a wall portion 14k in addition to the cylindrical portion 14a and the wall portion 14b.
  • the wall portion 14 k is positioned on one side in the axial direction of the wall portion 14 b, that is, the elastic member 16 side, and is interposed between the wall portion 14 b and the elastic member 16.
  • the wall portion 14k is configured in an annular shape around the rotation center Ax.
  • the protrusion 14 e is provided on the wall 14 k.
  • a variable setting portion is provided which variably sets the axial distance between the wall portion 14b and the wall portion 14k.
  • the wall portion 14k is moved to one side in the axial direction by the variable setting portion.
  • the wall portion 14k can be made constant.
  • the wall portion 14k is also referred to as a wedge ring, and the variable setting portion is also referred to as a wear tracking mechanism.
  • the bearing 22 is attached to the cylindrical portion 14a by the attachment member 14j.
  • the mounting member 14 j is coupled to the wall portion 14 b by a coupling 51.
  • the protrusion 13 e is provided on the wall 13 c of the member 13, but the protrusion 13 f is not provided.
  • the protrusion is generated in any of the transmission state of the rotation transmission unit 2 shown in FIG. 19, the slip state of the rotation transmission unit 2 shown in FIG. 20, and the blocking state of the rotation transmission unit 2 shown in FIG.
  • the portion 13 e supports the elastic member 16. 19 to 21 schematically show each part. In FIGS. 19 to 21, illustration of the wall portion 14k is omitted.
  • the elastic force Fb of the elastic member 16 is an axis of the member 13. Act on one side of the direction. Therefore, in the transmission state of the rotation transmission unit 2, the pressing force Fe acting on the member 12 from the member 13 is the elastic force Fb of the elastic member 16.
  • FIG. 22 shows the magnitudes of the force (elastic force, axial component) acting on the member 14 from the elastic members 15 and 16 corresponding to the positions of the member 23 and the bearing 22.
  • the horizontal and vertical axes in FIG. 22 are the same as in FIG.
  • the force by the elastic member 15 on the member 14 is indicated by a line L1
  • the force by the elastic member 16 on the member 14 is indicated by a line L2.
  • the line L4 is a symmetrical line of the line L2 with respect to the horizontal axis in FIG.
  • the hatched area in FIG. 22 indicates the differential load of the elastic members 15 and 16 and corresponds to the driving force Fc of the actuator.
  • the clutch device 1F and the one elastic member 16 as the second elastic member are provided. Therefore, as in the first embodiment, for example, the clutch device 1F can be configured more simply than in a configuration in which a plurality of second elastic members are provided.
  • the member 14 has a cylindrical portion 14a and a wall portion 14b, but does not have a wall portion 14k.
  • the wall 14b is provided with a claw 14m.
  • the claws 14m are provided at the radial outer end of the wall 14b.
  • the protrusion 14 e is provided on the claw 14 m.
  • the clutch device 1G and the one elastic member 16 as the second elastic member are provided. Therefore, as in the first embodiment, for example, the clutch device 1G can be configured more simply than in a configuration in which a plurality of second elastic members are provided.
  • the ninth embodiment The clutch device 1H of the present embodiment shown in FIG. 24 differs from that of the seventh embodiment in that a contact portion 13m is provided on the member 13.
  • the contact portion 13m is disposed on the member 13, but may be disposed on the member 14.
  • the contact portion 13m protrudes from the surface 13c of the wall 13a of the member 13 to the other side in the axial direction, that is, the member 14 side.
  • the contact portion 13m is formed in an annular shape around the rotation center Ax.
  • the contact portion 13m is located inside in the radial direction of the protrusion 13e.
  • the contact portion 13m can contact with and separate from the member 14.
  • the contact portion 13m can contact with and separate from the wall portion 14k.
  • the abutting portion 13m axially abuts on the member 14 when the bearing 22 and the member 23 (not shown in FIG. 25) are positioned at the position B1 (first position) as shown in FIG. . Also, as shown in FIGS.
  • the contact portion 13m is a position B2 (second position) where the bearing 22 and member 23 (not shown in FIGS. 26 and 27) are at position B1 (first position). In the state of being located on the) side, they are axially separated from the member 14.
  • the contact portion 13m axially supports the member 14 in a state where the contact portion 13m and the member 14 are in axial contact with each other.
  • the contact portion 13m is also referred to as a stopper.
  • the member 13 is an example of a seventh member
  • the member 14 is an example of a sixth member. Note that each part is schematically shown in FIGS. In FIGS. 25 to 27, the wall portion 14k is not shown.
  • the elastic force Fb of the elastic member in the member 13 is on one side in the axial direction. Act on. That is, in the slipping state of the rotation transmission unit 2, the pressing force Fe acting on the member 12 from the member 13 is the elastic force Fb of the elastic member 16.
  • FIG. 28 (a) shows a graph in the case where the abutting portion 13m is not provided (for example, the seventh embodiment), and FIG. 28 (b) shows the abutting portion 13m. If provided, the graph of this embodiment is shown.
  • the vertical axis of each graph indicates the magnitude (absolute value) of the elastic force
  • the horizontal axis of each graph indicates the position of the bearing 22 and the member 23 in the axial direction.
  • the origin of the horizontal axis of each graph is the position B1 of the bearing 22 and the member 23 when the rotation transmitting unit 2 is in the transmitting state, and in the position in a state where the bearing 22 and the member 23 are not operated. is there.
  • the elastic force of the elastic members 15 and 16 may have variations with respect to a predetermined elastic force due to, for example, manufacturing variations.
  • the predetermined variation amount M1 occurs in the elastic force of the elastic member 15
  • the maximum value among the variations of the elastic force of the elastic member 15 is indicated by a line L11
  • the dispersion of the elastic force of the elastic member 15 The minimum value of is indicated by line L12.
  • the predetermined variation amount M2 occurs in the elastic force of the elastic member 16
  • the maximum value among the variations of the elastic force of the elastic member 16 is indicated by a line L21.
  • the minimum value among the variations is indicated by line L22.
  • the minimum value (line L22) of the variation of the elastic force of the elastic member 16 is set to the pressing required load F1 which is the force to press the member 12 against the member 10, and the elastic force of the elastic member 15 is The elastic force of the elastic member 16 needs to be set larger.
  • the difference elastic force which is the difference elastic force between the maximum value (line L11) of the variation of the elastic force of the elastic member 15 and the minimum value (line L22) of the variation of the elastic force of the elastic member 16 N is relatively large.
  • the minimum value (line L12) of the variation of the elastic force of the elastic member 15 may be set to the pressing necessary load F1. This makes it possible to reduce the minimum value (line L12) of the variation of the elastic force of the elastic member 15 with respect to FIG. Thereby, the value of the predetermined elastic force of the elastic member 15 serving as the reference of the variation can be reduced. Along with this, it is possible to reduce the value of the predetermined elastic force of the elastic member 16 as the reference of the variation.
  • the variation is, for example, a rate of increase or decrease with respect to the reference value, so the smaller the reference value, the smaller the variation amounts M1 and M2. That is, the variation amounts M1 and M2 of the elastic force decrease as the value of the predetermined elastic force as the reference decreases. Therefore, in the configuration of the present embodiment in which the value of the predetermined elastic force of the elastic members 15 and 16 as the reference of the variation is small as described above, the variation amounts M1 and M2 of the elastic members 15 and 16 become smaller. Thereby, the differential elastic force N between the maximum value (line L11) of the variation of the elastic force of the elastic member 15 and the minimum value (line L22) of the variation of the elastic force of the elastic member 16 is relatively small. Become.
  • the clutch device 1H includes the member 14 and the member 13 as described above.
  • the member 14 is interposed between the elastic member 15 and the elastic member 16 and axially moves integrally with the bearing 22 and the member 23.
  • the member 13 is interposed between the member 14 and the member 12.
  • the member 13 contacts the member 14 in the axial direction when the bearing 22 and the member 23 are positioned at the position B1, and the member 14 and the axial direction when the member 23 and the bearing 22 are positioned at the position B2 of the position B1. Spaced apart. Therefore, for example, the elastic force of the elastic member 15 can be easily reduced. This makes it easy to reduce the driving force of the actuator.
  • the member 14 is different from that of the ninth embodiment.
  • the member 14 has a cylindrical portion 14a and a wall portion 14b as in the eighth embodiment, but does not have a wall portion 14k.
  • the contact part 13m of the member 13 can contact / separate to the wall part 14b of the member 14 and the nail
  • the contact portion 13m is disposed on the member 13, but may be disposed on the member 14.
  • Second contact portion 225f: projection portion (first contact portion), 227: elastic member (first elastic member), 235: elastic member (second elastic member), B1: position (first Position: B2: Position (second position) C1: Posture (first attitude) C3: Posture (second attitude) D1: Movement section (first movement section) D2: Movement section Second movement section).

Landscapes

  • Engineering & Computer Science (AREA)
  • General Engineering & Computer Science (AREA)
  • Mechanical Engineering (AREA)
  • Mechanical Operated Clutches (AREA)
PCT/JP2015/060746 2014-04-22 2015-04-06 クラッチ装置 Ceased WO2015163128A1 (ja)

Priority Applications (2)

Application Number Priority Date Filing Date Title
EP15783088.6A EP3135942A4 (en) 2014-04-22 2015-04-06 Clutch device
CN201580015459.1A CN106715943B (zh) 2014-04-22 2015-04-06 离合器装置

Applications Claiming Priority (4)

Application Number Priority Date Filing Date Title
JP2014-088599 2014-04-22
JP2014088599 2014-04-22
JP2014-238274 2014-11-25
JP2014238274A JP6331991B2 (ja) 2014-04-22 2014-11-25 クラッチ装置

Publications (1)

Publication Number Publication Date
WO2015163128A1 true WO2015163128A1 (ja) 2015-10-29

Family

ID=54332295

Family Applications (1)

Application Number Title Priority Date Filing Date
PCT/JP2015/060746 Ceased WO2015163128A1 (ja) 2014-04-22 2015-04-06 クラッチ装置

Country Status (4)

Country Link
EP (1) EP3135942A4 (enExample)
JP (1) JP6331991B2 (enExample)
CN (1) CN106715943B (enExample)
WO (1) WO2015163128A1 (enExample)

Families Citing this family (3)

* Cited by examiner, † Cited by third party
Publication number Priority date Publication date Assignee Title
CN107407345B (zh) * 2015-04-02 2020-04-21 舍弗勒技术股份两合公司 用于使从动轴与消耗器可松脱地连接的、具有旋转轴线的摩擦离合器
CN109296669A (zh) * 2017-07-25 2019-02-01 舍弗勒技术股份两合公司 具有摩擦弹性件的离合器装置
CN110388388B (zh) * 2018-04-17 2022-12-02 舍弗勒技术股份两合公司 摩擦离合器

Citations (5)

* Cited by examiner, † Cited by third party
Publication number Priority date Publication date Assignee Title
JPS6078117A (ja) * 1983-08-05 1985-05-02 ル−ク・ラメレン・ウント・クツプルングスバウ・ゲゼルシヤフト・ミツト・ベシユレンクテル・ハフツング 摩擦クラツチ
JPH0229326U (enExample) * 1988-08-12 1990-02-26
JPH0581537U (ja) * 1992-04-06 1993-11-05 株式会社大金製作所 クラッチカバー組立体
JPH0616728U (ja) * 1992-08-07 1994-03-04 株式会社大金製作所 クラッチカバー組立体
JP2013190036A (ja) * 2012-03-14 2013-09-26 Aisin Seiki Co Ltd クラッチ装置

Family Cites Families (8)

* Cited by examiner, † Cited by third party
Publication number Priority date Publication date Assignee Title
DD226940A5 (de) * 1983-08-05 1985-09-04 Luk Lamellen & Kupplungsbau Reibungskupplung
DE4412106A1 (de) * 1993-07-16 1995-01-19 Fichtel & Sachs Ag Reibungskupplung mit flacher Federkennlinie
FR2721669B1 (fr) * 1994-06-28 1996-09-06 Valeo Mécanisme d'embrayage, notamment pour véhicule automobile.
JP2000500557A (ja) * 1995-11-17 2000-01-18 ジェイ ケンパー,イヴ 力制御式アクチュエータシステム
FR2761738B1 (fr) * 1997-04-07 1999-06-18 Valeo Mecanisme d'embrayage pour embrayage a friction a faible effort de debrayage
FR2764015B1 (fr) * 1997-05-30 1999-08-06 Valeo Mecanisme d'embrayage pour embrayage a friction
CN101608674A (zh) * 2009-07-23 2009-12-23 上海交通大学 用于常开式离合器的膜片弹簧
BR112014011553A2 (pt) * 2012-01-24 2017-05-09 Schaeffler Technologies Gmbh & Co Kg dispositivo de embreagem

Patent Citations (5)

* Cited by examiner, † Cited by third party
Publication number Priority date Publication date Assignee Title
JPS6078117A (ja) * 1983-08-05 1985-05-02 ル−ク・ラメレン・ウント・クツプルングスバウ・ゲゼルシヤフト・ミツト・ベシユレンクテル・ハフツング 摩擦クラツチ
JPH0229326U (enExample) * 1988-08-12 1990-02-26
JPH0581537U (ja) * 1992-04-06 1993-11-05 株式会社大金製作所 クラッチカバー組立体
JPH0616728U (ja) * 1992-08-07 1994-03-04 株式会社大金製作所 クラッチカバー組立体
JP2013190036A (ja) * 2012-03-14 2013-09-26 Aisin Seiki Co Ltd クラッチ装置

Non-Patent Citations (1)

* Cited by examiner, † Cited by third party
Title
See also references of EP3135942A4 *

Also Published As

Publication number Publication date
JP6331991B2 (ja) 2018-05-30
CN106715943B (zh) 2019-01-18
JP2015215088A (ja) 2015-12-03
EP3135942A4 (en) 2017-04-26
CN106715943A (zh) 2017-05-24
EP3135942A1 (en) 2017-03-01

Similar Documents

Publication Publication Date Title
US10663015B2 (en) Clutch actuator with automatic wear compensation
CN108138902B (zh) 减振装置
EP2221509A2 (en) A motor-vehicle transmission
WO2015163128A1 (ja) クラッチ装置
WO2012053281A1 (ja) クラッチ装置
CN102667211B (zh) 用于调整离合器装置的空隙的方法
WO2012117805A1 (ja) クラッチ装置
JP6331992B2 (ja) クラッチ装置
US1197802A (en) Shaft-coupling.
WO2013183394A1 (ja) ツインクラッチ装置
JP6281356B2 (ja) クラッチ装置
JP6869472B2 (ja) 動力伝達機構
JP4777939B2 (ja) フライホィール装置
JP2019032037A (ja) クラッチ装置
JP6870504B2 (ja) 動力伝達機構
JP2013061032A (ja) クラッチ装置
CN106884893B (zh) 离合器装置
WO2018080902A1 (en) Rotational vibration absorber and drivetrain for a motor vehicle comprising such a rotational vibration absorber
JP2019032036A (ja) クラッチ装置
JP2019032035A (ja) クラッチ装置
WO2018061626A1 (ja) モータサイクル用クラッチ装置
JPH0914291A (ja) クラッチ装置
JP5267224B2 (ja) トルクリミッタおよび動力伝達装置
JP6318754B2 (ja) ダンパ装置
JP5050090B2 (ja) クラッチ装置

Legal Events

Date Code Title Description
121 Ep: the epo has been informed by wipo that ep was designated in this application

Ref document number: 15783088

Country of ref document: EP

Kind code of ref document: A1

REEP Request for entry into the european phase

Ref document number: 2015783088

Country of ref document: EP

WWE Wipo information: entry into national phase

Ref document number: 2015783088

Country of ref document: EP

WWE Wipo information: entry into national phase

Ref document number: IDP00201607113

Country of ref document: ID

NENP Non-entry into the national phase

Ref country code: DE