WO2015146123A1 - 熱交換器 - Google Patents

熱交換器 Download PDF

Info

Publication number
WO2015146123A1
WO2015146123A1 PCT/JP2015/001614 JP2015001614W WO2015146123A1 WO 2015146123 A1 WO2015146123 A1 WO 2015146123A1 JP 2015001614 W JP2015001614 W JP 2015001614W WO 2015146123 A1 WO2015146123 A1 WO 2015146123A1
Authority
WO
WIPO (PCT)
Prior art keywords
heat exchanger
gap
tube
fluid
fin
Prior art date
Legal status (The legal status is an assumption and is not a legal conclusion. Google has not performed a legal analysis and makes no representation as to the accuracy of the status listed.)
Ceased
Application number
PCT/JP2015/001614
Other languages
English (en)
French (fr)
Japanese (ja)
Inventor
遼平 杉村
稲垣 充晴
充克 斉藤
Current Assignee (The listed assignees may be inaccurate. Google has not performed a legal analysis and makes no representation or warranty as to the accuracy of the list.)
Denso Corp
Original Assignee
Denso Corp
Priority date (The priority date is an assumption and is not a legal conclusion. Google has not performed a legal analysis and makes no representation as to the accuracy of the date listed.)
Filing date
Publication date
Application filed by Denso Corp filed Critical Denso Corp
Priority to DE112015001451.9T priority Critical patent/DE112015001451T5/de
Priority to US15/126,442 priority patent/US9939208B2/en
Publication of WO2015146123A1 publication Critical patent/WO2015146123A1/ja
Anticipated expiration legal-status Critical
Ceased legal-status Critical Current

Links

Images

Classifications

    • FMECHANICAL ENGINEERING; LIGHTING; HEATING; WEAPONS; BLASTING
    • F28HEAT EXCHANGE IN GENERAL
    • F28FDETAILS OF HEAT-EXCHANGE AND HEAT-TRANSFER APPARATUS, OF GENERAL APPLICATION
    • F28F1/00Tubular elements; Assemblies of tubular elements
    • F28F1/10Tubular elements and assemblies thereof with means for increasing heat-transfer area, e.g. with fins, with projections, with recesses
    • F28F1/12Tubular elements and assemblies thereof with means for increasing heat-transfer area, e.g. with fins, with projections, with recesses the means being only outside the tubular element
    • F28F1/126Tubular elements and assemblies thereof with means for increasing heat-transfer area, e.g. with fins, with projections, with recesses the means being only outside the tubular element consisting of zig-zag shaped fins
    • F28F1/128Fins with openings, e.g. louvered fins
    • BPERFORMING OPERATIONS; TRANSPORTING
    • B60VEHICLES IN GENERAL
    • B60HARRANGEMENTS OF HEATING, COOLING, VENTILATING OR OTHER AIR-TREATING DEVICES SPECIALLY ADAPTED FOR PASSENGER OR GOODS SPACES OF VEHICLES
    • B60H1/00Heating, cooling or ventilating devices
    • B60H1/32Cooling devices
    • FMECHANICAL ENGINEERING; LIGHTING; HEATING; WEAPONS; BLASTING
    • F28HEAT EXCHANGE IN GENERAL
    • F28DHEAT-EXCHANGE APPARATUS, NOT PROVIDED FOR IN ANOTHER SUBCLASS, IN WHICH THE HEAT-EXCHANGE MEDIA DO NOT COME INTO DIRECT CONTACT
    • F28D1/00Heat-exchange apparatus having stationary conduit assemblies for one heat-exchange medium only, the media being in contact with different sides of the conduit wall, in which the other heat-exchange medium is a large body of fluid, e.g. domestic or motor car radiators
    • F28D1/02Heat-exchange apparatus having stationary conduit assemblies for one heat-exchange medium only, the media being in contact with different sides of the conduit wall, in which the other heat-exchange medium is a large body of fluid, e.g. domestic or motor car radiators with heat-exchange conduits immersed in the body of fluid
    • F28D1/04Heat-exchange apparatus having stationary conduit assemblies for one heat-exchange medium only, the media being in contact with different sides of the conduit wall, in which the other heat-exchange medium is a large body of fluid, e.g. domestic or motor car radiators with heat-exchange conduits immersed in the body of fluid with tubular conduits
    • F28D1/053Heat-exchange apparatus having stationary conduit assemblies for one heat-exchange medium only, the media being in contact with different sides of the conduit wall, in which the other heat-exchange medium is a large body of fluid, e.g. domestic or motor car radiators with heat-exchange conduits immersed in the body of fluid with tubular conduits the conduits being straight
    • FMECHANICAL ENGINEERING; LIGHTING; HEATING; WEAPONS; BLASTING
    • F28HEAT EXCHANGE IN GENERAL
    • F28DHEAT-EXCHANGE APPARATUS, NOT PROVIDED FOR IN ANOTHER SUBCLASS, IN WHICH THE HEAT-EXCHANGE MEDIA DO NOT COME INTO DIRECT CONTACT
    • F28D1/00Heat-exchange apparatus having stationary conduit assemblies for one heat-exchange medium only, the media being in contact with different sides of the conduit wall, in which the other heat-exchange medium is a large body of fluid, e.g. domestic or motor car radiators
    • F28D1/02Heat-exchange apparatus having stationary conduit assemblies for one heat-exchange medium only, the media being in contact with different sides of the conduit wall, in which the other heat-exchange medium is a large body of fluid, e.g. domestic or motor car radiators with heat-exchange conduits immersed in the body of fluid
    • F28D1/04Heat-exchange apparatus having stationary conduit assemblies for one heat-exchange medium only, the media being in contact with different sides of the conduit wall, in which the other heat-exchange medium is a large body of fluid, e.g. domestic or motor car radiators with heat-exchange conduits immersed in the body of fluid with tubular conduits
    • F28D1/053Heat-exchange apparatus having stationary conduit assemblies for one heat-exchange medium only, the media being in contact with different sides of the conduit wall, in which the other heat-exchange medium is a large body of fluid, e.g. domestic or motor car radiators with heat-exchange conduits immersed in the body of fluid with tubular conduits the conduits being straight
    • F28D1/0535Heat-exchange apparatus having stationary conduit assemblies for one heat-exchange medium only, the media being in contact with different sides of the conduit wall, in which the other heat-exchange medium is a large body of fluid, e.g. domestic or motor car radiators with heat-exchange conduits immersed in the body of fluid with tubular conduits the conduits being straight the conduits having a non-circular cross-section
    • F28D1/05366Assemblies of conduits connected to common headers, e.g. core type radiators
    • F28D1/05383Assemblies of conduits connected to common headers, e.g. core type radiators with multiple rows of conduits or with multi-channel conduits
    • FMECHANICAL ENGINEERING; LIGHTING; HEATING; WEAPONS; BLASTING
    • F28HEAT EXCHANGE IN GENERAL
    • F28DHEAT-EXCHANGE APPARATUS, NOT PROVIDED FOR IN ANOTHER SUBCLASS, IN WHICH THE HEAT-EXCHANGE MEDIA DO NOT COME INTO DIRECT CONTACT
    • F28D20/00Heat storage plants or apparatus in general; Regenerative heat-exchange apparatus not covered by groups F28D17/00 or F28D19/00
    • F28D20/02Heat storage plants or apparatus in general; Regenerative heat-exchange apparatus not covered by groups F28D17/00 or F28D19/00 using latent heat
    • FMECHANICAL ENGINEERING; LIGHTING; HEATING; WEAPONS; BLASTING
    • F28HEAT EXCHANGE IN GENERAL
    • F28FDETAILS OF HEAT-EXCHANGE AND HEAT-TRANSFER APPARATUS, OF GENERAL APPLICATION
    • F28F1/00Tubular elements; Assemblies of tubular elements
    • F28F1/10Tubular elements and assemblies thereof with means for increasing heat-transfer area, e.g. with fins, with projections, with recesses
    • F28F1/12Tubular elements and assemblies thereof with means for increasing heat-transfer area, e.g. with fins, with projections, with recesses the means being only outside the tubular element
    • F28F1/24Tubular elements and assemblies thereof with means for increasing heat-transfer area, e.g. with fins, with projections, with recesses the means being only outside the tubular element and extending transversely
    • F28F1/30Tubular elements and assemblies thereof with means for increasing heat-transfer area, e.g. with fins, with projections, with recesses the means being only outside the tubular element and extending transversely the means being attachable to the element
    • FMECHANICAL ENGINEERING; LIGHTING; HEATING; WEAPONS; BLASTING
    • F28HEAT EXCHANGE IN GENERAL
    • F28DHEAT-EXCHANGE APPARATUS, NOT PROVIDED FOR IN ANOTHER SUBCLASS, IN WHICH THE HEAT-EXCHANGE MEDIA DO NOT COME INTO DIRECT CONTACT
    • F28D20/00Heat storage plants or apparatus in general; Regenerative heat-exchange apparatus not covered by groups F28D17/00 or F28D19/00
    • F28D2020/0004Particular heat storage apparatus
    • F28D2020/0013Particular heat storage apparatus the heat storage material being enclosed in elements attached to or integral with heat exchange conduits
    • FMECHANICAL ENGINEERING; LIGHTING; HEATING; WEAPONS; BLASTING
    • F28HEAT EXCHANGE IN GENERAL
    • F28DHEAT-EXCHANGE APPARATUS, NOT PROVIDED FOR IN ANOTHER SUBCLASS, IN WHICH THE HEAT-EXCHANGE MEDIA DO NOT COME INTO DIRECT CONTACT
    • F28D21/00Heat-exchange apparatus not covered by any of the groups F28D1/00 - F28D20/00
    • F28D2021/0019Other heat exchangers for particular applications; Heat exchange systems not otherwise provided for
    • F28D2021/008Other heat exchangers for particular applications; Heat exchange systems not otherwise provided for for vehicles
    • F28D2021/0085Evaporators
    • FMECHANICAL ENGINEERING; LIGHTING; HEATING; WEAPONS; BLASTING
    • F28HEAT EXCHANGE IN GENERAL
    • F28FDETAILS OF HEAT-EXCHANGE AND HEAT-TRANSFER APPARATUS, OF GENERAL APPLICATION
    • F28F2215/00Fins
    • F28F2215/04Assemblies of fins having different features, e.g. with different fin densities
    • FMECHANICAL ENGINEERING; LIGHTING; HEATING; WEAPONS; BLASTING
    • F28HEAT EXCHANGE IN GENERAL
    • F28FDETAILS OF HEAT-EXCHANGE AND HEAT-TRANSFER APPARATUS, OF GENERAL APPLICATION
    • F28F2240/00Spacing means
    • FMECHANICAL ENGINEERING; LIGHTING; HEATING; WEAPONS; BLASTING
    • F28HEAT EXCHANGE IN GENERAL
    • F28FDETAILS OF HEAT-EXCHANGE AND HEAT-TRANSFER APPARATUS, OF GENERAL APPLICATION
    • F28F2265/00Safety or protection arrangements; Arrangements for preventing malfunction
    • F28F2265/14Safety or protection arrangements; Arrangements for preventing malfunction for preventing damage by freezing, e.g. for accommodating volume expansion
    • YGENERAL TAGGING OF NEW TECHNOLOGICAL DEVELOPMENTS; GENERAL TAGGING OF CROSS-SECTIONAL TECHNOLOGIES SPANNING OVER SEVERAL SECTIONS OF THE IPC; TECHNICAL SUBJECTS COVERED BY FORMER USPC CROSS-REFERENCE ART COLLECTIONS [XRACs] AND DIGESTS
    • Y02TECHNOLOGIES OR APPLICATIONS FOR MITIGATION OR ADAPTATION AGAINST CLIMATE CHANGE
    • Y02EREDUCTION OF GREENHOUSE GAS [GHG] EMISSIONS, RELATED TO ENERGY GENERATION, TRANSMISSION OR DISTRIBUTION
    • Y02E60/00Enabling technologies; Technologies with a potential or indirect contribution to GHG emissions mitigation
    • Y02E60/14Thermal energy storage

Definitions

  • This disclosure relates to a heat exchanger.
  • an evaporator of a vehicle air conditioner includes a tube through which a refrigerant flows, and fins that are joined to the tube and increase the heat exchange area between the air flowing around the tube and the refrigerant (see, for example, Patent Document 1). ).
  • conventional vehicle air conditioners use a thermistor to control the temperature of the evaporator to stop the refrigeration cycle or reduce the thermal load when the evaporator temperature falls below the reference temperature. Yes. Thereby, the condensed water adhering to the surface of the evaporator can be frozen only to the extent that it does not freeze or freeze cracking occurs.
  • This disclosure is intended to provide a heat exchanger that can suppress the occurrence of freeze cracking.
  • the heat exchanger includes a plurality of stacked tubes through which the first fluid flows, and fins that increase the heat exchange area between the second fluid that is joined to the tubes and flows around the tubes.
  • the cross-sectional shape perpendicular to the flow direction of the second fluid in the fin is a wave shape having a plurality of plane portions that are substantially parallel to the flow direction of the second fluid and top portions that connect the adjacent plane portions.
  • a gap is provided in the flat portion of the fin.
  • the gap portion is one farthest portion or plural At least one of the farthest portions of the
  • the surface temperature of at least one of the tubes and fins may be below the freezing point
  • the liquid (water or water-containing material) such as condensed water adhering to the tubes or fins freezes
  • Freezing proceeds from the peripheral part and finally the central part freezes.
  • the part where the freezing is finally completed hereinafter referred to as the final freezing part
  • the freezing part is included in the freezing part that has already been frozen, and a load is applied to the surrounding tubes and fins due to volume expansion due to freezing. .
  • a freeze crack may generate
  • a freezing load a load accompanying volume expansion due to freezing of the final frozen portion in the gap portion.
  • the void portion at the farthest portion where the shortest distance from the center line between adjacent flat portions is the maximum in the cross section perpendicular to the stacking direction of the tubes in the fin, the freezing load is maximized among the fins. Since the freezing load can be released at the site, it is possible to suppress the occurrence of freezing cracks in the tubes and fins.
  • a heat exchanger used in a heat pump cycle has a heat exchange area between a plurality of stacked tubes in which a first fluid flows and a second fluid that is joined to the tube and flows around the tube.
  • the fin has a wave shape having a plurality of plane portions substantially parallel to the flow direction of the second fluid and a top portion connecting the adjacent plane portions.
  • a plurality of louvers cut and raised at a predetermined cut and raised angle with respect to the flat portion are provided in the flat portion along the flow direction of the second fluid.
  • the plurality of louvers include a first louver group and a second louver group that is arranged downstream of the first louver group in the flow direction of the second fluid and is cut and raised in a direction different from the first louver group.
  • At least one turning portion that changes the flow direction of the second fluid is provided at a portion of the flat portion between the first louver group and the second louver group.
  • the at least one turning portion is provided with at least one gap portion that allows adjacent air passages partitioned by the plane portion to communicate with each other.
  • FIG. 3 is a cross-sectional view taken along line III-III in FIG. 2. It is the IV section enlarged view of FIG. It is the V section enlarged view of FIG. It is a characteristic view which shows the relationship between the distance from the air flow upstream edge part and the shortest distance L of a fin. It is an expansion perspective view which shows the outdoor heat exchanger which concerns on 1st Embodiment. It is a characteristic view which shows the analysis result of the frozen state when fin pitch Fp and slit width W are each changed.
  • the heat exchanger according to the present disclosure is applied to an outdoor heat exchanger that functions as an evaporator that evaporates by heat-exchanging low-pressure refrigerant in the heat pump cycle with outside air.
  • the outdoor heat exchanger is a downflow type heat exchanger in which a refrigerant (first fluid) as an internal fluid flows in a vertical direction.
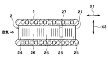
  • the outdoor heat exchanger includes a tube 1 that is a pipe through which a refrigerant flows.
  • the tube 1 has an oblong shape (flat shape) in which the shape of the vertical cross section in the longitudinal direction is flat so that the flow direction of air (second fluid) as an external fluid (hereinafter referred to as the air flow direction X1) coincides with the long diameter direction. ).
  • a plurality of tubes 1 are arranged in parallel in the horizontal direction so that the longitudinal direction thereof coincides with the vertical direction.
  • a fine multi-hole tube by extrusion is employed as the tube 1.
  • the tube 1 has two flat surfaces 10a and 10b facing each other across a fluid passage through which the refrigerant in the tube 1 flows. Fins 2 as heat transfer members formed in a wave shape are joined to the flat surfaces 10 a and 10 b on both sides of the tube 1. The heat transfer area with the air is increased by the fins 2 to promote heat exchange between the refrigerant and the air. For this reason, the tube 1 is corresponded to the heat exchange target object of this indication.
  • a substantially rectangular heat exchanging portion including the tube 1 and the fins 2 is referred to as a core portion 3.
  • the header tank 4 is a direction (horizontal direction in the present embodiment) orthogonal to the tube longitudinal direction X2 at an end portion (upper and lower ends in the present embodiment) of the longitudinal direction of the tube 1 (hereinafter referred to as the tube longitudinal direction X2). And communicate with the plurality of tubes 1.
  • the header tank 4 includes a core plate 4a to which the tube 1 is inserted and joined, and a tank body 4b that constitutes a tank internal space together with the core plate 4a.
  • the core plate 4a and the tank body 4b are made of metal (for example, aluminum alloy).
  • inserts 5 that reinforce the core portion 3 by extending substantially parallel to the tube longitudinal direction X ⁇ b> 2 are provided at both ends of the core portion 3.
  • an inlet pipe 4 c is provided in the tank body 4 b of the inlet side tank 41 that is arranged on the upper side and that divides the refrigerant into the tube 1 and that allows the refrigerant to flow into the tank body 4 b. It has been.
  • the refrigerant cooled by heat exchange with the air is placed in the tank main body portion 4b of the outlet side tank 42 which is arranged on the lower side of the two header tanks 4 and collects the refrigerant flowing out of the tube 1.
  • An outlet pipe 4d is provided for discharge.
  • the fin 2 is a corrugated fin formed in a wave shape so as to have a plate-like plate portion 21 and a top portion 22 that positions the adjacent plate portions 21 apart from each other by a predetermined distance.
  • the plate part 21 provides a surface extending along the air flow direction X1.
  • the plate portion 21 can be provided by a flat plate, and is also referred to as a plane portion 21 in the following description.
  • the top portion 22 has a flat top plate portion that provides a narrow-width plane to face the outside. Between the top plate portion and the flat portion 21, a substantially right-angled bent portion is provided. The top plate portion is joined to the tube 1, and the fin 2 and the tube 1 are joined so that heat can be transferred.
  • the top portion 22 can be viewed as a curved portion that is curved as a whole when the width of the top plate portion is sufficiently narrow and the bent portion is formed with a large radius. Therefore, in the following description, the top portion 22 is also referred to as a curved portion 22.
  • the corrugated fin 2 is formed by subjecting a sheet metal material to a roller forming method.
  • the curved portion 22 of the fin 2 is joined to the flat surfaces 10a and 10b of the tube 1 by brazing.
  • an armor window-like louver 23 is integrally formed on the planar portion 21 of the fin 2 by cutting and raising the planar portion 21.
  • the louver 23 is cut and raised at a predetermined angle with respect to the plane portion 21 when viewed from the stacking direction of the tubes 1 (hereinafter referred to as the tube stacking direction X3), and the plane portion 21 along the air flow direction X1.
  • the tube stacking direction X3 the stacking direction of the tubes 1
  • the plane portion 21 along the air flow direction X1.
  • the plurality of louvers 23 formed on one plane portion 21 include an upstream louver group 23 c (first louvers) including a plurality of first louvers 23 located on the air flow upstream side. Group) and a downstream louver group 23d (second louver group) including a plurality of second louvers 23 located on the downstream side of the air flow.
  • the direction of the louver 23 belonging to the upstream louver group 23c is different from the direction of the louver 23 belonging to the downstream louver group 23d.
  • the upstream louver group 23c and the downstream louver group 23d are formed so that the direction in which the louver 23 belonging to each of them is raised is reversed.
  • the end of the plane portion 21 on the upstream side of the air flow is an upstream plane portion 24 where the louver 23 is not formed.
  • the air flow downstream end of the plane portion 21 is a downstream plane portion 25 in which the louver 23 is not formed.
  • the louver 23 is not formed between the upstream louver group 23c and the downstream louver group 23d in the substantially central portion of the flat portion 21 in the air flow direction X1, that is, as a turning portion 26 in which the air flow direction is reversed. Yes.
  • the turning portion 26 formed substantially parallel to the air flow direction X1 is provided between the upstream louver group 23c and the downstream louver group 23d. Via this turning part 26, the upstream louver group 23c and the downstream louver group 23d are reversed in the direction in which the louvers 23 belonging to the upstream louver group 23c and the downstream louver group 23d belong.
  • the upstream end louver 23 a disposed on the most upstream side of the air flow is connected to the upstream plane portion 24. Further, among the plurality of louvers 23, the downstream end louver 23 b disposed on the most downstream side of the air flow is connected to the downstream plane portion 25.
  • louvers 23 are arranged on the upstream side and the downstream side of the air flow of the turning portion 26.
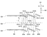
  • the plurality of louvers 23 are arranged symmetrically with respect to the center line (virtual line) C1 of the plane portion 21 in the air flow direction.
  • the alternate long and two short dashes line indicates the center line (virtual line) C ⁇ b> 2 between the adjacent flat portions 21 in the cross section perpendicular to the tube stacking direction X ⁇ b> 3 in the fin 2.
  • the broken line indicates a center line (virtual line) C3 in the plate thickness direction of the fin 2.
  • a plurality of one-dot chain lines are virtual lines parallel to the tube longitudinal direction X2.
  • the distance from the point C211 of the center line C2 is the shortest distance L.
  • the part of the louver 23 is shown as C311.
  • the portions of the louver 23 having the shortest distance L with respect to the points C212 to C218 of the center line C2 are denoted as C312 to C318 sequentially from the upstream side of the air flow.
  • points C221 to C228 on the center line C2 and portions of the louver 23 or turning portion 26 that are the shortest distance L from the points C221 to C228 are denoted by reference numerals C321 to C328.
  • the positions of the fins 2 having the shortest distance L are shown as C311 to C328.
  • the shortest distance L is maximized at the air flow upstream end, the air flow downstream end, and the air flow direction end of the plane portion 21 of the fin 2.
  • the shortest distance L is maximum in the upstream plane portion 24, the downstream plane portion 25, and the turning portion 26 in the plane portion 21. Accordingly, the upstream plane portion 24, the downstream plane portion 25, and the turning portion 26 of the present embodiment correspond to the farthest portion of the present disclosure.
  • the slit 27 is formed in the turning portion 26 among the portions (the upstream flat portion 24, the downstream flat portion 25, and the turning portion 26) where the shortest distance L in the flat portion 21 is maximum. At this time, the slit 27 is provided in a portion farthest from each of the upstream end and the downstream end in the air flow direction X1 of the tube 1.
  • the slit 27 is formed by cutting the flat portion 21 from one curved portion 22 adjacent to the flat portion 21 toward the other curved portion 22.
  • the slit 27 is formed to have a substantially rectangular shape in plan view (a state viewed from the tube longitudinal direction X2).
  • the slit 27 is superposed on the tube 1 when viewed from the tube stacking direction X3.
  • the fin 2 is formed so that the upstream side and the downstream side in the air flow direction X1 are symmetrical with respect to the slit 27.
  • the slit 27 of the present embodiment corresponds to the gap portion of the present disclosure.
  • the length of the slit 27 in the air flow direction X1 is referred to as a slit width (gap width) W.
  • the slit width W is larger than the diameter of the inscribed circle in the space between the tube 1 and the fin 2.
  • the present inventor analyzed the frozen state when the fin pitch Fp (see FIG. 2) and the slit width W of the fin 2 were changed. The analysis result is shown in FIG.
  • the temperature of the wall boundary on the air (outside air) side is 15 ° C.
  • the thermal conductivity is 5 W / m 2 K (equivalent to natural convection)
  • the temperature of the wall boundary on the refrigerant side is ⁇ 8.
  • the thermal conductivity was set to ⁇ W / m 2 K.
  • the slit width W is changed while keeping the fin pitch Fp constant, and the deformation amount of the tube 1 when the condensed water is frozen is measured.
  • the result is shown in FIG.
  • the region on the left side of the thick broken line in FIG. 8 indicates that the tube 1 has been deformed, and the region on the right side of the thick broken line in FIG. 8 indicates that the tube 1 has not been deformed.
  • FIG. 10 shows the analysis result of the freezing order when the blockage described later occurs during freezing.
  • the frozen portion is indicated by dot hatching
  • the unfrozen portion region where unfrozen condensed water is present
  • unfrozen condensed water remains in the farthest part (the turning part 26 in the present embodiment) that is the part where the shortest distance L is maximum, and this unfrozen condensed water is The outside is frozen while remaining inside.
  • FIG. 11 shows the analysis result of the freezing order when no blockage occurs during freezing.
  • the slit width W is large, the blockage does not occur during freezing. Even if the unfrozen condensed water freezes and expands in this state, the load can be released to the atmosphere release side (outside the atmosphere side). For this reason, deformation of the tube 1 can be suppressed.
  • the slit width W of the slit 27 provided in the fin 2 is large, so that condensed water can be discharged downward in the vertical direction.
  • the condensed water cannot be discharged because the slit width W of the slit 27 is small.
  • the slit width W is set to be a region on the right side of the thick solid line in FIG. Specifically, the slit width W (unit: mm) and the fin pitch Fp (unit: mm) are set so as to satisfy the relationship of W> 0.414 ⁇ Fp + 0.0575.
  • the slit width W is set so as to satisfy the following formula 1.
  • (alpha) (unit: degrees) has shown the fin angle which is the angle which the two plane parts 21 connected to the one curved part 22 in the fin 2 make
  • FH (unit: mm) is the fin 2
  • the fin height which is the length of the tube lamination direction X3 is shown.
  • (unit: °) represents the cut-and-raised angle of the louver 23
  • Lp (unit: mm) represents the length of the louver 23, that is, the flow direction of air flowing on the surface of the louver 23 in the louver 23.
  • the average value along the length is shown.
  • a represents the following formula 2
  • b represents the following formula 3.
  • a portion of the fin 2 where condensed water may accumulate on the surface is referred to as a water retaining portion.
  • the outdoor heat exchanger of this embodiment is a downflow type heat exchanger, the condensed water moves downward in the vertical direction in the fins 2 due to gravity.
  • the water retention part is located on the lower side in the vertical direction of the fins 2.
  • the slit 27 is provided in each plane part 21 from the lowest side to the upper side rather than a water retention part among the several plane parts 21 of the fin 2. As shown in FIG.
  • the slit 27 is provided in a portion where the shortest distance L from the center line C2 between the adjacent flat portions 21 is maximum in the cross section perpendicular to the tube stacking direction X3 in the fin 2. According to this, since the freezing load can be released at the portion of the fin 2 where the freezing load is maximum, it is possible to suppress the occurrence of freezing cracks in the tube 1 and the fin 2.
  • the turning portion 26 is a portion of the flat surface portion 21 where the freezing load is maximized. Further, the turning portion 26 exists in the center portion of the air flow direction X1 in the core portion 3, but the center portion of the air flow direction X1 of the core portion 3 is a portion where the deformation amount of the tube 1 due to the freezing load is maximized. .
  • the slit 27 is turned away from each of the upstream end and the downstream end in the air flow direction X1 of the tube 1, that is, the center portion in the air flow direction X1.
  • the unit 26 is provided. For this reason, it becomes possible to release the freezing load at a portion of the flat portion 21 where the tube 1 is most easily damaged when the freezing load is applied.
  • the fin 2 is formed so that the upstream side and the downstream side in the air flow direction X1 are symmetrical with respect to the slit 27. According to this, the moldability of the fin 2 can be improved.
  • the slit 27 is made into the upper side rather than a water retention part from the lowest side among the several plane parts 21 of the fin 2.
  • FIG. It is provided on each flat part 21. According to this, since the slit 27 is provided in the water retaining part of the fin 2, that is, the portion where the condensed water may adhere, it is possible to reliably suppress the occurrence of freeze cracks in the tube 1 and the fin 2. .
  • a second embodiment will be described with reference to FIG.
  • the second embodiment is different from the first embodiment in that a through hole 28 is provided instead of the slit 27.
  • the turning portion 26 has a circular shape among the portions (the upstream flat portion 24, the downstream flat portion 25, and the turning portion 26) where the shortest distance L is maximum in the flat portion 21.
  • Through-holes 28 are formed.
  • the through hole 28 of the present embodiment corresponds to a void portion of the present disclosure.
  • the diameter of the through hole 28 corresponds to the slit width W.
  • the freezing load can be released in the through hole 28, and thus the same effect as in the first embodiment can be obtained. It becomes.
  • a third embodiment will be described with reference to FIG.
  • the third embodiment is different from the second embodiment in that the through hole 28 has a triangular shape.
  • the turning portion 26 has a triangular shape. Through-holes 28 are formed. At this time, the diameter of the inscribed circle of the through hole 28 corresponds to the slit width W. According to the present embodiment, by providing the through hole 8 in the flat portion 21 of the fin 2, the freezing load can be released in the through hole 28, and thus the same effect as in the first embodiment can be obtained. It becomes.
  • two fins 2 are provided side by side in the air flow direction X1.
  • the two fins 2 are arranged with a gap 29 therebetween.
  • a gap portion is formed by the gap 29 between the two fins 2.
  • the length of the air flow direction X1 in the gap 29 between the two fins 2 corresponds to the slit width W.
  • the freezing load can be released in the gap 29, so that the same effect as in the first embodiment can be obtained. Become.
  • a plurality (three in this example) of turning portions 26 are provided on the planar portion 21 of the fin 2.
  • the turning portions 26 are arranged at equal intervals on the flat portion 21.
  • a slit 27 is formed in the turning portion 26 on the most downstream side of the air flow.
  • the turning portion 26 on the most downstream side of the air flow is difficult to transmit the heat of the air, so that unfrozen condensed water tends to exist during freezing, and the freezing load tends to increase.
  • the freezing load can be released in the slit 27 by providing the slit 27 in the turning portion 26 on the most downstream side of the air flow among the plurality of turning portions 26 as in the present embodiment. Therefore, it becomes possible to release the freezing load at a portion of the flat portion 21 where the tube 1 is easily damaged when the freezing load is applied.
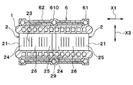
  • the outdoor heat exchanger of this embodiment has a cool storage material container 6 that partitions a room for storing the cool storage material.
  • the cold storage material container 6 is joined to the tube 1.
  • the cool storage material container 6 includes three chamber portions 61 having a substantially square cross section viewed from the tube longitudinal direction X2, and two passage portions 62 that connect the chamber portions 61 to each other.
  • the room portion 61 has a larger volume than the passage portion 62.
  • Three room portions 61 are provided side by side in the air flow direction X1.
  • the three room parts 61 are arranged at intervals. Two adjacent room portions 61 are connected by a passage portion 62. Therefore, the three chamber portions 61 communicate with each other through the passage portion 62.
  • the passage portion 62 is joined to the tube 1, but a gap is formed between the passage portion 62 and the tube 1.
  • the chamber portion 61 (hereinafter referred to as the central chamber portion 610) disposed between the two chamber portions 61 is joined to the central portion of the tube 1 in the air flow direction. More specifically, the central chamber portion 610 overlaps with the gap 29 (gap portion) between the two fins 2 when viewed from the tube stacking direction X3.
  • the cold storage material container 6 (central chamber portion 610) is provided so as to overlap with the gap 29 between the two fins 2 when viewed from the tube stacking direction X3.
  • a heat load can be applied to the gap 29 between the two fins 2 during freezing.
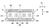
  • a seventh embodiment will be described with reference to FIG. 7th Embodiment differs in the point which provided the recessed part 11 in the tube 1 compared with the said 4th Embodiment.
  • the recessed part 11 dented in the tube lamination direction X3 is provided in the center part of the air flow direction in the tube 1. As shown in FIG. The concave portion 11 overlaps with the gap 29 (gap portion) between the two fins 2 when viewed from the tube stacking direction X3. That is, the recess 11 is provided in a portion of the tube 1 that faces the gap 29.
  • the eighth embodiment will be described with reference to FIGS.
  • the eighth embodiment is different from the first embodiment in that a plurality of turning portions 26 are provided on the flat surface portion 21 of the fin 2.
  • a plurality (three in this example) of turning portions 26 are provided on the planar portion 21 of the fin 2.
  • the louver 23 is configured such that the direction of cutting and raising is reversed at each turning portion 26.
  • the turning portion 26 arranged at the center is referred to as a central turning portion 260.
  • the central turning portion 260 is formed to have a longer length in the air flow direction X1 than the other turning portions 26.
  • the central turning portion 26 is provided with a slit 27, but the other turning portions 26 are not provided with the slit 27.
  • the freezing load can be released in the slit 27, so that the same as in the first embodiment. It becomes possible to obtain the effect.
  • the slit 27 or the through hole 28 is formed in the turning portion 26 among the upstream flat portion 24, the downstream flat portion 25, and the turning portion 26, which is the portion where the shortest distance L in the flat portion 21 is maximum.
  • the portion where the slit 27 or the through hole 28 is provided is not limited thereto.
  • the slit 27 or the through hole 28 may be formed in either the upstream plane portion 24 or the downstream plane portion 25, or may be formed in both the upstream plane portion 24 and the downstream plane portion 25. Good. Further, the slits 27 or the through holes 28 may be formed at two or more of the upstream plane portion 24, the downstream plane portion 25, and the turning portion 26.
  • the slit 27 or the through hole 28 is formed in at least one of the upstream plane portion 24, the downstream plane portion 25, and the turning portion 26, which is the portion where the shortest distance L in the plane portion 21 is maximum.
  • part in the plane part 21 part where the shortest distance L in the plane part 21 does not become the maximum.
  • the slit 27 is provided in the turning portion 26 on the most downstream side of the air flow among the plurality of turning portions 26 has been described.
  • part which provides the slit 27 is not limited to these.
  • the slits 27 may be provided in all of the plurality of turning portions 26, or may be provided in any place among the plurality of turning portions 26.
  • the upstream louver group 23c and the downstream louver group 23d are formed so that the direction in which the louvers 23 belonging to each of the louvers 23 are opposite (reverse) is different. It is not limited.
  • the plurality of louvers 23 may be formed so as to be bilaterally symmetric with respect to the center line C1 of the airflow direction X1 in the plane portion 21. In this case, even if the louver 23 belonging to the upstream louver group 23c and the louver 23 belonging to the downstream louver group 23d have the same shape, the formability can be improved.
  • the heat exchanger according to the present disclosure has been described with respect to an example in which the heat exchanger is applied to an outdoor heat exchanger that functions as an evaporator that evaporates by heat-exchanging low-pressure refrigerant with outside air.
  • the heat exchanger according to the present disclosure may be applied to a radiator that radiates heat of an antifreeze liquid (for example, LLC) to the outside air.
  • an antifreeze liquid for example, LLC

Landscapes

  • Engineering & Computer Science (AREA)
  • Physics & Mathematics (AREA)
  • Thermal Sciences (AREA)
  • Mechanical Engineering (AREA)
  • General Engineering & Computer Science (AREA)
  • Geometry (AREA)
  • Heat-Exchange Devices With Radiators And Conduit Assemblies (AREA)
  • Air-Conditioning For Vehicles (AREA)
PCT/JP2015/001614 2014-03-24 2015-03-23 熱交換器 Ceased WO2015146123A1 (ja)

Priority Applications (2)

Application Number Priority Date Filing Date Title
DE112015001451.9T DE112015001451T5 (de) 2014-03-24 2015-03-23 Wärmetauscher
US15/126,442 US9939208B2 (en) 2014-03-24 2015-03-23 Heat exchanger

Applications Claiming Priority (2)

Application Number Priority Date Filing Date Title
JP2014059756A JP6687967B2 (ja) 2014-03-24 2014-03-24 熱交換器
JP2014-059756 2014-03-24

Publications (1)

Publication Number Publication Date
WO2015146123A1 true WO2015146123A1 (ja) 2015-10-01

Family

ID=54194673

Family Applications (1)

Application Number Title Priority Date Filing Date
PCT/JP2015/001614 Ceased WO2015146123A1 (ja) 2014-03-24 2015-03-23 熱交換器

Country Status (4)

Country Link
US (1) US9939208B2 (enExample)
JP (1) JP6687967B2 (enExample)
DE (1) DE112015001451T5 (enExample)
WO (1) WO2015146123A1 (enExample)

Cited By (3)

* Cited by examiner, † Cited by third party
Publication number Priority date Publication date Assignee Title
DE102016213197A1 (de) * 2016-07-19 2018-01-25 Mahle International Gmbh Wellrippe eines Wärmeübertragers und Wärmeübertrager
CN110300879A (zh) * 2017-02-21 2019-10-01 三菱电机株式会社 热交换器及空气调节机
US10655530B2 (en) * 2016-02-12 2020-05-19 Denso Corporation Intercooler

Families Citing this family (13)

* Cited by examiner, † Cited by third party
Publication number Priority date Publication date Assignee Title
JP6409793B2 (ja) 2016-02-11 2018-10-24 株式会社デンソー インタークーラ
JP2018132247A (ja) * 2017-02-15 2018-08-23 富士電機株式会社 自動販売機
CN210689278U (zh) * 2019-09-29 2020-06-05 杭州三花微通道换热器有限公司 多通道换热器和空调制冷系统
EP4060276B1 (en) 2019-11-11 2024-04-24 Mitsubishi Electric Corporation Heat exchanger and refrigeration cycle device
DE102020100105A1 (de) * 2020-01-06 2021-07-08 Volkswagen Aktiengesellschaft Wärmeübertrager
JP6843309B1 (ja) 2020-05-07 2021-03-17 三菱電機株式会社 湿度センサおよび空気調和機
WO2022219719A1 (ja) * 2021-04-13 2022-10-20 三菱電機株式会社 熱交換器および冷凍サイクル装置
CN117561416A (zh) 2021-06-29 2024-02-13 三菱电机株式会社 热交换器、制冷循环装置以及热交换器制造方法
DE112022006802T5 (de) 2022-03-09 2025-01-16 Mitsubishi Electric Corporation Wärmetauscher und kühlkreislaufgerät mit dem wärmetauscher
JP7305085B1 (ja) 2022-04-12 2023-07-07 三菱電機株式会社 熱交換器および冷凍サイクル装置
CN119013526A (zh) 2022-04-19 2024-11-22 三菱电机株式会社 热交换器及空气调节装置
US12560384B2 (en) * 2022-07-27 2026-02-24 Blue Frontier Inc. Plate-fin heat exchanger
DE102023211655A1 (de) * 2023-11-22 2025-05-22 Mahle International Gmbh Temperierplatte und Batteriezellenanordnung

Citations (3)

* Cited by examiner, † Cited by third party
Publication number Priority date Publication date Assignee Title
JPH10141805A (ja) * 1996-11-13 1998-05-29 Toyota Central Res & Dev Lab Inc エバポレータ
JP2000179988A (ja) * 1998-12-10 2000-06-30 Denso Corp 冷媒蒸発器
JP2001059690A (ja) * 1999-08-20 2001-03-06 Zexel Valeo Climate Control Corp 熱交換器

Family Cites Families (25)

* Cited by examiner, † Cited by third party
Publication number Priority date Publication date Assignee Title
JPS5678966U (enExample) * 1979-11-22 1981-06-26
JPS58214793A (ja) * 1982-06-09 1983-12-14 Mitsubishi Electric Corp 熱交換器
US5529116A (en) * 1989-08-23 1996-06-25 Showa Aluminum Corporation Duplex heat exchanger
SE469552B (sv) * 1991-12-18 1993-07-26 Volvo Ab Avluftningsanordning vid braenslepaafyllningsroer
JP2588114Y2 (ja) 1993-03-30 1999-01-06 株式会社日本クライメイトシステムズ 自動車用熱交換器
JP3358380B2 (ja) 1995-04-21 2002-12-16 株式会社デンソー 熱交換器とその製造方法
US5992514A (en) 1995-11-13 1999-11-30 Denso Corporation Heat exchanger having several exchanging portions
JPH10231724A (ja) 1997-02-19 1998-09-02 Denso Corp 熱交換器
JP3709611B2 (ja) 1995-12-15 2005-10-26 株式会社デンソー 熱交換器
JP3446427B2 (ja) 1995-11-13 2003-09-16 株式会社デンソー 熱交換器
US6209628B1 (en) 1997-03-17 2001-04-03 Denso Corporation Heat exchanger having several heat exchanging portions
JP3855346B2 (ja) 1997-03-17 2006-12-06 株式会社デンソー 熱交換器
JPH11159987A (ja) 1997-11-29 1999-06-15 Toyo Radiator Co Ltd 複合型熱交換器用コルゲートフィンおよびその製造方法
KR100297189B1 (ko) * 1998-11-20 2001-11-26 황해웅 열전달촉진효과를갖는고효율모듈형오엘에프열교환기
KR100365022B1 (ko) 2000-05-04 2002-12-16 한국기계연구원 고효율 다채널형 루프 열전달장치
JP4513207B2 (ja) 2000-12-21 2010-07-28 ダイキン工業株式会社 空気熱交換器
JP4041654B2 (ja) 2001-01-31 2008-01-30 カルソニックカンセイ株式会社 熱交換器のルーバーフィンおよびその熱交換器並びにそのルーバーフィンの組付け方法
US20030102113A1 (en) 2001-11-30 2003-06-05 Stephen Memory Heat exchanger for providing supercritical cooling of a working fluid in a transcritical cooling cycle
EP1532417A4 (en) * 2002-06-18 2008-07-30 Showa Denko Kk AS A UNIT OF TRAINED HEAT EXCHANGE
FR2849174B1 (fr) 2002-12-23 2006-01-06 Valeo Thermique Moteur Sa Ailette d'echange de chaleur, notamment de refroidissement, module d'echange de chaleur comprenant une telle ailette et procede de fabrication d'echangeurs de chaleur utilisant ladite ailette
JP4683987B2 (ja) 2005-04-14 2011-05-18 カルソニックカンセイ株式会社 一体型熱交換器のフィン構造
JP2007010176A (ja) 2005-06-28 2007-01-18 Denso Corp 熱交換器
JP2007113802A (ja) 2005-10-18 2007-05-10 Denso Corp 蒸発器
US7549465B2 (en) * 2006-04-25 2009-06-23 Lennox International Inc. Heat exchangers based on non-circular tubes with tube-endplate interface for joining tubes of disparate cross-sections
JP2008309373A (ja) 2007-06-13 2008-12-25 Denso Corp 熱交換器

Patent Citations (3)

* Cited by examiner, † Cited by third party
Publication number Priority date Publication date Assignee Title
JPH10141805A (ja) * 1996-11-13 1998-05-29 Toyota Central Res & Dev Lab Inc エバポレータ
JP2000179988A (ja) * 1998-12-10 2000-06-30 Denso Corp 冷媒蒸発器
JP2001059690A (ja) * 1999-08-20 2001-03-06 Zexel Valeo Climate Control Corp 熱交換器

Cited By (4)

* Cited by examiner, † Cited by third party
Publication number Priority date Publication date Assignee Title
US10655530B2 (en) * 2016-02-12 2020-05-19 Denso Corporation Intercooler
DE102016213197A1 (de) * 2016-07-19 2018-01-25 Mahle International Gmbh Wellrippe eines Wärmeübertragers und Wärmeübertrager
CN110300879A (zh) * 2017-02-21 2019-10-01 三菱电机株式会社 热交换器及空气调节机
CN110300879B (zh) * 2017-02-21 2020-11-03 三菱电机株式会社 热交换器及空气调节机

Also Published As

Publication number Publication date
DE112015001451T5 (de) 2017-01-05
JP2015183908A (ja) 2015-10-22
US9939208B2 (en) 2018-04-10
JP6687967B2 (ja) 2020-04-28
US20170082381A1 (en) 2017-03-23

Similar Documents

Publication Publication Date Title
JP6687967B2 (ja) 熱交換器
JP5868088B2 (ja) 車両用空調装置のクーリングユニット
US20120103583A1 (en) Heat exchanger and fin for the same
JP6011481B2 (ja) 熱交換器用フィン
JP2006322698A (ja) 熱交換器
CN102374705A (zh) 带蓄冷功能的蒸发器
JP2013061136A5 (enExample)
US10352599B2 (en) Evaporator
JP2021073431A (ja) アルミニウム製押出扁平多穴管及び熱交換器
CN104937362B (zh) 热交换器
JP2015017776A5 (enExample)
JP2018532093A (ja) 熱交換器
JP2007178015A (ja) 熱交換器
JP4122670B2 (ja) 熱交換器
JP6575895B2 (ja) 熱交換器
CN103791750A (zh) 翅片管热交换器
JP2003185374A (ja) 最適化されたプレートを備える熱交換器のチューブ
CN102918348B (zh) 热交换器以及使用该热交换器的热泵装置
CN111556950A (zh) 冷冻冷藏库用热交换器
JP2010175167A (ja) 蓄冷熱交換器
JP6220692B2 (ja) 熱交換器
CN110017703B (zh) 热交换器
JP2010255864A (ja) 扁平管および熱交換器
JP6659215B2 (ja) 熱交換器
JP2015148392A5 (enExample)

Legal Events

Date Code Title Description
121 Ep: the epo has been informed by wipo that ep was designated in this application

Ref document number: 15768456

Country of ref document: EP

Kind code of ref document: A1

WWE Wipo information: entry into national phase

Ref document number: 15126442

Country of ref document: US

WWE Wipo information: entry into national phase

Ref document number: 112015001451

Country of ref document: DE

122 Ep: pct application non-entry in european phase

Ref document number: 15768456

Country of ref document: EP

Kind code of ref document: A1