WO2015075918A1 - 組付け部材 - Google Patents

組付け部材 Download PDF

Info

Publication number
WO2015075918A1
WO2015075918A1 PCT/JP2014/005751 JP2014005751W WO2015075918A1 WO 2015075918 A1 WO2015075918 A1 WO 2015075918A1 JP 2014005751 W JP2014005751 W JP 2014005751W WO 2015075918 A1 WO2015075918 A1 WO 2015075918A1
Authority
WO
WIPO (PCT)
Prior art keywords
claw
fitting hole
plate
extending
section
Prior art date
Legal status (The legal status is an assumption and is not a legal conclusion. Google has not performed a legal analysis and makes no representation as to the accuracy of the status listed.)
Ceased
Application number
PCT/JP2014/005751
Other languages
English (en)
French (fr)
Japanese (ja)
Inventor
稲吉 徹
Current Assignee (The listed assignees may be inaccurate. Google has not performed a legal analysis and makes no representation or warranty as to the accuracy of the list.)
Denso Corp
Original Assignee
Denso Corp
Priority date (The priority date is an assumption and is not a legal conclusion. Google has not performed a legal analysis and makes no representation as to the accuracy of the date listed.)
Filing date
Publication date
Application filed by Denso Corp filed Critical Denso Corp
Publication of WO2015075918A1 publication Critical patent/WO2015075918A1/ja
Anticipated expiration legal-status Critical
Ceased legal-status Critical Current

Links

Images

Classifications

    • GPHYSICS
    • G01MEASURING; TESTING
    • G01DMEASURING NOT SPECIALLY ADAPTED FOR A SPECIFIC VARIABLE; ARRANGEMENTS FOR MEASURING TWO OR MORE VARIABLES NOT COVERED IN A SINGLE OTHER SUBCLASS; TARIFF METERING APPARATUS; MEASURING OR TESTING NOT OTHERWISE PROVIDED FOR
    • G01D11/00Component parts of measuring arrangements not specially adapted for a specific variable
    • G01D11/28Structurally-combined illuminating devices
    • BPERFORMING OPERATIONS; TRANSPORTING
    • B60VEHICLES IN GENERAL
    • B60KARRANGEMENT OR MOUNTING OF PROPULSION UNITS OR OF TRANSMISSIONS IN VEHICLES; ARRANGEMENT OR MOUNTING OF PLURAL DIVERSE PRIME-MOVERS IN VEHICLES; AUXILIARY DRIVES FOR VEHICLES; INSTRUMENTATION OR DASHBOARDS FOR VEHICLES; ARRANGEMENTS IN CONNECTION WITH COOLING, AIR INTAKE, GAS EXHAUST OR FUEL SUPPLY OF PROPULSION UNITS IN VEHICLES
    • B60K35/00Instruments specially adapted for vehicles; Arrangement of instruments in or on vehicles
    • B60K35/20Output arrangements, i.e. from vehicle to user, associated with vehicle functions or specially adapted therefor
    • B60K35/21Output arrangements, i.e. from vehicle to user, associated with vehicle functions or specially adapted therefor using visual output, e.g. blinking lights or matrix displays
    • B60K35/22Display screens
    • BPERFORMING OPERATIONS; TRANSPORTING
    • B60VEHICLES IN GENERAL
    • B60KARRANGEMENT OR MOUNTING OF PROPULSION UNITS OR OF TRANSMISSIONS IN VEHICLES; ARRANGEMENT OR MOUNTING OF PLURAL DIVERSE PRIME-MOVERS IN VEHICLES; AUXILIARY DRIVES FOR VEHICLES; INSTRUMENTATION OR DASHBOARDS FOR VEHICLES; ARRANGEMENTS IN CONNECTION WITH COOLING, AIR INTAKE, GAS EXHAUST OR FUEL SUPPLY OF PROPULSION UNITS IN VEHICLES
    • B60K2360/00Indexing scheme associated with groups B60K35/00 or B60K37/00 relating to details of instruments or dashboards
    • B60K2360/20Optical features of instruments
    • B60K2360/33Illumination features
    • B60K2360/336Light guides
    • BPERFORMING OPERATIONS; TRANSPORTING
    • B60VEHICLES IN GENERAL
    • B60KARRANGEMENT OR MOUNTING OF PROPULSION UNITS OR OF TRANSMISSIONS IN VEHICLES; ARRANGEMENT OR MOUNTING OF PLURAL DIVERSE PRIME-MOVERS IN VEHICLES; AUXILIARY DRIVES FOR VEHICLES; INSTRUMENTATION OR DASHBOARDS FOR VEHICLES; ARRANGEMENTS IN CONNECTION WITH COOLING, AIR INTAKE, GAS EXHAUST OR FUEL SUPPLY OF PROPULSION UNITS IN VEHICLES
    • B60K2360/00Indexing scheme associated with groups B60K35/00 or B60K37/00 relating to details of instruments or dashboards
    • B60K2360/60Structural details of dashboards or instruments
    • B60K2360/68Features of instruments
    • B60K2360/688Frames or decorative parts
    • BPERFORMING OPERATIONS; TRANSPORTING
    • B60VEHICLES IN GENERAL
    • B60KARRANGEMENT OR MOUNTING OF PROPULSION UNITS OR OF TRANSMISSIONS IN VEHICLES; ARRANGEMENT OR MOUNTING OF PLURAL DIVERSE PRIME-MOVERS IN VEHICLES; AUXILIARY DRIVES FOR VEHICLES; INSTRUMENTATION OR DASHBOARDS FOR VEHICLES; ARRANGEMENTS IN CONNECTION WITH COOLING, AIR INTAKE, GAS EXHAUST OR FUEL SUPPLY OF PROPULSION UNITS IN VEHICLES
    • B60K2360/00Indexing scheme associated with groups B60K35/00 or B60K37/00 relating to details of instruments or dashboards
    • B60K2360/92Manufacturing of instruments
    • B60K2360/96Manufacturing of instruments by assembling

Definitions

  • the present disclosure relates to an assembly member in which a first member and a second member are assembled, and is suitable for use in, for example, assembly of a case for a vehicle instrument and a light guide plate.
  • Patent Document 1 As a conventional assembly member, for example, the one shown in Patent Document 1 is known.
  • the assembly member of Patent Document 1 is configured such that the turnover of the vehicle instrument is fitted and assembled to the cluster case. That is, an extension portion that extends toward the cluster case side and a claw portion that is formed in a hook shape at the tip of the extension portion are provided around the turn.
  • the distal end side of the extending portion is formed so as to incline toward the outer periphery of the turnaround.
  • the cluster case is formed with a hole through which the claw portion passes.
  • the cluster case is provided with an inner wall and an outer wall that extend from the hole portion to the facing side and are arranged so as to sandwich the extended portion.
  • the front end side of the extending part acts so as to bend toward the outer wall side, and the claw part is engaged with the hole part.
  • a desorption jig that is flat and bent into a U-shape is used.
  • the desorption jig By inserting the desorption jig between the outer side wall and the extension part from the facing side, the bending toward the outer wall side at the tip side of the extension part is returned to the inner side wall side, The engagement of the claw portion is released.
  • Patent Document 1 since it has the above-described fitting structure, in order to release the engagement of the claw portion with respect to the hole portion, it is a flat plate and a dedicated bent shape. It is necessary to prepare a desorption jig.
  • an object of the present disclosure is to provide an assembly member that can release the engagement of the claw portion with a simple tool without requiring the setting of a dedicated attachment / detachment jig.
  • a first member having a fitting hole penetrated in a plate thickness direction of a plate-like portion formed in a plate shape, and one surface side of the first member
  • a second member having a hook portion extending in a hook shape at the distal end portion of the extension portion, and the extension portion has a fitting hole.
  • the first member and the second member are assembled by being inserted so as to penetrate and the claw portion being engaged with a part of the periphery of the fitting hole opposite to the insertion side.
  • the extending portion is provided on the outer peripheral portion of the second member, and the claw portion extends toward the outside of the outer peripheral portion, and is a fitting hole when viewed so as to project in the plate thickness direction.
  • the claw portion has a projecting portion that projects outward from the claw tip portion that extends like a hook in a portion of the region where the claw portion is engaged with the fitting hole,
  • the out unit is characterized in that a gap extending through in the thickness direction is formed.
  • the protruding portion is provided in the fitting hole, and a gap portion penetrating in the thickness direction is formed in the protruding portion that is outside the tip end portion of the claw. Therefore, by inserting a tool such as a thin rod into this gap, and moving the position of the claw tip in the direction opposite to the overhanging direction at the tip of the bar-shaped tool, the claw can be easily It is possible to release the engaged state.
  • FIG. 2 is a cross-sectional view showing a II-II portion in FIG. 1. It is an enlarged view which shows the III section in FIG.
  • FIG. 4 is a cross-sectional view showing a IV-IV part in FIG. 3. It is the perspective view seen from the V direction in FIG. It is an arrow view of the extension part seen from the VI direction in FIG. It is explanatory drawing which shows the point at the time of canceling
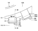
  • the vehicle instrument 100 displays various information (for example, engine speed, vehicle speed, various traveling information, etc.) during vehicle travel to the user, and includes a case 110 and a light guide plate 120. Yes.
  • the light guide plate 120 is assembled to the case 110.
  • the case 110 is a box-shaped member that forms the main body of the vehicle instrument 100 and corresponds to a “first member”.
  • the case 110 is made of, for example, a resin material.
  • the front shape of the case 110 viewed from the user side is set to a shape in which the upper side portion is smoothly convex upward based on a horizontally long rectangle.
  • a user side portion of the case 110 is a plate-like portion 111 formed in a plate shape.
  • the user-side surface of the plate-like portion 111 is a user side surface 111a.
  • the user side surface 111a corresponds to “one surface”.
  • a direction opposite to the user side is expressed as an anti-user side.
  • a circular tachometer forming part 112 is provided as an area for forming a tachometer.
  • a speedometer forming portion 112a that is formed in a circular shape slightly larger than the tachometer forming portion 112 is provided as an area for forming a speedometer.
  • a square display forming portion 112b is provided as an area for forming a display portion for displaying various information during vehicle travel.
  • the tachometer forming portion 112 is an area formed in a circular shape having a predetermined diameter, and an inclined portion 113 formed so as to be dented in a mortar shape from the user side surface 111a to the opposite user side, and the innermost side of the mortar shape And a bottom portion 114 that is parallel to the plate-like portion 111. At the center of the bottom 114, a pointer hole 114a is formed through which the rotation shaft of the tachometer pointer is inserted.
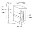
  • a plurality (three in this case) of fitting holes 115 that are penetrated in the thickness direction of the plate-like portion 111 are provided around the circular shape of the tachometer forming portion 112.
  • a cylindrical tubular portion 116 extending toward the opposite side of the plate-like portion 111 is formed integrally with the plate-like portion 111 on the back side.
  • the shape in the cylindrical part 116 seen from the user side is the same as the shape of the fitting hole 115. That is, the fitting hole 115 is formed through the plate-like portion 111 and the tubular portion 116.
  • the back surface side of the plate-like portion 111 corresponds to the “other surface” side.
  • the shape of the fitting hole 115 is deeply related to the shapes of the extending portion 122 and the claw portion 123 of the light guide plate 120, and details will be described later.
  • the light guide plate 120 is a member that guides light from a light source unit (not shown) in the case 110 to the user side, and corresponds to a “second member”.
  • the light guide plate 120 is made of, for example, a transparent resin material.
  • the light guide plate 120 is attached to the user side of the inclined portion 113 of the tachometer forming portion 112.
  • the main body 121 of the light guide plate 120 is set so as to correspond to a region where the tachometer pointer is rotated, and the shape viewed from the user side is C-shaped.
  • the cross-sectional shape of the main-body part 121 is formed in the shape of a mortar so that the inclination part 113 may be followed.
  • a plate-like extending portion 122 extending toward the non-user side (the fitting hole 115 of the case 110) is integrally formed on the outer peripheral portion of the main body portion 121.
  • the extending portion 122 is formed at, for example, both ends of the C-shaped main body 121 and an intermediate portion.
  • the extending portion 122 is formed to extend straight toward the non-user side.
  • the axial length of the fitting hole 115 (the plate-like portion 111 and the cylindrical portion 116) in the case 110 is set so as to correspond to the extension length of the extension portion 122.
  • the extended portion of the extended portion 122 is a tip portion 122a.
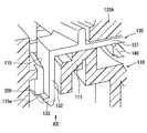
  • the tip 122a is integrally formed with a claw 123 that has a hook shape and extends toward the outside of the outline of the main body 121.
  • the tip of the claw 123 is a claw tip 123a.
  • a protruding portion 124 that protrudes so as to contact the inner peripheral surface of the fitting hole 115 is integrally formed on a part of the surface opposite to the claw tip portion 123 a.
  • the protruding portion 124 is disposed at the center in the width direction of the extending portion 122 so as to be elongated from the base portion side of the extending portion 122 to a midway portion in the direction in which the extending portion 122 is extended.
  • a tip end portion of the protruding portion 124 is a tapered portion 124a having a gentle slope.
  • the shape around the fitting hole 115 when projected from the user side is an area where the claw portion 123 is engaged with the fitting hole 115 (point b and point In a part of a region connecting g, a protruding portion 115a (a portion connecting points c, d, e, and f) protruding outward from the claw tip 123a is formed.
  • the overhanging portion 115 a is arranged in the middle of the region where the claw portion 123 is engaged with the fitting hole 115.
  • the entire peripheral shape of the fitting hole 115 is formed in a convex shape in which the points a, b, c, d, e, f, g, and h in FIG. 3 are connected in order.
  • the protruding portion of the convex shape corresponds to the protruding portion 115a.
  • a partially cut-out notch portion 116 a is provided in the extending direction of the tubular portion 116.
  • the notch part 116 a forms a part of the tubular part 116 corresponding to the overhang part 115 a in the fitting hole 115.
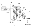
  • a gap portion 200 penetrating in the plate thickness direction of the plate-like portion 111 is formed in the overhang portion 115a. That is, as shown in FIGS. 3 and 4, a gap 200 is formed between the nail tip 123 a and the overhanging portion 115 a so as to be connected straight to the non-user side when viewed from the user side.
  • the case 110 and the light guide plate 120 are formed as described above, and the procedure for assembling and removing the case 110 and the light guide plate 120 will be described below.
  • the assembly procedure is described below.
  • the extending portion 122 is inserted so as to penetrate the fitting hole 115 (the plate-like portion 111 and the cylindrical portion 116).
  • the protruding end portion of the protruding portion 124 is smoothly moved to the inner peripheral surface side of the fitting hole 115 by the tapered portion 124 a.
  • tip part of the protrusion part 124 is inserted, contacting the inner peripheral surface of the fitting hole 115. As shown in FIG.
  • the claw portion 123 jumps out of the fitting hole 115, the bending of the distal end side of the extended portion 122 is returned, and the claw distal end portion 123a becomes the cylinder. It engages with a part of the periphery of the fitting hole 115 (region connecting the points b and g) at the tip of the shape part 116. By this engagement, the light guide plate 120 is assembled to the case 110.
  • a gap portion 200 is formed between the claw tip portion 123a and the overhang portion 115a so as to be connected straight to the non-user side when viewed from the user side. Will be.
  • the removal procedure is described below.
  • a tip of a small diameter precision screwdriver or the like is inserted into the gap portion 200 as a thin rod-shaped tool.
  • claw part 123 is cancelled
  • the light guide plate 120 can be easily removed from the case 110.
  • the overhang portion 115a is provided, and the overhang portion 115a on the outer side of the claw tip portion 123a includes A gap portion 200 is formed so as to penetrate the plate-like portion 111 in the plate thickness direction. Therefore, as described above, a thin rod-shaped tool or the like is inserted into the gap portion 200 from the user side, and the position of the claw tip portion 123a is opposite to the protruding direction of the protruding portion 115a at the distal end portion of the rod-shaped tool. By moving it, it becomes possible to easily release the engaged state of the claw portion 123.
  • the overhanging portion 115 a in the fitting hole 115 is arranged in the middle of the region where the claw portion 123 is engaged with the fitting hole 115, the claw portion is thereby formed with respect to the fitting hole 115. While disengaging 123 in a well-balanced manner, the clearance 200 for releasing the engagement can be formed.
  • the fitting hole 115 when forming the fitting hole 115, a cylindrical part 116 extending integrally from the plate-like part 111 is formed so that the fitting hole 115 is connected to the cylindrical part 116. Accordingly, the axial length of the fitting hole 115 can be set by the plate thickness dimension of the plate-like part 111 and the extension dimension of the cylindrical part 116. Therefore, when setting the axial length of the fitting hole 115 according to the required length of the extended portion 122, it is necessary to simply handle the plate-shaped portion 111 without increasing the overall thickness. Is possible.
  • the extending portion 122 is provided with a protruding portion 124 so that the protruding end portion of the protruding portion 124 abuts against the inner peripheral surface of the fitting hole 115.
  • the position of the extending part 122 with respect to the inner peripheral surface is regulated so that the extending part 122 does not move to the inner peripheral surface side opposite to the direction in which the claw part 123 extends in the fitting hole 115. be able to. Therefore, it is possible to prevent the extended portion 122 from moving in the fitting hole 115 in the state where the case 110 and the light guide plate 120 are assembled, and the claw portion 123 from being disengaged.
  • a ring member 130 for mounting the light guide ring 120 ⁇ / b> A is assembled to the case 110.
  • the case 110 corresponds to a “first member”
  • the ring member 130 corresponds to a “second member”.
  • a plurality of fitting holes 115 are provided around the tachometer forming portion 112 of the case 110.
  • the fitting hole 115 has an overhang portion 115a, and the structure thereof is the same as that of the above embodiment.
  • the light guide ring 120 ⁇ / b> A is formed of a transparent resin material, and guides light from a light source unit (not shown) in the case 110 to the periphery of the tachometer forming unit 112. The periphery of the tachometer forming unit 112 is illuminated by the light guide ring 120A.
  • the ring member 130 is a member that fixes the light guide ring 120A, and is formed of a resin material.
  • the ring member 130 has a main body part 131, an extension part 132, and a claw part 133.
  • the main body portion 131 is formed by providing a flange portion on one end side of the ring-shaped portion.
  • a plurality of extending portions 132 are provided on the outer peripheral portion of the main body portion 131 so as to extend toward the non-user side.
  • the claw portion 133 is formed at the distal end portion of the extending portion 132 so as to extend toward the outside of the outer peripheral portion of the main body portion 131.
  • the extended portion 132 is provided with a protruding portion similar to the protruding portion 124 of the light guide plate 120.
  • the structure of the extending part 132 and the claw part 133 is the same as the structure of the extending part 122 and the claw part 123 of the first embodiment.
  • the gap portion 200 can be formed by the overhanging portion 115a provided in the fitting hole 115, and the ring member 130 assembled to the case 110 can be easily detached as in the first embodiment. Can be done.
  • FIGS. A third embodiment is shown in FIGS. As shown in FIG. 9, the present embodiment is applied to a ring member 130 and a light guide ring 120A provided on the user side of the liquid crystal display 140 in the display forming portion 112b of the case 110.
  • the liquid crystal display 140 has a quadrangular shape that fits within the circular shape of the ring member 130, and is digitally displayed during various travels such as outside air temperature, travel distance, fuel consumption, travel mode (eg, ECO, POWER, CHARGE). It is a display unit that displays the information.
  • the case 110 corresponds to the “first member”
  • the ring member 130 corresponds to the “second member”
  • the case 110 corresponds to the “first member”
  • the light guide ring 120A corresponds to the “first member”. This corresponds to “two members”.
  • the ring member 130 is the same as that described in the second embodiment.
  • An extension part 132 and a claw part 133 are formed in the main body part 131 of the ring member 130.
  • the extended portion 132 is provided with a protruding portion similar to the protruding portion 124.
  • the extension portion 132 of the ring member 130 and the extension portion 120A1 and the claw portion 120A2 similar to the claw portion 133 are also formed in the light guide ring 120A.
  • a plurality of extending portions 120A1 and claw portions 120A2 are provided in the circumferential direction of the light guide ring 120A.
  • the extension 120A1 is provided with a protrusion similar to the protrusion 124.
  • the extension portions 132 and 120A1 are inserted into the fitting holes 115, and the claw portions 133 and 120A2 are engaged with part of the periphery of the fitting holes 115, so that the ring member 130 and the light guide ring 120A are It is assembled to the case 110.
  • the position of the overhanging portion 115 a in the fitting hole 115 is fitted to the claw portions 133 and 120 A 2 with respect to the first and second embodiments. It is arranged at the end of the region engaged with the hole 115.
  • the fitting hole 115 is formed in an L shape when viewed from the user side.
  • the gap portion 200 by the overhanging portion 115a and the notch portion 116a in the tubular portion 116 are the positions of the ends of the region where the claw portions 133 and 120A2 are engaged.
  • the basic concept of engagement and disengagement is the same as in the first and second embodiments, and when the light guide plate 120 is removed from the case 110, the engagement of the claw 123 is easily released. can do.
  • the overhanging portion 115a when the overhanging portion 115a is positioned at the end of the region where the claw portions 133 and 120A2 are engaged, the following advantages are obtained. That is, as shown in FIG. 13, when the width dimension required for the claw part 133 is set to a predetermined dimension, the width direction of the fitting hole 115 and the overhanging part 115a differs from the first and second embodiments. Can be enlarged and set with a degree of freedom in the direction away from the extending portion 132 (in the direction of the arrow in FIG. 13).
  • the area of the gap portion 200 can be increased, the size (for example, the outer diameter) of a thin rod-like tool used when removing the ring member 130 and the light guide ring 120A from the case 110 is removed. Can be relaxed, and the removal work becomes easier.
  • the fitting hole 115 of 4th Embodiment is shown in FIG. 14, FIG. The fitting hole 115 of this embodiment is obtained by adding a thinning portion 117 to the fitting hole 115 in the first to third embodiments.
  • the thinning portion 117 is formed in the plate-like portion 111 of the case 110, and is connected to the gap portion 200 on the leading end side of the overhanging portion 115a and in the vertical and horizontal directions in the plate surface direction of the plate-like portion 111. It is formed so as to penetrate in the plate thickness direction so as to expand.
  • the width direction (vertical) dimension of the thinned portion 117 is matched with the position of the outer wall surface of the tubular portion 116.
  • the dimension in the direction (lateral) perpendicular to the width direction of the thinned portion 117 is a predetermined dimension considering the outer diameter of the tool to be used.
  • the restriction on the size (for example, the outer diameter) of the thin rod-shaped tool used when removing the light guide plate 120, the ring member 130, the light guide ring 120A, or the like from the case 110 can be further relaxed. Work becomes easier.
  • the tubular portion 116 is provided in the plate-like portion 111 in accordance with the extending length of the extending portions 122, 132, 120A1, and the fitting hole 115 is formed.
  • the cylindrical portion 116 is eliminated and only the plate-like portion 111 is fitted with the fitting hole 115. May be formed.
  • the extension portions 122, 132, 120A1 are provided with the position-regulating protrusions 124.
  • the case 110 and the light guide plate 120 (or the ring member 130, the light guide ring 120A) If the positioning is performed with another structure, the protruding portion 124 may be eliminated.
  • the assembly member is described as being applied to the case 110 and the light guide plate 120, the case 110 and the ring member 130, or the case 110 and the light guide ring 120A of the vehicle instrument 100.
  • the target member is not limited to this, and can be applied to various members as long as it is composed of two members and is engaged by the fitting hole and the claw portion. .

Landscapes

  • Engineering & Computer Science (AREA)
  • Chemical & Material Sciences (AREA)
  • Combustion & Propulsion (AREA)
  • Transportation (AREA)
  • Mechanical Engineering (AREA)
  • Physics & Mathematics (AREA)
  • General Physics & Mathematics (AREA)
  • Instrument Panels (AREA)
PCT/JP2014/005751 2013-11-20 2014-11-17 組付け部材 Ceased WO2015075918A1 (ja)

Applications Claiming Priority (4)

Application Number Priority Date Filing Date Title
JP2013-239702 2013-11-20
JP2013239702 2013-11-20
JP2014174439A JP5954383B2 (ja) 2013-11-20 2014-08-28 組付け部材
JP2014-174439 2014-08-28

Publications (1)

Publication Number Publication Date
WO2015075918A1 true WO2015075918A1 (ja) 2015-05-28

Family

ID=53179203

Family Applications (1)

Application Number Title Priority Date Filing Date
PCT/JP2014/005751 Ceased WO2015075918A1 (ja) 2013-11-20 2014-11-17 組付け部材

Country Status (2)

Country Link
JP (1) JP5954383B2 (enExample)
WO (1) WO2015075918A1 (enExample)

Cited By (1)

* Cited by examiner, † Cited by third party
Publication number Priority date Publication date Assignee Title
AU2018402959B2 (en) * 2018-01-17 2021-11-04 Toyota Boshoku Kabushiki Kaisha Engagement structure

Families Citing this family (1)

* Cited by examiner, † Cited by third party
Publication number Priority date Publication date Assignee Title
JP7035346B2 (ja) * 2017-06-21 2022-03-15 株式会社デンソー 車両用表示装置

Citations (5)

* Cited by examiner, † Cited by third party
Publication number Priority date Publication date Assignee Title
JPH0414552U (enExample) * 1990-05-28 1992-02-05
JPH05289244A (ja) * 1992-04-09 1993-11-05 Fuji Photo Film Co Ltd レンズ付きフイルムユニット
JP2003194595A (ja) * 2001-12-25 2003-07-09 Yazaki Corp 車両用計器
JP2005098496A (ja) * 2003-09-05 2005-04-14 Toyota Boshoku Corp 結合構造
JP2009073425A (ja) * 2007-09-22 2009-04-09 Kojima Press Co Ltd 車両用外装部品

Patent Citations (5)

* Cited by examiner, † Cited by third party
Publication number Priority date Publication date Assignee Title
JPH0414552U (enExample) * 1990-05-28 1992-02-05
JPH05289244A (ja) * 1992-04-09 1993-11-05 Fuji Photo Film Co Ltd レンズ付きフイルムユニット
JP2003194595A (ja) * 2001-12-25 2003-07-09 Yazaki Corp 車両用計器
JP2005098496A (ja) * 2003-09-05 2005-04-14 Toyota Boshoku Corp 結合構造
JP2009073425A (ja) * 2007-09-22 2009-04-09 Kojima Press Co Ltd 車両用外装部品

Cited By (4)

* Cited by examiner, † Cited by third party
Publication number Priority date Publication date Assignee Title
AU2018402959B2 (en) * 2018-01-17 2021-11-04 Toyota Boshoku Kabushiki Kaisha Engagement structure
AU2018402959C1 (en) * 2018-01-17 2022-02-24 Toyota Boshoku Kabushiki Kaisha Engagement structure
US11433829B2 (en) 2018-01-17 2022-09-06 Toyota Boshoku Kabushiki Kaisha Fitting structure
AU2022200722B2 (en) * 2018-01-17 2023-10-12 Toyota Boshoku Kabushiki Kaisha Fitting structure

Also Published As

Publication number Publication date
JP2015120498A (ja) 2015-07-02
JP5954383B2 (ja) 2016-07-20

Similar Documents

Publication Publication Date Title
JP4606174B2 (ja) 液晶表示装置の取付構造
JP5954383B2 (ja) 組付け部材
JP2010195192A (ja) 回転コネクタの取付構造
JP2009270615A (ja) クリップ
JP6708116B2 (ja) 車両用表示装置及びその製造方法
JP2012181089A (ja) 表示装置組付構造及び表示装置組付方法
JP6145338B2 (ja) 組付け部材の組付け構造
JP4426899B2 (ja) 部材同士の組付け構造
JP2009294076A (ja) 表示装置
JPH0932822A (ja) 締結構造
JP6156097B2 (ja) 計器
JP5406092B2 (ja) 計器装置及び計器装置の装飾部材取り付け方法
JP5980582B2 (ja) 留め具
JP2013250240A (ja) 補助表示部固定構造
WO2015004898A1 (ja) 車両用表示装置
JP2009264870A (ja) 計器装置
JP4801972B2 (ja) 車両用メータ装置
JP2014032043A (ja) メータ装置
JPWO2015080153A1 (ja) 留め具
JP2575629Y2 (ja) 計器の文字板固定構造
JP2014106055A (ja) 指針構造
JP5382338B2 (ja) 表示装置
JP6209409B2 (ja) 装飾リングの固定構造
JP2007205730A (ja) 計器装置
JP2010151853A (ja) 表示装置

Legal Events

Date Code Title Description
121 Ep: the epo has been informed by wipo that ep was designated in this application

Ref document number: 14864849

Country of ref document: EP

Kind code of ref document: A1

NENP Non-entry into the national phase

Ref country code: DE

122 Ep: pct application non-entry in european phase

Ref document number: 14864849

Country of ref document: EP

Kind code of ref document: A1