WO2015033754A1 - 冷蔵庫の扉体 - Google Patents
冷蔵庫の扉体 Download PDFInfo
- Publication number
- WO2015033754A1 WO2015033754A1 PCT/JP2014/071438 JP2014071438W WO2015033754A1 WO 2015033754 A1 WO2015033754 A1 WO 2015033754A1 JP 2014071438 W JP2014071438 W JP 2014071438W WO 2015033754 A1 WO2015033754 A1 WO 2015033754A1
- Authority
- WO
- WIPO (PCT)
- Prior art keywords
- resin sheet
- door
- resin
- front panel
- refrigerator
- Prior art date
- Legal status (The legal status is an assumption and is not a legal conclusion. Google has not performed a legal analysis and makes no representation as to the accuracy of the status listed.)
- Ceased
Links
Images
Classifications
-
- F—MECHANICAL ENGINEERING; LIGHTING; HEATING; WEAPONS; BLASTING
- F25—REFRIGERATION OR COOLING; COMBINED HEATING AND REFRIGERATION SYSTEMS; HEAT PUMP SYSTEMS; MANUFACTURE OR STORAGE OF ICE; LIQUEFACTION SOLIDIFICATION OF GASES
- F25D—REFRIGERATORS; COLD ROOMS; ICE-BOXES; COOLING OR FREEZING APPARATUS NOT OTHERWISE PROVIDED FOR
- F25D23/00—General constructional features
- F25D23/02—Doors; Covers
-
- F—MECHANICAL ENGINEERING; LIGHTING; HEATING; WEAPONS; BLASTING
- F25—REFRIGERATION OR COOLING; COMBINED HEATING AND REFRIGERATION SYSTEMS; HEAT PUMP SYSTEMS; MANUFACTURE OR STORAGE OF ICE; LIQUEFACTION SOLIDIFICATION OF GASES
- F25D—REFRIGERATORS; COLD ROOMS; ICE-BOXES; COOLING OR FREEZING APPARATUS NOT OTHERWISE PROVIDED FOR
- F25D23/00—General constructional features
- F25D23/02—Doors; Covers
- F25D23/028—Details
-
- F—MECHANICAL ENGINEERING; LIGHTING; HEATING; WEAPONS; BLASTING
- F25—REFRIGERATION OR COOLING; COMBINED HEATING AND REFRIGERATION SYSTEMS; HEAT PUMP SYSTEMS; MANUFACTURE OR STORAGE OF ICE; LIQUEFACTION SOLIDIFICATION OF GASES
- F25D—REFRIGERATORS; COLD ROOMS; ICE-BOXES; COOLING OR FREEZING APPARATUS NOT OTHERWISE PROVIDED FOR
- F25D2323/00—General constructional features not provided for in other groups of this subclass
- F25D2323/06—Details of walls not otherwise covered
Definitions
- the present invention relates to a door body of a device intended for heat insulation, and particularly relates to a door body of a refrigerator that opens and closes a front opening of a refrigerator main body equipped with a refrigerator compartment or a freezer compartment.
- a steel plate is used as a member that forms the front panel (for example, Recently, a glass having excellent design properties has been used.
- an object of the present invention is to provide a refrigerator door that is lightweight, excellent in recyclability, and excellent in heat insulation.
- a front panel that constitutes the front surface, a frame that supports at least a part of the outer end portion of the front panel, a back panel that constitutes the back surface, the front panel, the frame, and the frame
- a refrigerator door that is lightweight, excellent in recyclability, and excellent in heat insulation can be provided.
- FIG. 1 is a perspective view of a refrigerator-freezer
- reference numeral 1 denotes a refrigerator-freezer body composed of a plurality of food storage chambers each provided with a front door.
- the inside of the refrigerator-freezer main body 1 is partitioned by a partition wall (not shown) having a heat insulating function.
- the refrigerator compartment 2 is arranged at the uppermost portion, that is, the uppermost stage, and the ice making chamber 3 and the storage temperature switching chamber 4 are placed right and left below the refrigerator compartment 2.
- a freezer compartment 5 is disposed below, and a vegetable compartment 6 is disposed at the bottom of the freezer compartment 5 below.
- the refrigerator-freezer main body 1 is made of a foam insulation material by in-situ foaming method, for example, by injecting a stock solution of foaming resin between an outer box made of steel plate that opens forward and an inner box made of hard synthetic resin that also opens forward. It is comprised by the heat insulation box formed by filling.
- a plurality of upper and lower shelves are arranged in the refrigerating chamber 2, and the front opening of the refrigerating chamber 2 is rotated by upper and lower hinges and is opened and closed by a double door type door body that opens and closes. It can be closed by.
- the refrigerating room 2 is the ice making room 3, the temperature switching room 4, the freezing room 5, and the vegetable room 6 is a drawer type ice making room door 9, a temperature switching room door 10, a freezing room door 11, and vegetables. Each chamber is closed by a door 12.
- the bottom wall of the heat insulating box has a shape in which the rear part rises stepwise, and a cooling machine room is formed below and behind the bottom wall.
- a compressor constituting the refrigeration cycle and a condenser as a radiator are installed in the machine room, and the cool air generated in the cooler by the operation of the compressor is blown into the storage chambers through the outlets by a blower. Supplied and held at refrigeration temperature and freezing temperature, respectively.
- the present invention can be applied to the refrigerator compartment door 8, the drawer-type ice making compartment door 9, the temperature switching compartment door 10, the freezer compartment door 11, and the vegetable compartment door 12.
- a typical example will be described below.
- the freezer compartment door 11 is roughly divided into a resin sheet (resin having a thickness of 0.1 mm to 10 mm) that constitutes the front surface of the freezer compartment door 11. And a front panel 15 made of a synthetic resin material that is attached to the upper and lower parts that are part of the outer end of the front panel 15 and supports the front panel 15.
- Door caps 16 and 17 and a gasket 19 made of a synthetic resin material, with a reinforcing member 23 attached to the front surface, a storage container (not shown) etc. attached to the rear surface, and a sealing magnet 18 on the periphery.
- the resin sheet may be a synthetic resin material, a cellulose-based natural resin material, a thermoplastic resin, a curable resin (thermosetting, photocurable, water curable resin, etc.), or a harder material.
- Resin or soft resin may be used, and the manufacturing method thereof is not limited, but in the first embodiment of the freezer compartment door 11, it is made of a thermoplastic synthetic resin material.
- the front panel 15 preferably has a thickness of 0.1 to 10 mm as described above. If the thickness is less than 0.1 mm, the strength of the front panel 15 itself is reduced, and the deformation (composition distortion) of the front panel 15 is likely to occur due to pressure from the outside or inside of the freezer. On the other hand, if the resin sheet is thicker than 10 mm, the manufacturability of the front panel 15 itself (such as uniform cooling and solidification so as not to be distorted) and workability such as bending work are deteriorated.
- the resin sheet is cut into an appropriate size, and in order to use it for the front panel 15, it is punched into a predetermined size by punching.
- the resin sheet having a predetermined size as described above is formed into an appropriate shape by an appropriate method or means for use as the front panel 15. That is, pressure-molding is performed using a molding jig while heating by a heat press molding method, and the flat resin sheet is molded to be used as the front panel 15, and the front surface 15A and the front surface 15A are formed.
- the left and right side surfaces 15B are bent substantially at a right angle, and the inner flange 15C is formed by bending both side surfaces 15B inward at a substantially right angle.
- the front panel 15 is made of a resin sheet, the front panel 15 is characterized by better heat insulation and lighter weight than those made of conventional iron or glass. For this reason, if the door body of a refrigerator can be made thin and the whole refrigerator external appearance is made into the same size, the storage capacity in a store
- the door cap 17 attached to the lower portion of the front panel 15 has a substantially rectangular plate shape, and the lower end of the front panel 15 is interposed between the front end and the peripheral side of the side excluding the rear side.
- the rising pieces 17A and 17B are erected so that a groove into which is inserted is formed.
- a rising piece 17 ⁇ / b> C is erected on the rear side so as to form a locking member with which a flange 20 ⁇ / b> A formed on the peripheral end of the back panel 20 contacts.
- the door cap 16 attached to the upper part of the front panel 15 forms a handle for pulling out the freezer compartment door 11 forward.
- the door cap 16 includes a lower frame body 16A attached to the front panel 15 and an upper frame body 16B attached to the lower frame body 16A.
- the door cap 16 is not limited to the case where the lower frame body 16A and the upper frame body 16B other than the lower frame body 16A are attached, and may have a structure integrated from the beginning.
- Falling pieces 16A1 are formed on the front and lower peripheral edges of the lower frame 16A so that a groove into which the upper end of the front panel 15 is inserted is formed therebetween.
- a descending piece 16A2 and both side surfaces 16A3 are provided.
- a locking portion 16A41 is formed at the upper end of the curved front surface 16A4 and a locking portion 16A6 is formed at the rear end of the upper surface 16A5 so as to form a space S for handling.
- the upper frame body 16B is generally L-shaped in longitudinal section, and includes an upper surface 16B1 and a front surface 16B2 that form the space S for handling. Further, when the upper frame body 16B is attached to the lower frame body 16A, the lower surface intermediate portion of the upper surface 16B1 is engaged with the engagement portions 16B11 and 16A6 that are engaged with the engagement portions 16A41. A locking portion 16B12 is formed.
- a locking portion 16B3 that abuts and locks the inner side surface of the both side surfaces 16A3 of the lower frame body 16A. Is formed.
- a flange 20A is formed on the peripheral edge of the back panel 20.
- the rear panel 20 has the door cap 16, the flange 20A abutting against the locking member of the door cap 17, both inner flanges 15C of the front panel 15, and the locking portion 16B12 of the upper frame 16B. 17 and the front panel 15.
- the recess (groove) 20B for attaching the gasket 19 with the magnet 18 is formed in a state of being continuous with the peripheral edge of the back panel 20.
- the magnet 18 closes the front opening of the refrigerator-freezer body 1 when adsorbed to the front end of the outer box made of steel plate of the refrigerator-freezer body 1.
- the door caps 16 and 17 are attached to the upper and lower portions of the front panel 15, and the gasket 19 with the magnet 18 to which the reinforcing body 23 is attached is attached to the rear panel 20.
- a foaming resin stock solution is injected and filled with a foam insulation 22 by an on-site foaming method. Is done.
- each member during the formation of the foamed heat insulating material 22 is performed by fitting of each part, or adhesion by an adhesive or a double-sided adhesive tape.
- the entire outer surface of the freezer compartment door 11 in a state where the above-described members are attached and fixed is pressed and fixed with a foaming jig for receiving foaming pressure.
- the foam heat insulating material 22 is formed by foaming and hardening the liquid, the front panel 15, the door caps 16, 17 and the back panel 20 are firmly integrated and fixed. Become. Accordingly, the front panel 15 made of the resin sheet is also directly bonded to the foam heat insulating material 22, and the shape thereof is in a fixed state.
- the front surface 15A may be a gently curved surface, or may be bent so as to have a curved surface shape from the front surface 15A to the both side surfaces 15B so as to improve design.
- a resin sheet made of a curable resin (thermosetting, photocurable, water curable resin, etc.) is cut into an appropriate size, and in order to use this for the front panel 35, Punched to a predetermined size by punching.
- the resin sheet having a predetermined size as described above is formed into an appropriate shape by an appropriate method or means for use as the front panel 35.
- the upper side of the rectangular flat plate is formed in a concave shape so as to draw a gentle curve so that the center of the upper side is the lowest when viewed from the front, and is formed as shown in FIG.
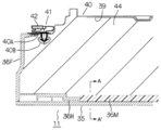
- Reference numeral 36 denotes a frame that supports the outer end of the front panel 35.
- the front panel 35 is attached to the peripheral ends of the front surfaces of the left, right, and lower sides by being bonded and fixed via an adhesive or a double-sided adhesive tape.
- a surface 36A is formed.
- a concave portion is formed on the upper surface of the frame body 36 so as to form a handle space S for drawing the freezer compartment door 11 forward.
- the concave portion includes a front rising piece 36B that is recessed so as to draw a gentle curve so that the upper end portion becomes lower toward the center when viewed from the front, and a horizontal plane that extends rearward from the lowermost portion of the front rising piece 36B.
- 36C a rear rising piece 36D rising upward from the rear end portion of the horizontal plane 36C, and a horizontal plane 36E extending horizontally from the rear end of the rear rising piece 36D.
- the frame body 36 includes a reinforcing surface portion 36H having an opening 36K.
- the frame 36 has a shape in which the left and right openings 36K are separated by a vertical beam, and is a simple continuous rectangular frame (that is, a shape in which the left and right openings are connected without the vertical beam). ), The overall strength of the frame body 36 is increased so that it is difficult to twist.
- the cushioning material 36M having a shape that fits into the continuous rectangular frame 36 (two frames in FIG. 6) contacts the heat insulating foam material (urethane heat insulating material or the like) 44 of the front panel 35. Bonded to at least part of the surface.
- the buffer material 36M is a material that has an effect of changing the volume of the foam heat insulating material 44 itself under the influence of a temperature change from the outside of the freezer compartment door 11. For example, the buffer material 36M absorbs the expanded volume in response to the expansion when the volume of the foam heat insulating material 44 expands due to an increase in the temperature of the foam heat insulating material 44.
- the thickness of 36M is configured to be thin.
- the buffer material 36M has a predetermined thickness in order to absorb the expansion of the foam heat insulating material 44.
- the thickness may depend on the degree of expansion / contraction of the foam heat insulating material 44 in the assumed usage situation / storage environment, the size of the entire cushioning material 36M used in the freezer door 11, and the like.
- the foam heat insulating material 44 contracts when the temperature of the foam heat insulating material 44 itself decreases. That is, when stored or used in an environment where the temperature is lower than the stage (manufacturing stage) in which the foam heat insulating material 44 is filled into the freezer door 11, the cushioning material 36M is filled to such an extent that it shrinks slightly. May be. Thereby, it can prevent that the front panel 35 deform
- the material of the buffer material 36M may have a structure like a filter, may be a so-called sealing material, or may be composed of a single layer or multiple layers of fibrous sheets. May be a foam material having a closed cell structure such as polyethylene, or a foam material having a closed cell structure such as urethane foam (foam material). Alternatively, a stacked structure using a plurality of layers may be used.
- the mounting location of the cushioning material 36M is attached to the front panel 35 in this embodiment.
- the buffer material 36 ⁇ / b> M may be attached to the frame body 36, the back panel 40, and the like.
- the cushioning material 36M may be attached to a place where the strength is relatively weak inside the freezer door 11. Thereby, since the buffer material 36M also has an effect of reinforcing the strength of the freezer compartment door 11, handling in manufacturing or using the refrigerator becomes easy.
- the thickness of the buffer material 36M changes corresponding to the volume change of the foam heat insulating agent 44.
- the resin sheet has a thickness of 0.1 mm or more, the same effect as the buffer material 36M as described above can be obtained.
- a restriction piece 37 is attached to the frame body 36 so as to be lowered from the outer end portion toward the left and right central positions.
- the restricting piece 37 is fixed to the upper part of the front rising piece 36B of the frame body 36, and as described above, when the front panel 35 is fixed to the mounting surface 36A, the upper position of the front panel 35 is restricted. To do.
- the control piece 37, the front rising piece 36B, the horizontal surface 36C, and the rear rising piece 36D constitute a handle.
- a locking member 38 is attached to the frame body 36.
- the locking member 38 is formed in a rectangular frame shape having an L-shaped longitudinal cross-section, and the lower surface of the horizontal surface 36E of the frame body 36, both side surfaces 36F of the frame body 36, and the lower surface 36G of the front panel 35. Fixed to the rear end.
- the restriction piece 37 and the locking member 38 may be formed integrally with the frame body 36 from the beginning.
- a flange 40A is formed at the peripheral end of the back panel 40, and the flange 40A is abutted and fixed to the locking member 38 fixed to the frame 36 from the back.
- This back panel 40 is made of a synthetic resin material, a reinforcing body 39 is attached to the front surface, a storage container (not shown) and the like are attached to the back surface, and a gasket provided with a sealing magnet 42 at the peripheral edge. 41 is mounted.
- a concave portion (groove) 40B for attaching the gasket 41 with the magnet 42 is formed in the peripheral portion of the back panel 40 in a continuous state.
- the magnet 42 closes the front opening of the refrigerator-freezer body 1 when attracted to the front end of the outer box made of steel plate of the refrigerator-freezer body 1.
- the restriction piece 37 is fixed to the upper part of the front rising piece 36B of the frame body 36, the lower surface of the horizontal surface 36E of the frame body 36, both side surfaces 36F of the frame body 36, and the lower surface 36G of the front panel 35.
- the front panel 35 is bonded and fixed to the mounting surface 36A of the frame body 36 with an adhesive or a double-sided adhesive tape with the locking member 38 fixed to the rear end. Further, the front panel 35, the frame 36, and the back panel 40 are fixed by bringing the flange 40 ⁇ / b> A of the back panel 40 to which the gasket 40 with the magnet 42 is attached into contact with the locking member 38. Integrate.
- the foaming resin stock solution is inject
- each member during the formation of the foam heat insulating material 44 is performed by fitting each part, fitting each part, or bonding with an adhesive or a double-sided adhesive tape.
- the foam heat insulating material 44 is formed when the said liquid foams and hardens
- the front panel 35, the frame body 36, and the rear panel 40 are firmly integrated and fixed by the formed foam heat insulating material 44 (see FIGS. 7 and 8A).
- the front panel 35 made of the resin sheet is fixed by the foam heat insulating material 44 via a cushioning material 36M and the like, so that its shape is in a fixed state.
- FIG. 8B is a diagram illustrating the alternative embodiment of FIG. 8A in more detail as a partially enlarged view of FIG. 8A.
- the anchor material 36N is a further buffer material (second buffer material) that assists the buffer material 36M.
- the anchor material 36N prevents the foaming heat insulating material 44 from penetrating the shock absorbing material 36M by the direct contact between the foam heat insulating material 44 and the shock absorbing material 36M.
- any material may be used as long as the foam heat insulating material 44 does not penetrate the anchor material 36N.
- paper such as cardboard may be used.
- corrugated cardboard only the flute portion (the corrugated portion that is the core of the corrugated cardboard) may be used. It may be a resin film such as a biaxially stretched polyethylene terephthalate resin film.
- the door caps 16 and 17 as frame bodies are attached to the upper and lower portions of the front panel 15 to support the front panel 15, and
- the outer peripheral end of the front panel 35 is supported by a single frame 36, but a frame is attached to each of the left and right parts of the front panel 15. You may make it support, You may make it attach and support each of the four frame bodies up and down, right and left. Further, two sides of the front panel are supported by two frames, respectively, or the other one of the three sides of the front panels 11 and 35 is supported by another frame. It may be.
- the handle is provided in the upper part of the frame of the freezer compartment door 11 in the first and second embodiments of the freezer compartment door 11 described above. Alternatively, it may be provided on either the left or right side.
- the thickness of the resin sheet used for the front panels 15 and 35 is the strength required for a door used for a refrigerator. And in order to hold
- an amorphous or low crystalline polyester resin sheet is used, it is preferably 0.5 mm or more, more preferably 0.8 mm or more, and still more preferably 1. 2 mm or more.
- the thickness is 10 mm or less, preferably 7 mm or less, more preferably 5 mm or less.
- the tensile elastic modulus is a tensile elastic modulus such as general polypropylene (700). May be configured to be higher than ⁇ 1400 MPa. Further, if it is a hard resin sheet (polyester resin sheet, acrylic resin sheet, aromatic polycarbonate resin sheet, etc.) that can ensure transparency, its tensile elastic modulus is preferably 1500 MPa or more, more Preferably it is 1800 MPa or more. In this case, the upper limit of the tensile modulus is not particularly limited, but since it is a resin sheet, it is 10000 MPa or less at most in a normally available range.
- the tensile elasticity modulus of the resin sheet of this embodiment was measured on the conditions of No. 1 type test piece and the tension
- Various resin sheets can be used as the resin sheet.
- polyester resins such as aromatic polyester and aliphatic polyester; acrylic resins; polycarbonate resins; polyolefin resins such as polyethylene, polypropylene and polymethylpentene; cellophane, triacetylcellulose, diacetylcellulose, acetylcellulose butyrate, etc.
- Cellulose resin polystyrene, acrylonitrile / butadiene / styrene copolymer resin (ABS resin), styrene resin such as styrene / ethylene / butadiene / styrene copolymer, styrene / ethylene / butadiene / styrene copolymer; polyvinyl chloride -Based resins; polyvinylidene chloride resins; fluorine-containing resins such as polyvinylidene fluoride; others, polyvinyl alcohol, ethylene vinyl alcohol, polyether ether ketone It can be exemplified a resin sheet such as; nylon, polyamide, polyimide, polyurethane, polyether imide, polysulfone, polyether sulfone. These sheets include an unstretched sheet, a uniaxially stretched sheet, and a biaxially stretched sheet. Moreover, the multilayer laminated sheet
- the resin sheet used for the front panels 15 and 35 preferably includes a surface protective layer (A2) and a transparent resin sheet layer (A1) from the surface side of the freezer compartment door 11 of the refrigerator. It is a laminated body including in order. The laminated body will be described below.
- the transparent resin sheet layer (A1) is preferably a resin sheet layer having a layer thickness of 0.2 mm or more and a haze value of 10% or less, for example.
- the layer thickness of the transparent resin sheet layer (A1) is more preferably 0.5 mm or more, and further preferably 1 mm or more.
- the layer thickness is preferably as thick as possible from the viewpoint of design.
- the upper limit of the layer thickness is defined by the total thickness of the front panel 15.
- the haze value is preferably 6% or less, more preferably 4% or less, and most preferably 2% or less. Although the lower limit of the haze value depends on the design to be imparted to the freezer compartment door, it is generally preferred that a haze value is given because it gives a clear transparency. In this embodiment, the haze value was measured using a turbidimeter “NDH2000” (trade name) manufactured by Nippon Denshoku Industries Co., Ltd. according to JIS K 7136: 2000.
- the transparent resin sheet used as the transparent resin sheet layer (A1) is preferably not limited except that the layer thickness is 0.2 mm or more and the haze value is 10% or less.
- a resin sheet can be used.
- polyester resins such as aromatic polyester and aliphatic polyester; acrylic resins; polycarbonate resins; polyolefin resins such as polyethylene, polypropylene and polymethylpentene; cellophane, triacetylcellulose, diacetylcellulose, acetylcellulose butyrate, etc.
- Cellulose resin polystyrene, acrylonitrile / butadiene / styrene copolymer resin (ABS resin), styrene resin such as styrene / ethylene / butadiene / styrene copolymer, styrene / ethylene / butadiene / styrene copolymer; polyvinyl chloride -Based resins; polyvinylidene chloride-based resins; fluorine-containing resins such as polyvinylidene fluoride; others, polyvinyl alcohol, ethylene vinyl alcohol, polyetheretherketo , Nylon, polyamide, polyimide, polyurethane, polyether imide, polysulfone, polyether sulfone; can be mentioned a transparent resin sheet such. These sheets include an unstretched sheet, a uniaxially stretched sheet, and a biaxially stretched sheet. Moreover, the laminated sheet which laminated
- the preferable transparent resin sheet used as the transparent resin sheet layer (A1) includes a transparent polyester resin sheet (a1-1), a transparent acrylic resin sheet (a2-1), and a transparent aromatic polycarbonate resin sheet (a3). -1), and a laminated sheet obtained by laminating one or more of these at least two layers can be used. These sheets include an unstretched sheet, a uniaxially stretched sheet, and a biaxially stretched sheet.
- the laminated sheet used as the transparent resin sheet layer (A1) a laminated sheet of a high-hardness acrylic resin sheet and a flexible acrylic resin sheet, an acrylic resin sheet and an aromatic polycarbonate resin sheet, The laminated sheet can be raised.
- a laminate sheet of exactly the same type of resin sheet is also an example of a preferable laminate sheet from the viewpoint of manufacturability.
- a resin sheet in which two or more biaxially stretched polyethylene terephthalate resin films are laminated can be given.
- the transparent resin sheet is amorphous or low crystalline polyester, aromatic polycarbonate, or acrylic
- vacuum molding is not required.
- polypropylene is highly crystalline (especially, spherulites grow greatly in thick sheets)
- the use of amorphous or low crystalline polyester type or aromatic polycarbonate type is superior from the viewpoint of moist heat whitening resistance than using acrylic type.
- the method for obtaining the laminated sheet is not limited, and the laminated sheet can be obtained by any method.
- each resin sheet is obtained by an arbitrary method, it is obtained by dry lamination or heat lamination, each constituent material is melted with an extruder, and obtained by T-die coextrusion by a feed block method or a multi-manifold method.
- Examples thereof include a method and an extrusion laminating method in which at least one resin sheet is obtained by an arbitrary method and then another resin sheet is melt-extruded on the sheet.
- a printed layer (A5) may be provided between the layers of the laminated sheet, and the design feeling can be enhanced.
- this printing layer (A5) is preferably provided partially or using a transparent ink.
- (A2) surface protective layer It is preferable to provide a surface protective layer (A2) directly or via a transparent anchor coat on the surface of the transparent resin sheet layer (A1) which is the surface side of the freezer compartment door 11. By providing this surface protective layer (A2), it is possible to enhance the trauma resistance and solvent resistance.
- Examples of the surface protective layer (A2) include a hard coat.
- As the paint used for forming the hard coat those having high transparency and high gloss are preferable from the viewpoint of design.
- Examples of such a hard coat forming coating material include an active energy ray-curable resin composition.
- the active energy ray-curable resin composition can be polymerized and cured by active energy rays such as ultraviolet rays and electron beams to form a hard coat.
- active energy rays such as ultraviolet rays and electron beams to form a hard coat.
- examples thereof include a composition containing a compound having two or more isocyanate groups (—N ⁇ C ⁇ O) and / or a photopolymerization initiator.
- active energy ray-curable resin examples include polyurethane (meth) acrylate, polyester (meth) acrylate, polyacryl (meth) acrylate, epoxy (meth) acrylate, polyalkylene glycol poly (meth) acrylate, and polyether.
- (Meth) acryloyl group-containing prepolymer or oligomer such as (meth) acrylate; methyl (meth) acrylate, ethyl (meth) acrylate, n-butyl (meth) acrylate, hexyl (meth) acrylate, 2-ethylhexyl (meth) acrylate , Lauryl (meth) acrylate, isobornyl (meth) acrylate, dicyclopentenyl (meth) acrylate, dicyclopentenyloxyethyl (meth) acrylate, phenyl (meth) acrylate , Phenyl cellosolve (meth) acrylate, 2-methoxyethyl (meth) acrylate, hydroxyethyl (meth) acrylate, hydroxypropyl (meth) acrylate, 2-acryloyloxyethyl hydrogen phthalate, dimethylaminoethyl (meth
- (meth) acrylate means acrylate or methacrylate.
- Examples of the compound having two or more isocyanate groups in one molecule include methylene bis-4-cyclohexyl isocyanate; trimethylolpropane adduct of tolylene diisocyanate, trimethylolpropane adduct of hexamethylene diisocyanate, and trimethylolpropane of isophorone diisocyanate.
- Polyisocyanates such as adducts, isocyanurates of tolylene diisocyanate, isocyanurates of hexamethylene diisocyanate, isocyanurates of isophorone diisocyanate, biurets of hexamethylene diisocyanate; and urethane crosslinking such as block isocyanates of the polyisocyanate Agents and the like.
- a catalyst such as dibutyltin dilaurate or dibutyltin diethylhexoate may be added as necessary.
- photopolymerization initiator examples include benzophenone, methyl-o-benzoylbenzoate, 4-methylbenzophenone, 4,4′-bis (diethylamino) benzophenone, methyl o-benzoylbenzoate, 4-phenylbenzophenone, 4 -Benzophenone compounds such as benzoyl-4'-methyldiphenyl sulfide, 3,3 ', 4,4'-tetra (tert-butylperoxycarbonyl) benzophenone, 2,4,6-trimethylbenzophenone; benzoin, benzoin methyl ether Benzoin compounds such as benzoin ethyl ether, benzoin isopropyl ether, benzylmethyl ketal; acetophenone, 2,2-dimethoxy-2-phenylacetophenone, 1-hydroxycyclohexylphenyl Acetophenone compounds such as thioxanthone; anthraquinone compounds such as methylanth
- the active energy ray-curable resin composition may contain an antistatic agent, a surfactant, a leveling agent, a thixotropy imparting agent, a stain prevention agent, a printability improving agent, an antioxidant, and a stable weather resistance as necessary.
- an antistatic agent such as an agent, a light resistance stabilizer, a ultraviolet absorber, a heat stabilizer, a coloring agent, and a filler, may be included.
- preferable examples include fine particles having a particle diameter of 1 nm to 300 nm.
- the fine particles in an amount of 1 to 300 parts by weight, preferably 20 to 100 parts by weight, based on 100 parts by weight of the active energy ray-curable resin component, the hardness of the hard coat can be increased and the damage resistance can be improved.
- Both inorganic fine particles and organic fine particles can be used as the fine particles.
- the inorganic fine particles include silica (silicon dioxide); metal oxide fine particles such as aluminum oxide, zirconia, titania, zinc oxide, germanium oxide, indium oxide, tin oxide, indium tin oxide, antimony oxide, and cerium oxide; Metal fluoride fine particles such as magnesium fluoride and sodium fluoride; metal fine particles; metal sulfide fine particles; metal nitride fine particles;
- the organic fine particles include resin beads such as a styrene resin, an acrylic resin, a polycarbonate resin, an ethylene resin, and a cured resin of an amino compound and formaldehyde. These can be used alone or in combination of two or more.
- the surface of the fine particles is treated with a silane coupling agent such as vinylsilane or aminosilane; a titanate coupling agent; aluminum Nate coupling agents; Organic compounds having an ethylenically unsaturated bond group such as (meth) acryloyl group, vinyl group and allyl group and reactive functional groups such as epoxy group; Surface treatment agents such as fatty acids and fatty acid metal salts You may use what was processed by.
- a silane coupling agent such as vinylsilane or aminosilane
- a titanate coupling agent such as aluminum Nate coupling agents
- Organic compounds having an ethylenically unsaturated bond group such as (meth) acryloyl group, vinyl group and allyl group and reactive functional groups such as epoxy group
- Surface treatment agents such as fatty acids and fatty acid metal salts You may use what was processed by.
- silica fine particles are preferable, and fine particles of silica are more preferable.
- examples of commercially available silica fine particles include Snowtex (trade name) manufactured by Nissan Chemical Industries, Ltd., Quartron (trade name) manufactured by Fuso Chemical Industries, Ltd., and the like.
- the average particle size of the fine particles is usually 300 nm or less in order to maintain the transparency of the hard coat and to ensure the effect of improving the hardness of the hard coat. Preferably it is 200 nm or less, More preferably, it is 120 nm or less. On the other hand, there is no particular lower limit of the particle diameter, but normally available particles are at most about 1 nm even if they are fine.
- the average particle size of the fine particles is the particle size distribution curve measured using a laser diffraction / scattering particle size analyzer “MT3200II” (trade name) manufactured by Nikkiso Co., Ltd. Is the particle diameter at which the accumulation of 50% by mass.
- the active energy ray-curable resin composition may be diluted with a concentration that facilitates coating, and may contain a solvent as necessary.
- the solvent is not particularly limited as long as it does not react with the components of the curable resin composition and other optional components or does not catalyze (promote) the self-reaction (including degradation reaction) of these components. Examples thereof include 1-methoxy-2-propanol, ethyl acetate, nbutyl acetate, toluene, methyl ethyl ketone, methyl isobutyl ketone, diacetone alcohol, and acetone.
- the active energy ray-curable resin composition can be obtained by mixing and stirring these components.
- the method for applying the paint is not particularly limited, and a known web application method can be used. Specifically, methods such as roll coating, gravure coating, reverse coating, roll brushing, spray coating, air knife coating, and die coating can be used.
- the thickness of the hard coat is not particularly limited, but is preferably 0.5 ⁇ m or more from the viewpoint of surely obtaining the effect of improving the damage resistance and solvent resistance. On the other hand, there is no upper limit on the thickness of the hard coat. However, since an unnecessarily thick hard coat only increases the cost, the thickness is 50 ⁇ m at most.
- the anchor coating agent used for the transparent anchor coating is not limited except that it is transparent, and known materials such as polyester, acrylic, polyurethane, acrylic urethane, and polyester urethane can be used.
- the method for applying the anchor coating agent is not particularly limited, and a known web coating method can be used. Specifically, methods such as roll coating, gravure coating, reverse coating, roll brushing, spray coating, air knife coating, and die coating can be used.
- the thickness of the transparent anchor coat is usually about 0.1 to 5 ⁇ m, preferably 0.5 to 2 ⁇ m.
- the surface protective layer (A2) for example, a resin film having excellent scratch resistance and solvent resistance such as a vinylidene fluoride resin film and a biaxially stretched polyethylene terephthalate film may be laminated.
- the vinylidene fluoride resin film can be obtained by forming a vinylidene fluoride resin film by an arbitrary method.
- the vinylidene fluoride resin include vinylidene fluoride homopolymers and copolymers containing vinylidene fluoride as a constituent unit in an amount of 70 mol% or more. One or more of these may be used. Mixtures can be used.
- the monomer copolymerized with vinylidene fluoride include, for example, tetrafluoroethylene, propylene hexafluoride, ethylene trifluoride, ethylene trifluoride chloride, and vinyl fluoride. Two or more types can be used.
- the vinylidene fluoride resin includes a lubricant, an antioxidant, a weather resistance stabilizer, a heat stabilizer, a release agent, an antistatic agent, a surfactant, a nucleating agent, Color materials, plasticizers and the like may be included.
- vinylidene fluoride resins usually have a melting point in the range of 145 to 180 ° C., but from the viewpoint of processability, those having a temperature of 150 to 170 ° C. are preferably used.
- a Diamond DSC type differential scanning calorimeter manufactured by PerkinElmer Japan Co., Ltd. is used, and the sample is held at 230 ° C. for 5 minutes, and then cooled to ⁇ 50 ° C. at a temperature decreasing rate of 10 ° C./min.
- the melting point was defined as the peak top on the highest temperature side in the melting curve obtained by performing DSC measurement with a temperature program of holding at 50 ° C. for 5 minutes and then heating to 230 ° C. at a rate of temperature increase of 10 ° C./min. .
- the method for laminating the transparent resin sheet layer (A1) and the vinylidene fluoride-based resin film is not limited and can be laminated by any method.
- a method of dry laminating or heat laminating, melting each constituent material with an extruder, a feed block method or A method obtained by T-die coextrusion by a multi-manifold method an extrusion laminating method in which one of the transparent resin sheet layer (A1) or the vinylidene fluoride resin film is obtained by an arbitrary method, and the other is melt extruded.
- Etc a method of dry laminating or heat laminating, melting each constituent material with an extruder, a feed block method or A method obtained by T-die coextrusion by a multi-manifold method, an extrusion laminating method in which one of the transparent resin sheet layer (A1) or the vinylidene fluoride resin film is obtained by an arbitrary method, and the other is melt extruded.
- biaxially stretched polyethylene terephthalate film described above is widely commercially available, and any film can be used.
- the method for laminating the above-described transparent resin sheet layer (A1) and the biaxially stretched polyethylene terephthalate film is not limited, and can be laminated by any method.
- a transparent resin sheet layer (A1) and a biaxially stretched polyethylene terephthalate film by any method a dry lamination method, a transparent resin sheet layer (A1) is melt-extruded on the biaxially stretched polyethylene terephthalate film
- the extrusion laminating method to perform etc. can be mention
- the surface of the transparent resin sheet layer (A1) on which the foam heat insulating materials 22 and 44 are formed is directly or via an anchor coat, an adhesive, or an anchor coat and an adhesive.
- a colored resin sheet layer (A3) may be further provided.
- the foamed heat insulating materials 22 and 44 are surely concealed, and the color of the colored resin sheet layer (A3) is visible from the back of the transparent resin sheet layer (A1). This can increase the sense of depth.
- the colored resin sheet used as the colored resin sheet layer (A3) is not limited, and any colored resin sheet can be used.
- polyester resins such as aromatic polyester and aliphatic polyester; acrylic resins; polycarbonate resins; polyolefin resins such as polyethylene, polypropylene and polymethylpentene; cellophane, triacetylcellulose, diacetylcellulose, acetylcellulose butyrate, etc.
- Cellulose resin polystyrene, acrylonitrile / butadiene / styrene copolymer resin (ABS resin), styrene resin such as styrene / ethylene / butadiene / styrene copolymer, styrene / ethylene / butadiene / styrene copolymer; polyvinyl chloride -Based resins; polyvinylidene chloride resins; fluorine-containing resins such as polyvinylidene fluoride; others, polyvinyl alcohol, ethylene vinyl alcohol, polyether ether ketone It can be mentioned colored resin sheet such as; nylon, polyamide, polyimide, polyurethane, polyether imide, polysulfone, polyether sulfone. These sheets include an unstretched sheet, a uniaxially stretched sheet, and a biaxially stretched sheet. Moreover, the laminated sheet which laminated
- a printed layer (A4) can be further provided directly or via an anchor coat on the surface of the transparent resin sheet layer (A1) on which the foam heat insulating materials 22 and 44 are formed.
- the colored resin sheet layer (A3) may be further provided on the printed layer (A4).
- the print layer (A4) may be provided on the surface of the colored resin sheet layer (A3) on the transparent resin sheet layer (A1) side.
- the printing layers (A4) and (A5) described above are for imparting designability to the freezer compartment door 11 and are formed by printing an arbitrary pattern using an arbitrary ink and an arbitrary printing machine.
- the Printing may be performed on either the transparent resin sheet layer (A1) or the colored resin sheet (A3).
- patterns include wood grain patterns, stone patterns simulating the surface of rocks such as marble, fabric patterns simulating cloth or cloth patterns, tiled patterns, brickwork patterns, parquet patterns, patchwork, etc. it can.
- As printing ink what mixed the pigment, the solvent, the stabilizer, the plasticizer, the catalyst, the hardening
- binder examples include polyurethane resins, vinyl chloride / vinyl acetate copolymer resins, vinyl chloride / vinyl acetate / acrylic copolymer resins, chlorinated polypropylene resins, acrylic resins, polyester resins, polyamides. Resins such as resin, butyral resin, polystyrene resin, nitrocellulose resin, and cellulose acetate resin, and these resin compositions can be used.
- the resin sheet constituting the front panel 15 is preferably selected from the polyester resin sheet (a1), the acrylic resin sheet (a2), and the aromatic polycarbonate resin sheet (a3). Contains at least one.
- the polyester resin sheet (a1) is more preferably an amorphous or low crystalline aromatic polyester resin sheet (a11).
- the front panel 15 is more preferably a laminate including the surface protective layer (A2) and the transparent resin sheet layer (A1) in this order from the surface side of the freezer compartment door 11 of the refrigerator. is there.
- the transparent resin sheet layer (A1) is selected from the transparent polyester resin sheet (a1-1), the transparent acrylic resin sheet (a2-1), and the transparent aromatic polycarbonate resin sheet (a3-1). Including at least one.
- the transparent polyester resin sheet (a1-1) is more preferably a transparent amorphous or low crystalline aromatic polyester resin sheet (a1-2).
- the polyester resin sheet (a1) is a sheet made of a resin or a resin composition mainly containing an arbitrary polyester resin (90% by mass or more), and includes a non-stretched sheet, a uniaxially stretched sheet, and a biaxially stretched sheet.
- the transparent polyester resin sheet (a1-1) is the polyester resin sheet (a1) having a haze value of 10% or less, preferably 6% or less, more preferably 4% or less, and most preferably 2%. It is the following sheet.
- Amorphous or low crystalline aromatic polyester resin sheet is a sheet made of a resin or a resin composition mainly containing an amorphous or low crystalline aromatic polyester resin (90% by mass or more). .
- the transparent amorphous or low crystalline aromatic polyester resin sheet (a1-2) is the amorphous or low crystalline aromatic polyester resin sheet (a11), having a haze value of 10% or less,
- the sheet is preferably 6% or less, more preferably 4% or less, and most preferably 2% or less.
- amorphous or low crystalline aromatic polyester resin examples include aromatic polyvalent carboxylic acid components such as terephthalic acid, isophthalic acid, orthophthalic acid, naphthalenedicarboxylic acid, ethylene glycol, diethylene glycol, neopentyl glycol, 1 , 2-butanediol, 1,3-butanediol, 1,4-butanediol, 1,5-pentanediol, 3-methyl-1,5-pentanediol, 2-methyl-1,3-propanediol, Polyester copolymers with polyhydric alcohol components such as 1,4-cyclohexanedimethanol, More specifically, assuming that the total amount of monomers is 100 mol%, Glycol-modified polyethylene terephthalate (PETG) containing 45-50 mol% terephthalic acid and 30-40 mol% ethylene glycol, 10-20 mol% 1,4-cyclohexanedimethanol; Glycol-
- a Diamond DSC type differential scanning calorimeter manufactured by PerkinElmer Japan Co., Ltd. is used, and the sample is held at 320 ° C. for 5 minutes, and then cooled to ⁇ 50 ° C. at a temperature decrease rate of 20 ° C./min.
- a polyester having a property of more than 10 J / g and not more than 60 J / g was defined as low crystallinity.
- the amorphous or low crystalline aromatic polyester resin may contain other components as required.
- Optional components that can be included include thermoplastic resins other than amorphous or low crystalline aromatic polyester resins; pigments, inorganic fillers, organic fillers, resin fillers; lubricants, antioxidants, weathering stabilizers, thermal stabilizers And additives such as mold release agents, antistatic agents, and surfactants.
- the amount of these optional components is usually about 0.1 to 10 parts by mass when the amorphous or low-crystalline aromatic polyester resin is 100 parts by mass.
- core-shell rubber can be mentioned, and impact resistance can be improved by using this.
- the core-shell rubber include methacrylate ester / styrene / butadiene rubber graft copolymer, acrylonitrile / styrene / butadiene rubber graft copolymer, acrylonitrile / styrene / ethylene / propylene rubber graft copolymer, and acrylonitrile / styrene / acrylic acid.
- the amount of the core-shell rubber described above is preferably 0.5 parts by mass or more in order to improve impact resistance when the amorphous or low-crystalline aromatic polyester resin is 100 parts by mass, and is transparent. Is preferably 5 parts by mass or less, more preferably 3 parts by mass or less.
- the acrylic resin sheet (a2) is a sheet made of a resin or a resin composition mainly containing an acrylic resin (50% by mass or more).
- the transparent acrylic resin sheet (a2-1) is the acrylic resin sheet (a2) having a haze value of 10% or less, preferably 6% or less, more preferably 4% or less, and most preferably 2%. It is the following sheet.
- acrylic resin examples include poly (meth) methyl acrylate, poly (meth) ethyl acrylate, poly (meth) acrylate propyl, poly (meth) acrylate butyl, methyl (meth) acrylate ⁇ (meth ) (Meth) acrylic acid ester (co) polymer such as butyl acrylate copolymer, (meth) ethyl acrylate / (meth) butyl acrylate copolymer; ethylene / methyl (meth) acrylate copolymer, A copolymer containing a (meth) acrylic ester such as a styrene / methyl (meth) acrylate copolymer; a mixture of one or more acrylic resins such as an acrylic ester / styrene / Butadiene rubber graft copolymer, acrylonitrile / styrene / butadiene rubber graft copolymer, acryl
- (Meth) acrylic means acryl or methacryl.
- the (co) polymer means a polymer or a copolymer.
- the blending ratio of the acrylic resin (acryl) and the core shell rubber (core) is preferably 50 to 85 parts by mass of the acrylic resin (acryl) when the total of both is 100 parts by mass.
- (Core) is 50 to 15 parts by mass, more preferably, the acrylic resin (acryl) is 60 to 75 parts by mass, and the core shell rubber (core) is 40 to 25 parts by mass.
- optional components that can be included in the acrylic resin composition include thermoplastic resins other than acrylic resins and core-shell rubbers; pigments, inorganic fillers, organic fillers, resin fillers; lubricants, antioxidants, weathering stabilizers, And additives such as heat stabilizers, mold release agents, antistatic agents, nucleating agents, and surfactants.
- the amount of these optional components is usually about 0.1 to 10 parts by mass when the total of the acrylic resin (acryl) and the core-shell rubber (core) is 100 parts by mass.
- the aromatic polycarbonate resin sheet (a3) is a sheet made of a resin or a resin composition mainly containing an aromatic polycarbonate resin (50% by mass or more).
- the transparent aromatic polycarbonate resin sheet (a3-1) is the aromatic polycarbonate resin sheet (a3) having a haze value of 10% or less, preferably 6% or less, more preferably 4% or less.
- the sheet is preferably 2% or less.
- aromatic polycarbonate resin composition examples include a polymer obtained by an interfacial polymerization method of an aromatic dihydroxy compound such as bisphenol A and phosgene; an aromatic dihydroxy compound such as bisphenol A and a carbonic acid diester such as diphenyl carbonate; A polymer obtained by transesterification reaction of the above, a mixture of one or more aromatic polycarbonate resins (pc), methacrylic acid ester / styrene / butadiene rubber graft copolymer, acrylonitrile / styrene / butadiene rubber Graft copolymer, acrylonitrile / styrene / ethylene / propylene rubber graft copolymer, acrylonitrile / styrene / acrylic acid ester graft copolymer, methacrylic acid ester / acrylic acid ester rubber graft Polymers, may be mentioned resin composition of one or a mixture of two or more core shell rubbers
- the blending ratio of the aromatic polycarbonate resin (pc) and the core shell rubber (core) is preferably 50 to 99 parts by mass of the aromatic polycarbonate resin (pc) when the total of both is 100 parts by mass.
- the core shell rubber (core) is 50 to 1 part by mass, more preferably the aromatic polycarbonate resin (pc) is 70 to 90 parts by mass, and the core shell rubber (core) is 30 to 10 parts by mass.
- the optional components that can be included in the aromatic polycarbonate resin composition include thermoplastic resins other than aromatic polycarbonate resins and core-shell rubbers; pigments, inorganic fillers, organic fillers, resin fillers; lubricants, antioxidants, weather resistance And the like, additives such as stability stabilizers, heat stabilizers, mold release agents, antistatic agents, and surfactants.
- the amount of these optional components is usually about 0.1 to 10 parts by mass when the total of the aromatic polycarbonate resin (pc) and the core-shell rubber (core) is 100 parts by mass.
- the polyester resin sheet (a1) and the transparent polyester resin sheet (a1-1) are made of any polyester resin such as polyethylene terephthalate, and the amorphous or low crystalline aromatic polyester resin sheet (a11).
- the transparent amorphous or low crystalline aromatic polyester resin sheet (a1-2) is the amorphous or low crystalline aromatic polyester resin, the acrylic resin sheet (a2) or the transparent acrylic resin.
- the resin sheet (a2-1) is the acrylic resin
- the aromatic polycarbonate resin sheet (a3) and the transparent aromatic polycarbonate resin sheet (a3-1) is the aromatic polycarbonate resin, for example, calendered. Or by using an extruder and a T-die to form a film .
- Any calendar processing machine can be used, for example, upright 3 rolls, upright 4 rolls, L 4 rolls, inverted L 4 rolls, and Z rolls. Can do.
- Any extruder can be used, and examples thereof include a single-screw extruder, a same-direction rotating twin-screw extruder, and a different-direction rotating twin-screw extruder.
- the T-die can be arbitrarily used, and examples thereof include a manifold die, a fishtail die, and a coat hanger die.
- the obtained polyester resin sheet may be further uniaxially or biaxially stretched.
- the door caps 16 and 17 and the frame 36 are made of a synthetic resin material.
- the door caps 16, 17 and the frame body 36 play an important role for maintaining the strength and rigidity necessary for the freezer compartment door 11 of the refrigerator, and at least a part of the outer shape of the freezer compartment door 11. Is forming.
- ABS resin acrylonitrile / butadiene / styrene copolymer resin
- the door caps 16 and 17 and the frame 36 can be obtained by molding these resins using, for example, an injection molding machine.
- the back panels 20 and 40 forming the back surface of the freezer compartment door 11 are made of a synthetic resin material integrally provided with a food storage shelf and the like, and are provided with a sealing magnet 18 around which a gasket 19 is attached. It is attached and fixed so as to cover the front opening of the refrigerator-freezer body 1.
- the rear panels 20 and 40 are preferably made of, for example, acrylonitrile / butadiene / styrene copolymer resin (ABS resin) or rubber-modified polystyrene (HIPS) in order to maintain the strength and rigidity necessary for the freezer compartment door 11. Can be used.
- ABS resin acrylonitrile / butadiene / styrene copolymer resin
- HIPS rubber-modified polystyrene
- the back panels 20 and 40 can be obtained by molding these resins using, for example, an injection molding machine.
- Said foam insulation 22, 44 For example, a foamed resin stock solution is injected into the space between the front panels 15 and 35, the rear panels 20 and 40, the door caps 16 and 17, and the frame body 36.
- the foam insulation is filled and formed by the on-site foaming method. It serves to ensure the heat insulation required for the freezer compartment door 11 of the refrigerator.
- the liquid foamable resin used for obtaining the foam heat insulating materials 22 and 44 is not limited, and any foamable resin can be used.
- polyurethane resins such as thermosetting polyurethane and thermoplastic polyurethane; polyester resins such as thermosetting polyester and thermoplastic polyester; polystyrene, acrylonitrile / butadiene / styrene copolymer resin (ABS resin), styrene / ethylene / butadiene A styrene copolymer, a styrene resin such as styrene / ethylene / butadiene / styrene copolymer; a polyolefin resin such as polyethylene, polypropylene, and polymethylpentene; Azo compounds such as azodicarboxylic acid amide; nitroso compounds such as N, N′-dinitrosopentamethylenetetramine; carbonates such as sodium bicarbonate and ammonium bicarbonate; organic acids such as citric acid, sodium citrate and oxalic acid; hydrogen Examples thereof include a resin composition with one or more foam, poly
- the foam heat insulating materials 22 and 44, the front panels 15 and 35, the door caps 16 and 17, the frame body 36, and the back panels 20 and 40 are bonded with sufficient strength. Is preferred. Thereby, the rigidity of the freezer compartment door 11 can be increased. And in order to make it adhere
- the adhesive strength between the front panels 15 and 35 and the foam heat insulating materials 22 and 44 for example, when injecting a foaming solution of urethane-based foaming resin, foaming of the front panels 15 and 35 is performed. It is preferable to form the surface on which the foam heat insulating materials 22 and 44 are formed by the amorphous or low crystalline aromatic polyester resin sheet. Thereby, even if it does not use the said anchor coat, the adhesive strength of the said foam heat insulating materials 22 and 44 and the said front panels 15 and 35 which are formed, for example with a urethane type foaming resin becomes sufficient.
- the location where the door caps 16 and 17 and the back panels 20 and 40 are bonded to the foam heat insulating materials 22 and 44 It is also one of preferred embodiments to use the amorphous or low-crystalline aromatic polyester resin sheet in the portion to be.
- the drawer type door specifically the drawer shown by this embodiment. It can also be applied to the ice making room door 9, the temperature switching room door 10, the vegetable room door 12 and the like of the type, and is not limited to the drawer type, and can also be applied to a double-open or single-open door.
- the refrigerator door body of the present invention can be understood by those skilled in the art to mean a door body of a device intended to keep warm, as can be understood from the embodiment of the freezer door described in this embodiment.
- the door body of the present invention can be used for a general refrigerator-freezer, a freezer, a freezer, and the like.
Landscapes
- Engineering & Computer Science (AREA)
- Chemical & Material Sciences (AREA)
- Combustion & Propulsion (AREA)
- Physics & Mathematics (AREA)
- Mechanical Engineering (AREA)
- Thermal Sciences (AREA)
- General Engineering & Computer Science (AREA)
- Refrigerator Housings (AREA)
Priority Applications (1)
| Application Number | Priority Date | Filing Date | Title |
|---|---|---|---|
| JP2015506003A JP6200942B2 (ja) | 2013-09-05 | 2014-08-14 | 冷蔵庫の扉体 |
Applications Claiming Priority (2)
| Application Number | Priority Date | Filing Date | Title |
|---|---|---|---|
| JP2013184486 | 2013-09-05 | ||
| JP2013-184486 | 2013-09-05 |
Publications (1)
| Publication Number | Publication Date |
|---|---|
| WO2015033754A1 true WO2015033754A1 (ja) | 2015-03-12 |
Family
ID=52628234
Family Applications (1)
| Application Number | Title | Priority Date | Filing Date |
|---|---|---|---|
| PCT/JP2014/071438 Ceased WO2015033754A1 (ja) | 2013-09-05 | 2014-08-14 | 冷蔵庫の扉体 |
Country Status (4)
| Country | Link |
|---|---|
| JP (2) | JP6200942B2 (enExample) |
| CN (2) | CN204202289U (enExample) |
| TW (1) | TWI687632B (enExample) |
| WO (1) | WO2015033754A1 (enExample) |
Cited By (16)
| Publication number | Priority date | Publication date | Assignee | Title |
|---|---|---|---|---|
| KR20180085731A (ko) | 2015-11-25 | 2018-07-27 | 리껭테크노스 가부시키가이샤 | 문 개체 |
| KR20180114119A (ko) | 2016-02-19 | 2018-10-17 | 리껭테크노스 가부시키가이샤 | 점착제 및 이를 포함하는 물품 |
| US10596739B2 (en) | 2015-03-18 | 2020-03-24 | Riken Technos Corporation | Molded body |
| US10780685B2 (en) | 2015-03-18 | 2020-09-22 | Riken Technos Corporation | Hard coat laminated film |
| US10809418B2 (en) | 2015-03-18 | 2020-10-20 | Riken Technos Corporation | Anti-glare hard coat laminated film |
| US10816700B2 (en) | 2015-12-08 | 2020-10-27 | Riken Technos Corporation | Hard coat layered film |
| US11065851B2 (en) | 2015-03-18 | 2021-07-20 | Riken Technos Corporation | Multilayer hard coating film |
| CN113865236A (zh) * | 2020-06-30 | 2021-12-31 | 青岛海尔电冰箱有限公司 | 可更换门面的冰箱门 |
| US11396771B2 (en) * | 2020-01-22 | 2022-07-26 | Samsung Electronics Co., Ltd. | Gasket for refrigerator door |
| US11433651B2 (en) | 2015-03-18 | 2022-09-06 | Riken Technos Corporation | Hard coat laminated film |
| US11768027B2 (en) | 2019-04-15 | 2023-09-26 | Samsung Electronics Co., Ltd. | Refrigerator |
| US11774166B2 (en) | 2015-11-25 | 2023-10-03 | Riken Technos Corporation | Door body |
| US11815304B2 (en) | 2019-04-15 | 2023-11-14 | Samsung Electronics Co., Ltd. | Refrigerator |
| US11867450B2 (en) | 2019-08-20 | 2024-01-09 | Samsung Electronics Co., Ltd. | Refrigerator and home appliance |
| US11940203B2 (en) | 2020-04-08 | 2024-03-26 | Samsung Electronics Co., Ltd. | Refrigerator |
| US20250027706A1 (en) * | 2023-07-17 | 2025-01-23 | Lg Electronics Inc. | Refrigerator |
Families Citing this family (12)
| Publication number | Priority date | Publication date | Assignee | Title |
|---|---|---|---|---|
| PH12017501311B1 (en) | 2015-03-18 | 2024-07-03 | Riken Technos Corp | Hard coat laminate film and method for producing same |
| WO2016147716A1 (ja) | 2015-03-18 | 2016-09-22 | リケンテクノス株式会社 | 粘着フィルム |
| JP6782064B2 (ja) * | 2015-07-17 | 2020-11-11 | 東芝ライフスタイル株式会社 | 冷蔵庫 |
| CN105371573A (zh) * | 2015-11-30 | 2016-03-02 | 青岛海尔股份有限公司 | 用于冰箱的门体的制造方法、用于冰箱的门体及冰箱 |
| CN106091551B (zh) * | 2016-06-20 | 2019-01-22 | 合肥华凌股份有限公司 | 一种制冷设备的门体组件和制冷设备 |
| EP3513970B1 (en) | 2016-09-14 | 2023-05-03 | Riken Technos Corporation | Hard coat laminated film |
| JP7064313B2 (ja) | 2016-11-25 | 2022-05-10 | リケンテクノス株式会社 | ハードコート積層フィルム |
| CN107576139B (zh) * | 2017-09-12 | 2019-10-29 | 合肥美的电冰箱有限公司 | 密封装置 |
| JP7266164B2 (ja) * | 2019-08-06 | 2023-04-28 | パナソニックIpマネジメント株式会社 | 冷蔵庫 |
| JP7583602B2 (ja) * | 2020-12-18 | 2024-11-14 | 東芝ライフスタイル株式会社 | 冷蔵庫扉用枠、冷蔵庫用引出扉、および冷蔵庫 |
| CN116222104A (zh) * | 2021-12-06 | 2023-06-06 | 青岛海尔电冰箱有限公司 | 紧固件的安装框及冰箱 |
| US12173956B2 (en) * | 2022-01-04 | 2024-12-24 | Lg Electronics Inc. | Refrigerator and home appliances |
Citations (4)
| Publication number | Priority date | Publication date | Assignee | Title |
|---|---|---|---|---|
| JPH05288458A (ja) * | 1992-04-06 | 1993-11-02 | Matsushita Refrig Co Ltd | 冷蔵庫の扉体 |
| JP2004232887A (ja) * | 2003-01-28 | 2004-08-19 | Matsushita Electric Ind Co Ltd | 冷蔵庫 |
| JP2007120795A (ja) * | 2005-10-25 | 2007-05-17 | Toshiba Corp | 冷蔵庫 |
| JP2012091502A (ja) * | 2010-09-30 | 2012-05-17 | Dainippon Printing Co Ltd | 真空成形用化粧シート |
Family Cites Families (11)
| Publication number | Priority date | Publication date | Assignee | Title |
|---|---|---|---|---|
| JPS5172759A (enExample) * | 1974-12-20 | 1976-06-23 | Sanyo Electric Co | |
| JPS5921973A (ja) * | 1982-07-28 | 1984-02-04 | 株式会社東芝 | 冷蔵庫用断熱扉の製造方法 |
| US5227245A (en) * | 1990-04-04 | 1993-07-13 | The Dow Chemical Company | Barrier films for preventing solvent attack on plastic resins |
| JPH0765842B2 (ja) * | 1993-03-25 | 1995-07-19 | 三洋電機株式会社 | 冷蔵庫等の扉体 |
| JPH109761A (ja) * | 1996-06-19 | 1998-01-16 | Hitachi Ltd | 冷蔵庫の扉 |
| JP2000220955A (ja) * | 1999-01-29 | 2000-08-08 | Sanyo Electric Co Ltd | 冷蔵庫の扉およびその製造方法 |
| JP3676274B2 (ja) * | 2001-09-06 | 2005-07-27 | 三洋電機株式会社 | 断熱部材、冷蔵庫及び冷蔵庫の扉体 |
| JP4123991B2 (ja) * | 2003-03-14 | 2008-07-23 | 松下電器産業株式会社 | 断熱扉の製造方法および冷蔵庫 |
| CN101231107A (zh) * | 2007-01-25 | 2008-07-30 | 泰州乐金电子冷机有限公司 | 泡菜冰箱的外冰箱门 |
| WO2010029977A1 (ja) * | 2008-09-10 | 2010-03-18 | 東洋製罐株式会社 | 真空断熱体 |
| CN103003056B (zh) * | 2010-07-16 | 2015-06-17 | 积水化学工业株式会社 | 高分子制品及高分子制品的制造方法 |
-
2014
- 2014-08-14 WO PCT/JP2014/071438 patent/WO2015033754A1/ja not_active Ceased
- 2014-08-14 JP JP2015506003A patent/JP6200942B2/ja active Active
- 2014-09-02 TW TW103130230A patent/TWI687632B/zh active
- 2014-09-05 CN CN201420513320.2U patent/CN204202289U/zh not_active Expired - Lifetime
- 2014-09-05 CN CN201410453281.6A patent/CN104422239B/zh active Active
-
2015
- 2015-11-27 JP JP2015231184A patent/JP6704243B2/ja active Active
Patent Citations (4)
| Publication number | Priority date | Publication date | Assignee | Title |
|---|---|---|---|---|
| JPH05288458A (ja) * | 1992-04-06 | 1993-11-02 | Matsushita Refrig Co Ltd | 冷蔵庫の扉体 |
| JP2004232887A (ja) * | 2003-01-28 | 2004-08-19 | Matsushita Electric Ind Co Ltd | 冷蔵庫 |
| JP2007120795A (ja) * | 2005-10-25 | 2007-05-17 | Toshiba Corp | 冷蔵庫 |
| JP2012091502A (ja) * | 2010-09-30 | 2012-05-17 | Dainippon Printing Co Ltd | 真空成形用化粧シート |
Cited By (25)
| Publication number | Priority date | Publication date | Assignee | Title |
|---|---|---|---|---|
| US11433651B2 (en) | 2015-03-18 | 2022-09-06 | Riken Technos Corporation | Hard coat laminated film |
| US10596739B2 (en) | 2015-03-18 | 2020-03-24 | Riken Technos Corporation | Molded body |
| US10780685B2 (en) | 2015-03-18 | 2020-09-22 | Riken Technos Corporation | Hard coat laminated film |
| US10809418B2 (en) | 2015-03-18 | 2020-10-20 | Riken Technos Corporation | Anti-glare hard coat laminated film |
| US11065851B2 (en) | 2015-03-18 | 2021-07-20 | Riken Technos Corporation | Multilayer hard coating film |
| US11512176B2 (en) | 2015-03-18 | 2022-11-29 | Riken Technos Corporation | Anti-glare hard coat laminated film |
| US11774166B2 (en) | 2015-11-25 | 2023-10-03 | Riken Technos Corporation | Door body |
| EP3381683A4 (en) * | 2015-11-25 | 2019-06-19 | Riken Technos Corporation | DOOR BODY |
| US11241866B2 (en) | 2015-11-25 | 2022-02-08 | Riken Technos Corporation | Door body |
| KR20180085731A (ko) | 2015-11-25 | 2018-07-27 | 리껭테크노스 가부시키가이샤 | 문 개체 |
| US10816700B2 (en) | 2015-12-08 | 2020-10-27 | Riken Technos Corporation | Hard coat layered film |
| US11459489B2 (en) | 2016-02-19 | 2022-10-04 | Riken Technos Corporation | Pressure-sensitive adhesive and articles including same |
| KR20180114119A (ko) | 2016-02-19 | 2018-10-17 | 리껭테크노스 가부시키가이샤 | 점착제 및 이를 포함하는 물품 |
| US12281836B2 (en) | 2019-04-15 | 2025-04-22 | Samsung Electronics Co., Ltd. | Refrigerator |
| US11815304B2 (en) | 2019-04-15 | 2023-11-14 | Samsung Electronics Co., Ltd. | Refrigerator |
| US11768027B2 (en) | 2019-04-15 | 2023-09-26 | Samsung Electronics Co., Ltd. | Refrigerator |
| US11867450B2 (en) | 2019-08-20 | 2024-01-09 | Samsung Electronics Co., Ltd. | Refrigerator and home appliance |
| US12270595B2 (en) | 2019-08-20 | 2025-04-08 | Samsung Electronics Co., Ltd. | Refrigerator and home appliance |
| US11396771B2 (en) * | 2020-01-22 | 2022-07-26 | Samsung Electronics Co., Ltd. | Gasket for refrigerator door |
| US11940203B2 (en) | 2020-04-08 | 2024-03-26 | Samsung Electronics Co., Ltd. | Refrigerator |
| US12259179B2 (en) | 2020-04-08 | 2025-03-25 | Samsung Electronics Co., Ltd. | Refrigerator |
| CN113865236B (zh) * | 2020-06-30 | 2023-02-17 | 青岛海尔电冰箱有限公司 | 可更换门面的冰箱门 |
| CN113865236A (zh) * | 2020-06-30 | 2021-12-31 | 青岛海尔电冰箱有限公司 | 可更换门面的冰箱门 |
| US12292227B2 (en) | 2020-06-30 | 2025-05-06 | Chongqing Haier Refrigerator Electric Appliance Co., Ltd. | Refrigerator door with replaceable door panel |
| US20250027706A1 (en) * | 2023-07-17 | 2025-01-23 | Lg Electronics Inc. | Refrigerator |
Also Published As
| Publication number | Publication date |
|---|---|
| CN204202289U (zh) | 2015-03-11 |
| JP2016042022A (ja) | 2016-03-31 |
| TW201530070A (zh) | 2015-08-01 |
| TWI687632B (zh) | 2020-03-11 |
| CN104422239A (zh) | 2015-03-18 |
| JPWO2015033754A1 (ja) | 2017-03-02 |
| JP6200942B2 (ja) | 2017-09-20 |
| JP6704243B2 (ja) | 2020-06-03 |
| CN104422239B (zh) | 2018-09-28 |
Similar Documents
| Publication | Publication Date | Title |
|---|---|---|
| JP6200942B2 (ja) | 冷蔵庫の扉体 | |
| JP5620644B2 (ja) | タッチパネル用積層押出樹脂板およびタッチパネル用表面塗工板 | |
| JP5251327B2 (ja) | 艶消し樹脂フィルム | |
| EP3616910B1 (en) | Thermoplastic resin multilayer film, method for manufacturing same, and laminate | |
| TWI610807B (zh) | 具有玻璃基調設計之物品 | |
| WO2016158827A1 (ja) | 積層体 | |
| CN104349898B (zh) | 塑料组件及其制造、使用方法以及包含该塑料组件的制品 | |
| JP7184543B2 (ja) | 多層フィルム | |
| JP7010832B2 (ja) | ガラス積層体 | |
| US20110076463A1 (en) | Matte resin film | |
| JP6084104B2 (ja) | 高鮮鋭性加飾シート | |
| JP6965753B2 (ja) | 化粧シート及び化粧部材 | |
| WO2020179524A1 (ja) | 高硬度成形用樹脂シートおよびそれを用いた成形品 | |
| KR102479623B1 (ko) | 점착제 및 이를 포함하는 물품 | |
| KR20170107993A (ko) | 수지제 패널의 제조 방법 | |
| CN108973281A (zh) | 树脂层叠体 | |
| JP2003253111A (ja) | 樹脂組成物、積層成形品、およびリサイクル方法 | |
| JPH07205385A (ja) | ポリカーボネート樹脂積層板 | |
| JP2008068627A (ja) | 可撓性をもつハードコートフィルム | |
| JP4442008B2 (ja) | 化粧シート | |
| KR102634573B1 (ko) | 자동차 외장재용 복합재 | |
| JP2019167433A (ja) | 艶消しフィルム、及び、これを用いた艶消し積層フィルム等 | |
| JP7410454B2 (ja) | 建具、及び建具の製造方法 | |
| JP6653988B2 (ja) | 正面パネル構成用多層樹脂シート | |
| JP2019119157A (ja) | 化粧シート及び化粧部材 |
Legal Events
| Date | Code | Title | Description |
|---|---|---|---|
| ENP | Entry into the national phase |
Ref document number: 2015506003 Country of ref document: JP Kind code of ref document: A |
|
| 121 | Ep: the epo has been informed by wipo that ep was designated in this application |
Ref document number: 14842600 Country of ref document: EP Kind code of ref document: A1 |
|
| NENP | Non-entry into the national phase |
Ref country code: DE |
|
| 122 | Ep: pct application non-entry in european phase |
Ref document number: 14842600 Country of ref document: EP Kind code of ref document: A1 |