WO2014196186A1 - 車両用空調装置 - Google Patents

車両用空調装置 Download PDF

Info

Publication number
WO2014196186A1
WO2014196186A1 PCT/JP2014/002915 JP2014002915W WO2014196186A1 WO 2014196186 A1 WO2014196186 A1 WO 2014196186A1 JP 2014002915 W JP2014002915 W JP 2014002915W WO 2014196186 A1 WO2014196186 A1 WO 2014196186A1
Authority
WO
WIPO (PCT)
Prior art keywords
air
temperature
heat
heat exchanger
heat medium
Prior art date
Legal status (The legal status is an assumption and is not a legal conclusion. Google has not performed a legal analysis and makes no representation as to the accuracy of the status listed.)
Ceased
Application number
PCT/JP2014/002915
Other languages
English (en)
French (fr)
Japanese (ja)
Inventor
憲彦 榎本
梯 伸治
道夫 西川
加藤 吉毅
賢吾 杉村
山中 隆
牧原 正径
Current Assignee (The listed assignees may be inaccurate. Google has not performed a legal analysis and makes no representation or warranty as to the accuracy of the list.)
Denso Corp
Original Assignee
Denso Corp
Priority date (The priority date is an assumption and is not a legal conclusion. Google has not performed a legal analysis and makes no representation as to the accuracy of the date listed.)
Filing date
Publication date
Application filed by Denso Corp filed Critical Denso Corp
Priority to CN201480032295.9A priority Critical patent/CN105263732B/zh
Priority to US14/895,005 priority patent/US10371419B2/en
Priority to DE112014002714.6T priority patent/DE112014002714B4/de
Publication of WO2014196186A1 publication Critical patent/WO2014196186A1/ja
Anticipated expiration legal-status Critical
Ceased legal-status Critical Current

Links

Images

Classifications

    • FMECHANICAL ENGINEERING; LIGHTING; HEATING; WEAPONS; BLASTING
    • F25REFRIGERATION OR COOLING; COMBINED HEATING AND REFRIGERATION SYSTEMS; HEAT PUMP SYSTEMS; MANUFACTURE OR STORAGE OF ICE; LIQUEFACTION SOLIDIFICATION OF GASES
    • F25BREFRIGERATION MACHINES, PLANTS OR SYSTEMS; COMBINED HEATING AND REFRIGERATION SYSTEMS; HEAT PUMP SYSTEMS
    • F25B13/00Compression machines, plants or systems, with reversible cycle
    • BPERFORMING OPERATIONS; TRANSPORTING
    • B60VEHICLES IN GENERAL
    • B60HARRANGEMENTS OF HEATING, COOLING, VENTILATING OR OTHER AIR-TREATING DEVICES SPECIALLY ADAPTED FOR PASSENGER OR GOODS SPACES OF VEHICLES
    • B60H1/00Heating, cooling or ventilating [HVAC] devices
    • B60H1/00642Control systems or circuits; Control members or indication devices for heating, cooling or ventilating devices
    • B60H1/00814Control systems or circuits characterised by their output, for controlling particular components of the heating, cooling or ventilating installation
    • B60H1/00878Control systems or circuits characterised by their output, for controlling particular components of the heating, cooling or ventilating installation the components being temperature regulating devices
    • B60H1/00899Controlling the flow of liquid in a heat pump system
    • BPERFORMING OPERATIONS; TRANSPORTING
    • B60VEHICLES IN GENERAL
    • B60HARRANGEMENTS OF HEATING, COOLING, VENTILATING OR OTHER AIR-TREATING DEVICES SPECIALLY ADAPTED FOR PASSENGER OR GOODS SPACES OF VEHICLES
    • B60H1/00Heating, cooling or ventilating [HVAC] devices
    • B60H1/32Cooling devices
    • B60H1/3204Cooling devices using compression
    • B60H1/3228Cooling devices using compression characterised by refrigerant circuit configurations
    • B60H1/32284Cooling devices using compression characterised by refrigerant circuit configurations comprising two or more secondary circuits, e.g. at evaporator and condenser side
    • FMECHANICAL ENGINEERING; LIGHTING; HEATING; WEAPONS; BLASTING
    • F25REFRIGERATION OR COOLING; COMBINED HEATING AND REFRIGERATION SYSTEMS; HEAT PUMP SYSTEMS; MANUFACTURE OR STORAGE OF ICE; LIQUEFACTION SOLIDIFICATION OF GASES
    • F25BREFRIGERATION MACHINES, PLANTS OR SYSTEMS; COMBINED HEATING AND REFRIGERATION SYSTEMS; HEAT PUMP SYSTEMS
    • F25B25/00Machines, plants or systems, using a combination of modes of operation covered by two or more of the groups F25B1/00 - F25B23/00
    • F25B25/005Machines, plants or systems, using a combination of modes of operation covered by two or more of the groups F25B1/00 - F25B23/00 using primary and secondary systems
    • FMECHANICAL ENGINEERING; LIGHTING; HEATING; WEAPONS; BLASTING
    • F28HEAT EXCHANGE IN GENERAL
    • F28FDETAILS OF HEAT-EXCHANGE AND HEAT-TRANSFER APPARATUS, OF GENERAL APPLICATION
    • F28F27/00Control arrangements or safety devices specially adapted for heat-exchange or heat-transfer apparatus
    • F28F27/02Control arrangements or safety devices specially adapted for heat-exchange or heat-transfer apparatus for controlling the distribution of heat-exchange media between different channels
    • BPERFORMING OPERATIONS; TRANSPORTING
    • B60VEHICLES IN GENERAL
    • B60HARRANGEMENTS OF HEATING, COOLING, VENTILATING OR OTHER AIR-TREATING DEVICES SPECIALLY ADAPTED FOR PASSENGER OR GOODS SPACES OF VEHICLES
    • B60H1/00Heating, cooling or ventilating [HVAC] devices
    • B60H1/00642Control systems or circuits; Control members or indication devices for heating, cooling or ventilating devices
    • B60H1/00814Control systems or circuits characterised by their output, for controlling particular components of the heating, cooling or ventilating installation
    • B60H1/00878Control systems or circuits characterised by their output, for controlling particular components of the heating, cooling or ventilating installation the components being temperature regulating devices
    • B60H2001/00961Control systems or circuits characterised by their output, for controlling particular components of the heating, cooling or ventilating installation the components being temperature regulating devices comprising means for defrosting outside heat exchangers
    • FMECHANICAL ENGINEERING; LIGHTING; HEATING; WEAPONS; BLASTING
    • F25REFRIGERATION OR COOLING; COMBINED HEATING AND REFRIGERATION SYSTEMS; HEAT PUMP SYSTEMS; MANUFACTURE OR STORAGE OF ICE; LIQUEFACTION SOLIDIFICATION OF GASES
    • F25BREFRIGERATION MACHINES, PLANTS OR SYSTEMS; COMBINED HEATING AND REFRIGERATION SYSTEMS; HEAT PUMP SYSTEMS
    • F25B2339/00Details of evaporators; Details of condensers
    • F25B2339/04Details of condensers
    • F25B2339/047Water-cooled condensers
    • FMECHANICAL ENGINEERING; LIGHTING; HEATING; WEAPONS; BLASTING
    • F25REFRIGERATION OR COOLING; COMBINED HEATING AND REFRIGERATION SYSTEMS; HEAT PUMP SYSTEMS; MANUFACTURE OR STORAGE OF ICE; LIQUEFACTION SOLIDIFICATION OF GASES
    • F25BREFRIGERATION MACHINES, PLANTS OR SYSTEMS; COMBINED HEATING AND REFRIGERATION SYSTEMS; HEAT PUMP SYSTEMS
    • F25B30/00Heat pumps
    • F25B30/02Heat pumps of the compression type

Definitions

  • the present disclosure relates to an air conditioner used for a vehicle.
  • Patent Document 1 describes a vehicle air conditioner that cools air blown into a room with an evaporator and heats it with a condenser.
  • the evaporator is a heat exchanger that causes heat exchange between the low-pressure side refrigerant and the blown air in the refrigeration cycle, evaporates the low-pressure side refrigerant, and cools the blown air.
  • the condenser is a heat exchanger that heats the blown air while condensing the refrigerant by exchanging heat between the high-pressure side refrigerant of the refrigeration cycle and the blown air.
  • the refrigeration cycle is controlled in order to control the temperature of the air blown into the passenger compartment.
  • the air blown into the passenger compartment is heat-exchanged with the refrigerant of the refrigeration cycle by the evaporator and the condenser, so that if the refrigerant leaks through the evaporator or the condenser, the refrigerant also leaks into the passenger compartment.
  • an outdoor heat exchanger responsible for either condensation or evaporation of the refrigerant is arranged at the forefront of the vehicle. For this reason, the outdoor heat exchanger may be destroyed even in a minor collision that does not damage important engine (frame, drive mechanism, prime mover, etc.) of the vehicle body. For this reason, there is a concern that the repair cost accompanying refilling of the refrigerant becomes high, or that a refrigerant with a high global warming potential is released into the atmosphere, causing environmental destruction.
  • a vehicle air conditioner for exchanging heat of air blown into the vehicle interior refrigerant is not released even during a light collision, and heat exchange of air blown into the vehicle interior is performed. It aims at making temperature of a heat exchanger controllable appropriately.
  • a first pump and a second pump for sucking and discharging the heat medium A heat exchanger for adjustment that adjusts the temperature of the heat medium by exchanging the heat medium; A heat medium air heat exchanger that adjusts the temperature of the blown air by exchanging heat between the heat medium whose temperature has been adjusted by the heat exchanger for adjustment and the blown air into the vehicle interior; A heat medium outside air heat exchanger that exchanges sensible heat between the heat medium whose temperature is adjusted by the heat exchanger for adjustment and the outside air, and The flow rate of at least one of the heat medium and the outside air flowing through the heat medium outside air heat exchanger is adjusted so that the temperature related to the temperature of the blown air whose temperature is adjusted by the heat medium air heat exchanger approaches the first target temperature.
  • a heat exchanger adjustment unit A heat exchanger adjustment unit.
  • the temperature of the heat medium air heat exchanger can be appropriately controlled.
  • a first pump and a second pump for sucking and discharging the heat medium A heat exchanger for adjustment that adjusts the temperature of the heat medium by exchanging the heat medium; A heat medium air heat exchanger that adjusts the temperature of the blown air by exchanging heat between the heat medium whose temperature has been adjusted by the heat exchanger for adjustment and the blown air into the vehicle interior; A heat transfer device that has a flow path through which the heat medium flows, and that performs heat transfer with the heat medium whose temperature is adjusted by the adjustment heat exchanger; A heat medium flow rate adjusting unit that adjusts the flow rate of the heat medium flowing through the heat transfer device so that the temperature related to the temperature of the blown air whose temperature is adjusted by the heat medium air heat exchanger approaches the first target temperature.
  • the temperature of the heat medium air heat exchanger can be appropriately controlled.
  • a first pump and a second pump for sucking and discharging the heat medium A heat exchanger for adjustment that adjusts the temperature of the heat medium by exchanging the heat medium; A heat medium air heat exchanger that adjusts the temperature of the blown air by exchanging heat between the heat medium whose temperature has been adjusted by the heat exchanger for adjustment and the blown air into the vehicle interior; A heat medium outside air heat exchanger that exchanges sensible heat between the heat medium whose temperature is adjusted by the heat exchanger for adjustment and the outside air, and Related to the temperature related to the temperature of the blast air conditioned by the heat transfer medium air heat exchanger, the temperature related to the surface temperature of the heat transfer medium air heat exchanger, or the temperature of the heat transfer medium flowing through the heat transfer medium air heat exchanger A heat exchanger adjustment unit that adjusts at least one of a flow rate and a temperature of the heat medium flowing through the heat medium air heat exchanger so that the temperature approaches the first target temperature.
  • the temperature of the heat medium air heat exchanger can be appropriately controlled.
  • a first pump and a second pump for sucking and discharging the heat medium A heat exchanger for adjustment that adjusts the temperature of the heat medium by exchanging the heat medium; A heat medium air heat exchanger that adjusts the temperature of the blown air by exchanging heat between the heat medium whose temperature has been adjusted by the heat exchanger for adjustment and the blown air into the vehicle interior; A heat transfer device that has a flow path through which the heat medium flows, and that performs heat transfer with the heat medium whose temperature is adjusted by the adjustment heat exchanger;
  • a heat exchanger adjustment unit that adjusts at least one of a flow rate and a temperature of the heat medium flowing through the heat medium air heat exchanger so that the temperature approaches the first target temperature.
  • the temperature of the heat medium air heat exchanger can be appropriately controlled.
  • a first pump and a second pump for sucking and discharging the heat medium A compressor for sucking and discharging refrigerant; A condenser that heat-exchanges the refrigerant while condensing the refrigerant by exchanging heat between the refrigerant discharged from the compressor and the heat medium circulated by the second pump; A decompression section for decompressing and expanding the refrigerant flowing out of the condenser; An evaporator that heat-exchanges the refrigerant expanded under reduced pressure in the decompression unit and the heat medium circulated by the first pump to evaporate the refrigerant and cool the heat medium; A heat exchanger for cooling the air that cools the blown air by causing sensible heat exchange between the heat medium cooled by the evaporator and the blown air into the vehicle interior; A heat exchanger for air heating that heats the blown air by sensible heat exchange between the heat medium heated by the condenser and the blown air;
  • the temperature related to the temperature of the blown air whose temperature is adjusted by the heat medium air heat exchanger refers to the temperature itself of the blown air whose temperature is adjusted by the heat medium air heat exchanger or the heat medium air heat exchanger The temperature related to the surface temperature of the heat medium, the temperature related to the temperature of the heat medium flowing through the heat medium air heat exchanger, etc.
  • 1 is an overall configuration diagram of a vehicle thermal management system in a first embodiment. It is sectional drawing of the 1st switching valve in 1st Embodiment. It is sectional drawing of the 1st switching valve in 1st Embodiment. It is sectional drawing of the 2nd switching valve in 1st Embodiment. It is sectional drawing of the 2nd switching valve in 1st Embodiment. It is a typical perspective view of the cooler core in a 1st embodiment. It is a block diagram which shows the electric control part in the thermal management system for vehicles of 1st Embodiment. It is a flowchart which shows the control processing which the control apparatus in the thermal management system for vehicles of 1st Embodiment performs.
  • the inventor of the present application is examining a vehicular tone control device in which refrigerant is not released even in a light collision. That is, heat is exchanged between the refrigerant and cooling water of the refrigeration cycle in the evaporator and the condenser, and sensible heat is exchanged between the cooling water cooled in the evaporator and the blowing air into the passenger compartment in the air cooling heat exchanger. Cool down. Then, a vehicle air conditioner (hereinafter referred to as a study example) that heats the blown air by causing the cooling water heated by the condenser to exchange sensible heat with the blown air into the vehicle interior by the air heating heat exchanger. Has been.
  • a vehicle air conditioner hereinafter referred to as a study example
  • the surface temperature of the air cooling heat exchanger it is necessary to appropriately control the surface temperature of the air cooling heat exchanger. That is, when the surface temperature of the air cooling heat exchanger falls below the freezing point, the condensed water adhering to the surface of the air cooling heat exchanger freezes and frost formation occurs. As a result, the air passage of the air cooling heat exchanger is blocked, the amount of air blown into the passenger compartment is reduced, and the air conditioning performance is deteriorated. On the other hand, when the air cooling heat exchanger exceeds a predetermined temperature, the condensed water adhering to the surface of the air cooling heat exchanger evaporates and the humidity of the blown air rises. As a result, the window may become cloudy, and mold and fine particles dissolved in the condensed water may be mixed with the steam to generate odors, resulting in a decrease in passenger comfort.
  • the vehicle thermal management system 10 shown in FIG. 1 is used to adjust various devices and vehicle interiors provided in the vehicle to appropriate temperatures.
  • the thermal management system 10 is applied to a hybrid vehicle that obtains driving force for vehicle travel from an engine (internal combustion engine) and a travel electric motor.
  • the hybrid vehicle according to the present embodiment is configured as a plug-in hybrid vehicle that can charge power supplied from an external power source (commercial power source) when the vehicle is stopped to a battery (vehicle battery) mounted on the vehicle.
  • a battery vehicle battery
  • the battery for example, a lithium ion battery can be used.
  • the driving force output from the engine is used not only for driving the vehicle but also for operating the generator.
  • the electric power generated with the generator and the electric power supplied from the external power supply can be stored in the battery.
  • the electric power stored in the battery is supplied not only to the electric motor for traveling but also to various in-vehicle devices such as the electric components constituting the thermal management system 10.
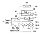
  • the thermal management system 10 includes a first pump 11, a second pump 12, a radiator 13, a cooling water cooler 14, a cooling water heater 15, a cooler core 16, a heater core 17, a first switching valve 18, and A second switching valve 19 is provided.
  • the first pump 11 and the second pump 12 are electric pumps that suck and discharge cooling water (heat medium).
  • the cooling water is a fluid as a heat medium.
  • a liquid containing at least ethylene glycol, dimethylpolysiloxane or nanofluid, or an antifreeze liquid is used as the cooling water.
  • the radiator 13, the cooling water cooler 14, the cooling water heater 15, the cooler core 16 and the heater core 17 are cooling water distribution devices (heat medium distribution devices) through which the cooling water flows.
  • the radiator 13 is a cooling water outside air heat exchanger (heat medium outside air heat exchanger) that performs heat exchange (sensible heat exchange) between cooling water and outside air (hereinafter referred to as outside air).
  • outside air cooling water outside air heat exchanger
  • heat exchange sensible heat exchange
  • the radiator 13 can exhibit a function as a radiator that radiates heat from the cooling water to the outside air and a function as a heat absorber that absorbs heat from the outside air to the cooling water.
  • the radiator 13 is a heat transfer device that has a flow path through which the cooling water flows and that transfers heat to and from the cooling water whose temperature has been adjusted by the cooling water cooler 14 or the cooling water heater 15.
  • the outdoor blower 20 is an electric blower (outside air blower) that blows outside air to the radiator 13.
  • the radiator 13 and the outdoor blower 20 are disposed in the foremost part of the vehicle. For this reason, the traveling wind can be applied to the radiator 13 when the vehicle is traveling.
  • the cooling water cooler 14 and the cooling water heater 15 are cooling water temperature adjusting heat exchangers (adjusting heat exchangers) that adjust the temperature of the cooling water by exchanging heat of the cooling water.
  • the cooling water cooler 14 is a cooling water cooling heat exchanger (heat medium cooling heat exchanger) that cools the cooling water.
  • the cooling water heater 15 is a cooling water heating heat exchanger (heat medium heating heat exchanger) for heating the cooling water.
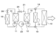
  • the cooling water cooler 14 is a low pressure side heat exchanger (heat medium heat sink) that absorbs heat from the cooling water to the low pressure side refrigerant by exchanging heat between the low pressure side refrigerant of the refrigeration cycle 21 and the cooling water.
  • the cooling water cooler 14 constitutes an evaporator of the refrigeration cycle 21.
  • the refrigeration cycle 21 is a vapor compression refrigerator that includes a compressor 22, a cooling water heater 15, a receiver 23, an expansion valve 24, and a cooling water cooler 14.
  • a chlorofluorocarbon refrigerant is used as the refrigerant, and a subcritical refrigeration cycle in which the high-pressure side refrigerant pressure does not exceed the critical pressure of the refrigerant is configured.
  • the compressor 22 is an electric compressor driven by electric power supplied from a battery, and sucks, compresses and discharges the refrigerant of the refrigeration cycle 21.
  • the cooling water heater 15 is a condenser that condenses (changes latent heat) the high pressure side refrigerant by exchanging heat between the high pressure side refrigerant discharged from the compressor 22 and the cooling water.
  • the receiver 23 is a gas-liquid separator that separates the gas-liquid two-phase refrigerant that has flowed out of the cooling water heater 15 into a gas-phase refrigerant and a liquid-phase refrigerant, and causes the separated liquid-phase refrigerant to flow out to the expansion valve 24 side. is there.
  • the expansion valve 24 is a decompression unit that decompresses and expands the liquid-phase refrigerant that has flowed out of the receiver 23.
  • the cooling water cooler 14 is an evaporator that evaporates (changes latent heat) the low-pressure refrigerant by exchanging heat between the low-pressure refrigerant decompressed and expanded by the expansion valve 24 and the cooling water.
  • the gas-phase refrigerant evaporated in the cooling water cooler 14 is sucked into the compressor 22 and compressed.
  • the cooling water In the radiator 13, the cooling water is cooled by outside air, whereas in the cooling water cooler 14, the cooling water is cooled by the low-pressure refrigerant of the refrigeration cycle 21. For this reason, the temperature of the cooling water cooled by the cooling water cooler 14 can be made lower than the temperature of the cooling water cooled by the radiator 13. Specifically, the radiator 13 cannot cool the cooling water to a temperature lower than the temperature of the outside air, whereas the cooling water cooler 14 can cool the cooling water to a temperature lower than the temperature of the outside air.
  • the cooler core 16 and the heater core 17 are heat medium air heat exchange that adjusts the temperature of the blown air by exchanging heat between the cooling water whose temperature is adjusted by the cooling water cooler 14 and the cooling water heater 15 and the blown air to the vehicle interior. It is a vessel.
  • the cooler core 16 is a heat exchanger for air cooling that cools the blown air into the vehicle interior by exchanging heat (sensible heat exchange) between the cooling water and the blown air into the vehicle interior.
  • the heater core 17 is an air heating heat exchanger that heats the air blown into the vehicle interior by exchanging heat (sensible heat exchange) between the air blown into the vehicle cabin and the cooling water.
  • the first pump 11 is disposed in the first pump flow path 31.
  • a cooling water cooler 14 is disposed on the discharge side of the first pump 11 in the first pump flow path 31.
  • the second pump 12 is disposed in the second pump flow path 32.
  • the cooling water heater 15 is disposed on the discharge side of the second pump 12 in the second pump flow path 32.
  • the radiator 13 is disposed in the radiator flow path 33.
  • the cooler core 16 is disposed in the cooler core flow path 36.
  • the heater core 17 is disposed in the heater core flow path 37.
  • the first pump flow path 31, the second pump flow path 32, and the radiator flow path 33 are connected to the first switching valve 18 and the second switching valve 19.
  • the first switching valve 18 and the second switching valve 19 are switching units that switch the flow of cooling water.
  • the first switching valve 18 has a first inlet 18a and a second inlet 18b as cooling water inlets, and a first outlet 18c as a cooling water outlet.
  • the second switching valve 19 has a first outlet 19a and a second outlet 19b as cooling water outlets, and a first inlet 19c as a cooling water inlet.
  • One end of the first pump flow path 31 is connected to the first inlet 18a of the first switching valve 18.
  • the cooling water outlet side of the cooling water cooler 14 is connected to the first inlet 18 a of the first switching valve 18.
  • One end of the second pump flow path 32 is connected to the second inlet 18b of the first switching valve 18.
  • the cooling water outlet side of the cooling water heater 15 is connected to the second inlet 18 b of the first switching valve 18.
  • radiator flow path 33 One end of the radiator flow path 33 is connected to the first outlet 18 c of the first switching valve 18.
  • the cooling water inlet side of the radiator 13 is connected to the first outlet 18 c of the first switching valve 18.
  • the other end of the first pump flow path 31 is connected to the first outlet 19a of the second switching valve 19.
  • the cooling water suction side of the first pump 11 is connected to the first outlet 19 a of the second switching valve 19.
  • the other end of the second pump flow path 32 is connected to the second outlet 19b of the second switching valve 19.
  • the cooling water suction side of the second pump 12 is connected to the second outlet 19 b of the second switching valve 19.
  • the other end of the radiator flow path 33 is connected to the first inlet 19c of the second switching valve 19.
  • the coolant outlet side of the radiator 13 is connected to the first inlet 19 c of the second switching valve 19.
  • the first switching valve 18 and the second switching valve 19 have a structure that can arbitrarily or selectively switch the communication state between each inlet and each outlet.
  • the first switching valve 18 has a state in which the coolant discharged from the first pump 11 flows in the radiator 13, a state in which the coolant discharged from the second pump 12 flows, The state in which the cooling water discharged from the pump 11 and the cooling water discharged from the second pump 12 do not flow is switched.
  • the second switching valve 19 includes a state in which the cooling water flows out to the first pump 11, a state in which the cooling water flows out to the second pump 12, and a state in which the cooling water flows to the first pump 11 and the second pump 12. Switch to a state that does not flow out.
  • the valve opening degree of the first switching valve 18 and the second switching valve 19 can be adjusted. Thereby, the flow volume of the cooling water which flows through the radiator 13 can be adjusted.
  • the first switching valve 18 and the second switching valve 19 mix the cooling water discharged from the first pump 11 and the cooling water discharged from the second pump 12 at an arbitrary flow rate ratio, and flow the mixture into the radiator 13. It is possible.
  • One end of the cooler core flow path 36 is connected to a portion of the first pump flow path 31 on the cooling water suction side of the first pump 11.
  • the other end of the cooler core channel 36 is connected to a portion of the first pump channel 31 on the coolant outlet side of the coolant cooler 14.
  • An on-off valve 38 is disposed in the cooler core flow path 36.
  • the on-off valve 38 is a channel opening / closing part that opens and closes the cooler core channel 36.
  • One end of the heater core flow path 37 is connected to a portion of the second pump flow path 32 on the cooling water suction side of the second pump 12.
  • the other end of the cooler core channel 36 is connected to a portion of the second pump channel 32 on the coolant outlet side of the coolant heater 15.
  • the cooler core 16 and the heater core 17 are accommodated in a case 51 of the indoor air conditioning unit 50 of the vehicle air conditioner.
  • the case 51 forms an air passage for blown air to be blown into the vehicle interior, and is formed of a resin (for example, polypropylene) having a certain degree of elasticity and excellent in strength.
  • An inside / outside air switching box 52 is arranged on the most upstream side of the air flow in the case 51.
  • the inside / outside air switching box 52 is an inside / outside air introduction section that switches between and introduces inside air (vehicle compartment air) and outside air (vehicle compartment outside air).
  • the inside / outside air switching box 52 is formed with an inside air inlet 52a for introducing inside air into the case 51 and an outside air inlet 52b for introducing outside air.
  • An inside / outside air switching door 53 is arranged inside the inside / outside air switching box 52.
  • the inside / outside air switching door 53 is an air volume ratio changing unit that changes the air volume ratio between the air volume of the inside air introduced into the case 51 and the air volume of the outside air. Specifically, the inside / outside air switching door 53 continuously adjusts the opening areas of the inside air suction port 52a and the outside air suction port 52b to change the air volume ratio between the inside air volume and the outside air volume.
  • the inside / outside air switching door 53 is driven by an electric actuator (not shown).
  • An indoor blower 54 (blower) is disposed on the downstream side of the air flow in the inside / outside air switching box 52.
  • the indoor blower 54 is a blower that blows air (inside air and outside air) sucked through the inside / outside air switching box 52 toward the vehicle interior.
  • the indoor blower 54 is an electric blower that drives a centrifugal multiblade fan (sirocco fan) with an electric motor.
  • the cooler core 16 and the heater core 17 are disposed on the downstream side of the air flow of the indoor blower 54.
  • a heater core bypass passage 51a is formed at the downstream side of the air flow of the cooler core 16.
  • the heater core bypass passage 51 a is an air passage through which air that has passed through the cooler core 16 flows without passing through the heater core 17.
  • An air mix door 55 is arranged between the cooler core 16 and the heater core 17 in the case 51.
  • the air mix door 55 is an air volume ratio adjusting unit that continuously changes the air volume ratio between the air flowing into the heater core 17 and the air flowing into the heater core bypass passage 51a.
  • the air mix door 55 is a rotatable plate-like door, a slidable door, or the like, and is driven by an electric actuator (not shown).
  • the air mix door 55 is a temperature adjusting unit that adjusts the temperature of the blown air blown into the vehicle interior.
  • the blower outlet 51b which blows off blowing air to the vehicle interior which is air-conditioning object space is arrange
  • a defroster outlet, a face outlet, and a foot outlet are provided as the outlet 51b.
  • the defroster outlet blows air conditioned air toward the inner surface of the front window glass of the vehicle.
  • the face air outlet blows conditioned air toward the upper body of the passenger.
  • the air outlet blows air-conditioned air toward the passenger's feet.
  • An air outlet mode door (not shown) is disposed on the air flow upstream side of the air outlet 51b.
  • a blower outlet mode door is a blower outlet mode switching part which switches blower outlet mode.
  • the air outlet mode door is driven by an electric actuator (not shown).
  • the outlet mode switched by the outlet mode door for example, there are a face mode, a bi-level mode, a foot mode, and a foot defroster mode.
  • the face mode is a blowout mode in which the face blowout is fully opened and air is blown out from the face blowout toward the upper body of the passenger in the passenger compartment.
  • the bi-level mode is an air outlet mode in which both the face air outlet and the foot air outlet are opened and air is blown toward the upper body and the feet of the passengers in the passenger compartment.
  • the foot mode is a blowout mode in which the foot blowout opening is fully opened and the defroster blowout opening is opened by a small opening so that air is mainly blown out from the foot blowout opening.
  • the foot defroster mode is an air outlet mode in which the foot air outlet and the defroster air outlet are opened to the same extent and air is blown out from both the foot air outlet and the defroster air outlet.
  • the first switching valve 18 and the second switching valve 19 have the same basic structure, except that the cooling water inlet and the fluid outlet are opposite to each other.
  • the first switching valve 18 has a main body 181 in which a first inlet 18a, a second inlet 18b, and a first outlet 18c are formed.
  • a communication channel 181a that connects the first inlet 18a, the second inlet 18b, and the first outlet 18c is formed in the main body 181.
  • a door-type valve body 182 for switching the communication state between the first inlet 18a and the second inlet 18b and the first outlet 18c is disposed.
  • the flow rate of the cooling water flowing from the first inlet 18a to the first outlet 18c can be adjusted by adjusting the opening of the first outlet 18c with the valve body 182 closed on the second inlet 18b side.
  • the flow rate of the cooling water flowing from the second inlet 18b to the first outlet 18c can be adjusted by adjusting the opening of the valve body 182 with the first inlet 18a closed.
  • the second switching valve 19 has a main body 191 in which a first outlet 19a, a second outlet 19b, and a first inlet 19c are formed.
  • a communication channel 191a that connects the first outlet 19a, the second outlet 19b, and the first inlet 19c is formed in the main body 191.
  • a door-type valve body 192 for switching the communication state between the first outlet 19a and the second outlet 19b and the first inlet 19c is disposed.
  • the flow rate of the cooling water flowing from the first inlet 19c to the first outlet 19a can be adjusted by adjusting the opening on the first inlet 19c side with the valve body 192 closed on the second outlet 19b side.
  • the flow rate of the cooling water flowing from the first inlet 19c to the second outlet 19b can be adjusted by adjusting the opening on the first inlet 19c side with the valve body 192 closed on the first outlet 19a side.
  • valve body 182 of the first switching valve 18 and the valve body 192 of the second switching valve 19 are independently rotationally driven by separate electric motors.
  • the valve body 182 of the first switching valve 18 and the valve body 192 of the second switching valve 19 may be rotationally driven in conjunction with a common electric motor.
  • the cooler core 16 includes a first heat exchange core part 161a, a second heat exchange core part 162a, a first upper tank part 161b, a first lower tank part 161c, a second upper tank part 162b, and a second lower tank part 162c. I have.
  • the first heat exchange core part 161a, the first upper tank part 161b, and the first lower tank part 161c constitute an upstream region of the air flow F1 in the cooler core 16, and the second heat exchange core part 162a and the second upper tank The portion 162b and the second lower tank portion 162c constitute a downstream region of the air flow F1 in the cooler core 16.
  • the first upper tank portion 161b is located above the first heat exchange core portion 161a.
  • the first lower tank portion 161c is positioned below the first heat exchange core portion 161a.
  • the second upper tank portion 162b is located above the second heat exchange core portion 162a.
  • the second lower tank portion 162c is located below the second heat exchange core portion 162a.
  • the first heat exchange core part 161a and the second heat exchange core part 162a each include a plurality of tubes 163 extending in the vertical direction.
  • a cooling water passage through which cooling water flows is formed inside the tube 163.
  • a space formed between the plurality of tubes 163 constitutes an air passage through which air flows.
  • Fins 164 are disposed between the plurality of tubes 163. The fins 164 are joined to the tubes 163.
  • the heat exchange core portions 161a and 162a have a laminated structure of tubes 163 and fins 164.
  • the tubes 163 and the fins 164 are alternately stacked in the left-right direction of the heat exchange core parts 161a and 162a.
  • a configuration in which the fins 164 are eliminated may be employed.
  • FIG. 6 for the sake of illustration, only a part of the laminated structure of the tube 163 and the fin 164 is illustrated, but the tube 163 and the fin 164 are disposed in the entire area of the first heat exchange core portion 161a and the second heat exchange core portion 162a. Is formed.
  • the air blown from the indoor blower 54 passes through the gap portion of the laminated structure.
  • the tube 163 is a flat tube whose cross-sectional shape is flat along the air flow direction.
  • the fin 164 is a corrugated fin obtained by bending a thin plate material into a wave shape, and is joined to the flat outer surface side of the tube 163 to expand the air-side heat transfer area.
  • the tube 163 of the first heat exchange core part 161a and the tube 163 of the second heat exchange core part 162a constitute an independent coolant passage.
  • the first upper tank portion 161b and the second upper tank portion 162b constitute a cooling water passage space that is independent of each other.
  • the first lower tank portion 161c and the second lower tank portion 162 constitute a cooling water passage space communicating with each other.
  • a cooling water outlet 165 is formed in the first upper tank portion 161b.
  • a cooling water inlet 166 is formed in the second upper tank portion 162b.
  • the second upper tank portion 162b plays a role of distributing the refrigerant flow to the plurality of tubes 163 of the second heat exchange core portion 162a
  • the second lower tank portion 162 is configured to be the second heat exchange core portion 162a. It plays a role of collecting refrigerant flows from the plurality of tubes 163.
  • the first lower tank portion 161c serves to distribute the refrigerant flow to the plurality of tubes 163 of the first heat exchange core portion 161a
  • the first upper tank portion 161b is a plurality of tubes of the first heat exchange core portion 161a. It serves to collect the refrigerant flow from 163.
  • the cooler core components such as the tube 163, the fins 164, the first upper tank portion 161b, the first lower tank portion 161c, the second upper tank portion 162b, and the second lower tank portion 162c include thermal conductivity.
  • Aluminum which is a metal excellent in brazing property is preferable. By molding each part with this aluminum material, the entire configuration of the cooler core 16 can be assembled by integral brazing.
  • the cooling water flow path of the entire cooler core 16 will be described.
  • the cooling water flowing into the second upper tank portion 162b from the cooling water inlet 166 as indicated by an arrow W1 in FIG. 6 is subjected to the second heat exchange as indicated by an arrow W2.
  • the plurality of tubes 163 of the core portion 162 a are lowered and flow into the second lower tank portion 162.
  • the cooling water in the second lower tank portion 162 moves to the first lower tank portion 161c as indicated by an arrow W3.
  • the cooling water in the first lower tank portion 161c ascends the plurality of tubes 163 of the first heat exchange core portion 161a as shown by an arrow W4, flows into the first upper tank portion 161b, and flows out from the cooling water outlet 165.
  • the control device 60 is composed of a well-known microcomputer including a CPU, ROM, RAM, etc. and its peripheral circuits, and performs various calculations and processing based on an air conditioning control program stored in the ROM, and is connected to the output side. It is a control part which controls operation of various control object equipment.
  • Control target devices controlled by the control device 60 include the first pump 11, the second pump 12, the first switching valve 18, the second switching valve 19, the outdoor blower 20, the compressor 22, the indoor blower 54, and the inside of the case 51.
  • the electric actuator etc. which drive the various doors (inside / outside air switching door 53, air mix door 55, air outlet mode door, etc.) arranged in the.
  • the control device 60 is configured such that a control unit for controlling various devices to be controlled connected to the output side thereof is integrally configured. However, the configuration (hardware and software) for controlling the operation of each device to be controlled is provided. The control part which controls the action
  • the configuration (hardware and software) for controlling the operation of the first pump 11 and the second pump 12 is the pump control unit 60a.
  • the pump control unit 60a is a flow rate control unit (heat medium flow rate adjustment unit) that controls the flow rate of the cooling water.
  • the pump control unit 60a may be configured separately from the control device 60.
  • the pump control unit 60 a is a radiator adjustment unit (a heat exchanger adjustment unit) that adjusts the flow rate of the cooling water flowing through the radiator 13.
  • the configuration (hardware and software) for controlling the operation of the first switching valve 18 and the second switching valve 19 is the switching valve control unit 60b.
  • the switching valve control unit 60b may be configured separately from the control device 60.
  • the switching valve control unit 60 b is a radiator adjustment unit (heat exchanger adjustment unit) that adjusts the flow rate of the cooling water flowing through the radiator 13.
  • the switching valve control unit 60b is a flow rate adjusting unit (heat medium flow rate adjusting unit) that adjusts the flow rate of the cooling water flowing through each cooling water circulation device.
  • the configuration (hardware and software) for controlling the operation of the outdoor blower 20 is the outdoor blower control unit 60c (outside air blower control unit). You may comprise the outdoor air blower control part 60c with respect to the control apparatus 60 separately.
  • the outdoor blower control unit 60c is a radiator adjustment unit (a heat exchanger adjustment unit, a heat medium outside air adjustment unit) that controls the flow rate of the blown air flowing through the radiator 13.
  • the configuration (hardware and software) for controlling the operation of the compressor 22 is the compressor control unit 60d.
  • the compressor control unit 60d may be configured separately from the control device 60.
  • the compressor control unit 60 d is a refrigerant flow rate adjusting unit that controls the flow rate of the refrigerant discharged from the compressor 22.
  • the configuration (hardware and software) for controlling the operation of the on-off valve 38 is the on-off valve control unit 60e.
  • the on-off valve control unit 60e may be configured separately from the control device 60.
  • the on-off valve 38 and the on-off valve control unit 60 e are cooler core adjusting units (heat exchanger adjusting unit, air cooling adjusting unit) that adjust the flow rate of the cooling water flowing through the cooler core 16.
  • the configuration (hardware and software) for controlling the operation of the indoor fan 54 is the indoor fan controller 60f.
  • the indoor fan control unit 60f may be configured separately from the control device 60.
  • the indoor blower control unit 60 f is a cooler core adjustment unit (heat exchanger adjustment unit) that controls the flow rate of the blown air flowing through the cooler core 16.
  • the indoor blower 54 and the indoor blower control unit 60f are air volume control units that control the volume of blown air blown into the vehicle interior.
  • the configuration (hardware and software) for controlling the operation of various doors (inside / outside air switching door 53, air mix door 55, air outlet mode door, etc.) arranged inside case 51 is an air conditioning switching control unit. 60 g.
  • the air conditioning switching control unit 60g may be configured separately from the control device 60.
  • the air mix door 55 and the air conditioning switching control unit 60g are an air volume ratio adjusting unit that adjusts the air volume ratio between the blown air cooled by the cooler core 16 and the blown air flowing through the heater core 17 and the blown air flowing around the heater core 17. is there.
  • the inside / outside air switching door 53 and the air conditioning switching control unit 60g are an inside / outside air ratio adjusting unit that adjusts the ratio between the inside air and the outside air in the blown air blown into the vehicle interior.
  • detection signals of sensor groups such as an inside air sensor 61, an outside air sensor 62, a solar radiation sensor 63, a first water temperature sensor 64, a second water temperature sensor 65, a cooler core temperature sensor 66, a refrigerant temperature sensor 67, and the like. Entered.
  • the inside air sensor 61 is a detection unit (inside air temperature detection unit) that detects the temperature of the inside air (vehicle compartment temperature).
  • the outside air sensor 62 is a detector (outside air temperature detector) that detects the temperature of the outside air (the temperature outside the passenger compartment).
  • the solar radiation sensor 63 is a detection part (a solar radiation amount detection part) which detects the solar radiation amount in a vehicle interior.
  • the first water temperature sensor 64 is a detection unit (first heat medium temperature detection unit) that detects the temperature of the cooling water flowing through the first pump flow path 31 (for example, the temperature of the cooling water sucked into the first pump 11). is there.
  • the second water temperature sensor 65 is a detection unit (second heat medium temperature detection unit) that detects the temperature of the cooling water flowing through the second pump flow path 32 (for example, the temperature of the cooling water sucked into the second pump 12). is there.
  • the cooler core temperature sensor 66 is a detection unit (cooler core temperature detection unit) that detects the surface temperature of the cooler core 16.
  • the cooler core temperature sensor 66 is, for example, a fin thermistor 66a (FIG. 1) that detects the temperature of the heat exchange fins of the cooler core 16, a water temperature sensor 66b (FIG. 1) that detects the temperature of the cooling water flowing through the cooler core 16, and the like.
  • the refrigerant temperature sensor 67 is a detection unit (refrigerant temperature detection unit) that detects the refrigerant temperature of the refrigeration cycle 21 (for example, the temperature of the refrigerant discharged from the compressor 22).
  • Operation signals from various air conditioning operation switches provided on the operation panel 69 disposed near the instrument panel in the front of the vehicle interior are input to the input side of the control device 60.
  • various air conditioning operation switches provided on the operation panel 69 an air conditioner switch, an auto switch, an air volume setting switch of the indoor blower 52, a vehicle interior temperature setting switch, and the like are provided.
  • the air conditioner switch is a switch for switching on / off (on / off) of air conditioning (cooling or heating).
  • the auto switch is a switch for setting or canceling automatic control of air conditioning.
  • the vehicle interior temperature setting switch is a target temperature setting unit that sets the vehicle interior target temperature by the operation of the passenger.
  • the control device 60 controls the operations of the first pump 11, the second pump 12, the first switching valve 18, the second switching valve 19, the compressor 22, the inside / outside air switching door 53, the air mix door 55, the outlet mode door, and the like. By doing so, it is possible to switch to various operation modes.
  • the control device 60 executes the control process shown in the flowchart of FIG. In step S100, it is determined whether or not the target blown air temperature TAO is lower than the cooler core inflow air temperature TI.
  • TAO Kset ⁇ Tset ⁇ Kr ⁇ Tr ⁇ Kam ⁇ Tam ⁇ Ks ⁇ Ts + C F1
  • Tset is the vehicle interior temperature set by the vehicle interior temperature setting switch
  • Tr is the vehicle interior temperature (internal air temperature) detected by the internal air sensor 61.
  • Tam is the outside air temperature detected by the outside air sensor 62.
  • Ts is the amount of solar radiation detected by the solar radiation sensor 63.
  • Kset, Kr, Kam, and Ks are control gains.
  • C is a constant for correction.
  • the target blown air temperature TAO corresponds to the amount of heat that the vehicle air conditioner needs to generate in order to keep the interior of the vehicle interior at a desired temperature, and the air conditioning heat load (cooling load and heating) required for the vehicle air conditioner. Load). That is, when the cooling load required for the vehicle air conditioner is high, the target blown air temperature TAO is in a low temperature range, and when the heating load required for the vehicle air conditioner is high, the target blown air temperature TAO is set in a high temperature range. Become.
  • the cooler core inflow air temperature TI is the temperature of the blown air flowing into the cooler core 16 and is calculated by the following formula F2.
  • TI Tr ⁇ 0.01A + Tam ⁇ 0.01 (1-0.01A) ...
  • F2 A represents the air volume ratio (inside air rate) of the inside air and the outside air introduced into the case 51 through the inside / outside air switching box 52 as a percentage.
  • the cooler core inflow air temperature TI may be directly detected by a dedicated temperature sensor.
  • step S100 When it is determined in step S100 that the target blown air temperature TAO is lower than the cooler core inflow air temperature TI, the process proceeds to step S110, and the cooling mode is entered.
  • FIG. 9 shows control processing in the cooling mode.
  • step S111 the first switching valve 18 and the second switching valve 19 are operated to switch the cooling water flow to the cooling mode flow shown in FIG. Specifically, the cooling water sucked and discharged by the second pump 12 is switched to a state in which it circulates through the radiator 13.
  • step S111 the on-off valve 38 is opened, and the cooling water sucked and discharged by the first pump 11 is switched to the state of circulating through the cooler core 16.
  • the cooling water cooled by the cooling water cooler 14 flows through the cooler core 16, so that the air blown into the vehicle interior is cooled by the cooler core 16, and the cooling water heated by the cooling water heater 15 becomes the heater core 17 and the radiator. 13, the air blown into the passenger compartment is heated by the heater core 17 and radiated from the cooling water to the outside air by the radiator 13.
  • step S112 the refrigerant discharge capacity of the compressor 22 (specifically, the rotational speed of the compressor 22) is controlled so that the surface temperature TC of the cooler core 16 approaches the target surface temperature TCO (first target temperature). Specifically, when the surface temperature TC of the cooler core 16 exceeds the target surface temperature TCO, the surface temperature TC of the cooler core 16 is decreased by increasing the rotation speed of the compressor 22. On the other hand, when the surface temperature TC of the cooler core 16 is lower than the target surface temperature TCO, the surface temperature TC of the cooler core 16 is increased by decreasing the rotational speed of the compressor 22.
  • TCO first target temperature
  • step S112 instead of the surface temperature TC of the cooler core 16, various temperatures related to the surface temperature TC of the cooler core 16 (for example, the temperature of the blown air flowing out from the cooler core 16, the temperature of the cooling water flowing through the cooler core 16, etc.) May be used.
  • step S113 it is determined whether or not the blown air temperature TAV is higher than the target blown air temperature TAO (second target temperature).
  • the blown air temperature TAV is the temperature of air blown from the indoor air conditioning unit 50 into the vehicle interior, and is calculated by the following formula F3.
  • TAV TC ⁇ 0.01 (1-SW) + TH ⁇ 0.01SW ...
  • F3 In Formula F3, TC is the surface temperature of the cooler core 16, TH is the surface temperature of the heater core 17, and SW is the air volume ratio of the air flowing into the heater core 17 out of the blown air flowing out of the cooler core 16 (air mix door opening Degree) as a percentage.
  • the blown air temperature TAV may be directly detected by a dedicated temperature sensor.
  • various temperatures related to the blown air temperature TAV for example, the temperature of the cooling water flowing into the heater core 17 may be used instead of the blown air temperature TAV.
  • step S113 If it is determined in step S113 that the blown air temperature TAV is higher than the target blown air temperature TAO, the process proceeds to step S114, and the operation of the air mix door 55 is controlled so that the air mix door opening is decreased.
  • step S113 When it is determined in step S113 that the blown air temperature TAV does not exceed the target blown air temperature TAO, the process proceeds to step S115, and the operation of the air mix door 55 is controlled so that the air mix door opening increases.
  • the blown air temperature TAV is controlled to approach the target blown air temperature TAO, and the vehicle interior is cooled.
  • the frost limit temperature TCF is a limit temperature (for example, 0 ° C.) at which frost (frost formation) occurs in the cooler core 16.
  • the temperature of the blown air that has flowed out of the cooler core 16 may be used.
  • step S130 When it is determined that the surface temperature TC of the cooler core 16 is lower than the frost limit temperature TCF, the process proceeds to step S130 and shifts to the frost suppression mode.
  • the control process in the frost suppression mode is shown in FIG.
  • step S131 the first switching valve 18 and the second switching valve 19 are operated to switch the flow of the cooling water to the flow of the frost suppression mode shown in FIG.
  • the radiator 13 is connected to the cooling water cooler 14 side.
  • the cooling water sucked and discharged by the first pump 11 is switched to a state in which it circulates through the radiator 13.
  • the first switching valve 18 and the second switching valve 19 fully open the radiator flow path 33 (maximum opening), and set the flow rate of the cooling water circulating through the radiator 13 to the maximum flow rate.
  • the refrigerant in the refrigeration cycle 21 absorbs heat from the outside air by the radiator 13 and dissipates heat to the cooling water by the cooling water heater 15. Therefore, it is possible to realize a heat pump operation that pumps up the heat of the outside air.
  • step S132 the air mix door 55 is operated to the maximum heating state (MAX HOT).
  • the position of the air mix door 55 in the maximum heating state is a position where the heater core bypass passage 51a is fully closed.
  • the air mix door 55 is operated to the maximum heating state, the entire amount of the blown air that has flowed out of the cooler core 16 flows through the heater core 17 and is heated.
  • Refrigeration cycle fluctuations due to environmental fluctuations during use of the vehicle (abrupt fluctuations in the outside air temperature, fluctuations in the amount of air flowing through the radiator 13 mainly due to fluctuations in the vehicle speed) It may not be possible to control with refrigerant flow control.
  • the blown air temperature may be temporarily controlled by controlling the opening degree of the air mix door 55. This is because the opening degree control of the air mix door 55 is more responsive than the refrigerant flow rate control of the compressor 22.
  • step S133 the refrigerant discharge capacity of the compressor 22 (specifically, the rotational speed of the compressor 22) is controlled so that the blown air temperature TAV approaches the target blown air temperature TAO (second target temperature). Specifically, when the blown air temperature TAV is higher than the target blown air temperature TAO, the blown air temperature TAV is lowered by reducing the rotation speed of the compressor 22. On the other hand, when the blown air temperature TAV is lower than the target blown air temperature TAO, the blown air temperature TAV is increased by increasing the rotation speed of the compressor 22.
  • step S133 various temperatures related to the blown air temperature TAV (for example, the temperature of the cooling water flowing into the heater core 17) may be used instead of the blown air temperature TAV.
  • step S134 the flow rate of cooling water (cooler core flow rate) flowing through the cooler core 16 by intermittently opening and closing the on-off valve 38 so that the surface temperature TC of the cooler core 16 approaches the target surface temperature TCO (first target temperature).
  • the target surface temperature TCO of the cooler core 16 is set in the range of 0 to 10 ° C.
  • the cooling water cooled by the cooling water cooler 14 is caused to flow to the cooler core 16 by opening the on-off valve 38 and the cooler core 16. Reduce the surface temperature TC.
  • the flow of the cooling water to the cooler core 16 is shut off by closing the on-off valve 38 to increase the surface temperature TC of the cooler core 16.
  • the time average flow rate of the cooling water flowing through the cooler core 16 is adjusted so that the surface temperature TC of the cooler core 16 approaches the target surface temperature TCO.
  • TCO target surface temperature
  • step S134 instead of the surface temperature TC of the cooler core 16, various temperatures related to the surface temperature TC of the cooler core 16 (for example, the temperature of the blown air flowing out of the cooler core 16) may be used.
  • step S134 instead of opening and closing the on-off valve 38 intermittently, the flow rate of the cooling water flowing through the cooler core 16 may be adjusted by controlling the opening of the on-off valve 38 to an intermediate opening.
  • the flow rate of the cooling water flowing through the cooler core 16 may be adjusted by controlling the cooling water discharge capacity of the first pump 11 (specifically, the rotational speed of the first pump 11).
  • the blown air cooled and dehumidified by the cooler core 16 is heated by the heater core 17 and blown into the vehicle interior, so that the vehicle interior can be dehumidified and heated.
  • step S140 shown in FIG. 8 the first switching valve 18 and the second switching valve 19 are operated to shut off the flow of the cooling water to the radiator 13 (water flow OFF), and the on-off valve 38 is opened.
  • the cooling water sucked and discharged by one pump 11 is switched to a state where the cooling water circulates through the cooler core 16 (water flow ON).
  • the cooling water cooled by the cooling water cooler 14 flows through the cooler core 16, the cooling water absorbed by the cooling water from the air blown into the vehicle interior by the cooler core 16 and heated by the cooling water heater 15 becomes the heater core. 17, the air blown into the passenger compartment is heated by the heater core 17.
  • the refrigerant of the refrigeration cycle 21 absorbs heat from the air blown into the passenger compartment by the cooler core 16 and dissipates heat to the cooling water by the cooling water heater 15. Therefore, it is possible to realize a heat pump operation that pumps up the heat of the blown air into the vehicle interior.
  • step S140 the first switching valve 18 and the second switching valve 19 may be operated so that the flow rate of the cooling water flowing through the radiator 13 is less than a predetermined amount.
  • step S150 the air mix door 55 is operated to the position of the maximum heating state (MAX HOT).
  • step S160 the refrigerant discharge capacity of the compressor 22 (specifically, the rotational speed of the compressor 22) is controlled so that the surface temperature TC of the cooler core 16 approaches the target surface temperature TCO. Specifically, when the surface temperature TC of the cooler core 16 exceeds the target surface temperature TCO, the surface temperature TC of the cooler core 16 is decreased by increasing the rotation speed of the compressor 22. On the other hand, when the surface temperature TC of the cooler core 16 is lower than the target surface temperature TCO, the surface temperature TC of the cooler core 16 is increased by decreasing the rotational speed of the compressor 22.
  • step S160 instead of the surface temperature TC of the cooler core 16, various temperatures related to the surface temperature TC of the cooler core 16 (for example, the temperature of the blown air flowing out of the cooler core 16) may be used.
  • step S170 it is determined whether or not the blown air temperature TAV is higher than the target blown air temperature TAO.
  • various temperatures related to the blown air temperature TAV for example, the temperature of the cooling water flowing into the heater core 17 may be used instead of the blown air temperature TAV.
  • step S180 When it is determined that the blown air temperature TAV is higher than the target blown air temperature TAO, the process proceeds to step S180, and the heat dissipation mode is entered.
  • FIG. 13 shows the control process in the heat dissipation mode.
  • step S181 the first switching valve 18 and the second switching valve 19 are operated so that the flow of the cooling water is switched to the flow of the heat radiation mode shown in FIG. Specifically, the radiator 13 is connected to the cooling water heater 15 side. In other words, the cooling water sucked and discharged by the second pump 12 is switched to a state where it circulates through the radiator 13. At this time, the first switching valve 18 and the second switching valve 19 reduce the flow rate of the cooling water circulating through the radiator 13 to the minimum flow rate by restricting the radiator flow path 33 to the minimum opening.
  • step S181 the on-off valve 38 is opened to switch to a state where the cooling water sucked and discharged by the first pump 11 circulates through the cooler core 16 (cooler core water flow ON).
  • the cooling water cooled by the cooling water cooler 14 flows through the cooler core 16, the cooling water absorbed by the cooling water from the air blown into the vehicle interior by the cooler core 16 and heated by the cooling water heater 15 becomes the heater core. 17, the air blown into the passenger compartment is heated by the heater core 17. Furthermore, since the cooling water heated by the cooling water heater 15 flows through the radiator 13 at a minimum flow rate, the radiator 13 radiates heat from the cooling water to the outside air with a minimum amount of heat.
  • the refrigerant of the refrigeration cycle 21 absorbs heat from the air blown into the passenger compartment by the cooler core 16 and dissipates heat to the cooling water by the cooling water heater 15. Therefore, it is possible to realize a heat pump operation that pumps up the heat of the blown air into the vehicle interior.
  • step S182 the air mix door 55 is operated to the maximum heating state (MAX HOT).
  • the position of the air mix door 55 in the maximum heating state is a position where the heater core bypass passage 51a is fully closed.
  • the air mix door 55 is operated to the maximum heating state, the entire amount of the blown air that has flowed out of the cooler core 16 flows through the heater core 17 and is heated.
  • Refrigeration cycle fluctuations due to environmental fluctuations during use of the vehicle (abrupt fluctuations in the outside air temperature, fluctuations in the amount of air flowing through the radiator 13 mainly due to fluctuations in the vehicle speed) It may not be possible to control with refrigerant flow control.
  • the blown air temperature may be temporarily controlled by controlling the opening degree of the air mix door 55. This is because the opening degree control of the air mix door 55 is more responsive than the refrigerant flow rate control of the compressor 22.
  • step S183 the refrigerant discharge capacity of the compressor 22 (specifically, the rotational speed of the compressor 22) is controlled so that the surface temperature TC of the cooler core 16 approaches the target surface temperature TCO. Specifically, when the surface temperature TC of the cooler core 16 exceeds the target surface temperature TCO, the surface temperature TC of the cooler core 16 is decreased by increasing the rotation speed of the compressor 22. On the other hand, when the surface temperature TC of the cooler core 16 is lower than the target surface temperature TCO, the surface temperature TC of the cooler core 16 is increased by decreasing the rotational speed of the compressor 22.
  • step S183 instead of the surface temperature TC of the cooler core 16, various temperatures related to the surface temperature TC of the cooler core 16 (for example, the temperature of the blown air flowing out of the cooler core 16) may be used.
  • step S184 the flow rate of the cooling water circulating through the radiator 13 (radiator flow rate) is controlled so that the blown air temperature TAV approaches the target blown air temperature TAO.
  • the first switching valve 18 and the second switching valve 19 are operated so that the opening degree of the radiator flow path 33 is increased by a predetermined amount. As a result, the flow rate of the cooling water circulating through the radiator 13 is increased to lower the blown air temperature TAV.
  • the blown air temperature TAV is lower than the target blown air temperature TAO, by operating the first switching valve 18 and the second switching valve 19 so that the opening degree of the radiator flow path 33 is decreased by a predetermined amount, The flow rate of the cooling water circulating through the radiator 13 is decreased to increase the blown air temperature TAV.
  • the flow rate of the cooling water circulating through the radiator 13 is adjusted so that the blown air temperature TAV approaches the target blown air temperature TAO, and the vehicle interior is heated.
  • step S184 various temperatures related to the blown air temperature TAV (for example, the temperature of the cooling water flowing into the heater core 17) may be used instead of the blown air temperature TAV.
  • step S184 instead of the first switching valve 18 and the second switching valve 19 increasing or decreasing the opening degree of the radiator flow path 33 by a predetermined amount, the first switching valve 18 and the second switching valve 19 are moved to the radiator flow path 33.
  • the time average flow rate of the cooling water circulating through the radiator 13 may be adjusted by intermittently opening and closing.
  • the flow rate of the cooling water circulating through the radiator 13 may be adjusted by controlling the cooling water discharge capacity of the first pump 12 (specifically, the rotational speed of the second pump 12).
  • step S184 instead of adjusting the flow rate of the cooling water circulating through the radiator 13, the flow rate of the outside air flowing through the radiator 13 may be adjusted. Specifically, the flow rate of the outside air flowing through the radiator 13 may be adjusted by controlling the operation of the outdoor blower 20.
  • the blown air cooled and dehumidified by the cooler core 16 is heated by the heater core 17 and blown into the vehicle interior, so that the vehicle interior can be dehumidified and heated.
  • the heat that is absorbed in the cooling water from the air blown into the passenger compartment by the cooler core 16 is radiated to the outside air by the radiator 13, so that the passenger compartment is heated excessively. Can be suppressed.
  • step S170 When it is determined in step S170 that the blown air temperature TAV is not higher than the target blown air temperature TAO, the process proceeds to step S190, and the heat absorption mode is entered.
  • FIG. 15 shows the control process in the endothermic mode.
  • step S191 the first switching valve 18 and the second switching valve 19 are operated to switch the cooling water flow to the endothermic mode flow shown in FIG. Specifically, the radiator 13 is connected to the cooling water cooler 14 side. In other words, the cooling water sucked and discharged by the first pump 11 is switched to a state in which it circulates through the radiator 13. At this time, the first switching valve 18 and the second switching valve 19 reduce the flow rate of the cooling water circulating through the radiator 13 to the minimum flow rate by restricting the radiator flow path 33 to the minimum opening.
  • step S191 the on-off valve 38 is opened to switch to a state in which the cooling water sucked and discharged by the first pump 11 circulates through the cooler core 16 (cooler core water flow ON).
  • the cooling water cooled by the cooling water cooler 14 flows through the cooler core 16, the cooling water absorbed by the cooling water from the air blown into the vehicle interior by the cooler core 16 and cooled by the cooling water cooler 14 becomes the radiator. 13 flows at the minimum flow rate, and the radiator 13 absorbs heat from the outside air to the cooling water with the minimum amount of heat, and the cooling water heated by the cooling water heater 15 flows through the heater core 17. Heated.
  • the refrigerant of the refrigeration cycle 21 absorbs heat from the air blown into the vehicle interior by the cooler core 16, absorbs heat from the outside air by the radiator 13, and dissipates heat to the cooling water by the cooling water heater 15. Therefore, it is possible to realize a heat pump operation that pumps up the heat of the blown air and outside air into the vehicle interior.
  • step S192 the air mix door 55 is operated to the maximum heating state (MAX HOT).
  • the position of the air mix door 55 in the maximum heating state is a position where the heater core bypass passage 51a is fully closed.
  • the air mix door 55 is operated to the maximum heating state, the entire amount of the blown air that has flowed out of the cooler core 16 flows through the heater core 17 and is heated.
  • Refrigeration cycle fluctuations due to environmental fluctuations during use of the vehicle (abrupt fluctuations in the outside air temperature, fluctuations in the amount of air flowing through the radiator 13 mainly due to fluctuations in the vehicle speed) It may not be possible to control with refrigerant flow control.
  • the blown air temperature may be temporarily controlled by controlling the opening degree of the air mix door 55. This is because the opening degree control of the air mix door 55 is more responsive than the refrigerant flow rate control of the compressor 22.
  • step S193 the refrigerant discharge capacity of the compressor 22 (specifically, the rotational speed of the compressor 22) is controlled so that the blown air temperature TAV approaches the target blown air temperature TAO. Specifically, when the blown air temperature TAV is higher than the target blown air temperature TAO, the blown air temperature TAV is lowered by reducing the rotation speed of the compressor 22. On the other hand, when the blown air temperature TAV is lower than the target blown air temperature TAO, the blown air temperature TAV is increased by increasing the rotation speed of the compressor 22.
  • step S193 various temperatures related to the blown air temperature TAV (for example, the temperature of the cooling water flowing into the heater core 17) may be used instead of the blown air temperature TAV.
  • step S194 the flow rate of the cooling water circulating through the radiator 13 (radiator flow rate) is controlled so that the surface temperature TC of the cooler core 16 approaches the target surface temperature TCO.
  • the first switching valve 18 and the second switching valve 19 are operated so that the opening degree of the radiator flow path 33 is decreased by a predetermined amount. By doing so, the flow rate of the cooling water circulating through the radiator 13 is decreased, and the surface temperature TC of the cooler core 16 is lowered.
  • the surface temperature TC of the cooler core 16 is lower than the target surface temperature TCO, by operating the first switching valve 18 and the second switching valve 19 so that the opening degree of the radiator flow path 33 is increased by a predetermined amount. Then, the surface temperature TC of the cooler core 16 is increased by increasing the flow rate of the cooling water circulating through the radiator 13.
  • the flow rate of the cooling water circulating through the radiator 13 is adjusted so that the surface temperature TC of the cooler core 16 approaches the target surface temperature TCO, and freezing and evaporation of the condensed water adhering to the surface of the cooler core 16 are suppressed. .
  • step S194 instead of the surface temperature TC of the cooler core 16, various temperatures related to the surface temperature TC of the cooler core 16 (for example, the temperature of the blown air flowing out from the cooler core 16) may be used.
  • step S194 instead of the first switching valve 18 and the second switching valve 19 increasing or decreasing the opening degree of the radiator flow path 33 by a predetermined amount, the first switching valve 18 and the second switching valve 19 are moved to the radiator flow path 33.
  • the time average flow rate of the cooling water circulating through the radiator 13 may be adjusted by intermittently opening and closing.
  • the flow rate of the cooling water circulating through the radiator 13 may be adjusted by controlling the cooling water discharge capacity of the first pump 11 (specifically, the rotational speed of the first pump 11).
  • step S194 instead of adjusting the flow rate of the cooling water circulating through the radiator 13, the flow rate of the outside air flowing through the radiator 13 may be adjusted. Specifically, the flow rate of the outside air flowing through the radiator 13 may be adjusted by controlling the operation of the outdoor blower 20.
  • the blown air cooled and dehumidified by the cooler core 16 is heated by the heater core 17 and blown into the vehicle interior, so that the vehicle interior can be dehumidified and heated.
  • the vehicle interior can be heated with a higher heating capacity than in the heat dissipation mode.
  • the flow rate of the cooling water circulating through the radiator 13 is adjusted, and the flow rate of the cooling water flowing through the cooler core 16 is not adjusted. Therefore, the flow rate of the cooling water flowing through the cooler core 16 is adjusted as in the frost suppression mode. Thus, the flow rate of the cooling water flowing through the cooler core 16 can be increased. For this reason, the cooling capability (dehumidification capability) of the cooler core 16 can be increased as compared with the frost suppression mode.
  • the control device 60 in the heat absorption mode and the heat dissipation mode, includes the cooling water flowing through the radiator 13 so that the temperature TC related to the temperature of the blown air cooled by the cooler core 16 approaches the first target temperature TCO.
  • the flow rate of at least one of the outside air is adjusted.
  • the temperature of the cooler core 16 can be appropriately controlled in the heat absorption mode and the heat dissipation mode.
  • the control device 60 sets the flow rate of at least one of the cooling water and the outside air flowing through the radiator 13 so that the temperatures TH and TAV related to the temperature of the blown air heated by the heater core 17 approach the first target temperatures THO and TAO. You may adjust.
  • control device 60 generates heat so that the temperatures TC, TH, TAV related to the temperature of the blown air adjusted in temperature by the heat medium air heat exchangers 16, 17 approach the first target temperatures TCO, THO, TAO. What is necessary is just to adjust the flow volume of the heat medium which flows through the delivery apparatus 13.
  • the control device 60 in the endothermic mode, includes the cooling water flowing through the radiator 13 and the outside air so that the temperature TC related to the temperature of the blown air cooled by the cooler core 16 approaches the first target temperature TCO. At least one flow rate is adjusted, and the flow rate of the refrigerant discharged from the compressor 22 is adjusted so that the temperatures related to the blown air temperatures TH and TAV approach the second target temperatures THO and TAO.
  • the surface temperature of the cooler core 16 and the temperature of the air blown into the passenger compartment can be controlled appropriately.
  • the temperature related to the temperature of the blown air cooled by the cooler core 16 is the temperature itself of the blown air cooled by the cooler core 16, the temperature related to the surface temperature TC of the cooler core 16, and the temperature of the cooling water flowing through the cooler core 16. It is related temperature etc.
  • the temperature related to the blown air temperature TAV is a temperature related to the temperature of the blown air blown into the passenger compartment after the temperature is adjusted by at least one of the heat exchangers of the cooler core 16 and the heater core 17. Specifically, the temperature TAV of the mixed air in which the blown air flowing through the heater core 17 and the blown air flowing around the heater core 17 are mixed, the temperature TH of the blown air heated by the heater core 17, flows into the heater core 17. The temperature of the heat medium, the temperature of the blown air that flows around the heater core 17 and the like.
  • the first target temperature TCO is preferably set to a temperature within a temperature range in which frost does not occur in the cooler core 16 and condensed water attached to the surface of the cooler core 16 does not evaporate.
  • the target surface temperature TCO of the cooler core 16 is used as the first target temperature TCO.
  • the second target temperature TAO is preferably set to a blown air temperature that needs to be generated by the vehicle air conditioner in order to keep the interior of the vehicle interior at a desired temperature.
  • the target blown air temperature TAO is used as the second target temperature TAO.
  • the control device 60 in the heat dissipation mode, causes the flow rate of the refrigerant discharged from the compressor 22 so that the temperature TC related to the temperature of the blown air cooled by the cooler core 16 approaches the second target temperature TCO. And the flow rate of at least one of the cooling water and the outside air flowing through the radiator 13 is adjusted so that the temperature related to the blown air temperature TAV approaches the first target temperature TAO.
  • the control device 60 sets the flow rate of the cooling water flowing through the cooler core 16 so that the temperature TC related to the temperature of the blown air cooled by the cooler core 16 approaches the first target temperature TCO. adjust. Thereby, the temperature of the cooler core 16 can be appropriately controlled in the frost suppression mode.
  • the controller 60 may adjust the flow rate of the cooling water flowing through the heater core 17 so that the temperatures TH and TAV related to the temperature of the blown air heated by the heater core 17 approach the first target temperatures THO and TAO.
  • control device 60 generates heat so that the temperatures TC, TH, TAV related to the temperature of the blown air adjusted in temperature by the heat medium air heat exchangers 16, 17 approach the first target temperatures TCO, THO, TAO. What is necessary is just to adjust the flow volume of the heat medium which flows through the delivery apparatus 13.
  • the control device 60 sets the flow rate of the cooling water flowing through the cooler core 16 so that the temperature TC related to the temperature of the blown air cooled by the cooler core 16 approaches the first target temperature TCO. adjust. Further, the compressor control unit 60d adjusts the flow rate of the refrigerant discharged from the compressor 22 so that the temperatures related to the blown air temperatures TH and TAV approach the second target temperatures THO and TAO.
  • the surface temperature of the cooler core 16 and the temperature of the air blown into the passenger compartment can be controlled appropriately.
  • the control device 60 in the cooling mode, causes the flow rate of the refrigerant discharged from the compressor 22 so that the temperature TC related to the temperature of the blown air cooled by the cooler core 16 approaches the first target temperature TCO. And the blown air flowing through the heater core 17 and the blown air flowing around the heater core 17 out of the blown air cooled by the cooler core 16 so that the temperature related to the blown air temperature TAV approaches the second target temperature TAO Adjust the air volume ratio.
  • the surface temperature of the cooler core 16 and the temperature of the air blown into the passenger compartment can be appropriately controlled.
  • control device 60 may adjust the flow rate of at least one of the cooling water flowing through the radiator 13 and the outside air.
  • the temperature of the air blown from the heater core 17 can be stabilized and the controllability of the blown air temperature TAV can be enhanced. Further, by reducing the flow rate of at least one of the cooling water flowing through the radiator 13 and the outside air, the environment changes when the vehicle is used (sudden fluctuations in the outside air temperature, fluctuations in the amount of air flowing through the radiator 13 mainly due to fluctuations in the vehicle speed). In contrast, the fluctuation of the blown air temperature can be reduced.
  • the first switching valve 18 and the 2nd switching valve 19 switch to the state where the cooling water cooled with the cooling water cooler 14 flows through the radiator 13. Further, the control device 60 adjusts the flow rate of at least one of the cooling water and the outside air flowing through the radiator 13 so that the temperature TC related to the temperature of the blown air cooled by the cooler core 16 approaches the first target temperature TCO. The flow rate of the refrigerant discharged from the compressor 22 is adjusted so that the temperature related to the blown air temperature TAV approaches the second target temperature TAO.
  • the amount of heat for heating when the amount of heat for heating is insufficient in the heat dissipation mode, the amount of heat for heating can be secured by switching to the heat absorption mode.
  • the first switching valve 18 may be switched to the endothermic mode after switching the radiator 13 to a state where the cooling water heated by the condenser 15 does not flow.
  • the first switching valve 18 and the 2nd switching valve 19 switch to the state which the cooling water heated with the condenser 15 flows into the radiator 13. As shown in FIG.
  • control device 60 adjusts the flow rate of the refrigerant discharged from the compressor 22 so that the temperature TC related to the temperature of the blown air cooled by the cooler core 16 approaches the first target temperature TCO, and the blown air temperature
  • the flow rate of at least one of the cooling water and the outside air flowing through the radiator 13 is adjusted so that the temperature related to TAV approaches the second target temperature TAO.
  • the radiator 13 can be radiated to the outside air by switching to the radiating mode.
  • the first switching valve 18 may switch to the radiator 13 after switching to the radiator 13 so that the cooling water cooled by the cooling water cooler 14 does not flow.
  • the control device 60 determines that the temperature related to the blown air temperature TAV is the second target.
  • the air volume ratio between the blown air flowing through the heater core 17 and the blown air flowing around the heater core 17 out of the blown air cooled by the cooler core 16 is adjusted so as to approach the temperature TAO.
  • the cooling can be appropriately performed by switching to the cooling mode.
  • the first pump 11, the second pump 12, the first switching valve 18 and the second switching valve 19. May operate so that the temporal flow rate of the cooling water heated by the cooling water heater 15 and flowing through the radiator 13 increases.
  • the control device 60 in the endothermic mode, when it is determined that the temperature TC related to the temperature of the blown air cooled by the cooler core 16 is lower than the predetermined temperature TCF, the control device 60 is related to the surface temperature TC of the cooler core 16. At least one of the flow rate and the temperature of the cooling water flowing through the cooler core 16 is adjusted so that the temperature approaches the first target temperature TCO.
  • the control device 60 in the frost suppression mode, when it is determined that the temperature TC related to the temperature of the blown air cooled by the cooler core 16 exceeds the predetermined temperature TCF, the control device 60 relates to the surface temperature TC of the cooler core 16. The flow rate of at least one of the cooling water flowing through the radiator 13 and the outside air is adjusted so that the temperature to be moved approaches the first target temperature TCO.
  • the control device 60 determines that the temperature related to the blown air temperature TAV is the second.
  • the flow rate of at least one of the cooling water flowing through the radiator 13 and the outside air is adjusted so as to approach the target temperature TAO.
  • the heating when heating is required in the cooling mode, the heating can be appropriately performed by switching to the heat radiation mode.
  • the first switching valve 18 and the second switching valve 19 are connected to the radiator 13 by the condenser 15. After switching to a state in which the heated cooling water does not flow, the heat dissipation mode may be switched.
  • the control device 60 in the heat absorption mode and the heat dissipation mode, the control device 60 operates so that the cooling water flows intermittently through the radiator 13. Thereby, the time average flow volume of the cooling water which flows through the radiator 13 can be adjusted.
  • the control device 60 in the frost suppression mode, operates so that the cooling water flows intermittently through the cooler core 16. Thereby, the time average flow volume of the cooling water which flows through the cooler core 16 can be adjusted.
  • the first switching valve 18, the second switching valve 19, and the switching valve control unit 60 b may operate so as to adjust the opening degree of the radiator flow path 33. Thereby, the flow volume of the cooling water which flows through the radiator 13 can be adjusted.
  • control device 60 may operate so as to adjust the opening degree of the cooler core channel 36. Thereby, the flow volume of the cooling water which flows through the cooler core 16 can be adjusted.
  • control device 60 may adjust the flow rate of the cooling water discharged from the first pump 11 or the second pump 12. Thereby, the flow volume of the cooling water which flows through the radiator 13 can be adjusted.
  • the pump control unit 60a may adjust the flow rate of the cooling water discharged from the first pump 11 or the second pump 12. Thereby, the flow volume of the cooling water which flows through the cooler core 16 can be adjusted.
  • control device 60 may adjust the flow rate of the outside air blown by the outside air blower 20. Thereby, the flow volume of the external air which flows through the radiator 13 can be adjusted.
  • the cooler core 16 is formed with at least one flow path 163 through which cooling water flows from the lower side in the gravitational direction toward the upper side in the gravitational direction. Thereby, it can suppress that frost (frost formation) generate
  • the cooler core 16 includes the cooling water flow path 163 so that the cooling water flows from the downstream side in the air flow direction toward the upstream side. Thereby, it can suppress that frost (frost formation) generate
  • the flow rate of the cooling water flowing through the cooler core 16 is controlled in the frost suppression mode.
  • the temperature of the cooling water flowing through the cooler core 16 is controlled in the frost suppression mode.
  • an electric heater 70 is disposed in the cooler core flow path 36.
  • the electric heater 70 is a heating element that generates heat when supplied with electric power.
  • the cooling water flowing through the cooler core channel 36 is heated by the heat generated by the electric heater 70.
  • the operation of the electric heater 70 is controlled by the control device 60.
  • the configuration (hardware and software) for controlling the operation of the electric heater 70 in the control device 60 is the electric heater control unit 60h.
  • the electric heater control unit 60 h may be configured separately from the control device 60.
  • the electric heater 70 and the electric heater control unit 60h are a cooler core adjusting unit (a heat exchanger adjusting unit, an air cooling adjusting unit) that adjusts the temperature of the cooling water flowing through the cooler core 16.
  • the temperature of the cooling water flowing through the cooler core 16 can be increased by heating the cooling water with the electric heater 70.
  • the control device 60 adjusts the temperature of the cooling water flowing through the cooler core 16 so that the temperature related to the surface temperature TC of the cooler core 16 approaches the first target temperature TCO. Further, the flow rate of the refrigerant discharged from the compressor 22 is adjusted so that the temperature related to the blown air temperature TAV approaches the second target temperature TAO.
  • the surface temperature of the cooler core 16 and the temperature of the air blown into the passenger compartment can be controlled appropriately.
  • the temperature of the cooling water flowing through the cooler core 16 is increased by heating the cooling water with the electric heater 70.
  • the temperature of the cooling water flowing through the cooler core 16 is raised by mixing the cooling water heated by the cooling water heater 15 with the cooled cooling water.
  • a first communication channel 71, a second communication channel 72, a first communication on / off valve 73, and a second communication on / off valve 74 are added.
  • the first communication channel 71 is a channel that communicates a portion of the cooler core channel 36 on the cooling water inlet side of the cooler core 16 and a portion of the heater core channel 37 on the cooling water inlet side of the cooler core 16. .
  • the second communication channel 72 is a channel that communicates a portion of the cooler core channel 36 on the cooling water outlet side of the cooler core 16 and a portion of the heater core channel 37 on the cooling water outlet side of the cooler core 16. .
  • the first communication open / close valve 73 is an electromagnetic valve that opens and closes the first communication flow path 71.
  • the operation of the first communication on / off valve 73 is controlled by the control device 60.
  • the second communication on / off valve 74 is an electromagnetic valve that opens and closes the second communication flow path 72.
  • the operation of the second communication opening / closing valve 74 is controlled by the control device 60.
  • the configuration (hardware and software) for controlling the operation of the first communication on / off valve 73 and the second communication on / off valve 74 in the control device 60 is defined as a communication control unit 60i.
  • the communication control unit 60 i may be configured separately from the control device 60.
  • the first communication on / off valve 73, the second communication on / off valve 74, and the communication control unit 60i are a cooler core adjustment unit (a heat exchanger adjustment unit, an air cooling adjustment unit) that adjusts the temperature of the coolant flowing through the cooler core 16. .
  • the first communication on / off valve 73 opens the first communication flow path 71 and the second communication on / off valve 74 opens the second communication flow path 72, so that the cooling water cooled by the cooling water cooler 14 is added to the cooling water heater.
  • the cooling water heated at 15 is mixed, and as a result, the temperature of the cooling water flowing through the cooler core 16 rises.
  • the cooling water cooled by the cooling water cooler 14 By adjusting the opening degree of at least one of the first communication on-off valve 73 and the second communication on-off valve 74, the cooling water cooled by the cooling water cooler 14, the cooling water heated by the cooling water heater 15, Is adjusted, and the temperature of the cooling water flowing through the cooler core 16 is adjusted accordingly.
  • the temperature of the cooling water flowing through the cooler core 16 may be increased by operating the first switching valve 18 and the second switching valve 19 to mix the cooling water heated by the cooling water heater 15.
  • the control device 60 adjusts the temperature of the cooling water flowing through the cooler core 16 so that the temperature related to the surface temperature TC of the cooler core 16 approaches the first target temperature TCO. Further, the flow rate of the refrigerant discharged from the compressor 22 is adjusted so that the temperature related to the blown air temperature TAV approaches the second target temperature TAO.
  • one end of the cooler core flow path 36 is connected to a portion of the first pump flow path 31 on the cooling water suction side of the first pump 11, and one end of the heater core flow path 37 is In this embodiment, one end of the cooler core flow path 36 is connected to a portion of the second pump flow path 32 on the cooling water suction side of the second pump 12 as shown in FIG.
  • the first switching valve 18 is connected to the third inlet 18 d, and one end of the heater core flow path 37 is connected to the third outlet 19 d of the second switching valve 19.
  • the first switching valve 18 can adjust the flow rate of the cooling water flowing through the cooler core flow path 36.
  • the second switching valve 19 can adjust the flow rate of the cooling water flowing through the heater core flow path 37.
  • One end of a device flow path 80 is connected to the second outlet 18e of the first switching valve 18.
  • the other end of the device flow path 80 is connected to the second inlet 19e of the second switching valve 19.
  • a device 81 is disposed in the device flow path 80.
  • the device 81 is a heat transfer device (temperature adjustment target device) that has a flow path through which the cooling water flows and that transfers heat to and from the cooling water.
  • Examples of the device 81 include an inverter, a battery, a battery temperature control heat exchanger, a traveling electric motor, an engine device, a cold storage heat body, a ventilation heat recovery heat exchanger, a cooling water heat exchanger, and the like.
  • An inverter is a power conversion device that converts DC power supplied from a battery into AC voltage and outputs the AC voltage to a traveling electric motor.
  • the battery temperature control heat exchanger is a heat exchanger (air heat medium heat exchanger) that is arranged in a blowing path to the battery and exchanges heat between the blown air and cooling water.
  • Engine devices include turbochargers, intercoolers, EGR coolers, CVT warmers, CVT coolers, exhaust heat recovery devices, and the like.
  • the turbocharger is a supercharger that supercharges engine intake air (intake).
  • the intercooler is an intake air cooler (intake heat medium heat exchanger) that cools the supercharged intake air by exchanging heat between the supercharged intake air that has been compressed by the turbocharger and becomes high temperature and the cooling water.
  • the EGR cooler is an exhaust cooling water heat exchanger (exhaust heat medium heat exchanger) that cools exhaust gas by exchanging heat between engine exhaust gas (exhaust gas) returned to the intake side of the engine and cooling water.
  • CVT warmer is a lubricating oil cooling water heat exchanger (lubricating oil heat medium heat exchanger) that heats CVT oil by exchanging heat between lubricating oil (CVT oil) that lubricates CVT (continuously variable transmission) and cooling water. It is.
  • the CVT cooler is a lubricating oil cooling water heat exchanger (lubricating oil heat medium heat exchanger) that cools the CVT oil by exchanging heat between the CVT oil and the cooling water.
  • lubricating oil cooling water heat exchanger lubricating oil heat medium heat exchanger
  • the exhaust heat recovery unit is an exhaust cooling water heat exchanger (exhaust heat medium heat exchanger) that exchanges heat between the exhaust and the cooling water to absorb the heat of the exhaust into the cooling water.
  • exhaust cooling water heat exchanger exhaust heat medium heat exchanger
  • the cold storage heat storage body stores the heat or cold energy of the cooling water.
  • Examples of the cold storage body include a chemical heat storage material, a heat retaining tank, a latent heat storage body (paraffin or hydrate-based substance), and the like.
  • the ventilation heat recovery heat exchanger is a heat exchanger that recovers the heat (cold or hot) that is thrown out by ventilation.
  • a ventilation heat recovery heat exchanger recovers heat (cold heat or hot heat) that is thrown out by ventilation, thereby reducing power required for air conditioning.
  • the cooling water cooling water heat exchanger is a heat exchanger that exchanges heat between cooling water and cooling water.
  • a cooling water cooling water heat exchanger includes cooling water (cooling water circulated by the first pump 11 or the second pump 12) of the vehicle thermal management system 10 and an engine cooling circuit (cooling water for engine cooling). Heat can be exchanged between the vehicle thermal management system 10 and the engine cooling circuit by exchanging heat with the cooling water in the circulating circuit).
  • the flow rate of the cooling water flowing through the cooler core 16 and the flow rate of the cooling water flowing through the heater core 17 can be adjusted by the first switching valve 18 and the second switching valve 19.
  • the electric heater 70 is disposed in the cooler core flow path 36 as in the second embodiment, the temperature of the cooling water flowing through the cooler core 16 is set by heating the cooling water with the electric heater 70. Can be raised.
  • a second evaporator 82 may be disposed in the case 51 of the indoor air conditioning unit 50 instead of the cooler core 16.
  • the second evaporator 82 is an air cooling heat exchanger that cools the blown air into the vehicle interior by exchanging heat between the low-pressure refrigerant of the refrigeration cycle 21 and the blown air into the vehicle interior.
  • the refrigeration cycle 21 has a second expansion valve 83 and a pressure adjustment valve 84.
  • the second expansion valve 83 is a decompression unit that decompresses and expands the liquid-phase refrigerant that has flowed out of the receiver 23.
  • the pressure adjustment valve 84 is a pressure adjustment unit that adjusts the refrigerant evaporation pressure in the second evaporator 82.
  • the second evaporator 82, the second expansion valve 83, and the pressure regulating valve 84 are arranged in parallel with the expansion valve 24 and the cooling water cooler 14 in the refrigerant flow of the refrigeration cycle 21.
  • the second evaporator 82, the second expansion valve 83, and the pressure adjustment valve 84 are arranged in the order of the second expansion valve 83, the second evaporator 82, and the second expansion valve 83 in the refrigerant flow of the refrigeration cycle 21. .
  • the cooler core 16 and the heater core 17 are arranged in series in the air flow in the case 51 of the indoor air conditioning unit 50. However, in the present embodiment, as shown in FIG. They are arranged in parallel in the air flow.
  • the case 51 is formed with a partition wall 51c that partitions the air passage on the cooler core 16 side and the air passage on the heater core 17 side.
  • the air mix door 55 is disposed on the air flow downstream side of the indoor blower 54 and on the air flow upstream side of the cooler core 16 and the heater core 17.
  • the cooler core 16 and the heater core 17 are accommodated in the common indoor air conditioning unit 50.
  • the cooler core 16 is accommodated in the cooler unit 50A
  • the heater core 17 is the heater. It is accommodated in the unit 50B.
  • the indoor blower 54A and the cooler core 16 are disposed in the case 51A of the cooler unit 50A.
  • An indoor blower 54B and a heater core 17 are disposed in the case 51B of the heater unit 50B.
  • the present embodiment includes a battery temperature adjusting heat exchanger 81A, an inverter 81B, and a cooling water cooling water heat exchanger 81C as the heat transfer device 81 described above.
  • the battery temperature control heat exchanger 81A, the inverter 81B, and the cooling water cooling water heat exchanger 81C have a flow path through which the cooling water flows, and a heat transfer device (a temperature adjustment target) that transfers heat to and from the cooling water. Equipment).
  • the battery temperature control heat exchanger 81A is a heat exchanger (air heat medium heat exchanger) that is arranged in the air blowing path to the battery and exchanges heat between the blown air and the cooling water.
  • the battery temperature adjustment heat exchanger 81A is disposed in the battery heat exchange channel 80A.
  • One end of the battery heat exchange channel 80A is connected to the battery heat exchange outlet 18f of the first switching valve 18.
  • the other end of the battery heat exchange channel 80 ⁇ / b> A is connected to the battery heat exchange inlet 19 f of the second switching valve 19.
  • the inverter 81B is a power conversion device that converts DC power supplied from the battery into AC voltage and outputs the AC voltage to the traveling electric motor.
  • the inverter 81B is disposed in the inverter flow path 80B.
  • One end of the inverter flow path 80B is connected to the inverter outlet 18g of the first switching valve 18.
  • the other end of the inverter flow path 80 ⁇ / b> B is connected to the inverter inlet 19 g of the second switching valve 19.
  • the cooling water cooling water heat exchanger 81C includes cooling water (cooling water circulated by the first pump 11 or the second pump 12) of the vehicle thermal management system 10 and cooling water (engine heat medium for the engine cooling circuit 90). And a heat exchanger (heat medium-heat medium heat exchanger).
  • the cooling water cooling water heat exchanger 81C is disposed in the cooling water cooling water heat exchanger channel 80C.
  • One end of the cooling water cooling water heat exchanger flow path 80 ⁇ / b> C is connected to the cooling water cooling water heat exchanger outlet 18 h of the first switching valve 18.
  • the other end of the cooling water cooling water heat exchanger channel 80 ⁇ / b> C is connected to the cooling water cooling water heat exchanger inlet 19 h of the second switching valve 19.
  • one end of the cooler core flow path 36 is connected to the cooler core outlet 18i of the first switching valve 18.
  • the other end of the cooler core flow path 36 is connected to the cooler core inlet 19 i of the second switching valve 19.
  • One end of the heater core flow path 37 is connected to the heater core outlet 18j of the first switching valve 18.
  • the other end of the heater core flow path 36 is connected to the heater core inlet 19 j of the second switching valve 19.
  • the first switching valve 18 includes a state in which the cooling water discharged from the first pump 11 flows into each of the devices 13, 16, 17, 81 ⁇ / b> A, 81 ⁇ / b> B, 81 ⁇ / b> C connected to the outlet side thereof, and the second pump 12. Is switched between a state in which the cooling water discharged from the inflow flows and a state in which the cooling water discharged from the first pump 11 and the cooling water discharged from the second pump 12 do not flow in.
  • the second switching valve 19 has a state in which the cooling water flows out to the first pump 11 and the cooling water to the second pump 12 for each of the devices 13, 16, 17, 81A, 81B, 81C connected to the inlet side thereof. Is switched between a state in which the coolant flows and a state in which the cooling water does not flow out to the first pump 11 and the second pump 12.
  • the valve opening degree of the first switching valve 18 and the second switching valve 19 can be adjusted. Thereby, the flow volume of the cooling water which flows through each apparatus 13, 16, 17, 81A, 81B, 81C can be adjusted.
  • the first switching valve 18 and the second switching valve 19 mix the cooling water discharged from the first pump 11 and the cooling water discharged from the second pump 12 at an arbitrary flow rate ratio to each device 13, 16. , 17, 81A, 81B, 81C.
  • the engine cooling circuit 90 is a cooling water circulation circuit for cooling the engine 91.
  • the engine cooling circuit 90 has a circulation passage 92 through which cooling water circulates.
  • an engine 91, a third pump 93, an engine radiator 94, and a cooling water / cooling water heat exchanger 81C are arranged.
  • the third pump 93 is an electric pump that sucks and discharges cooling water.
  • the third pump 93 may be a mechanical pump driven by power output from the engine 91.
  • the engine radiator 94 is a heat dissipation heat exchanger (air heat medium heat exchanger) that radiates heat of the cooling water to the outside air by exchanging heat between the cooling water and the outside air.
  • a radiator bypass channel 95 is connected to the circulation channel 92.
  • the radiator bypass channel 95 is a channel through which cooling water flows bypassing the engine radiator 94.
  • a thermostat 96 is disposed at a connection portion between the radiator bypass channel 95 and the circulation channel 92.
  • the thermostat 96 is a cooling water temperature responsive valve configured by a mechanical mechanism that opens and closes the cooling water flow path by displacing the valve body by a thermo wax (temperature sensitive member) that changes in volume according to temperature.
  • the thermostat 96 closes the radiator bypass channel 95 when the temperature of the cooling water is higher than a predetermined temperature (for example, 80 ° C. or more), and when the temperature of the cooling water is lower than the predetermined temperature (for example, (Less than 80 ° C.), the radiator bypass channel 95 is opened.
  • a predetermined temperature for example, 80 ° C. or more
  • the predetermined temperature for example, (Less than 80 ° C.
  • the circulation channel 92 is connected to an engine accessory flow channel 97.
  • the engine accessory flow path 97 is a flow path in which the cooling water flows in parallel with the cooling water cooling water heat exchanger 81C.
  • An engine accessory 98 is disposed in the engine accessory flow path 97.
  • the engine accessory 98 is an oil heat exchanger, an EGR cooler, a throttle cooler, a turbo cooler, an engine auxiliary motor, or the like.
  • the oil heat exchanger is a heat exchanger that adjusts the temperature of oil by exchanging heat between engine oil or transmission oil and cooling water.
  • the EGR cooler is a heat exchanger that constitutes an EGR (exhaust gas recirculation) device that recirculates a part of the exhaust gas of the engine to the intake side to reduce the pumping loss generated by the throttle valve. It is a heat exchanger that adjusts the temperature of the reflux gas by exchanging heat with water.
  • EGR exhaust gas recirculation
  • the throttle cooler is a water jacket provided inside the throttle to cool the throttle valve.
  • the turbo cooler is a cooler for cooling the turbocharger by exchanging heat between the heat generated in the turbocharger and the cooling water.
  • the engine auxiliary motor is a large motor that allows the engine belt to rotate even when the engine is stopped.
  • the compressor or water pump driven by the engine belt can be operated even when there is no engine driving force, or the engine can be started. Sometimes used.
  • a first reserve tank 99 is connected to the engine radiator 94.
  • the first reserve tank 99 is an open-air container (heat medium storage unit) that stores cooling water. Therefore, the pressure at the coolant level stored in the first reserve tank 99 becomes atmospheric pressure.
  • the 1st reserve tank 99 may be constituted so that the pressure in the level of the cooling water stored in the 1st reserve tank 99 may become predetermined pressure (pressure different from atmospheric pressure).
  • Storing excess cooling water in the first reserve tank 99 can suppress a decrease in the amount of cooling water circulating through each flow path.
  • the first reserve tank 99 has a function of gas-liquid separation of bubbles mixed in the cooling water.
  • the second reserve tank 100 is connected to the radiator flow path 33.
  • the structure and function of the second reserve tank 100 are the same as those of the first reserve tank 99.
  • Auxiliary heater 101 is disposed at the downstream side of the air flow of heater core 17 inside case 51 of indoor air conditioning unit 50 of the vehicle air conditioner.
  • the auxiliary heater 101 has a PTC element (positive characteristic thermistor), and is a PTC heater (electric heater) that generates heat and heats air when electric power is supplied to the PTC element.
  • the operation (heat generation amount) of the auxiliary heater 101 is controlled by the control device 60.
  • the configuration (hardware and software) for controlling the operation of the auxiliary heater 101 in the control device 60 is an auxiliary heater control unit 60j (electric heater control unit).
  • the refrigeration cycle 21 includes an internal heat exchanger 102.
  • the internal heat exchanger 102 is a heat exchanger that exchanges heat between the refrigerant flowing out of the cooling water heater 15 and the refrigerant flowing out of the cooling water cooler 14.
  • the expansion valve 24 of the refrigeration cycle 21 has a temperature sensing unit 24a that detects the degree of superheat of the coolant on the outlet side of the coolant cooler 14 based on the temperature and pressure of the coolant on the outlet side of the coolant cooler 14, and the coolant cooler 14 is a temperature type expansion valve that adjusts the throttle passage area by a mechanical mechanism so that the degree of superheat of the outlet side refrigerant is in a predetermined range.
  • An electric expansion valve may be used in which the temperature sensing unit 24a is configured by a thermistor and the throttle passage area is adjusted by an electric mechanism so that the degree of superheat of the coolant on the outlet side of the cooling water cooler 14 falls within a predetermined range. .
  • an inside air sensor 61 On the input side of the control device 60, an inside air sensor 61, an inside air humidity sensor 110, an outside air sensor 62, a first water temperature sensor 64, a second water temperature sensor 65, a radiator water temperature sensor 111, a battery temperature sensor 112, an inverter temperature sensor 113, an engine Detection signals of sensor groups such as the water temperature sensor 114, the cooler core temperature sensor 66, the refrigerant temperature sensors 67A and 67B, and the refrigerant pressure sensors 115A and 115B are input.
  • sensor groups such as the water temperature sensor 114, the cooler core temperature sensor 66, the refrigerant temperature sensors 67A and 67B, and the refrigerant pressure sensors 115A and 115B are input.
  • the inside air humidity sensor 110 is a detection unit (inside air humidity detection unit) that detects the humidity of the inside air.
  • the radiator water temperature sensor 111 is a detection unit (equipment-side heat medium temperature detection unit) that detects the temperature of cooling water flowing through the radiator flow path 33 (for example, the temperature of cooling water that has flowed out of the radiator 13).
  • the battery temperature sensor 112 detects a temperature of the cooling water flowing through the battery heat exchange channel 80A (for example, the temperature of the cooling water flowing into the battery temperature adjustment heat exchanger 81A) (apparatus side heat medium temperature detection unit). It is.
  • the inverter temperature sensor 113 is a detection unit (equipment-side heat medium temperature detection unit) that detects the temperature of the cooling water flowing through the inverter flow path 80B (for example, the temperature of the cooling water flowing out of the inverter 81B).
  • the engine water temperature sensor 114 is a detection unit (equipment-side heat medium temperature detection unit) that detects the temperature of the cooling water circulating in the engine cooling circuit 90 (for example, the temperature of the cooling water flowing inside the engine 91).
  • the refrigerant temperature sensors 67A and 67B are a discharge-side refrigerant temperature sensor 67A that detects the temperature of the refrigerant discharged from the compressor 22, and a suction-side refrigerant temperature sensor 67B that detects the temperature of the refrigerant sucked into the compressor 22. .
  • the refrigerant pressure sensors 115A and 115B are a discharge-side refrigerant pressure sensor 115A that detects the pressure of the refrigerant discharged from the compressor 22, and a suction-side refrigerant temperature sensor 115B that detects the pressure of the refrigerant sucked into the compressor 22. .
  • the control device 60 operates the first switching valve 18 and the second switching valve 19 to switch the cooling water flow mode to various modes shown in FIGS. 24 to 28, the vehicle thermal management system 10 is illustrated in a simplified manner for easy understanding.
  • the radiator 13 is connected to the cooling water cooler 14, the heater core 17 is connected to the cooling water heater 15, and the cooling water cooling water heat exchanger 81C is connected to the cooling water cooler 14 and the cooling water. It is not connected to any of the water heaters 15.
  • the cooling water cooled by the cooling water cooler 14 and having a temperature lower than the outside air temperature flows through the radiator 13. Therefore, the cooling water absorbed by the cooling air from the outside air by the radiator 13 and heated by the cooling water heater 15. Since water flows through the heater core 17, the air blown into the passenger compartment is heated by the heater core 17.
  • the refrigerant in the refrigeration cycle 21 absorbs heat from the outside air by the radiator 13 and dissipates heat to the cooling water by the cooling water heater 15. Therefore, it is possible to realize a heat pump operation that pumps up the heat of the outside air.
  • the cooling water cooling water heat exchanger 81C is connected to the cooling water cooler 14, the heater core 17 is connected to the cooling water heater 15, and the radiator 13 is connected to the cooling water cooler 14 and the cooling water. It is not connected to any of the water heaters 15.
  • the cooling water heated by the cooling water cooling water heat exchanger 81C flows through the cooling water cooler 14, so that the cooling water is absorbed by the refrigerant in the cooling water cooler 14 and heated by the cooling water heater 15. Since the cooling water flows through the heater core 17, the air blown into the vehicle interior is heated by the heater core 17.
  • the refrigerant of the refrigeration cycle 21 absorbs heat from the cooling water heated by the cooling water cooling water heat exchanger 81C and dissipates heat to the cooling water by the cooling water heater 15. Therefore, a heat pump operation that pumps up the heat of the engine 91 can be realized.
  • the engine endothermic heat pump mode In the engine endothermic heat pump mode, if other heat generating devices (battery temperature control heat exchanger 81A, inverter 81B) are connected to the cooling water cooler 14, the heat of the other heat generating devices 81A, 81B can be pumped up. Therefore, the engine endothermic heat pump mode can be expressed as an equipment endothermic heat pump mode.
  • the cooling water cooling water heat exchanger 81C and the heater core 17 are connected to the cooling water heater 15, and the radiator 13 is cooled. Connect to water cooler 14.
  • the cooling water cooled by the cooling water cooler 14 flows through the radiator 13
  • the cooling water absorbed by the cooling water from the outside air by the radiator 13 and heated by the cooling water heater 15 flows through the heater core 17.
  • the air blown into the passenger compartment is heated.
  • the refrigerant in the refrigeration cycle 21 absorbs heat from the outside air by the radiator 13 and dissipates heat to the cooling water by the cooling water heater 15. Therefore, it is possible to realize a heat pump operation that pumps up the heat of the outside air.
  • the heating heat source can be supplemented by the heat pump operation (assist heat pump mode).
  • the cooling water heated by the cooling water heater 15 flows through the cooling water cooling water heat exchanger 81C, and therefore, when the engine 91 is warmed up, it is heated by the cooling water heater 15.
  • the engine 91 can be heated with cooling water (engine heating heat pump mode).
  • the engine heating heat pump mode In the engine heating heat pump mode, if other heating target devices (battery temperature control heat exchanger 81A, inverter 81B) are connected to the cooling water heater 15, the other heating targets are formed by the cooling water heated by the cooling water heater 15. Equipment can be heated. Therefore, the engine heating heat pump mode can be expressed as an equipment heating heat pump mode.
  • other heating target devices battery temperature control heat exchanger 81A, inverter 81B
  • the other heating object apparatus connected to the cooling water heater 15 can be heated by the heat of the engine 91 (apparatus heating mode).
  • the cooling water heated by the cooling water heater 15 flows through the cooling water cooling water heat exchanger 81C, the fluctuation of the cooling water temperature can be suppressed using the thermal mass (heat capacity) of the engine 91 (heat Mass use heating mode).
  • the cooling water cooling water heat exchanger 81C and the heater core 17 are connected to each other, and are not connected to any of the cooling water cooler 14 and the cooling water heater 15.
  • a cooling water pump that sucks and discharges cooling water is disposed in the cooling water flow path between the cooling water cooling water heat exchanger 81C and the heater core 17. Thereby, since the cooling water heated by the cooling water cooling water heat exchanger 81C flows through the heater core 17, the air blown into the vehicle interior is heated by the heater core 17.
  • the engine waste heat direct use mode In the engine waste heat direct use mode, if other heat generating devices (battery temperature control heat exchanger 81A, inverter 81B) are connected to the heater core 17, the cooling water heated by the other heat generating devices 81A, 81B Since it flows, the air blown into the passenger compartment can be heated by the heater core 17. Therefore, the engine waste heat direct use mode can be expressed as the equipment waste heat direct use mode.
  • other heat generating devices battery temperature control heat exchanger 81A, inverter 81B
  • the cooling water cooling water heat exchanger 81C and the radiator 13 are connected to the cooling water heater 15 and the cooler core 16 is connected to the cooling water cooler 14.
  • the cooling water cooled by the cooling water cooler 14 flows through the cooler core 16, so that the air blown into the vehicle interior is cooled by the cooler core 16, and the cooling water heated by the cooling water heater 15 flows through the radiator 13. Therefore, the radiator 13 radiates heat from the cooling water to the outside air.
  • the heat mass (heat capacity) of the engine 91 is used to suppress the fluctuation of the cooling water temperature, and the rise of the water temperature is suppressed to suppress the refrigerant. Since high pressure rise can be suppressed, highly efficient cooling can be realized.
  • control apparatus 60 operates the 1st switching valve 18 and the 2nd switching valve 19, and switches the mode of a cooling water flow also to a defrost mode and an engine independent mode.
  • the cooling water / cooling water heat exchanger 81C and the radiator 13 are connected to each other. Thereby, since the cooling water heated with the cooling water cooling water heat exchanger 81C flows through the radiator 13, the radiator 13 can be defrosted using the waste heat of the engine 91.
  • the cooling water cooling water heat exchanger 81C is not connected to either the cooling water cooler 14 or the cooling water heater 15. Thereby, the waste heat of the engine 91 is not transferred to the cooling water cooler 14 and the cooling water heater 15.
  • the engine independent mode is executed when the temperature detected by the engine water temperature sensor 114 during the cooling operation, that is, the temperature of the cooling water circulating in the engine cooling circuit 90 exceeds a preset reference temperature. Thereby, it can prevent that the air_conditioning
  • FIG. 1 the temperature detected by the engine water temperature sensor 114 during the cooling operation, that is, the temperature of the cooling water circulating in the engine cooling circuit 90 exceeds a preset reference temperature.
  • FIG. 29 shows a specific example of the outdoor heat absorption heat pump mode.
  • the solid line arrow and the alternate long and short dash line arrow in FIG. 29 indicate the flow of cooling water in the outdoor air endothermic heat pump mode.
  • the temperature detected by the engine water temperature sensor 114 during the heating operation that is, the temperature of the cooling water circulating in the engine cooling circuit 90 is set to a first reference temperature (for example, 40 ° C.). ) Is executed if it is less than a first reference temperature (for example, 40 ° C.).
  • warming up of the engine 91 can be promoted when the engine 91 is operating.
  • a heating heat source can be secured without operating the engine 91, so that fuel efficiency can be improved.
  • FIG. 30 A specific example of the engine endothermic heat pump mode is shown in FIG.
  • the solid line arrow and the alternate long and short dash line arrow in FIG. 30 indicate the flow of cooling water in the engine endothermic heat pump mode.
  • the temperature detected by the engine water temperature sensor 114 during the heating operation that is, the temperature of the cooling water circulating through the engine cooling circuit 90 is set to a first reference temperature (for example, 40 ° C.). ) It is executed when it is above.
  • a first reference temperature for example, 40 ° C.
  • the temperature of the cooling water circulating through the cooling water cooler 14 can be increased, the low-pressure side refrigerant pressure of the refrigeration cycle 21 can be increased, and the efficiency (COP) of the refrigeration cycle 21 is high. Heating (hereinafter referred to as high COP heating) can be realized.
  • the cooler core 16 is connected to the cooling water cooler 14, the inverter 81B is connected to the cooling water heater 15, and the battery temperature adjustment heat exchanger 81A is connected to the cooling water cooler 14 and the cooling water.
  • the battery temperature adjusting heat exchanger 81 ⁇ / b> A is connected to the cooling water cooler 14 and the cooling water heater 15 according to the required temperature of the battery temperature adjusting heat exchanger 81 ⁇ / b> A and the temperature of the cooling water. You may connect to at least one of them.
  • the first switching valve 18 and the second switching valve 19 cool the cooling water so that the temperature of the cooling water flowing out from the cooling water cooling water heat exchanger 81C becomes about 10 ° C.
  • the flow rate of the cooling water flowing through the water heat exchanger 81C is controlled.
  • FIG. 31 A specific example of the engine heating heat pump mode is shown in FIG.
  • the solid line arrow and the alternate long and short dash line arrow in FIG. 31 indicate the flow of cooling water in the engine heating heat pump mode.
  • the temperature detected by the engine water temperature sensor 114 during the cooling operation that is, the temperature of the cooling water circulating in the engine cooling circuit 90 is less than a preset reference temperature (for example, 40 ° C.). It is executed when
  • the engine 91 can be warmed up by the cooling waste heat, so that fuel efficiency can be improved. Moreover, since the cooling water heated with the cooling water heater 15 flows through the engine 91, the fluctuation
  • the temperature detected by the engine water temperature sensor 114 that is, the temperature of the cooling water circulating in the engine cooling circuit 90 is set to a second reference temperature (heating). It is executed when the temperature exceeds the required temperature (for example, 55 ° C.).
  • the radiator 13 is connected to either the cooling water cooler 14 side or the cooling water heater 15 side from the state where the circulation of the cooling water to the radiator 13 is interrupted.
  • the circulation of the cooling water it is preferable to control at least one of the following controls (1) and (2) to suppress fluctuations in the temperature of the air blown into the passenger compartment.
  • the cooler core blowing temperature TC is the temperature of the blown air cooled by the cooler core 16.
  • the heater core blowing temperature TH is the temperature of the blown air heated by the heater core 17.
  • any one of the first TC control, the second TC control, the third TC control, and the fourth TC control is used.
  • One of the first TH control, the second TH control, the third TH control, and the fourth TH control is used as a control method for bringing the heater core blowing temperature TH closer to the heater core blowing target temperature THO.
  • First TC control In the first TC control, an arbitrary device among the radiator 13 and the devices 81A to 81C is connected to the cooler core 16, and the heat transfer amount between the connected device and the cooler core 16 is controlled, so that the cooler core blowing temperature TC is set to the cooler core blowing target. Approach the temperature TCO.
  • the amount of heat exchanged with the cooler core 16 is controlled by adjusting the flow rate of the cooling water and the air volume to the connected device, or by controlling the heat generation amount of the connected device.
  • the heat generation amount is controlled by operating the inverter 81B inefficiently.
  • the equipment connected to the cooler core 16 is not limited to the radiator 13 and the equipment 81A to 81C, but may be equipment such as a water heating PTC heater and a traveling motor generator.
  • the amount of heat generated can be controlled by controlling energization of the water heating PTC heater.
  • the amount of heat generated can be controlled by inefficiently driving the traveling motor generator.
  • the configuration (hardware and software) for controlling the heat generation amount of the devices (inverter 81B, water heating PTC heater, traveling motor generator, etc.) connected to the cooler core 16 in the control device 60 is controlled. Part 60k.
  • the first TC control is performed when the water temperature becomes 0 ° C. or lower in an operating state in which the cooler core 16 and the radiator 13 are communicated to perform the vehicle interior dehumidification air conditioning using the outside air cool air.
  • the frost (frosting) of the cooler core 16 can be suppressed by controlling the heat exchange amount between the connected device and the cooler core 16 so that the temperature of the cooling water flowing through the cooler core 16 becomes a target value of 0 ° C. or higher.
  • the cooler core blowing temperature TC is brought close to the cooler core blowing target temperature TCO by controlling the heat exchange capability of the cooler core 16.
  • the heat exchange capacity of the cooler core 16 is controlled by adjusting the cooling water flow rate and the air volume with respect to the cooler core 16 or adjusting the ratio of the inside air and the outside air in the air blown to the cooler core 16.
  • the second TC control is performed when the water temperature becomes 0 ° C. or lower in the operating state in which the cooler core 16 and the radiator 13 are communicated to perform the vehicle interior dehumidification air conditioning using the outside air cool air.
  • the frost (frosting) of the cooler core 16 can be suppressed by intermittently turning on / off the cooling water with respect to the cooler core 16.
  • the third TC control is a control method based on the premise that the compressor 22 is operating.
  • an arbitrary device among the radiator 13 and the devices 81A to 81C is connected to the heater core 17, and the heat transfer amount between the connected device and the heater core 17 is controlled, so that the cooler core blowing temperature TC is set to the cooler core blowing target. Approach the temperature TCO.
  • the amount of heat exchanged with the heater core 17 is controlled by adjusting the flow rate of cooling water and the amount of air flow to the connected device, or by controlling the amount of heat generated by the connected device.
  • Equipment connected to the heater core 17 is not limited to the radiator 13 and the equipment 81A to 81C, but may be equipment such as a water heating PTC heater or a traveling motor generator.
  • the amount of heat generated can be controlled by controlling energization of the water heating PTC heater.
  • the amount of heat generated can be controlled by inefficiently driving the traveling motor generator.
  • the third TC control is performed when it is desired to perform cooling in the case where there is a certain restriction on the rotational speed control of the compressor 22.
  • the case where there is a certain limit in the rotational speed control of the compressor 22 is, for example, a case where the allowable rotational speed of the compressor 22 is set or a case where the compressor 22 is a belt-driven compressor. .
  • the cooler core blowing temperature TC can be controlled without depending on the rotation speed of the compressor 22.
  • the cooler core blowing temperature TC is brought close to the cooler core blowing target temperature TCO by controlling the refrigerant flow rate.
  • the refrigerant flow rate is controlled by controlling the refrigerant discharge capacity of the compressor 22 (specifically, the rotational speed of the compressor 22) or adjusting the throttle passage area of the expansion valve 24.
  • First TH control In the first TH control, an arbitrary device among the radiator 13 and the devices 81A to 81C is connected to the heater core 17, and the amount of heat exchange between the connected device and the heater core 17 is controlled, whereby the heater core blowing temperature TH is set to the heater core blowing target. Approach the temperature THO.
  • the amount of heat exchanged with the heater core 17 is controlled by adjusting the flow rate of cooling water and the amount of air flow to the connected device, or by controlling the amount of heat generated by the connected device.
  • the first TH control is performed in a state where the heater core 17 and the coolant heater 15 are connected.
  • the refrigerant pressure of the refrigeration cycle 21 rises excessively and the safety measure relief valve It is possible to prevent the valve from opening.
  • the heater core blowing temperature TH is brought close to the heater core blowing target temperature THO by controlling the heat exchange capability of the heater core 17.
  • the heat exchange capacity of the heater core 17 is controlled by adjusting the cooling water flow rate and the air volume with respect to the heater core 17 or by adjusting the ratio of the inside air to the outside air in the air blown to the heater core 17.
  • the second TH control is performed at the time of air conditioning in the vehicle interior using the waste heat of the engine 91.
  • the flow rate of the cooling water flowing through the heater core 17 is controlled so that the average cooling water temperature in the heater core 17 approaches the target temperature.
  • the vehicle interior air temperature TAV can be controlled without using the air mix door 55. Therefore, since the air mix door 55 can be eliminated, the indoor air conditioning unit 50 can be downsized.
  • the second TH control is performed in the engine endothermic heat pump mode.
  • the heat radiation amount of the cooling water heater 15 is controlled by controlling the rotational speed of the compressor 22 so that the cooling water temperature in the heater core 17 becomes the target temperature.
  • the cooling water temperature in the heater core 17 is the target temperature even when the compressor 22 is operated at the minimum operating speed (for example, about 1500 rpm). May be exceeded.
  • the cooling water flow rate in the heater core 17 is controlled to set the cooling water temperature in the heater core 17 to the target temperature.
  • the third TH control is a control method that assumes that the compressor 22 is operating.
  • an arbitrary device among the radiator 13 and the devices 81A to 81C is communicated with the cooler core 16, and the amount of heat exchange between the connected device and the cooler core 16 is controlled, whereby the heater core blowing temperature TH is set to the heater core blowing target. Approach the temperature THO.
  • the amount of heat exchanged with the cooler core 16 is controlled by adjusting the flow rate of the cooling water and the air volume to the connected device, or by controlling the heat generation amount of the connected device.
  • the third TH control is performed when it is desired to perform cooling in the case where there is a certain restriction on the rotational speed control of the compressor 22.
  • the heater core blowing temperature TH can be controlled without depending on the rotation speed of the compressor 22.
  • the heater core blowing temperature TH is brought close to the heater core blowing target temperature THO by controlling the refrigerant flow rate.
  • the refrigerant flow rate is controlled by controlling the refrigerant discharge capacity of the compressor 22 (specifically, the rotational speed of the compressor 22) or adjusting the throttle passage area of the expansion valve 24.
  • the first to fourth TC controls and the first to fourth TH controls can be combined with each other. Specifically, any of the first to fourth TC controls and any of the first to fourth TH controls can be combined.
  • first TC control and first TH control Combination of first TC control and first TH control
  • the combination of the first TC control and the first TH control is performed when it is estimated or determined that the cooler core blowing target temperature TCO is higher than the temperature of the device connected to the cooler core 16.
  • the combination of the first TC control and the first TH control is performed when the coolant temperature in the device connected to the heater core 17 exceeds a predetermined temperature (for example, 55 ° C.).
  • a predetermined temperature for example, 55 ° C.
  • the heater core blowing temperature TH becomes excessive. Therefore, by controlling the amount of heat received from the equipment connected to the heater core 17, the cooling water temperature in the heater core 17 is prevented from exceeding a predetermined temperature (for example, 55 ° C.), and the heater core blowing temperature TH is excessive. Suppress.
  • the power saving dehumidifying and heating mode is an operation mode in which the dehumidified air is reheated using the waste heat of the engine 91 and the waste heat of various devices while performing dehumidification using the outside air cooling heat.
  • the combination of the first TC control and the first TH control is performed in the engine endothermic heat pump mode.
  • a cooling water heater 15 is a heating source in the engine endothermic heat pump mode.
  • An electric heater, an inverter 81B, or the like may be used in combination as a heating source in the engine endothermic heat pump mode.
  • the device connected to the heater core 17 may be the engine 91.
  • the engine 91 may be provided with a second cooling water outlet to communicate with the heater core 17.
  • a predetermined temperature for example, 55 ° C. or higher
  • the waste heat of the engine 91 can be directly used by the heater core 17 while absorbing heat in the refrigeration cycle 21.
  • the combination of the first TC control and the second TH control is performed when it is estimated or determined that the cooler core blowing target temperature TCO is higher than the temperature of the device connected to the cooler core 16.
  • the combination of the first TC control and the second TH control is performed when the cooling water temperature in the device connected to the heater core 17 exceeds a predetermined temperature (for example, 55 ° C.).
  • a predetermined temperature for example, 55 ° C.
  • the power-saving dehumidifying heating / cooling mode is an operation mode in which the cooling air and the dehumidified air are reheated using the waste heat of the engine 91 and the waste heat of various devices while cooling and dehumidifying using the cold heat of the regenerator. It is.
  • the combination of 2nd TC control and 1st TH control is implemented when the cooling water temperature in the apparatus connected to the cooler core 16 is less than 0 degreeC. By interrupting (turning on / off) the flow of the cooling water with respect to the cooler core 16, frost (frosting) of the cooler core 16 can be suppressed.
  • the combination of the second TC control and the first TH control is performed when the temperature of the cooling water in the device connected to the heater core 17 exceeds a predetermined temperature (for example, 55 ° C.).
  • a predetermined temperature for example, 55 ° C.
  • the combination of the second TC control and the first TH control is performed in the power saving dehumidifying heating mode or in the power saving dehumidifying heating / cooling mode.
  • the combination of the second TC control and the first TH control is performed in the engine endothermic heat pump mode and when the coolant temperature in the engine 91 is lower than the cooler core blowing target temperature TCO.
  • the device connected to the heater core 17 may be the engine 91.
  • the engine 91 may be provided with a second cooling water outlet to communicate with the heater core 17.
  • a predetermined temperature for example, 55 ° C. or higher
  • the waste heat of the engine 91 can be directly used by the heater core 17 while the refrigeration cycle 21 absorbs heat.
  • the combination of 2nd TC control and 2nd TH control is implemented when the cooling water temperature in the apparatus connected to the cooler core 16 is less than 0 degreeC. By interrupting (turning on / off) the flow of the cooling water with respect to the cooler core 16, frost (frosting) of the cooler core 16 can be suppressed.
  • the combination of the second TC control and the second TH control is performed when the cooling water temperature in the device connected to the heater core 17 exceeds a predetermined temperature (for example, 55 ° C.).
  • a predetermined temperature for example, 55 ° C.
  • the combination of the second TC control and the second TH control is performed in the power saving dehumidifying heating mode or in the power saving dehumidifying heating / cooling mode.
  • the first TC control and the fourth TH control are combined when the waste heat of the equipment connected to the cooler core 16 needs to be pumped up by the refrigeration cycle 21 in order to bring the heater core blowing temperature TH close to the heater core blowing target temperature THO. To be implemented.
  • the combination of the first TC control and the fourth TH control is performed when the deviation between the temperature related to the temperature TC of the blown air cooled by the cooler core 16 and the first target temperature TCO does not exceed a predetermined amount.
  • the combination of the first TC control and the fourth TH control is performed when the deviation between the heater core blowing temperature TH and the heater core blowing target temperature THO exceeds a predetermined amount. Since the rotation speed of the compressor 22 is controlled so that the heater core blowing temperature TH approaches the heater core blowing target temperature THO, the followability of the heater core blowing temperature TH can be improved with respect to temperature fluctuations.
  • the combination of 2nd TC control and 4th TH control is implemented when the cooling water temperature in the apparatus connected to the cooler core 16 is less than 0 degreeC. By interrupting (turning on / off) the flow of the cooling water with respect to the cooler core 16, frost (frosting) of the cooler core 16 can be suppressed.
  • the combination of the third TC control and the fourth TH control is performed when the deviation between the heater core blowing temperature TH and the heater core blowing target temperature THO exceeds a predetermined amount. Since the rotation speed of the compressor 22 is controlled so that the heater core blowing temperature TH approaches the heater core blowing target temperature THO, the followability of the heater core blowing temperature TH can be improved with respect to temperature fluctuations.
  • the combination of the third TC control and the fourth TH control is performed when the mode is switched to the heat dissipation mode in step S180 of the first embodiment.
  • the radiator 13 can dissipate heat to the outside air, and the temperature of the cooler core 16 and the temperature of the heater core 17 can be appropriately controlled.
  • the combination of the third TC control and the fourth TH control is performed when the deviation between the cooler core blowing temperature TC and the cooler core blowing target temperature TCO does not exceed a predetermined amount.
  • the combination of the fourth TC control and the first TH control is performed when the deviation between the cooler core blowing temperature TC and the cooler core blowing target temperature TCO exceeds a predetermined amount. Since the rotation speed of the compressor 22 is controlled so that the cooler core blowing temperature TC approaches the cooler core blowing target temperature TCO, the followability of the cooler core blowing temperature TC can be enhanced with respect to temperature fluctuations.
  • the combination of the fourth TC control and the first TH control is performed when the deviation between the heater core blowing temperature TH and the heater core blowing target temperature THO does not exceed a predetermined amount.
  • the combination of the second TC control and the second TH control is performed when the coolant temperature in the device connected to the heater core 17 exceeds a predetermined temperature (for example, 55 ° C.).
  • a predetermined temperature for example, 55 ° C.
  • the combination of the fourth TC control and the third TH control is performed when the deviation between the cooler core blowing temperature TC and the cooler core blowing target temperature TCO exceeds a predetermined amount. Since the rotation speed of the compressor 22 is controlled so that the cooler core blowing temperature TC approaches the cooler core blowing target temperature TCO, the followability of the cooler core blowing temperature TC can be enhanced with respect to temperature fluctuations.
  • the combination of the fourth TC control and the third TH control is performed when the heat absorption mode is switched in step S190 of the first embodiment.
  • the radiator 13 can absorb heat from outside air to ensure the amount of heat for heating, and the temperature of the cooler core 16 and the temperature of the heater core 17 can be appropriately controlled.
  • the combination of the fourth TC control and the third TH control is performed when the deviation between the heater core blowing temperature TH and the heater core blowing target temperature THO does not exceed a predetermined amount.
  • the compressor 22 is an electric compressor, for example, there are the following cases (1) to (11).
  • (1) A case where an upper limit is set for the maximum number of rotations of the compressor 22 in order to satisfy the demand for vibration noise. Mainly during air conditioning during idle stop.
  • (2) When the rotational speed of the compressor 22 is limited so that the discharge pressure of the compressor 22 does not exceed a predetermined value (for example, 2.6 to 3 MPa).
  • (3) When limiting the rotation speed of the compressor 22 so that the discharge temperature of the compressor 22 does not exceed a predetermined value (for example, 120 ° C.) for the purpose of protecting the O-ring of the compressor 22.
  • the suction temperature of the compressor 22 does not fall below a predetermined value (eg, ⁇ 30 ° C.) in order to prevent the hardness of the O-ring of the compressor 22 from increasing and cracking of the O-ring and deterioration of the sealing performance.
  • a predetermined value eg, ⁇ 30 ° C.
  • the rotational speed of the compressor 22 depends on the rotational speed of the engine 91, and only the compressor 22 can be controlled on and off in the first place.
  • the rotational speed of the compressor 22 is controlled regardless of the cooler core blowing temperature TC and the heater core blowing temperature TH.
  • the control device 60 switches the first to fourth TC controls and the first to fourth TH controls described above according to various conditions.
  • control device 60 performs control to bring the blown air temperature TAV closer to the target blown air temperature TAO.
  • the blown air temperature TAV is brought close to the target blown air temperature TAO by controlling the air volume of the indoor blower 54 and the operation of the air mix door 55.
  • the air mix door 55 operates quickly to suppress the change in the blowing temperature. That is, the control delay due to the heat mass (heat capacity) of the cooling water and the refrigerant is covered.
  • the air mix door 55 can be provided when a fluctuation occurs such that the blown air temperature TAV is lower than the target blown air temperature TAO if the heater core bypass passage 51a is slightly opened without being fully closed.
  • the air temperature TAV fluctuates below the target air temperature TAO, the air temperature TAV can be increased by the auxiliary heater 101.
  • the air mix door 55 is operated so that the air volume in the heater core bypass passage 51a is increased.
  • first TC control When dehumidification is performed in the engine heat absorption heat pump mode by connecting the cooler core 16, the cooling water cooling water heat exchanger 81C, and the cooling water cooler 14, and connecting the heater core 17, the cooling water heater 15, the inverter 81B, and the like.
  • the first TC control is performed so that the cooler core blowing temperature TC is 0 ° C.
  • the first TH control is performed so that the heater core blowing temperature TH is a predetermined temperature (for example, 55 ° C.).
  • the rotation speed of the compressor 22 may be controlled.
  • Cooling water heated by the cooling water heater 15 by connecting the cooler core 16, the cooling water cooling water heat exchanger 81 ⁇ / b> C, and the cooling water cooler 14, and connecting the heater core 17 and the cooling water heater 15.
  • the second TH control is performed so as to reduce the flow rate of the cooling water in the heater core 17, thereby preventing the heater core blowing temperature TH from exceeding the heater core blowing target temperature THO.
  • the first TH control is performed so that the heater core blowing temperature TH becomes a predetermined temperature (for example, 55 ° C.).
  • the rotation speed of the compressor 22 may be controlled.
  • the heater core blowing temperature TH is brought close to the heater core blowing target temperature THO, but the blown air temperature TAV may be brought close to the target blowing air temperature TAO.
  • the control device 60 sets the TH of the blown air heated by the heater core 17.
  • the flow rate of the cooling water flowing through the heat transfer devices 13 and 81 is adjusted so that the related temperature approaches the second target temperature THO (first TH control).
  • the control device 60 adjusts the flow rate of the refrigerant discharged from the compressor 22 so that the temperature related to the temperature TC of the blown air cooled by the cooler core 16 approaches the first target temperature TCO (fourth TC control). .
  • the heat transfer devices 13 and 81 can be heated with the amount of heat collected from the air blown by the cooler core 16, and the temperature of the cooler core 16 and the temperature of the heater core 17 can be appropriately controlled.
  • the control device 60 in the radiator 13, when the heat of the cooling water heated by the cooling water heater 15 is radiated to the outside air, the control device 60 has a temperature TC related to the temperature of the blown air cooled by the cooler core 16. The flow rate of at least one of the cooling water flowing through the radiator 13 and the outside air is adjusted so as to approach the first target temperature TCO (third TC control). Further, the control device 60 adjusts the flow rate of the refrigerant discharged from the compressor 22 so that the temperatures related to the temperatures TH and TAV of the blown air heated by the heater core 17 approach the second target temperatures THO and TAO ( 4th TH control).
  • the temperature of the cooler core 16 and the temperature of the heater core 17 can be appropriately controlled.
  • the temperature of the heater core 17 is controlled by the refrigerant flow rate, the temperature followability of the heater core 17 can be improved.
  • the control device 60 uses the temperature TH related to the temperature of the blown air heated by the heater core 17, The flow rate of at least one of the cooling water and the outside air flowing through the radiator 13 is adjusted so that the TAV approaches the second target temperatures THO and TAO (third TH control). Furthermore, the control device 60 adjusts the flow rate of the refrigerant discharged from the compressor 22 so that the temperature related to the temperature TC of the blown air cooled by the cooler core 16 approaches the first target temperature TCO (fourth TC control). .
  • the temperature of the cooler core 16 and the temperature of the heater core 17 can be appropriately controlled.
  • the temperature of the cooler core 16 is controlled by the refrigerant flow rate, the followability of the temperature of the cooler core 16 can be improved.
  • the first switching valve 18 and the second switching valve 18 switches the radiator 13 to a state where the cooling water cooled by the cooling water cooler 14 flows (heat absorption mode). Further, the control device 60 controls at least one of the cooling water and the outside air flowing through the radiator 13 so that the temperatures TH and TAV related to the temperature of the blown air heated by the heater core 17 approach the second target temperatures THO and TAO.
  • the flow rate is adjusted (third TH control), and the flow rate of the refrigerant discharged from the compressor 22 is adjusted so that the temperature related to the temperature TC of the blown air cooled by the cooler core 16 approaches the first target temperature TCO ( (4th TC control).
  • the radiator 13 can absorb heat from the outside air to ensure the amount of heat for heating, and the temperature of the cooler core 16 and the temperature of the heater core 17 can be appropriately controlled.
  • the first switching valve 18 and the second switching valve 18 switches the radiator 13 to a state in which the cooling water heated by the cooling water heater 15 flows (heat radiation mode). Further, the control device 60 adjusts the flow rate of at least one of the cooling water flowing through the radiator 13 and the outside air so that the temperature related to the temperature TC of the blown air cooled by the cooler core 16 approaches the first target temperature TCO.
  • the radiator 13 can radiate heat to the outside air, and the temperature of the cooler core 16 and the temperature of the heater core 17 can be appropriately controlled.
  • the control device 60 determines that the temperature related to the temperature TC of the blown air cooled by the cooler core 16 is the first target temperature.
  • the flow rate of at least one of the cooling water flowing through the radiator 13 and the outside air is adjusted so as to approach the TCO (third TC control).
  • control device 60 adjusts the flow rate of the refrigerant discharged from the compressor 22 so that the temperatures related to the temperatures TH and TAV of the blown air heated by the heater core 17 approach the second target temperatures THO and TAO. (4th TH control).
  • the control device 60 determines the temperature TH of the blown air heated by the heater core 17. The flow rate of at least one of the cooling water flowing through the radiator 13 and the outside air is adjusted so that the temperature related to TAV approaches the second target temperatures THO and TAO (first TH control). Further, the control device 60 adjusts the flow rate of the refrigerant discharged from the compressor 22 so that the temperature related to the temperature TC of the blown air cooled by the cooler core 16 approaches the first target temperature TCO (fourth TC control). ).
  • the temperature followability of the cooler core 16 can be improved.
  • the control device 60 when the cooling water heated by the cooling water heater 15 flows to the radiator 13, the temperature related to the temperatures TH and TAV of the blown air heated by the heater core 17 and the second When the deviation from the target temperatures THO and TAO does not exceed the predetermined amount, or when it is estimated or determined that the deviation does not exceed the predetermined amount, the control device 60 relates to the temperatures TH and TAV of the blown air heated by the heater core 17. The flow rate of at least one of the cooling water and the outside air flowing through the radiator 13 is adjusted so that the temperature approaches the second target temperatures THO and TAO (first TH control). Further, the control device 60 adjusts the flow rate of the refrigerant discharged from the compressor 22 so that the temperature related to the temperature TC of the blown air cooled by the cooler core 16 approaches the first target temperature TCO (fourth TC control). ).
  • the control device 60 adjusts the flow rate of at least one of the cooling water and the outside air flowing through the radiator 13 so that the temperature related to the temperature TC of the blown air cooled by the cooler core 16 approaches the first target temperature TCO (first). 3TC control). Further, the control device 60 adjusts the flow rate of the refrigerant discharged from the compressor 22 so that the temperatures related to the temperatures TH and TAV of the blown air heated by the heater core 17 approach the second target temperatures THO and TAO ( 4th TH control).
  • the temperature of the heater core 17 is controlled by the refrigerant flow rate. Therefore, the followability of the temperature of the heater core 17 can be improved.
  • the air conditioning comfort can be improved.
  • the control device 60 determines that the temperature related to the temperature TC of the blown air cooled by the cooler core 16 is the first target temperature.
  • the flow rate of at least one of the cooling water flowing through the radiator 13 and the outside air is adjusted so as to approach the TCO (first TC control).
  • control device 60 adjusts the flow rate of the refrigerant discharged from the compressor 22 so that the temperatures related to the temperatures TH and TAV of the blown air heated by the heater core 17 approach the second target temperatures THO and TAO ( 4th TH control).
  • the control device 60 adjusts the flow rate of the refrigerant discharged from the compressor 22 so that the temperature related to the temperature TC of the blown air cooled by the cooler core 16 approaches the first target temperature TCO (fourth TC control). .
  • the temperature of the cooler core 16 is controlled by the refrigerant flow rate. It is possible to improve the temperature followability.
  • the control device 60 when the cooling water cooled by the cooling water cooler 14 flows through the radiator 13, the temperature related to the temperatures TH and TAV of the blown air heated by the heater core 17 and the second When the deviation from the target temperatures THO and TAO does not exceed a predetermined amount, the control device 60 causes the temperatures related to the temperatures TH and TAV of the blown air heated by the heater core 17 to approach the second target temperatures THO and TAO. In addition, the flow rate of at least one of the cooling water and the outside air flowing through the radiator 13 is adjusted (third TH control). Further, the control device 60 adjusts the flow rate of the refrigerant discharged from the compressor 22 so that the temperature related to the temperature TC of the blown air cooled by the cooler core 16 approaches the first target temperature TCO (fourth TC control). .
  • the control device 60 sends the blown air cooled by the cooler core 16.
  • the flow rate of at least one of the cooling water and the outside air flowing through the radiator 13 is adjusted so that the temperature related to the air temperature TC approaches the first target temperature TCO (first TC control).
  • the control device 60 adjusts the flow rate of the refrigerant discharged from the compressor 22 so that the temperatures related to the temperatures TH and TAV of the blown air heated by the heater core 17 approach the second target temperatures THO and TAO ( 4th TH control).
  • the temperature of the heater core 17 is controlled by the refrigerant flow rate. Therefore, the followability of the temperature of the heater core 17 can be improved.
  • the air conditioning comfort can be improved.
  • control device 60 bypasses the blower air flowing through the heater core 17 and the heater core 17 out of the blown air cooled by the cooler core 16 so that the temperature related to the blown air temperature TAV approaches the third target temperature TAO.
  • the air volume ratio with the flowing air is adjusted. Thereby, the blowing air temperature TAV can be appropriately controlled.
  • control device 60 adjusts the air volume of the blown air so that the temperature related to the blown air temperature TAV approaches the third target temperature TAO. Thereby, the blowing air temperature TAV can be appropriately controlled.
  • control device 60 adjusts the ratio of the inside air and the outside air in the blown air so that the temperature related to the blown air temperature TAV approaches the third target temperature TAO. Thereby, the blowing air temperature TAV can be appropriately controlled.
  • control device 60 adjusts the heat generation amount of the electric heater 101 so that the temperature related to the blown air temperature TAV approaches the third target temperature TAO. Thereby, the blowing air temperature TAV can be appropriately controlled.
  • the cooling water cooling water heat exchanger 81C exchanges heat between the cooling water cooled by the cooling water cooler 14 and the engine cooling water that has circulated through the engine 91. For this reason, the heat pump operation (engine heat absorption heat pump mode) which pumps up the heat of the engine 91 can be realized.
  • the cooling water cooling water heat exchanger 81C is arranged in the cooling water cooling water heat exchanger flow path 80C, but the engine 91 itself is cooled by cooling water instead of the cooling water cooling water heat exchanger 81C.
  • the cooling water that is disposed in the water heat exchanger flow path 80 ⁇ / b> C and that is temperature-adjusted by the cooling water cooler 14 or the cooling water heater 15 may flow through the cooling water flow path of the engine 91.
  • the first switching valve 18 and the second switching valve 19 are configured so that the cooling water cooled by the cooling water cooler 14 flows into the radiator 13 and the cooling water cooled by the cooling water cooler 14 is heated. The state flowing to the delivery devices 13 and 81 is switched.
  • the first switching valve 18 and the second switching valve 19 are heated by the heat transfer devices 13 and 81 and the state where the cooling water heated by the heat transfer devices 13 and 81 flows to the cooling water cooler 14. The state in which the cooling water flows to the heater core 17 is switched.
  • the engine 22 When it is not necessary to operate the compressor 22 according to the engine operating state, the engine 22 is switched to the engine waste heat direct use mode, and the cooling water heated by the waste heat of the engine 91 is caused to flow directly to the heater core 17. It is possible to reduce fuel consumption.
  • the first switching valve 18 and the second switching valve 19 are in a state where the cooling water heated by the cooling water heater 15 flows into the heater core 17 and the cooling water heated by the heat transfer devices 13 and 81. The state of flowing through the heater core 17 is switched.
  • a heat transfer device that performs heat transfer between the radiator 13 and the device 81 (81A, 81B, 81C) and the cooling water circulated by the first pump 11 is referred to as a first heat transfer device.
  • a heat transfer device that transfers heat to and from the cooling water circulated by the pump 12 is referred to as a second heat transfer device.
  • the controller 60 heats the cooling water in the first heat transfer devices 13 and 81 so that the temperature related to the temperature TC of the blown air cooled by the cooler core 16 approaches the first target temperature TCO.
  • the amount exchanged or the heat exchange capacity of the cooler core 16 is adjusted (first TC control, second TC control).
  • the control device 60 heats the cooling water in the second heat transfer devices 13 and 81 so that the temperatures related to the temperatures TH and TAV of the blown air heated by the heater core 17 approach the second target temperatures THO and TAO.
  • the amount exchanged or the heat exchange capacity of the heater core 17 is adjusted (first TH control, second TH control).
  • both the temperature of the cooler core 16 and the temperature of the heater core 17 can be appropriately controlled.
  • the cooler core 16 cools the blown air with the cooling water cooled by the cooling water cooler 14 of the refrigeration cycle 21, and the heater core 17 is the cooling water heated by the cooling water heater 15 of the refrigeration cycle 21. And has a cooling water flow mode for heating the blown air.
  • the control device 60 performs the heat exchange capability of the cooler core 16 or the second heat transfer so that the temperature related to the temperature TC of the blown air cooled by the cooler core 16 approaches the first target temperature TCO.
  • the amount of heat exchanged with the cooling water in the devices 13 and 81 is adjusted (second TC control, third TC control).
  • the control device 60 also performs heat exchange capability of the heater core 17 or first heat transfer so that the temperature related to the temperature TH and TAV of the blown air heat exchanged by the heater core 17 approaches the second target temperature THO and TAO.
  • the amount of heat exchanged with the cooling water in the devices 13 and 81 is adjusted (second TH control, third TH control).
  • both the temperature of the cooler core 16 and the temperature of the heater core 17 can be appropriately controlled.
  • control device 60 adjusts the amount of heat exchanged with the cooling water in the first heat transfer devices 13 and 81 by adjusting the flow rate of the cooling water in the first heat transfer devices 13 and 81 (first TC control, (3rd TH control).
  • control device 60 adjusts the heat transfer amount with the cooling water in the first heat transfer devices 13 and 81 by adjusting the heat generation amount of the first heat transfer devices 13 and 81 (first TC control, third TH control).
  • control device 60 adjusts the heat exchange capacity of the cooler core 16 by adjusting the flow rate of the cooling water in the cooler core 16 (second TC control).
  • control device 60 adjusts the heat exchange capacity of the cooler core 16 by adjusting the air volume of the blown air in the cooler core 16 (second TC control).
  • control device 60 adjusts the amount of heat exchanged with the cooling water in the second heat transfer devices 13 and 81 by adjusting the flow rate of the cooling water in the second heat transfer devices 13 and 81 (third TC control, First TH control).
  • control device 60 adjusts the heat transfer amount with the cooling water in the second heat transfer device 13, 81 by adjusting the heat generation amount of the second heat transfer device 13, 81 (third TC control, first TH control).
  • control device 60 adjusts the heat exchange capacity of the heater core 17 by adjusting the flow rate of the cooling water in the heater core 17 (second TH control).
  • control device 60 adjusts the heat exchange capacity of the heater core 17 by adjusting the air volume of the blown air in the heater core 17 (second TH control).
  • the control device 60 sets the rotation speed of the compressor 22. Control within a predetermined range. Thereby, it is possible to appropriately control both the temperature of the cooler core 16 and the temperature of the heater core 17 while preventing the control hunting of the compressor 22.
  • any one of the temperatures related to the cooler core blowing temperature TC, the temperature related to the heater core blowing temperature TH, and the temperature related to the blowing air temperature TAV (hereinafter referred to as reference temperature) is the first. 4
  • the control device 60 adjusts the flow rate of the refrigerant discharged from the compressor 22 so as to approach the target temperatures TCO, THO, and TAO, or when the adjustment starts, the control device 60 cools with the cooler core 16.
  • the temperature other than the reference temperature among the temperature related to the temperature TC of the blown air, the temperature TH of the blown air heated by the heater core 17, the temperature related to TAV, and the temperature related to the blown air temperature TAV is set to a fifth temperature.
  • any one of the cooler core blowing temperature TC, the heater core blowing temperature TH, and the blown air temperature TAV can be controlled by the refrigerant flow rate to improve the temperature followability, thereby improving the air conditioning comfort.
  • the 1st switching valve 18 and the 2nd switching valve 19 are the heat for cooling water cooling about at least one heat transfer apparatus among the 1st heat transfer apparatuses 13 and 81 and the 2nd heat transfer apparatuses 13 and 81.
  • the state where the cooling water cooled by the exchanger 14 flows and the state where the cooling water heated by the cooling water heating heat exchanger 15 flows are switched.
  • the first heat transfer device in the present embodiment is, for example, a cooling water cooling water heat exchanger that exchanges heat between the cooling water cooled by the cooling water cooling heat exchanger 14 and the cooling water for the engine that has passed through the engine 91. 81C.
  • the temperature of the cooler core 16 can be appropriately controlled during the operation of the heat pump that absorbs the waste heat of the engine 91. Moreover, since the cooling water temperature in the cooling water cooler 14 can be raised moderately even at the time of low outside air temperature, high COP heating can be realized.
  • the 1st heat transfer apparatus in this embodiment has a flow path through which the cooling water temperature-controlled with the cooling water temperature adjustment heat exchangers 14 and 15 cooled with the cooling water cooling heat exchanger 14 flows, for example.
  • the engine 91 may be used.
  • the first switching valve 18 and the second switching valve 19 are configured such that the cooling water cooled by the cooling water cooling heat exchanger 14 flows to one of the radiator 13 and the first heat transfer device 81 and to the other. Switching between a state that does not flow and a state that flows to the other side and does not flow to the other side.
  • the first heat transfer device 81 when the first heat transfer device 81 is heating the cooling water, it is possible to switch between the outdoor air endothermic heat pump mode and the device endothermic heat pump mode (engine endothermic heat pump mode).
  • the cooling water that has flowed through the first heat transfer device 81 flows to one of the heater core 17 and the cooling water cooling heat exchanger 14 and to the other. Switching between a state that does not flow and a state that flows to the other side and does not flow to the other side.
  • an engine waste heat direct use mode (equipment waste heat direct use mode)
  • an engine endothermic heat pump mode apparatus endothermic heat pump mode
  • the first switching valve 18 and the second switching valve 19 circulate cooling water between one of the first heat transfer device 81 and the second heat transfer device 81 and the heater core 17. And a state in which the cooling water cooled by the cooling water cooling heat exchanger 14 flows to the radiator 13.
  • the heat transfer devices 18 and 31 that transfer heat to and from the cooling water circulated by one of the first pump 11 and the second pump 12 are referred to as the first heat transfer device, and the other pump.
  • the heat transfer devices 18 and 31 that transfer heat to and from the cooling water circulated by are referred to as second heat transfer devices.
  • the heat exchanger that exchanges heat between the cooling water circulated by one of the cooler core 16 and the heater core 17 and the blown air is referred to as a first cooling water air heat exchanger (first heat medium air heat exchanger).
  • the heat exchanger that exchanges heat between the cooling water circulated by the other pump and the blown air is referred to as a second cooling water air heat exchanger (second heat medium air heat exchanger).
  • control device 60 is configured so that the temperatures related to the temperature TC and TH of the blown air adjusted in temperature by the first cooling water air heat exchangers 16 and 17 approach the first target temperatures TCO and THO.
  • the amount of heat exchanged with the cooling water in the first heat transfer device 13, 81 or the heat exchange capacity of the first cooling air heat exchangers 16, 17 is adjusted (first TC control, second TC control, first TH control, first 2TH control).
  • the temperature of the 1st cooling water air heat exchangers 16 and 17 can be controlled appropriately.
  • control device 60 adjusts the amount of heat exchanged with the cooling water in the first heat transfer devices 13 and 81 by adjusting the flow rate of the cooling water in the first heat transfer devices 13 and 81 (first TC control, First TH control).
  • the vehicle interior air temperature TAV can be controlled without using the air mix door 55. Therefore, since the air mix door 55 can be eliminated, the indoor air conditioning unit 50 can be downsized.
  • control device 60 adjusts the heat transfer amount with the cooling water in the first heat transfer devices 13 and 81 by adjusting the heat generation amount of the first heat transfer devices 13 and 81 (first TC control, first TH control).
  • control device 60 adjusts the heat exchange capacity of the first cooling water air heat exchangers 16 and 17 by adjusting the flow rate of the cooling water in the first cooling water air heat exchangers 16 and 17 (second TC). Control, second TH control).
  • control device 60 adjusts the heat exchange capacity of the first cooling water air heat exchangers 16 and 17 by adjusting the air volume of the blown air in the first cooling water air heat exchangers 16 and 17 (second TC). Control, second TH control).
  • the control device 60 sets the temperature related to the temperature TC of the blown air cooled by the first cooling water air heat exchanger 16 to the first temperature. It approaches the target temperature TCO (first TC control, second TC control).
  • the temperature of the cooler core 16 can be appropriately controlled.
  • the control device 60 sets the temperatures related to the temperatures TH and TAV of the blown air heated by the first cooling water air heat exchanger 17. It approaches the first target temperatures THO and TAO (first TH control and second TH control).
  • the temperature of the heater core 17 can be appropriately controlled.
  • one of the cooling water cooled by the cooling water cooler 14 of the refrigeration cycle 21 and the cooling water heated by the cooling water heater 15 of the refrigeration cycle 21 is the first cooling water air heat.
  • the control device 60 causes the temperatures related to the temperatures TC and TH of the blown air adjusted in temperature by the first cooling water air heat exchangers 16 and 17 to approach the first target temperatures TCO and THO.
  • the amount of heat exchanged with the cooling water in the second heat exchange device 13, 81 is adjusted (third TC control, third TH control).
  • the control device 60 rotates the rotational speed of the compressor 22 of the refrigeration cycle 21. Is controlled within a predetermined range.
  • the temperature of the first cooling water air heat exchangers 16 and 17 can be appropriately controlled while preventing the control hunting of the compressor 22.
  • the control device 60 switches between the first control mode and the second control mode.
  • the first control mode is a combination of the fourth TC control and the first to third TH controls, or a combination of the fourth TH control and the first to third TC controls.
  • the second control mode is a combination of the first to third TC controls and the first to third TH controls.
  • the temperature of the first cooling water air heat exchangers 16 and 17 or the temperature of the second cooling water air heat exchangers 16 and 17 is controlled by the refrigerant flow rate to improve the temperature followability. Air conditioning comfort can be improved.
  • the 1st switching valve 18 and the 2nd switching valve 19 are the cooling water cooler 14 about at least one heat transfer apparatus among the 1st heat transfer apparatuses 13 and 81 and the 2nd heat transfer apparatuses 13 and 81.
  • the state where the cooling water cooled by the flow of the cooling water and the state where the cooling water heated by the cooling water heater 15 flows are switched.
  • the operation mode for heating the devices 13 and 81 can be switched.
  • the first heat transfer device is a cooling water outdoor air heat exchanger 13 that exchanges sensible heat between the cooling water cooled by the cooling water cooling heat exchanger 14 and the outside air
  • the second heat transfer device is cooling water.
  • This is a cooling water cooling water heat exchanger 81 ⁇ / b> C that exchanges heat between the cooling water heated by the heating heat exchanger 15 and the engine cooling water circulating in the engine 91.
  • the engine 91 can be heated by absorbing heat from outside air, the engine warm-up performance can be improved and the fuel consumption can be improved.
  • the first heat transfer device is a cooling water outdoor air heat exchanger 13 that exchanges sensible heat between the cooling water cooled by the cooling water cooling heat exchanger 14 and the outside air
  • the second heat transfer device is cooling water.
  • An engine 91 having a flow path through which the cooling water heated by the heating heat exchanger 15 flows.
  • the engine 91 can be heated by absorbing heat from outside air, the engine warm-up performance can be improved and the fuel consumption can be improved.
  • the first cooling water air heat exchanger 16 cools the blown air by causing sensible heat exchange between the cooling water cooled by the cooling water cooling heat exchanger 14 and the blown air. At least one of the first heat transfer devices 13 and 81 and the second heat transfer devices 13 and 81 performs heat transfer with the cooling water heated by the cooling water heating heat exchanger 15.
  • the controller 60 starts from the compressor 22 so that the temperature related to the temperature TC of the blown air cooled by the first cooling water air heat exchanger 16 approaches the first target temperature TCO. The flow rate of the discharged refrigerant is adjusted.
  • the second heat transfer devices 13 and 81 can be heated by cooling waste heat (heat absorbed from the air blown into the vehicle interior and heat added to the electrical equipment waste heat or mechanical loss of the compressor 22), Since the temperature followability can be improved by controlling the temperature of the first cooling water air heat exchanger 16 using the refrigerant flow rate, the air conditioning comfort can be improved.
  • the first cooling water air heat exchanger 17 heats the blowing air by sensible heat exchange between the cooling water heated by the cooling water heating heat exchanger 15 and the blowing air. At least one of the first heat transfer devices 13 and 81 and the second heat transfer devices 13 and 81 performs heat transfer with the cooling water cooled by the cooling water cooling heat exchanger 14.
  • the control device 60 starts from the compressor 22 so that the temperature related to the temperature TH of the blown air heated by the first cooling water air heat exchanger 17 approaches the first target temperature THO. The flow rate of the discharged refrigerant is adjusted.
  • the heat of at least one heat transfer device can be absorbed and used for vehicle interior heating, and the temperature followability can be improved by controlling the temperature of the first cooling water air heat exchanger 17 using the refrigerant flow rate. Air conditioning comfort can be improved.
  • the first cooling water air heat exchanger 17 heats the blowing air by sensible heat exchange between the cooling water heated by the cooling water heating heat exchanger 15 and the blowing air.
  • the first heat transfer device 13 is a cooling water outdoor air heat exchanger that exchanges sensible heat between the cooling water and the outside air.
  • the second heat transfer device 81 is a device that heats the cooling water
  • the first switching valve is used.
  • 18 and the second switching valve 19 include a state in which the cooling water cooled by the cooling water cooling heat exchanger 14 flows through the first heat transfer device 13 and the cooling water cooled by the cooling water cooling heat exchanger 14. The state of flowing through the second heat transfer device 81 is switched.
  • the 1st switching valve 18 and the 2nd switching valve 19 are the 1st heat transfer apparatus 81 and 1st cooling water air heat exchange.
  • the state in which the cooling water circulates between the units 17 and the state in which the cooling water cooled by the cooling water cooling heat exchanger 14 flows through the first heat transfer device 13 are switched.
  • a device waste heat direct use mode in which the cooling water heated by the first heat transfer device 81 flows directly to the first cooling water air heat exchanger 17 to heat the vehicle interior, and the first heat transfer device 81 is discarded. It is possible to switch between an equipment endothermic heat pump mode that heats the passenger compartment by a heat pump operation that pumps up heat.
  • the first heat transfer device 13 is a cooling water outdoor air heat exchanger that exchanges sensible heat between cooling water and outside air
  • the second heat transfer device 81 is a device that heats cooling water.
  • the first switching valve 18 and the second switching valve 19 are configured such that the cooling water cooled by the cooling water cooling heat exchanger 14 flows through the first heat transfer device 13, the second heat transfer device 81, and the first cooling water. The state in which the cooling water circulates with the air heat exchanger 17 is switched.
  • the outside air endothermic heat pump mode in which the vehicle interior is heated by a heat pump operation that pumps up the heat of the outside air, and the cooling water heated by the second heat transfer device 81 is directly flowed to the first cooling water air heat exchanger 17 to flow inside the vehicle interior. It is possible to switch between the equipment waste heat direct use mode for heating the appliance.
  • the first heat transfer device 81 is a rear-seat heat exchanger that exchanges sensible heat between the blown air blown toward the passenger in the rear seat of the vehicle and the cooling water.
  • the air blown toward the passenger in the rear seat of the vehicle can be cooled and heated by the single heat exchanger 81 for the rear seat, so that the heat exchanger for cooling and the heat exchanger for heating are separately provided.
  • the configuration can be simplified as compared with the case of providing. Further, the temperature can be adjusted without using an air mix door.
  • the first heat transfer device 81 is a battery temperature control heat exchanger that adjusts the temperature of the battery by sensible heat exchange between the battery mounted on the vehicle and the cooling water.
  • the configuration can be simplified as compared with the case where the heat transfer device for cooling and the heat transfer device for heating are provided separately.
  • each cooling water flow mode may be switched under the following conditions.
  • Engine water temperature conditions When the engine water temperature is lower than a predetermined temperature (for example, 40 ° C.), the engine heating heat pump mode may be switched. When the cooling water temperature on the outlet side of the cooling water heater 15 is higher than the engine water temperature, the engine heating heat pump mode may be switched.
  • a predetermined temperature for example, 40 ° C.
  • the engine water temperature When the engine water temperature is equal to or higher than the predetermined temperature, it may be switched to the equipment heating mode. For example, when the engine water temperature is 0 ° C. or higher, the battery may be warmed up by switching to the device heating mode. For example, when the engine water temperature is equal to or higher than the cooling water temperature in the cooling water circuit on the cooling water heater 15 side, the cooling water heater 15 may be preheated by switching to the device heating mode.
  • the engine water temperature When the engine water temperature is lower than a predetermined temperature (for example, outside air temperature + ⁇ ° C.), it may be switched to the heat mass utilization cooling mode.
  • a predetermined temperature for example, outside air temperature + ⁇ ° C.
  • the engine endothermic heat pump mode when the increase amount per unit time of the engine water temperature exceeds a predetermined amount, the engine endothermic heat pump mode may be switched.
  • the engine endothermic heat pump mode when the amount of decrease in the engine water temperature per unit time exceeds a predetermined amount, it may be switched to the outside air endothermic heat pump mode.
  • the engine heat absorption heat pump mode when the amount of decrease in the engine water temperature per unit time exceeds a predetermined amount, the engine heat absorption heat pump mode may be switched.
  • engine waste heat amount When the amount of heat given to the cooling water from the engine 91 (hereinafter referred to as engine waste heat amount) is less than a predetermined amount (a heat absorption amount necessary for heat pump heating), it may be switched to the outside air endothermic heat pump mode.
  • the engine endothermic heat pump mode may be switched.
  • the amount of engine waste heat is equal to or greater than a predetermined amount (the amount of heat absorbed for heat pump heating), it may be switched to the device heating mode.
  • the engine waste heat amount is less than a predetermined amount (heat absorption amount necessary for heat pump heating), it may be switched to the cooling mode using the heat mass.
  • the amount of heat absorption necessary for heat pump heating can be estimated from the amount of heat required for heating.
  • the required heating amount of heating is calculated from the room temperature setting value (manual setting or automatic setting by the passenger), the vehicle interior temperature, the vehicle speed, the outside air temperature, etc., and further the vehicle speed (physical amount related to the wind speed in the radiator 13), the outside air temperature Based on the estimated amount of frost formation and the capacity of the compressor 22, the amount of heat absorption necessary for heat pump heating can be calculated.
  • the estimated amount of frost formation can be estimated based on the outside air temperature, the heating operation time, the cooling water temperature in the radiator 13, the air humidity, and the like.
  • the estimated amount of frost formation may be calculated based on the frost formation determination map.
  • the capacity value of the compressor 22 can be estimated based on the suction refrigerant temperature, the discharge refrigerant temperature, and the rotation speed.
  • the capacity value of the compressor 22 may be calculated based on the map.
  • the endothermic amount necessary for heat pump heating may be calculated based on a map represented by the relationship between the outside air temperature, the vehicle speed, the water temperature, the heating request, and the current heating capacity.
  • Each mode may be switched according to the amount of heat generated by the device 81 instead of the amount of engine waste heat.
  • the amount of engine waste heat and the amount of heat generated by the device 81 can be estimated based on detection values of one or two cooling water temperature sensors.
  • the water temperature sensor is, for example, a cooling water temperature sensor in the engine 91 or a cooling water temperature sensor in the cooling water heater 15.
  • the engine waste heat amount and the heat generation amount of the device 81 can be estimated based on the gradient of the change amount of the cooling water temperature. For example, when the gradient of the change amount of the coolant temperature in the engine 91 exceeds a predetermined amount with a negative gradient, it can be estimated that the engine waste heat amount is less than the heat absorption amount necessary for heat pump heating.
  • the amount of engine waste heat and the amount of heat generated by the device 81 can be estimated from the running load.
  • the amount of engine waste heat and the amount of heat generated by the device 81 can be estimated from the vehicle running load.
  • the engine waste heat amount can be estimated based on the fuel consumption amount of the engine 91 and the sensor information value related to combustion.
  • the heat generation amount of the device 81 can be estimated from the energization amount of the device 81.
  • the amount of heat generated by the device 81 can be estimated based on power conversion efficiency, resistance value, power-power conversion efficiency, and the like.
  • the EV travel mode is a travel mode in which the vehicle travels mainly by the driving force of the travel electric motor.
  • the plug-in hybrid vehicle charges the battery (on-vehicle battery) from an external power source when the vehicle stops before the vehicle starts running, so that the remaining battery charge SOC of the battery is determined in advance as when starting running.
  • the amount is greater than or equal to the amount, the EV traveling mode in which traveling is performed mainly by the driving force of the traveling electric motor is set.
  • the vehicle is in the HV running mode in which the vehicle is driven mainly by the driving force of the engine 91.
  • the EV travel mode is a travel mode in which the vehicle travels mainly by the driving force output by the travel electric motor.
  • the engine 91 is operated. Assist the electric motor for traveling.
  • this is a traveling mode in which the traveling driving force (motor side driving force) output from the traveling electric motor is larger than the traveling driving force (engine side driving force) output from the engine 91.
  • the HV travel mode is a travel mode in which the vehicle travels mainly by the driving force output by the engine 91.
  • the travel electric motor is operated to operate the engine 91.
  • Assist That is, this is a travel mode in which the engine-side driving force is greater than the motor-side driving force.
  • Switching between the EV traveling mode and the HV traveling mode is controlled by a driving force control device (not shown).
  • the idle stop state is a state in which the engine 91 is temporarily stopped when the vehicle stops such as waiting for a signal.
  • the engine heat absorption heat pump mode may be switched.
  • the engine waste heat direct use mode may be switched.
  • the pre-heating is to heat the passenger compartment before the engine 91 is started.
  • the time average rotational speed of the engine 91 exceeds a predetermined amount, it may be switched to the engine waste heat direct use mode.
  • the engine 91 When the engine 91 is warmed up, it may be switched to the engine heating heat pump mode. While the engine 91 is stopped (EV traveling mode, idle stop, charging, etc.), the engine heating heat pump mode may be switched.
  • the engine 91 may be switched to the equipment heating mode, and when the engine 91 is stopped (when the vehicle is stopped), it may be switched to the engine waste heat direct use mode.
  • the engine 91 When the engine 91 is overheated, it may be switched to the engine waste heat direct use mode.
  • the battery may be switched to the outside air endothermic heat pump mode, the engine heating heat pump mode, or the heat mass utilization cooling mode.
  • the remaining battery charge SOC of the battery When the remaining battery charge SOC of the battery is below a predetermined amount (when the engine is mainly driven), it may be switched to the engine heat absorption heat pump mode, the engine waste heat direct use mode, or the equipment heating mode.
  • outside temperature conditions When the outside air temperature is lower than a predetermined temperature (for example, a very low temperature range such as ⁇ 20 ° C. or a temperature outside the heat pump operation guarantee), the engine heat absorption heat pump mode may be switched.
  • a predetermined temperature for example, a very low temperature range such as ⁇ 20 ° C. or a temperature outside the heat pump operation guarantee
  • the engine heating heat pump mode may be switched.
  • the low temperature side water temperature When the cooling water temperature in the cooling water circuit on the cooling water cooler 14 side (hereinafter referred to as the low temperature side water temperature) is lower than a predetermined temperature (less than -25 ° C, frost formation or lack of radiator capacity) in the outside air endothermic heat pump mode
  • the engine heat absorption heat pump mode may be switched to.
  • the engine may be switched to the outside air endothermic heat pump mode or the engine waste heat direct use mode.
  • the engine heat absorption heat pump mode may be switched.
  • the engine waste heat direct use mode may be switched.
  • the outdoor heat absorption heat pump mode, the engine heat absorption heat pump mode, and the engine waste heat direct use mode may be switched according to a switching signal (manual switching signal) in the maintenance mode.
  • the engine heating heat pump mode may be executed for a predetermined time after the engine 91 is started. After the engine 91 is started, the engine heating heat pump mode may be executed until the engine water temperature reaches a predetermined temperature.
  • the device heating mode may be executed for a certain time before the warm-up operation.
  • the equipment heating mode may be switched.
  • the cooling water system of the radiator 13 breaks down, it may be switched to the cooling mode using the heat mass.
  • the engine cooling circuit 90 is linked to the vehicle thermal management system 10 via the cooling water cooling water heat exchanger 81C. However, in this embodiment, as shown in FIG. The circuit 90 is linked to the vehicle thermal management system 10 via the flow path switching valve 120.
  • the heater core 17 and the flow path switching valve 120 are disposed in the circulation flow path 92 of the engine cooling circuit 90.
  • the flow path switching valve 120 is a four-way valve having four cooling water inlets / outlets 120a, 120b, 120c, and 120d.
  • the flow path switching valve 120 is disposed on the cooling water outlet side of the heater core 17 and the cooling water suction side of the third pump 93 in the circulation flow path 92. That is, the circulation flow path 92 is connected to the first cooling water inlet / outlet 120 a and the second cooling water inlet / outlet 120 b of the flow path switching valve 120.
  • the upstream portion 31a of the first pump flow path 31 is connected to the junction J1 of the engine auxiliary flow path 97 and the circulation flow path 92 of the engine cooling circuit 90.
  • the downstream portion 31b is connected to the third cooling water inlet / outlet 120c of the flow path switching valve 120.
  • the upstream portion 32 a of the second pump flow path 32 is connected to the cooling water outlet side of the engine 91 and the cooling water inlet side of the heater core 17 in the circulation flow path 92, and downstream of the second pump flow path 32.
  • the side portion 32b is connected to the fourth cooling water inlet / outlet 120d of the connection flow path switching valve 120.
  • the flow path switching valve 120 communicates the circulation flow path 92 connected to the second cooling water inlet / outlet 120b and the downstream portion 31b of the first pump flow path 31.
  • the circulation flow path 92 connected to the first cooling water inlet / outlet 120a and the downstream portion 31b of the second pump flow path 32 are communicated with each other. Thereby, the cooling water flows as shown by the one-dot chain line arrow and the solid line arrow in FIG.
  • the flow path switching valve 120 allows the circulation flow paths 92 and the downstream portion 31b of the second pump flow path 32 to communicate with each other so that the first pump flow path 31 is connected.
  • the downstream part 31b of is closed.
  • the flow path switching valve 120 adjusts the flow rate ratio of the cooling water distributed to the circulation flow path 92 side and the second pump flow path 32 side.
  • the flow path switching valve 120 causes the circulation flow paths 92 to communicate with each other, and the downstream portion 31b of the first pump flow path 31 and the second pump flow path.
  • the downstream part 32b of 32 is closed. Thereby, the cooling water flows as shown by the solid line arrow in FIG.
  • the first switching valve 18 has a first pump side valve body 185, a second pump side valve body 186, a cooler core side flow valve body 187, and a heater core side valve body 188. .
  • the first pump-side valve body 185 switches between the state in which the cooling water discharged from the first pump 11 flows and the state in which the cooling water discharged from the first pump 11 does not flow for each of the inverter 81B, the cooling water cooling water heat exchanger 81C, and the radiator 13, Adjust the coolant flow rate.
  • the second pump side valve body 186 switches between the state in which the cooling water discharged from the second pump 12 flows in and the state in which the cooling water discharged from the second pump 12 does not flow for each of the inverter 81B, the cooling water cooling water heat exchanger 81C, and the radiator 13, Adjust the coolant flow rate.
  • the cooler core side valve body 187 adjusts the flow rate of the cooling water flowing into the cooler core 16.
  • the heater core side flow valve body 188 adjusts the flow rate of the cooling water flowing into the heater core 17.
  • the second switching valve 19 includes a first pump side valve body 195 and a second pump side valve body 196.
  • the first pump side valve body 195 has a state in which the cooling water flowing out from the inverter 81B, the cooling water flowing out from the cooling water cooling water heat exchanger 81C, and the cooling water flowing out from the radiator 13 flow out to the first pump 11 side. While switching to a state where it does not flow out, the cooling water flow rate is adjusted.
  • the second pump side valve body 196 has a state in which the cooling water flowing out from the inverter 81B, the cooling water flowing out from the cooling water cooling water heat exchanger 81C, and the cooling water flowing out from the radiator 13 flow out to the second pump 12 side. Switch the state of not flowing out and adjust the cooling water flow rate.
  • the first switching valve 18 includes an inverter switching valve 131, a cooling water cooling water heat exchanger switching valve 132, a radiator switching valve 133, and a cooler core switching valve 134.
  • the inverter switching valve 131 includes a first pump side valve body 131a and a second pump side valve body 131b.
  • the first pump side valve body 131a intermittently flows the cooling water flow from the first pump 11 to the inverter 81B and adjusts the cooling water flow rate.
  • the second pump side valve body 131b intermittently flows the cooling water flow from the second pump 12 to the inverter 81B and adjusts the cooling water flow rate.
  • the cooling water / cooling water heat exchanger switching valve 132 includes a first pump side valve body 132a and a second pump side valve body 132b.
  • the first pump-side valve body 132a intermittently flows the cooling water flow from the first pump 11 to the cooling water cooling water heat exchanger 81C and adjusts the cooling water flow rate.
  • the second pump side valve body 132b intermittently flows the cooling water flow from the second pump 12 to the cooling water cooling water heat exchanger 81C and adjusts the cooling water flow rate.
  • the switching valve 133 for the radiator has a first pump side valve body 133a and a second pump side valve body 133b.
  • the first pump side valve body 133a intermittently flows the cooling water flow from the first pump 11 to the radiator 13, and adjusts the cooling water flow rate.
  • the second pump side valve body 133b intermittently flows the cooling water flow from the second pump 12 to the radiator 13, and adjusts the cooling water flow rate.
  • the cooler core switching valve 134 interrupts the coolant flow from the second pump 12 to the cooler core 16 and adjusts the coolant flow rate.
  • the second switching valve 19 includes an inverter switching valve 141, a cooling water cooling water heat exchanger switching valve 142, a radiator switching valve 143, and a heater core switching valve 144.
  • the inverter switching valve 141 includes a first pump side valve body 141a and a second pump side valve body 141b.
  • the first pump side valve body 141a intermittently flows the cooling water flow from the inverter 81B to the first pump 11, and adjusts the cooling water flow rate.
  • the second pump side valve body 141b intermittently flows the cooling water flow from the inverter 81B to the second pump 12, and adjusts the cooling water flow rate.
  • the cooling water / cooling water heat exchanger switching valve 142 includes a first pump side valve body 142a and a second pump side valve body 142b.
  • the first pump-side valve body 142a intermittently flows the cooling water flow from the cooling water cooling water heat exchanger 81C to the first pump 11, and adjusts the cooling water flow rate.
  • the second pump side valve body 142b intermittently flows the cooling water flow from the cooling water cooling water heat exchanger 81C to the second pump 12, and adjusts the cooling water flow rate.
  • the radiator switching valve 143 includes a first pump side valve body 143a and a second pump side valve body 143b.
  • the first pump-side valve body 143a intermittently flows the cooling water flow from the radiator 13 to the first pump 11, and adjusts the cooling water flow rate.
  • the second pump side valve body 143b intermittently flows the cooling water flow from the radiator 13 to the second pump 12, and adjusts the cooling water flow rate.
  • the heater core switching valve 144 interrupts the coolant flow from the heater core 17 to the second pump 12 and adjusts the coolant flow rate.
  • FIG. 38 shows a simplified configuration of the vehicle thermal management system 10 when the heat transfer device 81 is connected to the cooler core 16.
  • reference numerals corresponding to the configuration when the heat transfer device 81 is connected to the heater core 17 are shown.
  • the heat transfer device 81 is, for example, a cooling water air heat exchanger (heat medium air heat exchanger) that adjusts the temperature of the blown air by exchanging heat (sensible heat exchange) between the cooling water and the blown air into the vehicle interior. is there. More specifically, the heat transfer device 81 is, for example, a rear seat heat exchanger that exchanges heat (sensible heat exchange) between the blown air blown out toward the passenger in the rear seat of the vehicle and the cooling water.
  • a cooling water air heat exchanger heat medium air heat exchanger
  • the heat transfer device 81 is, for example, a rear seat heat exchanger that exchanges heat (sensible heat exchange) between the blown air blown out toward the passenger in the rear seat of the vehicle and the cooling water.
  • the heat transfer device 81 may be, for example, a battery temperature adjustment heat exchanger that adjusts the temperature of the battery by sensible heat exchange between the battery mounted on the vehicle and the cooling water.
  • the control device 60 brings the cooler core blowing temperature TC closer to the cooler core blowing target temperature TCO, and brings the temperature TC2 of the heat transfer device 81 closer to the heat transfer device target temperature TCO2.
  • the temperature TC2 of the heat transfer device 81 is the temperature of the blown air heat exchanged by the heat transfer device 81.
  • the temperature of the device having the lower target temperature is controlled by the flow rate of the refrigerant, and the temperature of the device having the higher target temperature is controlled by the cooling water. Control by flow rate.
  • the control with the coolant flow rate has higher responsiveness than the control with the cooling water flow rate, the temperature of the device on the lower target temperature side can be controlled with priority.
  • deviation amounts a device controlled by the refrigerant flow rate and a device controlled by the cooling water flow rate are determined.
  • the deviations ⁇ T1 and ⁇ T2 are obtained by the following formulas F4 and F5.
  • ⁇ T1 TC ⁇ TCO...
  • F4 ⁇ T2 TC2-TCO2...
  • F5 the following control methods (1) to (16) are selected based on the deviations ⁇ T1, ⁇ T2 and the deviation amount.
  • the temperature of the device having the larger deviation amount (absolute value of the deviation) is controlled by the refrigerant flow rate, and the cooling water flow rate in both devices is equal to or larger than a predetermined amount.
  • the temperature of the device on the deviation ⁇ T2 side is controlled by the refrigerant flow rate, and the flow rate of cooling water in the device on the deviation ⁇ T1 side Start squeezing.
  • the deviation ⁇ T2 When the deviation ⁇ T1 spans from a positive value to a negative value and the deviation ⁇ T2 straddles from a negative value to a positive value, the deviation ⁇ T2 if the flow rate of cooling water in the device on the deviation ⁇ T2 side is equal to or greater than a predetermined amount. If the flow rate of the device on the deviation ⁇ T2 side is less than a predetermined amount, the temperature of the device on the deviation ⁇ T1 side is controlled. The temperature of the device on the deviation ⁇ T2 side is controlled by the flow rate of the cooling water.
  • the temperature of the deviation ⁇ T1 side device if the flow rate of cooling water in the deviation ⁇ T1 side device is equal to or greater than a predetermined amount Is controlled by the refrigerant flow rate, and the temperature of the device on the deviation ⁇ T2 side is controlled by the flow rate of the cooling water. If the flow rate of the device on the deviation ⁇ T1 side is less than a predetermined amount, the temperature of the device on the deviation ⁇ T2 side is controlled by the refrigerant flow rate. In addition, the temperature of the device on the deviation ⁇ T1 side is controlled by the flow rate of the cooling water.
  • the deviation ⁇ T1 is a negative value and the deviation ⁇ T2 crosses from a negative value to a positive value
  • the flow rate of the cooling water in the deviation ⁇ T2 side device is equal to or greater than a predetermined amount
  • the deviation ⁇ T2 side device The temperature of the device on the deviation ⁇ T1 side is controlled by the flow rate of the cooling water, and the temperature of the device on the deviation ⁇ T2 side is controlled by the refrigerant flow rate if the flow rate of the device on the deviation ⁇ T2 side is less than a predetermined amount.
  • the temperature of the device on the deviation ⁇ T2 side is controlled by the flow rate of the cooling water.
  • the temperature of either the cooler core 16 or the heat transfer device 81 is controlled by the refrigerant flow rate.
  • the temperature of the other device may be controlled by the flow rate of the cooling water.
  • the temperature of the device having the higher heat load among the cooler core 16 and the heat transfer device 81 is controlled by the refrigerant flow rate. You may make it control the temperature of the apparatus of the low side with the flow volume of a cooling water.
  • the control device 60 brings the heater core blowing temperature TH closer to the heater core blowing target temperature THO, and brings the temperature TH2 of the heat transfer device 81 closer to the device target temperature THO2.
  • the temperature TH2 of the heat transfer device 81 is the temperature of the blown air heat exchanged by the heat transfer device 81.
  • the temperature of the device having the higher target temperature is controlled by the flow rate of the refrigerant, and the temperature of the device having the lower target temperature is controlled by the cooling water. Control by flow rate.
  • control with the coolant flow rate has higher responsiveness than the control with the cooling water flow rate, it is possible to preferentially control the temperature of the device on the higher target temperature side.
  • the deviation ⁇ T1 between the heater core temperature TH and the heater core target temperature THO, and the difference between the heat transfer device temperature TH2 and the heat transfer device target temperature THO2 Based on ⁇ T2 and the absolute values of the deviations ⁇ T1 and ⁇ T2 (hereinafter referred to as deviation amounts), a device controlled by the refrigerant flow rate and a device controlled by the cooling water flow rate are determined.
  • the deviations ⁇ T1 and ⁇ T2 are obtained by the following formulas F6 and F7.
  • ⁇ T1 THO-TH...
  • F6 ⁇ T2 THO2-TH2 F7
  • the above control methods (1) to (16) are selected based on the deviations ⁇ T1, ⁇ T2 and the deviation amount.
  • the temperature of one of the heater core 17 and the heat transfer device 81 is controlled by the refrigerant flow rate.
  • the temperature of the other device may be controlled by the flow rate of the cooling water.
  • the temperature of the heater core 17 and the heat transfer device 81 on the higher heat load side is controlled by the refrigerant flow rate, and the heat load is You may make it control the temperature of the apparatus of the low side with the flow volume of a cooling water.
  • the cooler core 16 or the heater core 17 is referred to as a first cooling water air heat exchanger
  • the heat transfer devices 13 and 81 connected to the first cooling water air heat exchangers 16 and 17 are referred to as first heat transfer devices. .
  • the control device 60 makes the temperatures related to the temperatures TC and TH of the blown air that have undergone sensible heat exchange in the first cooling water air heat exchangers 16 and 17 approach the first target temperatures TCO and THO. Adjust the refrigerant flow rate. Further, the control device 60 adjusts the flow rate of the cooling water so that the temperatures related to the temperatures TC2 and TH2 of the first heat transfer devices 13 and 81 approach the second target temperatures TCO2 and THO2.
  • the control device 60 when the first cooling water air heat exchanger is the heater core 17 that heats the blown air, when the first target temperature THO is higher than the second target temperature THO2, the control device 60 is heated by the heater core 17. The flow rate of the refrigerant is adjusted so that the temperature related to the temperature TH of the blown air approaches the first target temperature THO. In addition, the control device 60 adjusts the flow rate of the cooling water so that the temperature related to the temperature TH2 of the first heat transfer devices 13 and 81 approaches the second target temperature THO2.
  • the control device 60 sets the refrigerant so that the temperature related to the temperature TH2 of the first heat transfer devices 13 and 81 approaches the second target temperature THO2. Adjust the flow rate. Further, the control device 60 adjusts the flow rate of the cooling water so that the temperature related to the temperature TH of the blown air heated by the heater core 17 approaches the first target temperature THO.
  • the control device 60 when the first cooling water air heat exchanger is the cooler core 17 that cools the blown air, when the first target temperature TCO is lower than the second target temperature TCO2, the control device 60 is cooled by the cooler core 16. The flow rate of the refrigerant is adjusted so that the temperature related to the temperature TC of the blown air approaches the first target temperature TCO. In addition, the control device 60 adjusts the flow rate of the cooling water so that the temperature related to the temperature TC2 of the first heat transfer device 13, 81 approaches the second target temperature TCO2.
  • the control device 60 determines that the temperature of the refrigerant is such that the temperature related to the temperature TC2 of the first heat transfer devices 13 and 81 approaches the second target temperature TCO2. Adjust the flow rate. Further, the control device 60 adjusts the flow rate of the cooling water so that the temperature related to the temperature TC of the blown air cooled by the cooling water air heat exchanger 16 approaches the first target temperature TCO.
  • control device 60 sets the flow rate of the refrigerant so that the temperatures related to the temperatures TC and TH of the blown air subjected to the sensible heat exchange in the first cooling water air heat exchangers 16 and 17 approach the first target temperatures TCO and THO. Adjust. Further, the control device 60 adjusts the flow rate of the cooling water so that the temperatures related to the temperatures TC2 and TH2 of the first heat transfer devices 13 and 81 approach the second target temperatures TCO2 and THO2.
  • control device 60 switches between the first control mode and the second control mode according to the positive / negative of the first deviation ⁇ T1 and the positive / negative of the second deviation ⁇ T2.
  • the flow rate of the refrigerant is set so that the temperature related to the temperatures TC and TH of the blown air subjected to the sensible heat exchange in the first cooling water air heat exchangers 16 and 17 approaches the first target temperatures TCO and THO.
  • the flow rate of the refrigerant is adjusted so that the temperatures related to the temperatures TC2 and TH2 of the first heat transfer devices 13 and 81 approach the second target temperatures TCO2 and THO2, and the first cooling water air heat exchange is performed.
  • This is a control mode in which the flow rate of the cooling water is adjusted so that the temperatures related to the temperatures TC and TH of the blown air subjected to sensible heat exchange in the chambers 16 and 17 approach the first target temperatures TCO and THO.
  • the first deviation ⁇ T1 is the temperature of the blown air that has been subjected to sensible heat exchange by the first cooling water air heat exchangers 16 and 17. This is a deviation obtained by subtracting the first target temperature TCO from the temperature related to TC.
  • the first deviation ⁇ T1 is sensible heat exchanged from the first target temperature THO in the first cooling water air heat exchangers 16 and 17. This is a deviation obtained by subtracting the temperature related to the temperature TH of the blown air.
  • the second deviation ⁇ T2 is obtained by subtracting the second target temperature TCO2 from the temperature related to the temperature TC2 of the first heat transfer device 13, 81. Deviation.
  • the second deviation ⁇ T2 is obtained by subtracting the temperature related to the temperature TH2 of the first heat transfer device 13, 81 from the second target temperature THO2. Deviation.
  • the first deviation ⁇ T1 and the second deviation ⁇ T2 both change from a positive value to a negative value.
  • both ⁇ T1 and the second deviation ⁇ T2 change from a negative value to a positive value, or when the first deviation ⁇ T1 is a positive value and the second deviation ⁇ T2 changes from a negative value to a positive value The first control mode is executed if the absolute value of the first deviation ⁇ T1 is larger than the absolute value of the second deviation ⁇ T2, and the second control mode is executed if the absolute value of the second deviation ⁇ T2 is larger than the absolute value of the first deviation ⁇ T1. carry out.
  • the first control mode is performed
  • the first deviation ⁇ T1 is a negative value
  • the second deviation is performed.
  • the first control mode is performed, and the first deviation ⁇ T1 is changed from a positive value.
  • the second control mode is performed.
  • the cooling water in the first cooling water air heat exchangers 16, 17 is used. Is greater than or equal to the first predetermined amount, the first control mode is implemented if the absolute value of the first deviation ⁇ T1 is greater than the absolute value of the second deviation ⁇ T2, and the absolute value of the second deviation ⁇ T2 is the first deviation. If it is larger than the absolute value of ⁇ T1, the second control mode is executed.
  • the flow rate of the cooling water in the first cooling water air heat exchangers 16 and 17 is When it is less than the first predetermined amount, the second control mode is performed.
  • the first control mode To implement.
  • the second control mode is performed.
  • the second control mode is performed.
  • the first control mode is performed.
  • the first deviation ⁇ T1 is a negative value and the second deviation ⁇ T2 is changed from a positive value to a negative value
  • the cooling water in the first cooling water air heat exchangers 16 and 17 is changed.
  • the absolute value of the first deviation ⁇ T1 is larger than the absolute value of the second deviation ⁇ T2
  • the first control mode is performed, and the absolute value of the second deviation ⁇ T2 is the first deviation. If it is larger than the absolute value of ⁇ T1, the second control mode is executed.
  • the flow rate of the cooling water in the first cooling water air heat exchangers 16 and 17 is When it is less than the fourth predetermined amount, the second control mode is performed.
  • the flow rate of the cooling water in the first heat transfer devices 13, 81 is When the absolute value of the first deviation ⁇ T1 is greater than the absolute value of the second deviation ⁇ T2, the first control mode is performed when the absolute value of the second deviation ⁇ T2 is the absolute value of the first deviation ⁇ T1. If it is larger than the value, the second control mode is executed.
  • the flow rate of the cooling water in the first heat transfer devices 13, 81 is the fifth place.
  • the first control mode is performed.
  • control device 60 performs the heat exchange amount or the heat exchange request amount between the cooling water and the blown air in the first cooling water air heat exchangers 16 and 17 and the heat with the cooling water in the first heat transfer devices 13 and 81.
  • the first control mode and the second control mode are switched according to the exchange amount or the heat exchange request amount.
  • the heat exchange amount or the heat exchange request amount between the cooling water and the blown air in the first cooling water air heat exchangers 16 and 17 is the heat exchange amount with the cooling water in the first heat exchange devices 13 and 81 or
  • the control device 60 determines that the temperature related to the temperature TC, TH of the blown air subjected to sensible heat exchange in the first cooling water air heat exchangers 16, 17.
  • the flow rate of the refrigerant is adjusted so as to approach the first target temperatures TC and THO.
  • the control device 60 adjusts the flow rate of the cooling water so that the temperatures related to the temperatures TC2 and TH2 of the first heat transfer devices 13 and 81 approach the second target temperatures TCO2 and THO2.
  • the heat exchange amount or the heat exchange request amount with the cooling water in the first heat exchange devices 13 and 81 is the heat exchange amount or the heat exchange request between the cooling water and the blown air in the first cooling water air heat exchangers 16 and 17.
  • the control device 60 sets the flow rate of the refrigerant so that the temperatures related to the temperatures TC2 and TH2 of the first heat transfer devices 13 and 81 approach the second target temperatures TCO2 and THO2. Adjust. Further, the control device 60 adjusts the flow rate of the cooling water so that the temperature related to the temperature TH of the blown air subjected to the sensible heat exchange in the first cooling water air heat exchangers 16 and 17 approaches the first target temperature THO. .
  • the temperature of the first cooling water air heat exchangers 16 and 17 and the first heat transfer devices 13 and 81 having the higher or higher estimated heat load is controlled by the refrigerant flow rate to follow the temperature. Can be improved.
  • the amount of the outside air flowing through the radiator 13 is adjusted by controlling the operation of the outdoor blower 20, but the flow of the radiator 13 is controlled by controlling the operation of a radiator shutter (not shown).
  • the air volume of the outside air may be adjusted.
  • the radiator shutter is an outside air passage opening / closing section that opens and closes a passage through which outside air flows.
  • the cooling water is used as the heat medium for adjusting the temperature of the temperature adjustment target device, but various media such as oil may be used as the heat medium.
  • Nanofluid may be used as the heat medium.
  • a nanofluid is a fluid in which nanoparticles having a particle size of the order of nanometers are mixed.
  • antifreeze liquid ethylene glycol
  • the effect of improving the thermal conductivity in a specific temperature range the effect of increasing the heat capacity of the heat medium, the effect of preventing the corrosion of metal pipes and the deterioration of rubber pipes, and the heat medium at an extremely low temperature
  • liquidity of can be acquired.
  • Such an effect varies depending on the particle configuration, particle shape, blending ratio, and additional substance of the nanoparticles.
  • the thermal conductivity can be improved, it is possible to obtain the same cooling efficiency even with a small amount of heat medium as compared with the cooling water using ethylene glycol.
  • the amount of heat stored in the heat medium itself can be increased.
  • the aspect ratio of the nanoparticles is preferably 50 or more. This is because sufficient thermal conductivity can be obtained.
  • the aspect ratio is a shape index that represents the ratio of the vertical and horizontal dimensions of the nanoparticles.
  • Nanoparticles containing any of Au, Ag, Cu and C can be used. Specifically, Au nanoparticle, Ag nanowire, CNT (carbon nanotube), graphene, graphite core-shell nanoparticle (a structure such as a carbon nanotube surrounding the above atom is included as a constituent atom of the nanoparticle. Particles), Au nanoparticle-containing CNTs, and the like can be used.
  • a chlorofluorocarbon refrigerant is used as the refrigerant.
  • the type of the refrigerant is not limited to this, and natural refrigerants such as carbon dioxide, hydrocarbon refrigerants, and the like are used. It may be used.
  • the refrigeration cycle 21 of each of the above embodiments constitutes a subcritical refrigeration cycle in which the high-pressure side refrigerant pressure does not exceed the critical pressure of the refrigerant, but the supercritical refrigeration cycle in which the high-pressure side refrigerant pressure exceeds the critical pressure of the refrigerant. May be configured.
  • thermal management system 10 and the vehicle air conditioner are applied to a hybrid vehicle.
  • an electric vehicle or the like that does not include an engine and obtains driving force for vehicle traveling from a traveling electric motor.
  • the heat management system 10 and the vehicle air conditioner may be applied.
  • an evaporator 151 may be provided instead of the cooling water cooler 14 and the cooler core 16 in the above embodiment.
  • the evaporator 151 is an air-cooling heat exchanger that heat-exchanges the low-pressure side refrigerant of the refrigeration cycle 21 and the blown air into the passenger compartment to cool the blown air into the passenger compartment.

Landscapes

  • Engineering & Computer Science (AREA)
  • Physics & Mathematics (AREA)
  • Mechanical Engineering (AREA)
  • Thermal Sciences (AREA)
  • General Engineering & Computer Science (AREA)
  • Air-Conditioning For Vehicles (AREA)
PCT/JP2014/002915 2013-06-06 2014-06-03 車両用空調装置 Ceased WO2014196186A1 (ja)

Priority Applications (3)

Application Number Priority Date Filing Date Title
CN201480032295.9A CN105263732B (zh) 2013-06-06 2014-06-03 车辆用空调装置
US14/895,005 US10371419B2 (en) 2013-06-06 2014-06-03 Vehicle air conditioner with programmed flow controller
DE112014002714.6T DE112014002714B4 (de) 2013-06-06 2014-06-03 Fahrzeugklimatisierungsvorrichtung

Applications Claiming Priority (4)

Application Number Priority Date Filing Date Title
JP2013119789 2013-06-06
JP2013-119789 2013-06-06
JP2013-268578 2013-12-26
JP2013268578A JP6167892B2 (ja) 2013-06-06 2013-12-26 車両用空調装置

Publications (1)

Publication Number Publication Date
WO2014196186A1 true WO2014196186A1 (ja) 2014-12-11

Family

ID=52007843

Family Applications (1)

Application Number Title Priority Date Filing Date
PCT/JP2014/002915 Ceased WO2014196186A1 (ja) 2013-06-06 2014-06-03 車両用空調装置

Country Status (5)

Country Link
US (1) US10371419B2 (enExample)
JP (1) JP6167892B2 (enExample)
CN (1) CN105263732B (enExample)
DE (1) DE112014002714B4 (enExample)
WO (1) WO2014196186A1 (enExample)

Cited By (5)

* Cited by examiner, † Cited by third party
Publication number Priority date Publication date Assignee Title
WO2017038677A1 (ja) * 2015-08-28 2017-03-09 株式会社デンソー 空調システム
CN107635805A (zh) * 2015-06-12 2018-01-26 株式会社电装 车辆用空调装置
CN112880466A (zh) * 2021-02-07 2021-06-01 彩虹(合肥)液晶玻璃有限公司 一种换热器控温装置
US11498391B2 (en) 2017-07-31 2022-11-15 Denso Corporation Air conditioner
DE102016204471B4 (de) 2015-10-06 2023-05-04 Hyundai Motor Company Integriertes eigenständiges Klimatisierungssystem und Verfahren zum Steuern desselben

Families Citing this family (48)

* Cited by examiner, † Cited by third party
Publication number Priority date Publication date Assignee Title
JP6233009B2 (ja) 2013-12-26 2017-11-22 株式会社デンソー 車両用空調装置
JP6314821B2 (ja) 2014-01-29 2018-04-25 株式会社デンソー 車両用空調装置
JP6137067B2 (ja) * 2014-06-24 2017-05-31 トヨタ自動車株式会社 車両およびその制御方法
JP6375893B2 (ja) 2014-11-19 2018-08-22 株式会社デンソー 熱管理装置
JP6540180B2 (ja) * 2015-04-14 2019-07-10 株式会社デンソー 車両用熱管理システム
JP6361703B2 (ja) * 2015-09-04 2018-07-25 株式会社デンソー 車両用熱管理装置
JP6433403B2 (ja) * 2015-10-02 2018-12-05 トヨタ自動車株式会社 車両用熱管理装置
JP2017094796A (ja) * 2015-11-19 2017-06-01 株式会社デンソー 熱管理システム
JP6481668B2 (ja) * 2015-12-10 2019-03-13 株式会社デンソー 冷凍サイクル装置
WO2017098795A1 (ja) * 2015-12-10 2017-06-15 株式会社デンソー 冷凍サイクル装置
JP6534924B2 (ja) * 2015-12-24 2019-06-26 トヨタ自動車株式会社 車両用制御装置
JP6414117B2 (ja) * 2016-03-28 2018-10-31 トヨタ自動車株式会社 内燃機関
CN107639992B (zh) * 2016-07-21 2022-05-20 杭州三花研究院有限公司 一种热管理系统
CN107639993B (zh) * 2016-07-21 2021-12-14 杭州三花研究院有限公司 一种热管理系统
CN106080111A (zh) * 2016-07-29 2016-11-09 肇庆高新区凯盈顺汽车设计有限公司 电动汽车热管理系统
JP6673294B2 (ja) * 2016-08-30 2020-03-25 株式会社デンソー 冷凍サイクル装置
WO2018047264A1 (ja) * 2016-09-08 2018-03-15 三菱電機株式会社 冷凍サイクル装置
CN106524581B (zh) * 2016-09-30 2019-12-03 同济大学 一种单压缩机双蒸发温度的无霜型热回收式新风热泵机组
JP6831209B2 (ja) * 2016-10-27 2021-02-17 サンデン・オートモーティブクライメイトシステム株式会社 車両用空気調和装置
US10393595B2 (en) * 2017-01-12 2019-08-27 GM Global Technology Operations LLC Estimating a cabin temperature of a vehicle
JP6673323B2 (ja) * 2017-03-08 2020-03-25 株式会社デンソー 車両用空調制御装置
DE102018114762B4 (de) * 2017-07-10 2023-12-28 Hanon Systems Verfahren zum Betreiben einer Klimaanlage eines Kraftfahrzeuges
JP6753379B2 (ja) * 2017-09-15 2020-09-09 トヨタ自動車株式会社 車両の熱交換システム
JP2019137208A (ja) * 2018-02-09 2019-08-22 サンデン・オートモーティブクライメイトシステム株式会社 車両用空気調和装置
JP7000262B2 (ja) * 2018-06-19 2022-01-19 トヨタ自動車株式会社 冷却制御装置
CN108628175B (zh) * 2018-06-29 2021-02-23 华北电力大学(保定) 基于空冷系统散热量测量的发电厂优化控制系统及方法
KR102589025B1 (ko) * 2018-07-25 2023-10-17 현대자동차주식회사 전기자동차용 공조장치 제어방법
CN109085864A (zh) * 2018-08-06 2018-12-25 合肥天鹅制冷科技有限公司 一种稳定供液初期温度的系统
DE102018121390A1 (de) * 2018-09-03 2020-03-05 Hanon Systems Thermomanagementanordnung für Fahrzeuge sowie Verfahren zum Betreiben einer Thermomanagementanordnung
JP7159712B2 (ja) * 2018-09-06 2022-10-25 株式会社デンソー 冷凍サイクル装置
KR20200040996A (ko) * 2018-10-11 2020-04-21 현대자동차주식회사 차량의 공조 시스템
DE112020000923T5 (de) 2019-02-25 2021-11-04 Hanon Systems Wärmetauscher und fahrzeug-klimaanlage
JP7543657B2 (ja) * 2019-03-29 2024-09-03 株式会社デンソー 空調装置
CN115556540B (zh) * 2019-03-29 2025-10-31 株式会社电装 空调装置
JP7328171B2 (ja) * 2020-03-19 2023-08-16 トヨタ自動車株式会社 熱管理装置
JP7523233B2 (ja) * 2020-03-26 2024-07-26 サンデン株式会社 車両用空気調和装置
JP7472605B2 (ja) * 2020-04-01 2024-04-23 株式会社デンソー 電池温調装置
JP7521959B2 (ja) * 2020-07-10 2024-07-24 株式会社Subaru 車両用熱交換システム
JP2022190760A (ja) * 2021-06-15 2022-12-27 トヨタ自動車株式会社 熱管理システム
CN115465090B (zh) * 2021-10-29 2023-08-08 比亚迪股份有限公司 热管理系统和具有其的车辆
US12311724B2 (en) 2022-02-25 2025-05-27 Denso International America, Inc. HVAC system
US12491751B2 (en) 2022-02-25 2025-12-09 Denso International America, Inc. HVAC system
JP7388466B2 (ja) * 2022-03-25 2023-11-29 いすゞ自動車株式会社 内燃機関の暖機装置
KR20240028648A (ko) * 2022-08-25 2024-03-05 현대자동차주식회사 파워트레인컴포넌트의 냉각제어방법
KR102892914B1 (ko) 2023-04-06 2025-11-28 신진호 차량용 무시동 냉난방 장치
JP2025040316A (ja) * 2023-09-11 2025-03-24 株式会社Soken 移動体用温調装置及びプログラム
US12359606B2 (en) * 2023-09-23 2025-07-15 Cooper-Standard Automotive Inc. Flow scheme with pump and switch
US20250296405A1 (en) * 2024-03-22 2025-09-25 Fca Us Llc Vehicle cabin dehumidification control system

Citations (8)

* Cited by examiner, † Cited by third party
Publication number Priority date Publication date Assignee Title
JPH0712778U (ja) * 1993-06-25 1995-03-03 昭和アルミニウム株式会社 積層型熱交換器
JPH09318195A (ja) * 1996-05-29 1997-12-12 Denso Corp 積層型蒸発器
JPH11301254A (ja) * 1998-04-16 1999-11-02 Tgk Co Ltd 自動車用空調装置
JP2004515394A (ja) * 2000-05-15 2004-05-27 プジヨー・シトロエン・オートモビル・エス・アー 自動車の温度を調節するための改良されたヒートポンプ装置
JP2011073536A (ja) * 2009-09-30 2011-04-14 Hitachi Ltd 移動体熱サイクルシステム
JP2011112312A (ja) * 2009-11-30 2011-06-09 Hitachi Ltd 移動体の熱サイクルシステム
JP2011111140A (ja) * 2009-11-30 2011-06-09 Hitachi Ltd 車両用空調システム
JP2012225637A (ja) * 2011-04-04 2012-11-15 Denso Corp 冷凍サイクル装置

Family Cites Families (24)

* Cited by examiner, † Cited by third party
Publication number Priority date Publication date Assignee Title
JP3704814B2 (ja) 1995-09-19 2005-10-12 株式会社デンソー 車両用空気調和装置
JP2000108640A (ja) * 1998-10-02 2000-04-18 Zexel Corp 空気調和装置
FR2808740B1 (fr) 2000-05-15 2004-06-11 Peugeot Citroen Automobiles Sa Procede et dispositif de regulation thermique d'un habitacle de vehicule automobile
FR2808741B1 (fr) 2000-05-15 2002-12-27 Peugeot Citroen Automobiles Sa Dispositif de regulation thermique pour vehicule automobile et procedes pour la mise en oeuvre de ce dispositif
FR2808739B1 (fr) 2000-05-15 2004-04-02 Peugeot Citroen Automobiles Sa Dispositif de regulation thermique a pompe a chaleur, pour vehicule automobile
FR2808742B1 (fr) 2000-05-15 2003-03-21 Peugeot Citroen Automobiles Sa Dispositif optimise de regulation thermique a pompe a chaleur pour vehicule automobile
FR2812243B1 (fr) * 2000-07-28 2003-05-09 Valeo Climatisation Dispositif de chauffage-climatisation de l'habitacle d'un vehicule automobile
JP3953377B2 (ja) * 2002-07-16 2007-08-08 トヨタ自動車株式会社 空調装置
JP3974826B2 (ja) * 2002-07-16 2007-09-12 トヨタ自動車株式会社 車両用空調装置
JP4417064B2 (ja) * 2003-09-30 2010-02-17 株式会社デンソー 車両用空調装置
JP2010012949A (ja) * 2008-07-03 2010-01-21 Calsonic Kansei Corp 車両用空気調和システム
FR2944102B1 (fr) * 2009-04-03 2011-06-10 Onera (Off Nat Aerospatiale) Element vibrant sur deux modes decouples et application a un gyrometre vibrant.
US8423967B2 (en) * 2009-07-01 2013-04-16 International Business Machines Corporation Automated level-based targeted test configuration
JP5396246B2 (ja) * 2009-11-18 2014-01-22 株式会社日立製作所 車両用空調装置
JP2013522336A (ja) * 2010-03-23 2013-06-13 ビーエーエスエフ ソシエタス・ヨーロピア 除草活性を有するピリドチアジン
JP5533637B2 (ja) * 2010-12-23 2014-06-25 株式会社デンソー 車両用空調装置
US9879891B2 (en) * 2011-02-17 2018-01-30 Mahle International Gmbh Unitary heat pump air conditioner having a compressed vapor diversion loop
JP2012188086A (ja) * 2011-03-14 2012-10-04 Toyota Industries Corp 車両用空調装置
JP5321647B2 (ja) 2011-06-15 2013-10-23 株式会社デンソー 冷凍サイクル装置
DE102012205200B4 (de) * 2011-04-04 2020-06-18 Denso Corporation Kältemittelkreislaufvorrichtung
JP5589967B2 (ja) 2011-06-13 2014-09-17 株式会社デンソー 車両用温度調節装置
US8947048B2 (en) * 2011-07-29 2015-02-03 Infineon Technologies Ag Power supply system with charge balancing
JP6064753B2 (ja) * 2013-04-05 2017-01-25 株式会社デンソー 車両用熱管理システム
JP2014213609A (ja) * 2013-04-22 2014-11-17 株式会社デンソー 車両用熱管理装置

Patent Citations (8)

* Cited by examiner, † Cited by third party
Publication number Priority date Publication date Assignee Title
JPH0712778U (ja) * 1993-06-25 1995-03-03 昭和アルミニウム株式会社 積層型熱交換器
JPH09318195A (ja) * 1996-05-29 1997-12-12 Denso Corp 積層型蒸発器
JPH11301254A (ja) * 1998-04-16 1999-11-02 Tgk Co Ltd 自動車用空調装置
JP2004515394A (ja) * 2000-05-15 2004-05-27 プジヨー・シトロエン・オートモビル・エス・アー 自動車の温度を調節するための改良されたヒートポンプ装置
JP2011073536A (ja) * 2009-09-30 2011-04-14 Hitachi Ltd 移動体熱サイクルシステム
JP2011112312A (ja) * 2009-11-30 2011-06-09 Hitachi Ltd 移動体の熱サイクルシステム
JP2011111140A (ja) * 2009-11-30 2011-06-09 Hitachi Ltd 車両用空調システム
JP2012225637A (ja) * 2011-04-04 2012-11-15 Denso Corp 冷凍サイクル装置

Cited By (9)

* Cited by examiner, † Cited by third party
Publication number Priority date Publication date Assignee Title
CN107635805A (zh) * 2015-06-12 2018-01-26 株式会社电装 车辆用空调装置
WO2017038677A1 (ja) * 2015-08-28 2017-03-09 株式会社デンソー 空調システム
JPWO2017038677A1 (ja) * 2015-08-28 2018-01-25 株式会社デンソー 空調システム
CN108025621A (zh) * 2015-08-28 2018-05-11 株式会社电装 空调系统
US10562371B2 (en) 2015-08-28 2020-02-18 Denso Corporation Air conditioning system
DE102016204471B4 (de) 2015-10-06 2023-05-04 Hyundai Motor Company Integriertes eigenständiges Klimatisierungssystem und Verfahren zum Steuern desselben
US11498391B2 (en) 2017-07-31 2022-11-15 Denso Corporation Air conditioner
CN112880466A (zh) * 2021-02-07 2021-06-01 彩虹(合肥)液晶玻璃有限公司 一种换热器控温装置
CN112880466B (zh) * 2021-02-07 2022-07-01 彩虹(合肥)液晶玻璃有限公司 一种换热器控温装置

Also Published As

Publication number Publication date
DE112014002714T5 (de) 2016-03-17
CN105263732A (zh) 2016-01-20
CN105263732B (zh) 2017-06-06
US10371419B2 (en) 2019-08-06
US20160109163A1 (en) 2016-04-21
DE112014002714B4 (de) 2025-10-16
JP6167892B2 (ja) 2017-07-26
JP2015013639A (ja) 2015-01-22

Similar Documents

Publication Publication Date Title
JP6233009B2 (ja) 車両用空調装置
JP6167892B2 (ja) 車両用空調装置
CN108369047B (zh) 制冷循环装置
CN105916711B (zh) 车辆用热管理系统
JP6197671B2 (ja) 空調装置
JP6314821B2 (ja) 車両用空調装置
JP6252186B2 (ja) 車両用熱管理システム
JP6398764B2 (ja) 車両用熱管理システム
JP6197642B2 (ja) 車両用空調装置
WO2015122137A1 (ja) 車両用熱管理システム
WO2015115050A1 (ja) 車両用熱管理システム
JP2018058573A (ja) 車両用空調装置
WO2016006174A1 (ja) 車両用温度調整装置
WO2015004904A1 (ja) 車両用空調装置
WO2018066276A1 (ja) 車両用空調装置

Legal Events

Date Code Title Description
WWE Wipo information: entry into national phase

Ref document number: 201480032295.9

Country of ref document: CN

121 Ep: the epo has been informed by wipo that ep was designated in this application

Ref document number: 14806994

Country of ref document: EP

Kind code of ref document: A1

WWE Wipo information: entry into national phase

Ref document number: 14895005

Country of ref document: US

WWE Wipo information: entry into national phase

Ref document number: 112014002714

Country of ref document: DE

122 Ep: pct application non-entry in european phase

Ref document number: 14806994

Country of ref document: EP

Kind code of ref document: A1

WWG Wipo information: grant in national office

Ref document number: 112014002714

Country of ref document: DE