WO2014034295A1 - 伝導冷却式永久電流スイッチ、mri装置、nmr装置 - Google Patents

伝導冷却式永久電流スイッチ、mri装置、nmr装置 Download PDF

Info

Publication number
WO2014034295A1
WO2014034295A1 PCT/JP2013/069090 JP2013069090W WO2014034295A1 WO 2014034295 A1 WO2014034295 A1 WO 2014034295A1 JP 2013069090 W JP2013069090 W JP 2013069090W WO 2014034295 A1 WO2014034295 A1 WO 2014034295A1
Authority
WO
WIPO (PCT)
Prior art keywords
wire
current switch
permanent current
conduction
heater
Prior art date
Legal status (The legal status is an assumption and is not a legal conclusion. Google has not performed a legal analysis and makes no representation as to the accuracy of the status listed.)
Ceased
Application number
PCT/JP2013/069090
Other languages
English (en)
French (fr)
Japanese (ja)
Inventor
一宗 児玉
和英 田中
洋太 一木
Current Assignee (The listed assignees may be inaccurate. Google has not performed a legal analysis and makes no representation or warranty as to the accuracy of the list.)
Hitachi Ltd
Original Assignee
Hitachi Ltd
Priority date (The priority date is an assumption and is not a legal conclusion. Google has not performed a legal analysis and makes no representation as to the accuracy of the date listed.)
Filing date
Publication date
Application filed by Hitachi Ltd filed Critical Hitachi Ltd
Priority to US14/421,470 priority Critical patent/US9887029B2/en
Publication of WO2014034295A1 publication Critical patent/WO2014034295A1/ja
Anticipated expiration legal-status Critical
Ceased legal-status Critical Current

Links

Images

Classifications

    • HELECTRICITY
    • H01ELECTRIC ELEMENTS
    • H01FMAGNETS; INDUCTANCES; TRANSFORMERS; SELECTION OF MATERIALS FOR THEIR MAGNETIC PROPERTIES
    • H01F6/00Superconducting magnets; Superconducting coils
    • H01F6/06Coils, e.g. winding, insulating, terminating or casing arrangements therefor
    • GPHYSICS
    • G01MEASURING; TESTING
    • G01RMEASURING ELECTRIC VARIABLES; MEASURING MAGNETIC VARIABLES
    • G01R33/00Arrangements or instruments for measuring magnetic variables
    • G01R33/20Arrangements or instruments for measuring magnetic variables involving magnetic resonance
    • G01R33/28Details of apparatus provided for in groups G01R33/44 - G01R33/64
    • G01R33/38Systems for generation, homogenisation or stabilisation of the main or gradient magnetic field
    • G01R33/381Systems for generation, homogenisation or stabilisation of the main or gradient magnetic field using electromagnets
    • G01R33/3815Systems for generation, homogenisation or stabilisation of the main or gradient magnetic field using electromagnets with superconducting coils, e.g. power supply therefor
    • GPHYSICS
    • G01MEASURING; TESTING
    • G01RMEASURING ELECTRIC VARIABLES; MEASURING MAGNETIC VARIABLES
    • G01R33/00Arrangements or instruments for measuring magnetic variables
    • G01R33/20Arrangements or instruments for measuring magnetic variables involving magnetic resonance
    • G01R33/28Details of apparatus provided for in groups G01R33/44 - G01R33/64
    • G01R33/32Excitation or detection systems, e.g. using radio frequency signals
    • G01R33/34Constructional details, e.g. resonators, specially adapted to MR
    • G01R33/34015Temperature-controlled RF coils
    • G01R33/3403Means for cooling of the RF coils, e.g. a refrigerator or a cooling vessel specially adapted for housing an RF coil
    • GPHYSICS
    • G01MEASURING; TESTING
    • G01RMEASURING ELECTRIC VARIABLES; MEASURING MAGNETIC VARIABLES
    • G01R33/00Arrangements or instruments for measuring magnetic variables
    • G01R33/20Arrangements or instruments for measuring magnetic variables involving magnetic resonance
    • G01R33/28Details of apparatus provided for in groups G01R33/44 - G01R33/64
    • G01R33/32Excitation or detection systems, e.g. using radio frequency signals
    • G01R33/36Electrical details, e.g. matching or coupling of the coil to the receiver
    • G01R33/3664Switching for purposes other than coil coupling or decoupling, e.g. switching between a phased array mode and a quadrature mode, switching between surface coil modes of different geometrical shapes, switching from a whole body reception coil to a local reception coil or switching for automatic coil selection in moving table MR or for changing the field-of-view
    • HELECTRICITY
    • H01ELECTRIC ELEMENTS
    • H01FMAGNETS; INDUCTANCES; TRANSFORMERS; SELECTION OF MATERIALS FOR THEIR MAGNETIC PROPERTIES
    • H01F6/00Superconducting magnets; Superconducting coils
    • H01F6/04Cooling
    • HELECTRICITY
    • H10SEMICONDUCTOR DEVICES; ELECTRIC SOLID-STATE DEVICES NOT OTHERWISE PROVIDED FOR
    • H10NELECTRIC SOLID-STATE DEVICES NOT OTHERWISE PROVIDED FOR
    • H10N60/00Superconducting devices
    • H10N60/30Devices switchable between superconducting and normal states
    • H10N60/35Cryotrons
    • H10N60/355Power cryotrons

Definitions

  • the present invention relates to a conduction cooled permanent current switch, an MRI apparatus, and an NMR apparatus.
  • an operation system in a permanent current mode is desirable.
  • the permanent current mode can be obtained by supplying a predetermined current to the superconducting coil by the external power supply to generate a magnetic field, and then shorting the positive electrode and the negative electrode of the superconducting coil with zero resistance to make the current of the external power supply zero. . Since the superconducting coil is a closed circuit with zero resistance, the superconducting magnet can continue to generate a predetermined magnetic field without current decay.
  • an element for shorting the positive electrode and the negative electrode of the superconducting coil is referred to as a permanent current switch.
  • the following characteristics are required of the permanent current switch.
  • a current equal to the current flowing through the superconducting coil can be conducted with zero resistance.
  • the superconducting state (on state) and the normal conduction state (off state) can be switched by external control, for example, heater heating.
  • High resistance in the off state For example, it may be several ohms or so.
  • the conduction cooling method is a method of cooling a superconducting magnet by heat conduction using a refrigerator.
  • the copper oxide superconductor which is a representative case of a high temperature superconductor, has a large temporal fluctuation of the central magnetic field due to magnetic flux creep, it has not basically operated in the permanent current mode.
  • An object of the present invention is to quickly turn on / off the permanent current switch with a small heat input.
  • the present invention relates to a conduction cooling type permanent current switch including a superconducting wire for supplying current, a cooling stage for cooling the superconducting wire, and a heater for heating the superconducting wire.
  • the superconducting wire is disposed between the cooling stage and each surface formed by the heater, the core of the superconducting wire is magnesium diboride, and the base material disposed on the outer periphery of the core is 10 ⁇ cm at 40 K It is characterized by being a material having the above resistivity.
  • the permanent current switch can be turned on / off at high speed with less heat input.
  • the superconducting wire is extremely suitable for a conduction cooling type permanent current switch.
  • Superconducting wire rod for excellent permanent current switch can conduct the superconducting current required in the on state (for example, 400 A as a typical value), as long as the resistance per wire unit length in the off state is possible. The high one is good. If such a wire is used, the wire used for a permanent current switch can be shortened, and it leads to reduction of the heat capacity of a permanent current switch as a result.
  • the present invention is particularly applicable to a superconducting magnet that is used in an NMR apparatus, a medical MRI diagnostic apparatus, and the like and operated in a permanent current mode.
  • FIG. 1 shows the relationship between the critical current density Jc of the core of the magnesium diboride superconducting wire and the external magnetic field B
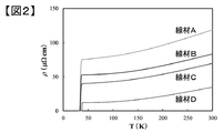
  • FIG. 2 shows the temperature dependency of the electrical resistivity ⁇ .
  • the wire rod was produced by PIT (powder in tube) method by using Fe as a base material.
  • the PIT method is a manufacturing method in which a metal sheath is made by forming a wire by filling a metal sheath with powder and then reducing the area, and then fired.
  • the permanent current switch is generally placed in a low magnetic field space of 0.5 T or less, but in a magnetic field region of 20 K or 0.5 T or less, its Jc is very high at 4000 A / mm 2 .
  • the cross-sectional area required to apply a current of 400 A with Jc of 4000 A / mm 2 is 0.1 mm 2 .
  • the critical temperature of magnesium diboride is 39 K
  • the permanent current switch of the magnesium diboride superconducting wire is turned off, it is assumed that the wire is heated to 40 K.
  • the resistivity at this time can be adjusted to 10 to 70 ⁇ cm as shown by the wires A to D in FIG. 2, the resistivity can be controlled over a fairly wide range.
  • the resistivity at 40 K is 50 ⁇ cm
  • the resistance per unit length is 5 ⁇ / m when the cross-sectional area of magnesium diboride is 0.1 mm 2 .
  • a length of 20 cm is sufficient to obtain a resistance of 1 ohm.
  • a base material is required in the outer layer of magnesium diboride in order to prevent the oxidation of magnesium diboride.
  • the resistivity of the base material is preferably in the same range as magnesium diboride. For example, if the resistivity at 40 K is 50 ⁇ cm and the ratio of the cross sectional area of the base material to the cross section of the wire is about 0.5, then the resistance per unit length of the superconducting wire is 2.5 ⁇ / m. The length required to obtain 1 ⁇ resistance can be as short as 40 cm.
  • the base material is preferably made of a material that does not react with magnesium. This is because the critical current density is lowered by the reaction of magnesium with the base material to reduce the amount of magnesium diboride generated during the heat treatment to form magnesium diboride.
  • the best candidate for such a material is niobium titanium (resistivity at 40 K: 60 ⁇ cm). Niobium titanium is a material that hardly reacts with magnesium and has a high resistivity.
  • the use of stainless steel as another base material can enhance mechanical strength.
  • magnesium diboride is used for the core of the superconducting wire, and the base material is also made of a material with high resistivity such as magnesium diboride. That is, since the resistivity at 40 K of magnesium diboride is 10 ⁇ cm or more, the resistivity at 40 K of the base material is also 10 ⁇ cm or more.
  • the resistivity at 40 K of magnesium diboride is 10 ⁇ cm or more
  • the resistivity at 40 K of the base material is also 10 ⁇ cm or more.
  • the wire Since the wire is short, the wire does not have to be wound around a conventional winding frame, and the wire may be disposed on a flat or curved plate member so that the wire does not overlap, so the shape of the wire is spiral or meander A shape etc. can also be taken.
  • the wire rod is disposed between the surface of the cooling stage for turning on the switch and the heater for turning off the wire, thereby efficiently heating the portion of the wire rod that is sandwiched between the two, Since the cooling can be performed, the switch can be turned on / off quickly with less heat input.
  • the cooling stage and the heater may be a flat plate, or the flat plate may be curved or may have a curved surface.
  • FIG. 4 The cross-sectional view of a wire is shown in FIG. 4 and FIG.
  • a double metal tube was prepared in which the inner layer was niobium titanium 5 and the outer layer was copper 4 and was filled with a mixed powder of magnesium and boron well mixed at a molar ratio of 1: 2.
  • the double metal pipe was repeatedly drawn to reduce the surface to a diameter of 0.7 mm.
  • the copper 4 at the outer periphery was removed by immersing the wire in nitric acid diluted to 50%.
  • the cross section of the wire was as shown in FIG. 5, and the diameter of the wire in which the base material 5 and the core 6 were combined was 0.5 mm in diameter.
  • the critical current Ic at 20 K and 0.5 T was measured to be 600 A, which was found to be a level sufficiently applicable to the superconducting magnet.
  • the temperature for turning off the permanent current switch is 40 K
  • the electrical resistance per unit length at 40 K is 3 ⁇ / m, and it is found that a wire length of 33 cm is sufficient to obtain a resistivity of 1 ⁇ .
  • the wire length is 33 cm, it is not necessary to wind the wire around the bobbin as in the prior art. Then, as shown in FIG. 6, it was decided to wire in a spiral on a flat plate.
  • the wire rod was bent in a spiral shape, fixed to a stainless steel jig, and fired at 800 ° C. for 1 hour to form a magnesium diboride wire rod and removed from the jig.
  • the wire 1 was placed on the heat resistor 7 made of FRP and was bonded with a resin. Furthermore, a film-like heater 8 with a stainless steel wire was placed on the top of the wire, and this was also fixed with resin.
  • the GM refrigerator was operated to cool the permanent current switch to 20K. In this state, the permanent current switch was energized, and it was confirmed that 400 A was zero resistance.
  • Second Embodiment of the Invention when not only magnesium and boron but also carbides such as SiC and B 4 C are added to the material of the core of the superconducting wire, part of B in the magnesium diboride crystal is replaced by C. Since the electron scattering center can be introduced and the resistivity at 40 K of magnesium diboride can be further increased and the resistivity per unit length of the wire can be increased, the wire length necessary for wiring of the permanent current switch can be further increased. It can be made shorter and more compact.
  • magnesium diboride after forming magnesium diboride in a state of being excessively blended with magnesium.
  • the remaining magnesium may be oxidized. Since magnesium oxide is an insulator and that portion does not serve as a current path, the effective cross section of magnesium diboride decreases and the resistivity increases.
  • the filling rate of magnesium diboride in a typical PIT wire is about 50 to 60% by volume, and when this filling rate falls below 30% by volume, the particles of magnesium diboride become discontinuous and the continuous current path is lost
  • the filling rate of magnesium oxide should be at most 20% by volume. Also, if it is 5% by volume or less, the resistivity does not increase much. Even if boron is added in excess of magnesium, the resistivity increases. Since boron alone increases in electrical resistivity at low temperatures, it has an additional role, and unreacted and residual boron also has a role of reducing the effective current path. Also in this case, the filling rate of magnesium diboride is 30% by volume or more, and the filling rate of boron is 5 to 20% by volume.
  • both boron and magnesium oxide may be blended, and the total filling rate may be 5 to 20% by volume.
  • the copper of the outermost layer of the wire is removed, but it is only necessary to remove the portion of the wire that is heated by the heater, and leaving the other portion allows the wire to be a heater and a heat resistor (or heater And easy to solder on the cooling stage).
  • the permanent current switch obtained according to the present invention is used for a superconducting magnet which operates in a permanent current mode at about 20 K particularly by conduction cooling, so that the superconducting state and the normal conduction are not applied to the refrigerator. The state can be switched. In particular, it is effective when applied to an NMR apparatus, a medical MRI diagnostic apparatus, and the like.

Landscapes

  • Physics & Mathematics (AREA)
  • Condensed Matter Physics & Semiconductors (AREA)
  • General Physics & Mathematics (AREA)
  • Engineering & Computer Science (AREA)
  • Power Engineering (AREA)
  • Electromagnetism (AREA)
  • Thermal Sciences (AREA)
  • Containers, Films, And Cooling For Superconductive Devices (AREA)
  • Magnetic Resonance Imaging Apparatus (AREA)
  • Superconductors And Manufacturing Methods Therefor (AREA)
PCT/JP2013/069090 2012-08-29 2013-07-12 伝導冷却式永久電流スイッチ、mri装置、nmr装置 Ceased WO2014034295A1 (ja)

Priority Applications (1)

Application Number Priority Date Filing Date Title
US14/421,470 US9887029B2 (en) 2012-08-29 2013-07-12 Conductive cooling-type persistent current switch, MRI apparatus and NMR apparatus

Applications Claiming Priority (2)

Application Number Priority Date Filing Date Title
JP2012188208A JP6047341B2 (ja) 2012-08-29 2012-08-29 伝導冷却式永久電流スイッチ及び超電導線材の製造方法
JP2012-188208 2012-08-29

Publications (1)

Publication Number Publication Date
WO2014034295A1 true WO2014034295A1 (ja) 2014-03-06

Family

ID=50183115

Family Applications (1)

Application Number Title Priority Date Filing Date
PCT/JP2013/069090 Ceased WO2014034295A1 (ja) 2012-08-29 2013-07-12 伝導冷却式永久電流スイッチ、mri装置、nmr装置

Country Status (3)

Country Link
US (1) US9887029B2 (enExample)
JP (1) JP6047341B2 (enExample)
WO (1) WO2014034295A1 (enExample)

Cited By (2)

* Cited by examiner, † Cited by third party
Publication number Priority date Publication date Assignee Title
EP3327733A4 (en) * 2015-07-24 2019-03-06 Hitachi, Ltd. SUPERCONDUCTING WIRE, SUPER-CHARGE COIL, MRI AND NMR
WO2021054094A1 (ja) 2019-09-20 2021-03-25 住友電気工業株式会社 永久電流スイッチ及び超電導装置

Families Citing this family (6)

* Cited by examiner, † Cited by third party
Publication number Priority date Publication date Assignee Title
JP6453185B2 (ja) * 2015-08-19 2019-01-16 株式会社日立製作所 超電導磁石装置または磁気共鳴イメージング装置
KR20210122784A (ko) * 2019-02-08 2021-10-12 스미토모 덴키 고교 가부시키가이샤 초전도 선재 및 영구 전류 스위치
JP2021136341A (ja) * 2020-02-27 2021-09-13 株式会社日立製作所 超電導マグネット、超電導線材および超電導マグネットの生産方法
JP7491780B2 (ja) 2020-09-01 2024-05-28 株式会社日立製作所 永久電流スイッチ用の超伝導線材、その製造方法および超伝導磁石装置
WO2025119800A1 (en) 2023-12-04 2025-06-12 Koninklijke Philips N.V. Magnet persistent current switch with a superconducting conductor
EP4568465A1 (en) 2023-12-04 2025-06-11 Koninklijke Philips N.V. Magnet persistent current switch with a superconducting conductor

Citations (6)

* Cited by examiner, † Cited by third party
Publication number Priority date Publication date Assignee Title
JPH01137557U (enExample) * 1988-03-15 1989-09-20
JPH08190817A (ja) * 1995-01-06 1996-07-23 Hitachi Ltd 超電導装置および超電導装置に用いられる永久電流スイッチ素子およびその超電導線材並びに超電導線材の製造方法
JP2003069093A (ja) * 2001-08-29 2003-03-07 Central Japan Railway Co 永久電流スイッチおよびそれを用いた超電導マグネット
JP2005529832A (ja) * 2002-06-18 2005-10-06 ユニヴァーシティ・オブ・ウロンゴン 超伝導物質および合成方法
JP2006228797A (ja) * 2005-02-15 2006-08-31 Hitachi Ltd 二硼化マグネシウムを用いた永久電流スイッチおよびその製造方法
JP2007221013A (ja) * 2006-02-20 2007-08-30 Hitachi Ltd 永久電流スイッチ

Family Cites Families (11)

* Cited by examiner, † Cited by third party
Publication number Priority date Publication date Assignee Title
US3359394A (en) * 1966-05-02 1967-12-19 Gen Electric Persistent current switch
JP2508159B2 (ja) 1987-11-25 1996-06-19 岩崎電気株式会社 金属蒸気放電灯
US5361055A (en) * 1993-12-17 1994-11-01 General Dynamics Corporation Persistent protective switch for superconductive magnets
JP2004179413A (ja) 2002-11-27 2004-06-24 Mitsubishi Electric Corp 冷却型超電導磁石装置
JP4456016B2 (ja) * 2005-02-04 2010-04-28 株式会社日立製作所 金属シース二ホウ化マグネシウム超電導線材及びその製造方法
JP4533254B2 (ja) 2005-06-21 2010-09-01 株式会社日立製作所 金属面の接合方法
JP4790752B2 (ja) * 2008-04-28 2011-10-12 株式会社日立製作所 超電導マグネット
JP5519430B2 (ja) * 2010-06-30 2014-06-11 株式会社日立製作所 MgB2超電導線材の製造方法
US8922308B2 (en) * 2011-10-31 2014-12-30 General Electric Company Systems and methods for alternatingly switching a persistent current switch between a first mode and a second mode
KR101351586B1 (ko) * 2012-03-12 2014-01-15 삼성전자주식회사 영구 스위치 제어 시스템, 이를 채용한 초전도 자석 장치 및 영구 스위치 제어 방법
JP2013197072A (ja) * 2012-03-23 2013-09-30 Hitachi Ltd MgB2超電導多芯線材、超電導ケーブル、超電導マグネット

Patent Citations (6)

* Cited by examiner, † Cited by third party
Publication number Priority date Publication date Assignee Title
JPH01137557U (enExample) * 1988-03-15 1989-09-20
JPH08190817A (ja) * 1995-01-06 1996-07-23 Hitachi Ltd 超電導装置および超電導装置に用いられる永久電流スイッチ素子およびその超電導線材並びに超電導線材の製造方法
JP2003069093A (ja) * 2001-08-29 2003-03-07 Central Japan Railway Co 永久電流スイッチおよびそれを用いた超電導マグネット
JP2005529832A (ja) * 2002-06-18 2005-10-06 ユニヴァーシティ・オブ・ウロンゴン 超伝導物質および合成方法
JP2006228797A (ja) * 2005-02-15 2006-08-31 Hitachi Ltd 二硼化マグネシウムを用いた永久電流スイッチおよびその製造方法
JP2007221013A (ja) * 2006-02-20 2007-08-30 Hitachi Ltd 永久電流スイッチ

Cited By (4)

* Cited by examiner, † Cited by third party
Publication number Priority date Publication date Assignee Title
EP3327733A4 (en) * 2015-07-24 2019-03-06 Hitachi, Ltd. SUPERCONDUCTING WIRE, SUPER-CHARGE COIL, MRI AND NMR
US11127514B2 (en) 2015-07-24 2021-09-21 Hitachi, Ltd. Superconducting wire, superconducting coil, MRI and NMR
WO2021054094A1 (ja) 2019-09-20 2021-03-25 住友電気工業株式会社 永久電流スイッチ及び超電導装置
US11980106B2 (en) 2019-09-20 2024-05-07 Sumitomo Electric Industries, Ltd. Persistent current switch and superconducting device

Also Published As

Publication number Publication date
JP2014045158A (ja) 2014-03-13
US20150228391A1 (en) 2015-08-13
JP6047341B2 (ja) 2016-12-21
US9887029B2 (en) 2018-02-06

Similar Documents

Publication Publication Date Title
WO2014034295A1 (ja) 伝導冷却式永久電流スイッチ、mri装置、nmr装置
US7602269B2 (en) Permanent current switch
JP3984303B2 (ja) 高温超伝導体及び該高温超伝導体の使用法
JP5276542B2 (ja) 超電導回路、超電導接続部の作製方法、超電導マグネット、及び、超電導マグネットの製造方法
US8385994B2 (en) Superconducting joint and method for manufacturing same
JP2010283186A (ja) 冷凍機冷却型超電導磁石
US20100245005A1 (en) Superconducting wire rod, persistent current switch, and superconducting magnet
JP2006174546A (ja) 二ホウ化マグネシウム超電導線の接続構造及びその接続方法
JP6666274B2 (ja) 高温超電導永久電流スイッチ及び高温超電導磁石装置
US6809618B2 (en) Switching device for superconducting technology
US20240045009A1 (en) Superconducting magnet apparatus, magnetic resonance imaging apparatus, and method for demagnetizing superconducting magnet
JP2003037303A (ja) ニホウ化マグネシウム超電導線材を用いた永久電流スイッチ付超電導コイルおよびその製造方法
JP5011181B2 (ja) 酸化物超電導電流リード
JP4477859B2 (ja) 永久電流スイッチ、超電導磁石及び磁気共鳴イメージング装置
JPWO2017212869A1 (ja) 超電導線材の接続部及び超電導線材の接続方法
KR102843501B1 (ko) 초전도 자석용 초전도 스위치
JP5603297B2 (ja) 超電導マグネット及びその製造方法
JP3734630B2 (ja) 伝導冷却型超電導磁石装置
JP2019160818A (ja) 高温超電導磁石装置、その運転制御装置及び方法
JPH11340533A (ja) 高温超電導コイル永久電流スイッチ
JP2009004794A (ja) 永久電流スイッチ
US20170040095A1 (en) Superconducting device and method for inducing low relaxation rate in superconducting material
JP2002260463A (ja) 粉末法Nb▲3▼Sn超電導線材による超電導接続構造体の製造方法
JP2013093401A (ja) 超電導マグネット及びその製造方法
EP4113548A1 (en) Superconducting magnet, superconducting wire, and method for producing superconducting magnet

Legal Events

Date Code Title Description
121 Ep: the epo has been informed by wipo that ep was designated in this application

Ref document number: 13834033

Country of ref document: EP

Kind code of ref document: A1

WWE Wipo information: entry into national phase

Ref document number: 14421470

Country of ref document: US

NENP Non-entry into the national phase

Ref country code: DE

122 Ep: pct application non-entry in european phase

Ref document number: 13834033

Country of ref document: EP

Kind code of ref document: A1