WO2014017640A1 - 平版印刷版用支持体およびその製造方法、並びに、平版印刷版原版 - Google Patents

平版印刷版用支持体およびその製造方法、並びに、平版印刷版原版 Download PDF

Info

Publication number
WO2014017640A1
WO2014017640A1 PCT/JP2013/070348 JP2013070348W WO2014017640A1 WO 2014017640 A1 WO2014017640 A1 WO 2014017640A1 JP 2013070348 W JP2013070348 W JP 2013070348W WO 2014017640 A1 WO2014017640 A1 WO 2014017640A1
Authority
WO
WIPO (PCT)
Prior art keywords
diameter
lithographic printing
diameter hole
printing plate
average
Prior art date
Legal status (The legal status is an assumption and is not a legal conclusion. Google has not performed a legal analysis and makes no representation as to the accuracy of the status listed.)
Ceased
Application number
PCT/JP2013/070348
Other languages
English (en)
French (fr)
Japanese (ja)
Inventor
義治 田川
真也 黒川
松浦 睦
侑也 宮川
澤田 宏和
西野 温夫
Current Assignee (The listed assignees may be inaccurate. Google has not performed a legal analysis and makes no representation or warranty as to the accuracy of the list.)
Fujifilm Corp
Original Assignee
Fujifilm Corp
Priority date (The priority date is an assumption and is not a legal conclusion. Google has not performed a legal analysis and makes no representation as to the accuracy of the date listed.)
Filing date
Publication date
Application filed by Fujifilm Corp filed Critical Fujifilm Corp
Priority to CN201380039683.5A priority Critical patent/CN104487261B/zh
Priority to EP13823769.8A priority patent/EP2878452B1/en
Priority to BR112015001857-2A priority patent/BR112015001857B1/pt
Publication of WO2014017640A1 publication Critical patent/WO2014017640A1/ja
Priority to US14/603,600 priority patent/US9259954B2/en
Anticipated expiration legal-status Critical
Ceased legal-status Critical Current

Links

Images

Classifications

    • BPERFORMING OPERATIONS; TRANSPORTING
    • B41PRINTING; LINING MACHINES; TYPEWRITERS; STAMPS
    • B41NPRINTING PLATES OR FOILS; MATERIALS FOR SURFACES USED IN PRINTING MACHINES FOR PRINTING, INKING, DAMPING, OR THE LIKE; PREPARING SUCH SURFACES FOR USE AND CONSERVING THEM
    • B41N1/00Printing plates or foils; Materials therefor
    • B41N1/12Printing plates or foils; Materials therefor non-metallic other than stone, e.g. printing plates or foils comprising inorganic materials in an organic matrix
    • B41N1/14Lithographic printing foils
    • BPERFORMING OPERATIONS; TRANSPORTING
    • B41PRINTING; LINING MACHINES; TYPEWRITERS; STAMPS
    • B41NPRINTING PLATES OR FOILS; MATERIALS FOR SURFACES USED IN PRINTING MACHINES FOR PRINTING, INKING, DAMPING, OR THE LIKE; PREPARING SUCH SURFACES FOR USE AND CONSERVING THEM
    • B41N3/00Preparing for use and conserving printing surfaces
    • B41N3/03Chemical or electrical pretreatment
    • B41N3/034Chemical or electrical pretreatment characterised by the electrochemical treatment of the aluminum support, e.g. anodisation, electro-graining; Sealing of the anodised layer; Treatment of the anodic layer with inorganic compounds; Colouring of the anodic layer
    • CCHEMISTRY; METALLURGY
    • C25ELECTROLYTIC OR ELECTROPHORETIC PROCESSES; APPARATUS THEREFOR
    • C25DPROCESSES FOR THE ELECTROLYTIC OR ELECTROPHORETIC PRODUCTION OF COATINGS; ELECTROFORMING; APPARATUS THEREFOR
    • C25D11/00Electrolytic coating by surface reaction, i.e. forming conversion layers
    • C25D11/005Apparatus specially adapted for electrolytic conversion coating
    • CCHEMISTRY; METALLURGY
    • C25ELECTROLYTIC OR ELECTROPHORETIC PROCESSES; APPARATUS THEREFOR
    • C25DPROCESSES FOR THE ELECTROLYTIC OR ELECTROPHORETIC PRODUCTION OF COATINGS; ELECTROFORMING; APPARATUS THEREFOR
    • C25D11/00Electrolytic coating by surface reaction, i.e. forming conversion layers
    • C25D11/02Anodisation
    • C25D11/04Anodisation of aluminium or alloys based thereon
    • C25D11/06Anodisation of aluminium or alloys based thereon characterised by the electrolytes used
    • C25D11/08Anodisation of aluminium or alloys based thereon characterised by the electrolytes used containing inorganic acids
    • CCHEMISTRY; METALLURGY
    • C25ELECTROLYTIC OR ELECTROPHORETIC PROCESSES; APPARATUS THEREFOR
    • C25DPROCESSES FOR THE ELECTROLYTIC OR ELECTROPHORETIC PRODUCTION OF COATINGS; ELECTROFORMING; APPARATUS THEREFOR
    • C25D11/00Electrolytic coating by surface reaction, i.e. forming conversion layers
    • C25D11/02Anodisation
    • C25D11/04Anodisation of aluminium or alloys based thereon
    • C25D11/12Anodising more than once, e.g. in different baths
    • CCHEMISTRY; METALLURGY
    • C25ELECTROLYTIC OR ELECTROPHORETIC PROCESSES; APPARATUS THEREFOR
    • C25DPROCESSES FOR THE ELECTROLYTIC OR ELECTROPHORETIC PRODUCTION OF COATINGS; ELECTROFORMING; APPARATUS THEREFOR
    • C25D11/00Electrolytic coating by surface reaction, i.e. forming conversion layers
    • C25D11/02Anodisation
    • C25D11/04Anodisation of aluminium or alloys based thereon
    • C25D11/16Pretreatment, e.g. desmutting
    • CCHEMISTRY; METALLURGY
    • C25ELECTROLYTIC OR ELECTROPHORETIC PROCESSES; APPARATUS THEREFOR
    • C25DPROCESSES FOR THE ELECTROLYTIC OR ELECTROPHORETIC PRODUCTION OF COATINGS; ELECTROFORMING; APPARATUS THEREFOR
    • C25D11/00Electrolytic coating by surface reaction, i.e. forming conversion layers
    • C25D11/02Anodisation
    • C25D11/04Anodisation of aluminium or alloys based thereon
    • C25D11/18After-treatment, e.g. pore-sealing
    • C25D11/24Chemical after-treatment
    • CCHEMISTRY; METALLURGY
    • C25ELECTROLYTIC OR ELECTROPHORETIC PROCESSES; APPARATUS THEREFOR
    • C25FPROCESSES FOR THE ELECTROLYTIC REMOVAL OF MATERIALS FROM OBJECTS; APPARATUS THEREFOR
    • C25F3/00Electrolytic etching or polishing
    • C25F3/02Etching
    • C25F3/04Etching of light metals
    • BPERFORMING OPERATIONS; TRANSPORTING
    • B41PRINTING; LINING MACHINES; TYPEWRITERS; STAMPS
    • B41NPRINTING PLATES OR FOILS; MATERIALS FOR SURFACES USED IN PRINTING MACHINES FOR PRINTING, INKING, DAMPING, OR THE LIKE; PREPARING SUCH SURFACES FOR USE AND CONSERVING THEM
    • B41N1/00Printing plates or foils; Materials therefor
    • B41N1/04Printing plates or foils; Materials therefor metallic
    • B41N1/08Printing plates or foils; Materials therefor metallic for lithographic printing
    • B41N1/083Printing plates or foils; Materials therefor metallic for lithographic printing made of aluminium or aluminium alloys or having such surface layers

Definitions

  • the present invention relates to a lithographic printing plate support, a method for producing the same, and a lithographic printing plate precursor.
  • the lithographic printing method is a printing method that utilizes the fact that water and oil are not essentially mixed.
  • the printing plate surface of the lithographic printing plate used for this is a region that accepts water and repels oil-based ink (hereinafter referred to as “removal”). This region is referred to as a “non-image portion”) and a region that repels water and receives oil-based ink (hereinafter, this region is referred to as “image portion”).
  • An aluminum support for a lithographic printing plate used for a lithographic printing plate (hereinafter simply referred to as a “support for a lithographic printing plate”) is used so that its surface bears a non-image portion, and therefore has hydrophilicity and water retention.
  • a support for a lithographic printing plate is used so that its surface bears a non-image portion, and therefore has hydrophilicity and water retention.
  • hydrophilicity of the support is too low, ink will adhere to the non-image area during printing, and the blanket cylinder will be soiled, and so-called background soiling will occur.
  • the water holding capacity of the support is too low, the shadow portion is clogged unless dampening water is increased during printing. Therefore, the so-called water width is narrowed.
  • Patent Document 1 the surface of a roughened aluminum plate is anodized as a first step, then pore-wide processing is performed, and the pore diameter is smaller than the micropores of the first step anodized film.
  • a method for producing a support for a lithographic printing plate by anodizing again under the above conditions is disclosed. It is described that a lithographic printing plate obtained using the lithographic printing plate support is excellent in printing durability and on-press developability.
  • the present invention can provide a lithographic printing plate precursor exhibiting excellent printing durability and excellent on-press developability when used as a lithographic printing plate, and excellent scratch resistance. It is an object of the present invention to provide a lithographic printing plate support, a method for producing a lithographic printing plate support, and a lithographic printing plate precursor.
  • the present inventors have found that the above problem can be solved by controlling the shape of micropores in the anodized film (particularly, the shape of the large-diameter hole). . That is, the present invention provides the following (1) to (9).
  • a lithographic printing plate support comprising an aluminum plate and an aluminum anodized film thereon, and having micropores extending in the depth direction from the surface opposite to the aluminum plate in the anodized film. And The micropore communicates with the large-diameter hole extending from the anodic oxide film surface to an average depth of 75 to 120 nm (depth A) and the bottom of the large-diameter hole, and the average depth of 900 to 2000 nm from the communication position.
  • the small diameter hole portion has a first small diameter hole portion and a second small diameter hole portion having different average depths, The average depth of the first small-diameter hole is deeper than the average depth of the second small-diameter hole,
  • the lithographic printing plate support according to (1) wherein the average thickness of the anodized film from the bottom of the first small-diameter hole portion to the aluminum plate surface is 17 nm or more and the minimum thickness is 15 nm or more.
  • the average diameter (bottom average diameter) is large, the bottom average diameter is more than 10 nm and not more than 60 nm, and the ratio of the bottom average diameter to the depth A (depth A / bottom average diameter) is 1.2 or more and less than 12.0.
  • a lithographic printing plate precursor comprising an image recording layer on the lithographic printing plate support according to any one of (1) to (7).
  • a lithographic printing plate according to any one of (1) to (7), further comprising a second anodizing treatment step of anodizing the aluminum plate having the anodized film obtained in the first anodizing treatment step A method for producing a support for a lithographic printing plate, wherein the support is produced.
  • a lithographic printing plate precursor having excellent printing durability and excellent on-press developability when used as a lithographic printing plate, and having excellent scratch resistance.
  • Body a method for producing a lithographic printing plate support, and a lithographic printing plate precursor.
  • the lithographic printing plate using the lithographic printing plate support obtained in the present invention exhibits the same characteristics as the prior art in terms of neglectability and ink repellency. Further, the lithographic printing plate support obtained in the present invention also exhibits excellent scratch resistance.
  • FIG. 1 is a schematic cross-sectional view of a preferred embodiment of a lithographic printing plate support of the present invention.
  • the lithographic printing plate support of the present invention comprises an aluminum plate and an anodized film formed thereon, and the micropores in the anodized film have large diameter holes with a large average diameter and a small average diameter.
  • the small-diameter hole has a shape configured by being connected along the depth direction (the thickness direction of the film).
  • the on-press developability and the printing durability which have been regarded as a trade-off relationship. Relationships can be reconciled at a higher level.
  • FIG. 1A is a schematic cross-sectional view of an embodiment of a lithographic printing plate support of the present invention.
  • the planographic printing plate support 10 shown in FIG. 1 has a laminated structure in which an aluminum plate 12 and an aluminum anodized film 14 (hereinafter also simply referred to as an anodized film) are laminated in this order.
  • the anodized film 14 has micropores 16 extending from the surface thereof toward the aluminum plate 12, and the micropores 16 are composed of a large diameter hole portion 18 and a small diameter hole portion 20.
  • the term micropore is a commonly used term representing the pore in the anodized film and does not define the size of the pore.
  • the aluminum plate 12 (aluminum support) used in the present invention is a metal whose main component is aluminum that is dimensionally stable, and is made of aluminum or an aluminum alloy.
  • an alloy plate containing aluminum as a main component and containing a trace amount of foreign elements, or a plastic film or paper laminated or vapor-deposited with aluminum (alloy) is selected.
  • a composite sheet in which an aluminum sheet is bonded to a polyethylene terephthalate film as described in Japanese Patent Publication No. 48-18327 may be used.
  • a plate made of aluminum or an aluminum alloy mentioned above is generically called an aluminum plate 12.
  • the foreign elements contained in the aluminum alloy include silicon, iron, manganese, copper, magnesium, chromium, zinc, bismuth, nickel, titanium, etc., and the content of the foreign element in the alloy is 10% by mass or less.
  • a pure aluminum plate is suitable.
  • pure aluminum is difficult to manufacture in terms of smelting technology, it may contain a slightly different element.
  • the composition of the aluminum plate 12 applied to the present invention is not specified, and conventionally known and used materials such as JISJA 1050, JIS A 1100, JIS A 3103, JIS A 3005, etc. Can be used as appropriate.
  • the aluminum plate 12 used in the present invention is usually processed while continuously running in a web shape, and the width is about 400 mm to 2000 mm and the thickness is about 0.1 mm to 0.6 mm.
  • the width and thickness can be changed as appropriate according to the size of the printing press, the size of the printing plate, and the desire of the user.
  • the aluminum plate is appropriately subjected to substrate surface treatment as described below.
  • the anodized film 14 is generally produced on the surface of the aluminum plate 12 by anodizing treatment, and is substantially perpendicular to the film surface, and has an anodized aluminum film having ultrafine micropores 16 that are uniformly distributed. Alumina film).
  • the micropores 16 extend along the thickness direction (aluminum plate 12 side) from the surface of the anodized film opposite to the aluminum plate 12.
  • the micropores 16 in the anodized film 14 include a large diameter hole 18 extending from the surface of the anodized film to an average depth of 75 to 120 nm (depth A: see FIG. 1), and a bottom of the large diameter hole 18.
  • the small-diameter hole 20 extends from the communication position (communication position Y: see FIG. 1) to an average depth of 900 to 2000 nm. Below, the large diameter hole part 18 and the small diameter hole part 20 are explained in full detail.
  • the average diameter (average opening diameter) of the large-diameter hole 18 on the surface of the anodized film 14 is 10 nm or more and less than 30 nm. Within such a range, excellent printing durability of a lithographic printing plate obtained using a lithographic printing plate support, and excellent printing durability and on-press developability of a lithographic printing plate precursor obtained using a support. Ink removal and neglectability are achieved. Of these, the average diameter is preferably 10 to 25 nm, more preferably 11 to 15 nm, and even more preferably 11 to 13 nm, from the viewpoint of more excellent printing durability.
  • the diameter (diameter) of the micropore (large-diameter hole) is measured and averaged.
  • a circle equivalent diameter is used.
  • the “equivalent circle diameter” is a diameter of the circle when the shape of the opening is assumed to be a circle having the same projected area as the projected area of the opening.
  • the bottom of the large-diameter hole 18 is located at an average depth of 75 to 120 nm (hereinafter also referred to as depth A) from the surface of the anodized film. That is, the large-diameter hole 18 is a hole extending from 75 to 120 nm in the depth direction (thickness direction) from the surface of the anodized film. Within such a range, excellent printing durability of the lithographic printing plate obtained using the lithographic printing plate support, and excellent on-press developability of the lithographic printing plate precursor obtained using the support are achieved. . Of these, the depth A is preferably 85 to 110 nm, more preferably 85 to 105 nm, from the viewpoint of more excellent printing durability and on-press developability.
  • the measuring method of the cross section of an anodic oxide film can apply a well-known method (For example, an anodic oxide film is processed by FIB cutting, a thin film (about 50 nm) is produced, and the cross section of the anodic oxide film 14 is measured. ).
  • the relationship (depth A / average diameter) between the average diameter of the large-diameter hole portion 18 and the depth A where the bottom portion is located satisfies the relationship of more than 4.0 and 12.0 or less. Within such a range, excellent printing durability of the lithographic printing plate obtained using the lithographic printing plate support, and excellent on-press developability of the lithographic printing plate precursor obtained using the support are achieved. . Of these, (depth A / average diameter) is preferably 5.6 to 10.0, more preferably 6.5 to 9.6, in terms of more excellent printing durability and on-press developability. More preferred.
  • the shape of the large-diameter hole portion 18 is not particularly limited, and is substantially straight tubular (substantially cylindrical), an inverted conical shape (tapered shape) whose diameter decreases from the anodized film surface toward the aluminum plate 12 side, an anodized film Examples include a substantially conical shape (reverse taper shape) whose diameter increases from the surface toward the aluminum plate 12 side. Preferably, it is a substantially straight tube shape or a reverse taper shape.
  • the inner diameter of the large-diameter hole 18 may have a difference of about 1 to 5 nm compared to the opening diameter on the surface of the anodized film 16.
  • FIG. 2 shows a case where the large-diameter hole portion 18a has a substantially conical shape (reverse taper shape) whose diameter increases from the surface of the anodized film 14 toward the aluminum plate 12 side.
  • the diameter (inner diameter) of the large-diameter hole 18a in the lithographic printing plate support 100 gradually increases from the surface of the anodized film 14 toward the aluminum plate 12 side.
  • the shape of the large-diameter hole 18a is not particularly limited as long as the above-described diameter condition is satisfied, but is substantially conical or bell-shaped.
  • the lithographic printing plate is excellent in various properties such as printing durability, neglectability, and ink repellency.
  • the average diameter (surface layer average diameter) of the large-diameter hole 18a on the surface of the anodized film 14 is smaller than the average diameter (bottom average diameter) at the communication position Y with the small-diameter hole 20 of the large-diameter hole 18a.
  • the size of the bottom average diameter is not particularly limited, but is preferably more than 10 nm and not more than 60 nm, and preferably 20 to 30 nm. Within this range, the lithographic printing plate is excellent in various properties such as neglectability, ink repellency, and on-press developability.
  • the ratio of the bottom average diameter to the depth A is not particularly limited, but is preferably 1.2 or more and less than 12.0, and preferably 2.5 to 6.0. It is more preferable. Within such a range, the lithographic printing plate has excellent properties such as printing durability, neglectability, and ink repellency.
  • a known method can be applied to the method for measuring the cross section of the anodized film. For example, the anodized film 14 is subjected to FIB cutting to produce a thin film (about 50 nm), and the cross section of the anodized film 14 is measured.
  • the surface area increase magnification represented by the following formula (A) is preferably 1.9 to 16.0, and more preferably 2.1 to 11.7. . Within this range, the lithographic printing plate has excellent printing durability, neglectability, ink wiping property or on-press development property.
  • “1” in the above formula (A) represents an area of 1 ⁇ m ⁇ 1 ⁇ m on the surface of the anodized film.
  • “ ⁇ ⁇ (surface layer average diameter / 2 + bottom average diameter / 2) ⁇ ((bottom average diameter / 2 ⁇ surface layer average diameter / 2) 2 + depth A 2 ) 1/2 ” is a large-diameter hole.
  • “ ⁇ x (bottom average diameter / 2) 2 " represents the area of the bottom surface of the large-diameter hole
  • “ ⁇ x (surface layer average diameter / 2) 2 " represents the large-diameter hole. It represents the area of the opening on the surface of the anodized film.
  • the shape of the bottom of the large-diameter hole 18 is not particularly limited, and may be a curved surface (convex shape) or a planar shape.
  • the small-diameter hole 20 is a hole that communicates with the bottom of the large-diameter hole 18 and extends further in the depth direction (thickness direction) than the communication position Y.
  • One small-diameter hole 20 normally communicates with one large-diameter hole 18, but two or more small-diameter holes 20 may communicate with the bottom of one large-diameter hole 18.
  • the average diameter at the communication position of the small-diameter hole 20 is greater than 0 and less than 10.0 nm.
  • the average diameter is preferably 9.5 nm or less, and more preferably 9.0 nm or less, from the viewpoint that the on-press development property, ink repellency, or neglectability is more excellent.
  • the average diameter is 10.0 nm or more, the printing durability of the lithographic printing plate using the lithographic printing plate support of the present invention and the on-press developability of the lithographic printing plate precursor are poor.
  • the average diameter of the small-diameter portion 20, the anodized film 14 surface was observed N 4 sheets at a magnification 150,000 ⁇ FE-SEM, the four images obtained are present in a range of 400 ⁇ 600 nm 2 Micro It is a value obtained by measuring and averaging the diameter (diameter) of the pore (small-diameter hole).
  • the upper part of the anodic oxide film 14 region having the large-diameter hole
  • is cut for example, cut with argon gas
  • the average diameter of the small diameter holes may be obtained by observing the surface with the FE-SEM.
  • an equivalent circle diameter is used.
  • the “equivalent circle diameter” is a diameter of the circle when the shape of the opening is assumed to be a circle having the same projected area as the projected area of the opening.
  • the bottom of the small-diameter hole 20 is located at a place extending 900 to 2000 nm further in the depth direction from the communication position with the large-diameter hole 18 (corresponding to the depth A described above).
  • the small-diameter hole 20 is a hole extending further in the depth direction (thickness direction) from the communication position with the large-diameter hole 18, and the average depth of the small-diameter hole 20 is 900 to 2000 nm.
  • the bottom is preferably located at a location extending 900 to 1500 nm from the communicating position. When the average depth is less than 900 nm, the scratch resistance of the lithographic printing plate support is poor.
  • the average depth is a value obtained by taking a photograph (50,000 times) of the cross section of the anodic oxide film 14 observed by FE-SEM and measuring the depths of 25 or more small-diameter holes.
  • the ratio of the average diameter at the communication position of the small-diameter hole 20 and the average diameter of the large-diameter hole 18 on the surface of the anodized film is not particularly limited, but is more than 1.00 1 Is preferably .50 or less, more preferably 1.10 to 1.40, and even more preferably 1.10 to 1.30. Within the above range, the lithographic printing plate has better printing durability or on-press developability.
  • the density of the small-diameter hole 20 in the cross section of the anodized film 14 at the communication position Y is not particularly limited, but is preferably 100 to 5000 / ⁇ m 2 , and more preferably 600 to 1200 / ⁇ m 2 . Within this range, the on-press developability, ink repellency, or neglectability of the lithographic printing plate is further improved.
  • the shape of the small-diameter hole 20 is not particularly limited, and includes a substantially straight tube (substantially cylindrical shape), a conical shape whose diameter decreases in the depth direction, and the like, preferably a substantially straight tube.
  • the small-diameter hole 20 may be a hole extending from the communication position Y while branching toward the aluminum plate 12.
  • the shape of the bottom part of the small diameter hole part 20 is not specifically limited, A curved surface shape (convex shape) may be sufficient, and planar shape may be sufficient.
  • the inner diameter of the small-diameter hole 20 is not particularly limited, but is usually the same size as the diameter at the communication position, or may be smaller or larger than the diameter.
  • the inner diameter of the small-diameter hole 20 may usually have a difference of about 1 to 10 nm from the diameter of the opening.
  • the thickness of the anodized film from the bottom of the small-diameter hole 20 to the surface of the aluminum plate 12 is not particularly limited, but is preferably 7 to 50 nm, More preferably.
  • the portion of the anodized film located at the thickness X is sometimes called a barrier layer. If the thickness X is in the above range, fine spot dirt is more excellent.
  • the numerical value of the thickness X is an average value, and is a value obtained by measuring the thickness of the anodized film from the bottom of the small-diameter hole 20 at 50 or more locations to the surface of the aluminum plate 12 and arithmetically averaging them.
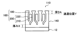
  • the planographic printing plate support 110 has a laminated structure in which an aluminum plate 12 and an anodized aluminum film 140 are laminated in this order.
  • the anodized film 140 has a micropore 160 extending from the surface thereof toward the aluminum plate 12, and the micropore 160 is composed of a large diameter hole portion 180 and a small diameter hole portion 200.
  • the large-diameter hole portion 180 has a substantially conical shape (reverse taper shape) whose diameter increases from the surface of the anodized film 14 toward the aluminum plate 12 as described with reference to FIG.
  • Various ranges such as the surface layer average diameter, bottom average diameter, ratio (depth A / bottom average diameter), and surface area increase ratio of the large-diameter hole portion 180 are as described above.
  • the small-diameter hole 200 is a hole that communicates with the bottom of the large-diameter hole 180 and extends further in the depth direction (thickness direction) than the communication position Y.
  • two small-diameter holes 200 communicate with one large-diameter hole 180, but the present invention is not limited to this mode, and one small-diameter hole 200 communicates with one large-diameter hole 180.
  • two or more small-diameter holes 200 may communicate with one large-diameter hole 180.
  • the average diameter at the communication position of the small-diameter hole portion 200 is synonymous with the average diameter of the small-diameter hole portion 20, and the preferred range is also the same.
  • the average depth of the small diameter hole portion 200 is synonymous with the average depth of the small diameter hole portion 20, and the preferred range is also the same.
  • the ratio of the average diameter at the communication position of the small-diameter hole portion 200 to the average diameter of the large-diameter hole portion 180 at the surface of the anodized film is the average at the communication position of the small-diameter hole portion 20. It is synonymous with the ratio of the diameter and the average diameter of the large-diameter hole 18 on the surface of the anodized film (large-diameter hole diameter / small-diameter hole diameter), and the preferred range is also the same.
  • the small diameter hole portion 200 includes a first small diameter hole portion 210 and a second small diameter hole portion 220 having different average depths.
  • the average depth of the first small diameter hole portion 210 is deeper than the average depth of the second small diameter hole portion 220. That is, the bottom portion of the first small diameter hole portion 210 is located closer to the aluminum plate 12 than the bottom portion of the second small diameter hole portion 220.
  • the calculation method of the average depth of the 1st small diameter hole part 210 and the 2nd small diameter hole part 220 is as follows.
  • the shortest small-diameter hole (hereinafter referred to as the smallest small-diameter hole) and the longest small-diameter hole (hereinafter referred to as the largest small-diameter hole) are selected from the small-diameter holes, and the position of the bottom of one small-diameter hole is selected. Is selected as the second small-diameter hole when the position is close to the bottom of the smallest small-diameter hole, and the first small-diameter hole is selected when the position of the bottom of one small-diameter hole is close to the bottom of the largest small-diameter hole Selected as part.
  • the position of the bottom part of one small diameter hole part is located between the position of the bottom part of the smallest small diameter hole part and the position of the bottom part of the largest small diameter hole part, it is selected as the first small diameter hole part.
  • At least 25 depths of the small-diameter holes selected as the first small-diameter hole are measured, and they are arithmetically averaged to measure the average depth of the first small-diameter hole.
  • at least 25 depths of the small-diameter holes selected as the second small-diameter holes are measured, and they are arithmetically averaged to measure the average depth of the second small-diameter holes.
  • the difference between the average depth of the first small-diameter hole portion 210 and the average depth of the second small-diameter hole portion 220 is not particularly limited, but is preferably 75 to 200 nm, more preferably 100 to 200 nm is more preferable.
  • the density of the small-diameter hole portion 200 in the cross section of the anodized film 140 at the communication position Y is not particularly limited, but is preferably 100 to 5000 / ⁇ m 2 , and more preferably 600 to 1200 / ⁇ m 2 . Within this range, the on-press developability, ink repellency, or neglectability of the lithographic printing plate is further improved.
  • the density of the first small-diameter hole 210 is not particularly limited, but is preferably 550 to 700 / ⁇ m 2, and more preferably 550 to 650 / ⁇ m 2 in terms of better resistance to pot-like dirt.
  • the average thickness X of the anodic oxide film from the bottom of the first small-diameter hole 210 to the surface of the aluminum plate 12 is not particularly limited, but is preferably 17 nm or more, more preferably 18 nm or more in terms of more excellent spot-like stain resistance. Is more preferable.
  • the upper limit is not particularly limited, but is usually 30 nm or less in many cases.
  • the said average thickness is the value which measured the thickness of the anodic oxide film from the bottom part of the 1st small diameter hole part 210 of 50 or more places to the aluminum plate 12, and arithmetically averaged them.
  • the minimum thickness of the anodized film from the bottom of the first small-diameter hole 210 to the surface of the aluminum plate 12 is not particularly limited, but is preferably 15 nm or more, and more preferably 17 nm or more.
  • the shape of the first small-diameter hole portion 210 and the second small-diameter hole portion 220 is not particularly limited, and examples thereof include a substantially straight tubular shape (substantially cylindrical shape).
  • the first small-diameter hole portion 210 has a larger inner diameter (for example, about 1 to 10 nm larger) in the region on the aluminum plate 12 side from the position where the bottom of the second small-diameter hole portion 220 is located. It may be.
  • Step of anodizing aluminum plate Step of anodizing aluminum plate (third anodizing step) Step of anodizing aluminum plate obtained in second anodizing step (hydrophilizing step) Obtained in second or third anodizing step
  • the process of performing a hydrophilization treatment on the aluminum plate thus obtained will be described in detail below. Note that the roughening treatment step, the pore wide treatment step, the hydrophilization treatment step, and the third anodizing treatment step may be omitted if not necessary.
  • FIG. 3 is a schematic cross-sectional view of the substrate and the anodic oxide film showing the order from the first anodizing process to the third anodizing process.
  • the roughening treatment step is a step of subjecting the surface of the aluminum plate to a roughening treatment including an electrochemical roughening treatment. This step is preferably performed before the first anodizing step described later, but may not be performed as long as the surface of the aluminum plate already has a preferable surface shape.
  • the surface roughening treatment may be performed only by electrochemical surface roughening treatment, but may be performed by combining electrochemical surface roughening treatment with mechanical surface roughening treatment and / or chemical surface roughening treatment. Also good. When the mechanical surface roughening treatment and the electrochemical surface roughening treatment are combined, it is preferable to perform the electrochemical surface roughening treatment after the mechanical surface roughening treatment.
  • the electrochemical surface roughening treatment is preferably performed in an aqueous solution of nitric acid or hydrochloric acid.
  • the mechanical roughening treatment is generally performed for the purpose of setting the surface of the aluminum plate to a surface roughness Ra : 0.35 to 1.0 ⁇ m.
  • the conditions for the mechanical surface roughening treatment are not particularly limited, but for example, it can be applied according to the method described in Japanese Patent Publication No. 50-40047.
  • the mechanical surface roughening treatment can be performed by brush grain processing using a pumiston suspension or can be performed by a transfer method.
  • the chemical surface roughening treatment is not particularly limited, and can be performed according to a known method.
  • the following chemical etching treatment is preferably performed.
  • the chemical etching process performed after the mechanical roughening process smoothes the uneven edges of the surface of the aluminum plate, prevents ink from being caught during printing, and improves the stain resistance of the lithographic printing plate At the same time, it is performed to remove unnecessary materials such as abrasive particles remaining on the surface.
  • acid etching or alkali etching is known, but as a method that is particularly excellent in terms of etching efficiency, chemical etching treatment using an alkaline solution (hereinafter also referred to as “alkali etching treatment”). ).
  • the alkaline agent used in the alkaline solution is not particularly limited, and preferred examples include caustic soda, caustic potash, sodium metasilicate, sodium carbonate, sodium aluminate, and sodium gluconate. Each alkaline agent may contain aluminum ions.
  • the concentration of the alkaline solution is preferably 0.01% by mass or more, more preferably 3% by mass or more, more preferably 30% by mass or less, and more preferably 25% by mass or less. preferable.
  • the temperature of the alkaline solution is preferably room temperature or higher, more preferably 30 ° C. or higher, preferably 80 ° C. or lower, and more preferably 75 ° C. or lower.
  • the etching amount is preferably 0.1 g / m 2 or more, more preferably 1 g / m 2 or more, more preferably 20 g / m 2 or less, and 10 g / m 2 or less. Is more preferable.
  • the treatment time is preferably 2 seconds to 5 minutes corresponding to the etching amount, and more preferably 2 to 10 seconds from the viewpoint of improving productivity.
  • a chemical etching treatment (hereinafter referred to as “desmut treatment”) is performed using a low-temperature acidic solution in order to remove products generated by the alkali etching treatment. It is also preferable to apply.
  • the acid used for an acidic solution is not specifically limited, For example, a sulfuric acid, nitric acid, and hydrochloric acid are mentioned.
  • the concentration of the acidic solution is preferably 1 to 50% by mass.
  • the temperature of the acidic solution is preferably 20 to 80 ° C. When the concentration and temperature of the acidic solution are within this range, the spot-like stain resistance of the lithographic printing plate using the lithographic printing plate support of the present invention is further improved.
  • the roughening process is a process of applying an electrochemical roughening process after performing a mechanical roughening process and a chemical etching process as desired.
  • the chemical etching treatment can be performed using an alkaline aqueous solution such as caustic soda before the electrochemical surface roughening treatment. Thereby, impurities existing in the vicinity of the surface of the aluminum plate can be removed.
  • the electrochemical roughening treatment is suitable for making a lithographic printing plate having excellent printability because it is easy to impart fine irregularities (pits) to the surface of the aluminum plate.
  • the electrochemical surface roughening treatment is performed using direct current or alternating current in an aqueous solution mainly composed of nitric acid or hydrochloric acid.
  • the following chemical etching treatment after the electrochemical surface roughening treatment.
  • Smut and intermetallic compounds exist on the surface of the aluminum plate after the electrochemical roughening treatment.
  • the chemical etching process performed after the electrochemical surface roughening process it is preferable to first perform a chemical etching process (alkali etching process) using an alkaline solution in order to efficiently remove smut.
  • the treatment temperature is preferably 20 to 80 ° C.
  • the treatment time is preferably 1 to 60 seconds.
  • a chemical etching treatment using an alkaline solution is performed, and then a chemical etching treatment (desmut treatment) is performed using a low-temperature acidic solution in order to remove the resulting products. Is preferred. Even when the alkali etching treatment is not performed after the electrochemical surface roughening treatment, it is preferable to perform a desmut treatment in order to efficiently remove the smut.
  • any of the above-described chemical etching treatments can be performed by a dipping method, a shower method, a coating method, or the like, and is not particularly limited.
  • the aluminum plate having the micropores extending in the depth direction (thickness direction) is formed on the surface of the aluminum plate by anodizing the aluminum plate subjected to the roughening treatment. This is a step of forming a film.
  • an aluminum anodic oxide film 14a having micropores 16a is formed on the surface of the aluminum plate 12, as shown in FIG.
  • the first anodizing treatment can be performed by a method conventionally performed in this field, but manufacturing conditions are appropriately set so that the above-described micropore 16 can be finally formed.
  • the average diameter (average opening diameter) of the micropores 16a formed in the first anodizing treatment step is usually about 4 to 14 nm, preferably 5 to 10 nm. If it is in the said range, the micropore 16 which has the predetermined shape mentioned above will be easy to form, and the performance of the obtained lithographic printing plate and lithographic printing plate precursor will be more excellent.
  • the depth of the micropore 16a is usually about 65 to 110 nm, preferably 75 to 95 nm. If it is in the said range, the micropore 16 which has the predetermined shape mentioned above will be easy to form, and the performance of the obtained lithographic printing plate and lithographic printing plate precursor will be more excellent.
  • the pore density of the micropores 16a is not particularly limited, but the pore density is preferably 50 to 4000 / ⁇ m 2 , and more preferably 100 to 3000 / ⁇ m 2 . Within the above range, the resulting lithographic printing plate is excellent in printing durability and neglectability and on-press developability of the lithographic printing plate precursor.
  • the thickness of the anodized film obtained by the first anodizing treatment step is preferably 75 to 120 nm, more preferably 85 to 105 nm. If it is within the above range, the printing durability of the lithographic printing plate using the lithographic printing plate support obtained through the step, neglectability, pot stain resistance, and round white spot resistance, and Excellent on-press developability of lithographic printing plate precursor. Further, the coating amount of the anodized film obtained by the first anodizing treatment step is preferably 0.18 to 0.29 g / m 2 , more preferably 0.2 to 0.25 g / m 2 . If it is within the above range, the printing durability of the lithographic printing plate using the lithographic printing plate support obtained through the step, neglectability, pot stain resistance, and round white spot resistance, and Excellent on-press developability of lithographic printing plate precursor.
  • an aqueous solution of sulfuric acid, phosphoric acid, oxalic acid or the like can be mainly used as an electrolytic bath.
  • chromic acid, sulfamic acid, benzenesulfonic acid, etc., or an aqueous solution or a non-aqueous solution combining two or more of these may be used.
  • direct current or alternating current is passed through the aluminum plate in the electrolytic bath as described above, an anodized film can be formed on the surface of the aluminum plate.
  • the electrolytic bath may contain aluminum ions.
  • the content of aluminum ions is not particularly limited, but is preferably 1 to 10 g / L.
  • the conditions of the anodizing treatment are appropriately set depending on the electrolytic solution used.
  • the concentration of the electrolytic solution is 1 to 80% by mass (preferably 5 to 20% by mass)
  • the liquid temperature is 5 to 70 ° C. ( Preferably 10 to 60 ° C.)
  • current density 0.5 to 60 A / dm 2 (preferably 5 to 50 A / dm 2 )
  • voltage 1 to 100 V preferably 5 to 50 V
  • electrolysis time 1 to 100 seconds preferably The range of 5 to 60 seconds is appropriate.
  • the pore wide treatment step is a treatment (pore diameter enlargement treatment) for enlarging the diameter (pore diameter) of the micropores present in the anodized film formed by the first anodizing treatment step described above.
  • the average diameter of the micropores 16b is preferably expanded to a range of 10 nm or more and less than 30 nm.
  • the micropore 16b is a portion corresponding to the large-diameter hole 18 described above. Moreover, it is preferable to adjust so that the average depth from the surface of the micropore 16b may become comparable with the depth A mentioned above by this process.
  • the pore-wide treatment is performed by bringing the aluminum plate obtained by the above-described first anodizing treatment step into contact with an acid aqueous solution or an alkali aqueous solution.
  • the method of making it contact is not specifically limited, For example, the immersion method and the spray method are mentioned. Of these, the dipping method is preferred.
  • an alkaline aqueous solution When an alkaline aqueous solution is used in the pore wide treatment step, it is preferable to use at least one alkaline aqueous solution selected from the group consisting of sodium hydroxide, potassium hydroxide, and lithium hydroxide.
  • the concentration of the alkaline aqueous solution is preferably 0.1 to 5% by mass.
  • the aluminum plate After adjusting the pH of the alkaline aqueous solution to 11 to 13, the aluminum plate is placed in the alkaline aqueous solution for 1 to 300 seconds (preferably 1 to 50 seconds) under the condition of 10 to 70 ° C. (preferably 20 to 50 ° C.). It is appropriate to make it contact.
  • the alkali treatment liquid may contain a metal salt of a polyvalent weak acid such as carbonate, borate or phosphate.
  • an aqueous acid solution When an aqueous acid solution is used in the pore-wide treatment step, it is preferable to use an aqueous solution of an inorganic acid such as sulfuric acid, phosphoric acid, nitric acid, hydrochloric acid, or a mixture thereof.
  • the concentration of the acid aqueous solution is preferably 1 to 80% by mass, more preferably 5 to 50% by mass. It is appropriate that the aluminum plate is brought into contact with the acid aqueous solution for 1 to 300 seconds (preferably 1 to 150 seconds) under the condition that the aqueous solution of the acid aqueous solution is 5 to 70 ° C. (preferably 10 to 60 ° C.).
  • the alkaline aqueous solution or the acidic aqueous solution may contain aluminum ions.
  • the content of aluminum ions is not particularly limited, but is preferably 1 to 10 g / L.
  • the second anodizing treatment step is a step of forming micropores extending in the depth direction (thickness direction) by subjecting the aluminum plate subjected to the above-described pore wide treatment to anodizing treatment.
  • an anodized film 14c having micropores 16c extending in the depth direction is formed as shown in FIG.
  • the average diameter is communicated with the bottom of the micropore 16b, the average diameter is smaller than the average diameter of the micropore 16b (corresponding to the large diameter hole 18), and the depth from the communicating position.
  • a new hole extending in the direction is formed. The hole corresponds to the small diameter hole 20 described above.
  • the average diameter of the newly formed hole is greater than 0 and less than 10 nm, and the average depth from the communication position with the large diameter hole 18 is within the predetermined range described above. Processing is performed.
  • the electrolytic bath used for the treatment is the same as that in the first anodizing treatment step, and the treatment conditions are appropriately set according to the material used.
  • the conditions of the anodizing treatment are appropriately set depending on the electrolytic solution used. In general, the concentration of the electrolytic solution is 1 to 80% by mass (preferably 5 to 20% by mass), and the liquid temperature is 5 to 70 ° C.
  • the film thickness of the anodized film obtained by the second anodizing treatment step is usually 900 to 2000 nm, preferably 900 to 1500 nm.
  • the lithographic printing plate using the lithographic printing plate support obtained through this step is excellent in printing durability and neglectability, and on-press developability of the lithographic printing plate precursor.
  • the coating amount of the anodized film obtained by the second anodizing treatment step is usually 2.2 to 5.4 g / m 2 , preferably 2.2 to 4.0 g / m 2 .
  • the lithographic printing plate using the lithographic printing plate support obtained through this step is excellent in printing durability and neglectability, and on-press developability of the lithographic printing plate precursor.
  • Ratio (film thickness 1 / film thickness) of the thickness of the anodized film obtained by the first anodizing process (film thickness 1) and the thickness of the anodized film obtained by the second anodizing process (film thickness 2) 2) is preferably from 0.01 to 0.15, more preferably from 0.02 to 0.10. Within the above range, the lithographic printing plate support is excellent in scratch resistance.
  • the voltage may increase the voltage to apply stepwise or continuously during the process of a 2nd anodizing process. As the applied voltage increases, the diameter of the hole to be formed increases. Note that, by increasing the voltage applied in the second anodizing treatment step, the thickness of the anodized film between the bottom of the obtained small diameter hole and the aluminum plate tends to increase. If the anodized film between the bottom of the small-diameter hole and the aluminum plate has a predetermined thickness by performing the above-described treatment, the third anodizing treatment step described later may not be performed. .
  • the anodizing treatment is mainly performed between the bottom of the small-diameter hole and the aluminum plate by further anodizing the aluminum plate subjected to the second anodizing treatment.
  • This is a step of increasing the thickness of the coating (the thickness of the barrier layer).
  • the thickness X becomes a predetermined size as shown in FIG.
  • the third anodizing process need not be performed.
  • the conditions of the anodizing treatment in the third anodizing treatment step are appropriately set depending on the electrolyte used, but usually, the treatment is performed at a voltage higher than the voltage applied in the second anodizing treatment step.
  • the kind of electrolyte solution used is not specifically limited, The electrolyte solution mentioned above can be used.
  • the thickness X can be efficiently increased without changing the shape of the small-diameter hole portion obtained by the second anodizing treatment.
  • the coating amount of the anodized film obtained by the third anodizing treatment step is usually 0.13 to 0.65 g / m 2 , preferably 0.26 to 0.52 g / m 2 . If it is within the above range, the printing durability of the lithographic printing plate using the lithographic printing plate support obtained through the step, neglectability, pot stain resistance, and round white spot resistance, and Excellent on-press developability of lithographic printing plate precursor.
  • micropores may extend further to the aluminum side by performing the third anodizing treatment step.
  • the method for producing a lithographic printing plate support of the present invention may have a hydrophilization treatment step in which a hydrophilization treatment is performed after the second or third anodizing treatment step described above.
  • a hydrophilization treatment a known method disclosed in paragraphs [0109] to [0114] of JP-A-2005-254638 can be used.
  • Hydrophilization by a method of immersing in an aqueous solution of an alkali metal silicate such as sodium silicate or potassium silicate, or a method of forming a hydrophilic undercoat layer by applying a hydrophilic vinyl polymer or hydrophilic compound. It is preferable to carry out the treatment.
  • an alkali metal silicate such as sodium silicate or potassium silicate
  • Hydrophilization treatment with an aqueous solution of an alkali metal silicate such as sodium silicate and potassium silicate is described in US Pat. No. 2,714,066 and US Pat. No. 3,181,461. It can be performed according to methods and procedures.
  • the lithographic printing plate support of the present invention is preferably a lithographic printing plate support obtained by subjecting the above-described aluminum plate to the treatments shown in the following A and B aspects in the order shown below. From the viewpoint of printing durability, the A mode is particularly preferable. In addition, it is desirable to perform water washing between the following processes. However, when two steps (processes) to be performed in succession use a liquid having the same composition, washing with water may be omitted.
  • the process (1) may implement a mechanical surface roughening process as needed before the process of (2) of the said A aspect and B aspect. From the viewpoint of printing durability and the like, it is preferable that the process (1) is not included in each embodiment.
  • the mechanical surface roughening treatment, electrochemical surface roughening treatment, chemical etching treatment, anodizing treatment and hydrophilization treatment in the above (1) to (12) are the same as the above-described treatment methods and conditions. However, the treatment is preferably performed under the treatment method and conditions described below.
  • the mechanical roughening treatment is preferably mechanically roughened with a rotating nylon brush roll having a bristle diameter of 0.2 to 1.61 mm and a slurry liquid supplied to the surface of the aluminum plate.
  • a well-known thing can be used as an abrasive
  • the specific gravity of the slurry liquid is preferably 1.05 to 1.3.
  • a method of spraying a slurry liquid, a method of using a wire brush, a method of transferring the surface shape of an uneven rolling roll to an aluminum plate, or the like may be used.
  • the concentration of the alkaline aqueous solution used for the chemical etching treatment in the alkaline aqueous solution is preferably 1 to 30% by mass, and 0 to 10% by mass of the alloy component contained in aluminum and the aluminum alloy may be contained.
  • an aqueous solution mainly composed of caustic soda is particularly preferable.
  • the liquid temperature is preferably from room temperature to 95 ° C. and is preferably treated for 1 to 120 seconds. After the etching process is completed, it is preferable to perform liquid draining with a nip roller and water washing with a spray so as not to bring the processing liquid into the next process.
  • the dissolution amount of the aluminum plate in the first alkaline etching treatment is preferably 0.5 to 30 g / m 2 , more preferably 1.0 to 20 g / m 2 , and 3.0 to 15 g / m 2. More preferably.
  • the amount of dissolution of the aluminum plate in the second alkali etching treatment is preferably 0.001 to 30 g / m 2 , more preferably 0.1 to 4 g / m 2 , and 0.2 to 1.5 g / m 2. even more preferably in the range of m 2.
  • the amount of dissolution of the aluminum plate in the third alkali etching treatment is preferably 0.001 to 30 g / m 2 , more preferably 0.01 to 0.8 g / m 2 , and 0.02 to 0.00. More preferably, it is 3 g / m 2 .
  • the chemical etching treatment in an acidic aqueous solution, phosphoric acid, nitric acid, sulfuric acid, chromic acid, hydrochloric acid, or a mixed acid containing two or more acids thereof is preferably used.
  • the concentration of the acidic aqueous solution is preferably 0.5 to 60% by mass. Further, in the acidic aqueous solution, 0 to 5% by mass of aluminum and an alloy component contained in the aluminum alloy may be dissolved.
  • the liquid temperature is from room temperature to 95 ° C., and the treatment time is preferably 1 to 120 seconds. After the desmut treatment is completed, it is preferable to perform liquid draining with a nip roller and water washing with a spray so as not to bring the treatment liquid into the next step.
  • the aqueous solution used for the electrochemical surface roughening treatment will be described.
  • the aqueous solution mainly composed of nitric acid used in the first electrochemical surface roughening treatment one used for an ordinary electrochemical surface roughening treatment using direct current or alternating current can be used, and an aqueous nitric acid solution of 1 to 100 g / L. 1 to 1 g / L to saturation of one or more of hydrochloric acid or nitric acid compound having nitrate ions such as aluminum nitrate, sodium nitrate, ammonium nitrate; hydrochloric acid ions such as aluminum chloride, sodium chloride, ammonium chloride; be able to.
  • the metal contained in aluminum alloys such as iron, copper, manganese, nickel, titanium, magnesium, and a silica, may melt
  • the temperature is preferably 10 to 90 ° C, more preferably 40 to 80 ° C.
  • the aqueous solution mainly composed of hydrochloric acid used in the second electrochemical surface roughening treatment can be the one used for the normal surface roughening treatment using direct current or alternating current, and can be 1 to 100 g / L.
  • hydrochloric acid ions such as aluminum chloride, sodium chloride and ammonium chloride
  • the metal contained in aluminum alloys such as iron, copper, manganese, nickel, titanium, magnesium, and a silica, may melt
  • the temperature is preferably 10 to 60 ° C., more preferably 20 to 50 ° C. Hypochlorous acid may be added.
  • the aqueous solution mainly composed of hydrochloric acid used in the electrochemical surface roughening treatment in the aqueous hydrochloric acid solution in the embodiment B can be used for the electrochemical surface roughening treatment using ordinary direct current or alternating current, It can be used by adding 0-30 g / L of sulfuric acid to 1-100 g / L hydrochloric acid aqueous solution. Also, to this solution, add one or more of hydrochloric acid or nitric acid compound having nitrate ions such as aluminum nitrate, sodium nitrate, ammonium nitrate; hydrochloric acid ions such as aluminum chloride, sodium chloride, ammonium chloride, etc.
  • the metal contained in aluminum alloys such as iron, copper, manganese, nickel, titanium, magnesium, and a silica, may melt
  • a solution obtained by adding aluminum chloride, aluminum nitrate or the like so that the aluminum ion is 3 to 50 g / L in a 0.5 to 2% by mass nitric acid aqueous solution.
  • the temperature is preferably 10 to 60 ° C., more preferably 20 to 50 ° C. Hypochlorous acid may be added.
  • Sine wave, rectangular wave, trapezoidal wave, triangular wave, etc. can be used as the alternating current power supply waveform for electrochemical roughening treatment.
  • the frequency is preferably 0.1 to 250 Hz.
  • FIG. 4 is a graph showing an example of an alternating waveform current waveform diagram used for an electrochemical roughening treatment in the method for producing a lithographic printing plate support of the present invention.
  • ta is the anode reaction time
  • tc is the cathode reaction time
  • tp is the time until the current reaches the peak from
  • Ia is the peak current on the anode cycle side
  • Ic is the peak current on the cathode cycle side. It is.
  • the time tp until the current reaches a peak from 0 is preferably 1 to 10 msec.
  • tp Due to the influence of the impedance of the power supply circuit, if tp is less than 1, a large power supply voltage is required at the rise of the current waveform, and the equipment cost of the power supply increases. When it is longer than 10 msec, it is easily affected by a trace component in the electrolytic solution, and uniform surface roughening is difficult to be performed.
  • the condition of one cycle of alternating current used for electrochemical surface roughening is that the ratio tc / ta of the anode reaction time ta to the cathode reaction time tc of the aluminum plate is 1 to 20, the quantity of electricity Qc when the aluminum plate is anode and the anode It is preferable that the ratio Qc / Qa of the amount of electricity Qa is 0.3 to 20 and the anode reaction time ta is 5 to 1000 msec. More preferably, tc / ta is 2.5-15. Qc / Qa is more preferably 2.5 to 15.
  • the current density is preferably 10 to 200 A / dm 2 for both the anode cycle side Ia and the cathode cycle side Ic of the current at the peak value of the trapezoidal wave.
  • Ic / Ia is preferably in the range of 0.3 to 20.
  • the total amount of electricity involved in the anode reaction of the aluminum plate at the end of electrochemical roughening is preferably 25 to 1000 C / dm 2 .
  • electrolytic cell used for electrochemical surface roughening using alternating current known electrolytic cells such as a vertical type, a flat type, and a radial type can be used.
  • a radial electrolytic cell as described in Japanese Patent No. 195300 is particularly preferred.
  • FIG. 5 is a side view showing an example of a radial type cell in an electrochemical surface roughening treatment using alternating current in the method for producing a lithographic printing plate support of the present invention.
  • 50 is a main electrolytic cell
  • 51 is an AC power source
  • 52 is a radial drum roller
  • 53a and 53b are main electrodes
  • 54 is an electrolyte supply port
  • 55 is an electrolyte
  • 56 is a slit
  • 57 is an electrolyte passage
  • 58 is an auxiliary anode
  • 60 is an auxiliary anode tank
  • W is an aluminum plate.
  • the electrolysis conditions may be the same or different.
  • the aluminum plate W is wound around a radial drum roller 52 disposed so as to be immersed in the main electrolytic cell 50, and is subjected to electrolytic treatment by main electrodes 53a and 53b connected to the AC power source 51 in the course of conveyance.
  • the electrolytic solution 55 is supplied from the electrolytic solution supply port 54 to the electrolytic solution passage 57 between the radial drum roller 52 and the main poles 53a and 53b through the slit 56.
  • the aluminum plate W treated in the main electrolytic cell 50 is then subjected to electrolytic treatment in the auxiliary anode cell 60.
  • An auxiliary anode 58 is disposed opposite to the aluminum plate W in the auxiliary anode tank 60, and the electrolytic solution 55 is supplied so as to flow in the space between the auxiliary anode 58 and the aluminum plate W.
  • a direct current is applied between the aluminum plate and the electrode facing the aluminum plate to electrochemically roughen the surface. There may be.
  • Drying step After obtaining the lithographic printing plate support obtained by the steps described above, it is preferable to perform a treatment (drying step) for drying the surface of the lithographic printing plate support before providing an image recording layer described later. Drying is preferably performed after the final treatment of the surface treatment, after washing with water and draining with a nip roller. Specific conditions are not particularly limited, but drying by hot air (50 to 200 ° C.) or a cold air natural drying method is preferable.
  • the lithographic printing plate support of the present invention can be provided with an image recording layer such as a photosensitive layer and a heat-sensitive layer exemplified below to form the lithographic printing plate precursor of the present invention.
  • the image recording layer is not particularly limited.
  • conventional positive type, conventional negative type, photopolymer type (photopolymerization type photosensitive composition) described in paragraphs [0042] to [0198] of JP-A-2003-1956 Preferably), a thermal positive type, a thermal negative type, and an unprocessable type capable of on-machine development.
  • a suitable image recording layer will be described in detail.
  • a preferred image recording layer that can be used in the lithographic printing plate precursor according to the present invention is a layer that can be removed by printing ink and / or fountain solution.
  • the image recording layer preferably has a polymerizable compound and can be recorded by infrared irradiation.
  • it may be an image recording layer having thermoplastic polymer particles and an infrared absorber and capable of recording by infrared irradiation, and the image recording layer may have a polyglycerol compound.
  • the exposed portion of the image recording layer is cured by infrared irradiation to form a hydrophobic (lipophilic) region, and the unexposed portion is dampened with water, ink or ink at the start of printing. It is quickly removed from the support by an emulsion of fountain solution and ink.
  • each component of the image recording layer will be described.
  • an image recording layer having an infrared absorber, a polymerization initiator, and a polymerizable compound, which can be recorded by infrared irradiation (Infrared absorber)
  • Infrared absorber When forming an image of the lithographic printing plate precursor according to the present invention using a laser emitting an infrared ray of 760 to 1200 nm as a light source, an infrared absorber is usually used.
  • the infrared absorber has a function of converting the absorbed infrared ray into heat and a function of being excited by the infrared ray and transferring electrons / energy to a polymerization initiator (radical generator) described later.
  • the infrared absorber that can be used in the present invention is a dye or pigment having an absorption maximum at a wavelength of 760 to 1200 nm.
  • dyes commercially available dyes, for example, known dyes described in documents such as “Dye Handbook” (edited by the Society for Synthetic Organic Chemistry, published in 1970) can be used. Specifically, dyes such as azo dyes, metal complex azo dyes, pyrazolone azo dyes, naphthoquinone dyes, anthraquinone dyes, phthalocyanine dyes, carbonium dyes, quinoneimine dyes, methine dyes, cyanine dyes, squarylium dyes, pyrylium salts, metal thiolate complexes, etc. Is mentioned. For example, the dyes disclosed in paragraphs [0096] to [0107] of JP2009-255434A can be suitably used.
  • pigments described in paragraphs [0108] to [0112] of JP2009-255434A can be used.
  • the polymerization initiator is a compound that generates radicals by energy of light, heat, or both, and initiates and accelerates polymerization of a compound having a polymerizable unsaturated group. In the present invention, radicals are generated by heat. It is preferable to use a compound (thermal radical generator).
  • a known thermal polymerization initiator a compound having a bond with a small bond dissociation energy, a photopolymerization initiator, or the like can be used.
  • polymerization initiator for example, polymerization initiators described in paragraphs [0115] to [0141] of JP-A-2009-255434 can be used.
  • An onium salt or the like can be used as a polymerization initiator, and the oxime ester compound, diazonium salt, iodonium salt, or sulfonium salt is preferable from the viewpoint of reactivity and stability.
  • These polymerization initiators are added in a proportion of 0.1 to 50% by mass, preferably 0.5 to 30% by mass, particularly preferably 1 to 20% by mass, based on the total solid content constituting the image recording layer. Can do. Within this range, good sensitivity and good stain resistance of the non-image area during printing can be obtained.
  • the polymerizable compound is an addition polymerizable compound having at least one ethylenically unsaturated double bond, and is selected from compounds having at least one, preferably two or more terminal ethylenically unsaturated bonds.
  • those compounds widely known in the technical field of the present invention can be used without any particular limitation.
  • the polymerizable compound for example, polymerizable compounds exemplified in paragraphs [0142] to [0163] of JP2009-255434A can be used.
  • urethane-based addition polymerizable compounds produced using an addition reaction of isocyanate and hydroxyl groups.
  • Specific examples thereof include a vinyl monomer containing a hydroxyl group represented by the following general formula (A) in a polyisocyanate compound having two or more isocyanate groups per molecule described in JP-B-48-41708.
  • vinyl urethane compounds containing two or more polymerizable vinyl groups in one molecule to which is added are also suitable.
  • CH 2 C (R 4) COOCH 2 CH (R 5) OH (A) (However, R 4 and R 5 represent H or CH 3. )
  • the polymerizable compound is preferably used in the range of 5 to 80% by mass, more preferably 25 to 75% by mass with respect to the non-volatile component in the image recording layer. These may be used alone or in combination of two or more.
  • a binder polymer in the present invention, can be used for the image recording layer in order to improve the film forming property of the image recording layer.
  • Conventionally known binder polymers can be used without limitation, and polymers having film properties are preferred.
  • a binder polymer for example, acrylic resin, polyvinyl acetal resin, polyurethane resin, polyurea resin, polyimide resin, polyamide resin, epoxy resin, methacrylic resin, polystyrene resin, novolac phenolic resin, Polyester resin, synthetic rubber, natural rubber and the like can be mentioned.
  • the binder polymer may have crosslinkability in order to improve the film strength of the image area.
  • a crosslinkable functional group such as an ethylenically unsaturated bond may be introduced into the main chain or side chain of the polymer.
  • the crosslinkable functional group may be introduced by copolymerization.
  • binder polymer for example, binder polymers disclosed in paragraphs [0165] to [0172] of JP-A-2009-255434 can be used.
  • the content of the binder polymer is 5 to 90% by mass, preferably 5 to 80% by mass, and more preferably 10 to 70% by mass with respect to the total solid content of the image recording layer. Within this range, good image area strength and image formability can be obtained. Further, the polymerizable compound and the binder polymer are preferably used in an amount of 0.5 / 1 to 4/1 by mass ratio.
  • surfactant In the image recording layer, it is preferable to use a surfactant in order to promote on-press developability at the start of printing and to improve the coated surface state.
  • the surfactant include nonionic surfactants, anionic surfactants, cationic surfactants, amphoteric surfactants, and fluorosurfactants.
  • surfactant for example, surfactants disclosed in paragraphs [0175] to [0179] of JP2009-255434A can be used.
  • Surfactant can be used individually or in combination of 2 or more types.
  • the content of the surfactant is preferably 0.001 to 10% by mass, and more preferably 0.01 to 5% by mass, based on the total solid content of the image recording layer.
  • various compounds may be added to the image recording layer as necessary.
  • colorants, print-out agents, polymerization inhibitors, higher fatty acid derivatives, plasticizers, inorganic fine particles, low molecular weight hydrophilic compounds and the like disclosed in paragraphs [0181] to [0190] of JP-A-2009-255434 are disclosed. Can be mentioned.
  • an image recording layer is prepared using a photopolymerization type photosensitive composition (photopolymer type) containing an addition polymerizable compound, a photopolymerization initiator, and a polymer binder.
  • a photopolymerization type photosensitive composition photopolymer type
  • an addition polymerizable compound an ethylenically unsaturated bond-containing compound capable of addition polymerization is preferably exemplified.
  • the ethylenically unsaturated bond-containing compound is a compound having a terminal ethylenically unsaturated bond.
  • the photopolymerization initiator various photopolymerization initiators or a combination system (photoinitiation system) of two or more kinds of photopolymerization initiators can be appropriately selected depending on the wavelength of the light source to be used.
  • thermoplastic polymer particles (Second form: an image recording layer having thermoplastic polymer particles and an infrared absorber and capable of recording by infrared irradiation)
  • Thermoplastic polymer particles The average particle diameter of the thermoplastic polymer particles is preferably 45 nm to 63 nm, more preferably 45 nm to 60 nm, still more preferably 45 nm to 59 nm, particularly preferably 45 nm to 55 nm, and most preferably 48 nm to 52 nm.
  • particle size is defined as the particle diameter measured by Photon Correlation Spectroscopy, also known as Quasi-Elastic or Dynamic Light-Scattering. .
  • This method is a convenient method for measuring the particle size, and the value of the measured particle size is the calibration of spherical particles by light scattering in Technical Note-002B on May 15, 2000 (spherical particles by light scattering). (Diameter scale correction). Particles measured with a transmission electron microscope (TEM) as disclosed by Duke et al. (Revised from the paper published in 1/3/2000 in Particulate Science and Technology 7, p. 223-228 (1989)) It matches the diameter well.
  • TEM transmission electron microscope
  • the amount of the thermoplastic polymer particles in the image recording layer is preferably 70% by mass to 85% by mass, and more preferably 75% by mass to 85% by mass.
  • the mass percentage of the thermoplastic polymer particles is determined with respect to the mass of all components in the image recording layer.
  • thermoplastic polymer particles are preferably polyethylene, poly (vinyl) chloride, polymethyl (meth) acrylate, polyethyl (meth) acrylate, polyvinylidene chloride, poly (meth) acrylonitrile, polyvinyl carbazole, polystyrene or copolymers thereof. is there.
  • the thermoplastic polymer particles are polystyrene or a derivative thereof, a mixture comprising polystyrene and poly (meth) acrylonitrile or a derivative thereof, or a co-polymer comprising polystyrene and poly (meth) acrylonitrile or a derivative thereof. Comprising coalescence.
  • the latter copolymer may comprise at least 50% by weight polystyrene, and more preferably at least 65% by weight polystyrene.
  • the thermoplastic polymer particles are preferably at least 5% by weight, as described in EP 1,219,416. Nitrogen-containing units, more preferably at least 30% by weight of nitrogen-containing units such as (meth) acrylonitrile.
  • the thermoplastic polymer particles consist essentially of styrene and acrylonitrile units in a mass ratio of 1: 1 to 5: 1 (styrene: acrylonitrile), for example a ratio of 2: 1.
  • the weight average molecular weight of the thermoplastic polymer particles is preferably in the range of 5,000 to 1,000,000 g / mol.
  • the concentration of the infrared absorber in the image recording layer is preferably at least 6% by weight, more preferably at least 8% by weight, based on the weight of all components in the image recording layer.
  • Preferred IR absorbing compounds are dyes such as cyanine, merocyanine, indoaniline, oxonol, pyrylium and squarylium dyes or pigments such as carbon black. Examples of suitable infrared absorbers include, for example, European Patent Nos. 823327, 978376, 1029667, 1053868, 1093934, WO 97/39894, and 00/29214. It is described in the publication. Preferred compounds are the following cyanine dyes.
  • the image recording layer can further contain other components.
  • Well-known ingredients such as additional binders, polymer particles such as matting agents and spacers, surfactants such as perfluorosurfactants, silicon or titanium dioxide particles, development inhibitors, development accelerators or colorants It is. Particularly advantageous is the addition of colorants such as dyes or pigments which give the image recording layer a visible color and remain in the exposed areas of the image recording layer after the processing stage. Thus, the image areas that are not removed during the processing stage form a visible image on the printing plate, allowing inspection of the printing plate already developed at this stage.
  • contrasting dyes are amino-substituted tri- or diarylmethane dyes such as crystal violet, methyl violet, Victoria pure blue, flex sobrau 630, basonyl brou 640, auramine and malachite green.
  • the dyes discussed in detail in the detailed description of EP 400,706 are also suitable contrast dyes.
  • a hydrophilic resin can be added to the image recording layer in order to improve the on-press developability and the film strength of the image forming layer.
  • a hydrophilic resin that is not three-dimensionally cross-linked is preferable because of good on-press developability.
  • hydrophilic resin what has hydrophilic groups, such as a hydroxyl group, a carboxyl group, a hydroxyethyl group, a hydroxypropyl group, an amino group, an aminoethyl group, an aminopropyl group, a carboxymethyl group, for example is preferable.
  • hydrophilic resins include gum arabic, casein, gelatin, soya gum, starch and derivatives thereof, cellulose derivatives such as hydroxyethyl cellulose, hydroxypropyl cellulose, methyl cellulose, carboxymethyl cellulose and salts thereof, and cellulose acetate, alginic acid and alkali metal salts thereof.
  • a surfactant for example, a fluorosurfactant as described in JP-A-62-170950 is used as necessary. Can be added. A preferable addition amount is 0.01 to 1% by mass of the solid content of the image forming layer.
  • the image-recording layer containing the above components can be exposed as image directly by heat, for example, by a thermal head or indirectly by infrared rays, preferably near infrared rays. Infrared radiation is preferably converted to heat by an infrared absorber as described above.
  • the heat sensitive lithographic printing plate precursor used in the present invention is preferably not sensitive to visible light.
  • the image recording layer has ambient sunlight, ie visible light (400-750 nm) at an intensity and exposure time corresponding to normal working conditions so that the material can be processed without the need for a safe light environment. And insensitive to near UV light (300-400 nm).
  • the image recording layer is formed by preparing a coating solution by dispersing or dissolving the necessary components described above in a solvent and then coating the coating solution on a support.
  • a solvent ethylene dichloride, cyclohexanone, methyl ethyl ketone, methanol, ethanol, propanol, ethylene glycol monomethyl ether, 1-methoxy-2-propanol, 2-methoxyethyl acetate, 1-methoxy-2-propyl acetate, Although water etc. can be mentioned, it is not limited to this. These solvents are used alone or in combination.
  • the solid content concentration of the coating solution is preferably 1 to 50% by mass.
  • the coating amount (solid content) of the image recording layer on the lithographic printing plate support obtained after coating and drying varies depending on the use, but is generally preferably from 0.3 to 3.0 g / m 2 . Within this range, good sensitivity and good film characteristics of the image recording layer can be obtained.
  • the coating method include bar coater coating, spin coating, spray coating, curtain coating, dip coating, air knife coating, blade coating, and roll coating.
  • the undercoat layer preferably contains a polymer having a substrate adsorptive group, a polymerizable group, and a hydrophilic group.
  • a polymer having a substrate adsorptive group, a polymerizable group and a hydrophilic group a monomer having an adsorptive group, a monomer having a hydrophilic group, and a monomer having a polymerizable reactive group (crosslinkable group) were copolymerized.
  • polymer resins for undercoat layers examples include monomers described in paragraphs [0197] to [0210] of JP-A-2009-255434.
  • the aspect which performs a predetermined process with respect to the surface of a support body, and forms an undercoat layer is also mentioned preferably.
  • the surface of aluminum oxide can be silicidized by treating the surface with a sodium silicate solution at a high temperature, for example 95 ° C.
  • a phosphate treatment that involves treating the surface of aluminum oxide with a phosphate solution that can further contain an inorganic fluoride can be applied.
  • the aluminum oxide surface may be organic acids and / or salts thereof, such as carboxylic acids, hydrocarboxylic acids, sulfonic acids or phosphonic acids, or salts thereof such as succinates, phosphates, phosphonates, sulfates and Can be rinsed with sulfonate.
  • Citric acid or citrate is preferred. This treatment may be carried out at room temperature or at a slightly elevated temperature of about 30 ° C to 50 ° C.
  • a further interesting treatment involves rinsing the surface of the aluminum oxide with a bicarbonate solution.
  • the aluminum oxide surface is formed by reaction with polyvinyl phosphonic acid, polyvinyl methyl phosphonic acid, polyvinyl alcohol phosphate ester, polyvinyl sulfonic acid, polyvinyl benzene sulfonic acid, polyvinyl alcohol sulfate ester and sulfonated aliphatic aldehyde. Can be treated with alcohol acetals. It is further evident that one or more of these post treatments can be carried out alone or in combination. Further details of these processes are described in British Patent No. 1084070, German Patent No. 4423140, German Patent No. 4417907, European Patent No. 659909, European Patent No. 537633, German Patent No. 4001466, European Patent No. 292801. No., EP 291760 and US Pat. No. 4,458,005.
  • a crosslinked hydrophilic layer obtained from a hydrophilic binder crosslinked with a curing agent such as formaldehyde, glyoxal, polyisocyanate or hydrolyzed tetra-alkylorthosilicate may be mentioned.
  • the thickness of the crosslinked hydrophilic layer can vary within the range of 0.2 to 25 ⁇ m, preferably 1 to 10 ⁇ m.
  • Hydrophilic binders for use in the crosslinked hydrophilic layer are, for example, vinyl alcohol, acrylamide, methylol acrylamide, methylol methacrylamide, acrylate acid, methacrylate acid, hydroxyethyl acrylate, hydroxyethyl methacrylate homopolymers and copolymers or A hydrophilic (co) polymer such as maleic anhydride / vinyl methyl ether copolymer.
  • the hydrophilicity of the (co) polymer or (co) polymer mixture used is preferably at least equal to the hydrophilicity of polyvinyl acetate hydrolyzed to the extent of at least 60% by weight, preferably 80% by weight. Over.
  • the amount of curing agent, especially tetra-alkyl orthosilicate, is preferably at least 0.2 parts by weight, more preferably 0.5-5 parts by weight, most preferably 1-3 parts by weight per part by weight of the hydrophilic binder. Between.
  • the coating amount (solid content) of the undercoat layer is preferably 0.1 to 100 mg / m 2 , more preferably 1 to 50 mg / m 2 .
  • a protective layer is provided on the image recording layer as necessary in order to prevent the occurrence of scratches in the image recording layer, to block oxygen, and to prevent ablation during high-illuminance laser exposure. Can do.
  • the protective layer is described in detail in US Pat. No. 3,458,311 and JP-B-55-49729. Examples of the material used for the protective layer include materials described in paragraphs [0213] to [02227] of JP2009-255434A (water-soluble polymer compounds, inorganic layered compounds, etc.). be able to.
  • the prepared protective layer coating solution is applied onto the image recording layer provided on the support and dried to form a protective layer.
  • the coating solvent can be appropriately selected in relation to the binder, but when a water-soluble polymer is used, it is preferable to use distilled water or purified water.
  • the coating method of the protective layer is not particularly limited, and examples thereof include a blade coating method, an air knife coating method, a gravure coating method, a roll coating coating method, a spray coating method, a dip coating method, and a bar coating method.
  • the coating amount of the protective layer, the coating amount after drying is preferably in the range of 0.01 ⁇ 10g / m 2, more preferably in the range of 0.02 ⁇ 3g / m 2, and most preferably 0. It is in the range of 02 to 1 g / m 2 .
  • the lithographic printing plate precursor according to the present invention having the image recording layer as described above has excellent neglectability, printing durability, anti-smudge resistance, and round-out white spot resistance when used as a lithographic printing plate.
  • the on-press development type a lithographic printing plate precursor having improved on-press developability is obtained.
  • Example A> ⁇ Manufacture of lithographic printing plate support>
  • the aluminum alloy sheet having the composition shown in Table A having a thickness of 0.3 mm was subjected to the following treatments (a) to (n) to produce a lithographic printing plate support.
  • the water washing process was performed between all the process steps, and the liquid draining was performed with the nip roller after the water washing process.
  • Table A the compositions of aluminum alloy plates used in Examples 1 to 30 and Comparative Examples 1 to 22 described later are disclosed, and the numerical values in each component column represent mass%, The part is Al.
  • A Mechanical roughening treatment (brush grain method) Using an apparatus as shown in FIG. 6, while supplying a suspension of pumice (specific gravity: 1.1 g / cm 3 ) as a polishing slurry liquid to the surface of the aluminum plate, a mechanical rough surface by a rotating bundle-planting brush The treatment was performed.
  • 1 is an aluminum plate
  • 2 and 4 are roller-like brushes (bundling brushes in this embodiment)
  • 3 is an abrasive slurry
  • 5, 6, 7 and 8 are support rollers.
  • the median diameter ( ⁇ m) of the abrasive was 30 ⁇ m
  • the number of brushes was 4
  • the number of rotations (rpm) of the brushes was 250 rpm.
  • the material of the bunch planting brush was 6 ⁇ 10 nylon, with a bristle diameter of 0.3 mm and a bristle length of 50 mm.
  • the brush was planted so as to be dense by making a hole in a stainless steel tube having a diameter of 300 mm.
  • the distance between the two support rollers ( ⁇ 200 mm) at the bottom of the bundle-planting brush was 300 mm.
  • the bundle brush was pressed until the load of the drive motor for rotating the brush became 10 kW plus with respect to the load before the bundle brush was pressed against the aluminum plate.
  • the rotating direction of the brush was the same as the moving direction of the aluminum plate.
  • Electrochemical roughening treatment An electrochemical roughening treatment was carried out continuously using an alternating voltage of nitric acid electrolysis 60 Hz. As the electrolytic solution at this time, an electrolytic solution in which aluminum nitrate was adjusted to 4.5 g / L by adding aluminum nitrate to an aqueous solution having a temperature of 35 ° C. and nitric acid of 10.4 g / L was used.
  • the AC power supply waveform is the waveform shown in FIG. 4. The time tp until the current value reaches a peak from zero is 0.8 msec, the duty ratio is 1: 1, and a trapezoidal rectangular wave AC is used with the carbon electrode as the counter electrode.
  • An electrochemical roughening treatment was performed.
  • Ferrite was used for the auxiliary anode.
  • the electrolytic cell shown in FIG. 5 was used.
  • the current density was 30 A / dm 2 at the peak current value, and 5% of the current flowing from the power source was shunted to the auxiliary anode.
  • Electric quantity (C / dm 2) the aluminum plate was 185C / dm 2 as the total quantity of electricity when the anode. Then, water washing by spraying was performed.
  • desmutting treatment was performed in an aqueous sulfuric acid solution.
  • the sulfuric acid aqueous solution used for the desmut treatment was a solution having a sulfuric acid concentration of 170 g / L and an aluminum ion concentration of 5 g / L.
  • the liquid temperature was 60 ° C.
  • the desmutting liquid was sprayed and sprayed for 3 seconds.
  • Electrochemical roughening treatment An electrochemical roughening treatment was carried out continuously using an alternating voltage of hydrochloric acid electrolysis 60 Hz.
  • As the electrolytic solution an electrolytic solution in which aluminum chloride was adjusted to 4.5 g / L by adding aluminum chloride to an aqueous solution having a liquid temperature of 35 ° C. and hydrochloric acid of 6.2 g / L was used.
  • the AC power supply waveform is the waveform shown in FIG. 4.
  • the time tp until the current value reaches a peak from zero is 0.8 msec, the duty ratio is 1: 1, and a trapezoidal rectangular wave AC is used with the carbon electrode as the counter electrode.
  • An electrochemical roughening treatment was performed. Ferrite was used for the auxiliary anode.
  • the electrolytic cell shown in FIG. 5 was used.
  • the current density was 25A / dm 2 at the peak of electric current amount of hydrochloric acid electrolysis (C / dm 2) the aluminum plate was 63C / dm 2 as the total quantity of electricity when the anode. Then, water washing by spraying was performed.
  • (H) Alkaline etching treatment The aluminum plate obtained above was etched by spraying a caustic soda aqueous solution having a caustic soda concentration of 5 mass% and an aluminum ion concentration of 0.5 mass% with a spray tube at a temperature of 50C. Then, water washing by spraying was performed. The amount of aluminum dissolved was 0.1 g / m 2 .
  • FIG. 6 A first stage anodizing treatment was performed using a direct current electrolysis anodizing apparatus having a structure shown in FIG. Anodization was performed under the conditions shown in Table 1 to form an anodized film having a predetermined film thickness.
  • the electrolytic solution used is an aqueous solution containing the components in Table 1.
  • the aluminum plate 616 is transported as indicated by arrows in FIG. The aluminum plate 616 is charged (+) by the power supply electrode 620 in the power supply tank 612 in which the electrolytic solution 618 is stored. Then, the aluminum plate 616 is conveyed upward by the roller 622 in the power supply tank 612, and the direction is changed downward by the nip roller 624.
  • the aluminum plate 616 is conveyed toward the electrolytic treatment tank 614 in which the electrolytic solution 626 is stored, and by the roller 628.
  • the direction is changed horizontally.
  • the aluminum plate 616 is charged to ( ⁇ ) by the electrolytic electrode 630 to form an anodic oxide film on the surface thereof, and the aluminum plate 616 exiting the electrolytic treatment tank 614 is conveyed to a subsequent process.
  • the direction changing means is constituted by the roller 622, the nip roller 624 and the roller 628, and the aluminum plate 616 is disposed between the power supply tank 612 and the electrolytic treatment tank 614 in the above-described rollers 622, 624 and 628. Thus, it is conveyed into a mountain shape and an inverted U shape.
  • the feeding electrode 620 and the electrolytic electrode 630 are connected to a DC power source 634.
  • (L) Second Anodizing Treatment A second stage anodizing treatment was performed using a direct current electrolysis anodizing apparatus having a structure shown in FIG. Anodization was performed under the conditions shown in Table 1 to form an anodized film having a predetermined film thickness.
  • the electrolytic solution used is an aqueous solution containing the components in Table 1.
  • (M) Third Anodizing Treatment A third stage anodizing treatment was performed using a direct current electrolysis anodizing apparatus having the structure shown in FIG. Anodization was performed under the conditions shown in Table 1 to form an anodized film having a predetermined film thickness.
  • the electrolytic solution used is an aqueous solution containing the components in Table 1.
  • the average value is an arithmetic average obtained by measuring the thickness of the anodized film from the bottom of the 50 small-diameter holes to the surface of the aluminum plate.
  • the average value means that the thickness of the anodized film from the bottom of the first small-diameter hole to the surface of the aluminum plate was measured at 50 locations, and these were arithmetically averaged. Is.
  • the diameters of the micropores (large-diameter holes and small-diameter holes) existing in the range of 400 ⁇ 600 nm 2 were measured and averaged.
  • the upper part of the anodized film was cut, and thereafter various diameters were obtained.
  • the average depth of the small-diameter hole was measured by observing the cross section of the support (anodized film) with FE-SEM (50,000 times) and measuring the depth of 25 arbitrary micropores in the obtained image. The average value.
  • the electrolyte solution used at each process is an aqueous solution containing the components in Table 1.
  • “-” means not implemented.
  • concentration represents the concentration (g / l) of the component described in the “solution” column.
  • “Communication density” in Table 2 means the density of small-diameter holes in the cross section of the anodized film at the communication position.
  • “Surface area increase ratio” means a value calculated based on the above-described formula (A).
  • the average depth (nm)” column of the small diameter holes in Table 2 is on the left side. The average depth of one small-diameter hole is shown on the right side.
  • Examples 13 to 15 and Examples 26 to 30 in the “communication part density” column of the small diameter hole part in Table 2, the density of the first small diameter hole part is set together with the communication part density of the small diameter hole part. Shown in parentheses. In Examples 13 to 15 and Examples 26 to 30, the average diameter of the first small-diameter holes located from the bottom of the second small-diameter hole to the bottom of the first small-diameter hole is about 12 nm. there were.
  • micropores having a predetermined average diameter and average depth were formed in the anodized film of aluminum.
  • the image recording layer coating solution is bar-coated on the undercoat layer formed as described above, and then oven-dried at 100 ° C. for 60 seconds to form an image recording layer having a dry coating amount of 1.3 g / m 2. did. All the image recording layer coating solutions were obtained by mixing and stirring the respective photosensitive solutions and microgel solutions immediately before coating.
  • Microgel solution > ⁇ Microgel (1) 2.640 g ⁇ Distilled water 2.425g
  • the structures of the binder polymer (1), the infrared absorber (1), the radical polymerization initiator (1), the phosphonium compound (1), the low molecular weight hydrophilic compound (1) and the fluorine-based surfactant (1) are as follows: It is as shown below.
  • microgel (1) described above was synthesized as follows.
  • the oil phase component and the aqueous phase component were mixed and emulsified for 10 minutes at 12,000 rpm using a homogenizer.
  • the obtained emulsion was added to 25 g of distilled water, stirred at room temperature for 30 minutes, and then stirred at 50 ° C. for 3 hours.
  • the microgel solution thus obtained was diluted with distilled water to a solid content concentration of 15% by mass, and this was used as the microgel (1).
  • the average particle size of the microgel was measured by a light scattering method, the average particle size was 0.2 ⁇ m.
  • a protective layer coating solution having the following composition was further bar-coated on the image recording layer formed as described above, followed by oven drying at 120 ° C. for 60 seconds to provide a dry coating amount of 0.15 g / m 2 .
  • a layer was formed to obtain a lithographic printing plate precursor.
  • the inorganic layered compound dispersion liquid (1) described above is prepared as follows.
  • ⁇ Evaluation of planographic printing plate> (On-press developability)
  • the resulting lithographic printing plate precursor was exposed with a Luxel PLASETTER T-6000III manufactured by Fuji Film Co., Ltd. equipped with an infrared semiconductor laser under the conditions of an outer drum rotation speed of 1000 rpm, a laser output of 70%, and a resolution of 2400 dpi.
  • the exposure image includes a solid image and a 50% dot chart of a 20 ⁇ m dot FM screen.
  • the obtained exposed original plate was attached to a plate cylinder of a printing machine LITHRONE 26 manufactured by Komori Corporation without developing.
  • 100 sheets were printed on Tokuhishi Art (76.5 kg) paper at a printing speed of 10,000 sheets per hour. Measures the number of print sheets required until the on-press development on the printing machine in the unexposed area of the 50% halftone chart is completed and the ink is not transferred to the halftone dot non-image area as the on-press developability. did.
  • a (15 or less damaged paper), B (16 to 19 or more damaged paper), C (20 to 30 damaged paper), D (31 or more damaged paper) did. The results are shown in Table 3.
  • Print life After on-press development using the same printing machine and method as described above, printing was further continued. The printing durability was evaluated based on the number of printed sheets when it was visually recognized that the density of the solid image started to decrease. 2. D for printing less than 30,000, C for 30,000 to less than 35,000, B for 35,000 to less than 375,000. A of 750,000 sheets or more was designated as A. The results are shown in Table 3. In addition, as an evaluation result in Table 3, it is necessary that “D” or “C” is not included.
  • the scratch resistance of the lithographic printing plate support was evaluated by a scratch test on the surface of the obtained lithographic printing plate support.
  • the scratch test was conducted using a continuous load-type scratch strength tester (SB-53, manufactured by Shinto Kagaku Co., Ltd.) under the conditions of a sapphire needle of 0.4 mm ⁇ and a needle moving speed of 10 cm / second under a load of 100 g.
  • SB-53 continuous load-type scratch strength tester
  • the support for a lithographic printing plate having a weight value of 100 g and excellent scratch resistance can suppress the transfer of scratches to the image recording layer during winding and lamination when it is used as a lithographic printing plate precursor. Dirt can be suppressed. In practice, it is necessary to be “A”.
  • the obtained lithographic printing plate precursor was conditioned with interleaving paper at 25 ° C. and 70% RH for 1 hour, packaged with aluminum kraft paper, and then heated in an oven set at 60 ° C. for 10 days. . Thereafter, the temperature was lowered to room temperature, and after on-press development was performed with the same printing machine and method as described above, 500 sheets were printed. The 500th printed material was visually confirmed, and the number of printing stains (pot-like stains) of 20 ⁇ m or more per 80 cm 2 was calculated.
  • E for 200 or more spots, “D” for 150 to less than 200, “C” for 100 to less than 150, and 50 to less than 100 “B”, 30 or more and less than 50 is “A”, and less than 30 is “AA”. In practice, it is preferably not “E”.
  • a lithographic printing plate and a lithographic printing plate precursor using a lithographic printing support provided with an aluminum anodized film on which micropores having an average diameter and average depth in a predetermined range are formed ( In Examples 1 to 30), it was confirmed that excellent printing durability, neglectability, on-press development property, ink wiping property, scratch resistance and pot-like stain resistance were exhibited.
  • the shape of the large-diameter hole constituting the micropore obtained in Examples 1 to 6, 8 to 22, and 24 to 30 increases in diameter from the surface of the anodized film toward the aluminum plate (average surface layer). It was a reverse taper (conical) having a bottom average diameter larger than the diameter.
  • the shape of the large diameter hole part which comprises the micropore obtained in Example 7 and 23 was a substantially straight tube shape. Further, a comparison between Examples 1 and 2 confirmed that a more excellent effect was obtained when the average depth of the large-diameter hole portion was 85 to 105 nm. Further, a comparison between Examples 1 and 5 confirmed that a more excellent effect was obtained when the average diameter of the large-diameter hole portion was 11 to 13 nm.
  • Comparative Examples 1 to 22 that did not satisfy the relationship between the average diameter and the average depth of the present invention, results inferior to those of Examples 1 to 30 were obtained.
  • Comparative Examples 9 to 12 corresponding to Examples 1, 2, 3 and 16 of Patent Document 1 results inferior in printing durability were obtained as compared with Examples 1 to 30 described above.
  • Edge burning was performed by measuring the oxygen intensity in the width direction including both edges in EPMA, and calculating the length with respect to the width direction by setting a portion having an oxygen intensity of 10% or more to the edge portion as the edge burned portion.
  • A indicates that the length in the width direction of the edge burn is less than 5 mm
  • B indicates that the length is 5 mm or more.
  • lithographic printing plate precursor (Part 2)>
  • Each of the lithographic printing plate supports produced above (Examples 1 to 3, 5, 16, Comparative Examples 1 to 3, 15) was subjected to 40 ° C. in a solution containing 4 g / l of polyvinylphosphonic acid over 10 seconds. Workup at 0 ° C., rinse with demineralized water at 20 ° C. for 2 seconds and dry. Next, the following image recording layer coating solution was bar-coated on the above substrate, followed by oven drying at 50 ° C. for 60 seconds to form an image recording layer having a dry coating amount of 0.91 g / m 2 .
  • SAN styrene / acrylonitrile copolymer (molar ratio 50/50)
  • Infrared absorber (2) [following structure] 0.10 g PVA205 (Kuraray Co., Ltd.) 0.10g Megafac F-177 (fluorine surfactant manufactured by Dainippon Ink & Chemicals, Inc.) 20% by weight aqueous solution 0.05 g
  • the structure of the infrared absorber (2) is as shown below.

Landscapes

  • Chemical & Material Sciences (AREA)
  • Chemical Kinetics & Catalysis (AREA)
  • Electrochemistry (AREA)
  • Engineering & Computer Science (AREA)
  • Materials Engineering (AREA)
  • Metallurgy (AREA)
  • Organic Chemistry (AREA)
  • Inorganic Chemistry (AREA)
  • General Chemical & Material Sciences (AREA)
  • Printing Plates And Materials Therefor (AREA)
  • Photosensitive Polymer And Photoresist Processing (AREA)
  • Materials For Photolithography (AREA)
PCT/JP2013/070348 2012-07-27 2013-07-26 平版印刷版用支持体およびその製造方法、並びに、平版印刷版原版 Ceased WO2014017640A1 (ja)

Priority Applications (4)

Application Number Priority Date Filing Date Title
CN201380039683.5A CN104487261B (zh) 2012-07-27 2013-07-26 平版印刷版用支撑体及其制造方法、以及平版印刷版原版
EP13823769.8A EP2878452B1 (en) 2012-07-27 2013-07-26 Support for lithographic printing plate and manufacturing method therefor
BR112015001857-2A BR112015001857B1 (pt) 2012-07-27 2013-07-26 Suporte para chapa de impressão litográfica, precursor da chapa de impressão litográfica e método de produção do suporte para chapa de impressão litográfica
US14/603,600 US9259954B2 (en) 2012-07-27 2015-01-23 Support for lithographic printing plate and manufacturing method therefor, as well as original lithographic printing plate

Applications Claiming Priority (6)

Application Number Priority Date Filing Date Title
JP2012167777 2012-07-27
JP2012-167777 2012-07-27
JP2012210628 2012-09-25
JP2012-210628 2012-09-25
JP2013054293 2013-03-15
JP2013-054293 2013-03-15

Related Child Applications (1)

Application Number Title Priority Date Filing Date
US14/603,600 Continuation US9259954B2 (en) 2012-07-27 2015-01-23 Support for lithographic printing plate and manufacturing method therefor, as well as original lithographic printing plate

Publications (1)

Publication Number Publication Date
WO2014017640A1 true WO2014017640A1 (ja) 2014-01-30

Family

ID=49997444

Family Applications (1)

Application Number Title Priority Date Filing Date
PCT/JP2013/070348 Ceased WO2014017640A1 (ja) 2012-07-27 2013-07-26 平版印刷版用支持体およびその製造方法、並びに、平版印刷版原版

Country Status (6)

Country Link
US (1) US9259954B2 (enExample)
EP (1) EP2878452B1 (enExample)
JP (1) JP5813063B2 (enExample)
CN (1) CN104487261B (enExample)
BR (1) BR112015001857B1 (enExample)
WO (1) WO2014017640A1 (enExample)

Cited By (5)

* Cited by examiner, † Cited by third party
Publication number Priority date Publication date Assignee Title
WO2015122513A1 (ja) * 2014-02-17 2015-08-20 富士フイルム株式会社 平版印刷版の基準マーク検出方法、平版印刷版の加工方法、及び、印刷方法
WO2019064694A1 (ja) * 2017-09-29 2019-04-04 富士フイルム株式会社 印刷版原版、印刷版の製造方法、印刷方法
WO2020162785A1 (ru) * 2019-02-07 2020-08-13 Сергей Геннадьевич КАПЛУНОВ Способ воспроизведения авторских рисунков на металлографской доске
WO2020162784A1 (ru) * 2019-02-07 2020-08-13 Сергей Геннадьевич КАПЛУНОВ Способ изготовления печатной формы для офорта и травильный раствор для его осуществления
CN113089047A (zh) * 2021-04-12 2021-07-09 四川九洲电器集团有限责任公司 一种铝合金构件及其制备方法、应用

Families Citing this family (21)

* Cited by examiner, † Cited by third party
Publication number Priority date Publication date Assignee Title
JP6486741B2 (ja) * 2015-03-24 2019-03-20 富士フイルム株式会社 平版印刷版原版、平版印刷版の製版方法、及び、印刷方法
EP3409498B1 (en) * 2016-03-30 2020-03-18 Fujifilm Corporation Lithographic printing original plate for on-press development, method for producing lithographic printing plate and lithographic printing method
CN109153278B (zh) * 2016-05-30 2020-06-05 富士胶片株式会社 平版印刷版用铝支撑体及平版印刷版原版
US10828884B2 (en) * 2017-03-02 2020-11-10 Eastman Kodak Company Lithographic printing plate precursors and method of use
US10363734B2 (en) 2017-03-02 2019-07-30 Eastman Kodak Company Method for making lithographic printing plates
WO2018181406A1 (ja) * 2017-03-31 2018-10-04 富士フイルム株式会社 平版印刷版原版及びその製造方法、平版印刷版原版積層体、並びに、平版印刷方法
EP3854591B1 (en) * 2017-03-31 2024-07-31 FUJIFILM Corporation Lithographic printing plate precursor and lithographic printing method
WO2019044702A1 (ja) * 2017-08-31 2019-03-07 富士フイルム株式会社 平版印刷版原版
EP3476616B3 (en) 2017-08-31 2025-11-19 FUJIFILM Corporation Lithographic printing plate precursor, method for manufacturing a lithographic printing plate, and printing method
CN110891797B (zh) * 2017-08-31 2021-09-14 富士胶片株式会社 平版印刷版的制作方法
CN109863034B (zh) * 2017-09-29 2020-11-27 富士胶片株式会社 平版印刷版原版、平版印刷版的制作方法及平版印刷方法
WO2019150998A1 (ja) * 2018-01-31 2019-08-08 富士フイルム株式会社 ポジ型平版印刷版原版及び平版印刷版の作製方法
WO2019188910A1 (ja) * 2018-03-28 2019-10-03 富士フイルム株式会社 平版印刷版原版及び平版印刷版原版の製造方法
JP7562527B2 (ja) * 2019-06-28 2024-10-07 富士フイルム株式会社 平版印刷版原版、平版印刷版の作製方法、及び平版印刷方法
US11117412B2 (en) * 2019-10-01 2021-09-14 Eastman Kodak Company Lithographic printing plate precursors and method of use
JP7500617B2 (ja) 2019-12-27 2024-06-17 富士フイルム株式会社 平版印刷版原版、平版印刷版の製造方法および印刷方法
US11964466B2 (en) * 2020-10-21 2024-04-23 Eastman Kodak Company Lithographic printing plate precursors and method of use
EP4255737B1 (en) 2020-12-04 2024-09-18 Eastman Kodak Company Lithographic printing plate precursors and method of use
US11813884B2 (en) 2020-12-17 2023-11-14 Eastman Kodak Company Lithographic printing plate precursors and method of use
JP2023554644A (ja) 2020-12-17 2023-12-28 イーストマン コダック カンパニー 平版印刷版原版および使用方法
US12429774B2 (en) 2022-08-04 2025-09-30 Eastman Kodak Company Lithographic printing plate precursors, methods of using and manufacture

Citations (34)

* Cited by examiner, † Cited by third party
Publication number Priority date Publication date Assignee Title
US2714066A (en) 1950-12-06 1955-07-26 Minnesota Mining & Mfg Planographic printing plate
US3181461A (en) 1963-05-23 1965-05-04 Howard A Fromson Photographic plate
GB1084070A (en) 1960-08-05 1967-09-20 Kalle Ag Process and material for the preparation of planographic printing plates
US3458311A (en) 1966-06-27 1969-07-29 Du Pont Photopolymerizable elements with solvent removable protective layers
JPS4841708B1 (enExample) 1970-01-13 1973-12-07
GB1412768A (en) 1971-10-07 1975-11-05 Fuji Photo Film Co Ltd Process for producing a base plate for a photosensitive printing plate
JPS5040047B2 (enExample) 1971-09-06 1975-12-22
JPS5549729B2 (enExample) 1973-02-07 1980-12-13
US4458005A (en) 1981-07-06 1984-07-03 Hoechst Aktiengesellschaft Polyvinylmethylphosphinic acid, process for its manufacture and use
JPS62170950A (ja) 1986-01-23 1987-07-28 Fuji Photo Film Co Ltd 感光性組成物
EP0291760A2 (de) 1987-05-12 1988-11-23 Hoechst Aktiengesellschaft Druckplattenträger sowie Verfahren und Vorrichtung zu dessen Herstellung
EP0292801A2 (de) 1987-05-26 1988-11-30 Hoechst Aktiengesellschaft Verfahren zur elektrochemischen Aufrauhung von Aluminium für Druckplattenträger
EP0400706A1 (en) 1989-05-31 1990-12-05 Agfa-Gevaert N.V. Dyes and dye-donor elements for use in thermal dye sublimation transfer
DE4001466A1 (de) 1990-01-19 1991-07-25 Hoechst Ag Verfahren zur elektrochemischen aufrauhung von aluminium fuer druckplattentraeger
EP0537633A1 (de) 1991-10-16 1993-04-21 Hoechst Aktiengesellschaft Verfahren zur Behandlung von aufgerauhten und anodisierten Flachdruckplatten und danach hergestellte Flachdruckplatten
JPH05195300A (ja) 1992-01-23 1993-08-03 Fuji Photo Film Co Ltd 電解処理装置
EP0659909A1 (en) 1993-12-22 1995-06-28 Hoechst Aktiengesellschaft Electrochemical graining method
DE4417907A1 (de) 1994-05-21 1995-11-23 Hoechst Ag Verfahren zur Nachbehandlung von platten-, folien- oder bandförmigem Material, Träger aus derartigem Material und seine Verwendung für Offsetdruckplatten
DE4423140A1 (de) 1994-07-01 1996-01-04 Hoechst Ag Hydrophiliertes Trägermaterial und damit hergestelltes Aufzeichnungsmaterial
JPH0818327B2 (ja) 1992-03-02 1996-02-28 ラサ工業株式会社 コアドリル
WO1997039894A1 (en) 1996-04-23 1997-10-30 Horsell Graphic Industries Limited Heat-sensitive composition and method of making a lithographic printing form with it
EP0823327A2 (en) 1996-08-06 1998-02-11 Mitsubishi Chemical Corporation Positive photosensitive composition, positive photosensitive lithographic printing plate and method for making positive photosensitive lithographic printing plate
EP0978376A2 (de) 1998-08-01 2000-02-09 Agfa-Gevaert AG Strahlungsempfindlisches Gemisch mit IR-absorbierenden, betainischen oder betainisch-anionischen Cyaninfarbstoffen und damit hergestelltes Aufzeichnungsmaterial
WO2000029214A1 (en) 1998-11-16 2000-05-25 Mitsubishi Chemical Corporation Positive-working photosensitive lithographic printing plate and method for producing the same
EP1029667A1 (en) 1999-02-15 2000-08-23 Fuji Photo Film Co., Ltd. Positive planographic printing material
EP1053868A2 (en) 1999-05-21 2000-11-22 Fuji Photo Film Co., Ltd. Photosensitive composition and planographic printing plate base using same
EP1093934A1 (en) 1999-10-19 2001-04-25 Fuji Photo Film Co., Ltd. Photosensitive composition and planographic printing plate using the same
EP1219416A1 (en) 2000-12-20 2002-07-03 Agfa-Gevaert On-press development printing method using a negative working thermally sensitive lithographic printing plate
JP2003001956A (ja) 2001-03-15 2003-01-08 Fuji Photo Film Co Ltd 平版印刷版用支持体および平版印刷版原版
JP2005254638A (ja) 2004-03-12 2005-09-22 Fuji Photo Film Co Ltd 平版印刷版用支持体の製造方法
JP2009255434A (ja) 2008-04-18 2009-11-05 Fujifilm Corp 平版印刷版用アルミニウム合金板、平版印刷版用支持体、平版印刷版用原版および平版印刷版用アルミニウム合金板の製造方法
JP2011173413A (ja) * 2010-01-29 2011-09-08 Fujifilm Corp 平版印刷版用支持体、平版印刷版用支持体の製造方法、および平版印刷版原版
JP2011245844A (ja) 2009-12-28 2011-12-08 Fujifilm Corp 平版印刷版用支持体、平版印刷版用支持体の製造方法、および平版印刷版原版
JP2012071435A (ja) * 2010-09-28 2012-04-12 Fujifilm Corp 平版印刷版用支持体、平版印刷版用支持体の製造方法、および平版印刷版原版

Family Cites Families (6)

* Cited by examiner, † Cited by third party
Publication number Priority date Publication date Assignee Title
JP3787334B2 (ja) * 2002-12-27 2006-06-21 富士写真フイルム株式会社 平版印刷版原版
JP2009078366A (ja) * 2007-09-25 2009-04-16 Fujifilm Corp 平版印刷版原版、及びその製造方法
WO2010087139A1 (ja) * 2009-01-30 2010-08-05 シャープ株式会社 型および型の製造方法ならびに型を用いた反射防止膜の製造方法
JP5612531B2 (ja) * 2010-04-30 2014-10-22 富士フイルム株式会社 平版印刷版用支持体、および平版印刷版原版
JP2012187909A (ja) * 2010-07-23 2012-10-04 Fujifilm Corp 平版印刷版用支持体、および、平版印刷版原版
CN102381072B (zh) * 2010-08-27 2016-02-24 富士胶片株式会社 平版印刷版用铝支撑体的制造方法及制造装置

Patent Citations (34)

* Cited by examiner, † Cited by third party
Publication number Priority date Publication date Assignee Title
US2714066A (en) 1950-12-06 1955-07-26 Minnesota Mining & Mfg Planographic printing plate
GB1084070A (en) 1960-08-05 1967-09-20 Kalle Ag Process and material for the preparation of planographic printing plates
US3181461A (en) 1963-05-23 1965-05-04 Howard A Fromson Photographic plate
US3458311A (en) 1966-06-27 1969-07-29 Du Pont Photopolymerizable elements with solvent removable protective layers
JPS4841708B1 (enExample) 1970-01-13 1973-12-07
JPS5040047B2 (enExample) 1971-09-06 1975-12-22
GB1412768A (en) 1971-10-07 1975-11-05 Fuji Photo Film Co Ltd Process for producing a base plate for a photosensitive printing plate
JPS5549729B2 (enExample) 1973-02-07 1980-12-13
US4458005A (en) 1981-07-06 1984-07-03 Hoechst Aktiengesellschaft Polyvinylmethylphosphinic acid, process for its manufacture and use
JPS62170950A (ja) 1986-01-23 1987-07-28 Fuji Photo Film Co Ltd 感光性組成物
EP0291760A2 (de) 1987-05-12 1988-11-23 Hoechst Aktiengesellschaft Druckplattenträger sowie Verfahren und Vorrichtung zu dessen Herstellung
EP0292801A2 (de) 1987-05-26 1988-11-30 Hoechst Aktiengesellschaft Verfahren zur elektrochemischen Aufrauhung von Aluminium für Druckplattenträger
EP0400706A1 (en) 1989-05-31 1990-12-05 Agfa-Gevaert N.V. Dyes and dye-donor elements for use in thermal dye sublimation transfer
DE4001466A1 (de) 1990-01-19 1991-07-25 Hoechst Ag Verfahren zur elektrochemischen aufrauhung von aluminium fuer druckplattentraeger
EP0537633A1 (de) 1991-10-16 1993-04-21 Hoechst Aktiengesellschaft Verfahren zur Behandlung von aufgerauhten und anodisierten Flachdruckplatten und danach hergestellte Flachdruckplatten
JPH05195300A (ja) 1992-01-23 1993-08-03 Fuji Photo Film Co Ltd 電解処理装置
JPH0818327B2 (ja) 1992-03-02 1996-02-28 ラサ工業株式会社 コアドリル
EP0659909A1 (en) 1993-12-22 1995-06-28 Hoechst Aktiengesellschaft Electrochemical graining method
DE4417907A1 (de) 1994-05-21 1995-11-23 Hoechst Ag Verfahren zur Nachbehandlung von platten-, folien- oder bandförmigem Material, Träger aus derartigem Material und seine Verwendung für Offsetdruckplatten
DE4423140A1 (de) 1994-07-01 1996-01-04 Hoechst Ag Hydrophiliertes Trägermaterial und damit hergestelltes Aufzeichnungsmaterial
WO1997039894A1 (en) 1996-04-23 1997-10-30 Horsell Graphic Industries Limited Heat-sensitive composition and method of making a lithographic printing form with it
EP0823327A2 (en) 1996-08-06 1998-02-11 Mitsubishi Chemical Corporation Positive photosensitive composition, positive photosensitive lithographic printing plate and method for making positive photosensitive lithographic printing plate
EP0978376A2 (de) 1998-08-01 2000-02-09 Agfa-Gevaert AG Strahlungsempfindlisches Gemisch mit IR-absorbierenden, betainischen oder betainisch-anionischen Cyaninfarbstoffen und damit hergestelltes Aufzeichnungsmaterial
WO2000029214A1 (en) 1998-11-16 2000-05-25 Mitsubishi Chemical Corporation Positive-working photosensitive lithographic printing plate and method for producing the same
EP1029667A1 (en) 1999-02-15 2000-08-23 Fuji Photo Film Co., Ltd. Positive planographic printing material
EP1053868A2 (en) 1999-05-21 2000-11-22 Fuji Photo Film Co., Ltd. Photosensitive composition and planographic printing plate base using same
EP1093934A1 (en) 1999-10-19 2001-04-25 Fuji Photo Film Co., Ltd. Photosensitive composition and planographic printing plate using the same
EP1219416A1 (en) 2000-12-20 2002-07-03 Agfa-Gevaert On-press development printing method using a negative working thermally sensitive lithographic printing plate
JP2003001956A (ja) 2001-03-15 2003-01-08 Fuji Photo Film Co Ltd 平版印刷版用支持体および平版印刷版原版
JP2005254638A (ja) 2004-03-12 2005-09-22 Fuji Photo Film Co Ltd 平版印刷版用支持体の製造方法
JP2009255434A (ja) 2008-04-18 2009-11-05 Fujifilm Corp 平版印刷版用アルミニウム合金板、平版印刷版用支持体、平版印刷版用原版および平版印刷版用アルミニウム合金板の製造方法
JP2011245844A (ja) 2009-12-28 2011-12-08 Fujifilm Corp 平版印刷版用支持体、平版印刷版用支持体の製造方法、および平版印刷版原版
JP2011173413A (ja) * 2010-01-29 2011-09-08 Fujifilm Corp 平版印刷版用支持体、平版印刷版用支持体の製造方法、および平版印刷版原版
JP2012071435A (ja) * 2010-09-28 2012-04-12 Fujifilm Corp 平版印刷版用支持体、平版印刷版用支持体の製造方法、および平版印刷版原版

Non-Patent Citations (3)

* Cited by examiner, † Cited by third party
Title
"Senryo Binran", 1970, THE SOCIETY OF SYNTHETIC ORGANIC CHEMISTRY
PARTICULATE SCIENCE AND TECHNOLOGY, vol. 7, 1989, pages 223 - 228
STANLEY D. DUKE ET AL.: "Calibration of Spherical Particles by Light Scattering", TECHNICAL NOTE-002B, 3 January 2000 (2000-01-03)

Cited By (6)

* Cited by examiner, † Cited by third party
Publication number Priority date Publication date Assignee Title
WO2015122513A1 (ja) * 2014-02-17 2015-08-20 富士フイルム株式会社 平版印刷版の基準マーク検出方法、平版印刷版の加工方法、及び、印刷方法
WO2019064694A1 (ja) * 2017-09-29 2019-04-04 富士フイルム株式会社 印刷版原版、印刷版の製造方法、印刷方法
JPWO2019064694A1 (ja) * 2017-09-29 2020-07-02 富士フイルム株式会社 印刷版原版、印刷版の製造方法、印刷方法
WO2020162785A1 (ru) * 2019-02-07 2020-08-13 Сергей Геннадьевич КАПЛУНОВ Способ воспроизведения авторских рисунков на металлографской доске
WO2020162784A1 (ru) * 2019-02-07 2020-08-13 Сергей Геннадьевич КАПЛУНОВ Способ изготовления печатной формы для офорта и травильный раствор для его осуществления
CN113089047A (zh) * 2021-04-12 2021-07-09 四川九洲电器集团有限责任公司 一种铝合金构件及其制备方法、应用

Also Published As

Publication number Publication date
BR112015001857A2 (pt) 2019-12-31
BR112015001857B1 (pt) 2021-09-14
EP2878452A1 (en) 2015-06-03
EP2878452A4 (en) 2016-03-23
JP2014198453A (ja) 2014-10-23
CN104487261A (zh) 2015-04-01
JP5813063B2 (ja) 2015-11-17
EP2878452B1 (en) 2018-11-28
US20150135979A1 (en) 2015-05-21
CN104487261B (zh) 2016-08-24
US9259954B2 (en) 2016-02-16

Similar Documents

Publication Publication Date Title
JP5813063B2 (ja) 平版印刷版用支持体およびその製造方法、並びに、平版印刷版原版
JP5498371B2 (ja) 平版印刷版用支持体、平版印刷版用支持体の製造方法、および平版印刷版原版
JP5205480B2 (ja) 平版印刷版用支持体、および平版印刷版原版
JP5498403B2 (ja) 平版印刷版用支持体、平版印刷版用支持体の製造方法、および平版印刷版原版
JP6454828B1 (ja) 平版印刷版原版、平版印刷版の製造方法、印刷方法
JP5612531B2 (ja) 平版印刷版用支持体、および平版印刷版原版
CN102616049B (zh) 平版印刷版载体和预制感光版
WO2013111652A1 (ja) 平版印刷版用支持体、平版印刷版用支持体の製造方法、および平版印刷版原版
WO2019087516A1 (ja) 平版印刷版原版、平版印刷版の製造方法、印刷方法およびアルミニウム支持体の製造方法
JP2015189021A (ja) 平版印刷版用支持体およびその製造方法、並びに、平版印刷版原版
JP5498905B2 (ja) 平版印刷版用支持体、平版印刷版用支持体の製造方法、および平版印刷版原版
JP5203477B2 (ja) 平版印刷版用支持体、および平版印刷版原版
JP2005265501A (ja) 水溶液中のフッ素化合物およびリン酸化合物の濃度測定方法
JP6639662B2 (ja) 平版印刷版用アルミニウム支持体および平版印刷版原版
JPWO2019087516A1 (ja) 平版印刷版原版、平版印刷版の製造方法、印刷方法およびアルミニウム支持体の製造方法
JPWO2019064694A1 (ja) 印刷版原版、印刷版の製造方法、印刷方法
JP2005231348A (ja) 印刷版材料、その現像方法及び印刷版材料用支持体

Legal Events

Date Code Title Description
121 Ep: the epo has been informed by wipo that ep was designated in this application

Ref document number: 13823769

Country of ref document: EP

Kind code of ref document: A1

WWE Wipo information: entry into national phase

Ref document number: 2013823769

Country of ref document: EP

NENP Non-entry into the national phase

Ref country code: DE

REG Reference to national code

Ref country code: BR

Ref legal event code: B01A

Ref document number: 112015001857

Country of ref document: BR

ENP Entry into the national phase

Ref document number: 112015001857

Country of ref document: BR

Kind code of ref document: A2

Effective date: 20150127

REG Reference to national code

Ref country code: BR

Ref legal event code: B01E

Ref document number: 112015001857

Country of ref document: BR

Kind code of ref document: A2

Free format text: APRESENTE A TRADUCAO SIMPLES DA FOLHA DE ROSTO DA CERTIDAO DE DEPOSITO DAS PRIORIDADES: JP 2012-167777, JP 2012-210628 E JP 2013-054293; OU DECLARACAO DE QUE OS DADOS DO PEDIDO INTERNACIONAL ESTAO FIELMENTE CONTIDOS NA PRIORIDADE REIVINDICADA, CONTENDO TODOS OS DADOS IDENTIFICADORES DESTA (TITULARES, NUMERO DE REGISTRO, DATA E TITULO), CONFORME O PARAGRAFO UNICO DO ART. 25 DA RESOLUCAO 77/2013. CABE SALIENTAR QUE NAO FOI POSSIVEL IDENTIFICAR OS TITULARES DO PEDIDO PRIORITARIO NOS DOCUMENTOS JUNTADOS AO PROCESSO, TAMPOUCO NOS APRESENTADOS NA OMPI, POIS SE ENCONTRAM EM JAPONES.

ENP Entry into the national phase

Ref document number: 112015001857

Country of ref document: BR

Kind code of ref document: A2

Effective date: 20150127