WO2014002392A1 - 遠心式多翼送風機 - Google Patents
遠心式多翼送風機 Download PDFInfo
- Publication number
- WO2014002392A1 WO2014002392A1 PCT/JP2013/003549 JP2013003549W WO2014002392A1 WO 2014002392 A1 WO2014002392 A1 WO 2014002392A1 JP 2013003549 W JP2013003549 W JP 2013003549W WO 2014002392 A1 WO2014002392 A1 WO 2014002392A1
- Authority
- WO
- WIPO (PCT)
- Prior art keywords
- impeller
- peripheral edge
- inner peripheral
- plate
- main plate
- Prior art date
- Legal status (The legal status is an assumption and is not a legal conclusion. Google has not performed a legal analysis and makes no representation as to the accuracy of the status listed.)
- Ceased
Links
Images
Classifications
-
- F—MECHANICAL ENGINEERING; LIGHTING; HEATING; WEAPONS; BLASTING
- F04—POSITIVE - DISPLACEMENT MACHINES FOR LIQUIDS; PUMPS FOR LIQUIDS OR ELASTIC FLUIDS
- F04D—NON-POSITIVE-DISPLACEMENT PUMPS
- F04D17/00—Radial-flow pumps, e.g. centrifugal pumps; Helico-centrifugal pumps
- F04D17/08—Centrifugal pumps
- F04D17/16—Centrifugal pumps for displacing without appreciable compression
- F04D17/162—Double suction pumps
-
- F—MECHANICAL ENGINEERING; LIGHTING; HEATING; WEAPONS; BLASTING
- F04—POSITIVE - DISPLACEMENT MACHINES FOR LIQUIDS; PUMPS FOR LIQUIDS OR ELASTIC FLUIDS
- F04D—NON-POSITIVE-DISPLACEMENT PUMPS
- F04D29/00—Details, component parts, or accessories
- F04D29/26—Rotors specially for elastic fluids
- F04D29/28—Rotors specially for elastic fluids for centrifugal or helico-centrifugal pumps for radial-flow or helico-centrifugal pumps
- F04D29/281—Rotors specially for elastic fluids for centrifugal or helico-centrifugal pumps for radial-flow or helico-centrifugal pumps for fans or blowers
-
- F—MECHANICAL ENGINEERING; LIGHTING; HEATING; WEAPONS; BLASTING
- F04—POSITIVE - DISPLACEMENT MACHINES FOR LIQUIDS; PUMPS FOR LIQUIDS OR ELASTIC FLUIDS
- F04D—NON-POSITIVE-DISPLACEMENT PUMPS
- F04D29/00—Details, component parts, or accessories
- F04D29/26—Rotors specially for elastic fluids
- F04D29/28—Rotors specially for elastic fluids for centrifugal or helico-centrifugal pumps for radial-flow or helico-centrifugal pumps
- F04D29/30—Vanes
-
- F—MECHANICAL ENGINEERING; LIGHTING; HEATING; WEAPONS; BLASTING
- F04—POSITIVE - DISPLACEMENT MACHINES FOR LIQUIDS; PUMPS FOR LIQUIDS OR ELASTIC FLUIDS
- F04D—NON-POSITIVE-DISPLACEMENT PUMPS
- F04D17/00—Radial-flow pumps, e.g. centrifugal pumps; Helico-centrifugal pumps
- F04D17/08—Centrifugal pumps
- F04D17/10—Centrifugal pumps for compressing or evacuating
-
- F—MECHANICAL ENGINEERING; LIGHTING; HEATING; WEAPONS; BLASTING
- F04—POSITIVE - DISPLACEMENT MACHINES FOR LIQUIDS; PUMPS FOR LIQUIDS OR ELASTIC FLUIDS
- F04D—NON-POSITIVE-DISPLACEMENT PUMPS
- F04D29/00—Details, component parts, or accessories
- F04D29/26—Rotors specially for elastic fluids
- F04D29/28—Rotors specially for elastic fluids for centrifugal or helico-centrifugal pumps for radial-flow or helico-centrifugal pumps
- F04D29/281—Rotors specially for elastic fluids for centrifugal or helico-centrifugal pumps for radial-flow or helico-centrifugal pumps for fans or blowers
- F04D29/282—Rotors specially for elastic fluids for centrifugal or helico-centrifugal pumps for radial-flow or helico-centrifugal pumps for fans or blowers the leading edge of each vane being substantially parallel to the rotation axis
-
- F—MECHANICAL ENGINEERING; LIGHTING; HEATING; WEAPONS; BLASTING
- F04—POSITIVE - DISPLACEMENT MACHINES FOR LIQUIDS; PUMPS FOR LIQUIDS OR ELASTIC FLUIDS
- F04D—NON-POSITIVE-DISPLACEMENT PUMPS
- F04D29/00—Details, component parts, or accessories
- F04D29/26—Rotors specially for elastic fluids
- F04D29/28—Rotors specially for elastic fluids for centrifugal or helico-centrifugal pumps for radial-flow or helico-centrifugal pumps
- F04D29/281—Rotors specially for elastic fluids for centrifugal or helico-centrifugal pumps for radial-flow or helico-centrifugal pumps for fans or blowers
- F04D29/282—Rotors specially for elastic fluids for centrifugal or helico-centrifugal pumps for radial-flow or helico-centrifugal pumps for fans or blowers the leading edge of each vane being substantially parallel to the rotation axis
- F04D29/283—Rotors specially for elastic fluids for centrifugal or helico-centrifugal pumps for radial-flow or helico-centrifugal pumps for fans or blowers the leading edge of each vane being substantially parallel to the rotation axis rotors of the squirrel-cage type
Definitions
- the present disclosure relates to a centrifugal multiblade blower that blows out air sucked from the direction of the rotation shaft toward the outside in the radial direction of the rotation shaft.
- a conventional impeller of a centrifugal multiblade fan has a plurality of blades arranged around a rotating shaft, and blows out air sucked in from the rotating shaft direction outward in the radial direction. Yes.
- the wind direction changes rapidly from the rotational axis direction to the radial direction in the space near the air suction port in the space between the adjacent blades (hereinafter, the space between the blades).
- the air hardly flows compared to the opposite side of the suction port in the rotation axis direction.
- the inner diameter of the impeller 100 on the side plate 130 side is larger than the main plate 120 side (opposite side of the suction port).
- the inner peripheral edge 111 of the blade 110 on the side plate 130 side is tapered.
- Patent Document 1 it is assumed that the substantial inflow angle of the air flowing into the blade 110 is constant regardless of the position in the rotation axis direction, and a predetermined direction (for example, a vertical direction) with respect to the inner peripheral edge 111 of the blade 110. ) Is set to within ⁇ 5 ° on each cross-section that intersects. Thereby, the difference between the inlet angle and the inflow angle in the inner peripheral edge 111 on the side plate 130 side is reduced, and separation of the air flow on the side plate 130 side is suppressed.
- 21 is a meridional view corresponding to the impeller 100 illustrated in FIG.
- the meridian plane is a plane obtained by rotationally projecting the shape of the blade on the cross section including the rotation axis of the impeller.
- FIG. 22 and 23 are explanatory diagrams for explaining the problems of the conventional technology.
- 22 is a cross-sectional view taken along the line XXII-XXII of FIG. 21 (cross-sectional view of the blade 110 on the main plate 120 side)
- FIG. 23 is a cross-sectional view taken along the line XXIII-XXIII of FIG. 22 and FIG. 23, the inlet angle ⁇ of each blade 110 is set to the tangent line of the inscribed circle passing through the inner peripheral edge portion 111 of each blade (one-dot chain line in the drawing) and the pressure surface 110a side of the inner peripheral edge portion 111. The angle formed with the tangent line (two-dot chain line in the figure) at the inner end of the.
- the angle formed between the relative inflow velocity V of air obtained by combining the peripheral velocity component and the absolute inflow velocity component and the peripheral velocity component is defined as an inflow angle ⁇ , as shown in FIGS.
- the inflow angle ⁇ s ′ on the side plate 130 side becomes smaller than the inflow angle ⁇ m ′ on the main plate 120 side.
- the incident angle ⁇ s ′ on the side plate 130 side is still larger than the incident angle ⁇ m ′ on the main plate 120 side, and air flow separation on the side plate 130 side is sufficiently suppressed. It is difficult. And by the separation of the air flow on the side plate 130 side, the flow velocity on the side plate 130 side on the air outlet side of the impeller 100 decreases.
- an object of the present disclosure is to provide a centrifugal multiblade fan capable of sufficiently equalizing the flow velocity distribution in the rotation axis direction on the air outlet side of the impeller.
- centrifugal multiblade blower focusing on the fact that the flow rate on the air outlet side of the impeller increases in proportion to the square of the outer diameter of the impeller under conditions where the rotational speed and the ventilation resistance are constant, A centrifugal multiblade fan has been devised that can achieve uniform flow velocity distribution on the air outlet side of the impeller.
- an impeller in one aspect of the present disclosure, includes a main plate coupled to the rotation shaft, a plurality of blades disposed around the axis of the rotation shaft, and the other end of the rotation shaft coupled to the main plate, and a rotation A plurality of blades on one end side of the shaft, and the plurality of blades intersect each inner peripheral edge of the plurality of blades on the meridian surface of the impeller in a predetermined direction.
- the entrance angle on the cross section is uniform over the entire area from the side plate side to the main plate side, and the outer peripheral edges of the plurality of blades are separated from the axis of the rotation axis from the main plate side to the side plate side. It is characterized by being composed.
- the outer peripheral diameter of the impeller is larger on the side plate side than the main plate side, so that the air outlet side on the side plate side of the impeller is The flow rate can be increased.
- the flow velocity on the air outlet side on the side plate side of the impeller can be increased as compared with the impeller of the prior art.
- the flow rate of the inflow air to the inner peripheral edge on the side plate side increases as the flow rate on the air outlet side on the side plate side of the impeller increases. Since the increase in the flow rate of the inflow air to the inner peripheral edge on the side plate side acts on the side where the flow velocity (absolute inflow velocity) on the side plate side increases, the inflow angle on the side plate side can be made closer to the entrance angle.
- uniform means a state where there is no deviation in the entrance angle in the entire region from the side plate side to the main plate side, or a state where there is only a minute deviation within ⁇ 5 °.
- the “meridian plane” is a plane obtained by rotationally projecting the shape of the blade on a cross section including the rotation axis of the impeller.
- the “entrance angle” is an intersection angle between a tangent line of a circle (inscribed circle) passing through each of the inner peripheral edge portions of the plurality of blades and the inner peripheral edge portion of the blades in the radial direction of the rotation axis.
- the drawing It is a mimetic diagram of an air-conditioner for vehicles provided with a fan concerning a 1st embodiment. It is a perspective view of the impeller of the air blower concerning a 1st embodiment. It is a half sectional view of the impeller of the air blower concerning a 1st embodiment. It is IV arrow line view which shows the blade
- FIG. 9 is a sectional view taken along line XX in FIG.
- It is a perspective view of the impeller of the air blower concerning a 2nd embodiment. It is a half sectional view of the impeller of the air blower concerning a 2nd embodiment. It is a top view of the impeller of the air blower concerning a 2nd embodiment. It is a meridian view of the impeller of the air blower concerning 2nd Embodiment. It is a meridian view of the impeller of the air blower which concerns on 3rd Embodiment.
- FIG. 22 is a sectional view taken along line XXII-XXII in FIG. 21.
- FIG. 23 is a sectional view taken along line XXIII-XXIII in FIG.
- the air conditioner 1 has an air conditioning casing 2 that forms an air flow path of blown air that is blown into the vehicle interior.
- an inside air introduction port 3 for introducing inside air (vehicle compartment air)
- an outside air introduction port 4 for introducing outside air (vehicle compartment outside air) are formed.
- an inside / outside air switching door 5 for selectively opening and closing each of the introduction ports 3 and 4 is provided.
- a blower 7 is arranged on the downstream side of the air flow of the inside / outside air switching door 5, and air introduced from the introduction ports 3, 4 by the blower 7 is supplied to the outlets 14, 15, 17 described later. It is blown toward.
- the blower 7 is a centrifugal multi-blade blower that blows inhaled air from the direction of the rotation axis toward the outside in the radial direction.
- a single suction type blower that blows out air sucked from one end side in the rotation axis direction toward the radially outer side is adopted.
- the blower 7 has an impeller 7a, a scroll casing (casing) 7b, and an electric motor 7c that drives the impeller 7a.
- the impeller 7a rotates around the rotating shaft 70 and blows air outward in the radial direction, and is made of resin.
- the scroll casing 7b accommodates the impeller 7a and forms a spiral flow path for collecting air blown from the impeller 7a.
- the scroll casing 7b is formed with a suction port 74 that opens to one end of the rotary shaft 70.
- the detail of the impeller 7a of the air blower 7 which concerns on this embodiment is mentioned later.
- an evaporator 9 is disposed on the downstream side of the air flow of the blower 7, and all the air blown to the blower 7 passes through this evaporator 9.
- the evaporator 9 of the present embodiment is an air cooling means that cools the blown air by exchanging heat between the refrigerant flowing through the evaporator 9 and the blown air blown from the blower 7.
- the evaporator 9 constitutes a vapor compression refrigeration cycle together with a compressor, a condenser, a gas-liquid separator, an expansion valve and the like (not shown).
- a heater core 10 is disposed on the downstream side of the air flow of the evaporator 9.
- the heater core 10 is an air heating unit that heats the air that has passed through the evaporator 9 by exchanging heat between the engine coolant that cools the engine 11 and the air that has passed through the evaporator 9.
- a bypass passage 12 is formed in the air conditioning casing 2 so that the air after passing through the evaporator 9 flows around the heater core 10. Then, on the upstream side of the air flow of the heater core 10, the air volume ratio between the air volume passing through the heater core 10 and the air volume passing through the bypass passage 12 is adjusted to adjust the temperature of the air blown into the vehicle interior.
- An air mix door 13 is provided.
- the defroster blower outlet 17 for blowing air toward the inner surface is formed.
- Blowing mode switching doors 18, 19, and 20 are disposed on the upstream side of the airflows of the blowout ports 14, 15, and 17, respectively. By switching and opening these blow mode switching doors 18 to 20, the face mode that blows air toward the upper body of the occupant, the foot mode that blows air toward the lower half of the occupant, and the air toward the inner surface of the vehicle window glass. Switch defroster mode to blow out.
- the impeller 7a of the air blower 7 of this embodiment is demonstrated.
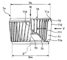
- the impeller 7 a of the blower 7 includes a plurality of blades 71, side plates 72, and a main plate 73.
- the main plate 73 is composed of a disk-shaped member coupled to the rotating shaft 70.
- the main plate 73 of this embodiment is connected to a portion 71b on the other end side (the lower side in the drawing) of each blade 71 in the rotation axis direction, and is configured to overlap each blade 71 when viewed from the rotation axis direction. Has been.
- the side plate 72 is connected to a radially outer portion of the rotary shaft 70 on one end side (upper side in the drawing) of each blade 71 in the rotary axis direction.
- the side plate 72 of the present embodiment is connected so as to cover the outer peripheral edge (blade trailing edge) 712 on one end side in the rotational axis direction of each blade 71 from the radially outer side of the rotational shaft 70.
- the side plate 72 of the present embodiment has an annular shape (a shroud shape) that is curved so that a portion on one end side in the rotation axis direction is positioned on a radially inner side of the rotation shaft 70 relative to a portion on the other end side. It has become.
- the side plate 72 of the present embodiment is configured such that the inner peripheral diameter Ds thereof is larger than the outer peripheral diameter Dm of the main plate 73, and has a shape that does not overlap with the main plate 73 when viewed from the direction of the rotation axis. ing.
- Each blade 71 is disposed around the axis Z of the rotating shaft 70.
- Each blade 71, side plate 72, and main plate 73 constituting the impeller 7a are integrally formed by resin molding or the like.
- the impeller 7a configured as described above is the air that flows into the inter-blade space (the space between the blades 71) in the impeller 7a from the suction port 74 on one end side in the rotation axis direction due to the rotation of the rotation shaft 70. Are blown out radially outward of the impeller 7a by centrifugal force.
- FIGS. 4 to 6 are views taken along arrows in FIG. 3, and show the shape of the blade 71 of the present embodiment.
- the side plate 72 and the main plate 73 are not shown in FIGS. 4 to 6, and three typical blades 71 in the directions of arrows A to C in FIG. 3 are shown. Yes.
- each blade 71 has an inner peripheral edge (blade leading edge) 711 formed between the portions 71a and 71b at both ends of the blade 71 on the inner peripheral side of the impeller 7a. Further, as shown in FIG. 5, each blade 71 has an outer peripheral edge portion (blade trailing edge) 712 between portions 71 a and 71 b at both ends of the blade 71 on the outer peripheral side of the impeller 7 a.
- each blade 71 of the present embodiment has a portion 711 a on one end side in the rotation axis direction in the inner peripheral edge portion 711 in addition to the rotation axis direction in the inner peripheral edge portion 711. It is located in front of the rotation direction R of the impeller 7a rather than the part 711b on the end side.
- the impeller 7a of the present embodiment is configured to blow out the air sucked from the rotation axis direction toward the radially outer side. For this reason, by positioning the portion 711a on the one end side in the rotation axis direction in the inner peripheral edge 711 in front of the portion 711b on the other end side in the rotation axis direction in the inner peripheral edge 711, the side plate 72 side It becomes easy to suck air into the space between the blades from the rotation axis direction. As a result, the flow rate of air flowing into the space between the blades on the side plate 72 side can be increased.
- the part 711a on one end side in the rotation axis direction in the inner peripheral edge 711 may be referred to as a forward movement part 711a
- the part 711b on the other end side in the rotation axis direction in the inner peripheral edge 711 may be referred to as a backward movement part 711b.
- the “meridional surface” is a surface obtained by rotationally projecting the shape of the blade 71 on a cross section including the rotation shaft 70 in the impeller 7a.
- the inner peripheral edge 711 of the blade 71 of the present embodiment is such that the inner peripheral diameter on the side plate 72 side of the impeller 7 a is larger than the inner peripheral diameter on the main plate 73 side. It is configured to be separated from the axis Z of the rotary shaft 70 from the 73 side toward the side plate 72 side.
- the inner peripheral diameter of the impeller 7 a is a diameter of an inscribed circle that passes through the inner peripheral edge 711 of each blade 71 in the radial direction of the rotating shaft 70.
- the entrance angle ⁇ on each cross section intersecting in a predetermined direction with respect to the inner peripheral edge portion 711 of the blade 71 appearing on the meridional surface of the impeller 7a extends from the side plate 72 side to the main plate 73 side. It is set to be uniform throughout the entire area. “Uniform” means a state where there is no deviation in the entrance angle ⁇ in the entire region from the side plate 72 side to the main plate 73 side, or a state where there is only a minute deviation within ⁇ 5 °.
- FIG. 9 is a cross-sectional view taken along the line IX-IX in FIG. 8
- FIG. 10 is a cross-sectional view taken along the line XX in FIG.
- the IX-IX cross section is a cross section when a portion of the blade 71 on the main plate 73 side is cut in a direction perpendicular to the rotation axis direction.
- the XX cross section is a cross section when the portion of the side plate 72 in the blade 71 is cut in a direction orthogonal to the axial direction of the rotation axis.
- the side plates 72 represent the entrance angles ⁇ m and ⁇ s in each cross section orthogonal to the rotation axis direction at the inner peripheral edge 711 of each blade 71.
- An angle that is uniform over the entire area from the side to the main plate 73 side (for example, an angle of 55 ° to 76 °) is set.
- the entrance angles ⁇ m and ⁇ s are tangent to the inscribed circle (the dashed line in FIGS. 9 and 10) passing through the inner peripheral edge 711 of the blade 71 and the inner end 713 a of the blade 71 on the positive pressure surface 713 side.
- the angle formed by the tangent line (two-dot chain line in FIGS. 9 and 10).
- the air flow on the side plate 72 side can be obtained only by making the inlet angles ⁇ m and ⁇ s of the inner peripheral edge 711 of each blade 71 uniform over the entire region from the side plate 72 side to the main plate 73 side. It is difficult to sufficiently suppress peeling.
- the outer peripheral edge portion 712 of each blade 71 is arranged on the main plate 73 so that the outer peripheral diameter on the side plate 72 side in the impeller 7 a is larger than the outer peripheral diameter on the main plate 73 side.
- the shape is separated from the axis Z of the rotary shaft 70 from the side toward the side plate 72 side.
- the outer peripheral diameter of the impeller 7 a is the diameter of a circumscribed circle passing through the outer peripheral edge 712 of each blade 71 in the radial direction of the rotating shaft 70.
- the blade 71 of the present embodiment is configured such that the inner peripheral diameter increases from the main plate 73 side to the side plate 72 side, and the outer peripheral diameter increases from the main plate 73 side to the side plate 72 side. (D1> d2, D1> D2).
- the outer shape becomes a reverse trapezoid shape.
- the side plate side inner / outer diameter ratio is smaller than the main plate side inner / outer diameter ratio.
- the air introduced into the air conditioning casing 2 through the inlets 3 and 4 is directed to the outlets 14, 15, and 17 by the blower 7. And blown.
- the blown air blown by the blower 7 is adjusted to a desired temperature by the evaporator 9, the heater core 10, and the air mix door 13, and blown out from any one of the outlets 14, 15, and 17 into the vehicle interior. Is done.
- the inner peripheral edge 711 of the blade 71 is moved from the main plate 73 side to the side plate 72 side so that the inner peripheral diameter of the impeller 7a increases from the main plate 73 side toward the side plate 72 side.
- the shape is away from the axis Z of the rotating shaft 70.
- the inlet angles ⁇ m and ⁇ s in each cross section orthogonal to the axis of the rotation shaft 70 in the inner peripheral edge 711 of each blade 71 are set over the entire region from the side plate 72 side to the main plate 73 side.
- the angle is uniform.
- the outer peripheral edge 712 of the blade 71 has a shape that is separated from the axis Z of the rotary shaft 70 from the main plate 73 side toward the side plate 72 side.
- the rotational axis direction on the air outlet side of the impeller 7a which becomes a problem when the inlet angles ⁇ m and ⁇ s of the inner peripheral edge portion 711 of each blade 71 are uniform over the entire region from the side plate 72 side to the main plate 73 side, The flow velocity distribution is uniform.
- the flow rate on the air outlet side of the impeller 7a increases by the square of the outer diameter under conditions where the rotational speed and the ventilation resistance are constant. For this reason, by enlarging the outer peripheral diameter of the impeller 7a on the side plate 72 side rather than the main plate 73 side, the flow rate on the air outlet side on the side plate 72 side of the impeller 7a increases, and accordingly the side plate of the impeller 7a.
- the flow velocity on the air outlet side on the 72 side becomes faster. That is, the flow rate on the side plate 72 side on the air outlet side of the impeller 7a can be made closer to the flow rate on the main plate 73 side.
- the flow rate of the inflow air to the inner peripheral edge 711 on the side plate 72 side increases as the flow rate on the air outlet side on the side plate 72 side of the impeller 7a increases.
- the increase in the flow rate of the inflow air to the inner peripheral edge 711 on the side plate 72 side acts to increase the flow velocity on the side plate 72 side, so that the difference between the inlet angle and the inflow angle on the side plate 72 side can be reduced. .
- the peripheral speed Us on the side plate 72 side is set to the main plate 73 as shown in FIGS. It becomes faster than the peripheral speed Um on the side (Us> Um).
- the inflow angle ⁇ s on the side plate 72 side is the main plate 73. This is an angle close to the inflow angle ⁇ m on the side.
- the entrance angle ⁇ s on the side plate 72 side is aligned with the entrance angle ⁇ m on the main plate 73 side, so the difference (incident angle ⁇ s) between the entrance angle ⁇ s and the inflow angle ⁇ s on the side plate 72 side is. Reduced.
- the flow velocity distribution in the direction of the rotation axis on the air outlet side of the impeller 7a can be sufficiently uniformed like the flow velocity distribution shown on the right side of the impeller 7a in FIG.
- noise suppression can be achieved.
- a portion 711a on one end side in the rotation axis direction in the inner peripheral edge portion 711 is positioned in front of the portion 711b on the other end side in the rotation axis direction in the rotation direction R.
- the flow rate of air flowing into the inner peripheral edge 711 on the side plate 72 side (absolute inflow rate) can be increased by increasing the flow rate of air flowing into the interblade space on the side plate 72 side.
- the incident angle ⁇ s on the 72 side can be further reduced.
- separation of the air flow on the side plate 72 side can be more effectively suppressed.
- the impeller 7a of this embodiment has a smaller outer diameter of the main plate 73 than the first embodiment. .
- the main plate 73 and the advancing portion 711a in the inner peripheral edge 711 do not overlap each other.
- the outer peripheral diameter of 73 is made small.
- the distance L1 from the axis Z of the rotating shaft 70 to the outer peripheral end of the main plate 73 is from the axis Z of the rotating shaft 70 to the advance portion 711a in the inner peripheral edge 711. It is smaller than the distance L2.
- each blade 71, side plate 72, and main plate 73 are integrally formed. There is a possibility that the forward movement portion 711a becomes undercut.
- the outer diameter of the main plate 73 is reduced so that the main plate 73 and the forward movement portion 711a in the inner peripheral edge 711 do not overlap in the rotation axis direction.
- the molded product can be taken out from the mold by sliding the mold in the direction of the rotation axis.
- the impeller 7a can be easily manufactured, and the cost can be reduced.
- the ratio of the outer peripheral diameter D1 to the inner peripheral diameter d1 on the side plate 72 side of the impeller 7a (side plate side inner / outer diameter ratio) is set to the outer peripheral diameter with respect to the inner peripheral diameter d2 on the main plate 73 side.
- the ratio is larger than the ratio of D2 (main plate side inner / outer diameter ratio) (D1 / d1> D2 / d2).
- the outer peripheral edge 712 of the blade 71 is configured to be separated from the axis Z of the rotary shaft 70 from the main plate 73 side to the side plate 72 side, and the inner peripheral edge 711 of the blade 71 is set in the rotational axis direction. It is set as the structure extended along. That is, the impeller 7a of the present embodiment has an outer peripheral diameter on the side plate 72 side larger than an outer peripheral diameter on the main plate 73 side, and the inner peripheral diameter on the side plate 72 side and the inner peripheral diameter on the main plate 73 side in the impeller 7a are equal. It has become.
- the side plate side inner / outer diameter ratio of the impeller 7a is larger than the main plate side inner / outer diameter ratio, the inner peripheral diameter of the impeller 7a on the side plate 72 side does not become too large.
- An increase in the peripheral speed Us at the inner peripheral edge 711 on the side plate 72 side can be suppressed. That is, according to the configuration of the present embodiment, in addition to the increase in the flow rate on the side plate 72 side, the increase in the peripheral speed at the inner peripheral edge portion 711 on the side plate 72 side that affects the inflow angle at the inner peripheral edge portion 711 on the side plate 72 side. It becomes possible to suppress.
- a plurality of virtual streamlines imagining the flow direction of the air flowing into the inner peripheral edge 711 of the blade 71 are set, and the inlet angle ⁇ in each cross section on the virtual streamlines is changed from the side plate 72 side to the main plate 73 side.
- the angle is uniform over the entire area (for example, an angle of 55 ° to 76 °).
- the first to sixth dividing lines Yd1 to Yd6 are set as virtual streamlines, and the entrances on the respective cross sections on the virtual streamlines Yd1 to Yd6.
- the angle ⁇ is a uniform angle over the entire range of the inner peripheral edge 711 of the blade 71.
- the inner peripheral edge 711 of the blade 71 is divided into a predetermined number so that the length along the inner peripheral edge 711 of the blade 71 is equal, and the inner peripheral edge 711 is divided.
- the dividing point Yin at the inner peripheral edge 711 is set in order from the one end side in the rotation axis direction of the blade 71 in order from the first inner peripheral dividing point Yi1, the second inner peripheral dividing point Yi2,.
- the sixth inner circumference side dividing point Yi6 is set.
- the outer peripheral edge 712 of the blade 71 is divided into a predetermined number so that the length along the outer peripheral edge 712 of the blade 71 is uniform, and a dividing point Yon at the outer peripheral edge 712 is set.
- the dividing point Yon of the outer peripheral edge portion 712 is divided into the first outer peripheral side dividing point Yo1, the second outer peripheral side dividing point Yo2,. It is set as 6 outer peripheral side dividing points Yo6.
- the dividing lines Yd1 to Yd6) are set as virtual streamlines.
- blower 7 of the present embodiment has the same effects as those of the first embodiment. Furthermore, according to the blower 7 of this embodiment, there exists an advantage that the design surface of the blade
- the set number may be set to an arbitrary number (for example, 10).
- the portion 711a on one end side in the rotation axis direction of the inner peripheral edge 711 is in the rotation direction of the impeller 7a rather than the portion 711b on the other end side in the rotation axis direction.
- the example located ahead of R was demonstrated, it is not limited to this.
- the side plate 72 is an annular shape that is curved so that a portion on one end side in the rotation axis direction is positioned on the radially inner side of the rotation shaft 70 relative to a portion on the other end side.
- the side plate 72 may have an annular shape extending along the rotation axis direction, and may be connected to an outer peripheral edge portion 712 existing on the radially outer side at one end side in the rotation axis direction of each blade 71. .
- the side plate 72 is connected so as to cover the outer peripheral edge portion 712 of each blade 71 from the radially outer side of the rotating shaft 70 has been described, but the present invention is not limited to this.
- the side plate 72 may be connected to a portion 71 a on one end side in the rotation axis direction of each blade 71.
- the main plate 73 and the side plate 72 are viewed from the direction of the rotation axis so as not to cause undercut when the impeller 7a is integrally formed, they do not overlap each other. It is desirable to make it.
- the main plate 73 and the side plate 72 may be configured to overlap when viewed from the rotation axis direction.
- the side plate side inner / outer diameter ratio of the impeller 7a is the main plate side inner / outer diameter ratio. If it is a bigger structure, it is good also as a structure which leaves
- first and second impeller parts 7aa and 7ab configured in the same manner as the impeller 7a described in the above-described embodiments are prepared.
- the main plates 73a and 73b of the portions 7aa and 7ab may be connected by the connecting member 75.
- wing 71 in each impeller part 7aa and 7ab has the entrance angle (alpha) on each cross section which cross
- the outer peripheral edge 712 of the blade 71 in each impeller portion 7aa, 7ab is configured to be separated from the axis Z of the rotary shaft 70 from the main plate 73a, 73b side toward the side plate 72a, 72b side.
- the entrance angle ⁇ on each cross section orthogonal to the rotational axis direction on the meridional surface of the impeller 7a is made uniform over the entire region from the side plate 72 side to the main plate 73 side.
- the present invention is not limited to this.
- the entrance angle ⁇ on each cross section orthogonal to the inner peripheral edge 711 on the meridian surface of the impeller 7a may be uniform over the entire region from the side plate 72 side to the main plate 73 side.
Landscapes
- Engineering & Computer Science (AREA)
- Mechanical Engineering (AREA)
- General Engineering & Computer Science (AREA)
- Structures Of Non-Positive Displacement Pumps (AREA)
Priority Applications (4)
| Application Number | Priority Date | Filing Date | Title |
|---|---|---|---|
| US14/410,796 US20150192143A1 (en) | 2012-06-26 | 2013-06-06 | Centrifugal multi-blade blower |
| CN201380034234.1A CN104411980B (zh) | 2012-06-26 | 2013-06-06 | 离心式多叶送风机 |
| DE112013003213.9T DE112013003213T5 (de) | 2012-06-26 | 2013-06-06 | Vielflügelzentrifugalgebläse |
| KR1020157001276A KR101666923B1 (ko) | 2012-06-26 | 2013-06-06 | 원심식 다익 송풍기 |
Applications Claiming Priority (4)
| Application Number | Priority Date | Filing Date | Title |
|---|---|---|---|
| JP2012142803 | 2012-06-26 | ||
| JP2012-142803 | 2012-06-26 | ||
| JP2013100170A JP2014029149A (ja) | 2012-06-26 | 2013-05-10 | 遠心式多翼送風機 |
| JP2013-100170 | 2013-05-10 |
Publications (1)
| Publication Number | Publication Date |
|---|---|
| WO2014002392A1 true WO2014002392A1 (ja) | 2014-01-03 |
Family
ID=49782594
Family Applications (1)
| Application Number | Title | Priority Date | Filing Date |
|---|---|---|---|
| PCT/JP2013/003549 Ceased WO2014002392A1 (ja) | 2012-06-26 | 2013-06-06 | 遠心式多翼送風機 |
Country Status (6)
| Country | Link |
|---|---|
| US (1) | US20150192143A1 (enExample) |
| JP (1) | JP2014029149A (enExample) |
| KR (1) | KR101666923B1 (enExample) |
| CN (1) | CN104411980B (enExample) |
| DE (1) | DE112013003213T5 (enExample) |
| WO (1) | WO2014002392A1 (enExample) |
Cited By (1)
| Publication number | Priority date | Publication date | Assignee | Title |
|---|---|---|---|---|
| CN109083865A (zh) * | 2018-08-16 | 2018-12-25 | 泛仕达机电股份有限公司 | 一种前向多翼离心风机及其叶轮 |
Families Citing this family (18)
| Publication number | Priority date | Publication date | Assignee | Title |
|---|---|---|---|---|
| WO2014150685A1 (en) * | 2013-03-15 | 2014-09-25 | Regal Beloit America, Inc. | Fan |
| US9523370B2 (en) * | 2014-04-07 | 2016-12-20 | Hanon Systems | Blower with curved blades |
| DE102015100107B4 (de) * | 2015-01-07 | 2019-11-28 | Halla Visteon Climate Control Corporation | Gebläserad einer Gebläseanordnung für ein Klimatisierungssystem eines Kratffahrzeugs |
| US9926832B2 (en) * | 2015-04-24 | 2018-03-27 | Briggs & Stratton Corporation | Reverse fin cooling fan |
| US10167766B2 (en) | 2015-04-24 | 2019-01-01 | Briggs & Stratton Corporation | Reverse fin cooling fan |
| KR102403728B1 (ko) * | 2015-10-07 | 2022-06-02 | 삼성전자주식회사 | 공기조화장치용 터보팬 |
| US10030667B2 (en) * | 2016-02-17 | 2018-07-24 | Regal Beloit America, Inc. | Centrifugal blower wheel for HVACR applications |
| JP2018096323A (ja) * | 2016-12-15 | 2018-06-21 | 株式会社ヴァレオジャパン | 送風機 |
| JP6973417B2 (ja) * | 2019-01-07 | 2021-11-24 | 株式会社デンソー | 遠心式送風機 |
| CN113439163A (zh) * | 2019-02-07 | 2021-09-24 | 三菱电机株式会社 | 离心送风机及使用离心送风机的空调机 |
| WO2022009284A1 (ja) * | 2020-07-06 | 2022-01-13 | 三菱電機株式会社 | 多翼羽根車および遠心送風機 |
| KR20220060844A (ko) * | 2020-11-05 | 2022-05-12 | 엘지전자 주식회사 | 냉장고용 원심 팬 |
| GB2602987B (en) * | 2021-01-22 | 2023-01-11 | Cool T Ltd | Fan apparatus and method of use |
| CN113550930A (zh) * | 2021-08-04 | 2021-10-26 | 珠海格力节能环保制冷技术研究中心有限公司 | 一种离心风叶、风机及包含其的空调系统 |
| JPWO2024218857A1 (enExample) | 2023-04-18 | 2024-10-24 | ||
| WO2025014112A1 (ko) * | 2023-07-11 | 2025-01-16 | 한온시스템 주식회사 | 차량용 블로워 유닛 |
| CN117267169B (zh) * | 2023-11-23 | 2024-03-12 | 广东顺威精密塑料股份有限公司 | 一种变进口角的多翼离心叶轮及使用其的离心风机 |
| WO2025206527A1 (ko) * | 2024-03-27 | 2025-10-02 | 삼성전자주식회사 | 원심형 팬 및 이를 포함하는 가전 기기 |
Citations (9)
| Publication number | Priority date | Publication date | Assignee | Title |
|---|---|---|---|---|
| JPS5789897U (enExample) * | 1980-11-21 | 1982-06-02 | ||
| JPS61116198U (enExample) * | 1984-12-29 | 1986-07-22 | ||
| JPH0388998A (ja) * | 1989-08-31 | 1991-04-15 | Daikin Ind Ltd | 遠心ファンおよびその製造方法 |
| JP2001065496A (ja) * | 1999-08-26 | 2001-03-16 | Zexel Valeo Climate Control Corp | 遠心ファン |
| JP2002180995A (ja) * | 2000-12-12 | 2002-06-26 | Mitsubishi Heavy Ind Ltd | 送風装置及び送風装置を備えた空調機 |
| JP2003035293A (ja) * | 2001-07-19 | 2003-02-07 | Daikin Ind Ltd | 遠心送風機の羽根車及びそれを備えた遠心送風機 |
| JP2004515677A (ja) * | 2000-12-04 | 2004-05-27 | ロバート ボッシュ コーポレーション | 高効率一体型遠心ブロワ |
| JP2006200525A (ja) * | 2004-12-24 | 2006-08-03 | Denso Corp | 遠心式多翼送風機 |
| JP2011052626A (ja) * | 2009-09-03 | 2011-03-17 | Mitsubishi Heavy Ind Ltd | 多翼遠心ファンおよびそれを用いた空気調和機 |
Family Cites Families (7)
| Publication number | Priority date | Publication date | Assignee | Title |
|---|---|---|---|---|
| US3469772A (en) * | 1967-07-19 | 1969-09-30 | Donald A Mcdonald | Air moving apparatus |
| JPS57105597A (en) * | 1980-12-24 | 1982-07-01 | Hitachi Ltd | Multiblade fan |
| JPS58158195U (ja) * | 1982-04-19 | 1983-10-21 | 株式会社日立製作所 | 樹脂製多翼フアン |
| JPH06193593A (ja) * | 1992-12-24 | 1994-07-12 | Nisshinbo Ind Inc | 遠心送風機の羽根車 |
| US6299409B1 (en) * | 1998-04-10 | 2001-10-09 | Denso Corporation | Centrifugal type blower unit |
| JP2003090298A (ja) * | 2001-09-17 | 2003-03-28 | Nippon Soken Inc | 遠心ファン |
| JP5287772B2 (ja) * | 2010-03-16 | 2013-09-11 | 株式会社デンソー | 遠心式多翼ファン |
-
2013
- 2013-05-10 JP JP2013100170A patent/JP2014029149A/ja active Pending
- 2013-06-06 DE DE112013003213.9T patent/DE112013003213T5/de not_active Ceased
- 2013-06-06 KR KR1020157001276A patent/KR101666923B1/ko not_active Expired - Fee Related
- 2013-06-06 CN CN201380034234.1A patent/CN104411980B/zh not_active Expired - Fee Related
- 2013-06-06 US US14/410,796 patent/US20150192143A1/en not_active Abandoned
- 2013-06-06 WO PCT/JP2013/003549 patent/WO2014002392A1/ja not_active Ceased
Patent Citations (9)
| Publication number | Priority date | Publication date | Assignee | Title |
|---|---|---|---|---|
| JPS5789897U (enExample) * | 1980-11-21 | 1982-06-02 | ||
| JPS61116198U (enExample) * | 1984-12-29 | 1986-07-22 | ||
| JPH0388998A (ja) * | 1989-08-31 | 1991-04-15 | Daikin Ind Ltd | 遠心ファンおよびその製造方法 |
| JP2001065496A (ja) * | 1999-08-26 | 2001-03-16 | Zexel Valeo Climate Control Corp | 遠心ファン |
| JP2004515677A (ja) * | 2000-12-04 | 2004-05-27 | ロバート ボッシュ コーポレーション | 高効率一体型遠心ブロワ |
| JP2002180995A (ja) * | 2000-12-12 | 2002-06-26 | Mitsubishi Heavy Ind Ltd | 送風装置及び送風装置を備えた空調機 |
| JP2003035293A (ja) * | 2001-07-19 | 2003-02-07 | Daikin Ind Ltd | 遠心送風機の羽根車及びそれを備えた遠心送風機 |
| JP2006200525A (ja) * | 2004-12-24 | 2006-08-03 | Denso Corp | 遠心式多翼送風機 |
| JP2011052626A (ja) * | 2009-09-03 | 2011-03-17 | Mitsubishi Heavy Ind Ltd | 多翼遠心ファンおよびそれを用いた空気調和機 |
Cited By (2)
| Publication number | Priority date | Publication date | Assignee | Title |
|---|---|---|---|---|
| CN109083865A (zh) * | 2018-08-16 | 2018-12-25 | 泛仕达机电股份有限公司 | 一种前向多翼离心风机及其叶轮 |
| CN109083865B (zh) * | 2018-08-16 | 2023-08-22 | 泛仕达机电股份有限公司 | 一种前向多翼离心风机及其叶轮 |
Also Published As
| Publication number | Publication date |
|---|---|
| CN104411980B (zh) | 2016-12-28 |
| DE112013003213T5 (de) | 2015-04-02 |
| KR101666923B1 (ko) | 2016-10-17 |
| KR20150031296A (ko) | 2015-03-23 |
| CN104411980A (zh) | 2015-03-11 |
| US20150192143A1 (en) | 2015-07-09 |
| JP2014029149A (ja) | 2014-02-13 |
Similar Documents
| Publication | Publication Date | Title |
|---|---|---|
| WO2014002392A1 (ja) | 遠心式多翼送風機 | |
| JP4872293B2 (ja) | 遠心式多翼送風機 | |
| KR101607791B1 (ko) | 크로스 플로우 팬 | |
| JP5971667B2 (ja) | プロペラファン、送風装置及び室外機 | |
| JP6213275B2 (ja) | 送風機 | |
| CN111376675B (zh) | 双层结构的车辆用空调装置的送风单元 | |
| KR20140115192A (ko) | 원심팬 및 이를 포함하는 공기조화기 | |
| CN205876751U (zh) | 离心式送风机及具有该离心式送风机的空调机 | |
| WO2016174851A1 (ja) | 車両用空調装置 | |
| US20140315479A1 (en) | Turbo fan and ceiling type air conditioner using thereof | |
| JPH1193893A (ja) | 遠心多翼ファン | |
| WO2015059884A1 (ja) | 遠心送風機および空調装置 | |
| WO2018110597A1 (ja) | 送風機 | |
| JP6174339B2 (ja) | 遠心送風機及びそれを備えた車両用空調装置 | |
| JP2016196208A (ja) | 室内空調ユニットおよび送風機 | |
| JP4411724B2 (ja) | 遠心式送風機 | |
| US7473078B2 (en) | Centrifugal blower | |
| JP6098504B2 (ja) | 車両用空調装置 | |
| JP5631429B2 (ja) | 空気調和機 | |
| WO2019021391A1 (ja) | 空気調和機 | |
| EP3978764A1 (en) | Centrifugal blower | |
| JP2018086877A (ja) | 車両用空調装置 | |
| WO2021085086A1 (ja) | 送風機 | |
| JP6794318B2 (ja) | 車両用空調装置のための遠心送風機 | |
| JP6973363B2 (ja) | 送風機 |
Legal Events
| Date | Code | Title | Description |
|---|---|---|---|
| 121 | Ep: the epo has been informed by wipo that ep was designated in this application |
Ref document number: 13809939 Country of ref document: EP Kind code of ref document: A1 |
|
| WWE | Wipo information: entry into national phase |
Ref document number: 14410796 Country of ref document: US |
|
| WWE | Wipo information: entry into national phase |
Ref document number: 1120130032139 Country of ref document: DE Ref document number: 112013003213 Country of ref document: DE |
|
| ENP | Entry into the national phase |
Ref document number: 20157001276 Country of ref document: KR Kind code of ref document: A |
|
| 122 | Ep: pct application non-entry in european phase |
Ref document number: 13809939 Country of ref document: EP Kind code of ref document: A1 |