WO2013190799A1 - 高清浄度鋼鋳片の製造方法及びタンディッシュ - Google Patents

高清浄度鋼鋳片の製造方法及びタンディッシュ Download PDF

Info

Publication number
WO2013190799A1
WO2013190799A1 PCT/JP2013/003632 JP2013003632W WO2013190799A1 WO 2013190799 A1 WO2013190799 A1 WO 2013190799A1 JP 2013003632 W JP2013003632 W JP 2013003632W WO 2013190799 A1 WO2013190799 A1 WO 2013190799A1
Authority
WO
WIPO (PCT)
Prior art keywords
tundish
molten steel
weir
bowl
gas
Prior art date
Legal status (The legal status is an assumption and is not a legal conclusion. Google has not performed a legal analysis and makes no representation as to the accuracy of the status listed.)
Ceased
Application number
PCT/JP2013/003632
Other languages
English (en)
French (fr)
Japanese (ja)
Inventor
孝平 古米
則親 荒牧
三木 祐司
村井 剛
Current Assignee (The listed assignees may be inaccurate. Google has not performed a legal analysis and makes no representation or warranty as to the accuracy of the list.)
JFE Steel Corp
Original Assignee
JFE Steel Corp
Priority date (The priority date is an assumption and is not a legal conclusion. Google has not performed a legal analysis and makes no representation as to the accuracy of the date listed.)
Filing date
Publication date
Application filed by JFE Steel Corp filed Critical JFE Steel Corp
Priority to EP13806075.1A priority Critical patent/EP2837441A4/en
Priority to JP2014520920A priority patent/JP5807719B2/ja
Priority to BR112014030786-5A priority patent/BR112014030786B1/pt
Priority to KR1020147032641A priority patent/KR101684382B1/ko
Priority to IN9141DEN2014 priority patent/IN2014DN09141A/en
Priority to CN201380030077.7A priority patent/CN104364032B/zh
Publication of WO2013190799A1 publication Critical patent/WO2013190799A1/ja
Anticipated expiration legal-status Critical
Ceased legal-status Critical Current

Links

Images

Classifications

    • BPERFORMING OPERATIONS; TRANSPORTING
    • B22CASTING; POWDER METALLURGY
    • B22DCASTING OF METALS; CASTING OF OTHER SUBSTANCES BY THE SAME PROCESSES OR DEVICES
    • B22D41/00Casting melt-holding vessels, e.g. ladles, tundishes, cups or the like
    • B22D41/003Casting melt-holding vessels, e.g. ladles, tundishes, cups or the like with impact pads
    • BPERFORMING OPERATIONS; TRANSPORTING
    • B22CASTING; POWDER METALLURGY
    • B22DCASTING OF METALS; CASTING OF OTHER SUBSTANCES BY THE SAME PROCESSES OR DEVICES
    • B22D11/00Continuous casting of metals, i.e. casting in indefinite lengths
    • B22D11/10Supplying or treating molten metal
    • BPERFORMING OPERATIONS; TRANSPORTING
    • B22CASTING; POWDER METALLURGY
    • B22DCASTING OF METALS; CASTING OF OTHER SUBSTANCES BY THE SAME PROCESSES OR DEVICES
    • B22D1/00Treatment of fused masses in the ladle or the supply runners before casting
    • B22D1/002Treatment with gases
    • B22D1/005Injection assemblies therefor
    • BPERFORMING OPERATIONS; TRANSPORTING
    • B22CASTING; POWDER METALLURGY
    • B22DCASTING OF METALS; CASTING OF OTHER SUBSTANCES BY THE SAME PROCESSES OR DEVICES
    • B22D11/00Continuous casting of metals, i.e. casting in indefinite lengths
    • B22D11/10Supplying or treating molten metal
    • B22D11/11Treating the molten metal
    • BPERFORMING OPERATIONS; TRANSPORTING
    • B22CASTING; POWDER METALLURGY
    • B22DCASTING OF METALS; CASTING OF OTHER SUBSTANCES BY THE SAME PROCESSES OR DEVICES
    • B22D11/00Continuous casting of metals, i.e. casting in indefinite lengths
    • B22D11/10Supplying or treating molten metal
    • B22D11/11Treating the molten metal
    • B22D11/116Refining the metal
    • B22D11/117Refining the metal by treating with gases
    • BPERFORMING OPERATIONS; TRANSPORTING
    • B22CASTING; POWDER METALLURGY
    • B22DCASTING OF METALS; CASTING OF OTHER SUBSTANCES BY THE SAME PROCESSES OR DEVICES
    • B22D41/00Casting melt-holding vessels, e.g. ladles, tundishes, cups or the like
    • BPERFORMING OPERATIONS; TRANSPORTING
    • B22CASTING; POWDER METALLURGY
    • B22DCASTING OF METALS; CASTING OF OTHER SUBSTANCES BY THE SAME PROCESSES OR DEVICES
    • B22D41/00Casting melt-holding vessels, e.g. ladles, tundishes, cups or the like
    • B22D41/08Casting melt-holding vessels, e.g. ladles, tundishes, cups or the like for bottom pouring
    • BPERFORMING OPERATIONS; TRANSPORTING
    • B22CASTING; POWDER METALLURGY
    • B22DCASTING OF METALS; CASTING OF OTHER SUBSTANCES BY THE SAME PROCESSES OR DEVICES
    • B22D41/00Casting melt-holding vessels, e.g. ladles, tundishes, cups or the like
    • B22D41/50Pouring-nozzles
    • B22D41/58Pouring-nozzles with gas injecting means

Definitions

  • the present invention relates to a method for improving the cleanliness of molten steel by promoting floating separation of oxide-based nonmetallic inclusions such as deoxidation products in a tundish, thereby producing a high cleanliness steel slab. Furthermore, the present invention relates to a tundish for continuous casting which can promote the floating separation of oxide-based non-metallic inclusions such as a deoxidation product in the tundish to improve the cleanliness of the molten steel.
  • the molten steel in the ladle is once poured into the tundish, and with a predetermined amount of molten steel retained in the tundish, the molten steel is poured into the mold from the tundish to produce a slab.
  • the tundish has a function of supplying molten steel when replacing the ladle when continuous casting of a plurality of heats is continued, and a function of distributing molten steel to a plurality of molds.
  • the outflow amount of molten steel from the tundish to the mold can be controlled with high accuracy.
  • oxide systems such as deoxidation products suspended in the molten steel It also has a function of promoting floating separation of non-metallic inclusions (hereinafter simply referred to as “inclusions”).
  • inclusions due to the recent demand for high-quality steel materials, a technique for efficiently levitating and separating inclusions in tundish is widely used.
  • a method of floating and separating inclusions in a tundish a method is generally used in which a weir is installed in the tundish and the flow of molten steel is controlled by the weir.
  • a weir that has a through hole in the lower part and extends from the bottom of the tundish to the surface of the molten steel in the tundish is placed inside the tundish with the molten steel injection site from the ladle interposed therebetween.
  • a tundish that is disposed so as to be opposed to two locations, and the inside of the tundish is separated into a steel receiving region and a steel quasi-static region, and the inclusions are separated and floated in the steel quasi-static region.
  • the inside of the tundish is separated into the receiving steel side and the outgoing steel side by a weir having two through holes in contact with the bottom of the tundish, and a dam-like weir (
  • the ratio L / W between the long side length L and the short side length W of the tundish is 2 to 7
  • the volume ratio on the receiving steel side is 10 to 40% of the whole.
  • Patent Document 3 the inside of the tundish is divided by a weir, and a molten steel passage that is changed downward in the middle is formed in the weir, and gas is blown into the molten steel passage to remove inclusions in the tundish. A method is disclosed.
  • Patent Document 4 discloses a tundish collision pad formed from a heat-resistant composition, the base having a collision surface, and an upper side extending upward from the base and receiving the flow of the molten metal.
  • An endless outer side wall that completely encloses the internal space with the opening, and the outer side wall has an annular inner surface with at least a first portion extending inward and upward toward the opening.
  • a tundish crash pad is disclosed.
  • Patent Document 5 A technique for improving the technique of Patent Document 4 has also been proposed.
  • the flow of molten metal in a tundish is installed in a portion where the molten metal flow injected from the ladle collides with the bottom of the tundish.
  • a control pad having a wall portion extending upward from the bottom of the tundish surrounding the collision portion of the molten metal flow, and a hook-shaped portion extending from the upper end portion of the wall portion toward the surrounding wall center.
  • the flow control pad which has a notch in the wall part on the side facing the long side surface of the tundish is disclosed.
  • Patent Document 6 since the collision pad of Patent Document 4 is a refractory having an integral structure, the tank is opposed to the molten metal flow from the ladle to the tundish so as to be a weir instead of the collision pad.
  • a flow control weir having a wall portion extending upward from the bottom of the dish and a hook-like portion extending from the upper end portion of the wall portion toward the molten metal flow, wherein the wall portion has a height h and a hook-like shape.
  • a weir is disclosed in which the width d of the portion satisfies the relational expression of 0.1 ⁇ d / h ⁇ 1.0.
  • Patent Document 7 a portion of the molten steel flow from the ladle to the tundish collides with the bottom of the tundish, a wall portion surrounding the collision portion of the molten steel flow and extending upward from the bottom of the tundish, and the wall Using a tundish in which a flow control pad having a bowl-shaped portion extending from the upper end portion of the section toward the wall enclosing center is disposed, the molten steel injection rate q (m 3 / min) and the bowl-shaped portion are excluded.
  • the relational expression that the area A1 (m 2 ) of the top surface of the flow control pad and the area A2 (m 2 ) of the bottom surface of the flow control pad is 0.5 ⁇ (q / A2) ⁇ (A1 / A2) ⁇ 5.0.
  • Patent Documents 1 to 7 the floating separation of inclusions in the tundish was greatly improved, and the cleanliness of the molten steel was greatly improved compared to the case where no weir was installed.
  • an annular inner surface extending inward and upward toward the opening portion or “a hook-shaped portion extending from the upper end portion of the wall portion toward the surrounding center of the wall portion”.
  • the molten steel injection flow from the ladle to the tundish is agitated so as to return to the molten steel injection site side, so that the molten steel injection flow is decelerated, and as a result, the short-circuit flow and the high-speed flow in the tundish are eliminated. This contributes to the floating separation of inclusions. It is known that the short-circuit flow and the high-speed flow inhibit floating separation of inclusions in the tundish.
  • Patent Documents 4 to 7 still have room for improvement. That is, taking Patent Document 6 as an example, the weir height, the upper opening area of the weir, the distance from the weir to the tundish short side surface and the long side surface, etc. are the molten steel surface height in the tundish. And if the shape is not suitable for the molten steel injection flow rate from the ladle to the tundish, the molten steel injection flow from the ladle cannot be uniformly reduced, that is, the effect of the weir cannot be obtained sufficiently. However, it is not expected to promote the floating separation of inclusions in the tundish.
  • the present invention has been made in view of such circumstances, and an object thereof is to provide a wall portion extending upward from the bottom of the tundish between the molten steel injection portion of the tundish and the molten steel outlet, and the wall.
  • an object thereof is to provide a wall portion extending upward from the bottom of the tundish between the molten steel injection portion of the tundish and the molten steel outlet, and the wall.
  • the gist of the present invention for solving the above problems is as follows. [1] Between the molten steel injection portion where the molten steel injection flow from the ladle collides with the bottom of the tundish and the molten steel outlet from the tundish to the mold, the molten steel injection portion is surrounded from four directions from the bottom of the tundish.
  • a weir having a wall portion extending upward, and a hook-like portion protruding in the horizontal direction facing the molten steel injection portion side at an upper end portion of the wall portion, the wall portion and the hook-like portion, Using the tundish for continuous casting provided with a weir provided with one or more continuous notches extending from the wall portion to the bowl-shaped portion, the deoxidized molten steel is temporarily tundished from the ladle.
  • H is the molten steel surface height (m) in the tundish
  • h is the weir height (m)
  • S is the upper opening area (m 2 )
  • is the molten steel density (ton / m 3 )
  • Q is the flow rate of molten steel injected from the ladle to the tundish (ton / min)
  • L is the tundish from the tip of the bowl-shaped portion toward the molten steel injection portion.
  • the distance (m) to the short side surface, W is the distance (m) from the tip portion on the molten steel injection portion side of the bowl-shaped portion to the tundish long side surface.
  • the internal space of the weir surrounded by the wall portion is rectangular, and the length of the rectangle in the tundish long side direction (L ′: unit m) and the length in the tundish short side direction (W ′: unit)
  • a gas blowing section for injecting an inert gas is provided on the upper portion of the bowl-shaped section, and a gas introduction pipe for supplying an inert gas to the gas blowing section is provided on the wall section.
  • the inert gas is blown into the molten steel in the tundish at a gas flow rate satisfying the following formula (2) from the gas blowing section, according to any one of [1] to [3] above: Manufacturing method of high cleanliness steel slab by continuous casting.
  • R is an inert gas flow rate (NL / (s ⁇ m 2 )) per unit area of the gas blowing portion blown from the gas blowing portion.
  • R is an inert gas flow rate (NL / (s ⁇ m 2 )) per unit area of the gas blowing portion blown from the gas blowing portion.
  • the shape and installation position of the weir having the bowl-shaped portion are optimized based on the casting conditions, and further, the molten steel in the tundish is selected according to the shape and installation position of the weir. Since the surface height and the flow rate of molten steel injected from the ladle to the tundish are controlled within a predetermined range, the floating separation of inclusions in the tundish is promoted, and the cleanliness of the molten steel injected into the mold can be enhanced. . As a result, the cleanliness of continuously cast steel slabs is improved, and product defects due to inclusions are greatly reduced.
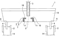
  • FIG. 1 is a schematic front sectional view showing a tundish of one example of the continuous casting equipment used in the present invention and a mold disposed below the tundish.
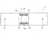
  • FIG. 2 is a plan view of the tundish shown in FIG.
  • FIG. 3 is a side view of the tundish shown in FIG.
  • FIG. 4 is a schematic front sectional view showing a tundish of another example of the continuous casting equipment used in the present invention and a mold disposed below the tundish.
  • FIG. 5 is a plan view of the tundish shown in FIG.
  • FIG. 6 is a side view of the tundish shown in FIG.
  • FIG. 7 is a plan view showing an example of a tundish in which the installation position of the gas blowing part in the bowl-shaped part is changed.
  • FIG. 1 is a schematic front sectional view showing a tundish of one example of the continuous casting equipment used in the present invention and a mold disposed below the tundish.
  • FIG. 2 is a plan
  • FIG. 8 is a plan view showing another example of the tundish in which the installation position of the gas blowing part in the bowl-like part is changed.
  • FIG. 9 is a diagram showing the results of investigating the influence of the value calculated by the equation (3) on the density of defects caused by inclusions in the steel sheet.
  • FIG. 10 is a diagram showing the results of examining the influence of the side length ratio (L ′ / W ′) of the rectangular weir internal space on the occurrence density of defects due to inclusions in the steel sheet.
  • FIG. 11 is a diagram showing the results of investigating the influence of the maximum surface flow velocity of molten steel in a tundish on the density of defects caused by inclusions in a steel plate.
  • FIG. 12 is a diagram showing the results of investigating the relationship between the flow rate of argon gas blown into the molten steel in the tundish and the inclusion number density in the slab slab after casting.
  • FIG. 13 is a diagram showing the results of investigating the relationship between the argon gas blowing position and the number density of inclusions in the slab slab after casting.
  • FIG. 14 is a diagram showing the results of investigation of the number of inclusions in the slab in Example 1 in comparison with the present invention example, the comparative example, and the conventional example.
  • FIG. 15 is a diagram showing the results of investigating the number of inclusions in a slab in Example 2 in comparison with the present invention example, the comparative example, and the conventional example.
  • FIG. 1 is a schematic front sectional view showing a tundish of one example of a continuous casting facility used in the present invention and a mold disposed below the tundish
  • FIG. 2 is a plan view of the tundish shown in FIG.
  • FIG. 3 is a side view of the tundish shown in FIG.
  • reference numeral 1 is a tundish
  • 2 is a mold
  • 3 is a long nozzle attached to the bottom of a ladle (not shown)
  • 4 is an immersion nozzle attached to the bottom of the tundish 1.
  • a predetermined amount of the molten steel 13 deoxidized with a deoxidizing material such as aluminum, silicon, titanium, manganese and the like and poured into the ladle through the long nozzle 3 is poured into the tundish 1 in advance. With the molten steel 13 retained, the molten steel 13 in the tundish is injected into the mold 2 through the immersion nozzle 4. Molten steel 13 injected into the mold is cooled by the mold 2 to produce a steel slab 14.
  • a weir 7 is arranged between a molten steel injection portion 5 and a molten steel outlet 6 from the tundish 1 to the mold 2.
  • the weir 7 has a wall portion 8 extending vertically upward from the bottom of the tundish 1 and a hook-shaped portion 9 protruding in the horizontal direction at the upper end portion of the wall portion 8 toward the molten steel injection portion.
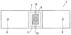
  • the projected outer shape and the projected inner shape of the wall 8 on the horizontal plane are rectangular. As shown in FIG.
  • the weir 7 has a shape in which the surface on the molten steel injection portion side of the wall portion 8 and the surface on the lower surface side of the bowl-shaped portion 9 are smoothly connected by an arc.
  • the surface on the molten steel injection portion side of the portion 8 and the surface on the lower surface side of the bowl-shaped portion 9 may be orthogonal to each other.
  • the weir 7 is also arranged on the long side surface side of the tundish 1 so as to surround the molten steel injection part 5 from four directions. That is, the molten steel injecting portion 5 is surrounded from four directions by the weir 7 whose projected outer shape and projected inner shape on the horizontal plane are square or rectangular. However, the weir 7 is provided with at least one notch 12 continuous from the wall 8 to the bowl-shaped portion 9. That is, at the end of casting, the molten steel 13 in the internal space surrounded by the weir 7 passes through the notch 12 and is discharged toward the molten steel outlet 6.
  • the notches 12 are arranged in two places, but may be one place or three places or more.
  • the notch 12 is installed on the long side surface side of the tundish 1, but the installation position of the notch 12 is not limited to the long side surface side of the tundish 1, and the tundish 1 You may install in the surface which faced the short side surface side.
  • the notch 12 is installed on the surface facing the short side of the tundish 1, the molten steel 13 that has passed through the notch 12 forms a short-circuit flow toward the molten steel outlet 6, thereby It is preferable that the notch 12 be installed on the long side surface side of the tundish 1 because the floating may be impaired.
  • the short-circuit flow means that the molten steel 13 injected into the molten steel injection portion 5 does not spread in the tundish, that is, does not diffuse, and has a thin flux toward the molten steel outlet 6 from the molten steel injection portion 5. It is a flowing molten steel flow.
  • FIG. 4 is a schematic front sectional view showing a tundish of another example of the continuous casting equipment used in the present invention and a mold disposed below the tundish
  • FIG. 5 is a plan view of the tundish shown in FIG.
  • FIG. 6 is a side view of the tundish shown in FIG.
  • the tundish 1 shown in FIG. 4 is similar to the tundish 1 shown in FIG. 1 described above, and the difference is that in the tundish 1 shown in FIG.
  • the other points are the same as those of the tundish 1 shown in FIG.
  • a gas introduction pipe 11 is provided inside the wall part 8 and the bowl-shaped part 9, and the upper end of the gas introduction pipe 11 is disposed on the upper part of the bowl-like part 9.
  • the gas blowing part 10 made of, for example, porous brick is connected. That is, an inert gas such as argon gas supplied from the outside of the tundish 1 through the gas introduction pipe 11 is configured to be ejected from the gas blowing unit 10 into the internal space of the tundish 1.
  • the gas introduction pipe 11 may be configured by using a metal pipe or a refractory pipe. I do not care. Moreover, the gas blowing part 10 does not need to be a porous brick, and may be a brick having a large number of thin through holes. 4 to 6, the gas blowing portion 10 is disposed on a part of the upper portion of the bowl-shaped portion 9, but the gas blowing portion 10 may be disposed on the entire upper surface of the bowl-shaped portion 9.
  • the gas introduction pipe 11 is configured to be able to supply an inert gas, for example, connected to a gas supply pipe (not shown) that penetrates the bottom iron skin (not shown) of the tundish 1. .
  • gas blowing portions 10 are arranged at all positions of the bowl-shaped portion 9 surrounding the molten steel injection portion 5 so as to surround the molten steel injection portion 5 from four sides. It is not necessary to dispose inert gas by disposing the gas blowing part 10 in all surrounding bowl-shaped parts 9. As shown in FIG. 7, just blowing from the surface orthogonal to the long side surface of the tundish 1 of the bowl-shaped portion 9, or as shown in FIG. 8, the long side surface of the tundish 1 of the bowl-shaped portion 9 You can just blow in from the surface along. In the present invention, the method of blowing from all the bowl-shaped portions 9 surrounding the molten steel injection portion 5 shown in FIGS.
  • blowing method is called “long-side surface orthogonal blowing”
  • the method of blowing from the surface along the long-side surface of the tundish 1 shown in FIG. 8 is called “long-side parallel blowing”.
  • an inert gas such as argon gas or helium gas is blown into the molten steel from the gas blowing portion 10, and the inside of the ladle is passed through the long nozzle 3.
  • the molten steel 13 is poured into the tundish 1, and then the molten steel 13 in the tundish is poured into the mold 2 to continuously cast the steel slab 14.
  • the molten steel 13 injected into the molten steel injection part 5 through the long nozzle 3 collides with the molten steel injection part 5, and then the molten steel injection flow It flows in four directions along the bottom of the tundish 1 due to the falling energy.
  • This flow collides with the wall portion 8 of the weir 7 and becomes an upward direction, and further flows toward the molten steel injection portion 5 by the hook-like portion 9 at the upper end portion of the weir 7. Flows coming from the four directions facing the molten steel injection portion 5 collide with each other and consume kinetic energy and decelerate.
  • the high-speed molten steel flow injected through the long nozzle 3 is greatly decelerated by the weir 7, and at the same time, the molten steel flow in the tundish is made uniform.
  • the short circuit flow and the high-speed flow in the tundish are eliminated, and the inclusions flowing out from the molten steel outlet 6 to the mold 2 are reduced accompanying these flows. That is, the floating separation of inclusions in the tundish 1 is promoted.
  • the shape of the weir 7 is optimized according to the casting conditions, and at the same time, the molten steel surface height in the tundish is adjusted to the molten steel surface height according to the shape of the weir 7. In addition, it is necessary to inject the molten steel 13 into the tundish 1 at a flow rate corresponding to the shape of the weir 7.
  • the present inventors set the weir height of the weir 7, the upper opening area of the weir 7, the tip of the molten steel injection part side of the bowl-shaped part 9 to the tundish short side surface.
  • the distance, the distance from the molten steel injection part side tip of the bowl 9 to the tundish long side surface, the molten steel surface height in the tundish, and the injection flow rate of the molten steel 13 from the ladle to the tundish 1 The influence of the factors on the cleaning of the steel slab 14 was investigated. As a result, the following was found.
  • the shape and installation position of the weir 7 are determined according to the molten steel surface height in the tundish and the injection flow rate of the molten steel 13 from the ladle to the tundish 1, and then the weir 7 having that shape is determined in advance.
  • the molten steel 13 is poured into the tundish 1 while maintaining the molten steel surface height in the tundish in accordance with the casting conditions used for determining the shape of the weir 7 and the installation position. That is.
  • the molten steel surface height in the tundish is H (m)
  • the injection flow rate of molten steel 13 from the ladle to the tundish 1 is Q (ton / min)
  • the weir height of the weir 7 is h (m)
  • the weir 7 The area of the upper opening of S is m (m 2 )
  • the distance from the molten steel injection side end of the bowl 9 to the tundish short side surface is L (m)
  • the survey results will be described below, assuming that the distance to the long side of the dish is W (m) and the molten steel density is ⁇ (ton / m 3 ).
  • the molten steel surface height H in the tundish is the molten steel surface height in the range surrounded by the weir 7, as shown in FIG. 3, and the weir height h is shown in FIG.
  • the height from the bottom of the tundish 1 to the upper surface of the bowl-shaped part 9, and the upper opening area S of the weir 7 is surrounded by the bowl-shaped part 9 on all sides as shown in FIG. The area of the range.
  • the distance L from the molten steel injection portion side tip of the bowl-shaped portion 9 to the tundish short side surface and the distance W from the molten steel injection portion side tip of the bowl 9 to the tundish long side surface are shown in FIG. As shown in FIG. 1 and FIG.
  • the distance at the molten steel surface position in the tundish is the distance at the molten steel surface position in the tundish. Since the distance when inclusions flow below the surface of the molten steel is important, the distance L and the distance W are the distances at the molten steel surface position.
  • the molten steel surface height H in the tundish is 0.4 to 1.3 m
  • the injection flow rate Q of the molten steel 13 is 4 to 18 ton / min
  • the weir height h is 0.1 to 0.6 m
  • the upper opening area S of the weir 7 is 0.1 to 0.8 m 2
  • the distance L is 4 to 5 m
  • the distance W is 0.1 to 0.5 m.
  • the molten steel density ⁇ may be about 7.0 tons / m 3 .
  • the horizontal axis is the value (Z) calculated by the following equation (3)
  • the vertical axis is the defect number density due to inclusions in the steel sheet
  • the occurrence density of defects due to inclusions in the steel sheet The result of having investigated the influence of the value computed by the (3) formula to exert is shown.
  • the molten steel surface height H in the tundish, the injection flow rate Q of the molten steel 13, the weir height h, the upper opening area S, the distance L, and the distance W of the weir 7 are (1 It was found that the occurrence of defects due to inclusions in the steel sheet is reduced when the expression () is satisfied.
  • the value of the expression (3) is less than 3.50, the inclusion rise from the opening at the top of the weir is small, and accordingly, the inclusion floating up to the vicinity of the molten steel surface is in the direction of the long side of the tundish or This is not desirable because the floating effect when moving in the short side direction is also reduced.
  • the value of the expression (3) exceeds 9.50, the opening area of the weir 7 becomes too large, and the agglomeration effect of inclusions due to the dissipation of molten steel kinetic energy in the weir becomes small, and the inclusion floats. It is not desirable because of the worsening of sex.
  • the molten steel surface height H in the tundish, the injection flow rate Q of the molten steel 13, the weir height h, the upper opening area S, the distance L, and the distance W of the weir 7 satisfy the range of the above formula (1). There is a need to.
  • FIG. 10 shows the length of the tundish long side direction of the weir internal space rectangle surrounded by the wall portion 8 as L ′ (m), and the length of the weir internal space rectangle in the tundish short side direction as W ′ (m).
  • L ′ the length of the weir internal space rectangle in the tundish short side direction
  • W ′ the length of the weir internal space rectangle in the tundish short side direction
  • FIG. 1 The length (L ') in the tundish long side direction of the rectangular internal space is shown in FIG. 1, and the length (W') in the tundish short side direction of the rectangular internal space is shown in FIG.
  • the ratio (L ′ / W ′) of the length (L ′) in the tundish long side direction to the length (W ′) in the tundish short side direction of the rectangular internal space is 0.
  • the ratio (L ′ / W ′) is 0.3 to 4.0, dissipation of kinetic energy of the molten steel 13 injected into the weir increases, so that inclusion aggregation in the weir is promoted. The floating separation of inclusions is promoted.
  • FIG. 11 shows the results of investigating the influence of the maximum surface flow velocity in the tundish on the molten steel cleanliness.
  • the molten steel surface flow velocity is maximized in the vicinity of the long nozzle 3 (periphery position), so the molten steel maximum surface flow velocity is the outer circumference of the long nozzle 3. Measured in the vicinity.
  • the maximum surface flow velocity (Ve) of the molten steel in the tundish increases and decreases in proportion to the upward flow of molten steel from the weir 7.
  • the weir 7 is a weir on the premise that the molten steel 13 exists above. Therefore, the weir height h is at least less than the molten steel depth in the tundish at the position where the weir 7 is disposed. It is necessary to. Preferably, the weir height h is set to 1 ⁇ 2 or less of the molten steel surface height H of the molten steel in the tundish at the position where the weir 7 is disposed. On the other hand, if the weir height h is too low, the effect of the weir 7 cannot be obtained. Therefore, the weir height h is preferably secured to 100 mm or more.
  • the upper opening area S, the distance L, the weir 7 so as to satisfy the formula (1) under the condition that the weir height h is 100 mm or more and 1/2 or less of the molten steel surface height H of the molten steel in the tundish. It is preferable to set other factors such as the distance W.
  • the weir height h of the weir 7, the upper opening area S of the weir 7, and the tip of the molten steel injection portion side of the bowl-shaped portion 9 The shape and installation of the weir 7 so that the distance L to the tundish short side surface and the distance W from the tip of the molten steel injection portion side of the bowl-shaped portion 9 to the tundish long side surface satisfy the above formula (1). Determine the position. Then, the weir 7 having the shape is arranged at a predetermined position of the tundish 1.
  • the molten steel surface height H is adjusted so that the molten steel surface height H in the tundish and the injection flow rate Q of the molten steel 13 into the tundish 1 satisfy the relational expression (1).
  • the injection flow rate Q of the molten steel 13 By controlling the injection flow rate Q of the molten steel 13 to the tundish 1 and continuously casting, inclusions in the molten steel injected from the long nozzle 3 obtain an upward flow by the weir 7, It floats and separates on the molten steel surface in the dish. That is, the levitation and separation of the inclusions in the molten steel are promoted by the weir 7, and the clean steel slab 14 can be manufactured.
  • the shape and the installation position of the weir 7 having the bowl-shaped portion 9 are optimized based on the casting conditions, and the molten steel in the tundish is further changed according to the shape and the installation position of the weir 7. Since the surface height H and the injection flow rate Q of molten steel from the ladle to the tundish 1 are controlled within a predetermined range, the floating separation of inclusions in the tundish 1 is greatly promoted as compared with the conventional case. As a result, the cleanliness of the molten steel 13 injected into the mold 2 is enhanced, the cleanliness of the continuously cast steel slab 14 is improved, and it is realized that product defects due to inclusions are greatly reduced.
  • an inactive gas is blown into the molten steel from the gas blowing portion 10 during continuous casting, so that the flying separation rate from the molten steel 13 is inferior. Slow fine inclusions are captured by the inert gas bubbles and float on the molten steel surface in the tundish together with the inert gas bubbles.
  • a weir 7 having a shape satisfying the relationship of the formula (1) was installed, cast under casting conditions satisfying the relationship of the formula (1), and an inert gas was blown into the molten steel from the gas blowing portion 10. In some cases, it is possible to further reduce the inclusions in the molten steel.
  • FIG. 12 shows a method of blowing argon gas from all parts of the bowl-shaped part 9 surrounding the molten steel injection part 5, that is, argon gas blown from the upper part of the bowl-shaped part 9 when blowing argon gas by “four-way blowing”.
  • Results of investigating the relationship between the argon gas flow rate and the number density of inclusions in the slab slab after casting while changing the flow rate in the range of 10 to 330 NL / (s ⁇ m 2 ) per unit area of the gas blowing part 10 FIG.
  • the area of the gas blowing part 10 is the total area of the gas blowing part 10 in a plan view as shown in FIG. 5, and in FIG. 5, FIG. 7, and FIG. It is.
  • a tundish 1 having a molten steel capacity of 80 tons was used, and the tundish 1 had a length in the direction of the long side of the tundish 1 of 1200 mm (this side is called “weir long side”), A weir 7 having a length of 600 mm (this side is referred to as “weir short side”) and a weir height of 230 mm was installed in the dish 1.
  • the weir 7 has one notch 12 having a width of 10 mm on the long side surface side of the tundish 1.
  • gas blowing portions 10 having a length of 0.3 m and a width of 0.01 m are installed at two locations with the notch 12 interposed between the upper portions of the ridges 9 on the long sides of the respective weirs, and A gas blowing portion 10 having a length of 0.3 m and a width of 0.01 m was installed at one location on the upper side of the bowl-shaped portion 9 on the short side of the dam.
  • FIG. 12 a test in which argon gas was blown from the bottom of the tundish outside the weir 7 using a tundish having the same shape of the weir 7 was carried out. The result of investigating the influence on the number density is also shown.
  • the inert gas flow rate (R) When the inert gas flow rate (R) is less than 20 NL / (s ⁇ m 2 ), the gas flow rate is too small, and the inclusion trapping effect by the gas bubbles becomes small. On the other hand, when the inert gas flow rate (R) exceeds 300 NL / (s ⁇ m 2 ), the upward flow of the molten steel 13 becomes too strong, thereby increasing the surface velocity of the molten steel in the tundish, and the molten steel in the tundish. The tundish slag existing above is entangled and scraped, and the cleanliness of the molten steel deteriorates.
  • the method of blowing from the top of the bowl-shaped portion 9 has a higher effect of reducing inclusions than the method of blowing from the bottom of the tundish 1. This is based on the fact that by blowing from the upper part of the bowl-shaped portion 9, the spread of the gas bubble distribution can be suppressed, and at the same time, the inclusions trapped in the gas bubbles can be suppressed and the inclusions can be trapped efficiently.
  • blowing method from the bowl-shaped portion 9 is changed to the above-mentioned three types of “four-way blowing”, “long-side surface orthogonal blowing”, and “long-side surface parallel blowing”, and casting by these three types of blowing methods is performed.
  • the influence on the single inclusion number density was investigated. The survey results are shown in FIG.
  • the tundish 1 having a total area of the gas blowing portion 10 of 0.018 m 2 was used.
  • This tundish 1 is the same as the tundish 1 used when examining the data shown in FIG.
  • the tundish 1 used in the “four-way blowing” is used, but the gas blowing from the gas blowing portion 10 installed on the upper portion of the bowl-shaped portion 9 on the long side of the weir is not performed.
  • Argon gas blowing was performed only from the gas blowing part 10 installed on the upper part of the bowl-shaped part 9 on the short side of the weir.
  • the tundish 1 used in the “four-way blow” is used, but the gas blow is performed from the gas blow unit 10 installed on the upper portion of the bowl-shaped portion 9 on the short side of the weir.
  • argon gas blowing was performed only from the gas blowing part 10 installed on the upper part of the bowl-shaped part 9 on the long side of the weir.
  • the inert gas is blown from the upper part of the bowl-shaped part 9, it becomes possible to promote the floating of fine inclusions that are difficult to be separated from the molten steel 13, and the tundish 1 as compared with the conventional one.
  • the floating separation of inclusions is promoted.
  • the opening width of the notch 12 is less than 0.5 mm, the flow rate of the molten steel passing through the notch 12 is too small, and the molten steel 13 may remain in the space surrounded by the weir 7. It is preferable to secure an opening width of 0.5 mm or more.
  • pouring part 5 is not a "point” but has a certain amount of area, and at the same time encloses such a molten steel injection
  • the length of the upper opening of the weir 7 in the tundish long side direction is at least equivalent to the inner diameter of the lower end of the long nozzle 3 and preferably more than that.
  • the center position of the molten steel injection portion having an area is indicated as the molten steel injection portion 5.
  • the molten steel surface height H in the tundish, the molten steel injection flow rate Q from the ladle to the tundish, the weir height h, the upper opening area S of the weir, the molten steel injection part side tip of the bowl-shaped part The distance L from the tundish short side surface to the tundish short side surface and the distance W from the molten steel injection part side tip of the bowl-shaped portion to the tundish long side surface were cast to satisfy the scope of the present invention (the present invention Examples 1 to 14) and tests not satisfying the scope of the present invention (Comparative Examples 1 to 3) were conducted.
  • the ratio (L ′ / W ′) of the length (L ′) in the tundish long side direction and the length (W ′) in the tundish short side direction of the rectangular weir internal space is set to 0. It was varied in the range of 25 to 4.5.
  • the opening widths of the two notches are each 20 mm
  • the arc connecting the wall part and the hook-shaped part The radius was set to 0.06 m.
  • the maximum surface flow velocity (Ve) of the molten steel in the tundish was in the range of 0.08 to 0.52 m / s.
  • Table 1 shows the molten steel surface height in the tundish, the flow rate of molten steel injected from the ladle to the tundish, and the shape of the tundish weir used. Moreover, the value of the formula (3) determined from the molten steel surface height in the tundish, the molten steel injection flow rate and the weir shape is also shown. Furthermore, in Table 1, the maximum of the molten steel in the tundish obtained from the ratio (L ′ / W ′) and the refractory rod is immersed in the molten steel in the tundish and the inclination angle by the molten steel flow of this rod is obtained. The value of the surface flow velocity (Ve) is shown.
  • the number of inclusions in the slab was examined by ultrasonic flaw detection.
  • FIG. 14 the investigation result of the number of inclusions of a slab is shown.
  • the tundish used has a molten steel capacity of 80 tons, and this tundish has a bowl-shaped portion with a weir long side length of 1200 mm, a weir short side length of 600 mm, and a weir height of 230 mm. A weir with it was installed. A gas blowing portion having a length of 0.3 m and a width of 0.01 m was installed in two places with a notch interposed between the upper portions of the ridges on the long sides of each weir. In addition, a gas blowing portion having a length of 0.3 m and a width of 0.01 m was installed on the upper portion of the bowl-shaped portion on each dam short side.
  • notches each having a width of 10 mm were installed on the long side surface side of the tundish.
  • Porous brick was used for the gas blowing part of the bowl-shaped part, and the gas blowing part was formed by embedding the porous brick in the bowl-like part.
  • FIG. 15 shows the results of investigation of the number of inclusions in the slab.

Landscapes

  • Engineering & Computer Science (AREA)
  • Mechanical Engineering (AREA)
  • Continuous Casting (AREA)
  • Casting Support Devices, Ladles, And Melt Control Thereby (AREA)
  • Treatment Of Steel In Its Molten State (AREA)
  • Metal Rolling (AREA)
PCT/JP2013/003632 2012-06-18 2013-06-10 高清浄度鋼鋳片の製造方法及びタンディッシュ Ceased WO2013190799A1 (ja)

Priority Applications (6)

Application Number Priority Date Filing Date Title
EP13806075.1A EP2837441A4 (en) 2012-06-18 2013-06-10 METHOD FOR THE PRODUCTION OF HIGH-PURITY STEEL CASTING AND CASTING TUBE
JP2014520920A JP5807719B2 (ja) 2012-06-18 2013-06-10 高清浄度鋼鋳片の製造方法及びタンディッシュ
BR112014030786-5A BR112014030786B1 (pt) 2012-06-18 2013-06-10 Método para produção de aço fundido de alta pureza
KR1020147032641A KR101684382B1 (ko) 2012-06-18 2013-06-10 고청정도 강 주편의 제조 방법 및 턴디시
IN9141DEN2014 IN2014DN09141A (enExample) 2012-06-18 2013-06-10
CN201380030077.7A CN104364032B (zh) 2012-06-18 2013-06-10 高洁净度钢铸片的制造方法以及中间包

Applications Claiming Priority (4)

Application Number Priority Date Filing Date Title
JP2012-136779 2012-06-18
JP2012136779 2012-06-18
JP2012261788 2012-11-30
JP2012-261788 2012-11-30

Publications (1)

Publication Number Publication Date
WO2013190799A1 true WO2013190799A1 (ja) 2013-12-27

Family

ID=49768414

Family Applications (1)

Application Number Title Priority Date Filing Date
PCT/JP2013/003632 Ceased WO2013190799A1 (ja) 2012-06-18 2013-06-10 高清浄度鋼鋳片の製造方法及びタンディッシュ

Country Status (7)

Country Link
EP (1) EP2837441A4 (enExample)
JP (1) JP5807719B2 (enExample)
KR (1) KR101684382B1 (enExample)
CN (1) CN104364032B (enExample)
BR (1) BR112014030786B1 (enExample)
IN (1) IN2014DN09141A (enExample)
WO (1) WO2013190799A1 (enExample)

Cited By (8)

* Cited by examiner, † Cited by third party
Publication number Priority date Publication date Assignee Title
JP6493635B1 (ja) * 2017-08-30 2019-04-03 Jfeスチール株式会社 鋼の連続鋳造方法および薄鋼板の製造方法
JP6784349B1 (ja) * 2019-07-01 2020-11-11 Jfeスチール株式会社 高清浄鋼の製造方法
WO2021002130A1 (ja) * 2019-07-01 2021-01-07 Jfeスチール株式会社 高清浄鋼の製造方法
CN112191835A (zh) * 2020-10-12 2021-01-08 武汉科技大学 “都江堰”式多级底漩型稳流器
US11400513B2 (en) 2018-06-07 2022-08-02 Nippon Steel Corporation Continuous casting facility and continuous casting method used for thin slab casting for steel
WO2024053290A1 (ja) * 2022-09-09 2024-03-14 Jfeスチール株式会社 連続鋳造用のタンディッシュ、鋼の連続鋳造方法及び、堰
WO2024053291A1 (ja) * 2022-09-09 2024-03-14 Jfeスチール株式会社 連続鋳造用のタンディッシュ、鋼の連続鋳造方法及び、ガス供給装置
JP2024529021A (ja) * 2021-08-06 2024-08-01 エス・エム・エス・グループ・ゲゼルシャフト・ミト・ベシュレンクテル・ハフツング タンディッシュユニットのための交換システム、交換システムのためのタンディッシュユニット、霧化設備、並びに、金属溶融物の霧化のための方法

Families Citing this family (4)

* Cited by examiner, † Cited by third party
Publication number Priority date Publication date Assignee Title
KR101969111B1 (ko) * 2017-08-08 2019-04-15 주식회사 포스코 주조 설비 및 주조 방법
WO2020045544A1 (ja) * 2018-08-31 2020-03-05 Jfeスチール株式会社 鋼の連続鋳造開始方法
US11338357B2 (en) * 2019-08-19 2022-05-24 Harbisonwalker International, Inc. Diffusion article
KR20240167900A (ko) * 2022-04-26 2024-11-28 제이에프이 스틸 가부시키가이샤 턴디쉬 및 그것을 이용한 연속 주조 방법

Citations (10)

* Cited by examiner, † Cited by third party
Publication number Priority date Publication date Assignee Title
JPS536231A (en) 1976-07-07 1978-01-20 Nippon Kokan Kk Method of making clean steel
JPH09505242A (ja) 1993-11-16 1997-05-27 シーシーピーアイ インコーポレイテッド 乱流を抑制するタンディッシュおよび衝突パッド
JPH10216909A (ja) 1997-01-31 1998-08-18 Nippon Yakin Kogyo Co Ltd 鋼の連続鋳造用タンディッシュ
WO2000050190A1 (en) * 1999-02-22 2000-08-31 Foseco International Limited Tundish impact pad
JP2004001077A (ja) 2002-04-12 2004-01-08 Jfe Steel Kk タンディッシュ内溶融金属の流動制御パッド
JP2004098066A (ja) 2002-09-04 2004-04-02 Jfe Steel Kk タンディッシュ内溶融金属の流動制御堰
JP2004154803A (ja) 2002-11-05 2004-06-03 Jfe Steel Kk 連続鋳造による高清浄度鋼鋳片の製造方法
JP2005000957A (ja) 2003-06-12 2005-01-06 Kurosaki Harima Corp タンディッシュ内における介在物除去方法およびそれに使用する堰
JP2012020315A (ja) * 2010-07-15 2012-02-02 Jfe Steel Corp 連続鋳造による高清浄度鋼鋳片の製造方法
JP2012045583A (ja) * 2010-08-27 2012-03-08 Jfe Steel Corp 連続鋳造による高清浄度鋼鋳片の製造方法

Patent Citations (10)

* Cited by examiner, † Cited by third party
Publication number Priority date Publication date Assignee Title
JPS536231A (en) 1976-07-07 1978-01-20 Nippon Kokan Kk Method of making clean steel
JPH09505242A (ja) 1993-11-16 1997-05-27 シーシーピーアイ インコーポレイテッド 乱流を抑制するタンディッシュおよび衝突パッド
JPH10216909A (ja) 1997-01-31 1998-08-18 Nippon Yakin Kogyo Co Ltd 鋼の連続鋳造用タンディッシュ
WO2000050190A1 (en) * 1999-02-22 2000-08-31 Foseco International Limited Tundish impact pad
JP2004001077A (ja) 2002-04-12 2004-01-08 Jfe Steel Kk タンディッシュ内溶融金属の流動制御パッド
JP2004098066A (ja) 2002-09-04 2004-04-02 Jfe Steel Kk タンディッシュ内溶融金属の流動制御堰
JP2004154803A (ja) 2002-11-05 2004-06-03 Jfe Steel Kk 連続鋳造による高清浄度鋼鋳片の製造方法
JP2005000957A (ja) 2003-06-12 2005-01-06 Kurosaki Harima Corp タンディッシュ内における介在物除去方法およびそれに使用する堰
JP2012020315A (ja) * 2010-07-15 2012-02-02 Jfe Steel Corp 連続鋳造による高清浄度鋼鋳片の製造方法
JP2012045583A (ja) * 2010-08-27 2012-03-08 Jfe Steel Corp 連続鋳造による高清浄度鋼鋳片の製造方法

Non-Patent Citations (1)

* Cited by examiner, † Cited by third party
Title
See also references of EP2837441A4

Cited By (10)

* Cited by examiner, † Cited by third party
Publication number Priority date Publication date Assignee Title
JP6493635B1 (ja) * 2017-08-30 2019-04-03 Jfeスチール株式会社 鋼の連続鋳造方法および薄鋼板の製造方法
US11400513B2 (en) 2018-06-07 2022-08-02 Nippon Steel Corporation Continuous casting facility and continuous casting method used for thin slab casting for steel
JP6784349B1 (ja) * 2019-07-01 2020-11-11 Jfeスチール株式会社 高清浄鋼の製造方法
WO2021002130A1 (ja) * 2019-07-01 2021-01-07 Jfeスチール株式会社 高清浄鋼の製造方法
CN112191835A (zh) * 2020-10-12 2021-01-08 武汉科技大学 “都江堰”式多级底漩型稳流器
CN112191835B (zh) * 2020-10-12 2024-04-19 武汉科技大学 “都江堰”式多级底漩型稳流器
JP2024529021A (ja) * 2021-08-06 2024-08-01 エス・エム・エス・グループ・ゲゼルシャフト・ミト・ベシュレンクテル・ハフツング タンディッシュユニットのための交換システム、交換システムのためのタンディッシュユニット、霧化設備、並びに、金属溶融物の霧化のための方法
JP7748536B2 (ja) 2021-08-06 2025-10-02 エス・エム・エス・グループ・ゲゼルシャフト・ミト・ベシュレンクテル・ハフツング タンディッシュユニットのための交換システム、交換システムのためのタンディッシュユニット、霧化設備、並びに、金属溶融物の霧化のための方法
WO2024053290A1 (ja) * 2022-09-09 2024-03-14 Jfeスチール株式会社 連続鋳造用のタンディッシュ、鋼の連続鋳造方法及び、堰
WO2024053291A1 (ja) * 2022-09-09 2024-03-14 Jfeスチール株式会社 連続鋳造用のタンディッシュ、鋼の連続鋳造方法及び、ガス供給装置

Also Published As

Publication number Publication date
BR112014030786A2 (pt) 2017-06-27
CN104364032B (zh) 2017-02-22
JPWO2013190799A1 (ja) 2016-02-08
IN2014DN09141A (enExample) 2015-05-22
EP2837441A4 (en) 2015-07-01
CN104364032A (zh) 2015-02-18
KR20150006859A (ko) 2015-01-19
BR112014030786B1 (pt) 2022-09-20
KR101684382B1 (ko) 2016-12-08
JP5807719B2 (ja) 2015-11-10
EP2837441A1 (en) 2015-02-18

Similar Documents

Publication Publication Date Title
JP5807719B2 (ja) 高清浄度鋼鋳片の製造方法及びタンディッシュ
JP2011143449A (ja) 連続鋳造用タンディッシュにおける介在物除去方法
JP5516235B2 (ja) 連続鋳造による高清浄度鋼鋳片の製造方法
JP5751078B2 (ja) 連続鋳造による高清浄度鋼鋳片の製造方法
JP5556465B2 (ja) 連続鋳造による高清浄度鋼鋳片の製造方法
CN107774971A (zh) 一种借助电磁装置控制金属液流动的连铸中间包
JP5831124B2 (ja) 連続鋳造による高清浄度鋼鋳片の製造方法
JP5831163B2 (ja) 高清浄度鋼の製造方法
JP5556421B2 (ja) 連続鋳造による高清浄度鋼鋳片の製造方法
JP7332885B2 (ja) 溶融金属の連続鋳造方法及び連続鋳造装置
JP4585504B2 (ja) 溶融金属の連続鋳造方法
JPWO2007049824A1 (ja) 極低炭素鋳片の製造方法
JP2020171955A (ja) 鋼の連続鋳造方法
JP5831138B2 (ja) 連続鋳造による高清浄度鋼鋳片の製造方法
JP4725244B2 (ja) 連続鋳造用取鍋及び鋳片の製造方法
JP5125663B2 (ja) スラブ鋳片の連続鋳造方法
JP2011194420A (ja) 高清浄度鋼の製造方法
JP4998705B2 (ja) 鋼の連続鋳造方法
JP2007090424A (ja) 連続鋳造用タンディッシュ
JP4319072B2 (ja) 介在物浮上性に優れるタンディシュ
JP2011212716A (ja) 鋼鋳片の連続鋳造方法
JP5791234B2 (ja) 鋼鋳片の連続鋳造方法
JP5510061B2 (ja) 連続鋳造方法
JP2010269327A (ja) 連続鋳造用タンディッシュ及び連続鋳造方法
JP2006239746A (ja) 鋼の連続鋳造用タンディッシュ

Legal Events

Date Code Title Description
121 Ep: the epo has been informed by wipo that ep was designated in this application

Ref document number: 13806075

Country of ref document: EP

Kind code of ref document: A1

ENP Entry into the national phase

Ref document number: 2014520920

Country of ref document: JP

Kind code of ref document: A

WWE Wipo information: entry into national phase

Ref document number: 2013806075

Country of ref document: EP

ENP Entry into the national phase

Ref document number: 20147032641

Country of ref document: KR

Kind code of ref document: A

NENP Non-entry into the national phase

Ref country code: DE

REG Reference to national code

Ref country code: BR

Ref legal event code: B01A

Ref document number: 112014030786

Country of ref document: BR

ENP Entry into the national phase

Ref document number: 112014030786

Country of ref document: BR

Kind code of ref document: A2

Effective date: 20141209