WO2013137168A1 - 自動車用ホイールディスクとその製造方法 - Google Patents

自動車用ホイールディスクとその製造方法 Download PDF

Info

Publication number
WO2013137168A1
WO2013137168A1 PCT/JP2013/056588 JP2013056588W WO2013137168A1 WO 2013137168 A1 WO2013137168 A1 WO 2013137168A1 JP 2013056588 W JP2013056588 W JP 2013056588W WO 2013137168 A1 WO2013137168 A1 WO 2013137168A1
Authority
WO
WIPO (PCT)
Prior art keywords
disk
disc
hat
wheel
plate thickness
Prior art date
Legal status (The legal status is an assumption and is not a legal conclusion. Google has not performed a legal analysis and makes no representation as to the accuracy of the status listed.)
Ceased
Application number
PCT/JP2013/056588
Other languages
English (en)
French (fr)
Japanese (ja)
Inventor
阿部 喜四郎
亮 西林
貴光 高野
和孝 佐野
勇太 磯村
Current Assignee (The listed assignees may be inaccurate. Google has not performed a legal analysis and makes no representation or warranty as to the accuracy of the list.)
Topy Industries Ltd
Original Assignee
Topy Industries Ltd
Priority date (The priority date is an assumption and is not a legal conclusion. Google has not performed a legal analysis and makes no representation as to the accuracy of the date listed.)
Filing date
Publication date
Application filed by Topy Industries Ltd filed Critical Topy Industries Ltd
Priority to MX2014011046A priority Critical patent/MX350948B/es
Priority to US14/378,225 priority patent/US9511623B2/en
Priority to JP2014504849A priority patent/JP6357096B2/ja
Priority to CN201380013667.9A priority patent/CN104245352B/zh
Priority to DE112013001275.8T priority patent/DE112013001275B4/de
Priority to IN6821DEN2014 priority patent/IN2014DN06821A/en
Publication of WO2013137168A1 publication Critical patent/WO2013137168A1/ja
Anticipated expiration legal-status Critical
Ceased legal-status Critical Current

Links

Images

Classifications

    • BPERFORMING OPERATIONS; TRANSPORTING
    • B60VEHICLES IN GENERAL
    • B60BVEHICLE WHEELS; CASTORS; AXLES FOR WHEELS OR CASTORS; INCREASING WHEEL ADHESION
    • B60B3/00Disc wheels, i.e. wheels with load-supporting disc body
    • B60B3/002Disc wheels, i.e. wheels with load-supporting disc body characterised by the shape of the disc
    • B60B3/004Disc wheels, i.e. wheels with load-supporting disc body characterised by the shape of the disc in the hub section
    • BPERFORMING OPERATIONS; TRANSPORTING
    • B21MECHANICAL METAL-WORKING WITHOUT ESSENTIALLY REMOVING MATERIAL; PUNCHING METAL
    • B21DWORKING OR PROCESSING OF SHEET METAL OR METAL TUBES, RODS OR PROFILES WITHOUT ESSENTIALLY REMOVING MATERIAL; PUNCHING METAL
    • B21D19/00Flanging or other edge treatment, e.g. of tubes
    • B21D19/08Flanging or other edge treatment, e.g. of tubes by single or successive action of pressing tools, e.g. vice jaws
    • BPERFORMING OPERATIONS; TRANSPORTING
    • B21MECHANICAL METAL-WORKING WITHOUT ESSENTIALLY REMOVING MATERIAL; PUNCHING METAL
    • B21DWORKING OR PROCESSING OF SHEET METAL OR METAL TUBES, RODS OR PROFILES WITHOUT ESSENTIALLY REMOVING MATERIAL; PUNCHING METAL
    • B21D22/00Shaping without cutting, by stamping, spinning, or deep-drawing
    • B21D22/02Stamping using rigid devices or tools
    • BPERFORMING OPERATIONS; TRANSPORTING
    • B21MECHANICAL METAL-WORKING WITHOUT ESSENTIALLY REMOVING MATERIAL; PUNCHING METAL
    • B21DWORKING OR PROCESSING OF SHEET METAL OR METAL TUBES, RODS OR PROFILES WITHOUT ESSENTIALLY REMOVING MATERIAL; PUNCHING METAL
    • B21D35/00Combined processes according to or processes combined with methods covered by groups B21D1/00 - B21D31/00
    • B21D35/002Processes combined with methods covered by groups B21D1/00 - B21D31/00
    • B21D35/005Processes combined with methods covered by groups B21D1/00 - B21D31/00 characterized by the material of the blank or the workpiece
    • B21D35/006Blanks having varying thickness, e.g. tailored blanks
    • BPERFORMING OPERATIONS; TRANSPORTING
    • B21MECHANICAL METAL-WORKING WITHOUT ESSENTIALLY REMOVING MATERIAL; PUNCHING METAL
    • B21DWORKING OR PROCESSING OF SHEET METAL OR METAL TUBES, RODS OR PROFILES WITHOUT ESSENTIALLY REMOVING MATERIAL; PUNCHING METAL
    • B21D53/00Making other particular articles
    • B21D53/26Making other particular articles wheels or the like
    • BPERFORMING OPERATIONS; TRANSPORTING
    • B21MECHANICAL METAL-WORKING WITHOUT ESSENTIALLY REMOVING MATERIAL; PUNCHING METAL
    • B21DWORKING OR PROCESSING OF SHEET METAL OR METAL TUBES, RODS OR PROFILES WITHOUT ESSENTIALLY REMOVING MATERIAL; PUNCHING METAL
    • B21D53/00Making other particular articles
    • B21D53/26Making other particular articles wheels or the like
    • B21D53/30Making other particular articles wheels or the like wheel rims
    • BPERFORMING OPERATIONS; TRANSPORTING
    • B60VEHICLES IN GENERAL
    • B60BVEHICLE WHEELS; CASTORS; AXLES FOR WHEELS OR CASTORS; INCREASING WHEEL ADHESION
    • B60B3/00Disc wheels, i.e. wheels with load-supporting disc body
    • B60B3/002Disc wheels, i.e. wheels with load-supporting disc body characterised by the shape of the disc
    • B60B3/005Disc wheels, i.e. wheels with load-supporting disc body characterised by the shape of the disc in the section adjacent to rim
    • BPERFORMING OPERATIONS; TRANSPORTING
    • B60VEHICLES IN GENERAL
    • B60BVEHICLE WHEELS; CASTORS; AXLES FOR WHEELS OR CASTORS; INCREASING WHEEL ADHESION
    • B60B3/00Disc wheels, i.e. wheels with load-supporting disc body
    • B60B3/02Disc wheels, i.e. wheels with load-supporting disc body with a single disc body integral with rim
    • BPERFORMING OPERATIONS; TRANSPORTING
    • B60VEHICLES IN GENERAL
    • B60BVEHICLE WHEELS; CASTORS; AXLES FOR WHEELS OR CASTORS; INCREASING WHEEL ADHESION
    • B60B3/00Disc wheels, i.e. wheels with load-supporting disc body
    • B60B3/04Disc wheels, i.e. wheels with load-supporting disc body with a single disc body not integral with rim, i.e. disc body and rim being manufactured independently and then permanently attached to each other in a second step, e.g. by welding
    • BPERFORMING OPERATIONS; TRANSPORTING
    • B60VEHICLES IN GENERAL
    • B60BVEHICLE WHEELS; CASTORS; AXLES FOR WHEELS OR CASTORS; INCREASING WHEEL ADHESION
    • B60B3/00Disc wheels, i.e. wheels with load-supporting disc body
    • B60B3/04Disc wheels, i.e. wheels with load-supporting disc body with a single disc body not integral with rim, i.e. disc body and rim being manufactured independently and then permanently attached to each other in a second step, e.g. by welding
    • B60B3/041Disc wheels, i.e. wheels with load-supporting disc body with a single disc body not integral with rim, i.e. disc body and rim being manufactured independently and then permanently attached to each other in a second step, e.g. by welding characterised by the attachment of rim to wheel disc
    • B60B3/044Disc wheels, i.e. wheels with load-supporting disc body with a single disc body not integral with rim, i.e. disc body and rim being manufactured independently and then permanently attached to each other in a second step, e.g. by welding characterised by the attachment of rim to wheel disc characterised by cross-sectional details of the attachment, e.g. the profile
    • BPERFORMING OPERATIONS; TRANSPORTING
    • B60VEHICLES IN GENERAL
    • B60BVEHICLE WHEELS; CASTORS; AXLES FOR WHEELS OR CASTORS; INCREASING WHEEL ADHESION
    • B60B3/00Disc wheels, i.e. wheels with load-supporting disc body
    • B60B3/04Disc wheels, i.e. wheels with load-supporting disc body with a single disc body not integral with rim, i.e. disc body and rim being manufactured independently and then permanently attached to each other in a second step, e.g. by welding
    • B60B3/041Disc wheels, i.e. wheels with load-supporting disc body with a single disc body not integral with rim, i.e. disc body and rim being manufactured independently and then permanently attached to each other in a second step, e.g. by welding characterised by the attachment of rim to wheel disc
    • B60B3/045Disc wheels, i.e. wheels with load-supporting disc body with a single disc body not integral with rim, i.e. disc body and rim being manufactured independently and then permanently attached to each other in a second step, e.g. by welding characterised by the attachment of rim to wheel disc characterised by the attachment portions
    • BPERFORMING OPERATIONS; TRANSPORTING
    • B60VEHICLES IN GENERAL
    • B60BVEHICLE WHEELS; CASTORS; AXLES FOR WHEELS OR CASTORS; INCREASING WHEEL ADHESION
    • B60B2310/00Manufacturing methods
    • BPERFORMING OPERATIONS; TRANSPORTING
    • B60VEHICLES IN GENERAL
    • B60BVEHICLE WHEELS; CASTORS; AXLES FOR WHEELS OR CASTORS; INCREASING WHEEL ADHESION
    • B60B2310/00Manufacturing methods
    • B60B2310/20Shaping
    • B60B2310/212Shaping by drawing
    • BPERFORMING OPERATIONS; TRANSPORTING
    • B60VEHICLES IN GENERAL
    • B60BVEHICLE WHEELS; CASTORS; AXLES FOR WHEELS OR CASTORS; INCREASING WHEEL ADHESION
    • B60B2900/00Purpose of invention
    • B60B2900/10Reduction of
    • B60B2900/111Weight
    • BPERFORMING OPERATIONS; TRANSPORTING
    • B60VEHICLES IN GENERAL
    • B60BVEHICLE WHEELS; CASTORS; AXLES FOR WHEELS OR CASTORS; INCREASING WHEEL ADHESION
    • B60B2900/00Purpose of invention
    • B60B2900/20Avoidance of
    • B60B2900/212Damage
    • BPERFORMING OPERATIONS; TRANSPORTING
    • B60VEHICLES IN GENERAL
    • B60BVEHICLE WHEELS; CASTORS; AXLES FOR WHEELS OR CASTORS; INCREASING WHEEL ADHESION
    • B60B2900/00Purpose of invention
    • B60B2900/30Increase in
    • B60B2900/311Rigidity or stiffness
    • BPERFORMING OPERATIONS; TRANSPORTING
    • B60VEHICLES IN GENERAL
    • B60YINDEXING SCHEME RELATING TO ASPECTS CROSS-CUTTING VEHICLE TECHNOLOGY
    • B60Y2200/00Type of vehicle
    • B60Y2200/10Road Vehicles
    • BPERFORMING OPERATIONS; TRANSPORTING
    • B60VEHICLES IN GENERAL
    • B60YINDEXING SCHEME RELATING TO ASPECTS CROSS-CUTTING VEHICLE TECHNOLOGY
    • B60Y2200/00Type of vehicle
    • B60Y2200/10Road Vehicles
    • B60Y2200/14Trucks; Load vehicles, Busses
    • YGENERAL TAGGING OF NEW TECHNOLOGICAL DEVELOPMENTS; GENERAL TAGGING OF CROSS-SECTIONAL TECHNOLOGIES SPANNING OVER SEVERAL SECTIONS OF THE IPC; TECHNICAL SUBJECTS COVERED BY FORMER USPC CROSS-REFERENCE ART COLLECTIONS [XRACs] AND DIGESTS
    • Y02TECHNOLOGIES OR APPLICATIONS FOR MITIGATION OR ADAPTATION AGAINST CLIMATE CHANGE
    • Y02TCLIMATE CHANGE MITIGATION TECHNOLOGIES RELATED TO TRANSPORTATION
    • Y02T10/00Road transport of goods or passengers
    • Y02T10/80Technologies aiming to reduce greenhouse gasses emissions common to all road transportation technologies
    • Y02T10/86Optimisation of rolling resistance, e.g. weight reduction 
    • YGENERAL TAGGING OF NEW TECHNOLOGICAL DEVELOPMENTS; GENERAL TAGGING OF CROSS-SECTIONAL TECHNOLOGIES SPANNING OVER SEVERAL SECTIONS OF THE IPC; TECHNICAL SUBJECTS COVERED BY FORMER USPC CROSS-REFERENCE ART COLLECTIONS [XRACs] AND DIGESTS
    • Y10TECHNICAL SUBJECTS COVERED BY FORMER USPC
    • Y10TTECHNICAL SUBJECTS COVERED BY FORMER US CLASSIFICATION
    • Y10T29/00Metal working
    • Y10T29/49Method of mechanical manufacture
    • Y10T29/49481Wheel making
    • Y10T29/49492Land wheel
    • Y10T29/49496Disc type wheel
    • Y10T29/49504Disc shaping

Definitions

  • the present invention relates to a single attachment type automotive wheel disk having a hat portion and used in a passenger car and the like, and a manufacturing method thereof, and relates to an automotive wheel disk manufactured from a flat disk material and a manufacturing method thereof.
  • Patent Documents 1 and 2 disclose a method for manufacturing a wheel disk for automobiles of a single attachment type (a type having a hat portion and used in a passenger car) manufactured from a flat disk material. Patent documents 1 and 2 have disclosed the manufacturing method of the wheel disc for cars which irons a disk flange part and reduces board thickness.
  • An object of the present invention is to provide a single mounting type wheel disk for automobiles and a method for manufacturing the same, which can reduce the weight of the disk as compared with the conventional art.
  • the present invention for achieving the above object is as follows. (1) Manufactured from flat disk material, A hub attachment portion, a disc flange portion, and a hat portion connecting the hub attachment portion and the disc flange portion; A hat top portion protruding outward in the disk axial direction; a hat inner peripheral portion connecting the hat top portion and the hub mounting portion; and a hat outer peripheral portion connecting the hat top portion and the disc flange portion.
  • Have An automotive wheel disc In the outer periphery of the hat, a first plate thickness reduction portion having a plate thickness smaller than the plate thickness of the disk material is provided, Wheel disc for automobile.
  • the disk flange portion includes a disk flange portion thick portion at least at a part in the disk circumferential direction at an inner end portion in the disk axial direction of the disk flange portion.
  • Automotive wheel disc. (4) A decorative hole is formed on the outer periphery of the hat,
  • the first plate thickness reduction portion is provided in any one of (1) to (3), which is provided at a portion of the outer periphery of the hat that is spaced at least on the outer side in the disk radial direction from the decoration hole. Wheel disc for automobile.
  • Examples 1 to 4 A method for manufacturing a wheel disk for automobiles, wherein a wheel disk for automobiles is manufactured from a disk material,
  • the wheel disc includes a hat top portion, a hat outer peripheral portion, and a hat inner peripheral portion, a disc flange portion, and a first disc portion located outside the disc radial direction from the hat top portion and inside the disc radial direction from the disc flange portion ( D1), a second disk part (D2) at the boundary between the outer periphery of the hat and the disk flange part, a third disk part (D3) at the inner end in the disk axial direction of the disk flange part, A fourth disk portion (D4) located on the inner side in the disk axial direction from the disk portion (D2) and on the outer side in the disk axial direction from the third disk
  • a second step of changing one diameter A method for manufacturing a wheel disk for automobiles having (7) [Examples 1 to 3] In the second step, the diameter of both the disk material portion between M2 and M3 and the disk material portion between M1 and M2 is increased, and the method for manufacturing a wheel disk for an automobile according to (6).
  • Examples 1 to 4 In the first step, at least a disk material portion between M3 and M4 is formed into a thick portion having a plate thickness larger than that of the adjacent disk material portion or the first plate thickness reduction portion (8) Of manufacturing wheel discs for automobiles. (10) [Examples 1 to 4] The method according to any one of (6) to (9), further comprising a third step of shaping the disc material portion between M2 and M3 into a final disc flange shape after the second step. Of manufacturing wheel discs for automobiles. (11) [Examples 1 to 4] In the third step, at least a part of the disk material portion from M2 to M4 or M2 to M3 is ironed, and the method for manufacturing a wheel disk for an automobile according to (10).
  • the wheel disc has a hub attachment
  • the disc material includes a hub mounting portion corresponding portion, a hat top corresponding portion, a hat outer peripheral corresponding portion, and a hat inner corresponding portion including a hat inner peripheral corresponding portion, (6) to (11), including a step of preforming the hub attachment portion corresponding portion, the hat inner peripheral portion corresponding portion, and the hat top portion corresponding portion of the disk material before the first step.
  • the first plate thickness reduction portion having a plate thickness smaller than the plate thickness of the disc material is provided on the outer periphery of the hat, the weight of the vehicle wheel disc is reduced. Can be effectively and reliably achieved.
  • the disc flange portion is provided with the second plate thickness reduction portion having a plate thickness smaller than the plate thickness of the disc material.
  • a plate thickness reducing portion is also provided in the flange portion. Therefore, it is possible to reduce the weight of the wheel disc for an automobile as compared with the case where the plate thickness reducing portion is provided only in the disc flange portion.
  • the disc flange portion includes the disc flange portion thick portion, the rigidity of the vehicle wheel disc can be improved, and the assembly accuracy with the vehicle wheel rim is also improved. improves.
  • the first plate thickness reducing portion is provided at least at the outer peripheral portion of the hat that is separated from the decorative hole on the outer side in the disc radial direction. It is possible to increase the weight reduction rate while securing the strength.
  • the second plate thickness reducing portion is provided in the entire area of the disc flange portion in the disc axial direction, and therefore the second plate thickness reducing portion is provided in the disc axial direction. Compared with the case where it is provided only in a part of the disk flange portion, it is possible to reduce the weight of the vehicle wheel disk.
  • the method for manufacturing a wheel disk for automobile of (6) above at least a part or all of the disk material portion from M1 to M2 is ironed, and the thickness after the ironing is thinner than the thickness before the ironing. Since it has the 1st process which shape
  • the cylindrical part shape-formed by the 1st process can be shape
  • both the disk material portion between M2 and M3 and the disk material portion between M1 and M2 are expanded. Therefore, the molding is easier than the case of reducing the diameter of at least one of the disk material portion between M2 and M3 and the disk material portion between M1 and M2.
  • the disc material portion from M2 to M4 or M2 to M3 is further ironed, so that not only the outer periphery of the hat but also the disc flange portion
  • the disc material portion between M3 and M4 is more than the adjacent disc material portion or the first plate thickness reducing portion. Since it is formed into a thick part having a large plate thickness, it is possible to suppress the occurrence of defects such as cracks in the disk in the second step (particularly during the diameter expansion step).
  • the third step of shaping the disc material portion between M2 and M3 to obtain the final disc flange shape after the second step, the third step of shaping the disc material portion between M2 and M3 to obtain the final disc flange shape. Therefore, the disk flange portion can be accurately shaped.
  • the disk flange part is accurately formed. In addition to molding, it is possible to reduce the weight of the wheel disk for automobiles.
  • the step of preforming the hub attachment portion corresponding portion, the hat inner peripheral portion corresponding portion, and the hat top portion corresponding portion of the disk material before the first step is possible to prevent molding defects such as thinning due to plastic working of the inner peripheral portion of the hat and the hub mounting portion, as compared to the case where the step of preforming is performed before and after the first step.
  • FIG. 1 It is a front view of the state joined to the rim of the wheel disk for vehicles of the example of the present invention. It is sectional drawing of the state joined to the rim
  • (A) is a flat plate
  • (b) is a circular disk material before the first step
  • (c) is a cross section of a wheel disk.
  • this figure is also applicable to the second embodiment, the third embodiment, and the fourth embodiment of the present invention.
  • FIG. 1 shows the disc material before the first step
  • FIG. 1 shows the wheel disc.
  • FIG. 1 shows the disc material before the first step
  • FIG. 1 shows the wheel disc.
  • FIG. 1 shows the disc material before the first step
  • FIG. 1 shows the wheel disc.
  • FIG. 1 shows the disc material before the first step
  • FIG. 1 shows the wheel disc.
  • FIG. 1 shows the disc material before the first step
  • FIG. 1 shows the wheel disc.
  • Embodiment 2 and Embodiment 4 of the present invention It is sectional drawing of the diameter change apparatus just before the 2nd process of the manufacturing method of the wheel disc for motor vehicles of this invention Example 1.
  • FIG. However, the left half of the figure is omitted. Note that hatching of the diameter changing device is omitted for clarity of the drawing.
  • this figure is applicable also to Example 3 of this invention by changing the board thickness of a board thickness reduction part.
  • the present invention can also be applied to the second embodiment.
  • this figure is also applicable to the second embodiment, the third embodiment, and the fourth embodiment of the present invention. It is sectional drawing of the ironing apparatus after the 1st process of the modification of the manufacturing method of the wheel disk for motor vehicles of Example 1 of this invention. However, the left half of the figure is omitted. Note that hatching of the ironing device is omitted for clarity of the drawing. However, this figure can also be applied to the third embodiment of the present invention by changing the shape of the ironing device and the shape of the cylindrical portion. Moreover, this figure is applicable also to this invention Example 2 and this invention Example 4. FIG. It is sectional drawing of the ironing apparatus after the 1st process of the modification of the manufacturing method of the wheel disk for motor vehicles of Example 1 of this invention.
  • FIG. 1 is sectional drawing of the disc raw material after the 1st process of the modification of the manufacturing method of the wheel disc for motor vehicles of Example 1 of this invention.
  • this figure can also be applied to the third embodiment of the present invention by changing the shape of the cylindrical portion.
  • this figure is applicable also to this invention Example 2 and this invention Example 4.
  • FIG. 1 is sectional drawing of the disc raw material after the 1st process of the modification of the manufacturing method of the wheel disc for motor vehicles of Example 1 of this invention.
  • this figure can also be applied to the third embodiment of the present invention by changing the shape of the cylindrical portion.
  • this figure is applicable also to this invention Example 2 and this invention Example 4.
  • FIG. It is the (a) top view and (b) sectional view of the modification of the diameter change apparatus of the 2nd process of the manufacturing method of the wheel disk for vehicles of the example 1 of the present invention. However, (a) the lower half of the plan view is omitted. Note that hatching of the diameter changing device is omitted for clarity of the drawing. Further, the left half of the cross section of the disk material is omitted.
  • this figure is also applicable to the second embodiment of the present invention and the third embodiment of the present invention. It is sectional drawing which shows the state before and behind the preforming of the disk raw material of the manufacturing method of the wheel disk for motor vehicles of Example 1 of this invention. However, the left half of the figure is omitted.
  • A shows the flat disk-shaped raw material before preforming.
  • B shows the disk material after preforming.
  • C shows the disk material after preforming into another shape.
  • this figure is also applicable to the second embodiment, the third embodiment, and the fourth embodiment of the present invention. It is sectional drawing of the shaping apparatus after the 3rd process of the manufacturing method of the wheel disk for motor vehicles of this invention Example 2. FIG. However, the left half of the figure is omitted.
  • this figure is also applicable to the second embodiment of the present invention and the third embodiment of the present invention. It is sectional drawing of the diameter change apparatus (reduced diameter) in the state which the 2nd process of the manufacturing method of the wheel disk for motor vehicles of this invention Example 4 was finished. However, the left half of the figure is omitted. Note that hatching of the diameter changing device is omitted for clarity of the drawing. However, this figure is also applicable to the second embodiment of the present invention and the third embodiment of the present invention. It is sectional drawing of the wheel disk after the 3rd process of the modification of the manufacturing method of the wheel disk for motor vehicles of Example 1 of this invention.
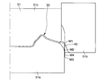
  • a vehicle wheel disk (hereinafter, also simply referred to as a wheel disk or a disk) 10 is a single attachment type (a type having a hat portion and used in a passenger car). It is.
  • the disk 10 is not a double-attached type disk 100 (a type that does not have a hat part and is basically used for a track / bus) as shown in FIG.
  • the disk 10 is a disk manufactured from a flat disk material.
  • the disk 10 is made of steel, for example. However, the disk 10 may not be made of steel, but may be made of aluminum alloy, titanium alloy, magnesium alloy, or the like.
  • the disc 10 is manufactured separately from an annular rim (portion for holding a tire (not shown)) 20 and is joined to the rim 20 by welding, rivet, adhesion or the like to become the wheel 1.
  • Rim 20 is manufactured from a plate material.
  • the rim 20 includes an inner flange portion 21, an inner bead seat portion 22, an inner sidewall portion 23, a drop portion 24, an outer sidewall portion 25, an outer bead seat portion 26 and an outer flange portion 27.
  • the inner flange portion 21, the inner bead seat portion 22, and the inner sidewall portion 23 are arranged in the disc axial direction when the wheel 1 is mounted on the vehicle, rather than the outer sidewall portion 25, the outer bead seat portion 26 and the outer flange portion 27. It is located on the side closer to the inner side of the vehicle (in the wheel axis direction) (center side in the vehicle width direction).
  • the disk 10 includes a hub hole 11, a hub mounting part 12, a disk flange part 13, a hat part 14, and a plate thickness reducing part 18.
  • the hat portion 14 includes a hat top portion 15, a hat inner peripheral portion 16, and a hat outer peripheral portion 17.
  • the disk 10 has a first disk portion (D1) located on the outer side in the disk radial direction from the top 15 of the hat and on the inner side in the disk radial direction from the disk flange part 13, and a second at the boundary between the hat outer peripheral part 17 and the disk flange part 13.
  • the entire disc flange portion 13 is a disc flange portion thick portion 13c described later, the second disc portion (D2) and the fourth disc portion (D4) coincide.
  • A indicates the inner side in the disk axial direction.
  • the hub hole 11 is provided in the center of the disk 10 in the disk radial direction (wheel radial direction).
  • the hub attachment portion 12 is provided around the hub hole 11.
  • the hub mounting portion 12 has a flat plate shape or a substantially flat plate shape, and is in a plane orthogonal to or substantially orthogonal to the disk axial direction (wheel axial direction).
  • a plurality of hub mounting bolt holes 12a are provided in the intermediate portion of the hub mounting portion 12 in the disk radial direction.
  • four hub mounting bolt holes 12a are provided at equal intervals on a concentric circle in the disk circumferential direction (wheel circumferential direction).
  • the number of hub mounting bolt holes 12a is not limited to four, and may be three or five or more.
  • the disk 10 (wheel 1) By inserting hub mounting bolts (both not shown) extending from the vehicle hub into the hub mounting bolt holes 12a and screwing hub nuts (not shown) into the hub mounting bolts, the disk 10 (wheel 1) is fitted to the hub. Fixed. However, the disk 10 (wheel 1) may be fixed to the hub by being screwed into a tap hole formed in the hub mounting portion 12 with a hub bolt. Since the hub mounting portion flat portion 12c, which is a flat portion of the hub mounting portion 12, is not thinned by ironing, the thickness when it is a product is substantially the same as the thickness of the disk material.
  • the hub mounting portion 12 may be provided with ribs 12b bulging outwardly in the disk axial direction between the hub mounting bolt holes 12a adjacent to each other in the disk circumferential direction. .
  • the ribs 12b are provided to improve the rigidity and durability of the hub mounting portion 12.
  • the rib 12b can be provided because the disk 10 is a single mounting type and not a double mounting type. In general, in the double mounting type disc 100 (see FIG. 25), the surface on the inner side of the disc axial direction and the surface on the outer side of the disc axial direction of the hub mounting portion are in close contact with the hub mounting portion of the hub or another wheel. Therefore, the rib 12b is not provided. In the double attachment type disk 100, the rib 12b is difficult to form because the rigidity and strength are increased by making the plate thickness relatively large for the reason of attachment to the hub of the vehicle.
  • the disc flange portion 13 is located at the outer end portion (including the vicinity thereof) of the disc 10 in the disc radial direction.
  • the disk flange portion 13 has a ring shape continuous in the disk circumferential direction.
  • the disk flange portion 13 may have a ring shape partially discontinuous in the disk circumferential direction.
  • the disc flange portion 13 extends linearly in the disc axial direction in a disc radial direction cross-sectional view (in a cross-sectional view orthogonal to the disc circumferential direction).
  • the inner end of the disk flange portion 13 in the disk axial direction (third disk portion D3) may be located in one plane over the entire circumference in the disk circumferential direction.
  • the disk flange portion 13 is a portion that is fitted into the drop portion 24 of the rim 20 and joined (fixed or welded) to the drop portion 24.
  • the disk flange portion 13 is viewed from the disk radial direction sectional view until the inner peripheral surface and the outer peripheral surface of the disk 10 both start to incline in the direction intersecting with the disk axial direction of the disk 10 outward from the disk axial inner end D3. It is a disc part.
  • the hat portion 14 is provided between the hub attachment portion 12 and the disc flange portion 13 in the disc radial direction, and is a portion connecting the hub attachment portion 12 and the disc flange portion 13 in the disc radial direction.
  • the hat portion 14 has a portion located on the outer side in the disc axial direction from the hub attachment portion 12 and the disc flange portion 13. At least the hat top portion 15 of the hat portion 14 is located on the outer side in the disc axial direction from the hub mounting portion 12 and the disc flange portion 13.
  • the apex 15a is a point located at the outermost side in the disc axial direction at the hat top 15 (with the disc 10) in an arbitrary disc radial cross section.
  • the position of the vertex 15a in the disk axis direction may be constant or different.
  • the hat inner peripheral portion 16 is provided between the hub attachment portion 12 and the hat top portion 15 in the disk radial direction, and is a portion connecting the hub attachment portion 12 and the hat top portion 15 in the disk radial direction.
  • the inner circumferential portion 16 of the hat has a cross section in the radial direction of the disc, and is entirely or substantially inclined to the outer side in the radial direction of the disc and the outer side in the axial direction of the disc, and smoothly connects the hub attachment portion 12 and the top portion 15 of the hat.
  • the hat outer peripheral part 17 is provided between the hat top part 15 and the disk flange part 13 in the disk radial direction, and is a part that connects the hat top part 15 and the disk flange part 13 in the disk radial direction.
  • the outer circumferential portion 17 of the hat has a cross section in the disk radial direction, and the whole or substantially the whole is inclined outward in the disk radial direction and inward in the disk axial direction.
  • the hat top 15 is a portion protruding outward in the disk axial direction.
  • the hat top 15 is a part for securing the rigidity and strength of the disk 10 and protrudes outward in the disk axial direction in an arc shape as shown in FIG.
  • the hat top 15 includes a vertex 15a continuously extending in the disk circumferential direction, an inner circumferential curved portion 15b that curves inward in the disk axial direction inside the disk radial direction of the vertex 15a, and a disk axial direction outside the vertex 15a in the disk radial direction.
  • An outer peripheral curved portion 15c that curves inward.
  • the hat portion 14 extends outward from the hub mounting portion 12 in the radial direction of the disc, and in order from the inner side in the radial direction of the disc, the hat inner circumferential portion 16 extends outward in the axial direction of the disc.
  • the hat outer peripheral portion 17 extends inward in the disc axial direction and is connected to the disc flange portion 13. Therefore, the distance between the hub attachment portion 12 and the disc flange portion 13 in the disc axial direction is small, and when the wheel 1 is attached to an automobile, the force is transmitted from the hat portion 14 to the hub attachment portion 12 via the tire and the rim 20. It is difficult to apply a large bending moment.
  • the stress state applied to the hat portion 14 of the disk 10 is different from the stress state applied to the hat portion 140 of the double mounting type disk 100.
  • a decorative hole 19 is formed in the hat outer peripheral portion 17.
  • the decorative hole 19 is provided in the intermediate portion in the disk radial direction of the hat outer peripheral portion 17.
  • a plurality of decorative holes 19 are provided at equal intervals in the circumferential direction of the disk.
  • the decorative holes 19 may not be provided, may be provided at unequal intervals in the disk circumferential direction, or only one may be provided.
  • a portion other than a first plate thickness reducing portion 18a (to be described later) (for example, a portion radially inward of the decorative hole 19) is not greatly deformed by pressing and is thinned by ironing. Therefore, the thickness when it becomes an automobile wheel disc is almost the same as the thickness of the disc material.
  • the plate thickness reducing portion 18 is obtained by ironing the flat disk material 30 shown in FIG. 3B or FIG. 11B so that the plate thickness of the disk material 30 before the ironing process (the hub mounting portion of the disk 10).
  • the flat portion 12c and the outer peripheral portion 17 of the hat are portions where the plate thickness is smaller than the disk material (such as portions other than the plate thickness reducing portion 18).
  • the first disk portion (D1) is a boundary between a portion of the hat outer peripheral portion 17 that is not a portion that is thinned by ironing and that is not a portion. A portion where the plate thickness of the disk material 30 is reduced by shrinkage due to press molding or the like is not the plate thickness reduction portion 18.
  • the plate thickness of the plate thickness reducing portion 18 can be 80% or less, or 50% or less of the plate thickness of the disk material 30 before ironing.
  • the plate thickness of the thinnest portion of the plate thickness reducing portion 18 can be set to 1 mm, for example.
  • the plate thickness of the disk material 30 may be reduced by other methods such as flow forming.
  • the plate thickness reducing portion 18 is desirably provided only outside 80% including 80% of the outer diameter of the disc 10 in the disc radial direction, but is not limited to 80% due to the nature of the plate material. This is so that the disk 10 having the plate thickness reducing portion 18 can be formed without cracking.
  • the plate thickness reducing portion 18 includes a first plate thickness reducing portion 18 a provided on the hat outer peripheral portion 17.
  • the plate thickness reducing portion 18 may further include a second plate thickness reducing portion 18 b provided in the disc flange portion 13.
  • the first plate thickness reducing portion 18a and the second plate thickness reducing portion 18b are arranged in the disc axial direction. It may be connected to or may not be continuous.
  • the first plate thickness reducing portion 18 a is provided at the outer end portion (including the vicinity thereof) in the disc radial direction of the hat outer peripheral portion 17.
  • the first plate thickness reducing portion 18a is provided from the first disk portion D1 to the second disk portion D2.
  • the decorative hole 19 is provided only in the disk radial direction intermediate portion of the hat outer peripheral portion 17, the first plate thickness reducing portion 18 a is separated from the outer peripheral portion 17 of the hat outer peripheral portion 17 at least outward in the disk radial direction from the decorative hole 19. It is provided in the part.
  • the first plate thickness reducing portion 18 a may include part or all of the peripheral edge portion of the decorative hole 19.
  • the plate thickness of the first plate thickness reducing portion 18a may or may not be constant within the first plate thickness reducing portion 18a.
  • the plate thickness of at least a part of the first plate thickness reduction portion 18a located at the peripheral portion of the decoration hole 19 may be made thicker than the plate thicknesses of the other first plate thickness reduction portions 18a.
  • a part of the plate thickness of the first plate thickness reducing portion 18a may have a portion having a plate thickness substantially the same as the disc material plate thickness.
  • the second plate thickness reducing portion 18b is provided in the entire region (entirely) or a part of the disc flange portion 13 in the disc axial direction.
  • the second plate thickness reducing portion 18b is provided in the entire region (entirely) or a part from the second disk portion D2 to the third disk portion D3.
  • the plate thickness of the second plate thickness reducing portion 18b may or may not be constant within the second plate thickness reducing portion 18b.
  • the plate thickness of the second plate thickness reduction portion 18b may be the same as the plate thickness of the first plate thickness reduction portion 18a, or may be greater than the plate thickness of the first plate thickness reduction portion 18a.
  • the thickness may be smaller than the thickness of the first thickness reducing portion 18a.
  • a part of the plate thickness of the second plate thickness reducing portion 18b may have a portion having a plate thickness substantially the same as the disc material plate thickness.
  • the disc flange portion thick portion 13c may be provided at least at the inner end in the disc axial direction of the disc flange portion 13 (for example, from the third disc portion D3 to the fourth disc portion D4).
  • the disc flange portion thick portion 13c is a disc portion adjacent to the disc flange portion thick portion 13c in the disc axial direction (for example, the second disc portion D2 to the fourth disc portion D4, the disc flange portion thick portion 13c). Is the portion where the plate thickness is larger than the plate thickness of the first disc portion D1 to the second disc portion D2.
  • the disc flange portion thick portion 13c is provided in at least a part of the disc circumferential direction.
  • the disc flange portion thick portion 13c may be provided continuously over the entire circumference in the disc circumferential direction, or may be provided intermittently in the disc circumferential direction.
  • the disk flange portion thick portion 13c may protrude radially inward as shown in FIG. 24 (a), or may protrude radially outward as shown in FIG. 24 (b). Further, the disk flange portion thick portion 13c may protrude both radially outward and radially inward.
  • the rigidity of the disk 10 can be improved. Further, when the disk 10 and the rim 20 are assembled, the plate thickness at the position where the disk flange portion 13 is welded becomes thick, so that welding becomes easy.
  • the maximum value of the thickness of the disc flange portion thick portion 13c may be the same as the disc material plate thickness, may be larger than the disc material plate thickness, or may be smaller than the disc material plate thickness. Good.
  • the cross-sectional shape between the first disk part D1 and the second disk part D2 may be a straight line as shown in FIG. 24, a large arc shape as a whole, or other shapes. May be.
  • FIG. 3 to 19 show a method for manufacturing a wheel disk for automobiles according to Embodiment 1 of the present invention
  • FIG. 20 shows a method for manufacturing a wheel disk for automobiles according to Embodiment 2 of the present invention
  • 21 shows a method for manufacturing a vehicle wheel disk according to Embodiment 3 of the present invention
  • FIGS. 22 and 23 show a method for manufacturing a wheel disk for vehicle according to Embodiment 4 of the present invention.
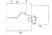
  • the manufacturing method of the wheel disk 10 for automobiles of the embodiment of the present invention is a method for manufacturing the wheel disk 10 for automobiles from the disk material 30 as shown in FIG.
  • the disk material 30 includes a hub hole corresponding part 31 corresponding to the hub hole 11, a hub mounting part corresponding part 32 corresponding to the hub mounting part 12, a disk flange part corresponding part 33 corresponding to the disk flange part 13, and a hat part. 14 corresponding to 14, a hat top corresponding portion 35 corresponding to the hat top 15, a hat inner peripheral corresponding portion 36 corresponding to the hat inner peripheral portion 16, and a hat outer periphery corresponding to the hat outer periphery 17.
  • a part corresponding part 37 and a decorative hole corresponding part 39 corresponding to the decorative hole 19.
  • the disk material 30 also corresponds to a first material part M1 corresponding to the first disk part D1, a second material part M2 corresponding to the second disk part D2, and a third disk part D3.
  • a third material part M3 and a fourth material part M4 corresponding to the fourth disk part D4 are provided.
  • the disc flange portion corresponding portion 33 is a portion that becomes the disc flange portion 13 when the disc material 30 is manufactured on the disc 10.
  • the hat portion corresponding portion 34 is a portion that becomes the hat portion 14 when the disc material 30 is manufactured on the disc 10.
  • the hat top corresponding portion 35 is a portion that becomes the hat top 15 when the disc material 30 is manufactured on the disc 10.
  • the hat inner periphery corresponding portion 36 is a portion that becomes the hat inner periphery 16 when the disk material 30 is manufactured on the disk 10.
  • the hat outer peripheral portion corresponding portion 37 is a portion that becomes the hat outer peripheral portion 17 when the disc material 30 is manufactured on the disc 10.
  • the decorative hole corresponding portion 39 is a portion that is punched when the disc material 30 is manufactured into the disc 10 and becomes the decorative hole 19.
  • the first material part M1 is a part that becomes the first disk part D1 when the disk material 30 is manufactured on the disk 10.
  • the second material part M2 is a part that becomes the second disk part D2 when the disk material 30 is manufactured on the disk 10.
  • the third material part M3 is a part that becomes the third disk part D3 when the disk material 30 is manufactured on the disk 10.
  • the fourth material part M4 is a part that becomes the fourth disk part D4 when the disk material 30 is manufactured on the disk 10.
  • the disk material 30 is a flat plate material in which four corners are dropped from a square (including a substantially square) flat plate 2 by press punching or the like.
  • the disc material 30 may be a circular flat plate having no straight part, and has an arc part 30a and a straight part 30b as shown in FIG. 11B. It may be flat.
  • the wheel disk 10 manufactured from the disk material 30 does not have the ventilation portion 13a (see FIG. 11C).
  • the wheel disk 10 manufactured from the disk material 30 has a ventilation portion 13a as shown in FIG. 11C.
  • the arc part 30a becomes the general end part 13b other than the ventilation part 13a
  • the linear part 30b becomes the ventilation part 13a.
  • the manufacturing method of the wheel disc 10 is as follows: (I) As shown in FIGS. 5 to 7, at least a part or all of the disk material 30 from the first material part M1 to the second material part M2 is ironed, and the thickness after the ironing process is ironed. A first step (squeeze drawing step) for forming a cylindrical portion 40 thinner than the plate thickness before processing; (Ii) After the first step, as shown in FIGS. 8 and 9, the first material portion of the disc material 30 is between the second material portion M2 and the third material portion M3 of the disc material 30. At least one of the second material portion M2 and the third material portion M3 of the disc material 30 and the first material portion M1 of the disc material 30 so as to have a larger diameter than M1.
  • a second step of changing the diameter (diameter changing step); Have In the first step, as shown in FIG. 7, all of the first material portion M1 to the third material portion M3 may be ironed.
  • the method for manufacturing the wheel disc 10 further includes (iii) the second material portion M2 and the third material portion M3 of the disc material 30 as shown in FIG. 10 after the second step (ii). And a third step (shaping step) to form the final disk flange 13 shape.
  • a third step shape to form the final disk flange 13 shape.
  • the first step is performed simultaneously on the entire circumference by pressing.
  • the ironing and drawing process is not limited to one time, and may be performed a plurality of times including mold change.
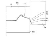
  • I-2 In the first step, as shown in FIGS. 5 to 7, ironing and drawing are performed using an ironing device 50 in which a punch 50a, a die 50b and a pressing pad 50c are assembled to a press machine. Ironing may be performed after drawing.
  • the die 50b is held with respect to the punch 50a and the pad 50c while the portion located on the inner side in the disk radial direction from the first material portion M1 of the disk material 30 is sandwiched between the punch 50a and the pad 50c.
  • Ironing and drawing are performed by relatively moving only in the axial direction of the disk material 30 (the same direction as the axial direction of the disk 10).
  • the punch 50a and the pad 50c may be moved relative to the die 50b.
  • the thickness of the cylindrical portion 40 formed in the first step is such that the side surface of the punch 50a on the side facing the die 50b is a flat surface (a cylinder having a constant diameter) except for the thick portion 41 described later. Surface) or an uneven surface (an undulating surface, a non-planar surface, a cylindrical surface with a non-constant diameter), it may be constant (including substantially constant) or may not have a constant thickness Good.
  • the thick portion 41 may be formed between the fourth material portion M4 and the third material portion M3 of the disc material 30. .
  • the thick part 41 is located at the axially inner end of the disc material 30 after the first step, and is a part having a plate thickness greater than the part adjacent to the thick part 41 in the axial direction.
  • the thick portion 41 may extend from the second material portion M2 to the third material portion M3 of the disc material 30.
  • the thick portion 41 is provided only between the fourth material portion M4 and the third material portion M3.
  • the thick portion 41 is provided in order to suppress the occurrence of defects such as cracks in the disk material 30 in the second step (ii) (particularly during the diameter expansion step).
  • the thick portion 41 has a disc flange portion thickness after the second step (ii) and the third step (iii). It becomes the meat part 13c.
  • the thick portion 41 is the same as the second disc portion in the third step (iii). The thickness is reduced to the same thickness as that between the fourth disk portion D4.
  • the thick portion 41 is at least a portion (hereinafter referred to as the ventilation portion 13a) as shown in FIGS. It is desirable to be provided in the deepest portion 42a of the concave portion 42). This is because, when the second step is a diameter expansion step, the stress applied to the deepest portion 42 a is the largest of the stress applied to the cylindrical portion 40 of the disk material 30.
  • FIG. 15 shows a case where the thick part 41 is continuously provided over the entire circumference of the cylindrical part 40 including the deepest part 42a
  • FIG. 16 shows the thick part 41 including the deepest part 42a
  • FIG. 17 shows a case where the thick portion 41 is provided on the entire inner circumference in the axial direction including the deepest portion 42a.
  • the thick part 41 is formed by, for example, the following methods (a1) and (a2). (A1) As shown in FIG. 12, the thick portion 41 is formed by providing a receding portion 50d on the punch 50a. The receding portion 50d is provided on the side surface of the punch 50a facing the die 50b so as to recede in a direction away from the die 50b. By providing the receding portion 50d, the thick portion 41 protruding in the direction of decreasing the inner diameter can be formed between the fourth material portion M4 and the third material portion M3 of the disc material 30. .
  • the thickness of the thick portion 41 may be the same (including substantially the same) as the thickness of the disc material 30 before the first step, and is smaller than the thickness of the disc material 30 before the first step. May be.
  • the thick portion 41 is configured such that after the die 50b reaches the intermediate portion in the axial direction of the cylindrical portion 40, the die 50b is stopped with respect to the punch 50a, and the die 50b is removed from the punch 50a. Molded by pulling.
  • the portion of the disc material 30 that is ahead of the stop position of the die 50b (from the fourth material portion M4 to the third material portion M3 of the disc material 30) is not subjected to the ironing process, and the ironed portion (disc The first material part M1 to the fourth material part M4 of the material 30 are thicker in the direction of increasing the outer diameter.
  • the thickness of the thick portion 41 is the same (including substantially the same) as the plate thickness of the disc material 30 before the first step.
  • the thick portion 41 protruding inward in the radial direction in FIGS. 14 to 16 protrudes outward in the radial direction. Further, the thick portion 41 may protrude both inward in the radial direction and outward in the radial direction.
  • the first step is to squeeze the first material portion M1 to the fourth material portion M4 of the disk material 30. If the thick portion 41 is not formed or the thick portion 41 is formed by the method (a1) (method shown in FIG. 12), the first step is performed. Is a step of forming the cylindrical portion 40 by ironing the first material portion M1 to the third material portion M3 of the disk material 30.
  • the second step is performed simultaneously around the entire circumference by pressing.
  • the second material portion M2 and the third material portion M3 of the disc material 30 and the first material portion of the disc material 30 are Both the material part M1 and the second material part M2 are expanded in diameter.
  • the diameter between the first material portion M1 and the second material portion M2 of the disk material 30 may be reduced.
  • a second material portion M2 of the disk material 30 is used by using a diameter changing device 51 in which a punch 51a and a pressing pad 51c are assembled to a press machine.
  • the pad 51c is moved relative to the punch 51a only in the axial direction of the disk material 30 (the same direction as the axial direction of the disk 10), and the second material portion M2 and the third material part 3 of the disk material 30 are moved.
  • the diameter of both the first material portion M1 and the second material portion M2 of the disk material 30 is expanded.
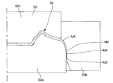
  • the third step is a step of shaping the disk flange portion 13.
  • the third step is performed simultaneously all around by pressing.
  • the space between the second material portion M2 and the third material portion M3 of the disk material 30 is shaped.
  • the first material part M1 and the second material part M2 of the disk material 30 may be shaped.
  • shaping is performed using the shaping device 52 in which the punch 52a, the die 52b, and the pressing pad 52c are assembled in a press machine.
  • the die 52b is held with respect to the punch 52a and the pad 52c while the portion located on the inner side in the disc radial direction from the first material portion M1 of the disc material 30 is sandwiched between the punch 52a and the pad 52c. Shaping is performed by relatively moving only in the axial direction of the disk material 30 (the same direction as the axial direction of the disk 10). The punch 52a and the pad 52c may be moved relative to the die 52b. (Iii-5)
  • the shaping device 52 is used to shape the space between the second material portion M2 and the third material portion M3 of the disc material 30, and the shaping device 52 is used to form the disc.
  • the thickness of the material 30 may be reduced by ironing between the second material part M2 and the third material part M3.
  • the space between the second material portion M2 and the third material portion M3 of the disk material 30 may be formed to a constant thickness, or the fourth material portion M4 and the third material portion M3
  • Between the second material portion M2 and the fourth material portion M4 of the disc material 30 and a thick disc flange portion 13c thicker than the thickness between the second material portion M2 and the fourth material portion M4 may be formed.
  • the material part M3 may be formed so that the thickness of the material part M3 is the smallest between the second material part M2 and the third material part M3.
  • the third step is to change the diameter by applying a machining force radially outward using a split mold 60 as shown in FIG. 18 (by performing the entire circumference simultaneously by expanding).
  • the processing may be performed simultaneously with the second step.
  • the third step may be omitted if sufficient accuracy can be secured in the second step.
  • the manufacturing method of the wheel disk 10 is further performed before the first step (i ′) as shown in FIG. 19)
  • the hub attachment portion corresponding portion 32, the hat inner peripheral portion corresponding portion 36, and the hat top portion corresponding portion 35 of the disc material 30 shown in FIG. 19A are respectively connected to the disc intermediate member 130 (disc material shown in FIG. 19B).
  • the first ′ process may be performed after the third process. Further, the first 'step may not be performed.
  • the first 1 'step is performed by drawing (simultaneous machining of the entire circumference by pressing).
  • the hub attachment portion intermediate corresponding portion 112, the hat inner peripheral portion intermediate corresponding portion 116, and the hat top portion intermediate corresponding portion 115 of the disk intermediate member 130 (one form of the disk material 30) shown in FIG. Alternatively, it may be preformed.
  • 19B and FIG. 19C are formed in the fourth step different from the first to third steps, respectively (the portion formed in the first 'step). It is desirable to be formed into a shape.
  • the hub attachment portion intermediate corresponding portion 112 the hat inner peripheral portion intermediate corresponding portion 116, and the hat top portion intermediate corresponding portion 115 of the disk intermediate member 130 are respectively connected to the hub of the wheel disk 10.
  • the mounting portion 12, the hat inner peripheral portion 16, and the hat top portion 15 are formed into final shapes.
  • the fourth step may be before the third step.
  • the disc flange portion 13 includes the disc flange portion thick portion 13c at least at the inner end portion in the disc axial direction of the disc flange portion 13 and at least a part of the disc circumferential direction.
  • the assembly accuracy with the wheel rim 20 for an automobile can be improved.
  • the rigidity of the disk 10 can be improved by projecting the disk flange thick part 13c radially inward. Further, when the disk 10 and the rim 20 are assembled, the plate thickness at the position where the disk flange portion 13 is welded becomes thick, so that welding becomes easy.
  • the second material portion M2 and the third material portion are arranged such that the disc material portion between the second material portion M2 and the third material portion M3 has a larger diameter than the first material portion M1. Since there is a second step of changing the diameter of at least one of the disk material portion between M3 and the first material portion M1, the cylindrical portion molded in the first step is replaced with a disk flange portion. 13 and the outer periphery 17 of the hat.
  • At least the disk material 30 portion between the third material portion M3 and the fourth material portion M4 is adjacent to the disk material 30 portion or the first plate thickness reducing portion 18a. Since it is formed into the thick portion 41 having a larger plate thickness, it is possible to suppress the occurrence of problems such as cracks in the disk in the second step (particularly during the diameter expansion step).
  • the first embodiment of the present invention has the following unique parts.
  • the thickness (thickness excluding the thick portion 41) of the cylindrical portion 40 formed in the first step is substantially constant as shown in FIG.
  • the gap (minimum gap) between the punch 50a and the die 50b of the ironing device 50 is set to be narrower than the plate thickness of the disk material 30 before the first step.
  • the gap (minimum gap) between the punch 52a and the die 52b of the shaping device 52 is set to be narrower than the plate thickness of the thickest flange portion between the second material portion M2 and the third material portion M3 after the second step. Has been. Further, the gap (minimum gap) between the punch 52a and the die 52b of the shaping device 52 is greater than the thickness of the thinnest flange portion between the second material portion M2 and the third material portion M3 after the second step. It may be set narrowly.
  • the thick portion 41 is formed between the fourth material portion M4 and the third material portion M3 in the first step, and the plate thickness is larger than the plate thickness of the disc portion adjacent in the disc axial direction in the third step.
  • the third process involves ironing between the second material part M2 and the third material part M3 of the disc material 30
  • the third material part M2 and the second material part M2 of the disc material 30 are used in the third process.
  • the disk flange portion 13 of the wheel disk 10 for an automobile can be formed with high accuracy.
  • the second embodiment of the present invention has the following unique parts.
  • the shaping device 52 is used to place between the second material part M2 and the third material part M3 of the disc material 30 and the first material part M1 and the second material part of the disc material 30.
  • the material portion M2 is only drawn and the disk material 30 is not ironed.
  • the thick part 41 is formed between the fourth material part M4 and the third material part M3 in the first process, and the thickness process is not performed on the thick part 41 in the third process.
  • the ironing process is not performed between the second material portion M2 and the third material portion M3 of the disc material 30. Therefore, in the third step, the second material portion M2 of the disc material 30 and Compared with the case of ironing with the second material part M3, the processing cost is not severe, so that the mold cost can be reduced.
  • the third embodiment of the present invention has the following unique parts.
  • the thickness of the cylindrical portion 40 formed in the first step is formed to be at least two types.
  • the cylindrical portion 40 is formed in two thicknesses by providing one stepped portion (including a tapered portion) 50e on the side surface of the punch 50a on the side facing the die 50b.
  • a plurality of stepped portions 50e may be provided and molded with two or more types of thickness.
  • the plate between the second material part M2 and the third material part M3 of the disc material 30 is between the first material part M1 and the second material part M2 of the disc material 30. It is smaller than the thickness.
  • the gap (minimum gap) between the punch portion 50f on the axially outer side from the stepped portion 50e and the die 50b is set to be narrower than the plate thickness of the disc material 30 before the first step.
  • the gap (minimum gap) between the punch portion 50g and the die 50b located on the inner side in the axial direction from the stepped portion 50e is set narrower than the gap (minimum gap) between the punch portion 50f and the die 50b.
  • the thickness between the second material portion M2 and the third material portion M3 of the disc material 30 is larger than the plate thickness between the first material portion M1 and the second material portion M2 of the disc material 30. It may be large.
  • the gap (minimum gap) between the punch portion 50g located on the inner side in the axial direction from the stepped portion 50e and the die 50b is set to be narrower than the plate thickness of the disc material 30 before the first step. It may be set widely, may be set widely, and may be set the same. Further, it is set wider than the gap (minimum gap) between the punch portion 50f on the axially outer side from the stepped portion 50e and the die 50b. The gap (minimum gap) between the punch portion 50f on the axially outer side from the stepped portion 50e and the die 50b is set to be narrower than the plate thickness of the disc material 30 before the first step.
  • the stepped portion 50e may be in the axial direction, between the first material portion M1 and the second material portion M2, or between the second material portion M2 and the third material portion M3.
  • the shaping device 52 is used to place the second material portion M2 and the third material portion M3 of the disc material 30 between the first material portion M1 and the second material portion M3 of the disc material 30. Both the material portion M2 and the material portion M2 are shaped, and the disc material 30 is not ironed. However, ironing may be performed.
  • the part ironed in the first step has two or more types of thickness
  • the part ironed in the first step needs to have both strength and weight reduction compared to the case where the part ironed only has one type of thickness. It is possible to easily manufacture the automobile wheel disk 10 having a large thickness.
  • the fourth embodiment of the present invention has the following unique parts.
  • (A) The outer diameter of the cylindrical portion 40 formed in the first step is formed so as to be substantially the same as the outer diameter of the automobile wheel disk 10.
  • the following specific effects can be obtained.
  • the second step between the second material part M2 and the third material part M3 of the disc material 30 after the ironing process, and between the first material part M1 and the second material part M2 of the disc material 30.
  • the second step between the second material portion M2 and the third material portion M3 of the disc material 30 after the ironing process, and in the first step of the disc material 30 Compared with the case where the diameter is increased between the material portion M1 and the second material portion M2, the ironed portion is not expanded, so that cracking is less likely to occur.

Landscapes

  • Engineering & Computer Science (AREA)
  • Mechanical Engineering (AREA)
  • Shaping Metal By Deep-Drawing, Or The Like (AREA)
  • Forging (AREA)
  • Braking Arrangements (AREA)
PCT/JP2013/056588 2012-03-12 2013-03-11 自動車用ホイールディスクとその製造方法 Ceased WO2013137168A1 (ja)

Priority Applications (6)

Application Number Priority Date Filing Date Title
MX2014011046A MX350948B (es) 2012-03-12 2013-03-11 Disco de rueda de vehíiculo y un método de fabricación del mismo.
US14/378,225 US9511623B2 (en) 2012-03-12 2013-03-11 Vehicle wheel disk and a manufacturing method thereof
JP2014504849A JP6357096B2 (ja) 2012-03-12 2013-03-11 自動車用ホイールディスクとその製造方法
CN201380013667.9A CN104245352B (zh) 2012-03-12 2013-03-11 机动车用轮盘及其制造方法
DE112013001275.8T DE112013001275B4 (de) 2012-03-12 2013-03-11 Herstellungsverfahren für Fahrzeugradscheibe
IN6821DEN2014 IN2014DN06821A (enExample) 2012-03-12 2013-03-11

Applications Claiming Priority (6)

Application Number Priority Date Filing Date Title
JP2012053940 2012-03-12
JP2012-053940 2012-03-12
JP2012120571 2012-05-28
JP2012-120571 2012-05-28
JP2012223818 2012-10-09
JP2012-223818 2012-10-09

Publications (1)

Publication Number Publication Date
WO2013137168A1 true WO2013137168A1 (ja) 2013-09-19

Family

ID=49161077

Family Applications (1)

Application Number Title Priority Date Filing Date
PCT/JP2013/056588 Ceased WO2013137168A1 (ja) 2012-03-12 2013-03-11 自動車用ホイールディスクとその製造方法

Country Status (7)

Country Link
US (1) US9511623B2 (enExample)
JP (2) JP6357096B2 (enExample)
CN (2) CN104245352B (enExample)
DE (1) DE112013001275B4 (enExample)
IN (1) IN2014DN06821A (enExample)
MX (1) MX350948B (enExample)
WO (1) WO2013137168A1 (enExample)

Cited By (2)

* Cited by examiner, † Cited by third party
Publication number Priority date Publication date Assignee Title
WO2017085790A1 (ja) * 2015-11-17 2017-05-26 中央精機株式会社 ホイールディスクの製造方法、及び、ホイールディスク
JP2017530897A (ja) * 2014-08-29 2017-10-19 マキシオン ホイールズ ジャーマニー ホールディングス ゲーエムベーハー ディスクホイールのためのホイールディスク

Families Citing this family (8)

* Cited by examiner, † Cited by third party
Publication number Priority date Publication date Assignee Title
DE102012107018B4 (de) * 2012-08-01 2023-04-27 Dr. Ing. H.C. F. Porsche Aktiengesellschaft Fahrzeugfelge
US9724960B2 (en) * 2014-03-11 2017-08-08 Central Motor Wheel Co., Ltd. Automobile wheel disk
DE102016209302A1 (de) 2016-05-30 2017-12-14 Continental Reifen Deutschland Gmbh Verfahren zum Abdichten und Aufpumpen aufblasbarer Gegenstände
US20200391541A1 (en) * 2018-03-07 2020-12-17 Wheels India Limited A disc wheel for agricultural tractor application
JP7118551B2 (ja) * 2018-10-09 2022-08-16 中央精機株式会社 自動車用ホイールディスク、及び、自動車用ホイールディスクの製造方法
DE102021125383A1 (de) 2021-09-30 2023-03-30 Maxion Wheels Holding Gmbh Radschüssel für ein Scheibenrad sowie Scheibenrad
US12447770B2 (en) * 2022-03-04 2025-10-21 Maxion Wheels Holding Gmbh Vehicle wheel disc, vehicle wheel including such a wheel disc and method for producing such a wheel disc and vehicle wheel
DE102022105159B4 (de) * 2022-03-04 2023-09-28 Maxion Wheels Holding Gmbh Radschüssel für Fahrzeugräder, Verfahren zur Herstellung und Fahrzeugrad

Citations (4)

* Cited by examiner, † Cited by third party
Publication number Priority date Publication date Assignee Title
US5577810A (en) * 1994-03-18 1996-11-26 Topy Kogyo Kabushiki Kaisha Wheel disk having a non-uniform thickness
JP2000085302A (ja) * 1998-09-08 2000-03-28 Chuo Motor Wheel Co Ltd 乗用車用ディスクホイール
JP2000176580A (ja) * 1998-12-10 2000-06-27 Topy Ind Ltd 自動車ホイール用ディスクの製造方法
JP2007083297A (ja) * 2005-09-26 2007-04-05 Topy Ind Ltd 車両用ホイールの成形方法

Family Cites Families (32)

* Cited by examiner, † Cited by third party
Publication number Priority date Publication date Assignee Title
US1650780A (en) * 1922-08-01 1927-11-29 Steel Wheel Corp Wheel disk and method of manufacture
US2088992A (en) * 1936-09-16 1937-08-03 Kelsey Hayes Wheel Co Method of making vehicle wheels
US2406062A (en) * 1944-08-24 1946-08-20 Standard Forgings Corp Method for making dished disk wheels
FR1598727A (enExample) * 1968-12-24 1970-07-06
US4106172A (en) * 1976-04-07 1978-08-15 Steel Stampings Limited Vehicle wheels
DE2647464A1 (de) 1976-10-21 1978-04-27 Hans J Ing Grad Wissner Leichtmetall-scheibenrad fuer kraftfahrzeuge und verfahren zu seiner herstellung
FR2742085B1 (fr) * 1995-12-07 1998-01-02 Lorraine Laminage Procede de realisation d'une roue pour vehicule terrestre a moteur
DE19548109A1 (de) 1995-12-21 1997-06-26 Suedrad Autoraeder Felge und Verfahren zu ihrer Herstellung
JP3295032B2 (ja) 1998-02-18 2002-06-24 トピー工業株式会社 ホイール用軽量化ディスクの製造方法
EP0985552A3 (en) 1998-09-08 2003-05-28 Central Motor Wheel Co., Ltd. Disc wheel for passenger car
JP2000142002A (ja) 1998-11-06 2000-05-23 Topy Ind Ltd 自動車用薄板構造ホイールとその製造方法
JP3910001B2 (ja) 1999-05-27 2007-04-25 トピー工業株式会社 自動車用ダンパー付きホイールとその製造方法
DE29912453U1 (de) 1999-07-16 2000-11-23 Hayes Lemmerz Holding GmbH, 53639 Königswinter Fahrzeugrad
DE29915636U1 (de) 1999-09-04 1999-11-04 Hayes Lemmerz Holding GmbH, 53639 Königswinter Fahrzeugradanordnung für Nutzfahrzeuge
FR2810922B1 (fr) 2000-06-30 2002-09-13 Usinor Voile de roue allege et a large espace frein
JP3967209B2 (ja) 2002-06-25 2007-08-29 中央精機株式会社 自動車用ディスクホイール
JP4270982B2 (ja) 2003-09-02 2009-06-03 中央精機株式会社 ホイールディスクの製造方法
FR2863548B1 (fr) 2003-12-12 2008-02-01 Michelin Soc Tech Roue de vehicule utilitaire
CN1910060A (zh) * 2004-01-20 2007-02-07 鹫兴产株式会社 轻合金制车辆用轮子的制造方法及由该方法制得的轮子
WO2005089977A1 (en) * 2004-03-18 2005-09-29 Hayes Lemmerz International, Inc. Fabricated vehicle wheel and method for producing same
US7922260B2 (en) * 2006-06-05 2011-04-12 Meritor Comercio E Industria De Sistemas Automotivos Ltda. Wheel and wheel disk
US8050986B2 (en) * 2006-07-07 2011-11-01 Siemens Product Lifecycle Management Software Inc. System and method for determining a quantity mismatch report
JP5180742B2 (ja) * 2008-09-01 2013-04-10 トピー工業株式会社 自動車用ホイールディスクの製造方法
JP5384056B2 (ja) * 2008-09-01 2014-01-08 トピー工業株式会社 自動車用ホイールディスクの製造方法
DE102008051601A1 (de) 2008-10-14 2010-06-10 Daimler Ag Vorrichtung zur Befestigung einer Fahrzeugfelge an einer Radnabe eines Fahrzeuges
JP5281435B2 (ja) * 2009-02-25 2013-09-04 中央精機株式会社 自動車用ホイール
BRPI1004622B1 (pt) 2009-11-30 2020-10-06 Steel Strips Wheel Ltd. Roda de aço de face semi-completa melhorada
JP2011207352A (ja) * 2010-03-30 2011-10-20 Honda Motor Co Ltd 車両のホイール
WO2011145209A1 (ja) * 2010-05-21 2011-11-24 中央精機株式会社 自動車用ホイール
JP5878688B2 (ja) * 2010-12-17 2016-03-08 中央精機株式会社 自動車用ホイール
CN201989552U (zh) 2011-01-29 2011-09-28 柳州市银兴车轮制造有限公司 端面加厚的旋压轮辐
JP5755495B2 (ja) * 2011-04-28 2015-07-29 中央精機株式会社 自動車用ホイール

Patent Citations (4)

* Cited by examiner, † Cited by third party
Publication number Priority date Publication date Assignee Title
US5577810A (en) * 1994-03-18 1996-11-26 Topy Kogyo Kabushiki Kaisha Wheel disk having a non-uniform thickness
JP2000085302A (ja) * 1998-09-08 2000-03-28 Chuo Motor Wheel Co Ltd 乗用車用ディスクホイール
JP2000176580A (ja) * 1998-12-10 2000-06-27 Topy Ind Ltd 自動車ホイール用ディスクの製造方法
JP2007083297A (ja) * 2005-09-26 2007-04-05 Topy Ind Ltd 車両用ホイールの成形方法

Cited By (3)

* Cited by examiner, † Cited by third party
Publication number Priority date Publication date Assignee Title
JP2017530897A (ja) * 2014-08-29 2017-10-19 マキシオン ホイールズ ジャーマニー ホールディングス ゲーエムベーハー ディスクホイールのためのホイールディスク
WO2017085790A1 (ja) * 2015-11-17 2017-05-26 中央精機株式会社 ホイールディスクの製造方法、及び、ホイールディスク
JPWO2017085790A1 (ja) * 2015-11-17 2018-08-02 中央精機株式会社 ホイールディスクの製造方法、及び、ホイールディスク

Also Published As

Publication number Publication date
CN107053943A (zh) 2017-08-18
JP6357096B2 (ja) 2018-07-11
US20150001913A1 (en) 2015-01-01
CN104245352A (zh) 2014-12-24
DE112013001275T5 (de) 2015-01-08
CN104245352B (zh) 2017-04-26
IN2014DN06821A (enExample) 2015-05-22
JP2018150041A (ja) 2018-09-27
MX350948B (es) 2017-09-25
DE112013001275B4 (de) 2024-01-25
US9511623B2 (en) 2016-12-06
MX2014011046A (es) 2014-12-05
JPWO2013137168A1 (ja) 2015-08-03

Similar Documents

Publication Publication Date Title
JP6357096B2 (ja) 自動車用ホイールディスクとその製造方法
JP6224620B2 (ja) 大中型ホイールディスクの製造方法とその成形品
WO2007089711A2 (en) Method for producing a wheel disc
US11135641B2 (en) Vehicle wheel disc and manufacturing method of vehicle wheel disc
JP3884311B2 (ja) 自動車用ホイールリムの製造方法
US5517759A (en) Method of making a variable off-set full face wheel
US9630279B2 (en) Method of manufacturing wheel disc
JP5384056B2 (ja) 自動車用ホイールディスクの製造方法
CN110281693A (zh) 制造车辆车轮的方法及利用该方法获得的车辆车轮
JP5180742B2 (ja) 自動車用ホイールディスクの製造方法
JP6162540B2 (ja) 車両用ホイールディスクの製造方法
JP6727778B2 (ja) 車両用ホイールディスク
JP2000142007A (ja) 軽量化アルミホイールおよびその製造方法
JP5575551B2 (ja) 自動車用ホイールディスクの製造方法
JP5548566B2 (ja) 自動車用ホイールディスクの製造方法
JP3770865B2 (ja) ホイールディスクの製造方法
JP6244010B2 (ja) 自動車用ホイールディスク
JP5794651B2 (ja) 自動車用ホイールディスクの製造方法
WO2018138895A1 (ja) 車両用ホイール
JP5592197B2 (ja) 自動車用ホイール
JP2015067011A (ja) ホイールディスク及びそれを用いた車両用ホイール
ITTO20060527A1 (it) "metodo di realizzazione per una ruota in lega leggera e ruota realizzata in accordo con tale metodo"

Legal Events

Date Code Title Description
121 Ep: the epo has been informed by wipo that ep was designated in this application

Ref document number: 13760257

Country of ref document: EP

Kind code of ref document: A1

DPE1 Request for preliminary examination filed after expiration of 19th month from priority date (pct application filed from 20040101)
WWE Wipo information: entry into national phase

Ref document number: 14378225

Country of ref document: US

ENP Entry into the national phase

Ref document number: 2014504849

Country of ref document: JP

Kind code of ref document: A

WWE Wipo information: entry into national phase

Ref document number: IDP00201405473

Country of ref document: ID

Ref document number: MX/A/2014/011046

Country of ref document: MX

Ref document number: 1120130012758

Country of ref document: DE

Ref document number: 112013001275

Country of ref document: DE

122 Ep: pct application non-entry in european phase

Ref document number: 13760257

Country of ref document: EP

Kind code of ref document: A1