JP5794651B2 - 自動車用ホイールディスクの製造方法 - Google Patents

自動車用ホイールディスクの製造方法 Download PDF

Info

Publication number
JP5794651B2
JP5794651B2 JP2014104917A JP2014104917A JP5794651B2 JP 5794651 B2 JP5794651 B2 JP 5794651B2 JP 2014104917 A JP2014104917 A JP 2014104917A JP 2014104917 A JP2014104917 A JP 2014104917A JP 5794651 B2 JP5794651 B2 JP 5794651B2
Authority
JP
Japan
Prior art keywords
disk
flange
mold
disc
axial direction
Prior art date
Legal status (The legal status is an assumption and is not a legal conclusion. Google has not performed a legal analysis and makes no representation as to the accuracy of the status listed.)
Active
Application number
JP2014104917A
Other languages
English (en)
Other versions
JP2014169078A (ja
Inventor
桂 ▲高▼木
桂 ▲高▼木
武洋 藤岡
武洋 藤岡
小倉 健
健 小倉
Current Assignee (The listed assignees may be inaccurate. Google has not performed a legal analysis and makes no representation or warranty as to the accuracy of the list.)
Topy Industries Ltd
Original Assignee
Topy Industries Ltd
Priority date (The priority date is an assumption and is not a legal conclusion. Google has not performed a legal analysis and makes no representation as to the accuracy of the date listed.)
Filing date
Publication date
Application filed by Topy Industries Ltd filed Critical Topy Industries Ltd
Priority to JP2014104917A priority Critical patent/JP5794651B2/ja
Publication of JP2014169078A publication Critical patent/JP2014169078A/ja
Application granted granted Critical
Publication of JP5794651B2 publication Critical patent/JP5794651B2/ja
Active legal-status Critical Current
Anticipated expiration legal-status Critical

Links

Images

Landscapes

  • Shaping Metal By Deep-Drawing, Or The Like (AREA)

Description

本発明は、自動車用ホイールリムと別体に形成されて自動車用ホイールリムに嵌合される自動車用ホイールディスクの製造方法に関する。
意匠性を高めるために飾り穴が大きく飾り穴がディスクの最外周またはその近傍まであるホイールディスク(飾り穴がディスクフランジに近接あるいはディスクフランジと境界を共有しているホイールディスク)では、ディスクフランジの剛性が低い。そのため、飾り穴となる穴を開口した後にディスクフランジとなる部分をプレス加工で絞り成形すると、材料の余りや金型との摩擦のために、ディスクフランジが波打つように変形してしまう。
この対策として、ディスクフランジの軸方向の形状の精度向上のため、絞り加工前にディスクフランジとなる部分を上記変形をキャンセルするような(打ち消すような)形状に切り抜いてからプレス加工する方法がある(特許文献1参照)。
しかし、従来の自動車用ホイールディスクの製造方法にはつぎの問題点がある。
(a)材料の加工性、金型との摩擦係数などは不安定であり、成形後のディスクフランジの上記変形を十分に打ち消すことは難しい。成形後のディスクフランジの軸方向端部を切削加工等してディスクフランジの軸方向精度を向上させることも考えられるが、コスト高である。
(b)飾り穴がディスクの最外周またはその近傍まであるため、ディスクをリムに嵌合して組付けるときに、飾り穴の外周側の周縁ディスク部分(エッジ部)と、リムの嵌合部とが、齧り現象を起こしてしまう。そのため、(i)ディスクをリムに嵌合した後の補修工程を要し、生産性が悪化する。また、(ii)リムの品質低下、嵌合位置のばらつきを生じさせ、ホイールの振れ精度が悪化する。
(c)プレス成形時のスプリングバックのため、図18に示すように、ディスクフランジ1aがディスク半径方向外側に反り返る傾向にあり、図示略のリムとの密着性が低下し、リムとディスクフランジ1aとの溶接部の耐久性が低下しやすい。
特開2009−113799号公報
本発明の目的は、従来に比べて、ディスクフランジの波打ちを抑制できること、リムに嵌合するときにリムと齧り現象を起こすことを抑制できること、リムと嵌合したときにリムとの密着性を向上できること、の少なくとも1つを達成できる、自動車用ホイールディスクの製造方法を提供することにある。
上記目的を達成する本発明はつぎの通りである。
(1) 〔実施例1〜4〕
円形平板状素材に飾り穴となる穴を開けて第1の素材を得る第1の工程と、
第1の素材を、プレス加工で絞り成形してディスクフランジを有する第2の素材を得る第2の工程と、
ディスクフランジの周方向部分のうち飾り穴のディスク半径方向外側に隣接する周方向部分の軸方向端部を軸方向に押すストッパ部を有する第1の型と第2の傾斜部を有する第2の型を用いてディスクフランジの軸方向の波打ちを矯正する第3の工程と、
を有する自動車用ホイールディスクの製造方法であって、
第3の工程では、第1の型または第2の型を両型間距離が狭くなる方向にディスクフランジの軸方向に移動させて、第1の型のストッパ部でディスクフランジの軸方向端部を軸方向に押し、第2の型の第2の傾斜部でディスクフランジの飾り穴側の端部が飾り穴と反対側の端部よりも半径方向内側に変位した段付き状の移行部をディスクフランジに形成しながら該移行部を軸方向に第1の型のストッパ部側に押すことで、ディスクフランジの軸方向の波打ち形状を軸方向に波打ちの無い形状に矯正し、ディスクフランジの飾り穴側の端部が飾り穴と反対側の端部よりも半径方向内側に変位した段付き状の移行部をディスクフランジに形成する、自動車用ホイールディスクの製造方法。
(2) 〔実施例1〜4〕
第3の工程では、第1の型または第2の型を両型間距離が狭くなる方向にディスクフランジの軸方向に移動させることで、(a)第2の型の第2の傾斜部でまたは第1の型の第1の傾斜部で、ディスクフランジを半径方向に変位させてディスクフランジの飾り穴側の端部が飾り穴と反対側の端部よりも半径方向内側に変位した段付き状の移行部をディスクフランジに形成し、(b)第1の型のストッパ部でディスクフランジの軸方向端部を押し第2の型の第2の傾斜部でディスクフランジの移行部を押すことでディスクフランジの軸方向の波打ち形状を軸方向に波打ちの無い形状に矯正する、(1)記載の自動車用ホイールディスクの製造方法。
(3) 〔実施例1〕
第1の型が、ディスクフランジの半径方向内側に位置するインナー型部を有し、
第2の型が、ディスクフランジの半径方向外側に位置するアウター型部を有し、
第1の型または第2の型を両型間距離が狭くなる方向にディスクフランジの軸方向に移動させることで、第2の型の第2の傾斜部が、ディスクフランジの移行部となる部分より飾り穴側にある部分を、半径方向外側から第1の型のインナー型部に向かって押し付けて半径方向に縮径させて移行部を形成する、(2)記載の自動車用ホイールディスクの製造方法。
(4) 〔実施例2〕
第1の型が、ディスクフランジの半径方向内側に位置するインナー型部を有し、
第2の型が、ディスクフランジの半径方向外側に位置するアウター型部を有し、
第1の型または第2の型を両型間距離が狭くなる方向にディスクフランジの軸方向に移動させることで、第1の型の第1の傾斜部が、ディスクフランジの移行部となる部分より飾り穴と反体側にある部分を、半径方向内側から第2の型のアウター型部に向かって押し付けて半径方向に拡径させて移行部を形成する、(2)記載の自動車用ホイールディスクの製造方法。
(5) 〔実施例3〕
第1の型が、ディスクフランジの半径方向外側に位置するアウター型部を有し、
第2の型が、ディスクフランジの半径方向内側に位置するインナー型部を有し、
第1の型または第2の型を両型間距離が狭くなる方向にディスクフランジの軸方向に移動させることで、第2の型の第2の傾斜部が、ディスクフランジの移行部となる部分より飾り穴と反体側にある部分を、半径方向内側から第1の型のアウター型部に向かって押し付けて半径方向に拡径させて移行部を形成する、(2)記載の自動車用ホイールディスクの製造方法。
(6) 〔実施例4〕
第1の型が、ディスクフランジの半径方向外側に位置するアウター型部を有し、
第2の型が、ディスクフランジの半径方向内側に位置するインナー型部を有し、
第1の型または第2の型を両型間距離が狭くなる方向にディスクフランジの軸方向に移動させることで、第1の型の第1の傾斜部が、ディスクフランジの移行部となる部分より飾り穴側にある部分を、半径方向外側から第2の型のインナー型部に向かって押し付けて半径方向に縮径させて移行部を形成する、(2)記載の自動車用ホイールディスクの製造方法。
上記(1)の自動車用ホイールディスクの製造方法によれば、ストッパ部を有する第1の型と第2の傾斜部を有する第2の型を用いてディスクフランジの軸方向の波打ちを矯正する第3の工程を有するため、つぎの効果を得ることができる。
第1の工程で飾り穴となる穴を開けて第1の素材を得た後に、第1の素材をプレス加工で絞り成形してディスクフランジを有する第2の素材を得た場合であっても、ディスクフランジの軸方向位置の精度を向上させることができる。
また、ディスクフランジの軸方向端部を切削加工等してディスクフランジの軸方向精度を向上させる場合に比べて低コストである。
上記(2)の自動車用ホイールディスクの製造方法によれば、第3の工程では、ディスクフランジを半径方向に変位させてディスクフランジの飾り穴側の端部が飾り穴と反対側の端部よりも半径方向内側に変位した段付き状の移行部をディスクフランジに形成するため、つぎの効果を得ることができる。
ディスクをリムに嵌合して組付けるときに、飾り穴の外周側の周縁ディスク部分(エッジ部)と、リムの嵌合部とが、齧り現象を起こすことを抑制できる。その結果、齧り補修が不要になり生産性を向上でき、また、リムの品質を確保でき、また、リムへの嵌合位置のバラツキ抑制によるホイール振れ精度の向上を図ることができる。
また、プレス成形時のスプリングバックによりディスクフランジがディスク半径方向外側に反り返ることを抑制できる。そのため、ディスクフランジとリムとの密着性を従来に比べて向上でき、ディスクフランジとリムとの溶接部の耐久性が向上する。
また、上記(2)の自動車用ホイールディスクの製造方法によれば、第3の工程では、第1の型または第2の型を両型間距離が狭くなる方向にディスクフランジの軸方向に移動させることで、ディスクフランジに移行部を形成し、さらに、ディスクフランジの軸方向の波打ち形状を軸方向に波打ちの無い形状に矯正するため、プレス機を用いて第3の工程を行なうことができる。
上記(3)または(6)の自動車用ホイールディスクの製造方法によれば、ディスクフランジの移行部となる部分より飾り穴側にある部分を、半径方向に縮径させて移行部を形成することができる。
上記(4)または(5)の自動車用ホイールディスクの製造方法によれば、ディスクフランジの移行部となる部分より飾り穴と反体側にある部分を、半径方向に拡径させて移行部を形成することができる。
本発明実施例1の自動車用ホイールディスクの製造方法の工程図である。ただし、本図は、本発明実施例2〜4にも適用可能である。 本発明実施例1の自動車用ホイールディスクの製造方法の、第2の工程後第3の工程前のホイールディスクの側面図である。ただし、本図は、本発明実施例2〜4にも適用可能である。 本発明実施例1の自動車用ホイールディスクの製造方法の、第3の工程後のホイールディスクの側面図である。ただし、本図は、本発明実施例2〜4にも適用可能である。 本発明実施例1の自動車用ホイールディスクの製造方法によって製造されたホイールディスクの、リムと溶接されている状態の正面図である。ただし、本図は、本発明実施例2〜4にも適用可能である。 本発明実施例1の自動車用ホイールディスクの製造方法によって製造されたホイールディスクの、リムと溶接されている状態の断面図である。ただし、本図は、本発明実施例2〜4にも適用可能である。 図5のディスクフランジとその近傍の拡大図である。 移行部がディスクフランジの軸方向外側部分(外側端部)をディスク半径方向内側に曲げた形状である場合の、図5のディスクフランジとその近傍の拡大図である。 本発明実施例1の自動車用ホイールディスクの製造方法によって製造されたホイールディスクのスポーク部の、スポーク側壁がスポーク底壁からディスク軸方向外側に延びている場合における、ディスク半径方向と直交する面で切断したときの断面図である。ただし、本図は、本発明実施例2〜4にも適用可能である。 本発明実施例1の自動車用ホイールディスクの製造方法によって製造されたホイールディスクのスポーク部の、スポーク側壁がスポーク底壁からディスク軸方向内側に延びている場合における、ディスク半径方向と直交する面で切断したときの断面図である。ただし、本図は、本発明実施例2〜4にも適用可能である。 本発明実施例1の自動車用ホイールディスクの製造方法の、第3の工程の工程図である。 本発明実施例1の自動車用ホイールディスクの製造方法の第3の工程後の、ディスクフランジとその近傍の部分拡大断面図である。 本発明実施例2の自動車用ホイールディスクの製造方法の、第3の工程の工程図である。 本発明実施例2の自動車用ホイールディスクの製造方法の第3の工程後の、ディスクフランジとその近傍の部分拡大断面図である。 本発明実施例3の自動車用ホイールディスクの製造方法の第3の工程後の、ディスクフランジとその近傍の部分拡大断面図である。 本発明実施例4の自動車用ホイールディスクの製造方法の第3の工程後の、ディスクフランジとその近傍の部分拡大断面図である。 本発明とは異なる一般的な自動車用ホイールディスクの形状を示す断面図である。 本発明とは異なる一般的な自動車用ホイールディスクの形状を示す正面図である。 従来の自動車用ホイールディスクの、プレス成形時のスプリングバックのためディスクフランジがディスク半径方向外側に反り返った場合の、ディスクフランジとその近傍のみの部分断面図である。
以下に、図1〜図17を参照して、本発明実施例の自動車用ホイールディスクの製造方法を説明する。
図1〜図11は、本発明実施例1の自動車用ホイールディスクの製造方法を示しており、図12、図13は、本発明実施例2の自動車用ホイールディスクの製造方法を示しており、図14は、本発明実施例3の自動車用ホイールディスクの製造方法を示しており、図15は、本発明実施例4の自動車用ホイールディスクの製造方法を示している。ただし、図1〜図9は、本発明実施例1だけでなく本発明実施例2〜4にも適用可能である。
本発明全実施例にわたって共通する部分には、本発明全実施例にわたって同じ符号を付してある。
まず、本発明全実施例に共通する部分を、説明する。
まず、本発明実施例の製造方法によって製造される自動車用ホイールディスク(以下、単にホイールディスクまたはディスクともいう)10について、説明する。
ディスク10は、乗用車、トラック、バス、商用車等に用いられるホイールディスクである。ディスク10は、板(たとえば鋼板、あるいはアルミニウム、マグネシウム、チタンの合金板)から成形によって作られるディスクが対象であり、鋳造ホイールは含まない。ディスク10は、図4、図5に示すように、環状のリム(タイヤを保持する部品)20と別体に形成されてリム20に嵌合されリム20と溶接されてホイール1となる。
リム20は、図5に示すように、内側フランジ部21、内側ビードシート部22、内側サイドウォール部23、ドロップ部24、外側サイドウォール部25、外側ビードシート部26、外側フランジ部27と、を備える。内側フランジ部21、内側ビードシート部22、内側サイドウォール部23は、外側サイドウォール部25、外側ビードシート部26、外側フランジ部27よりも、ホイール1を車両に装着した際にホイール軸方向で車両の内側に近い側(軸方向内側)に位置する。
なお、成形途中の後述のディスクの素材31においても、ハブ取付け部となる部分の平面部分に対して垂直な方向を、軸方向といい、ホイール1となったときのホイール1の軸方向をいう。
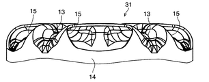
ディスク10は、ハブ穴11と、ハブ取付け部12と、スポーク部13と、ディスクフランジ14と、飾り穴15と、ディスク傾斜部17と、を有する。ディスク10は、図16、図17に示すような、一般的な自動車用ホイールディスクに採用されている、ディスク傾斜部17のディスク半径方向外側部分に周方向に連続しディスク軸方向に突出した環状突起部Zを、有していない。図4および図5において、ホイール1を車両に取り付けた場合、リム20のホイール半径方向内側かつディスク10のホイール軸方向内側には、図示略のハブおよびブレーキが配置される。
ハブ穴11は、図4に示すように、ディスク10のディスク半径方向(ホイール半径方向)中央部に設けられている。
ハブ取付け部12は、ハブ穴11の周囲に設けられている。ハブ取付け部12は、平板状又は略平板状であり、ディスク軸方向(ホイール軸方向、ホイールディスク10の軸芯)と直交またはほぼ直交する平面内にある。ハブ取付け部12のディスク半径方向中間部にはハブ取付けボルト穴12aが複数設けられている。ハブ取付けボルト穴12aは、ディスク周方向(ホイール周方向)に等間隔にたとえば5個設けられている。ただし、ハブ取付けボルト穴12aの数は、5個に限定されるものではなく、3個、4個でもよく、6個以上であってもよい。ハブから延びてくるハブ取付けボルト(両方共に図示略)をハブ取付けボルト穴12aに挿通し、ハブ取付けボルトに図示略のハブナットを螺合することにより、ディスク10(ホイール1)はハブに固定される。
スポーク部13は、図4に示すように、ハブ取付け部12からディスク傾斜部17を介してディスク半径方向外側にディスクフランジ14まで放射状に延びている。スポーク部13は、複数設けられている。スポーク部13は、ディスク周方向に等間隔にたとえば5個設けられている。ただし、スポーク部13の数は5個に限定されるものではなく、複数設けられていれば、3個、4個でもよく、6個以上であってもよい。
車両走行時にタイヤ(リム20)に横荷重が作用した場合、スポーク部13には大きな曲げモーメントが作用する。この大きな曲げモーメントによるスポーク部13の変形抑制および耐久性を向上させるため、スポーク部13は、図4に示すように、スポーク底壁13aと、スポーク側部13bと、を備える。
スポーク底壁13aは、ハブ取付け部12からディスク傾斜部17を介してディスク半径方向外側に放射状に延びている。スポーク底壁13aは、ディスク半径方向と直交する面で切断したときの断面視で、ディスク周方向(スポーク部13の幅方向)に延びている。
スポーク側部13bは、図8、図9に示すように、スポーク側壁13b1と、スポーク補強板13b2と、を有する。
スポーク側壁13b1は、スポーク底壁13aのディスク周方向両側端部から、スポーク底壁13aから離れる方向かつディスク軸方向に延びている(立ち上がっている)。スポーク側壁13b1は、図8に示すように、スポーク底壁13aからディスク軸方向外側に延びていてもよく、図9に示すように、スポーク底壁13aからディスク軸方向内側に延びていてもよい。なお、図8、図9において、Aはディスク軸方向外側を示している。なお、本発明実施例および図示例では、特にことわりの無い限り、スポーク側壁13b1がスポーク底壁13aからディスク軸方向外側に延びている場合を説明する。
スポーク補強板13b2は、図8、図9に示すように、スポーク側壁13b1のスポーク底壁13a側と反対側のディスク軸方向端部から、ディスク軸方向からディスク周方向に向かって湾曲しスポーク部13のディスク周方向幅を大にする方向にディスク周方向に延びている。
スポーク部13は、図5に示すように、ハブ取付け部12およびディスクフランジ14よりディスク軸方向外側に位置している。
スポーク側壁13b1のスポーク補強板13b2を含んだディスク軸方向幅Hは、ホイール1の剛性を効果的に向上させるために、飾り穴15のディスク半径方向内側端部の近傍部分で最大である。スポーク側壁13b1のスポーク補強板13b2を含んだディスク軸方向幅Hの最大幅は、スポーク底壁13aの板厚の2倍から20倍の範囲内にある。なお、スポーク側壁13b1のスポーク補強板13b2を含んだディスク軸方向幅Hの最大幅は、スポーク底壁13aの板厚の4倍から10倍の範囲内にあることが望ましい。その理由は、ホイール1の剛性も高く、ホイールディスク10の成形性も良いからである。
図5では、スポーク側壁13b1のディスク軸方向幅Hは、最大となる部位からディスク半径方向外側にいくにつれて狭くなっているが、部分的に広くなっていてもよい。
図5に示すように、スポーク部13に、スポーク底壁13aの一部が波打った波打ち部16が設けられている。ただし、スポーク部13に波打ち部16が設けられていなくてもよい。
ディスクフランジ14は、ディスク10のディスク半径方向外側端部(その近傍も含む)に位置する。ディスクフランジ14は、リング状であり、複数のスポーク部13のディスク半径方向外側端部をディスク周方向に連結する。ディスクフランジ14は、円筒状であり、ディスク軸方向の全長で同一またはほぼ同一の直径となっている。
図5に示すように、ディスクフランジ14は、リム20のドロップ部24でリム20と嵌合し、溶接等によりリム20に固定(接合)されている。ディスクフランジ14のホイール軸方向内側端部は、リム20のドロップ部24と内側サイドウォール部23との間をつなぐ曲線部よりホイール軸方向外側にある。
ディスクフランジ14は、飾り穴15に隣接するディスク軸方向内側の周方向位置W1(図4参照)のみでリム20に接合されていてもよく、スポーク部13のディスク半径方向外側に隣接するディスク軸方向内側の周方向位置W2(図4参照)のみでリム20に接合されていてもよく、飾り穴15とスポーク部13のディスク半径方向外側との間に隣接するディスク軸方向内側の周方向位置W3(図4参照)のみでリム20に接合されていてもよく、ディスク軸方向内側の周方向位置W1,W2,W3のうちどれか2箇所(W1とW2、または、W1とW3、あるいは、W2とW3)でリム20に接合されていてもよく、ディスク軸方向内側の周方向位置W1,W2,W3の全てでリム20に接合されていてもよい。
ディスクフランジ14が溶接によりリム20に接合される場合、溶接のディスク軸方向位置Wは、ディスクフランジ14のディスク軸方向内側(図5、図6参照)であってもよく、ディスクフランジ14のディスク軸方向外側(図示せず)であってもよく、ディスクフランジ14のディスク軸方向内側とディスク軸方向外側の両方であってもよい。
ディスクフランジ14には、図6に示すように、軸方向中間部に、飾り穴15側(ディスク軸方向外側)の端部が飾り穴15と反体側(ディスク軸方向内側)の端部よりもディスク半径方向内側に変位した段付き状の移行部14aが設けられている。なお、段付き状の移行部14aとは、図7に示すような、ディスクフランジ14の軸方向外側部分(外側端部)がディスク半径方向内側に曲げられた形状(テーパ状、傾斜状)を含む。
移行部14aは、図3、図4に示すように、ディスクフランジ14のうち飾り穴15のディスク軸方向内側端に連なるディスクフランジ14Aに設けられている。ただし、移行部14aは、ディスクフランジ14Aだけでなく(飾り穴15に対応するディスク周方向部分だけでなく)、図示はしないが、スポーク部13のディスク半径方向外側端部またはスポーク部13のディスク半径方向外側端部に連なるディスクフランジ14にも設けられていてもよい(スポーク部13に対応するディスク周方向部分にも設けられていてもよい)。移行部14aが飾り穴15に対応するディスク周方向部分だけでなくスポーク部13に対応するディスク周方向部分にも設けられている場合、移行部14aは、ディスク10の全周にわたって連続して設けられていてもよく、ディスク10の周方向に断続的に設けられていてもよい。
図6に示すように、ディスクフランジ14の、移行部14aより飾り穴15側にある部分の直径は、移行部14aより飾り穴15と反対側にある部分の直径より小さい。移行部14aによるディスクフランジ14の半径の差(移行部14aの段付きの量)d1は、ディスクフランジ14の板厚(例えば5mm、さらに一般的には、2.5mm〜8mm)より小さいことが望ましい。さらに望ましくは、段付きの量d1は、0.5mm以上でディスクフランジ14の板厚以下が望ましい。段付きの量d1が0.5mm以上でディスクフランジ14の板厚以下であると、成形も容易でかつディスクフランジ14の剛性が向上し、結果としてホイール1の耐久性が向上する。また、ディスクフランジ14の、移行部14aより飾り穴15側にある部分の直径が、移行部14aより飾り穴15と反体側にある部分の直径より小さくなっているため、リム20とディスク10の組付け時にリム20とディスク10との嵌合が容易となる。段付きの量d1が0.5mmより小さいと、リム20とディスク10との嵌合が締り嵌めとなっているため、段付きがなくなるようにディスク10が変形して、そのため段付きの効果が少なくなる。段付きの量d1がディスクフランジ14の板厚より大きくてもよいが、ディスク10の成形性が悪化するとともに、飾り穴15が小さくなり意匠性が低下する。
飾り穴15は、図4に示すように、ディスク周方向に隣り合うスポーク部13,13の間に、ディスク周方向に等間隔に、スポーク部13の数と同数設けられている。
飾り穴15のディスク半径方向外側端15aは、図6に示すように、ディスクフランジ14の最外周面よりディスク半径方向内側(ブレーキ側)にある。飾り穴15のディスク半径方向外側端15aは、飾り穴15を比較的大きくしてディスク10の意匠性を高めるために、ディスク10の最外周近傍まである。
ディスク傾斜部17は、図5に示すように、ハブ取付け部12の外周にある略円筒状(円錐台状、テーパ状)の部分である。ディスク傾斜部17は、スポーク底壁13aとハブ取付け部12とをつないでいる。ディスク傾斜部17は、ハブ取付け部12の外周部12c(図4参照)からディスク半径方向外側かつディスク軸方向外側に延びている。
つぎに、本発明全実施例に共通する自動車用ホイールディスク10の製造方法について説明する。
本発明実施例の自動車用ホイールディスク10の製造方法は、
(i)円形(略円形を含む)の平板状素材に飾り穴15となる穴30aを開けて第1の素材30を得る第1の工程(図1(a)参照)と、
(ii)第1の素材30を、プレス加工で絞り成形してディスクフランジ14を有する第2の素材31を得る第2の工程(図1(b)参照)と、
(iii)ストッパ部32aを有する第1の型32と第2の傾斜部33aを有する第2の型33を用いてディスクフランジ14の軸方向の波打ちを矯正して最終的なディスク10の形状を得る第3の工程(図1(c)参照)と、
を有する。
(i)第1の工程では、図1(a)に示すように、まず、平板状素材にプレスによる絞り加工によりスポーク部13となる部分30eを平板状素材の面直方向に変位(隆起)させる。また、プレス打ち抜きすることにより平板状素材にハブ穴11となる穴30cとハブ取付けボルト穴12aとなる穴30dを開ける。その後、プレス打ち抜きすることにより飾り穴15となる穴30aを開けて、第1の素材30を得る。
(ii)第2の工程では、図1(b)に示すように、第1の素材30の外周部にディスクフランジ14を形成する。第2の工程では、さらに第1の素材30を成形し、移行部14aを除いて最終ディスク形状と同じ形状または略同じ形状となる第2の素材31を得る。なお、移行部14aのディスク半径方向内側への変位量が大きい場合は、移行部14aの形状を第2の工程で最終ディスク形状に近づけた中間的な形状にしておくことが望ましい。
第2の素材31において、飾り穴15は第2の素材31の最外周またはその近傍まである(飾り穴15はディスクフランジ14に近接あるいはディスクフランジ14と境界を共有している)。また、第2の素材31において、ディスクフランジ14は、任意の半径方向断面で、軸方向に直線状または略直線状に延びている。
飾り穴15が第2の素材31の最外周またはその近傍まであるため、ディスクフランジ14の剛性が比較的低い。そのため、第1の工程で飾り穴15となる穴30aを開けた後に第2の工程でディスクフランジ14を絞り成形すると、材料の余りや金型との摩擦のために、ディスクフランジ14が、図2に示すように、波打つように変形してしまう。この対策として本発明では第3の工程を有する。なお、本発明では、第3の工程だけでなく、第2の工程の前に、従来の公報(特許文献1)の技術と同様に第1の素材30を、ディスクフランジ14となる部分の変形を打ち消すような形状に切り抜いていてもよい。
(iii)第3の工程は、図10、図12に示すように、プレス機40を用いて行なわれる。
プレス機40は、第1の型32と第2の型33を有する。第1の型32と第2の型33の一方が固定型であり、第1の型32と第2の型33の他方が可動型である。第1の型32と第2の型33の、互いに対向する面32c、33bの形状は、第3の工程時のディスク10の不要な変形を抑制するために、ディスク10の形状に略合わせた形状になっている。
第3の工程は、まず、(iii−1)プレス機40に第2の素材31をセットする。
ついで、(iii−2)プレス機40を作動させて、第1の型32と第2の型33の一方に軸方向にスライド可能に支持される押さえ部材34を軸方向に移動させて、押さえ部材34で第2の素材31のハブ取付け部12を、第1の型32と第2の型33の他方に押し付けて固定する。この押し付け工程は、省略してもよいが、この工程により、次工程である矯正工程(整形工程)の矯正寸法(整形寸法)が安定し、また、次工程である矯正工程で第2の素材31(ディスク10)に疵がつくことを抑制できる。
ついで、(iii−3)プレス機40を作動させて、第1の型32または第2の型33を両型間距離が狭くなる方向にディスクフランジ14の軸方向に移動させることで、(a)第2の型33の第2の傾斜部33aで(図10参照)または第1の型32の第1の傾斜部32bで(図12参照)、ディスクフランジ14を半径方向に変位させてディスクフランジ14の飾り穴15側の端部(軸方向外側端部)が飾り穴15と反対側の端部(軸方向内側端部)よりも半径方向内側に変位した移行部14aをディスクフランジ14に形成し、(b)第1の型32のストッパ部32aでディスクフランジ14の軸方向の端部を軸方向(軸方向外側または軸方向内側)に押し第2の型33の第2の傾斜部33aでディスクフランジ14の移行部14aを軸方向に第1の型32のストッパ部32a側に(軸方向に反対方向に)押すことでディスクフランジ14の軸方向の波打ち形状を軸方向に波打ちの無い形状に矯正する。
つぎに、本発明全実施例に共通する作用を説明する。
本発明実施例では、ストッパ部32aを有する第1の型32と第2の傾斜部33aを有する第2の型33を用いてディスクフランジ14の軸方向の波打ちを矯正する第3の工程を有するため、つぎの作用を得ることができる。
第1の工程で飾り穴15となる穴30aを開けて第1の素材30を得た後に、第1の素材30をプレス加工で絞り成形してディスクフランジ14を有する第2の素材31を得た場合であっても、ディスクフランジ14の軸方向位置の精度を向上させることができる。
また、ディスクフランジ14の軸方向端部を切削加工等してディスクフランジ14の軸方向精度を向上させる場合に比べて低コストである。
第3の工程では、ディスクフランジ14を半径方向に変位させてディスクフランジ14の飾り穴15側の端部(軸方向外側端部)が飾り穴15と反対側の端部(軸方向内側端部)よりも半径方向内側に変位した移行部14aをディスクフランジ14に形成するため、つぎの作用を得ることができる。
ディスク10をリム20に嵌合して組付けるときに、飾り穴15の外周側の周縁ディスク部分(エッジ部)と、リム20の嵌合部とが、齧り現象を起こすことを抑制できる。その結果、齧り補修が不要になり生産性を向上でき、また、リム20の品質を確保でき、また、リム20への嵌合位置のバラツキ抑制によるホイール振れ精度の向上を図ることができる。
また、プレス成形時のスプリングバックによりディスクフランジ14がディスク半径方向外側に反り返ることを抑制できる。そのため、ディスクフランジ14とリム20との密着性を従来に比べて向上でき、ディスクフランジ14とリム20との溶接部の耐久性が向上する。
第3の工程では、第1の型32または第2の型33を両型間距離が狭くなる方向にディスクフランジ14の軸方向に移動させることで、ディスクフランジ14に移行部14aを形成し、さらに、ディスクフランジ14の軸方向の波打ち形状を軸方向に波打ちの無い形状に矯正するため、プレス機40を用いて第3の工程を行なうことができる。
つぎに、本発明各実施例に特有な部分を説明する。
〔実施例1〕(図1〜図11)
本発明実施例1では、以下のようになっている。
第1の型32が、ディスクフランジ14の半径方向内側に位置するインナー型部32dを有する。第2の型33が、ディスクフランジ14の半径方向外側に位置するアウター型部33cを有する。
図10に示すように、第3の工程において、ディスクフランジ14が嵌まり込む第1の型32のディスクフランジ嵌まり込み部32hの外径は、第2の素材31のディスクフランジ14の内径と同じかまたはわずかに小さくなっている。そのため、第1の型32に第2の素材31を容易に精度よくセットできる。ただし、押さえ部材34で第2の素材31を押さえることにより容易に第1の型32にセットできるのであれば、第2の素材31のディスクフランジ14の変形(真円からのズレ)により、ディスクフランジ嵌まり込み部32hの直径より第2の素材31のディスクフランジ14の内径が部分的に小さくてもよい。また、第2の型33のフランジ外径保持部33jの内径は、第2の素材31のディスクフランジ14の外径と同じまたはわずかに大きくなっている。フランジ外径保持部33jから第2の傾斜部33aが径方向内側かつ第1の型32と反対側(軸方向外側)に延びている。第2の傾斜部33aの最も径方向内側部分は、第2の素材31のディスクフランジ14の外径より径方向内側である。
第3の工程では、第1の型32または第2の型33を両型間距離が狭くなる方向にディスクフランジ14の軸方向に移動させることで、図11に示すように、(a)第2の型33の第2の傾斜部33aでディスクフランジ14を半径方向内側に変位させてディスクフランジ14に移行部14aを形成し、さらに、(b)第1の型32のストッパ部32aでディスクフランジ14の飾り穴15と反対側の軸方向端部(軸方向内側端部)を軸方向外側に押し第2の型33の第2の傾斜部33aでディスクフランジ14の移行部14aを軸方向に第1の型32のストッパ部32a側に(軸方向内側に、軸方向に反対方向に)押すことでディスクフランジ14の軸方向の波打ち形状を軸方向に波打ちの無い形状に矯正する。
第1の型32または第2の型33を両型間距離が狭くなる方向にディスクフランジ14の軸方向に移動させることで、第2の型33の第2の傾斜部33aが、ディスクフランジ14の移行部14aとなる部分より飾り穴15側にある部分14b(および移行部14aとなる部分)を、半径方向外側から第1の型32のインナー型部32dに向かって押し付けて半径方向に縮径させて移行部14aを形成する。
なお、図11における矢印は、第2の型33の第2の傾斜部33aからディスクフランジ14にかかる力の方向を表している。
本発明実施例1では、つぎの特有な作用を得ることができる。
第3の工程では、第1の型32のストッパ部32aでディスクフランジ14の飾り穴15と反対側の軸方向端部(軸方向内側端部)を押し第2の型33の第2の傾斜部33aでディスクフランジ14の移行部14aあるいは移行部14aとなる部分を押すことでディスクフランジ14の軸方向の波打ち形状を軸方向に波打ちの無い形状に矯正するため、第1の型32または第2の型33がディスクフランジ14の飾り穴15側の端部(軸方向外側端部)を直接押して矯正する場合と異なり、ディスクフランジ14の軸方向の波打ちを矯正するときに第1の型32と第2の型33とが互いに干渉してしまうことを抑制できる。
ディスクフランジ14の移行部14aとなる部分より飾り穴15側にある部分14b(および移行部14aとなる部分)を、半径方向に縮径させて移行部14aを形成することができる。ディスクフランジ14の移行部14aとなる部分より飾り穴15側にある部分14b(および移行部14aとなる部分)を半径方向に縮径させるので、ディスクフランジ14の円筒度(反り返り)を改善することができる。
〔実施例2〕(図12、図13)
本発明実施例2では、以下のようになっている。
第1の型32が、ディスクフランジ14の半径方向内側に位置するインナー型部32eを有する。第2の型33が、ディスクフランジ14の半径方向外側に位置するアウター型部33dを有する。
第1の型32のディスクフランジ嵌まり込み部32hの外径は、第2の素材31のディスクフランジ14の内径より大きくなっている。ディスクフランジ嵌まり込み部32hから第1の傾斜部32bが径方向内側かつ第2の型33の側(軸方向外側)に延びている。第1の傾斜部32bの最も径方向内側部分は、第2の素材31のディスクフランジ14の内径とほぼ同じ径方向位置である。また、第2の型33のフランジ外径保持部33jの内径は、第2の素材31のディスクフランジ14の外径と同じまたはわずかに大きくなっている。そのため、第2の型33に第2の素材31を容易に精度よくセットできる。また、第2の型33のフランジ外径保持部33jの内径は、第2の素材31のディスクフランジ14の外径と同じまたはわずかに大きくなっている。フランジ外径保持部33jから第2の傾斜部33aが径方向外側かつ第1の型32の側(軸方向内側)に延びている。第2の傾斜部33aの最も径方向外側部分は、第2の素材31のディスクフランジ14の外径より径方向外側である。
第3の工程では、第1の型32または第2の型33を両型間距離が狭くなる方向にディスクフランジ14の軸方向に移動させることで、図13に示すように、(a)第1の型33の第1の傾斜部32bでディスクフランジ14を半径方向外側に変位させてディスクフランジ14に移行部14aを形成し、(b)第1の型32のストッパ部32aでディスクフランジ14の飾り穴15と反対側の軸方向端部(軸方向内側端部)を軸方向外側に押し第2の型33の第2の傾斜部33aでディスクフランジ14の移行部14aを軸方向に第1の型32のストッパ部32a側に(軸方向内側に、軸方向に反対方向に)押すことでディスクフランジ14の軸方向の波打ち形状を軸方向に波打ちの無い形状に矯正する。
第1の型32または第2の型33を両型間距離が狭くなる方向にディスクフランジ14の軸方向に移動させることで、第1の型32の第1の傾斜部32bが、ディスクフランジ14の移行部14aとなる部分より飾り穴15と反体側(軸方向内側)にある部分14c(および移行部14aとなる部分)を、半径方向内側から第2の型33のアウター型部33dに向かって押し付けて半径方向に拡径させて移行部14aを形成する。
なお、図13における矢印は、第1の型32の第1の傾斜部32bからディスクフランジ14にかかる力の方向を表している。
本発明実施例2では、つぎの特有な作用を得ることができる。
第3の工程では、第1の型32のストッパ部32aでディスクフランジ14の飾り穴15と反対側の軸方向端部(軸方向内側端部)を押し第2の型33の第2の傾斜部33aでディスクフランジ14の移行部14aあるいは移行部14aとなる部分を押すことでディスクフランジ14の軸方向の波打ち形状を軸方向に波打ちの無い形状に矯正するため、第1の型32または第2の型33がディスクフランジ14の飾り穴15側の端部(軸方向外側端部)を直接押して矯正する場合と異なり、ディスクフランジ14の軸方向の波打ちを矯正するときに第1の型32と第2の型33とが互いに干渉してしまうことを抑制できる。
ディスクフランジ14の移行部14aとなる部分より飾り穴15と反体側にある部分14c(および移行部14aとなる部分)を、半径方向に拡径させて移行部14aを形成することができる。
ディスクフランジ14を半径方向に拡径させることにより、ディスクフランジ14の真円度、円筒度(反り返り)を改善することができる。
〔実施例3〕(図14)
本発明実施例3では、以下のようになっている。
第1の型32が、ディスクフランジ14の半径方向外側に位置するアウター型部32fを有する。第2の型33が、ディスクフランジ14の半径方向内側に位置するインナー型部33eを有する。
第3の工程において、ディスクフランジ14が嵌まり込む第2の型33のディスクフランジ嵌まり込み部33hの外径は、第2の素材31のディスクフランジ14の内径より大きくなっている。また、第1の型32のフランジ外径保持部32jの内径は、第2の素材31のディスクフランジ14の外径と同じまたはわずかに大きくなっている。そのため、第1の型32に第2の素材31を容易に精度よくセットできる。フランジ外径保持部32jから第1の傾斜部32bが径方向外側かつ第2の型33の側(軸方向内側)に延びている。第1の傾斜部32bの最も径方向外側部分は、第2の素材31のディスクフランジ14の外径より径方向外側である。
第3の工程では、第1の型32または第2の型33を両型間距離が狭くなる方向にディスクフランジ14の軸方向に移動させることで、図14に示すように、(a)第2の型33の第2の傾斜部33aでディスクフランジ14を半径方向に変位させてディスクフランジ14に移行部14aを形成し、(b)第1の型32のストッパ部32aでディスクフランジ14の飾り穴15側の軸方向端部(軸方向外側端部)を軸方向内側に押し第2の型33の第2の傾斜部33aでディスクフランジ14の移行部14aを軸方向に第1の型32のストッパ部32a側に(軸方向外側に、軸方向に反対方向に)押すことでディスクフランジ14の軸方向の波打ち形状を軸方向に波打ちの無い形状に矯正する。
第1の型32または第2の型33を両型間距離が狭くなる方向にディスクフランジ14の軸方向に移動させることで、第2の型33の第2の傾斜部33aが、ディスクフランジ14の移行部14aとなる部分より飾り穴15と反体側(軸方向内側)にある部分14c(および移行部14aとなる部分)を、半径方向内側から第1の型32のアウター型部32fに向かって押し付けて半径方向に拡径させて移行部14aを形成する。
なお、図14における矢印は、第2の型33の第2の傾斜部33aからディスクフランジ14にかかる力の方向を表している。
本発明実施例3では、つぎの特有な作用を得ることができる。
ディスクフランジ14の移行部14aとなる部分より飾り穴15と反体側にある部分14c(および移行部14aとなる部分)を、半径方向に拡径させて移行部14aを形成することができる。
ディスクフランジ14を半径方向に拡径させることにより、ディスクフランジ14の真円度、円筒度(反り返り)を改善することができる。
〔実施例4〕(図15)
本発明実施例4では、以下のようになっている。
第1の型32が、ディスクフランジ14の半径方向外側に位置するアウター型部32gを有する。第2の型33が、ディスクフランジ14の半径方向内側に位置するインナー型部33fを有する。
第3の工程において、ディスクフランジ14が嵌まり込む第2の型33のディスクフランジ嵌まり込み部33hの外径は、第2の素材31のディスクフランジ14の内径と同じかまたはわずかに小さくなっている。そのため、第2の型33に第2の素材31を容易に精度よくセットできる。ただし、押さえ部材34で第2の素材31を押さえることにより、容易に第2の型33にセットできるのであれば、第2の素材31のディスクフランジ14の変形(真円からのズレ)により、ディスクフランジ嵌まり込み部33hの直径より第2の素材31のディスクフランジ14の内径が部分的に小さくてもよい。また、第1の型32のフランジ外径保持部32jの内径は、第2の素材31のディスクフランジ14の外径と同じまたはわずかに大きくなっている。フランジ外径保持部32jから第1の傾斜部32bが径方向内側かつ第2の型33と反対側(軸方向外側)に延びている。第1の傾斜部32bの最も径方向内側部分は、第2の素材31のディスクフランジ14の外径より径方向内側である。
第3の工程では、第1の型32または第2の型33を両型間距離が狭くなる方向にディスクフランジ14の軸方向に移動させることで、図15に示すように、(a)第1の型33の第1の傾斜部32bでディスクフランジ14を半径方向に変位させてディスクフランジ14に移行部14aを形成し、(b)第1の型32のストッパ部32aでディスクフランジ14の飾り穴15側の軸方向端部(軸方向外側端部)を軸方向内側に押し第2の型33の第2の傾斜部33aでディスクフランジ14の移行部14aを軸方向に第1の型32のストッパ部32a側に(軸方向外側に、軸方向に反対方向に)押すことでディスクフランジ14の軸方向の波打ち形状を軸方向に波打ちの無い形状に矯正する。
第1の型32または第2の型33を両型間距離が狭くなる方向にディスクフランジの軸方向に移動させることで、第1の型32の第1の傾斜部32bが、ディスクフランジ14の移行部14aとなる部分より飾り穴15側(軸方向外側)にある部分14b(および移行部14aとなる部分)を、半径方向外側から第2の型33のインナー型部33fに向かって押し付けて半径方向に縮径させて移行部14aを形成する。
なお、図15における矢印は、第1の型32の第1の傾斜部32bからディスクフランジ14にかかる力の方向を表している。
本発明実施例4では、つぎの特有な作用を得ることができる。
ディスクフランジ14の移行部14aとなる部分より飾り穴15側にある部分14b(および移行部14aとなる部分)を、半径方向に縮径させて移行部14aを形成することができる。ディスクフランジ14の移行部14aとなる部分より飾り穴15側にある部分14b(および移行部14aとなる部分)を半径方向に縮径させるので、ディスクフランジ14の円筒度(反り返り)を改善することができる。
1 ホイール
10 ディスク
11 ハブ穴
12 ハブ取付け部
12a ハブ取付けボルト穴
13 スポーク部
13a スポーク底壁
13b スポーク側部
13b1 スポーク側壁
13b2 スポーク補強板
14 ディスクフランジ
14a 移行部
15 飾り穴
17 傾斜部
20 リム
21 内側フランジ部
22 内側ビードシート部
23 内側サイドウォール部
24 ドロップ部
25 外側サイドウォール部
26 外側ビードシート部
27 外側フランジ部
30 第1の素材
30a 飾り穴となる穴
31 第2の素材
32 第1の型
32a ストッパ部
32b 第1の傾斜部
32c 第1の型の、第2の型との対向面
32d、32e インナー型部
32f、32g アウター型部
32h 第1の型のディスクフランジ嵌まり込み部
33h 第2の型のディスクフランジ嵌まり込み部
33 第2の型
33a 第2の傾斜部
33b 第2の型の、第1の型との対向面
33c、33d アウター型部
33e、33f インナー型部
34 押さえ部材
40 プレス機

Claims (1)

  1. 円形平板状素材に飾り穴となる穴を開けて第1の素材を得る第1の工程と、
    第1の素材を、プレス加工で絞り成形してディスクフランジを有する第2の素材を得る第2の工程と、
    ディスクフランジの周方向部分のうち飾り穴のディスク半径方向外側に隣接する周方向部分の軸方向端部を軸方向に押すストッパ部を有する第1の型と第2の傾斜部を有する第2の型を用いてディスクフランジの軸方向の波打ちを矯正する第3の工程と、
    を有する自動車用ホイールディスクの製造方法であって、
    第3の工程では、第1の型または第2の型を両型間距離が狭くなる方向にディスクフランジの軸方向に移動させて、第1の型のストッパ部でディスクフランジの軸方向端部を軸方向に押し、第2の型の第2の傾斜部でディスクフランジの飾り穴側の端部が飾り穴と反対側の端部よりも半径方向内側に変位した段付き状の移行部をディスクフランジに形成しながら該移行部を軸方向に第1の型のストッパ部側に押すことで、ディスクフランジの軸方向の波打ち形状を軸方向に波打ちの無い形状に矯正し、ディスクフランジの飾り穴側の端部が飾り穴と反対側の端部よりも半径方向内側に変位した段付き状の移行部をディスクフランジに形成する、自動車用ホイールディスクの製造方法。
JP2014104917A 2014-05-21 2014-05-21 自動車用ホイールディスクの製造方法 Active JP5794651B2 (ja)

Priority Applications (1)

Application Number Priority Date Filing Date Title
JP2014104917A JP5794651B2 (ja) 2014-05-21 2014-05-21 自動車用ホイールディスクの製造方法

Applications Claiming Priority (1)

Application Number Priority Date Filing Date Title
JP2014104917A JP5794651B2 (ja) 2014-05-21 2014-05-21 自動車用ホイールディスクの製造方法

Related Parent Applications (1)

Application Number Title Priority Date Filing Date
JP2010129916A Division JP5575551B2 (ja) 2010-06-07 2010-06-07 自動車用ホイールディスクの製造方法

Publications (2)

Publication Number Publication Date
JP2014169078A JP2014169078A (ja) 2014-09-18
JP5794651B2 true JP5794651B2 (ja) 2015-10-14

Family

ID=51691816

Family Applications (1)

Application Number Title Priority Date Filing Date
JP2014104917A Active JP5794651B2 (ja) 2014-05-21 2014-05-21 自動車用ホイールディスクの製造方法

Country Status (1)

Country Link
JP (1) JP5794651B2 (ja)

Family Cites Families (3)

* Cited by examiner, † Cited by third party
Publication number Priority date Publication date Assignee Title
JP4130786B2 (ja) * 2003-07-16 2008-08-06 中央精機株式会社 自動車用スチールホイールディスクの製造方法
US7587825B2 (en) * 2006-02-01 2009-09-15 Hayes Lemmerz International, Inc. Method for producing a wheel disc
US7895752B2 (en) * 2007-10-19 2011-03-01 Topy Kogyo Kabushiki Kaisha Spoked wheel disk manufacturing method and spoked wheel

Also Published As

Publication number Publication date
JP2014169078A (ja) 2014-09-18

Similar Documents

Publication Publication Date Title
JP5057602B2 (ja) 車両用ホイール
JP5394197B2 (ja) 自動車用ホイールディスク
JP5612339B2 (ja) 自動車用ホイール
JP4397049B2 (ja) スポーク状ホイールディスクの製造方法及びスポーク状ホイール
JP6357096B2 (ja) 自動車用ホイールディスクとその製造方法
JP5770212B2 (ja) 自動車用ホイール
JP6125998B2 (ja) 車両用ホイールディスク
WO2011074065A1 (ja) 自動車用ホイール
WO2012039194A1 (ja) 自動車用ホイール
JP5755495B2 (ja) 自動車用ホイール
JP5575551B2 (ja) 自動車用ホイールディスクの製造方法
JP5794651B2 (ja) 自動車用ホイールディスクの製造方法
JP5548566B2 (ja) 自動車用ホイールディスクの製造方法
JP5452593B2 (ja) 自動車用ホイール
JP6727778B2 (ja) 車両用ホイールディスク
JP5495808B2 (ja) 自動車用ホイールディスク
JP5819905B2 (ja) 自動車用ホイール
JP5214827B2 (ja) 車両用ホイール
JP5592197B2 (ja) 自動車用ホイール
WO2018138895A1 (ja) 車両用ホイール
ITTO20060527A1 (it) "metodo di realizzazione per una ruota in lega leggera e ruota realizzata in accordo con tale metodo"

Legal Events

Date Code Title Description
A977 Report on retrieval

Free format text: JAPANESE INTERMEDIATE CODE: A971007

Effective date: 20150128

A131 Notification of reasons for refusal

Free format text: JAPANESE INTERMEDIATE CODE: A131

Effective date: 20150303

A521 Request for written amendment filed

Free format text: JAPANESE INTERMEDIATE CODE: A523

Effective date: 20150427

TRDD Decision of grant or rejection written
A01 Written decision to grant a patent or to grant a registration (utility model)

Free format text: JAPANESE INTERMEDIATE CODE: A01

Effective date: 20150805

A61 First payment of annual fees (during grant procedure)

Free format text: JAPANESE INTERMEDIATE CODE: A61

Effective date: 20150806

R150 Certificate of patent or registration of utility model

Ref document number: 5794651

Country of ref document: JP

Free format text: JAPANESE INTERMEDIATE CODE: R150

R250 Receipt of annual fees

Free format text: JAPANESE INTERMEDIATE CODE: R250

R250 Receipt of annual fees

Free format text: JAPANESE INTERMEDIATE CODE: R250