WO2013108492A1 - 硬貨処理装置 - Google Patents

硬貨処理装置 Download PDF

Info

Publication number
WO2013108492A1
WO2013108492A1 PCT/JP2012/080787 JP2012080787W WO2013108492A1 WO 2013108492 A1 WO2013108492 A1 WO 2013108492A1 JP 2012080787 W JP2012080787 W JP 2012080787W WO 2013108492 A1 WO2013108492 A1 WO 2013108492A1
Authority
WO
WIPO (PCT)
Prior art keywords
coin
discharge port
coins
opening
annular rib
Prior art date
Legal status (The legal status is an assumption and is not a legal conclusion. Google has not performed a legal analysis and makes no representation as to the accuracy of the status listed.)
Ceased
Application number
PCT/JP2012/080787
Other languages
English (en)
French (fr)
Japanese (ja)
Inventor
一夫 末冨
箭野 達也
Current Assignee (The listed assignees may be inaccurate. Google has not performed a legal analysis and makes no representation or warranty as to the accuracy of the list.)
Oki Electric Industry Co Ltd
Original Assignee
Oki Electric Industry Co Ltd
Priority date (The priority date is an assumption and is not a legal conclusion. Google has not performed a legal analysis and makes no representation as to the accuracy of the date listed.)
Filing date
Publication date
Application filed by Oki Electric Industry Co Ltd filed Critical Oki Electric Industry Co Ltd
Priority to IN5864DEN2014 priority Critical patent/IN2014DN05864A/en
Priority to BR112014017370A priority patent/BR112014017370A8/pt
Priority to US14/372,447 priority patent/US8992292B2/en
Publication of WO2013108492A1 publication Critical patent/WO2013108492A1/ja
Anticipated expiration legal-status Critical
Ceased legal-status Critical Current

Links

Images

Classifications

    • GPHYSICS
    • G07CHECKING-DEVICES
    • G07DHANDLING OF COINS OR VALUABLE PAPERS, e.g. TESTING, SORTING BY DENOMINATIONS, COUNTING, DISPENSING, CHANGING OR DEPOSITING
    • G07D3/00Sorting a mixed bulk of coins into denominations
    • G07D3/14Apparatus driven under control of coin-sensing elements
    • GPHYSICS
    • G07CHECKING-DEVICES
    • G07DHANDLING OF COINS OR VALUABLE PAPERS, e.g. TESTING, SORTING BY DENOMINATIONS, COUNTING, DISPENSING, CHANGING OR DEPOSITING
    • G07D9/00Counting coins; Handling of coins not provided for in the other groups of this subclass

Definitions

  • the present invention relates to a coin processing apparatus, and more particularly to a coin processing apparatus that conveys coins and discharges them from a desired discharge port.
  • a coin processing device that manages coins in a register installed in a store or the like is used. After receiving the coin, the coin processing device recognizes the coin and determines the denomination. Then, the coin processing device sorts coins according to the determination result and discharges them from a desired discharge port.
  • the coin processing device opens and closes, for example, a rotating member that conveys coins on a conveyance path by rotating, a discharge port that is provided in the conveyance path, and a coin is dropped. And an opening / closing member. Then, with the opening / closing member opening the discharge port, the coins conveyed by the rotating member are dropped and discharged (see Patent Document 1 (Japanese Patent Laid-Open No. 2011-108100)).
  • this invention is made
  • the place made into the objective of this invention is to be able to discharge
  • a rotating member that conveys coins on a conveying path by rotating, and the coins that are provided in the conveying path and are conveyed by the rotating member are Between a falling discharge port, a closed position that closes the discharge port, and an open position that opens the discharge port so that the coins fall, centering on the rotation axis on the downstream side in the transport direction of the discharge port
  • An opening / closing member that rotates, and the rotating member has an annular rib that is annularly provided along a circumferential direction at an outer peripheral portion, and a notch portion formed at a bottom portion of the annular rib,
  • the coin on the transport path is transported, the open position is a position intersecting the annular rib, and the opening / closing member is adjacent to the annular rib in the radial direction of the rotating member when positioned at the open position.
  • the rotation member is allowed to rotate Characterized Rukoto, coin handling apparatus is provided.
  • the opening / closing member rotates around the rotation shaft on the downstream side in the transport direction of the discharge port and is located at the open position intersecting the annular rib.
  • the opening / closing member is positioned next to the annular rib in the radial direction of the rotating member, and allows the rotating member to rotate.
  • the rotation member can continue to rotate, so that the rotation member can drop the coin from the discharge port while rotating. Therefore, according to said coin processing apparatus, the coin conveyed by the rotation member can be quickly discharged
  • the opening / closing member includes: a first opening / closing plate positioned on the center side of the annular rib in the radial direction of the rotating member; and a second opening / closing plate positioned on the outer side of the annular rib in the radial direction.
  • the first opening / closing plate and the second opening / closing plate may intersect the annular rib at the open position.
  • the notch is notched to a predetermined depth, and is further deeply cut at a coin transport unit that transports the coin, and a portion on the downstream side in the transport direction of the coin transport unit, and the coin is inserted into the discharge port. It is good also as having an escape part into which a part of the above-mentioned coin can enter when falling incline.
  • the annular rib is provided with a plurality of notches at a predetermined interval along the circumferential direction, and the annular rib is located between the notched portions adjacent in the circumferential direction, It is good also as having further the 2nd notch part whose notch amount is smaller than a notch part. *
  • the discharge port is a first discharge port for discharging genuine coins, and is provided on the upstream side in the transport direction from the first discharge port in the circumferential direction, and at least one of reject coins and foreign matters is discharged.
  • a second discharge port, and a third discharge port that is provided downstream of the first discharge port in the circumferential direction in the circumferential direction and from which coins that have not been discharged from the first discharge port are discharged. Furthermore, it is good also as providing.
  • An optical system provided between the second discharge port and the first discharge port in the circumferential direction and capable of detecting at least one of the reject coin and the foreign matter to be discharged at the second discharge port.
  • a sensor, and a magnetic sensor provided between the first discharge port and the third discharge port in the circumferential direction and capable of detecting the genuine coin to be discharged at the first discharge port. It is also good.
  • an adhesive member in which an adhesive layer is formed on a substrate may be further provided, and the adhesive member may be bonded to the annular rib via the adhesive layer so as to cover the outer periphery of the annular rib.
  • the rotating member, the discharge port, and the opening / closing member constitute a part of a sorting unit that sorts the coins, and further includes a recognition unit that recognizes the coins sorted by the sorting unit.
  • the unit may further include a carry-in port into which the coin recognized by the recognition unit is carried.
  • the coins conveyed by the rotating member can be quickly discharged from the discharge port during the rotation of the rotating member.
  • FIG. 5 is a schematic diagram for explaining the positional relationship among coin discharge ports 450a to 450f, a first reject port 461, and a second reject port 462. It is a perspective view which shows the discharge port opening-and-closing plate 470a and a periphery structure. It is a schematic diagram which shows the opening / closing position of the discharge port opening / closing plate 470a. It is a figure which shows the rejection port guide 476 and the periphery structure. It is a figure which shows the flow carried in into the coin selection part 40, after a coin is recognized in the coin recognition part 30.
  • FIG. 5 is a schematic diagram for explaining the positional relationship among coin discharge ports 450a to 450f, a first reject port 461, and a second reject port 462. It is a perspective view which shows the discharge port opening-and-closing plate 470a and a periphery structure. It is a schematic diagram which shows the opening / closing position of the discharge port opening / closing plate 470a. It is
  • FIG. 1st rejection port 461 It is a figure explaining the flow through which a coin passes the 1st rejection port 461.
  • FIG. It is a figure explaining the flow in which a coin is discharged
  • FIG. 1 is a schematic cross-sectional view of a coin processing apparatus 10 according to the first embodiment as viewed from the front.
  • FIG. 2 is a schematic cross-sectional view of the coin processing apparatus 10 according to the first embodiment as viewed from the side.
  • the coin processing apparatus 10 manages coins handled by a register installed in a store or the like, for example.
  • the coin processing apparatus 10 accepts coins in a lump, and then recognizes the coins to determine the denomination. Thereafter, the coin processing device 10 sorts coins for each denomination according to the determination result, and dispenses the sorted coins.
  • the coin processing device 10 includes a coin feeding unit 20, a coin recognition unit 30 that is an example of a recognition unit, a coin sorting unit 40 that is an example of a sorting unit, and a reject coin storage unit. 50, a denomination hopper 60, a transfer gate 70, a coin dispensing box 80, a coin collection box 84, and a control unit 90.
  • the coin feeding unit 20 receives the coins C that have been put together and stores them once.
  • the coin feeding unit 20 feeds the coins C to be received one by one to the coin recognition unit 30.
  • the detailed configuration of the coin feeding unit 20 will be described later.
  • the coin recognition unit 30 recognizes the coin C fed from the coin feeding unit 20. For example, the coin recognition unit 30 determines whether the coin is true or false, the denomination, and the like. The coin recognition unit 30 conveys the recognized coin C to the coin sorting unit 40. The detailed configuration of the coin recognition unit 30 will be described later.
  • the coin sorting unit 40 sorts and discharges the coin C based on the recognition result by the coin recognition unit 30 while conveying the coin C.
  • the coin sorting unit 40 has a reject port 461 and coin discharge ports 450a to 450f.
  • the reject port 461 is a discharge port that discharges reject coins recognized as fake coins and foreign matters such as dust.
  • the coin discharge ports 450a to 450f are discharge ports for discharging normal coins recognized as true coins by denomination.
  • the denomination means, for example, six kinds of 1 yen, 5 yen, 10 yen, 50 yen, 100 yen, and 500 yen coin in Japan. The detailed configuration of the coin sorting unit 40 will be described later.
  • the reject coin storage unit 50 stores reject coins that have passed through the reject port 461 and foreign matters such as dust.
  • the reject coin storage unit 50 has a door 51 that can be opened and closed on the front surface of the coin processing apparatus 10. The operator opens the door 51 and collects the reject coins and the like stored in the reject coin storage unit 50.
  • the money type hopper 60 accommodates normal coins that have passed through the coin discharge ports 450a to 450f in money type.
  • six (type-specific hoppers 61a to 61f) are provided as the type-dedicated hoppers 60.
  • each of the denomination hoppers 61a to 61f is disposed as an example below the corresponding coin denomination outlets 450a to 450f.
  • the denomination hoppers 61a to 61f have means for feeding coins C one by one to the transfer gate 70.
  • the transfer gate 70 is provided for each of the denomination hoppers 61a to 61f, and branches the transfer destination of the coin C fed out from the denomination hoppers 61a to 61f.
  • the transfer gate 70 branches as a transfer destination into a route indicated by an arrow T and a route indicated by an arrow U in FIG.
  • the coin dispensing box 80 accommodates coins to be dispensed.
  • the coins conveyed by the route indicated by the arrow T by the conveyance gate 70 are accommodated.
  • the coin dispensing box 80 may have a plurality of small boxes that store coins by denomination.
  • the coin collection box 84 accommodates coins to be collected.
  • coins conveyed by the route of the arrow U by the conveyance gate 70 are accommodated.
  • the control unit 90 controls the overall operation of the coin processing apparatus 10.
  • the control unit 90 includes a control unit (not shown) that controls the operation of each component described above, and a storage unit (not shown) that stores programs executed by the control unit and various data.
  • FIG. 3 is a schematic plan view showing the coin feeding unit 20, the coin recognizing unit 30, and the coin sorting unit 40 according to the first embodiment.
  • FIG. 4 is a schematic cross-sectional view showing the coin feeding unit 20, the coin recognizing unit 30, and the coin sorting unit 40 according to the first embodiment.
  • the coin feeding unit 20 receives the coins C input in a lump and feeds them one by one to the coin recognition unit 30. As shown in FIGS. 3 and 4, the coin feeding unit 20 includes a coin receiving unit 210, a storage unit 220, a rotating disk 230, and a disk driving unit 240.
  • the coin receiving unit 210 is a part that receives the coin C to be inserted into the coin feeding unit 20.
  • the coin receiving unit 210 has an insertion port 212 into which a coin C is inserted.
  • the coin C inserted from the insertion port 212 falls into the storage unit 220 due to its own weight.
  • the input port 212 is wide open so that a large amount of coins C can be input all at once.
  • the accommodating part 220 is a part for accommodating the coin C dropped from the coin receiving part 210.
  • a rotating disk 230 is provided in the accommodating part 220 (accommodating space), and the inner peripheral surface of the accommodating part 220 is formed in a shape along the outer periphery of the rotating disk 230 so that the rotating disk 230 can rotate.
  • the storage unit 220 can store a predetermined amount of coins C.
  • a passage port 222 for making the coin C face the coin recognition unit 30 is provided on the side surface of the storage unit 220. The width and height of the passage opening 222 are formed so that the coins C can pass one by one.
  • the rotating disk 230 is a circular member provided in the housing unit 220 and guides the coin C to the coin recognition unit 30 by rotating.
  • the rotating disk 230 is located directly below the coin receiving unit 210, and the coins of the coin receiving unit 210 fall on the rotating disk 230.
  • the rotating disk 230 receives the rotational driving force of the disk driving unit 240 and rotates in a predetermined rotational direction. In response to the centrifugal force generated by the rotation of the rotating disk 230, the coins on the rotating disk 230 move to the side surface side (the outer peripheral side of the rotating disk 230) of the accommodation unit 220 and pass through the passage port 222.
  • the disk drive unit 240 is a drive unit that rotates the rotary disk 230 in a predetermined rotation direction.
  • the disk drive unit 240 includes a disk motor 242 and a gear train 244.
  • the disk motor 242 transmits the rotational driving force via the gear train 244 and rotates the rotating shaft 232 attached to the rotating disk 230.
  • the rotating disk 230 also rotates in the same direction as the rotating direction of the rotating shaft 232.
  • the coin recognition unit 30 recognizes the coin C fed from the coin feeding unit 20. As shown in FIGS. 3 and 4, the coin recognition unit 30 includes a conveyance path 310, a delivery roller 320, a conveyance belt 330, and a recognition sensor 340.
  • the conveyance path 310 is provided between the coin feeding unit 20 and the coin sorting unit 40 and is a passage through which the coin C is conveyed.
  • the conveyance path 310 is, for example, a plate-shaped conveyance plate, and has a conveyance surface that conveys the coins C.
  • the feeding roller 320 is a pair of rollers that feeds the coin C that has passed through the passage port 222 of the coin feeding unit 20 toward the transport belt 330.
  • the delivery roller 320 receives the driving force of the delivery drive unit 322 and delivers the coins C while holding them one by one.
  • the conveying belt 330 conveys the coin C by rotating in a state where the coin C fed by the feeding roller 320 is sandwiched between the conveying surfaces of the conveying path 310.
  • the conveyor belt 330 is stretched by a pair of pulleys 332 and rotates in conjunction with the rotation of the pulleys 332.
  • the pulley 332 rotates in response to the driving force of the belt driving unit 334.
  • the recognition sensor 340 recognizes the authenticity and denomination of the coin C being transported by the transport belt 330. Specifically, the recognition sensor 340 recognizes the authenticity of the coin C by determining the diameter, material, thickness of the coin C, the presence or absence of a hole on the center side of the coin C, and the like.
  • the recognition sensor 340 is an optical sensor, for example, and can discriminate foreign matters such as dust in addition to the denomination of the coin C.
  • the recognition sensor 340 outputs the recognition result to the control unit 90. Based on the recognition result of the recognition sensor 340, the control unit 90 controls the coins recognized by the coin sorting unit 40 to be discharged from the reject port or the coin discharge port.
  • the coin sorting unit 40 sorts and discharges the coin C based on the recognition result by the coin recognition unit 30 while conveying the coin C.
  • the coin sorting unit 40 includes a sorting housing 410, a rotating disk 420 that is an example of a rotating member, a disk driving unit 430, a position detecting unit 440, and an example of a first discharge port.
  • the coin sorting unit 40 includes discharge port opening / closing plates 470a to 470f, reject port opening / closing plates 474, a reject port guide 476, a carry-in detection sensor 480, a foreign matter detection sensor 482, a coin, and the like. Detection sensors 484a to 484f.
  • the sorting housing 410 is a cylindrical member, and includes a housing bottom surface 412 and a side wall 414.
  • the housing bottom surface 412 is set at substantially the same position as the transport surface of the transport path 310 of the coin recognition unit 30. Thereby, the coins conveyed through the conveyance path 310 are easily carried into the sorting housing 410.
  • the housing bottom surface 412 is formed with coin discharge ports 450a to 450f, a first reject port 461, and a second reject port 462.
  • the rotating disk 420 is a resin disk-shaped member, and conveys coins on the sorting housing 410 by rotating.
  • the rotating disk 420 is provided in the sorting housing 410 and rotates horizontally on the housing bottom surface 412.
  • the rotating disk 420 receives the rotational driving force of the disk drive unit 430 and rotates in a predetermined rotation direction about the rotating shaft 426 fixed to the rotating disk 420.
  • FIG. 5 is a perspective view of the rotating disk 420 according to the first embodiment as viewed from above.
  • FIG. 6 is a perspective view of the rotating disk 420 according to the first embodiment as viewed from below.
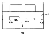
  • FIG. 7 is an enlarged view of a portion A in FIG. 6, and is a view showing the conveyance notch 424.
  • the rotating disc 420 conveys coins on the conveying path 418 (FIG. 9) of the housing bottom surface 412 by rotating.
  • the rotating disk 420 includes a disk portion 421, an annular rib 422, a connecting portion 423, a conveyance notch portion 424, and a light weight notch portion 425.
  • the disc part 421 is a flat part located on the center side of the rotating disk 420.
  • the disc portion 421 is disposed in the sorting housing 410 so as to be parallel to the housing bottom surface 412.
  • a fitting portion 421a that fits the rotating shaft 426 is provided.
  • the annular rib 422 is a rib provided annularly in the circumferential direction on the outer peripheral portion of the rotating disk 420.
  • the annular rib 422 is provided at a predetermined interval from the disc portion 421 in the radial direction of the rotating disk 420.
  • the width of the annular rib 422 in the axial direction of the rotating disk 420 is larger than the radial width (thickness) of the rotating disk 420 of the rib.
  • the connecting portion 423 is a plate-like portion that connects the side surface of the disc portion 421 and the annular rib 422.
  • the connecting portions 423 are provided at predetermined intervals along the circumferential direction of the rotating disk 420. That is, the connecting portions 423 are arranged radially when viewed from the center of the rotating disk 420.
  • the conveyance notch 424 is a notch formed at the bottom of the annular rib 422. As shown in FIGS. 5 and 6, a plurality of conveyance notches 424 are provided at predetermined intervals along the circumferential direction.
  • the conveyance notch 424 conveys coins one by one while holding the coins as the rotary disk 420 rotates. As illustrated in FIG. 7, the conveyance notch 424 includes a holding unit 424 a that is an example of a coin conveyance unit, a conveyance wall 424 b, and an escape portion 424 c.
  • the holding portion 424a is a portion cut out in a rectangular shape and conveys the coin while keeping the behavior of the coin as the rotating disk 420 rotates.
  • the circumferential width of the holding portion 424a is set to be slightly larger than the diameter of the largest diameter coin among the plurality of coins having different diameters.
  • the depth of the holding portion 424a is set to be approximately the same as the thickness of the coin.
  • the conveyance wall 424b conveys the coin while pushing the coin while contacting the coin while the rotary disk 420 is rotating.
  • the conveyance wall 424 a is a wall on the downstream side in the conveyance direction of the rotary disk 420 in the conveyance notch 424.
  • the escape portion 424c is a portion that is further deeply cut out at a portion on the downstream side in the transport direction of the holding portion 424a. That is, the conveyance notch 424 is formed in a step shape as shown in FIG.
  • the coins conveyed by the conveying wall 424b fall obliquely into the coin discharge ports 450a to 450f (or the first reject port 461 and the second reject port 462), a part of the coins is placed in the escape portion 424c. It is possible to enter. Thereby, when a coin falls in a discharge port, it can prevent being pinched between the walls of the both sides of the conveyance notch part 424, and being locked.
  • the lightweight cutout portion 425 is a cutout portion for reducing the weight of the rotating disk 420.
  • the cutout amount of the lightweight cutout portion 425 is smaller than the cutout amount of the transport cutout portion 424.
  • the lightweight notch 425 is formed between two conveying notches 424 adjacent in the circumferential direction. That is, the light-weight notch portions 425 and the conveyance notch portions 424 are alternately provided in the circumferential direction.
  • the shape of the rotating disk 420 is not limited to the above configuration.
  • the shape shown in FIG. FIG. 8 is a perspective view of a rotating disk 520 according to a modification as seen from above.
  • the rotating disk 520 according to the modified example is different in the structure of the rotating disk 420 and the disk portion 421 described above, but the other structures are the same.
  • the configuration of the disc portion 521 of the rotating disk 520 according to the modification will be described.
  • a large number of holes 521b and reinforcing ribs 521c are formed in the disc portion 521 according to the modification.
  • the four holes 521b are formed in a radial manner when viewed from the center (fitting portion 521a) of the disc portion 521 and in the radial direction.
  • the reinforcing rib 521c is formed along the radial direction. Then, by providing a large number of holes 521b, the rotating disk 520 can be reduced in weight. Then, by reducing the weight of the rotating disk 520, the stop position of the rotating disk 520 can be easily controlled.
  • each hole 521b is set to be smaller than the diameter of the coin having the smallest possible diameter.
  • the disk drive unit 430 is a drive unit that drives the rotary disk 420 to rotate. As shown in FIG. 4, the disk drive unit 430 includes a disk motor 432 and a gear train 434. The disk motor 432 transmits the rotational driving force via the gear train 434 and rotates the rotating shaft 426. As a result, the rotating disk 420 to which the rotating shaft is fixed also rotates in the same direction as the rotating direction of the rotating shaft 426. The disk drive unit 430 transmits the rotational driving force so that the rotating disk 420 rotates intermittently.
  • the position detection unit 440 is a member for detecting the rotational position of the rotary disk 420. As illustrated in FIG. 3, the position detection unit 440 includes a cylindrical member 442 and a detection sensor 444.
  • the cylindrical member 442 is provided coaxially on the rotating disk 420.
  • a plurality of slits 443 are provided on the upper surface of the cylindrical member 442 at a predetermined pitch angle.
  • the detection sensor 444 is a sensor that detects passage of the slit 443 when the rotary disk 420 is rotated.
  • the detection sensor 444 is, for example, an optical sensor having a light emitting unit and a light receiving unit that are arranged to face each other with the cylindrical member 442 interposed therebetween.
  • the coin discharge ports 450 a to 450 f are discharge ports formed on the housing bottom surface 412 of the sorting housing 410.
  • Different coins of different denominations for example, 1-yen, 5-yen, 10-yen, 50-yen, 100-yen, and 500-yen genuine coins
  • the six coin outlets 450a to 450f while the rotary disk 420 is rotating. Fall. Thereby, it becomes possible to withdraw coins by denomination.
  • FIG. 9 is a schematic diagram for explaining the positional relationship between the coin discharge ports 450a to 450f, the first reject port 461, and the second reject port 462.
  • the coin discharge ports 450 a to 450 f are formed in the conveyance path 418 of the housing bottom surface 412 at a predetermined interval along the conveyance direction of the rotary disk 420.
  • the openings of the coin discharge ports 450a to 450f are set larger than the coin having the largest diameter.
  • the center of each coin discharge port and the annular rib 422 are located at substantially the same position. As a result, the coins conveyed by the annular rib 422 can easily fall into the coin discharge ports 450a to 450f.
  • guides are provided on both sides of the transport path 418, and coins are transported along the transport path 418 as the rotating disk 420 rotates.
  • the present invention is not limited to this and may be five or less.
  • the first reject port 461 is a discharge port formed in the transport path 418 of the sorting housing 410. As shown in FIG. 9, the first reject port 461 is located upstream of the six coin discharge ports 450a to 450f in the conveying direction (circumferential direction) of the rotary disk 420.
  • the first reject port 461 is a discharge port for discharging reject coins recognized as fake coins by the coin recognition unit 30 and foreign matters such as dust. By ejecting rejected coins and foreign matter at the first reject port 461 located on the upstream side in the transport direction from the coin discharge ports 450a to 450f, the reject coins and foreign matter are erroneously discharged from the coin discharge ports 450a to 450f. Can be prevented. (Second reject port 462)
  • the second reject port 462 is a discharge port formed in the transport path 418 of the sorting housing 410. As shown in FIG. 9, the second reject port 462 is located downstream of the six coin discharge ports 450a to 450f in the conveying direction (circumferential direction) of the rotary disk 420.
  • the second reject port 462 is a discharge port that discharges coins that have passed through the coin discharge ports 450a to 450f when coins that are supposed to be discharged from the coin discharge ports 450a to 450f are not discharged from the coin discharge ports 450a to 450f. is there.
  • the second reject port 462 it is possible to prevent the coin sorting unit 40 from clogging (so-called jam phenomenon) with coins that have not been discharged from the coin discharge ports 450a to 450f.
  • discharge port opening / closing plates 470a to 470f The discharge port opening / closing plates 470a to 470f open and close the corresponding coin discharge ports 450a to 450f by rotating around the rotation shaft 471d (see FIG. 11).
  • the discharge port opening / closing plates 470a to 470f rotate between a closed position that closes the corresponding coin discharge ports 450a to 450f and an open position that opens the corresponding coin discharge ports 450a to 450f.
  • FIG. 10 is a perspective view showing the configuration of the discharge opening / closing plate 470a and the surroundings.
  • FIG. 11 is a schematic diagram showing the opening / closing position of the discharge port opening / closing plate 470a.
  • the discharge port opening / closing plate 470a is formed in a bifurcated shape as shown in FIG. 10, and includes a first plate portion 471a that is an example of a second opening / closing plate, and a second plate portion 471b that is an example of a first opening / closing plate.
  • first plate portion 471a is located outside the annular rib 422 in the radial direction
  • second plate portion 471b is located closer to the center than the annular rib 422 in the radial direction.
  • the distance between the circular plate portion 421 and the annular rib 422 in the radial direction is larger than the width of the second plate portion 471b.
  • the discharge port opening / closing plate 470a (the first plate portion 471a and the second plate portion 471b) rotates around a rotation shaft 471d located on the downstream side in the transport direction of the coin discharge port 450a, as shown in FIG.
  • the discharge port opening / closing plate 470a rotates to close the coin discharge port 450a (a position indicated by a broken line in FIG. 11) and an open position (a position indicated by a solid line in FIG. 11) to open the coin discharge port 450a.
  • the discharge port opening / closing plate 470a When the discharge port opening / closing plate 470a is located at the closed position, the first plate portion 471a and the second plate portion 471b block the coin discharge port 450a, so that the coin is not discharged from the coin discharge port 450a. It passes over the discharge opening / closing plate 470a.
  • the discharge port opening / closing plate 470a when the discharge port opening / closing plate 470a is located at the open position, the first plate portion 471a and the second plate portion 471b open the coin discharge port 450a, so that the coin falls into the coin discharge port 450a. Discharged.
  • the first plate portion 471a and the second plate portion 471b intersect the annular rib 422. Note that the discharge port opening / closing plate 470a also has a function of guiding coins that fall into the coin discharge port 450a.
  • the tip portions of the first plate portion 471a and the second plate portion 471b are vertically moved as shown in FIG. It is located above the annular rib 422 in the direction.
  • the rotating disk 420 can continue to rotate. For this reason, the rotating disk 420 can rotate the coins to the coin discharge port 450a while rotating, and can speed up the coin sorting and discharging process.
  • reject port opening / closing plate 474 As shown in FIG. 14, the reject opening / closing plate 474 opens and closes the first reject opening 461 by rotating.
  • the reject port opening / closing plate 474 rotates between a closed position that closes the first reject port 461 and an open position that opens the first reject port 461.
  • the configuration and operation of the reject port opening / closing plate 474 are the same as the configuration and operation of the discharge port opening / closing plate 470a described above, and thus detailed description thereof is omitted.
  • the reject port opening / closing plate 474 When the reject port opening / closing plate 474 is located at the closed position, the coins conveyed by the rotating disk 420 pass over the reject port opening / closing plate 474. When the reject port opening / closing plate 474 is in the open position, reject coins and foreign matter conveyed by the rotating disk 420 are guided by the reject port opening / closing plate 474 and fall to the first reject port 461 and discharged. Is done.
  • the reject port guide 476 guides coins that fall into the second reject port 462. Unlike the reject port opening / closing plate 474 that opens and closes, the reject port guide 476 is a fixed guide. The reason that the reject port guide 476 is a fixed guide is that all the coins reaching the second reject port 462 are discharged, and therefore a configuration for closing the second reject port 462 is unnecessary.
  • FIG. 12 is a diagram showing the configuration of the reject port guide 476 and the surroundings.
  • the carry-in detection sensor 480 is provided in the vicinity of the carry-in port 415 shown in FIG. 4, and detects the coin C carried into the coin sorting unit 40 from the carry-in port 415.
  • the carry-in detection sensor 480 is, for example, a magnetic sensor.
  • the foreign matter detection sensor 482 detects whether or not a reject coin or foreign matter that should be discharged from the first reject port 461 is actually discharged from the first reject port 461. As shown in FIG. 3, the foreign matter detection sensor 482 is positioned between the first reject port 461 and the coin discharge port 450a in the coin transport direction of the rotary disk 420.
  • the foreign matter detection sensor 482 is, for example, an optical sensor. Thereby, not only reject coins but also foreign matters such as dust can be detected. When the reject coin or foreign matter is discharged from the first reject port 461, the foreign matter detection sensor 482 does not detect the reject coin or foreign matter. On the other hand, when the reject coin or foreign matter is not discharged from the first reject port 461, the foreign matter detection sensor 482 detects the reject coin or foreign matter that has passed through the first reject port 461.
  • a foreign matter detection sensor is not provided on the downstream side of the second reject port 462 in the transport direction. This is because, unlike the first reject port 461, all coins and the like that have reached the second reject port 462 are discharged from the second reject port 462, and there are no coins that pass through the second reject port 462. .
  • Coin detection sensors 484a to 484f detect whether or not a coin to be discharged from one corresponding coin discharge port among the six coin discharge ports 450a to 450f is actually discharged from one coin discharge port.
  • the six coin detection sensors 484a to 484f are provided on the downstream side in the transport direction of the corresponding coin discharge ports 450a to 450f, as shown in FIG.
  • the coin detection sensor 484a is provided between the coin discharge port 450a and the coin discharge port 450b in the conveyance direction of the rotary disk 420.
  • the coin detection sensors 484a to 484f are, for example, magnetic sensors, unlike the foreign matter detection sensor 482 which is an optical sensor.
  • the one coin detection sensor located on the downstream side in the transport direction of the one coin outlet does not detect the coin.
  • one coin detection sensor detects a coin that has passed through one coin discharge port.
  • the types of sensors suitable for the detection target are used, so that highly accurate detection is possible.
  • FIG. 13 is a diagram illustrating a flow in which coins are carried into the coin sorting unit 40 after the coins are recognized by the coin recognition unit 30.
  • the coin pushed out to the conveyance path 310 is conveyed by the conveyance belt 330, and the authenticity or denomination of the coin is recognized by the recognition sensor 340 as shown in FIG.
  • the recognition sensor 340 outputs the recognition result to the control unit 90.
  • the control unit 90 determines a coin discharge port for discharging the recognized coin among the six coin discharge ports 450a to 450f.
  • the recognized coins are further transported by the transport belt 330 and are carried into the sorting housing 410 from the carry-in port 415 of the coin sorting unit 40 as shown in FIG. At this time, the rotating disk 420 of the coin sorting unit 40 stops rotating.
  • the coins carried into the sorting housing 410 are detected by the carry-in detection sensor 480 as shown in FIG. Then, when a coin is detected by the carry-in detection sensor 480, the rotating disk 420 resumes rotating as shown in FIGS. 13 (d) and 13 (e). Thereby, the annular rib 422 of the rotating disk 420 conveys coins.
  • the coins conveyed by the rotating disk 420 are discharged from the coin discharge port determined by the control unit 90.
  • the coin recognition unit 30 and the coin sorting unit 40 of the present embodiment are arranged separately, the coin is carried into the coin sorting unit 40 even if processing time by the recognition sensor 340 is required. Until then, the coin outlet can be determined. Thereby, compared with the case where the recognition sensor is provided in the coin sorting unit, the coin discharge port can be arranged in the vicinity of the carry-in port, so that the coin sorting unit can be downsized.
  • FIG. 14 is a diagram for explaining the flow of coins passing through the first reject port 461. Since the coin is not discharged from the first reject port 461, the reject port opening / closing plate 474 is located at the closed position for closing the first reject port 461, as shown in FIG. Then, as shown in FIG. 14B, the coins conveyed by the rotating disk 420 pass over the reject opening / closing plate 474 located at the closed position. Thereafter, the coin passes over the foreign matter detection sensor 482. The rotating disk 420 stops rotating when the coin is positioned on the foreign matter detection sensor 482. Then, when the rotating disk 420 is stopped, the next coin is carried in.
  • FIG. 15 is a diagram for explaining the flow of coins discharged from the coin outlet 450a. Since the coin is discharged from the coin discharge port 450a, the discharge port opening / closing plate 470a is located at an open position for opening the coin discharge port 450a, as shown in FIG. Then, as shown in FIG. 15B, the coins transported by the rotating disk 420 begin to fall into the coin discharge port 450a while the rotating disk 420 is rotating. At this time, after a part of the coin temporarily enters the escape portion 424c, it falls to the coin outlet 450a.
  • the coins are dropped and discharged to the coin discharge port 450a.
  • the coin detection sensor 484a does not detect the coin.
  • the control unit 90 detects that the coin was discharged
  • the coin detection sensor 484a detects a coin, it outputs a detection result to the control unit 90. Coins that have not been discharged from the coin discharge port 450a are subsequently conveyed by the rotating disk 420 and discharged from the second reject port 462.
  • the coin processing device 10 performs the above-described processing on all the inserted coins. Then, when the recognition and sorting of coins that have been thrown in are completed, this operation is completed.
  • the discharge port opening / closing plates 470a to 470f are rotated about the rotation shaft 471d on the downstream side in the transport direction of the coin discharge ports 450a to 450f and are opened so as to intersect with the annular rib 422. Located in position. Thereby, even when the discharge port opening / closing plates 470a to 470f are rotated from the closed position to the open position, the coins easily fall into the coin discharge ports 450a to 450f. As a result, the coins can be appropriately discharged even if the rotation speed of the rotary disk 420 is high and the opening / closing operations of the discharge port opening / closing plates 470a to 470f are slow.
  • the discharge port opening / closing plates 470a to 470f are positioned at the open position, the discharge port opening / closing plates 470a to 470f are positioned next to the annular rib 422 in the radial direction of the rotating disk 420 to allow the rotating disk 420 to rotate.
  • the rotation disc 420 can continue to rotate, so that the rotation disc 420 can drop coins from the coin discharge ports 450a to 450f while rotating. It becomes.
  • the same effect can be achieved with respect to the reject opening / closing plate 474 that opens and closes the first reject opening 461. That is, reject coins and foreign matter fall from the first reject port 461 while the rotary disk 420 is rotating. Therefore, according to the coin processing apparatus 10 described above, the coins conveyed by the rotary disk 420 can be quickly discharged from the coin discharge ports 450a to 450f and the first reject port 461 while the rotary disk 420 is rotating.
  • FIG. 16 is a perspective view of the rotating disk 620 according to the second embodiment as viewed from above.
  • FIG. 17 is a view showing the film member 630.
  • a film member 630 which is an example of an adhesive member is wound around the rotating disk 520 according to the modification of the first embodiment shown in FIG. The difference is that they are bonded together. Since the other structure of the rotating disk 620 is the same as that of the rotating disk 520, detailed description of the other structure is omitted.
  • the film member 630 covers the outer periphery of the annular rib 422 of the rotating disk 620 along the circumferential direction of the rotating disk 620.
  • the film member 630 includes a base material 631 and an adhesive layer 633.
  • the base 631 is made of a resin film such as a PET film.
  • the adhesive layer 633 is made of, for example, a double-sided tape. The adhesive layer 633 is formed in almost all regions of the base material 631.
  • the film member 630 and the annular rib 422 are bonded by an adhesive layer 633.
  • the adhesive layer 633 has the following functions in addition to the function of bonding the film member 630 and the annular rib 422. That is, even if a part of the annular rib 422 is cracked, it is possible to prevent the cracked part from being separated from the annular rib 422 by holding the part of the adhesive layer 633 that is cracked. For this reason, the conveyance performance of the coin of the annular rib 422 can be maintained. In addition, since the coin processing apparatus 10 is regularly maintained, the rotating disk 620 in which a part of the annular rib 422 is broken is replaced.
  • the rotating disk 620 is made of, for example, polycarbonate (PC). Thereby, it can suppress that the rotary disk 620 scrapes. As a result, it is possible to prevent a malfunction of the rotating disk 620 due to disk scraping.
  • PC polycarbonate
  • the discharge port opening / closing plates 470a to 470f have the first plate portion 471a and the second plate portion 471b located on both sides of the annular rib 422 in the radial direction of the rotating disk 420, but are not limited thereto.
  • the discharge port opening / closing plates 470a to 470f may have only one of the first plate portion 471a and the second plate portion 471b.

Landscapes

  • Physics & Mathematics (AREA)
  • General Physics & Mathematics (AREA)
  • Testing Of Coins (AREA)
  • Slot Machines And Peripheral Devices (AREA)
  • Control Of Vending Devices And Auxiliary Devices For Vending Devices (AREA)
PCT/JP2012/080787 2012-01-16 2012-11-28 硬貨処理装置 Ceased WO2013108492A1 (ja)

Priority Applications (3)

Application Number Priority Date Filing Date Title
IN5864DEN2014 IN2014DN05864A (enExample) 2012-01-16 2012-11-28
BR112014017370A BR112014017370A8 (pt) 2012-01-16 2012-11-28 dispositivo de processamento de moeda
US14/372,447 US8992292B2 (en) 2012-01-16 2012-11-28 Coin processing device

Applications Claiming Priority (2)

Application Number Priority Date Filing Date Title
JP2012005964A JP5692100B2 (ja) 2012-01-16 2012-01-16 硬貨処理装置
JP2012-005964 2012-01-16

Publications (1)

Publication Number Publication Date
WO2013108492A1 true WO2013108492A1 (ja) 2013-07-25

Family

ID=48798929

Family Applications (1)

Application Number Title Priority Date Filing Date
PCT/JP2012/080787 Ceased WO2013108492A1 (ja) 2012-01-16 2012-11-28 硬貨処理装置

Country Status (5)

Country Link
US (1) US8992292B2 (enExample)
JP (1) JP5692100B2 (enExample)
BR (1) BR112014017370A8 (enExample)
IN (1) IN2014DN05864A (enExample)
WO (1) WO2013108492A1 (enExample)

Families Citing this family (9)

* Cited by examiner, † Cited by third party
Publication number Priority date Publication date Assignee Title
JP6393977B2 (ja) * 2013-11-26 2018-09-26 沖電気工業株式会社 硬貨処理装置
JP6531721B2 (ja) * 2015-07-29 2019-06-19 株式会社村田製作所 電子部品搬送用テーブル、特性測定装置、選別装置およびテーピング装置
US20170270735A1 (en) * 2016-03-16 2017-09-21 Glory Ltd. Coin handling apparatus
CN106228674B (zh) * 2016-06-12 2019-04-30 东南大学 硬币分离计数与辨识装置及方法
JP7179293B2 (ja) * 2019-03-14 2022-11-29 ローレルバンクマシン株式会社 硬貨処理装置
JP2020160858A (ja) * 2019-03-27 2020-10-01 グローリー株式会社 硬貨処理装置
KR102203230B1 (ko) * 2019-04-12 2021-01-13 은남표 불량주화 선별수단을 가진 주화계수장치
EP4498341A4 (en) * 2022-03-23 2025-06-18 Fujitsu Frontech Limited Coin handling device and money deposit and withdrawal device
WO2026019197A1 (ko) * 2024-07-16 2026-01-22 (주)클로닉스 칩 처리 장치

Citations (4)

* Cited by examiner, † Cited by third party
Publication number Priority date Publication date Assignee Title
JP2002150348A (ja) * 2000-11-14 2002-05-24 Glory Ltd 硬貨選別装置
JP2007172478A (ja) * 2005-12-26 2007-07-05 Laurel Seiki Kk 硬貨処理機
JP2009157823A (ja) * 2007-12-27 2009-07-16 Oki Electric Ind Co Ltd 硬貨処理装置
JP2011108100A (ja) * 2009-11-19 2011-06-02 Oki Electric Industry Co Ltd 硬貨処理装置

Family Cites Families (1)

* Cited by examiner, † Cited by third party
Publication number Priority date Publication date Assignee Title
EP1321905A4 (en) 2000-09-18 2007-07-25 Glory Kogyo Kk MONITOR OF COINS AND DEVICE FOR INTRODUCING PARTS

Patent Citations (4)

* Cited by examiner, † Cited by third party
Publication number Priority date Publication date Assignee Title
JP2002150348A (ja) * 2000-11-14 2002-05-24 Glory Ltd 硬貨選別装置
JP2007172478A (ja) * 2005-12-26 2007-07-05 Laurel Seiki Kk 硬貨処理機
JP2009157823A (ja) * 2007-12-27 2009-07-16 Oki Electric Ind Co Ltd 硬貨処理装置
JP2011108100A (ja) * 2009-11-19 2011-06-02 Oki Electric Industry Co Ltd 硬貨処理装置

Also Published As

Publication number Publication date
JP5692100B2 (ja) 2015-04-01
US20150011145A1 (en) 2015-01-08
BR112014017370A8 (pt) 2017-07-04
BR112014017370A2 (pt) 2017-06-13
JP2013145488A (ja) 2013-07-25
IN2014DN05864A (enExample) 2015-05-22
US8992292B2 (en) 2015-03-31

Similar Documents

Publication Publication Date Title
JP5692100B2 (ja) 硬貨処理装置
US10282931B2 (en) Coin depositing and dispensing machine
JP5775776B2 (ja) 硬貨繰出装置、硬貨入出金機および硬貨繰出方法
WO2018101414A1 (ja) 硬貨処理装置
US8986083B2 (en) Coin feeding device and coin handling machine
EP3706084B1 (en) Apparatus for discrimination and conveyance of coins
JP5510240B2 (ja) 硬貨処理装置
JP5601245B2 (ja) 硬貨処理装置
JP6056586B2 (ja) 硬貨処理装置
JP6547619B2 (ja) 硬貨処理装置
JP5513322B2 (ja) 硬貨処理装置
KR101673532B1 (ko) 지폐 계수기
JP6065775B2 (ja) 硬貨処理装置、及び硬貨搬送方法
JP2012108735A (ja) 硬貨処理装置
JP5589795B2 (ja) 硬貨処理装置
JP6500325B2 (ja) 硬貨処理装置
JP6167865B2 (ja) 硬貨処理装置、及び硬貨処理方法
WO2018101173A1 (ja) 硬貨繰出装置
JP5985715B2 (ja) 硬貨繰出装置、硬貨入出金機および硬貨繰出方法
JP2018092258A (ja) 硬貨繰出装置
JP2018092257A (ja) 硬貨繰出装置
JP6187193B2 (ja) 硬貨処理装置
JP2587545B2 (ja) 硬貨整理装置
JP2015103057A (ja) 硬貨処理装置
JP2014102721A (ja) 硬貨処理装置

Legal Events

Date Code Title Description
121 Ep: the epo has been informed by wipo that ep was designated in this application

Ref document number: 12865888

Country of ref document: EP

Kind code of ref document: A1

WWE Wipo information: entry into national phase

Ref document number: 14372447

Country of ref document: US

REG Reference to national code

Ref country code: BR

Ref legal event code: B01A

Ref document number: 112014017370

Country of ref document: BR

122 Ep: pct application non-entry in european phase

Ref document number: 12865888

Country of ref document: EP

Kind code of ref document: A1

NENP Non-entry into the national phase

Ref country code: DE

ENP Entry into the national phase

Ref document number: 112014017370

Country of ref document: BR

Kind code of ref document: A2

Effective date: 20140715