WO2013061813A1 - エアロールユニット - Google Patents

エアロールユニット Download PDF

Info

Publication number
WO2013061813A1
WO2013061813A1 PCT/JP2012/076604 JP2012076604W WO2013061813A1 WO 2013061813 A1 WO2013061813 A1 WO 2013061813A1 JP 2012076604 W JP2012076604 W JP 2012076604W WO 2013061813 A1 WO2013061813 A1 WO 2013061813A1
Authority
WO
WIPO (PCT)
Prior art keywords
shaft
air
collar
bearing
roll unit
Prior art date
Legal status (The legal status is an assumption and is not a legal conclusion. Google has not performed a legal analysis and makes no representation as to the accuracy of the status listed.)
Ceased
Application number
PCT/JP2012/076604
Other languages
English (en)
French (fr)
Japanese (ja)
Inventor
琢哉 平山
智士 上田
Current Assignee (The listed assignees may be inaccurate. Google has not performed a legal analysis and makes no representation or warranty as to the accuracy of the list.)
Oiles Corp
Oiles Industry Co Ltd
Original Assignee
Oiles Corp
Oiles Industry Co Ltd
Priority date (The priority date is an assumption and is not a legal conclusion. Google has not performed a legal analysis and makes no representation as to the accuracy of the date listed.)
Filing date
Publication date
Application filed by Oiles Corp, Oiles Industry Co Ltd filed Critical Oiles Corp
Priority to CN201280052166.7A priority Critical patent/CN103890419B/zh
Publication of WO2013061813A1 publication Critical patent/WO2013061813A1/ja
Anticipated expiration legal-status Critical
Ceased legal-status Critical Current

Links

Images

Classifications

    • FMECHANICAL ENGINEERING; LIGHTING; HEATING; WEAPONS; BLASTING
    • F16ENGINEERING ELEMENTS AND UNITS; GENERAL MEASURES FOR PRODUCING AND MAINTAINING EFFECTIVE FUNCTIONING OF MACHINES OR INSTALLATIONS; THERMAL INSULATION IN GENERAL
    • F16CSHAFTS; FLEXIBLE SHAFTS; ELEMENTS OR CRANKSHAFT MECHANISMS; ROTARY BODIES OTHER THAN GEARING ELEMENTS; BEARINGS
    • F16C13/00Rolls, drums, discs, or the like; Bearings or mountings therefor
    • F16C13/02Bearings
    • FMECHANICAL ENGINEERING; LIGHTING; HEATING; WEAPONS; BLASTING
    • F16ENGINEERING ELEMENTS AND UNITS; GENERAL MEASURES FOR PRODUCING AND MAINTAINING EFFECTIVE FUNCTIONING OF MACHINES OR INSTALLATIONS; THERMAL INSULATION IN GENERAL
    • F16CSHAFTS; FLEXIBLE SHAFTS; ELEMENTS OR CRANKSHAFT MECHANISMS; ROTARY BODIES OTHER THAN GEARING ELEMENTS; BEARINGS
    • F16C32/00Bearings not otherwise provided for
    • F16C32/06Bearings not otherwise provided for with moving member supported by a fluid cushion formed, at least to a large extent, otherwise than by movement of the shaft, e.g. hydrostatic air-cushion bearings
    • F16C32/0603Bearings not otherwise provided for with moving member supported by a fluid cushion formed, at least to a large extent, otherwise than by movement of the shaft, e.g. hydrostatic air-cushion bearings supported by a gas cushion, e.g. an air cushion
    • F16C32/0614Bearings not otherwise provided for with moving member supported by a fluid cushion formed, at least to a large extent, otherwise than by movement of the shaft, e.g. hydrostatic air-cushion bearings supported by a gas cushion, e.g. an air cushion the gas being supplied under pressure, e.g. aerostatic bearings
    • F16C32/0618Bearings not otherwise provided for with moving member supported by a fluid cushion formed, at least to a large extent, otherwise than by movement of the shaft, e.g. hydrostatic air-cushion bearings supported by a gas cushion, e.g. an air cushion the gas being supplied under pressure, e.g. aerostatic bearings via porous material

Definitions

  • the air roll unit when the air roll unit is in operation, if the air supply to the air bearing is shut off due to a failure or an excessive impact is applied to the roll, the air bearing and the shaft come into contact with each other and the shaft is damaged. Sometimes. Depending on the degree of damage, the shaft must be replaced. In particular, when the roll and the shaft are integrally formed, when replacing the shaft, the roll must also be replaced at the same time, which increases the cost.
  • an air roll unit 1 includes a roll 2 having a shaft 21, a cylindrical collar 3 attached to the shaft 21, and an air bearing 4 that supports the collar 3 in a non-contact manner.
  • a thrust plate 5 that restricts the movement of the air bearing 4 in the thrust direction
  • a detent plate 6 that prevents the collar 3 from rotating relative to the shaft 21, and a housing 7 that holds the air bearing 4. .
  • the air bearing 4 is attached to the collar 3 so that the flange 43 and the flange 32 of the collar 3 face each other.
  • the collar 3 can be supported in the radial direction without contact (specifically, a compressed air layer L1 for a radial bearing described later between the outer peripheral surface 35 of the collar 3 and the inner peripheral surface 44 of the air bearing 4). 9)
  • the inner diameter r5 of the air bearing 4 is set to be larger than the outer diameter r3 of the collar 3 by twice the thickness of the radial air compression compressed air layer L1.
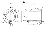
  • FIG. 8A is a front view of the housing 7, and FIG. 8B is a cross-sectional view taken along the line FF of FIG. 8A.

Landscapes

  • Engineering & Computer Science (AREA)
  • General Engineering & Computer Science (AREA)
  • Mechanical Engineering (AREA)
  • Chemical & Material Sciences (AREA)
  • Dispersion Chemistry (AREA)
  • Magnetic Bearings And Hydrostatic Bearings (AREA)
  • Rolls And Other Rotary Bodies (AREA)
PCT/JP2012/076604 2011-10-26 2012-10-15 エアロールユニット Ceased WO2013061813A1 (ja)

Priority Applications (1)

Application Number Priority Date Filing Date Title
CN201280052166.7A CN103890419B (zh) 2011-10-26 2012-10-15 空气辊单元

Applications Claiming Priority (2)

Application Number Priority Date Filing Date Title
JP2011-235514 2011-10-26
JP2011235514A JP5997428B2 (ja) 2011-10-26 2011-10-26 エアロールユニット

Publications (1)

Publication Number Publication Date
WO2013061813A1 true WO2013061813A1 (ja) 2013-05-02

Family

ID=48167646

Family Applications (1)

Application Number Title Priority Date Filing Date
PCT/JP2012/076604 Ceased WO2013061813A1 (ja) 2011-10-26 2012-10-15 エアロールユニット

Country Status (2)

Country Link
JP (1) JP5997428B2 (enExample)
WO (1) WO2013061813A1 (enExample)

Families Citing this family (3)

* Cited by examiner, † Cited by third party
Publication number Priority date Publication date Assignee Title
JP6387254B2 (ja) * 2014-06-23 2018-09-05 オイレス工業株式会社 軸受装置およびロール装置
JP2016041946A (ja) * 2014-08-15 2016-03-31 オイレス工業株式会社 ロール装置
KR102413815B1 (ko) * 2021-11-29 2022-06-28 (주)지우텍 마찰이 없는 광학필름용 가이드 롤러

Citations (4)

* Cited by examiner, † Cited by third party
Publication number Priority date Publication date Assignee Title
JPS5876822U (ja) * 1981-11-20 1983-05-24 三菱重工業株式会社 油膜軸受
JPS6293013A (ja) * 1985-10-18 1987-04-28 Kubota Ltd 圧延用組立ロ−ル
JPS62258217A (ja) * 1986-04-30 1987-11-10 Nippon Seiko Kk ロ−ルの支持装置
JPH01249349A (ja) * 1988-02-19 1989-10-04 Man Roland Druckmas Ag 輪転印刷機のローラ軸受

Patent Citations (4)

* Cited by examiner, † Cited by third party
Publication number Priority date Publication date Assignee Title
JPS5876822U (ja) * 1981-11-20 1983-05-24 三菱重工業株式会社 油膜軸受
JPS6293013A (ja) * 1985-10-18 1987-04-28 Kubota Ltd 圧延用組立ロ−ル
JPS62258217A (ja) * 1986-04-30 1987-11-10 Nippon Seiko Kk ロ−ルの支持装置
JPH01249349A (ja) * 1988-02-19 1989-10-04 Man Roland Druckmas Ag 輪転印刷機のローラ軸受

Also Published As

Publication number Publication date
JP2013092223A (ja) 2013-05-16
CN103890419A (zh) 2014-06-25
JP5997428B2 (ja) 2016-09-28

Similar Documents

Publication Publication Date Title
CN102400942B (zh) 用于压缩机中的空气轴承和马达冷却的轴
US10525562B2 (en) Rotary table device
WO2013061813A1 (ja) エアロールユニット
WO2010134473A1 (ja) チャック装置
US10001170B2 (en) Rolling bearing
JP5851780B2 (ja) エアベアリングユニット
EP3382223A1 (en) Spindle device
JP2014035054A (ja) 静圧気体軸受ユニット
JP6585593B2 (ja) 機械部品
WO2009104542A1 (ja) 気体軸受スピンドル
JP2006167821A (ja) 装着物の取り付け方法及びスピンドル装置
JP2009068649A (ja) スピンドル装置
CN104024668A (zh) 静压气体轴承装置
JP5169570B2 (ja) ロール装置
US10284048B2 (en) Electric motor for suppressing entry of foreign substances
CN103890419B (zh) 空气辊单元
JP2009197942A (ja) 気体軸受スピンドル
WO2015125958A1 (ja) ロール装置
JPH11303870A (ja) 多孔質気体軸受及びこれを用いたスピンドル装置
JP2001336527A (ja) 静圧磁気複合軸受スピンドル装置
JP5888663B2 (ja) スピンドルモータ
US20110053459A1 (en) Slow speed spindle for micropunch grinding
JP2006194203A (ja) エアタービンスピンドル
JP4478942B2 (ja) 軸受固定装置
JP2020109290A (ja) 真空ポンプ

Legal Events

Date Code Title Description
121 Ep: the epo has been informed by wipo that ep was designated in this application

Ref document number: 12843080

Country of ref document: EP

Kind code of ref document: A1

NENP Non-entry into the national phase

Ref country code: DE

122 Ep: pct application non-entry in european phase

Ref document number: 12843080

Country of ref document: EP

Kind code of ref document: A1