WO2013027819A1 - 半導体モジュール - Google Patents

半導体モジュール Download PDF

Info

Publication number
WO2013027819A1
WO2013027819A1 PCT/JP2012/071398 JP2012071398W WO2013027819A1 WO 2013027819 A1 WO2013027819 A1 WO 2013027819A1 JP 2012071398 W JP2012071398 W JP 2012071398W WO 2013027819 A1 WO2013027819 A1 WO 2013027819A1
Authority
WO
WIPO (PCT)
Prior art keywords
electrode
electrode pattern
terminal
semiconductor module
electrically connected
Prior art date
Legal status (The legal status is an assumption and is not a legal conclusion. Google has not performed a legal analysis and makes no representation as to the accuracy of the status listed.)
Ceased
Application number
PCT/JP2012/071398
Other languages
English (en)
French (fr)
Japanese (ja)
Inventor
祐輔 図子
村上 善則
智 谷本
佐藤 伸二
康平 松井
Current Assignee (The listed assignees may be inaccurate. Google has not performed a legal analysis and makes no representation or warranty as to the accuracy of the list.)
Fuji Electric Co Ltd
Nissan Motor Co Ltd
Sanken Electric Co Ltd
Original Assignee
Fuji Electric Co Ltd
Nissan Motor Co Ltd
Sanken Electric Co Ltd
Priority date (The priority date is an assumption and is not a legal conclusion. Google has not performed a legal analysis and makes no representation as to the accuracy of the date listed.)
Filing date
Publication date
Application filed by Fuji Electric Co Ltd, Nissan Motor Co Ltd, Sanken Electric Co Ltd filed Critical Fuji Electric Co Ltd
Priority to CN201280039872.8A priority Critical patent/CN103782380B/zh
Priority to EP12825114.7A priority patent/EP2750184B1/en
Priority to US14/236,236 priority patent/US8921998B2/en
Publication of WO2013027819A1 publication Critical patent/WO2013027819A1/ja
Anticipated expiration legal-status Critical
Ceased legal-status Critical Current

Links

Images

Classifications

    • HELECTRICITY
    • H01ELECTRIC ELEMENTS
    • H01LSEMICONDUCTOR DEVICES NOT COVERED BY CLASS H10
    • H01L23/00Details of semiconductor or other solid state devices
    • H01L23/52Arrangements for conducting electric current within the device in operation from one component to another, i.e. interconnections, e.g. wires, lead frames
    • H01L23/538Arrangements for conducting electric current within the device in operation from one component to another, i.e. interconnections, e.g. wires, lead frames the interconnection structure between a plurality of semiconductor chips being formed on, or in, insulating substrates
    • H01L23/5384Conductive vias through the substrate with or without pins, e.g. buried coaxial conductors
    • HELECTRICITY
    • H01ELECTRIC ELEMENTS
    • H01LSEMICONDUCTOR DEVICES NOT COVERED BY CLASS H10
    • H01L23/00Details of semiconductor or other solid state devices
    • H01L23/34Arrangements for cooling, heating, ventilating or temperature compensation ; Temperature sensing arrangements
    • H01L23/36Selection of materials, or shaping, to facilitate cooling or heating, e.g. heatsinks
    • H01L23/373Cooling facilitated by selection of materials for the device or materials for thermal expansion adaptation, e.g. carbon
    • H01L23/3735Laminates or multilayers, e.g. direct bond copper ceramic substrates
    • HELECTRICITY
    • H01ELECTRIC ELEMENTS
    • H01LSEMICONDUCTOR DEVICES NOT COVERED BY CLASS H10
    • H01L2224/00Indexing scheme for arrangements for connecting or disconnecting semiconductor or solid-state bodies and methods related thereto as covered by H01L24/00
    • H01L2224/01Means for bonding being attached to, or being formed on, the surface to be connected, e.g. chip-to-package, die-attach, "first-level" interconnects; Manufacturing methods related thereto
    • H01L2224/42Wire connectors; Manufacturing methods related thereto
    • H01L2224/47Structure, shape, material or disposition of the wire connectors after the connecting process
    • H01L2224/48Structure, shape, material or disposition of the wire connectors after the connecting process of an individual wire connector
    • H01L2224/4805Shape
    • H01L2224/4809Loop shape
    • H01L2224/48091Arched
    • HELECTRICITY
    • H01ELECTRIC ELEMENTS
    • H01LSEMICONDUCTOR DEVICES NOT COVERED BY CLASS H10
    • H01L2224/00Indexing scheme for arrangements for connecting or disconnecting semiconductor or solid-state bodies and methods related thereto as covered by H01L24/00
    • H01L2224/01Means for bonding being attached to, or being formed on, the surface to be connected, e.g. chip-to-package, die-attach, "first-level" interconnects; Manufacturing methods related thereto
    • H01L2224/42Wire connectors; Manufacturing methods related thereto
    • H01L2224/47Structure, shape, material or disposition of the wire connectors after the connecting process
    • H01L2224/48Structure, shape, material or disposition of the wire connectors after the connecting process of an individual wire connector
    • H01L2224/481Disposition
    • H01L2224/4813Connecting within a semiconductor or solid-state body, i.e. fly wire, bridge wire
    • H01L2224/48132Connecting within a semiconductor or solid-state body, i.e. fly wire, bridge wire with an intermediate bond, e.g. continuous wire daisy chain
    • HELECTRICITY
    • H01ELECTRIC ELEMENTS
    • H01LSEMICONDUCTOR DEVICES NOT COVERED BY CLASS H10
    • H01L2224/00Indexing scheme for arrangements for connecting or disconnecting semiconductor or solid-state bodies and methods related thereto as covered by H01L24/00
    • H01L2224/01Means for bonding being attached to, or being formed on, the surface to be connected, e.g. chip-to-package, die-attach, "first-level" interconnects; Manufacturing methods related thereto
    • H01L2224/42Wire connectors; Manufacturing methods related thereto
    • H01L2224/47Structure, shape, material or disposition of the wire connectors after the connecting process
    • H01L2224/48Structure, shape, material or disposition of the wire connectors after the connecting process of an individual wire connector
    • H01L2224/481Disposition
    • H01L2224/48151Connecting between a semiconductor or solid-state body and an item not being a semiconductor or solid-state body, e.g. chip-to-substrate, chip-to-passive
    • H01L2224/48221Connecting between a semiconductor or solid-state body and an item not being a semiconductor or solid-state body, e.g. chip-to-substrate, chip-to-passive the body and the item being stacked
    • H01L2224/48225Connecting between a semiconductor or solid-state body and an item not being a semiconductor or solid-state body, e.g. chip-to-substrate, chip-to-passive the body and the item being stacked the item being non-metallic, e.g. insulating substrate with or without metallisation
    • H01L2224/48227Connecting between a semiconductor or solid-state body and an item not being a semiconductor or solid-state body, e.g. chip-to-substrate, chip-to-passive the body and the item being stacked the item being non-metallic, e.g. insulating substrate with or without metallisation connecting the wire to a bond pad of the item
    • HELECTRICITY
    • H01ELECTRIC ELEMENTS
    • H01LSEMICONDUCTOR DEVICES NOT COVERED BY CLASS H10
    • H01L2224/00Indexing scheme for arrangements for connecting or disconnecting semiconductor or solid-state bodies and methods related thereto as covered by H01L24/00
    • H01L2224/01Means for bonding being attached to, or being formed on, the surface to be connected, e.g. chip-to-package, die-attach, "first-level" interconnects; Manufacturing methods related thereto
    • H01L2224/42Wire connectors; Manufacturing methods related thereto
    • H01L2224/47Structure, shape, material or disposition of the wire connectors after the connecting process
    • H01L2224/48Structure, shape, material or disposition of the wire connectors after the connecting process of an individual wire connector
    • H01L2224/481Disposition
    • H01L2224/48151Connecting between a semiconductor or solid-state body and an item not being a semiconductor or solid-state body, e.g. chip-to-substrate, chip-to-passive
    • H01L2224/48221Connecting between a semiconductor or solid-state body and an item not being a semiconductor or solid-state body, e.g. chip-to-substrate, chip-to-passive the body and the item being stacked
    • H01L2224/48225Connecting between a semiconductor or solid-state body and an item not being a semiconductor or solid-state body, e.g. chip-to-substrate, chip-to-passive the body and the item being stacked the item being non-metallic, e.g. insulating substrate with or without metallisation
    • H01L2224/48235Connecting between a semiconductor or solid-state body and an item not being a semiconductor or solid-state body, e.g. chip-to-substrate, chip-to-passive the body and the item being stacked the item being non-metallic, e.g. insulating substrate with or without metallisation connecting the wire to a via metallisation of the item
    • HELECTRICITY
    • H01ELECTRIC ELEMENTS
    • H01LSEMICONDUCTOR DEVICES NOT COVERED BY CLASS H10
    • H01L2224/00Indexing scheme for arrangements for connecting or disconnecting semiconductor or solid-state bodies and methods related thereto as covered by H01L24/00
    • H01L2224/01Means for bonding being attached to, or being formed on, the surface to be connected, e.g. chip-to-package, die-attach, "first-level" interconnects; Manufacturing methods related thereto
    • H01L2224/42Wire connectors; Manufacturing methods related thereto
    • H01L2224/47Structure, shape, material or disposition of the wire connectors after the connecting process
    • H01L2224/48Structure, shape, material or disposition of the wire connectors after the connecting process of an individual wire connector
    • H01L2224/484Connecting portions
    • H01L2224/4846Connecting portions with multiple bonds on the same bonding area
    • HELECTRICITY
    • H01ELECTRIC ELEMENTS
    • H01LSEMICONDUCTOR DEVICES NOT COVERED BY CLASS H10
    • H01L2224/00Indexing scheme for arrangements for connecting or disconnecting semiconductor or solid-state bodies and methods related thereto as covered by H01L24/00
    • H01L2224/01Means for bonding being attached to, or being formed on, the surface to be connected, e.g. chip-to-package, die-attach, "first-level" interconnects; Manufacturing methods related thereto
    • H01L2224/42Wire connectors; Manufacturing methods related thereto
    • H01L2224/47Structure, shape, material or disposition of the wire connectors after the connecting process
    • H01L2224/48Structure, shape, material or disposition of the wire connectors after the connecting process of an individual wire connector
    • H01L2224/484Connecting portions
    • H01L2224/4847Connecting portions the connecting portion on the bonding area of the semiconductor or solid-state body being a wedge bond
    • H01L2224/48472Connecting portions the connecting portion on the bonding area of the semiconductor or solid-state body being a wedge bond the other connecting portion not on the bonding area also being a wedge bond, i.e. wedge-to-wedge
    • HELECTRICITY
    • H01ELECTRIC ELEMENTS
    • H01LSEMICONDUCTOR DEVICES NOT COVERED BY CLASS H10
    • H01L2224/00Indexing scheme for arrangements for connecting or disconnecting semiconductor or solid-state bodies and methods related thereto as covered by H01L24/00
    • H01L2224/01Means for bonding being attached to, or being formed on, the surface to be connected, e.g. chip-to-package, die-attach, "first-level" interconnects; Manufacturing methods related thereto
    • H01L2224/42Wire connectors; Manufacturing methods related thereto
    • H01L2224/47Structure, shape, material or disposition of the wire connectors after the connecting process
    • H01L2224/49Structure, shape, material or disposition of the wire connectors after the connecting process of a plurality of wire connectors
    • H01L2224/491Disposition
    • H01L2224/4911Disposition the connectors being bonded to at least one common bonding area, e.g. daisy chain
    • H01L2224/49111Disposition the connectors being bonded to at least one common bonding area, e.g. daisy chain the connectors connecting two common bonding areas, e.g. Litz or braid wires
    • HELECTRICITY
    • H01ELECTRIC ELEMENTS
    • H01LSEMICONDUCTOR DEVICES NOT COVERED BY CLASS H10
    • H01L2224/00Indexing scheme for arrangements for connecting or disconnecting semiconductor or solid-state bodies and methods related thereto as covered by H01L24/00
    • H01L2224/01Means for bonding being attached to, or being formed on, the surface to be connected, e.g. chip-to-package, die-attach, "first-level" interconnects; Manufacturing methods related thereto
    • H01L2224/42Wire connectors; Manufacturing methods related thereto
    • H01L2224/47Structure, shape, material or disposition of the wire connectors after the connecting process
    • H01L2224/49Structure, shape, material or disposition of the wire connectors after the connecting process of a plurality of wire connectors
    • H01L2224/491Disposition
    • H01L2224/4912Layout
    • H01L2224/49175Parallel arrangements
    • HELECTRICITY
    • H01ELECTRIC ELEMENTS
    • H01LSEMICONDUCTOR DEVICES NOT COVERED BY CLASS H10
    • H01L23/00Details of semiconductor or other solid state devices
    • H01L23/48Arrangements for conducting electric current to or from the solid state body in operation, e.g. leads, terminal arrangements ; Selection of materials therefor
    • H01L23/488Arrangements for conducting electric current to or from the solid state body in operation, e.g. leads, terminal arrangements ; Selection of materials therefor consisting of soldered or bonded constructions
    • H01L23/498Leads, i.e. metallisations or lead-frames on insulating substrates, e.g. chip carriers
    • H01L23/49811Additional leads joined to the metallisation on the insulating substrate, e.g. pins, bumps, wires, flat leads
    • HELECTRICITY
    • H01ELECTRIC ELEMENTS
    • H01LSEMICONDUCTOR DEVICES NOT COVERED BY CLASS H10
    • H01L24/00Arrangements for connecting or disconnecting semiconductor or solid-state bodies; Methods or apparatus related thereto
    • H01L24/01Means for bonding being attached to, or being formed on, the surface to be connected, e.g. chip-to-package, die-attach, "first-level" interconnects; Manufacturing methods related thereto
    • H01L24/42Wire connectors; Manufacturing methods related thereto
    • H01L24/47Structure, shape, material or disposition of the wire connectors after the connecting process
    • H01L24/48Structure, shape, material or disposition of the wire connectors after the connecting process of an individual wire connector
    • HELECTRICITY
    • H01ELECTRIC ELEMENTS
    • H01LSEMICONDUCTOR DEVICES NOT COVERED BY CLASS H10
    • H01L24/00Arrangements for connecting or disconnecting semiconductor or solid-state bodies; Methods or apparatus related thereto
    • H01L24/01Means for bonding being attached to, or being formed on, the surface to be connected, e.g. chip-to-package, die-attach, "first-level" interconnects; Manufacturing methods related thereto
    • H01L24/42Wire connectors; Manufacturing methods related thereto
    • H01L24/47Structure, shape, material or disposition of the wire connectors after the connecting process
    • H01L24/49Structure, shape, material or disposition of the wire connectors after the connecting process of a plurality of wire connectors
    • HELECTRICITY
    • H01ELECTRIC ELEMENTS
    • H01LSEMICONDUCTOR DEVICES NOT COVERED BY CLASS H10
    • H01L25/00Assemblies consisting of a plurality of semiconductor or other solid state devices
    • H01L25/03Assemblies consisting of a plurality of semiconductor or other solid state devices all the devices being of a type provided for in a single subclass of subclasses H10B, H10D, H10F, H10H, H10K or H10N, e.g. assemblies of rectifier diodes
    • H01L25/04Assemblies consisting of a plurality of semiconductor or other solid state devices all the devices being of a type provided for in a single subclass of subclasses H10B, H10D, H10F, H10H, H10K or H10N, e.g. assemblies of rectifier diodes the devices not having separate containers
    • H01L25/07Assemblies consisting of a plurality of semiconductor or other solid state devices all the devices being of a type provided for in a single subclass of subclasses H10B, H10D, H10F, H10H, H10K or H10N, e.g. assemblies of rectifier diodes the devices not having separate containers the devices being of a type provided for in group subclass H10D
    • H01L25/072Assemblies consisting of a plurality of semiconductor or other solid state devices all the devices being of a type provided for in a single subclass of subclasses H10B, H10D, H10F, H10H, H10K or H10N, e.g. assemblies of rectifier diodes the devices not having separate containers the devices being of a type provided for in group subclass H10D the devices being arranged next to each other
    • HELECTRICITY
    • H01ELECTRIC ELEMENTS
    • H01LSEMICONDUCTOR DEVICES NOT COVERED BY CLASS H10
    • H01L25/00Assemblies consisting of a plurality of semiconductor or other solid state devices
    • H01L25/18Assemblies consisting of a plurality of semiconductor or other solid state devices the devices being of the types provided for in two or more different main groups of the same subclass of H10B, H10D, H10F, H10H, H10K or H10N
    • HELECTRICITY
    • H01ELECTRIC ELEMENTS
    • H01LSEMICONDUCTOR DEVICES NOT COVERED BY CLASS H10
    • H01L2924/00Indexing scheme for arrangements or methods for connecting or disconnecting semiconductor or solid-state bodies as covered by H01L24/00
    • H01L2924/0001Technical content checked by a classifier
    • H01L2924/00014Technical content checked by a classifier the subject-matter covered by the group, the symbol of which is combined with the symbol of this group, being disclosed without further technical details
    • HELECTRICITY
    • H01ELECTRIC ELEMENTS
    • H01LSEMICONDUCTOR DEVICES NOT COVERED BY CLASS H10
    • H01L2924/00Indexing scheme for arrangements or methods for connecting or disconnecting semiconductor or solid-state bodies as covered by H01L24/00
    • H01L2924/10Details of semiconductor or other solid state devices to be connected
    • H01L2924/102Material of the semiconductor or solid state bodies
    • H01L2924/1025Semiconducting materials
    • H01L2924/1026Compound semiconductors
    • H01L2924/1027IV
    • H01L2924/10272Silicon Carbide [SiC]
    • HELECTRICITY
    • H01ELECTRIC ELEMENTS
    • H01LSEMICONDUCTOR DEVICES NOT COVERED BY CLASS H10
    • H01L2924/00Indexing scheme for arrangements or methods for connecting or disconnecting semiconductor or solid-state bodies as covered by H01L24/00
    • H01L2924/10Details of semiconductor or other solid state devices to be connected
    • H01L2924/102Material of the semiconductor or solid state bodies
    • H01L2924/1025Semiconducting materials
    • H01L2924/1026Compound semiconductors
    • H01L2924/1032III-V
    • H01L2924/1033Gallium nitride [GaN]
    • HELECTRICITY
    • H01ELECTRIC ELEMENTS
    • H01LSEMICONDUCTOR DEVICES NOT COVERED BY CLASS H10
    • H01L2924/00Indexing scheme for arrangements or methods for connecting or disconnecting semiconductor or solid-state bodies as covered by H01L24/00
    • H01L2924/10Details of semiconductor or other solid state devices to be connected
    • H01L2924/11Device type
    • H01L2924/12Passive devices, e.g. 2 terminal devices
    • H01L2924/1203Rectifying Diode
    • HELECTRICITY
    • H01ELECTRIC ELEMENTS
    • H01LSEMICONDUCTOR DEVICES NOT COVERED BY CLASS H10
    • H01L2924/00Indexing scheme for arrangements or methods for connecting or disconnecting semiconductor or solid-state bodies as covered by H01L24/00
    • H01L2924/10Details of semiconductor or other solid state devices to be connected
    • H01L2924/11Device type
    • H01L2924/13Discrete devices, e.g. 3 terminal devices
    • H01L2924/1304Transistor
    • H01L2924/1305Bipolar Junction Transistor [BJT]
    • HELECTRICITY
    • H01ELECTRIC ELEMENTS
    • H01LSEMICONDUCTOR DEVICES NOT COVERED BY CLASS H10
    • H01L2924/00Indexing scheme for arrangements or methods for connecting or disconnecting semiconductor or solid-state bodies as covered by H01L24/00
    • H01L2924/10Details of semiconductor or other solid state devices to be connected
    • H01L2924/11Device type
    • H01L2924/13Discrete devices, e.g. 3 terminal devices
    • H01L2924/1304Transistor
    • H01L2924/1305Bipolar Junction Transistor [BJT]
    • H01L2924/13055Insulated gate bipolar transistor [IGBT]
    • HELECTRICITY
    • H01ELECTRIC ELEMENTS
    • H01LSEMICONDUCTOR DEVICES NOT COVERED BY CLASS H10
    • H01L2924/00Indexing scheme for arrangements or methods for connecting or disconnecting semiconductor or solid-state bodies as covered by H01L24/00
    • H01L2924/10Details of semiconductor or other solid state devices to be connected
    • H01L2924/11Device type
    • H01L2924/13Discrete devices, e.g. 3 terminal devices
    • H01L2924/1304Transistor
    • H01L2924/1306Field-effect transistor [FET]
    • HELECTRICITY
    • H01ELECTRIC ELEMENTS
    • H01LSEMICONDUCTOR DEVICES NOT COVERED BY CLASS H10
    • H01L2924/00Indexing scheme for arrangements or methods for connecting or disconnecting semiconductor or solid-state bodies as covered by H01L24/00
    • H01L2924/10Details of semiconductor or other solid state devices to be connected
    • H01L2924/11Device type
    • H01L2924/13Discrete devices, e.g. 3 terminal devices
    • H01L2924/1304Transistor
    • H01L2924/1306Field-effect transistor [FET]
    • H01L2924/13062Junction field-effect transistor [JFET]
    • HELECTRICITY
    • H01ELECTRIC ELEMENTS
    • H01LSEMICONDUCTOR DEVICES NOT COVERED BY CLASS H10
    • H01L2924/00Indexing scheme for arrangements or methods for connecting or disconnecting semiconductor or solid-state bodies as covered by H01L24/00
    • H01L2924/10Details of semiconductor or other solid state devices to be connected
    • H01L2924/11Device type
    • H01L2924/13Discrete devices, e.g. 3 terminal devices
    • H01L2924/1304Transistor
    • H01L2924/1306Field-effect transistor [FET]
    • H01L2924/13091Metal-Oxide-Semiconductor Field-Effect Transistor [MOSFET]
    • HELECTRICITY
    • H01ELECTRIC ELEMENTS
    • H01LSEMICONDUCTOR DEVICES NOT COVERED BY CLASS H10
    • H01L2924/00Indexing scheme for arrangements or methods for connecting or disconnecting semiconductor or solid-state bodies as covered by H01L24/00
    • H01L2924/30Technical effects
    • H01L2924/301Electrical effects
    • H01L2924/30105Capacitance
    • HELECTRICITY
    • H01ELECTRIC ELEMENTS
    • H01LSEMICONDUCTOR DEVICES NOT COVERED BY CLASS H10
    • H01L2924/00Indexing scheme for arrangements or methods for connecting or disconnecting semiconductor or solid-state bodies as covered by H01L24/00
    • H01L2924/30Technical effects
    • H01L2924/301Electrical effects
    • H01L2924/30107Inductance
    • HELECTRICITY
    • H01ELECTRIC ELEMENTS
    • H01LSEMICONDUCTOR DEVICES NOT COVERED BY CLASS H10
    • H01L2924/00Indexing scheme for arrangements or methods for connecting or disconnecting semiconductor or solid-state bodies as covered by H01L24/00
    • H01L2924/30Technical effects
    • H01L2924/301Electrical effects
    • H01L2924/3011Impedance
    • HELECTRICITY
    • H02GENERATION; CONVERSION OR DISTRIBUTION OF ELECTRIC POWER
    • H02MAPPARATUS FOR CONVERSION BETWEEN AC AND AC, BETWEEN AC AND DC, OR BETWEEN DC AND DC, AND FOR USE WITH MAINS OR SIMILAR POWER SUPPLY SYSTEMS; CONVERSION OF DC OR AC INPUT POWER INTO SURGE OUTPUT POWER; CONTROL OR REGULATION THEREOF
    • H02M7/00Conversion of AC power input into DC power output; Conversion of DC power input into AC power output
    • H02M7/003Constructional details, e.g. physical layout, assembly, wiring or busbar connections

Definitions

  • the present invention relates to a semiconductor module.
  • Patent Document 1 There is known a power conversion device that can reduce leakage current that causes noise by using, for example, ceramics as the material of the cooling fin (heat sink) and reducing the ground floating capacity of the power conversion device (inverter).
  • the floating capacity of the power converter can be reduced.
  • the thermal conductivity of ceramics is lower than the thermal conductivity of metal.
  • An object of the present invention is to reduce the stray capacitance of the power conversion device and to prevent the performance of cooling the power conversion device from being deteriorated.
  • the present invention achieves the above object by connecting the output electrode to the second electrode via an insulating member and connecting the second electrode to a heat sink via another insulating member.
  • the output electrode is grounded via the second electrode, and the stray capacitance between the output electrode and ground and the stray capacitance between the second electrode and ground are connected in series. Therefore, the common mode current can be reduced, and the output electrode and the second electrode are connected with a low resistance, so that the performance of cooling the power converter can be prevented from being lowered. .
  • FIG. 3A It is an electric circuit diagram which shows an example of the inverter circuit to which the semiconductor module which concerns on one embodiment of this invention is applied. It is an electric circuit diagram for demonstrating a common mode electric current. It is a side view which shows the semiconductor module which concerns on one embodiment of this invention. It is a top view of FIG. 3A.
  • FIG. 4 is an electric circuit diagram for explaining the function and effect of the semiconductor module of FIGS. 3A and 3B.
  • FIG. 6 is a side view showing a modification of the semiconductor module of FIGS. It is a top view of Drawing 5A. It is a side view which shows the semiconductor module which concerns on other embodiment of this invention.
  • FIG. 6B is a plan view of FIG. 6A.
  • FIG. 6B is an electric circuit diagram for explaining the function and effect of the semiconductor module of FIGS. 6A and 6B.
  • the present invention relates to a power module that constitutes a switch portion of a power converter using a wide gap semiconductor element such as SiC, and a heat sink that cools the power module.
  • a wide gap semiconductor element such as SiC
  • a heat sink that cools the power module.
  • the common mode current radiates noise proportional to the current amplitude and the loop area through which the current flows to the outside, and can be a major factor that makes it difficult to comply with the EMC (Electro-Magnetic Compatibility) standard.
  • EMC Electro-Magnetic Compatibility
  • the present invention by stacking a plurality of insulating members and AC electrode patterns, P electrode patterns, and N electrode patterns and connecting them to the heat sink, the amplitude of the common mode current is reduced and the cooling path is reduced. Reduces radiation noise without increasing the size of the heat sink.
  • FIG. 1 shows a three-phase inverter circuit as an example of a system to which a semiconductor module according to an embodiment of the present invention is applied.
  • the semiconductor module 1 of this example is a 2-in-1 module having a voltage switching mechanism for one phase, and a specific configuration described below is shown as a 2-in-1 module.
  • the semiconductor module according to the present invention has a function of a plurality of phases.
  • the integrated semiconductor module may be sufficient.
  • the power conversion system shown in FIG. 1 converts first power, such as a supply battery BT, into second power using a smoothing capacitor C and a power conversion device INV, and supplies this to a three-phase AC motor M.
  • the regenerative power of the phase AC motor M is converted to the first power by the power converter INV and the smoothing capacitor C, thereby charging the supply battery BT.
  • a P-side semiconductor element 102 and an N-side semiconductor element 103 composed of a switching element and a rectifier element are, for example, a MOSFET (Metal-Oxide-Semiconductor-Field-Effect-Transistor), JFET (Junction-gate) using a wide band gap semiconductor such as SiC or GaN. It consists of elements such as Field-Effect (Transistor), BJT (Bipolar Junction Transistor), IGBT (Insulated Gate Bipolar Transistor), and diode.
  • MOSFET Metal-Oxide-Semiconductor-Field-Effect-Transistor
  • JFET Joint-gate
  • the AC terminal unit 107 changes from several volts to the power supply voltage in a short time, and a common mode current as indicated by a dotted arrow line A flows through the stray capacitance 104 between the AC electrode pattern and the GND due to the voltage change.
  • a current flows through the stray capacitance 105 between the P electrode pattern and GND, and a common mode current as indicated by the dotted arrow line B flows.
  • the common mode current flows through a load ground capacitance (not shown), a power source ground capacitance (not shown), a stray capacitance 106 between the N electrode pattern and GND, and the like. It flows through the high voltage system and GND, and radiates noise to the outside. The amplitude of this radiation noise is proportional to the amplitude of the common mode current and the loop area that flows.
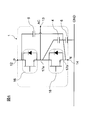
  • FIG. 4 is an electric circuit diagram including the stray capacitance, showing the semiconductor module according to the first embodiment of the present invention.
  • the semiconductor module 1 of this example includes a P-side semiconductor element 16 and an N-side semiconductor element 18 each composed of a switching element and a rectifier diode, and a heat sink 7, and a P terminal 12 electrically connected to the first power system. And an N terminal 14 and an AC terminal 13 electrically connected to the second power system.
  • 4 is a stray capacitance between the AC electrode pattern 11 to which the AC terminal 13 is connected and the ground GND
  • 5 is a stray capacitance between the P electrode pattern 10 to which the P terminal 12 is connected and the ground GND
  • 6 Indicates stray capacitances between the N electrode pattern 9 connected to the N terminal 14 and the ground GND.
  • FIG. 3A is a side view showing the semiconductor module according to the first embodiment shown in FIG. 4,
  • FIG. 3B is a plan view, and the semiconductor module 1 of this example has a heat sink 7 connected to the ground GND, and this heat sink 7 is connected to an N electrode pattern 9 via an insulating layer 8a, and a P electrode pattern 10 and an AC electrode pattern 11 are connected thereto via another insulating layer 8b.
  • a P terminal 12 for current input / output is mounted on the P electrode pattern 10
  • an AC terminal 13 for current input / output is mounted on the AC electrode pattern 11
  • an N terminal for current input / output is mounted on the N electrode pattern 9.
  • a terminal 14 is mounted.
  • the electrode patterns 9, 10, 11 and the insulating layers 8a, 8b are preferably formed of a multilayer ceramic substrate using silicon nitride.
  • a metal pattern 15 for connection is provided on the surface in contact with the heat sink 7, and the multilayer ceramic substrate and the heat sink 7 are electrically and mechanically connected by soldering or brazing.
  • the electrode formed on the lower surface of the P-side semiconductor element 16 is mounted on the upper surface of the illustrated P electrode pattern 10 so as to be electrically connected.
  • the electrode formed on the upper surface of the P-side semiconductor element 16 is AC
  • the electrode pattern 11 is electrically connected by a bonding wire 17a or the like.
  • an electrode formed on the lower surface of the N-side semiconductor element 18 is mounted on the upper surface of the AC electrode pattern 11 shown in the figure so as to be electrically connected.
  • the electrode formed on the upper surface of the N-side semiconductor element 18 is The N electrode pattern 9 is electrically connected by a bonding wire 17b or the like.
  • the switching element of the P-side semiconductor element 16 and the N-side semiconductor element 18 is connected with a signal line output from the drive circuit to an electrode for inputting the switching signal.
  • the multilayer insulating substrate is surrounded by a case and sealed with an insulating material.
  • the N electrode pattern 9 is provided on the grounded heat sink 7 via the insulating layer 8a, and the P electrode pattern 10 and the AC electrode pattern 11 are provided on the N electrode pattern 9 via the insulating layer 8b.
  • the stray capacitance 4 between the AC electrode pattern 11 and the N electrode pattern 9 is The circuit configuration is such that the stray capacitance 6 between the N electrode pattern 9 and the ground GND is connected in series.
  • the stray capacitance between the P electrode pattern 10 and the ground GND is such that the stray capacitance 5 between the P electrode pattern 10 and the ground GND and the stray capacitance 6 between the N electrode pattern 9 and the ground GND are in series.
  • the circuit configuration is connected to.
  • the insulating layer 8b is increased by one layer in this example, the P electrode pattern 10 and the N electrode pattern 9, and the AC electrode pattern 11 and the N electrode pattern 9 are connected with low resistance, respectively. Therefore, the decrease in cooling performance is negligible.
  • the N electrode pattern 9 is provided with a through hole 19 in the upper insulating layer 8b of the multilayer ceramic substrate as shown in FIG. 5 in order to facilitate the removal of the N terminal 14 and the connection with the N-side semiconductor element 18.
  • a part of the N electrode pattern 9 may be disposed on the upper surface of the insulating layer 8b.
  • FIG. 6A is a side view showing a semiconductor module according to the second embodiment of the present invention
  • FIG. 6B is a plan view.
  • the semiconductor module 1 of the present example has a heat sink 7 connected to the ground GND, and an N electrode pattern 9a and a P electrode pattern 10a are connected to the heat sink 7 via an insulating layer 8c, and another electrode is formed thereon.
  • the AC electrode pattern 11a is connected through the insulating layer 8d.
  • a P terminal 12 for current input / output is mounted on the P electrode pattern 10a
  • an AC terminal 13 for current input / output is mounted on the AC electrode pattern 11a
  • an N terminal for current input / output is mounted on the N electrode pattern 9a.
  • a terminal 14 is mounted.
  • the stacked positions of the P electrode patterns 10 and 10a are different.
  • Each electrode pattern 9a, 10a, 11a and insulating layers 8c, 8d are preferably formed of a multilayer ceramic substrate using silicon nitride.
  • a metal pattern 15 for connection is provided on the surface in contact with the heat sink 7, and the multilayer ceramic substrate and the heat sink 7 are electrically and mechanically connected by soldering or brazing.
  • the electrode formed on the lower surface of the P-side semiconductor element 16 is mounted on the upper surface of the P electrode pattern 10a shown in the figure so as to be electrically connected. It is electrically connected to the electrode pattern 11a by a bonding wire 17c. Further, the electrode formed on the lower surface of the N-side semiconductor element 18 is mounted on the upper surface of the AC electrode pattern 11a shown in the figure so as to be electrically connected. The electrode formed on the upper surface of the N-side semiconductor element 18 is The N electrode pattern 9a is electrically connected by a bonding wire or the like 17d.
  • the switching element of the P-side semiconductor element 16 and the N-side semiconductor element 17 is connected with a signal line output from the drive circuit to an electrode for inputting the switching signal.
  • the multilayer insulating substrate is surrounded by a case and sealed with an insulating material.
  • the area of the P electrode pattern 10a and the area of the N electrode pattern 9a in the plan view of FIG. 6B are configured to be the same or substantially the same, and the N electrode pattern 9a exists below the AC electrode pattern 11a.
  • the portion not to be filled is filled with the same ceramic base material as the insulating layer 8c.
  • the stray capacitance 5a between the P electrode pattern 10a and the ground GND becomes larger than that in the first embodiment, but the N electrode pattern 9a and the ground
  • the stray capacitance 6a between the GND and the GND becomes smaller than that in the first embodiment, and at the same time, the stray capacitance 6a between the P electrode pattern 10a and the ground GND is equivalent.
  • the common mode current generated in the semiconductor module of a certain phase (each phase of U, V, W) does not flow to the supply battery BT side or the motor M side, but floats in the semiconductor module of another phase nearby. Can be circulated to capacity. As a result, the loop area of the common mode current is reduced.
  • the stray capacitance 6a between the N electrode pattern 9a and the ground GND is reduced, the AC pattern 11a and the ground GND, which are series capacitances of the stray capacitance 4a between the AC electrode pattern 11a and the N electrode pattern 9a. Since the stray capacitance between them (the total capacitance of the stray capacitance 4a and the stray capacitance 6a) is also reduced, the amplitude of the common mode current is also reduced. Thereby, radiation noise is reduced.
  • the AC electrode patterns 11 and 11a that cause leakage current to the ground GND are grounded via the N electrode patterns 9 and 9a. Therefore, the capacitance with respect to the GND of the AC electrode patterns 11 and 11a is reduced, thereby suppressing the common mode current.
  • the P electrode patterns 10 and 10a that cause the leakage current after the AC electrode patterns 11 and 11a are grounded via the N electrode patterns 9 and 9a, Since the capacitance with respect to the P electrode patterns 9 and 9a is reduced and the inductance between the PN terminals is reduced, the voltage variation of the P electrode patterns 9 and 9a during the switching transient is suppressed, thereby suppressing the common mode current. be able to.
  • the GND capacity of the P electrode pattern 10a is equal to the GND capacity of the N electrode pattern 9a, so that the common mode current circulates between adjacent semiconductor modules. As a result, the loop area is reduced and radiation noise can be suppressed.
  • connection area area overlapping in the stacking direction
  • the inductance is increased.
  • the heat resistance from the P electrode pattern 10 to the heat sink 7 and from the AC electrode pattern 11 to the heat sink 7 is reduced, so that the heat sink 7 can be reduced in size.
  • the power conversion device has been described by taking an example of an inverter that performs so-called DC-AC conversion.
  • DC-DC conversion DC-DC conversion
  • DC-DC conversion or the like can provide the same operation and effect.
  • the supply battery BT corresponds to the first power system according to the present invention
  • the P terminal 12 and the N terminal 14 correspond to the first terminal according to the present invention
  • the motor M corresponds to the second power system according to the present invention.
  • the AC terminal 13 corresponds to the second terminal according to the present invention
  • the P electrode pattern 10, 10a corresponds to the first electrode according to the present invention
  • the N electrode pattern 9, 9a corresponds to the power system.
  • the AC electrode patterns 11 and 11a correspond to the output electrode according to the present invention
  • the insulating layers 8a and 8c correspond to the first insulating member according to the present invention.
  • the insulating layers 8b and 8d correspond to the second insulating member according to the present invention.

Landscapes

  • Engineering & Computer Science (AREA)
  • Chemical & Material Sciences (AREA)
  • Power Engineering (AREA)
  • Physics & Mathematics (AREA)
  • Condensed Matter Physics & Semiconductors (AREA)
  • General Physics & Mathematics (AREA)
  • Computer Hardware Design (AREA)
  • Microelectronics & Electronic Packaging (AREA)
  • Materials Engineering (AREA)
  • Ceramic Engineering (AREA)
  • Inverter Devices (AREA)
  • Shielding Devices Or Components To Electric Or Magnetic Fields (AREA)
  • Cooling Or The Like Of Semiconductors Or Solid State Devices (AREA)
PCT/JP2012/071398 2011-08-25 2012-08-24 半導体モジュール Ceased WO2013027819A1 (ja)

Priority Applications (3)

Application Number Priority Date Filing Date Title
CN201280039872.8A CN103782380B (zh) 2011-08-25 2012-08-24 半导体模块
EP12825114.7A EP2750184B1 (en) 2011-08-25 2012-08-24 Semiconductor module
US14/236,236 US8921998B2 (en) 2011-08-25 2012-08-24 Semiconductor module

Applications Claiming Priority (2)

Application Number Priority Date Filing Date Title
JP2011-184019 2011-08-25
JP2011184019A JP5798412B2 (ja) 2011-08-25 2011-08-25 半導体モジュール

Publications (1)

Publication Number Publication Date
WO2013027819A1 true WO2013027819A1 (ja) 2013-02-28

Family

ID=47746554

Family Applications (1)

Application Number Title Priority Date Filing Date
PCT/JP2012/071398 Ceased WO2013027819A1 (ja) 2011-08-25 2012-08-24 半導体モジュール

Country Status (5)

Country Link
US (1) US8921998B2 (enExample)
EP (1) EP2750184B1 (enExample)
JP (1) JP5798412B2 (enExample)
CN (1) CN103782380B (enExample)
WO (1) WO2013027819A1 (enExample)

Families Citing this family (27)

* Cited by examiner, † Cited by third party
Publication number Priority date Publication date Assignee Title
JP2016012973A (ja) * 2014-06-27 2016-01-21 株式会社オートネットワーク技術研究所 回路装置
EP3166144B1 (en) 2014-07-03 2019-08-07 Nissan Motor Co., Ltd Half-bridge power semiconductor module and manufacturing method therefor
WO2016042903A1 (ja) * 2014-09-17 2016-03-24 富士電機株式会社 半導体モジュール
JP2016061661A (ja) * 2014-09-17 2016-04-25 富士電機株式会社 圧力センサ装置および圧力センサ装置の製造方法
JP6327105B2 (ja) * 2014-10-17 2018-05-23 三菱電機株式会社 半導体装置
CN107155372B (zh) * 2014-11-28 2019-10-01 日产自动车株式会社 半桥功率半导体模块及其制造方法
JP2016115900A (ja) * 2014-12-18 2016-06-23 三菱電機株式会社 半導体モジュールおよび半導体装置
CN104867888A (zh) * 2015-05-04 2015-08-26 嘉兴斯达半导体股份有限公司 一种高散热性SiC的功率模块
WO2017002390A1 (ja) * 2015-06-30 2017-01-05 シャープ株式会社 回路モジュール
EP3226014B1 (en) * 2016-03-30 2024-01-10 Mitsubishi Electric R&D Centre Europe B.V. Method for estimating a level of damage or a lifetime expectation of a power semiconductor module comprising at least one die
US10404186B2 (en) 2016-10-27 2019-09-03 General Electric Company Power module systems and methods having reduced common mode capacitive currents and reduced electromagnetic interference
JP6809294B2 (ja) * 2017-03-02 2021-01-06 三菱電機株式会社 パワーモジュール
JP2018195694A (ja) * 2017-05-17 2018-12-06 株式会社Soken 電力変換器
JP6888468B2 (ja) * 2017-08-01 2021-06-16 富士電機株式会社 鉄道車両用電力変換装置
JP7252705B2 (ja) * 2017-09-28 2023-04-05 デンカ株式会社 多層回路基板及びその製造方法
JP2019091804A (ja) 2017-11-15 2019-06-13 シャープ株式会社 パワー半導体モジュールおよび電子機器
JP6954029B2 (ja) * 2017-11-15 2021-10-27 富士電機株式会社 電力変換装置および鉄道車両用電力変換装置
US10411609B2 (en) * 2017-12-22 2019-09-10 Panasonic Intellectual Property Management Co., Ltd. Substrate mounted inverter device
CN111199959B (zh) * 2018-11-19 2021-11-02 台达电子企业管理(上海)有限公司 功率模块的封装结构
DE112019007501T5 (de) * 2019-06-26 2022-04-14 Mitsubishi Electric Corporation Halbleiterbauelement und leistungswandlervorrichtung
TWI735179B (zh) * 2020-03-11 2021-08-01 佳世達科技股份有限公司 電子裝置與其減低漏電流方法
JP7318615B2 (ja) * 2020-09-11 2023-08-01 トヨタ自動車株式会社 電力変換装置
FR3131503B1 (fr) * 2021-12-28 2025-09-12 Thales Sa Composant de puissance à filtrage local et convertisseur mettant en œuvre plusieurs composants de puissance à filtrage local
CN114725055A (zh) * 2022-02-28 2022-07-08 华为数字能源技术有限公司 一种功率模块、电力系统和电子设备
WO2023222220A1 (en) * 2022-05-19 2023-11-23 Huawei Digital Power Technologies Co., Ltd. Power converter package with shielding against common mode conducted emissions
JP2024015805A (ja) * 2022-07-25 2024-02-06 マツダ株式会社 スイッチングデバイスおよびスイッチングモジュール
CN120072785A (zh) * 2023-11-28 2025-05-30 华为数字能源技术有限公司 功率模组以及光伏优化器

Citations (7)

* Cited by examiner, † Cited by third party
Publication number Priority date Publication date Assignee Title
JP2000031325A (ja) * 1998-07-13 2000-01-28 Hitachi Ltd 半導体パワーモジュール及びこれを用いたインバータ装置
JP2005020868A (ja) * 2003-06-25 2005-01-20 Fuji Electric Fa Components & Systems Co Ltd 電力変換回路
JP3649259B2 (ja) 1996-04-26 2005-05-18 株式会社安川電機 インバータ装置
JP2005217167A (ja) * 2004-01-29 2005-08-11 Kansai Electric Power Co Inc:The 半導体装置及びそれを用いた電力装置
JP2010016947A (ja) * 2008-07-02 2010-01-21 Fuji Electric Device Technology Co Ltd 電力変換装置のパワーモジュール
JP2012015418A (ja) * 2010-07-02 2012-01-19 Honda Motor Co Ltd 半導体装置
JP2012039825A (ja) * 2010-08-11 2012-02-23 Toyo Electric Mfg Co Ltd 電力変換装置

Family Cites Families (14)

* Cited by examiner, † Cited by third party
Publication number Priority date Publication date Assignee Title
JP2777464B2 (ja) * 1990-07-18 1998-07-16 株式会社日立製作所 電子装置と、これを用いたエンジンの点火装置
DE4418426B4 (de) * 1993-09-08 2007-08-02 Mitsubishi Denki K.K. Halbleiterleistungsmodul und Verfahren zur Herstellung des Halbleiterleistungsmoduls
EP0661748A1 (en) * 1993-12-28 1995-07-05 Hitachi, Ltd. Semiconductor device
JP3429921B2 (ja) * 1995-10-26 2003-07-28 三菱電機株式会社 半導体装置
JP3676268B2 (ja) * 2001-08-01 2005-07-27 株式会社日立製作所 伝熱構造体及び半導体装置
US6747300B2 (en) * 2002-03-04 2004-06-08 Ternational Rectifier Corporation H-bridge drive utilizing a pair of high and low side MOSFETs in a common insulation housing
US6946740B2 (en) * 2002-07-15 2005-09-20 International Rectifier Corporation High power MCM package
WO2004073065A1 (ja) * 2003-02-14 2004-08-26 Hitachi, Ltd. 半導体素子駆動用集積回路及び電力変換装置
JP2005332874A (ja) * 2004-05-18 2005-12-02 Hitachi Metals Ltd 回路基板及びこれを用いた半導体装置
US8018047B2 (en) * 2007-08-06 2011-09-13 Infineon Technologies Ag Power semiconductor module including a multilayer substrate
US8154114B2 (en) * 2007-08-06 2012-04-10 Infineon Technologies Ag Power semiconductor module
JP5272191B2 (ja) * 2007-08-31 2013-08-28 三菱電機株式会社 半導体装置および半導体装置の製造方法
CN102339818B (zh) * 2010-07-15 2014-04-30 台达电子工业股份有限公司 功率模块及其制造方法
CN102340233B (zh) * 2010-07-15 2014-05-07 台达电子工业股份有限公司 功率模块

Patent Citations (7)

* Cited by examiner, † Cited by third party
Publication number Priority date Publication date Assignee Title
JP3649259B2 (ja) 1996-04-26 2005-05-18 株式会社安川電機 インバータ装置
JP2000031325A (ja) * 1998-07-13 2000-01-28 Hitachi Ltd 半導体パワーモジュール及びこれを用いたインバータ装置
JP2005020868A (ja) * 2003-06-25 2005-01-20 Fuji Electric Fa Components & Systems Co Ltd 電力変換回路
JP2005217167A (ja) * 2004-01-29 2005-08-11 Kansai Electric Power Co Inc:The 半導体装置及びそれを用いた電力装置
JP2010016947A (ja) * 2008-07-02 2010-01-21 Fuji Electric Device Technology Co Ltd 電力変換装置のパワーモジュール
JP2012015418A (ja) * 2010-07-02 2012-01-19 Honda Motor Co Ltd 半導体装置
JP2012039825A (ja) * 2010-08-11 2012-02-23 Toyo Electric Mfg Co Ltd 電力変換装置

Non-Patent Citations (1)

* Cited by examiner, † Cited by third party
Title
See also references of EP2750184A4

Also Published As

Publication number Publication date
EP2750184B1 (en) 2020-10-07
US8921998B2 (en) 2014-12-30
EP2750184A4 (en) 2015-08-26
US20140159225A1 (en) 2014-06-12
EP2750184A1 (en) 2014-07-02
JP5798412B2 (ja) 2015-10-21
CN103782380A (zh) 2014-05-07
JP2013045974A (ja) 2013-03-04
CN103782380B (zh) 2019-12-13

Similar Documents

Publication Publication Date Title
JP5798412B2 (ja) 半導体モジュール
JP6513303B2 (ja) 電力用半導体モジュールおよび電力変換装置
US9685879B2 (en) Power semiconductor module and power conversion device
JP6425380B2 (ja) パワー回路およびパワーモジュール
US12438115B2 (en) Power semiconductor module
JP6717270B2 (ja) 半導体モジュール
US11605613B2 (en) Semiconductor device
Jakobi et al. Benefits of new CoolSiC TM MOSFET in HybridPACK TM Drive package for electrical drive train applications
JP6962945B2 (ja) パワー半導体モジュールおよびそれを用いた電力変換装置
CN111696976B (zh) 功率半导体模块衬底及其所应用的电动机车
JP2019017112A (ja) パワー回路
US11863166B2 (en) Power semiconductor module and power converter
KR20180126371A (ko) 전력 변환기
CN210516724U (zh) 一种功率半导体模块和功率半导体器件
JP2022050887A (ja) 半導体装置
JP2005251839A (ja) 電力用半導体モジュールの絶縁基板
JP2012050176A (ja) 電力変換装置のパワーモジュール
JP5119741B2 (ja) スイッチングモジュール
JP2025174867A (ja) 半導体装置及び電力変換装置
JP2008300530A (ja) スイッチングモジュール

Legal Events

Date Code Title Description
121 Ep: the epo has been informed by wipo that ep was designated in this application

Ref document number: 12825114

Country of ref document: EP

Kind code of ref document: A1

DPE2 Request for preliminary examination filed before expiration of 19th month from priority date (pct application filed from 20040101)
WWE Wipo information: entry into national phase

Ref document number: 14236236

Country of ref document: US

NENP Non-entry into the national phase

Ref country code: DE

WWE Wipo information: entry into national phase

Ref document number: 2012825114

Country of ref document: EP