WO2012117899A1 - 変速機制御装置及び電子回路装置 - Google Patents

変速機制御装置及び電子回路装置 Download PDF

Info

Publication number
WO2012117899A1
WO2012117899A1 PCT/JP2012/054162 JP2012054162W WO2012117899A1 WO 2012117899 A1 WO2012117899 A1 WO 2012117899A1 JP 2012054162 W JP2012054162 W JP 2012054162W WO 2012117899 A1 WO2012117899 A1 WO 2012117899A1
Authority
WO
WIPO (PCT)
Prior art keywords
electronic circuit
circuit board
base
sealing resin
opening
Prior art date
Legal status (The legal status is an assumption and is not a legal conclusion. Google has not performed a legal analysis and makes no representation as to the accuracy of the status listed.)
Ceased
Application number
PCT/JP2012/054162
Other languages
English (en)
French (fr)
Japanese (ja)
Inventor
清隆 菅野
小田倉 安則
Current Assignee (The listed assignees may be inaccurate. Google has not performed a legal analysis and makes no representation or warranty as to the accuracy of the list.)
Hitachi Astemo Ltd
Original Assignee
Hitachi Automotive Systems Ltd
Priority date (The priority date is an assumption and is not a legal conclusion. Google has not performed a legal analysis and makes no representation as to the accuracy of the date listed.)
Filing date
Publication date
Application filed by Hitachi Automotive Systems Ltd filed Critical Hitachi Automotive Systems Ltd
Priority to DE112012001049.3T priority Critical patent/DE112012001049B4/de
Priority to US13/985,235 priority patent/US20130329384A1/en
Publication of WO2012117899A1 publication Critical patent/WO2012117899A1/ja
Anticipated expiration legal-status Critical
Ceased legal-status Critical Current

Links

Images

Classifications

    • HELECTRICITY
    • H05ELECTRIC TECHNIQUES NOT OTHERWISE PROVIDED FOR
    • H05KPRINTED CIRCUITS; CASINGS OR CONSTRUCTIONAL DETAILS OF ELECTRIC APPARATUS; MANUFACTURE OF ASSEMBLAGES OF ELECTRICAL COMPONENTS
    • H05K1/00Printed circuits
    • H05K1/02Details
    • H05K1/0201Thermal arrangements, e.g. for cooling, heating or preventing overheating
    • H05K1/0212Printed circuits or mounted components having integral heating means
    • FMECHANICAL ENGINEERING; LIGHTING; HEATING; WEAPONS; BLASTING
    • F16ENGINEERING ELEMENTS AND UNITS; GENERAL MEASURES FOR PRODUCING AND MAINTAINING EFFECTIVE FUNCTIONING OF MACHINES OR INSTALLATIONS; THERMAL INSULATION IN GENERAL
    • F16HGEARING
    • F16H61/00Control functions within control units of change-speed- or reversing-gearings for conveying rotary motion ; Control of exclusively fluid gearing, friction gearing, gearings with endless flexible members or other particular types of gearing
    • F16H61/0003Arrangement or mounting of elements of the control apparatus, e.g. valve assemblies or snapfittings of valves; Arrangements of the control unit on or in the transmission gearbox
    • F16H61/0006Electronic control units for transmission control, e.g. connectors, casings or circuit boards
    • HELECTRICITY
    • H01ELECTRIC ELEMENTS
    • H01LSEMICONDUCTOR DEVICES NOT COVERED BY CLASS H10
    • H01L21/00Processes or apparatus adapted for the manufacture or treatment of semiconductor or solid state devices or of parts thereof
    • H01L21/02Manufacture or treatment of semiconductor devices or of parts thereof
    • H01L21/04Manufacture or treatment of semiconductor devices or of parts thereof the devices having potential barriers, e.g. a PN junction, depletion layer or carrier concentration layer
    • H01L21/50Assembly of semiconductor devices using processes or apparatus not provided for in a single one of the groups H01L21/18 - H01L21/326 or H10D48/04 - H10D48/07 e.g. sealing of a cap to a base of a container
    • H01L21/56Encapsulations, e.g. encapsulation layers, coatings
    • H01L21/563Encapsulation of active face of flip-chip device, e.g. underfilling or underencapsulation of flip-chip, encapsulation preform on chip or mounting substrate
    • HELECTRICITY
    • H01ELECTRIC ELEMENTS
    • H01LSEMICONDUCTOR DEVICES NOT COVERED BY CLASS H10
    • H01L23/00Details of semiconductor or other solid state devices
    • H01L23/34Arrangements for cooling, heating, ventilating or temperature compensation ; Temperature sensing arrangements
    • HELECTRICITY
    • H05ELECTRIC TECHNIQUES NOT OTHERWISE PROVIDED FOR
    • H05KPRINTED CIRCUITS; CASINGS OR CONSTRUCTIONAL DETAILS OF ELECTRIC APPARATUS; MANUFACTURE OF ASSEMBLAGES OF ELECTRICAL COMPONENTS
    • H05K1/00Printed circuits
    • H05K1/02Details
    • H05K1/0201Thermal arrangements, e.g. for cooling, heating or preventing overheating
    • H05K1/0203Cooling of mounted components
    • HELECTRICITY
    • H05ELECTRIC TECHNIQUES NOT OTHERWISE PROVIDED FOR
    • H05KPRINTED CIRCUITS; CASINGS OR CONSTRUCTIONAL DETAILS OF ELECTRIC APPARATUS; MANUFACTURE OF ASSEMBLAGES OF ELECTRICAL COMPONENTS
    • H05K3/00Apparatus or processes for manufacturing printed circuits
    • H05K3/22Secondary treatment of printed circuits
    • H05K3/28Applying non-metallic protective coatings
    • H05K3/284Applying non-metallic protective coatings for encapsulating mounted components
    • HELECTRICITY
    • H01ELECTRIC ELEMENTS
    • H01LSEMICONDUCTOR DEVICES NOT COVERED BY CLASS H10
    • H01L2224/00Indexing scheme for arrangements for connecting or disconnecting semiconductor or solid-state bodies and methods related thereto as covered by H01L24/00
    • H01L2224/01Means for bonding being attached to, or being formed on, the surface to be connected, e.g. chip-to-package, die-attach, "first-level" interconnects; Manufacturing methods related thereto
    • H01L2224/26Layer connectors, e.g. plate connectors, solder or adhesive layers; Manufacturing methods related thereto
    • H01L2224/28Structure, shape, material or disposition of the layer connectors prior to the connecting process
    • H01L2224/29Structure, shape, material or disposition of the layer connectors prior to the connecting process of an individual layer connector
    • H01L2224/29001Core members of the layer connector
    • H01L2224/29099Material
    • H01L2224/2919Material with a principal constituent of the material being a polymer, e.g. polyester, phenolic based polymer, epoxy
    • HELECTRICITY
    • H01ELECTRIC ELEMENTS
    • H01LSEMICONDUCTOR DEVICES NOT COVERED BY CLASS H10
    • H01L2224/00Indexing scheme for arrangements for connecting or disconnecting semiconductor or solid-state bodies and methods related thereto as covered by H01L24/00
    • H01L2224/01Means for bonding being attached to, or being formed on, the surface to be connected, e.g. chip-to-package, die-attach, "first-level" interconnects; Manufacturing methods related thereto
    • H01L2224/26Layer connectors, e.g. plate connectors, solder or adhesive layers; Manufacturing methods related thereto
    • H01L2224/31Structure, shape, material or disposition of the layer connectors after the connecting process
    • H01L2224/32Structure, shape, material or disposition of the layer connectors after the connecting process of an individual layer connector
    • H01L2224/321Disposition
    • H01L2224/32151Disposition the layer connector connecting between a semiconductor or solid-state body and an item not being a semiconductor or solid-state body, e.g. chip-to-substrate, chip-to-passive
    • H01L2224/32221Disposition the layer connector connecting between a semiconductor or solid-state body and an item not being a semiconductor or solid-state body, e.g. chip-to-substrate, chip-to-passive the body and the item being stacked
    • H01L2224/32225Disposition the layer connector connecting between a semiconductor or solid-state body and an item not being a semiconductor or solid-state body, e.g. chip-to-substrate, chip-to-passive the body and the item being stacked the item being non-metallic, e.g. insulating substrate with or without metallisation
    • HELECTRICITY
    • H01ELECTRIC ELEMENTS
    • H01LSEMICONDUCTOR DEVICES NOT COVERED BY CLASS H10
    • H01L2224/00Indexing scheme for arrangements for connecting or disconnecting semiconductor or solid-state bodies and methods related thereto as covered by H01L24/00
    • H01L2224/01Means for bonding being attached to, or being formed on, the surface to be connected, e.g. chip-to-package, die-attach, "first-level" interconnects; Manufacturing methods related thereto
    • H01L2224/42Wire connectors; Manufacturing methods related thereto
    • H01L2224/44Structure, shape, material or disposition of the wire connectors prior to the connecting process
    • H01L2224/45Structure, shape, material or disposition of the wire connectors prior to the connecting process of an individual wire connector
    • H01L2224/45001Core members of the connector
    • H01L2224/45099Material
    • H01L2224/451Material with a principal constituent of the material being a metal or a metalloid, e.g. boron (B), silicon (Si), germanium (Ge), arsenic (As), antimony (Sb), tellurium (Te) and polonium (Po), and alloys thereof
    • H01L2224/45138Material with a principal constituent of the material being a metal or a metalloid, e.g. boron (B), silicon (Si), germanium (Ge), arsenic (As), antimony (Sb), tellurium (Te) and polonium (Po), and alloys thereof the principal constituent melting at a temperature of greater than or equal to 950°C and less than 1550°C
    • H01L2224/45144Gold (Au) as principal constituent
    • HELECTRICITY
    • H01ELECTRIC ELEMENTS
    • H01LSEMICONDUCTOR DEVICES NOT COVERED BY CLASS H10
    • H01L2224/00Indexing scheme for arrangements for connecting or disconnecting semiconductor or solid-state bodies and methods related thereto as covered by H01L24/00
    • H01L2224/01Means for bonding being attached to, or being formed on, the surface to be connected, e.g. chip-to-package, die-attach, "first-level" interconnects; Manufacturing methods related thereto
    • H01L2224/42Wire connectors; Manufacturing methods related thereto
    • H01L2224/47Structure, shape, material or disposition of the wire connectors after the connecting process
    • H01L2224/48Structure, shape, material or disposition of the wire connectors after the connecting process of an individual wire connector
    • H01L2224/481Disposition
    • H01L2224/48151Connecting between a semiconductor or solid-state body and an item not being a semiconductor or solid-state body, e.g. chip-to-substrate, chip-to-passive
    • H01L2224/48221Connecting between a semiconductor or solid-state body and an item not being a semiconductor or solid-state body, e.g. chip-to-substrate, chip-to-passive the body and the item being stacked
    • H01L2224/48225Connecting between a semiconductor or solid-state body and an item not being a semiconductor or solid-state body, e.g. chip-to-substrate, chip-to-passive the body and the item being stacked the item being non-metallic, e.g. insulating substrate with or without metallisation
    • H01L2224/48227Connecting between a semiconductor or solid-state body and an item not being a semiconductor or solid-state body, e.g. chip-to-substrate, chip-to-passive the body and the item being stacked the item being non-metallic, e.g. insulating substrate with or without metallisation connecting the wire to a bond pad of the item
    • HELECTRICITY
    • H01ELECTRIC ELEMENTS
    • H01LSEMICONDUCTOR DEVICES NOT COVERED BY CLASS H10
    • H01L2224/00Indexing scheme for arrangements for connecting or disconnecting semiconductor or solid-state bodies and methods related thereto as covered by H01L24/00
    • H01L2224/01Means for bonding being attached to, or being formed on, the surface to be connected, e.g. chip-to-package, die-attach, "first-level" interconnects; Manufacturing methods related thereto
    • H01L2224/42Wire connectors; Manufacturing methods related thereto
    • H01L2224/47Structure, shape, material or disposition of the wire connectors after the connecting process
    • H01L2224/49Structure, shape, material or disposition of the wire connectors after the connecting process of a plurality of wire connectors
    • H01L2224/4901Structure
    • H01L2224/4903Connectors having different sizes, e.g. different diameters
    • HELECTRICITY
    • H01ELECTRIC ELEMENTS
    • H01LSEMICONDUCTOR DEVICES NOT COVERED BY CLASS H10
    • H01L2224/00Indexing scheme for arrangements for connecting or disconnecting semiconductor or solid-state bodies and methods related thereto as covered by H01L24/00
    • H01L2224/01Means for bonding being attached to, or being formed on, the surface to be connected, e.g. chip-to-package, die-attach, "first-level" interconnects; Manufacturing methods related thereto
    • H01L2224/42Wire connectors; Manufacturing methods related thereto
    • H01L2224/47Structure, shape, material or disposition of the wire connectors after the connecting process
    • H01L2224/49Structure, shape, material or disposition of the wire connectors after the connecting process of a plurality of wire connectors
    • H01L2224/491Disposition
    • H01L2224/4911Disposition the connectors being bonded to at least one common bonding area, e.g. daisy chain
    • H01L2224/49111Disposition the connectors being bonded to at least one common bonding area, e.g. daisy chain the connectors connecting two common bonding areas, e.g. Litz or braid wires
    • HELECTRICITY
    • H01ELECTRIC ELEMENTS
    • H01LSEMICONDUCTOR DEVICES NOT COVERED BY CLASS H10
    • H01L2224/00Indexing scheme for arrangements for connecting or disconnecting semiconductor or solid-state bodies and methods related thereto as covered by H01L24/00
    • H01L2224/01Means for bonding being attached to, or being formed on, the surface to be connected, e.g. chip-to-package, die-attach, "first-level" interconnects; Manufacturing methods related thereto
    • H01L2224/42Wire connectors; Manufacturing methods related thereto
    • H01L2224/47Structure, shape, material or disposition of the wire connectors after the connecting process
    • H01L2224/49Structure, shape, material or disposition of the wire connectors after the connecting process of a plurality of wire connectors
    • H01L2224/491Disposition
    • H01L2224/4912Layout
    • H01L2224/49171Fan-out arrangements
    • HELECTRICITY
    • H01ELECTRIC ELEMENTS
    • H01LSEMICONDUCTOR DEVICES NOT COVERED BY CLASS H10
    • H01L2224/00Indexing scheme for arrangements for connecting or disconnecting semiconductor or solid-state bodies and methods related thereto as covered by H01L24/00
    • H01L2224/73Means for bonding being of different types provided for in two or more of groups H01L2224/10, H01L2224/18, H01L2224/26, H01L2224/34, H01L2224/42, H01L2224/50, H01L2224/63, H01L2224/71
    • H01L2224/732Location after the connecting process
    • H01L2224/73251Location after the connecting process on different surfaces
    • H01L2224/73265Layer and wire connectors
    • HELECTRICITY
    • H01ELECTRIC ELEMENTS
    • H01LSEMICONDUCTOR DEVICES NOT COVERED BY CLASS H10
    • H01L24/00Arrangements for connecting or disconnecting semiconductor or solid-state bodies; Methods or apparatus related thereto
    • H01L24/01Means for bonding being attached to, or being formed on, the surface to be connected, e.g. chip-to-package, die-attach, "first-level" interconnects; Manufacturing methods related thereto
    • H01L24/26Layer connectors, e.g. plate connectors, solder or adhesive layers; Manufacturing methods related thereto
    • H01L24/28Structure, shape, material or disposition of the layer connectors prior to the connecting process
    • H01L24/29Structure, shape, material or disposition of the layer connectors prior to the connecting process of an individual layer connector
    • HELECTRICITY
    • H01ELECTRIC ELEMENTS
    • H01LSEMICONDUCTOR DEVICES NOT COVERED BY CLASS H10
    • H01L24/00Arrangements for connecting or disconnecting semiconductor or solid-state bodies; Methods or apparatus related thereto
    • H01L24/01Means for bonding being attached to, or being formed on, the surface to be connected, e.g. chip-to-package, die-attach, "first-level" interconnects; Manufacturing methods related thereto
    • H01L24/26Layer connectors, e.g. plate connectors, solder or adhesive layers; Manufacturing methods related thereto
    • H01L24/31Structure, shape, material or disposition of the layer connectors after the connecting process
    • H01L24/32Structure, shape, material or disposition of the layer connectors after the connecting process of an individual layer connector
    • HELECTRICITY
    • H01ELECTRIC ELEMENTS
    • H01LSEMICONDUCTOR DEVICES NOT COVERED BY CLASS H10
    • H01L24/00Arrangements for connecting or disconnecting semiconductor or solid-state bodies; Methods or apparatus related thereto
    • H01L24/01Means for bonding being attached to, or being formed on, the surface to be connected, e.g. chip-to-package, die-attach, "first-level" interconnects; Manufacturing methods related thereto
    • H01L24/42Wire connectors; Manufacturing methods related thereto
    • H01L24/44Structure, shape, material or disposition of the wire connectors prior to the connecting process
    • H01L24/45Structure, shape, material or disposition of the wire connectors prior to the connecting process of an individual wire connector
    • HELECTRICITY
    • H01ELECTRIC ELEMENTS
    • H01LSEMICONDUCTOR DEVICES NOT COVERED BY CLASS H10
    • H01L24/00Arrangements for connecting or disconnecting semiconductor or solid-state bodies; Methods or apparatus related thereto
    • H01L24/01Means for bonding being attached to, or being formed on, the surface to be connected, e.g. chip-to-package, die-attach, "first-level" interconnects; Manufacturing methods related thereto
    • H01L24/42Wire connectors; Manufacturing methods related thereto
    • H01L24/47Structure, shape, material or disposition of the wire connectors after the connecting process
    • H01L24/48Structure, shape, material or disposition of the wire connectors after the connecting process of an individual wire connector
    • HELECTRICITY
    • H01ELECTRIC ELEMENTS
    • H01LSEMICONDUCTOR DEVICES NOT COVERED BY CLASS H10
    • H01L24/00Arrangements for connecting or disconnecting semiconductor or solid-state bodies; Methods or apparatus related thereto
    • H01L24/01Means for bonding being attached to, or being formed on, the surface to be connected, e.g. chip-to-package, die-attach, "first-level" interconnects; Manufacturing methods related thereto
    • H01L24/42Wire connectors; Manufacturing methods related thereto
    • H01L24/47Structure, shape, material or disposition of the wire connectors after the connecting process
    • H01L24/49Structure, shape, material or disposition of the wire connectors after the connecting process of a plurality of wire connectors
    • HELECTRICITY
    • H01ELECTRIC ELEMENTS
    • H01LSEMICONDUCTOR DEVICES NOT COVERED BY CLASS H10
    • H01L24/00Arrangements for connecting or disconnecting semiconductor or solid-state bodies; Methods or apparatus related thereto
    • H01L24/73Means for bonding being of different types provided for in two or more of groups H01L24/10, H01L24/18, H01L24/26, H01L24/34, H01L24/42, H01L24/50, H01L24/63, H01L24/71
    • HELECTRICITY
    • H01ELECTRIC ELEMENTS
    • H01LSEMICONDUCTOR DEVICES NOT COVERED BY CLASS H10
    • H01L2924/00Indexing scheme for arrangements or methods for connecting or disconnecting semiconductor or solid-state bodies as covered by H01L24/00
    • H01L2924/01Chemical elements
    • H01L2924/01013Aluminum [Al]
    • HELECTRICITY
    • H01ELECTRIC ELEMENTS
    • H01LSEMICONDUCTOR DEVICES NOT COVERED BY CLASS H10
    • H01L2924/00Indexing scheme for arrangements or methods for connecting or disconnecting semiconductor or solid-state bodies as covered by H01L24/00
    • H01L2924/15Details of package parts other than the semiconductor or other solid state devices to be connected
    • H01L2924/151Die mounting substrate
    • H01L2924/1515Shape
    • H01L2924/15151Shape the die mounting substrate comprising an aperture, e.g. for underfilling, outgassing, window type wire connections
    • HELECTRICITY
    • H01ELECTRIC ELEMENTS
    • H01LSEMICONDUCTOR DEVICES NOT COVERED BY CLASS H10
    • H01L2924/00Indexing scheme for arrangements or methods for connecting or disconnecting semiconductor or solid-state bodies as covered by H01L24/00
    • H01L2924/15Details of package parts other than the semiconductor or other solid state devices to be connected
    • H01L2924/181Encapsulation
    • HELECTRICITY
    • H01ELECTRIC ELEMENTS
    • H01LSEMICONDUCTOR DEVICES NOT COVERED BY CLASS H10
    • H01L2924/00Indexing scheme for arrangements or methods for connecting or disconnecting semiconductor or solid-state bodies as covered by H01L24/00
    • H01L2924/19Details of hybrid assemblies other than the semiconductor or other solid state devices to be connected
    • H01L2924/191Disposition
    • H01L2924/19101Disposition of discrete passive components
    • H01L2924/19107Disposition of discrete passive components off-chip wires
    • HELECTRICITY
    • H05ELECTRIC TECHNIQUES NOT OTHERWISE PROVIDED FOR
    • H05KPRINTED CIRCUITS; CASINGS OR CONSTRUCTIONAL DETAILS OF ELECTRIC APPARATUS; MANUFACTURE OF ASSEMBLAGES OF ELECTRICAL COMPONENTS
    • H05K2201/00Indexing scheme relating to printed circuits covered by H05K1/00
    • H05K2201/09Shape and layout
    • H05K2201/09009Substrate related
    • H05K2201/09072Hole or recess under component or special relationship between hole and component
    • HELECTRICITY
    • H05ELECTRIC TECHNIQUES NOT OTHERWISE PROVIDED FOR
    • H05KPRINTED CIRCUITS; CASINGS OR CONSTRUCTIONAL DETAILS OF ELECTRIC APPARATUS; MANUFACTURE OF ASSEMBLAGES OF ELECTRICAL COMPONENTS
    • H05K2201/00Indexing scheme relating to printed circuits covered by H05K1/00
    • H05K2201/10Details of components or other objects attached to or integrated in a printed circuit board
    • H05K2201/10007Types of components
    • H05K2201/10166Transistor
    • HELECTRICITY
    • H05ELECTRIC TECHNIQUES NOT OTHERWISE PROVIDED FOR
    • H05KPRINTED CIRCUITS; CASINGS OR CONSTRUCTIONAL DETAILS OF ELECTRIC APPARATUS; MANUFACTURE OF ASSEMBLAGES OF ELECTRICAL COMPONENTS
    • H05K2203/00Indexing scheme relating to apparatus or processes for manufacturing printed circuits covered by H05K3/00
    • H05K2203/13Moulding and encapsulation; Deposition techniques; Protective layers
    • H05K2203/1305Moulding and encapsulation
    • H05K2203/1316Moulded encapsulation of mounted components
    • HELECTRICITY
    • H05ELECTRIC TECHNIQUES NOT OTHERWISE PROVIDED FOR
    • H05KPRINTED CIRCUITS; CASINGS OR CONSTRUCTIONAL DETAILS OF ELECTRIC APPARATUS; MANUFACTURE OF ASSEMBLAGES OF ELECTRICAL COMPONENTS
    • H05K3/00Apparatus or processes for manufacturing printed circuits
    • H05K3/0058Laminating printed circuit boards onto other substrates, e.g. metallic substrates
    • H05K3/0061Laminating printed circuit boards onto other substrates, e.g. metallic substrates onto a metallic substrate, e.g. a heat sink

Definitions

  • the present invention relates to a shift control device for an automobile, and is suitable, for example, for a control valve for controlling an automatic transmission and an electronic circuit device for controlling a control target component of the control valve. .
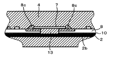
  • FIG. 11 shows an electronic circuit assembly for controlling a transmission and a drive unit of an automobile, a base for fixing the electronic circuit assembly, and lead terminals electrically connected to the electronic circuit assembly. It is the electronic circuit device 1 sealed with.
  • FIGS. 11B and 11C are partial cross-sectional views taken along lines II and II-II in FIG. 11A, respectively.
  • An electronic circuit assembly 5 including a circuit board 8 on which the circuit element 6 and the bare chip 7 are mounted is bonded and fixed to the base 2 having the flange portion 2a with an adhesive 10 such as epoxy.
  • the lead terminal 3 is disposed so as to correspond to the bonding pad portion 12 of the electronic circuit assembly 5.
  • the electronic circuit assembly 5 and the lead terminal 3 are electrically connected to the bonding pad portion 12 included in the electronic circuit assembly 5 and the bonding pad portion 3a included in the lead terminal 3 through the fine aluminum wire 11 by wire bonding. .
  • the electronic circuit assembly 5 is bonded and fixed to the upper surface of the base 2 with an adhesive 10
  • the electronic circuit assembly 5 and the lead terminal 3 are connected with the aluminum thin wire 11, and then these components, circuit element 6, bare chip 7, and circuit board are connected.
  • the base 2 and the lead terminal 3 are collectively embedded in the sealing resin 4 except for a part of the lead terminal 3 and a part of the flange portion 2a of the base 2.
  • the sealing resin 4 is manufactured by transfer molding.
  • thermosetting resin such as an epoxy resin
  • the resin is fluidized and solidified in the mold.
  • the bare chip 7 is joined to the circuit board 8 by solder and silver paste material, and is electrically connected to the circuit board 8 by Au fine wires 9.
  • a ceramic substrate having a high thermal conductivity is used as the circuit board 8. The heat generated in the bare chip 7 is transferred through the path radiated from the sealing resin 4 in close contact with the bare chip 7, the circuit board 8 on which the bare chip 7 is mounted, the substrate bonding portion 2 b, and the base 2. The heat is radiated to the mating member via the flange portion 2a.
  • the structure of the conventional electronic circuit device is expensive because a ceramic substrate having high thermal conductivity is used for the circuit board in order to obtain high heat dissipation.
  • a method of using a glass epoxy substrate as a circuit board but the glass epoxy substrate has a lower thermal conductivity than a ceramic substrate. The heat generated in the bare chip is transferred through the path where heat is released from the sealing resin that is in close contact with the bare chip, the circuit board on which the bare chip is mounted, the substrate bonding part, and the base, and is integrated with the base.
  • an electronic circuit assembly for controlling a transmission and a drive unit of an automobile, a base for fixing the electronic circuit assembly, and a lead terminal electrically connected to the electronic circuit assembly are molded resin.
  • a heat dissipation structure having an opening penetrating a circuit board and a base below a heat generating circuit element (bare chip), wherein both surfaces of the heat generating element are thermally connected to a sealing resin It was.
  • the heat generating circuit element (bare chip) has an opening that penetrates the circuit board and the base, and both surfaces of the heat generating element are thermally connected to the sealing resin.
  • the heat generated in the bare chip is transferred to the base via the sealing resin with high thermal conductivity instead of passing through the glass epoxy substrate with poor thermal conductivity, and the counterpart through the flange. Heat can be radiated to the member.
  • heat dissipation can be improved at low cost by using sealing resin as a heat conductive material instead of a heat sink.
  • the sealing resin can be injected into the opening that penetrates the circuit board and the base below the bare chip during transfer molding.
  • the fluidity is improved, the generation of voids at the bottom of the bare chip can be reduced, and the sealing resin can be efficiently and thermally connected to both surfaces of the bare chip.
  • FIG. 1 is a heat dissipation structure for an electronic circuit device according to a first embodiment.
  • FIG. 5 is a detailed cross-sectional view of a heat dissipation structure of Example 2.
  • FIG. 5 is a detailed cross-sectional view of a heat dissipation structure of Example 3.
  • paths of the diagonal direction which it has in a circuit board.
  • FIG. 3 is a detailed view of an opening for a passage combining a perpendicular direction and an oblique direction of the circuit board.
  • FIG. 7 is a heat dissipation structure for an electronic circuit device according to a fourth embodiment.
  • FIG. 6 is a detailed cross-sectional view of a heat dissipation structure of Example 4.
  • FIG. 6 is an opening cross-sectional view for a groove-shaped passage included in a circuit board of Example 4; Conventional electronic circuit device heat dissipation structure.
  • FIGS. 1 and 8 show an electronic circuit assembly for controlling a transmission and a drive unit of an automobile, a base for fixing the electronic circuit assembly, and lead terminals electrically connected to the electronic circuit assembly.
  • 1 is an electronic circuit device 1 sealed with a mold resin.
  • 2, 3 and 9 are detailed views of the bare chip 7 part.
  • the sectional view is a partial sectional view taken along line III-III.
  • 4 to 6 are detailed views of the passage openings 8a and 8b provided in the circuit board 8
  • FIGS. 7 and 10 are detailed views of the groove-shaped openings 8c.
  • FIG. 1 shows a first embodiment of the present invention.
  • 1B and 1C are partial cross-sectional views taken along lines II and II-II of FIG. 1A, respectively.
  • an electronic circuit assembly 5 comprising a circuit board 8 on which a circuit element 6 and a bare chip 7 are mounted is bonded and fixed to a base 2 having a flange portion 2a with an adhesive 10 such as epoxy.
  • the lead terminal 3 is disposed so as to correspond to the bonding pad portion 12 of the electronic circuit assembly 5.
  • the electronic circuit assembly 5 and the lead terminal 3 are electrically connected to the bonding pad portion 12 included in the electronic circuit assembly 5 and the bonding pad portion 3a included in the lead terminal 3 through the fine aluminum wire 11 by wire bonding. .
  • the electronic circuit assembly 5 and the lead terminal 3 are connected with the aluminum thin wire 11, and then these components, circuit element 6, bare chip 7, and circuit board are connected.
  • the base 2 and the lead terminal 3 are collectively embedded in the sealing resin 4 except for a part of the lead terminal 3 and a part of the flange portion 2a of the base 2.
  • the sealing resin 4 is manufactured by transfer molding. Generally, a thermosetting resin such as an epoxy resin is used as the sealing resin, and the resin is fluidized and solidified in the mold.
  • the bare chip 7 is joined to the circuit board 8 by solder and silver paste material, and is electrically connected to the circuit board 8 by Au fine wires 9.
  • the circuit board 8 is a glass epoxy board.
  • An opening 13 that penetrates the circuit board 8 and the base 2 is provided below the bare chip 7, and both surfaces of the bare chip 7 are in close contact with the sealing resin 4.
  • the heat generated in the bare chip 7 is radiated from the sealing resin 4 that is in close contact with both surfaces of the bare chip 7. Further, heat is transmitted through the base 2 that is in close contact with the sealing resin 4 and is radiated to the mating member through the flange portion 2a.
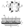
  • FIG. 2 shows a second embodiment of the present invention.
  • FIG. 2B is a partial cross-sectional view taken along the line III-III in FIG.
  • a passage that passes through the circuit board 8 in a direction perpendicular to the flow direction 14 of the resin.
  • Has an opening 8a for transfer improves the fluidity of the sealing resin 4 to the opening 13 penetrating the circuit board 8 and the base 2 under the bare chip 7 during transfer molding, and reduces the generation of voids under the bare chip 7
  • the sealing resin 4 is efficiently and thermally coupled to both surfaces of the bare chip 7.
  • the passage opening may be a passage opening 8b penetrating in an oblique direction with respect to the resin flow direction 14, as shown in FIG.
  • the flowability of the resin may be further improved by combining the passage opening 8 a penetrating in the orthogonal direction and the passage opening 8 b penetrating in the oblique direction.
  • path which has in the circuit board 8 may be the groove-shaped channel
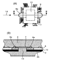
  • FIG. 3 shows a third embodiment of the present invention.
  • FIG. 3B is a partial cross-sectional view taken along line III-III in FIG.
  • the circuit board 8 and the base 2 are perpendicular to the resin flow direction 14. It has openings 8a and 2c for the passages that pass through, and improves the fluidity of the sealing resin 4 to the opening 13 that penetrates the circuit board 8 and the base 2 below the bare chip 7 at the time of transfer molding.
  • the generation of voids can be reduced, and the sealing resin 4 is efficiently and thermally connected to both surfaces of the bare chip 7.
  • the passage opening may be a passage opening 8b penetrating in an oblique direction with respect to the resin flow direction 14, as shown in FIG.
  • the flowability of the resin may be further improved by combining the passage opening 8 a penetrating in the orthogonal direction and the passage opening 8 b penetrating in the oblique direction. .
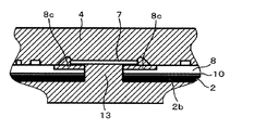
  • FIG. 8 shows a fourth embodiment of the present invention.
  • 8B and 8C are partial cross-sectional views taken along lines II and II-II of FIG. 8A, respectively.
  • an electronic circuit assembly 5 including a circuit board 8 on which a circuit element 6 and a bare chip 7 are mounted is bonded and fixed to a base 2 having a flange portion 2b with an adhesive 10 such as epoxy.
  • the lead terminal 3 is disposed so as to correspond to the bonding pad portion 12 of the electronic circuit assembly 5.
  • the electronic circuit assembly 5 and the lead terminal 3 are electrically connected to the bonding pad portion 12 included in the electronic circuit assembly 5 and the bonding pad portion 3a included in the lead terminal 3 through the fine aluminum wire 11 by wire bonding. .
  • the electronic circuit assembly 5 and the lead terminal 3 are connected with the aluminum thin wire 11, and then these components, circuit element 6, bare chip 7, and circuit board are connected.
  • the base 2 and the lead terminal 3 are collectively embedded in the sealing resin 4 except for a part of the lead terminal 3 and a part of the flange portion 2a of the base 2.
  • the sealing resin 4 is manufactured by transfer molding. Generally, a thermosetting resin such as an epoxy resin is used as the sealing resin, and the resin is fluidized and solidified in the mold.
  • the bare chip 7 is joined to the circuit board 8 by solder and silver paste material, and is electrically connected to the circuit board 8 by Au fine wires 9.
  • the circuit board 8 is a glass epoxy board. An opening 13 that penetrates the circuit board 8 is provided below the bare chip 7, and both surfaces of the bare chip 7 are in close contact with the sealing resin 4. The heat generated in the bare chip 7 is radiated from the sealing resin 4 that is in close contact with both surfaces of the bare chip 7. Further, heat is transmitted through the base 2 that is in close contact with the sealing resin 4, and heat is radiated to the mating member through the flange portion 2a integrated with the base. As shown in FIG. 9, in order to make it easy to fill the sealing resin 4 in the opening 13 penetrating the circuit board 8 and the base 2, the circuit board 8 is used for a passage penetrating in the direction perpendicular to the resin flow direction 14.
  • FIG. 9B is a partial cross-sectional view taken along the line II of FIG. 9A. Further, as shown in FIGS.
  • the flowability of the resin may be further improved by combining the passage opening 8 a penetrating in the orthogonal direction and the passage opening 8 b penetrating in the oblique direction.
  • path which has in the circuit board 8 may be the groove-shaped channel

Landscapes

  • Engineering & Computer Science (AREA)
  • Microelectronics & Electronic Packaging (AREA)
  • Power Engineering (AREA)
  • General Physics & Mathematics (AREA)
  • Computer Hardware Design (AREA)
  • Condensed Matter Physics & Semiconductors (AREA)
  • Physics & Mathematics (AREA)
  • Manufacturing & Machinery (AREA)
  • General Engineering & Computer Science (AREA)
  • Mechanical Engineering (AREA)
  • Structures Or Materials For Encapsulating Or Coating Semiconductor Devices Or Solid State Devices (AREA)
  • Cooling Or The Like Of Semiconductors Or Solid State Devices (AREA)
  • Control Of Transmission Device (AREA)
PCT/JP2012/054162 2011-03-01 2012-02-21 変速機制御装置及び電子回路装置 Ceased WO2012117899A1 (ja)

Priority Applications (2)

Application Number Priority Date Filing Date Title
DE112012001049.3T DE112012001049B4 (de) 2011-03-01 2012-02-21 Getriebesteuervorrichtung und elektronische Schaltungsvorrichtung
US13/985,235 US20130329384A1 (en) 2011-03-01 2012-02-21 Transmission Control Device and Electronic Circuit Device

Applications Claiming Priority (2)

Application Number Priority Date Filing Date Title
JP2011043464A JP5699006B2 (ja) 2011-03-01 2011-03-01 変速機制御装置及び電子回路装置
JP2011-043464 2011-03-01

Publications (1)

Publication Number Publication Date
WO2012117899A1 true WO2012117899A1 (ja) 2012-09-07

Family

ID=46757838

Family Applications (1)

Application Number Title Priority Date Filing Date
PCT/JP2012/054162 Ceased WO2012117899A1 (ja) 2011-03-01 2012-02-21 変速機制御装置及び電子回路装置

Country Status (4)

Country Link
US (1) US20130329384A1 (enExample)
JP (1) JP5699006B2 (enExample)
DE (1) DE112012001049B4 (enExample)
WO (1) WO2012117899A1 (enExample)

Cited By (1)

* Cited by examiner, † Cited by third party
Publication number Priority date Publication date Assignee Title
DE102022210525A1 (de) 2022-10-05 2024-04-11 Vitesco Technologies Germany Gmbh Elektronische Baugruppe, sowie Verfahren zu deren Herstellung

Families Citing this family (3)

* Cited by examiner, † Cited by third party
Publication number Priority date Publication date Assignee Title
US8207607B2 (en) * 2007-12-14 2012-06-26 Denso Corporation Semiconductor device with resin mold
KR20230023834A (ko) * 2020-12-09 2023-02-20 주식회사 솔루엠 에어포켓 방지 기판, 에어포켓 방지 기판 모듈, 이를 포함하는 전기기기 및 이를 포함하는 전기기기의 제조 방법
USD984397S1 (en) * 2021-03-16 2023-04-25 Yidong Cai Circuit board

Citations (3)

* Cited by examiner, † Cited by third party
Publication number Priority date Publication date Assignee Title
JPH03138952A (ja) * 1989-10-25 1991-06-13 Hitachi Ltd 半導体デバイス
JP2000286379A (ja) * 1999-01-28 2000-10-13 Fujitsu Ltd 半導体装置及びその製造方法
JP2007043196A (ja) * 2006-10-10 2007-02-15 Hitachi Ltd 電子回路装置

Family Cites Families (6)

* Cited by examiner, † Cited by third party
Publication number Priority date Publication date Assignee Title
US6188579B1 (en) * 1999-07-12 2001-02-13 Lucent Technologies Inc. Apparatus and methods for forming a printed wiring board assembly to reduce pallet warpage
US6400574B1 (en) * 2000-05-11 2002-06-04 Micron Technology, Inc. Molded ball grid array
JP3553513B2 (ja) 2001-03-06 2004-08-11 株式会社日立製作所 自動車用電子回路装置
DE10210041B4 (de) * 2002-03-07 2009-04-16 Continental Automotive Gmbh Wärmeableitvorrichtung zum Ableiten von Wärme, die von einem elektrischen Bauelement erzeugt wird und Verfahren zum Herstellen einer derartigen Wärmeableitvorrichtung
JP4283514B2 (ja) * 2002-09-24 2009-06-24 株式会社日立製作所 電子回路装置
JP4821537B2 (ja) * 2006-09-26 2011-11-24 株式会社デンソー 電子制御装置

Patent Citations (3)

* Cited by examiner, † Cited by third party
Publication number Priority date Publication date Assignee Title
JPH03138952A (ja) * 1989-10-25 1991-06-13 Hitachi Ltd 半導体デバイス
JP2000286379A (ja) * 1999-01-28 2000-10-13 Fujitsu Ltd 半導体装置及びその製造方法
JP2007043196A (ja) * 2006-10-10 2007-02-15 Hitachi Ltd 電子回路装置

Cited By (1)

* Cited by examiner, † Cited by third party
Publication number Priority date Publication date Assignee Title
DE102022210525A1 (de) 2022-10-05 2024-04-11 Vitesco Technologies Germany Gmbh Elektronische Baugruppe, sowie Verfahren zu deren Herstellung

Also Published As

Publication number Publication date
DE112012001049B4 (de) 2016-04-07
JP5699006B2 (ja) 2015-04-08
US20130329384A1 (en) 2013-12-12
JP2012182267A (ja) 2012-09-20
DE112012001049T5 (de) 2013-12-12

Similar Documents

Publication Publication Date Title
KR101643332B1 (ko) 초음파 웰딩을 이용한 클립 본딩 반도체 칩 패키지 및 그 제조 방법
CN104051377B (zh) 功率覆盖结构及其制作方法
CN105405815A (zh) 半导体装置及其制造方法
JP5607829B2 (ja) 半導体装置
WO2019146402A1 (ja) 電力変換装置及び電力変換装置の製造方法
JP5120032B2 (ja) 電子装置
JP5699006B2 (ja) 変速機制御装置及び電子回路装置
JP7088224B2 (ja) 半導体モジュールおよびこれに用いられる半導体装置
JP5262983B2 (ja) モールドパッケージおよびその製造方法
JP2008205100A (ja) 電力半導体装置
CN114730748B (zh) 用于消耗装置的可控电功率供应的具有被封装的功率半导体的功率模块及用于生产该功率模块的方法
JP6797002B2 (ja) 半導体装置および半導体装置の製造方法
JP6354163B2 (ja) 回路基板および電子装置
JP5239736B2 (ja) 電子装置
JP2014216326A (ja) 電子装置およびその製造方法
JP6391430B2 (ja) 電子制御装置およびその製造方法
KR20150031029A (ko) 반도체 패키지 및 그 제조 방법
JP2008141140A (ja) 半導体装置
CN104134633A (zh) 大功率芯片柔性基板封装结构及封装工艺
WO2020189508A1 (ja) 半導体モジュールおよびこれに用いられる半導体装置
CN109792848B (zh) 用于变速箱控制模块的电子组件和其制造方法
JP7348485B2 (ja) パッケージ基板、電子機器及びパッケージ基板の製造方法
JP2019114759A (ja) 回路モジュール、回路モジュールの製造方法
JP7585965B2 (ja) 半導体装置
JP6417898B2 (ja) 半導体装置の製造方法

Legal Events

Date Code Title Description
121 Ep: the epo has been informed by wipo that ep was designated in this application

Ref document number: 12752192

Country of ref document: EP

Kind code of ref document: A1

WWE Wipo information: entry into national phase

Ref document number: 13985235

Country of ref document: US

WWE Wipo information: entry into national phase

Ref document number: 1120120010493

Country of ref document: DE

Ref document number: 112012001049

Country of ref document: DE

122 Ep: pct application non-entry in european phase

Ref document number: 12752192

Country of ref document: EP

Kind code of ref document: A1