WO2012093711A1 - モータ制御装置及び電動パワーステアリング装置 - Google Patents

モータ制御装置及び電動パワーステアリング装置 Download PDF

Info

Publication number
WO2012093711A1
WO2012093711A1 PCT/JP2012/050144 JP2012050144W WO2012093711A1 WO 2012093711 A1 WO2012093711 A1 WO 2012093711A1 JP 2012050144 W JP2012050144 W JP 2012050144W WO 2012093711 A1 WO2012093711 A1 WO 2012093711A1
Authority
WO
WIPO (PCT)
Prior art keywords
phase
current
value
motor control
abnormality
Prior art date
Legal status (The legal status is an assumption and is not a legal conclusion. Google has not performed a legal analysis and makes no representation as to the accuracy of the status listed.)
Ceased
Application number
PCT/JP2012/050144
Other languages
English (en)
French (fr)
Japanese (ja)
Inventor
健宏 伊藤
Current Assignee (The listed assignees may be inaccurate. Google has not performed a legal analysis and makes no representation or warranty as to the accuracy of the list.)
JTEKT Corp
Original Assignee
JTEKT Corp
Priority date (The priority date is an assumption and is not a legal conclusion. Google has not performed a legal analysis and makes no representation as to the accuracy of the date listed.)
Filing date
Publication date
Application filed by JTEKT Corp filed Critical JTEKT Corp
Priority to CN201280004794.8A priority Critical patent/CN103299537B/zh
Priority to US13/976,259 priority patent/US8963468B2/en
Priority to EP12732192.5A priority patent/EP2662973B1/en
Publication of WO2012093711A1 publication Critical patent/WO2012093711A1/ja
Anticipated expiration legal-status Critical
Ceased legal-status Critical Current

Links

Images

Classifications

    • HELECTRICITY
    • H02GENERATION; CONVERSION OR DISTRIBUTION OF ELECTRIC POWER
    • H02PCONTROL OR REGULATION OF ELECTRIC MOTORS, ELECTRIC GENERATORS OR DYNAMO-ELECTRIC CONVERTERS; CONTROLLING TRANSFORMERS, REACTORS OR CHOKE COILS
    • H02P29/00Arrangements for regulating or controlling electric motors, appropriate for both AC and DC motors
    • H02P29/02Providing protection against overload without automatic interruption of supply
    • H02P29/024Detecting a fault condition, e.g. short circuit, locked rotor, open circuit or loss of load
    • H02P29/0241Detecting a fault condition, e.g. short circuit, locked rotor, open circuit or loss of load the fault being an overvoltage
    • BPERFORMING OPERATIONS; TRANSPORTING
    • B62LAND VEHICLES FOR TRAVELLING OTHERWISE THAN ON RAILS
    • B62DMOTOR VEHICLES; TRAILERS
    • B62D5/00Power-assisted or power-driven steering
    • B62D5/04Power-assisted or power-driven steering electrical, e.g. using an electric servo-motor connected to, or forming part of, the steering gear
    • B62D5/0457Power-assisted or power-driven steering electrical, e.g. using an electric servo-motor connected to, or forming part of, the steering gear characterised by control features of the drive means as such
    • B62D5/0481Power-assisted or power-driven steering electrical, e.g. using an electric servo-motor connected to, or forming part of, the steering gear characterised by control features of the drive means as such monitoring the steering system, e.g. failures
    • B62D5/049Power-assisted or power-driven steering electrical, e.g. using an electric servo-motor connected to, or forming part of, the steering gear characterised by control features of the drive means as such monitoring the steering system, e.g. failures detecting sensor failures
    • HELECTRICITY
    • H02GENERATION; CONVERSION OR DISTRIBUTION OF ELECTRIC POWER
    • H02MAPPARATUS FOR CONVERSION BETWEEN AC AND AC, BETWEEN AC AND DC, OR BETWEEN DC AND DC, AND FOR USE WITH MAINS OR SIMILAR POWER SUPPLY SYSTEMS; CONVERSION OF DC OR AC INPUT POWER INTO SURGE OUTPUT POWER; CONTROL OR REGULATION THEREOF
    • H02M1/00Details of apparatus for conversion
    • H02M1/32Means for protecting converters other than automatic disconnection
    • HELECTRICITY
    • H02GENERATION; CONVERSION OR DISTRIBUTION OF ELECTRIC POWER
    • H02PCONTROL OR REGULATION OF ELECTRIC MOTORS, ELECTRIC GENERATORS OR DYNAMO-ELECTRIC CONVERTERS; CONTROLLING TRANSFORMERS, REACTORS OR CHOKE COILS
    • H02P27/00Arrangements or methods for the control of AC motors characterised by the kind of supply voltage
    • H02P27/04Arrangements or methods for the control of AC motors characterised by the kind of supply voltage using variable-frequency supply voltage, e.g. inverter or converter supply voltage
    • H02P27/06Arrangements or methods for the control of AC motors characterised by the kind of supply voltage using variable-frequency supply voltage, e.g. inverter or converter supply voltage using DC to AC converters or inverters
    • H02P27/08Arrangements or methods for the control of AC motors characterised by the kind of supply voltage using variable-frequency supply voltage, e.g. inverter or converter supply voltage using DC to AC converters or inverters with pulse width modulation

Definitions

  • the present invention relates to a motor control device and an electric power steering device.
  • an abnormality mode (sensor abnormality) of the current sensor can be cited as an abnormality mode in which continuous control by two-phase driving can be executed. That is, when an abnormality (for example, an amplifier failure) occurs in a current sensor provided corresponding to each phase, the output level may become an abnormal value (for example, a current detection limit value (upper limit) Value or lower limit value) is fixed in the vicinity (so-called Hi / Lo sticking), etc.). In this case, if the actual power supply path is all normal and the abnormality that has occurred is only the sensor abnormality, at least as long as only two phases other than the abnormality occurrence phase are energized phases, The motor drive can be continued.
  • an abnormality for example, an amplifier failure
  • the output level may become an abnormal value (for example, a current detection limit value (upper limit) Value or lower limit value) is fixed in the vicinity (so-called Hi / Lo sticking), etc.).
  • the present invention has been made to solve the above-described problems, and its purpose is to accurately detect the occurrence of a sensor abnormality by distinguishing it from a short-circuit abnormality that has occurred in each switching element constituting the drive circuit.
  • An object of the present invention is to provide a motor control device and an electric power steering device.
  • a motor control device includes a current detection means for detecting a three-phase current value energized by a motor, and a PWM carrier that generates a triangular wave based on each phase current value.
  • Motor control signal output means for outputting a motor control signal by executing the current control, and a drive circuit for outputting drive power to the motor based on the motor control signal, the drive circuit comprising the motor
  • a switching arm formed by connecting a pair of switching elements that are turned on / off based on a control signal in series is connected in parallel corresponding to each phase, and a current is applied to the low potential side of each switching arm.
  • a sensor is provided, and the current detection means acquires the output signal of each current sensor at a timing when the triangular wave becomes a peak.
  • the first current value and the second current value of each phase are detected by acquiring the output signal of each current sensor at the timing when the triangular wave becomes a valley, and each first current value and each second current is detected.
  • a motor control device that detects a phase current value of each phase based on a difference between values, and is generated in a power supply path of each phase based on the first current value, the second current value, and the phase current.
  • An abnormality detection means for detecting an abnormality wherein the abnormality detection means has at least one of an absolute value of the first current value and an absolute value of the second current value in any phase as a limit value for current detection. If the absolute value of the phase current value is smaller than the second threshold value corresponding to zero, the current sensor is determined to be abnormal for the phase.
  • the first current value and the second current value of the abnormality occurrence phase may be constant at values near the limit value of current detection.
  • the phase current value which is the difference between them is also constant at a value in the vicinity of “0”. Therefore, according to the said structure, generation
  • the motor control signal output means executes the output of the motor control signal with two phases other than the abnormality occurrence phase as energized phases.
  • region of the continuous control by two-phase drive can be expanded, ensuring safety
  • the abnormality detection means has an absolute value of the phase current value exceeding a third threshold value corresponding to the limit value, and the first current value or the second current value is a lower limit value of the current detection. Is lower than the fourth threshold value corresponding to, it is determined that there is a short circuit abnormality in the switching element for the phase.
  • each current sensor when each current sensor is provided on the low potential side of each switching arm constituting the drive circuit, a short circuit abnormality occurs in any one of the switching elements, thereby causing the first current value (when the upper stage is short-circuited). ) Or the second current value (when the upper stage is short-circuited) shows a value near the lower limit of the current detection.
  • the electric power steering apparatus provided by the present invention is an electric power steering apparatus including the above-described motor control apparatus. According to the above configuration, the occurrence of sensor abnormality can be detected with high accuracy. As a result, it is possible to expand the execution area of the continuous control by the two-phase drive while ensuring safety. Even when the sensor abnormality occurs, the assist force is continuously applied to the steering system, thereby suppressing the increase of the steering force and reducing the driver's load.
  • a motor control device and an electric power steering device capable of accurately detecting the occurrence of a sensor abnormality by distinguishing from a short circuit abnormality occurring in each switching element constituting the drive circuit.
  • the schematic block diagram of an electric power steering device (EPS).
  • Explanatory drawing which shows the aspect of the current control which used the triangular wave as the PWM carrier.
  • the flowchart which shows the process sequence of electric current detection.
  • Explanatory drawing which shows each phase current value at the time of current sensor abnormality generation
  • (A), (b) is explanatory drawing which shows each phase current value at the time of short circuit abnormality generation
  • the flowchart which shows the process sequence of a short circuit abnormality detection.
  • the flowchart which shows the aspect of the motor control according to each abnormality detection and its abnormality mode.
  • EPS electric power steering apparatus
  • a steering shaft 3 to which a steering 2 is fixed is connected to a rack shaft 5 via a rack and pinion mechanism 4.
  • the rotation of the steering shaft 3 accompanying the operation is converted into a reciprocating linear motion of the rack shaft 5 by the rack and pinion mechanism 4.
  • the steering shaft 3 of this embodiment is formed by connecting a column shaft 3a, an intermediate shaft 3b, and a pinion shaft 3c.
  • the EPS 1 includes an EPS actuator 10 as a steering force assisting device that applies an assist force for assisting a steering operation to the steering system, and an ECU 11 as a control unit that controls the operation of the EPS actuator 10. .
  • the EPS actuator 10 of this embodiment is configured as a so-called column-type EPS actuator in which a motor 12 as a driving source is drivingly connected to a column shaft 3a via a speed reduction mechanism 13.
  • a brushless motor is employed as the motor 12 of the present embodiment, and the motor 12 rotates by receiving supply of three-phase (U, V, W) driving power from the ECU 11.
  • the EPS actuator 10 is configured to apply the motor torque as an assist force to the steering system by decelerating and transmitting the rotation of the motor 12 to the column shaft 3a.
  • a torque sensor 14 and a vehicle speed sensor 15 are connected to the ECU 11, and the ECU 11 detects the steering torque ⁇ and the vehicle speed V based on the output signals of these sensors. Then, the ECU 11 calculates a target assist force based on the steering torque ⁇ and the vehicle speed V, and supplies the drive power to the motor 12 that is the drive source in order to cause the EPS actuator 10 to generate the target assist force.
  • the operation of the EPS actuator 10, that is, the assist force applied to the steering system is controlled (power assist control).
  • FIG. 2 is a control block diagram of the EPS of this embodiment.
  • the ECU 11 includes a microcomputer 17 that outputs a motor control signal, and a drive circuit 18 that supplies three-phase drive power to the motor 12 based on the motor control signal output from the microcomputer 17. Yes.
  • the drive circuit 18 of the present embodiment is formed by connecting each series of FETs 18a and 18d, FETs 18b and 18e, and FETs 18c and 18f in parallel.
  • the connection points 19u, 19v, and 19w of the FETs 18a and 18d, the FETs 18b and 18e, and the FETs 18c and 18f are connected to the motor coils 12u, 12v, and 12w of each phase of the motor 12, respectively.
  • the drive circuit 18 of the present embodiment is formed by connecting three switching arms 18u, 18v, and 18w corresponding to each phase in parallel with a pair of switching elements connected in series as a basic unit (switching arm). It is configured as a known PWM inverter.
  • the motor control signal output from the microcomputer 17 is a gate on / off signal that defines the switching state (on / off operation) of each of the FETs 18a to 18f constituting the drive circuit 18.
  • each of the FETs 18a to 18f constituting the drive circuit 18 is turned on / off when a control voltage based on the motor control signal is applied to its gate terminal. Then, the three-phase drive power is supplied to the motor 12 by switching the energization pattern to the motor coils 12u, 12v, 12w of each phase.
  • the microcomputer 17 includes the DUTY instruction values Du, Dv, Dw corresponding to the phase voltages to be applied to the motor coils 12u, 12v, 12w of each phase and the PWM carrier.
  • a motor control signal to be output to the drive circuit 18 is generated based on the comparison with the triangular wave (carrier wave).
  • a dead time is set in order to avoid the occurrence of a through current due to a so-called arm short circuit. Yes.
  • the microcomputer 17 corresponds to the phase when each DUTY instruction value Du, Dv, Dw is higher than the value of the triangular wave ⁇ 1 in the comparison with the triangular wave ⁇ 1 located on the upper side in FIG.
  • a motor control signal is generated to turn on each FET 18a, 18b, 18c on the high potential side (upper stage), and to turn off each FET 18a, 18b, 18c when the FET is low.
  • the DUTY instruction values Du, Dv, and Dw are lower than the value of the triangular wave ⁇ 2 in comparison with the triangular wave ⁇ 2 on the lower side, the low potential side (lower stage) corresponding to the phase.
  • the FETs 18d, 18e, and 18f are turned on, and when they are high, the motor control signals are generated so as to turn off the FETs 18d, 18e, and 18f.
  • each switching arm 18u, 18v, 18w constituting the driving circuit 18 has a low potential side (ground side, lower side in FIG. 2) in each phase.
  • Corresponding current sensors 20u, 20v, 20w are provided. Each of these current sensors 20u, 20v, and 20w has a known configuration that amplifies and outputs the voltage across the terminals of the shunt resistor connected in series to each of the switching arms 18u, 18v, and 18w. .
  • the microcomputer 17 of the present embodiment detects the phase current values Iu, Iv, and Iw that are energized to the motor 12 based on the output signals Si_u, Si_v, and Si_w of the current sensors 20u, 20v, and 20w.
  • the current detection unit 21 provided in the microcomputer 17 acquires the output signals Si_u, Si_v, Si_w of the current sensors 20u, 20v, 20w at a predetermined sampling timing. Specifically, as shown in FIG. 3, the triangular wave ( ⁇ 1, ⁇ 2) as the PWM carrier becomes the “valley (minimum value)” timing (T1 in the figure) and the “mountain (maximum value)”.
  • the output signals Si_u, Si_v, and Si_w of the current sensors 20u, 20v, and 20w are acquired at the timing (T2 in the figure).
  • the “peak timing” and “valley timing” are, of course, peak timings at which the values of the triangular waves ( ⁇ 1, ⁇ 2) are “maximum” and “minimum”, respectively.
  • the current detection unit 21 detects the phase current values Iu, Iv, Iw of the motor 12 based on the output signals Si_u, Si_v, Si_w acquired at these two timings.
  • the current detection unit 21 as the current detection unit acquires the output signals Si_u, Si_v, Si_w of the current sensors 20 u, 20 v, 20 w at the respective sampling timings. (Step 101) Subsequently, the output signals Si_u, Si_v, and Si_w are A / D converted (Step 102).
  • the first current value Iu_hp corresponding to the sampling timing at which the triangular wave ( ⁇ 1, ⁇ 2) as the PWM carrier becomes “mountain (maximum value)”
  • the second current values Iu_lp, Iv_lp, Iw_lp corresponding to the sampling timing at which the Iv_hp, Iw_hp and the triangular wave ( ⁇ 1, ⁇ 2) as the PWM carrier become “valley (minimum value)” are detected (step 103).
  • the phase current values Iu, Iv, Iw detected by the current detector 21 together with the steering torque ⁇ and the vehicle speed V are used as motor control signal output means.
  • the motor control unit 22 receives the motor rotation angle ⁇ detected by the motor resolver 23.
  • the microcomputer 17 generates a motor control signal to be output to the drive circuit 18 by executing current control based on each of these state quantities in the motor control unit 22.
  • the motor control unit 22 calculates a current command value corresponding to the assist force (target assist force) to be applied to the steering system based on the steering torque ⁇ and the vehicle speed V. Specifically, a current command value is calculated such that the greater the detected steering torque ⁇ and the lower the vehicle speed V, the greater assist force is generated. And the motor control part 22 produces
  • the motor control unit 22 converts the phase current values Iu, Iv, Iw detected as the actual current values based on the motor rotation angle ⁇ into the d axis of the d / q coordinate system. Convert to current value and q-axis current value. The motor control unit 22 calculates a q-axis current command value as the current command value (d-axis current command value is zero).
  • the motor control unit 22 compares each DUTY instruction value Du, Dv, Dw based on each phase voltage command value calculated in this way with the triangular wave ( ⁇ 1, ⁇ 2) that is the PWM carrier as described above. Thus, a motor control signal is generated.
  • the microcomputer 17 outputs the motor control signal to the drive circuit 18, the drive power for generating the target assist force is supplied to the motor 12 that is the drive source of the EPS actuator 10. It has come to be.
  • the microcomputer 17 of the present embodiment is provided with an abnormality detection unit 25 that detects an abnormality that has occurred in the power supply path between the drive circuit 18 and the motor 12.
  • the abnormality detection unit 25 serving as the abnormality detection means includes phase current values Iu, Iv, Iw detected by the current detection unit 21, and DUTY instruction values calculated by the motor control unit 22. Du, Dv, Dw and motor rotation angular velocity ⁇ are input.
  • the abnormality detection part 25 detects generation
  • the detection result by the abnormality detection unit 25 is input to the motor control unit 22 as the abnormality detection signal Str. Then, when the abnormality detection signal Str indicates that an energization failure has occurred and the energization failure occurrence phase is only one phase, the motor control unit 22 determines two phases other than the energization failure occurrence phase as the energization phase. In order to continue the supply of driving power to the motor 12, the motor control signal is generated.
  • the cause of such an energization failure is an open (fixed) abnormality of each FET 18a to 18f constituting the drive circuit 18, and between the drive circuit 18 and the motor coils 12u, 12v, 12w of each phase. Disconnection of the power supply lines 26u, 26v, 26w, etc. Then, details of energization failure detection based on each of the above state quantities (phase current value, DUTY instruction value, and motor rotation angular velocity) and continuation control (two-phase drive) in which two phases other than the energization failure occurrence phase are energized phases. For example, refer to the descriptions in Patent Document 1, Patent Document 2, and the like.
  • the abnormality detection unit 25 of the present embodiment includes the first current values Iu_hp, Iv_hp, Iw_hp and the second current values Iu_lp, Iv_lp, Iw_lp of the phases detected by the current detection unit 21 together with the state quantities. Is entered. Then, the abnormality detection unit 25 is based on the first current values Iu_hp, Iv_hp, Iw_hp and the second current values Iu_lp, Iv_lp, Iw_lp of each phase and the phase current values Iu, Iv, Iw of each phase. Abnormalities of the current sensors 20u, 20v, 20w (sensor abnormalities) and short-circuit abnormalities occurring in the FETs 18a to 18f constituting the drive circuit 18 are detected.
  • the values of the output signals Si_u, Si_v, and Si_w are constant near the output limit (so-called Hi / Lo sticking). It may become.
  • the phase current value Ix which is the difference between them, is also constant at a value in the vicinity of “0” (region ⁇ 2 in the figure).
  • the abnormality detection unit 25 of the present embodiment is configured such that the first current values Iu_hp, Iv_hp, and Iw_hp detected by the current detection unit 21 and the second current values Iu_lp, Iv_lp, and Iw_lp are absolute values. It is determined whether at least one of the values exceeds a first threshold value I1 set in correspondence with the current detection limit value ( ⁇ Ilim). Further, the abnormality detection unit 25 determines whether or not the absolute values of the detected phase current values Iu, Iv, and Iw are smaller than the second threshold value I2 set corresponding to “0 (zero)”. judge. When there is a phase that satisfies both of these two determination conditions, it is determined that the sensor abnormality (sticking abnormality) has occurred in the phase.
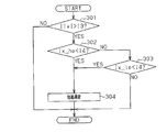
  • step 201 when the abnormality detection unit 25 determines in step 201 that the absolute value of the first current value Ix_hp exceeds the first threshold value I1 (
  • step 202 when it is determined in step 202 that the absolute value of the second current value Ix_lp exceeds the first threshold value I1 (
  • step 204 If the absolute value of the phase current value Ix is smaller than the second threshold value I2 (
  • the abnormality detection unit 25 of the present embodiment determines that the absolute value of the second current value Ix_lp is equal to or less than the first threshold value I1 (
  • step 203 when the absolute value of the phase current value Ix is equal to or greater than the second threshold value I2 (
  • phase current value Ix of the short-circuit abnormality occurrence phase indicates a value in the vicinity of the current detection limit value ( ⁇ Ilim) (region ⁇ 3 in the figure).
  • the current detection unit 21 As the second current value Ix_lp of the abnormality occurrence phase to be detected, the through current having a value in the vicinity of the current detection lower limit ( ⁇ Ilim) (region ⁇ 4 in the figure) is detected. At this time, the lower FET is short-circuited to the ground, so that the first current value Ix_hp is theoretically substantially “0 (zero)”. Therefore, in this case, the phase current value Ix, which is the difference between the two, indicates a value in the vicinity of the current detection limit value (upper limit: + Ilim) (region ⁇ 3 in the figure).
  • the first current value Ix_hp is generated due to the occurrence of the short circuit abnormality.
  • the second current value Ix_lp indicates a value near the lower limit ( ⁇ Ilim) of the current detection.
  • the absolute value of each phase current value Iu, Iv, Iw detected by the current detection unit 21 corresponds to the limit value ( ⁇ Ilim) of the current detection. Then, it is determined whether or not the third threshold value I3 set is exceeded.
  • the abnormality detection unit 25 corresponds to the absolute value of the first current value Iu_hp, Iv_hp, Iw_hp or each of the second current values Iu_lp, Iv_lp, Iw_lp corresponding to the lower limit ( ⁇ Ilim) of the current detection. It is determined whether it is lower than the set fourth threshold I4.
  • the fourth threshold value I4 has a negative sign similar to the lower limit value, and is set so that its absolute value is smaller than the third threshold value I3. And when there exists a phase which satisfy
  • step 301 when the abnormality detection unit 25 determines in step 301 that the absolute value (
  • Step 304 When it is determined in these two steps that the first current value Ix_hp is lower than the fourth threshold value I4 (Ix_hp ⁇ I4: step 302: YES), or the second current value Ix_lp is the fourth threshold value. If it is determined that it is lower than I4 (Ix_lp ⁇ I4: Step 302: YES), it is determined that the short-circuit abnormality has occurred in the X phase (Step 304).
  • the abnormality detection unit 25 determines that the absolute value (
  • the abnormality detection unit 25 performs the sensor abnormality determination process (see FIG. 6, steps 201 to 204) and the short-circuit abnormality detection process (see FIG. 6) for each phase of U, V, and W. 8, step 301 to step 304) are executed. Then, an abnormality detection signal Str including the results of the sensor abnormality detection and the short circuit abnormality detection is output to the motor control unit 22.
  • the motor control unit 22 determines whether or not the abnormality detection signal Str input from the abnormality detection unit 25 indicates the occurrence of the sensor abnormality. Determines whether or not the sensor abnormality occurrence phase is only one phase, that is, whether or not two normal phases remain. If the abnormality detection signal Str indicates that a sensor abnormality has occurred and the phase in which the sensor abnormality has occurred is only one phase, the two phases other than the sensor abnormality occurrence phase are energized in the same manner as in the case of the energization failure. In order to continue supplying the driving power to the motor 12 as a phase, the motor control signal is generated (continuous control).
  • the motor control unit 22 of the present embodiment determines whether or not the abnormality detection signal Str input from the abnormality detection unit 25 indicates the occurrence of the short circuit abnormality.
  • the motor control is stopped and the fail-safe operation is promptly achieved.
  • the microcomputer 17 first performs the energization failure detection (step 401), and if it is determined that no energization failure has occurred (step 402: NO), the microcomputer 17 continues. Then, the sensor abnormality detection is executed (step 403, see FIG. 6). Further, if the microcomputer 17 determines that the sensor abnormality has not occurred based on the sensor abnormality detection result (step 404: NO), the microcomputer 17 subsequently performs the short-circuit abnormality detection (step 405, FIG. 8). When it is determined that the short circuit abnormality has not occurred based on the detection result of the short circuit abnormality (step 406: NO), a motor control signal is supplied to supply three-phase drive power to the motor 12. Generate (normal control, step 407).
  • the microcomputer 17 determines that an energization failure has occurred in step 402 (step 402: YES), or if it is determined in step 404 that a sensor abnormality has occurred (step 404: YES), it is determined whether or not there is only one phase in which an abnormality has occurred, that is, two phases that can be energized remain (step 408).
  • the motor control signal is used to continue the supply of drive power to the motor 12 with two phases other than the abnormality occurrence phase as energized phases. Is generated (continuous control, step 409).
  • the microcomputer 17 determines that a short-circuit abnormality has occurred in step 406 (step 406: YES), or determines that no two phases that can be energized remain in step 408 (step 408: If YES, the motor control is stopped (step 410).
  • the abnormality detection unit 25 corresponds to at least one of the absolute value of the detected first current value Ix_hp and the absolute value of each second current value Ix_lp corresponding to the limit value ( ⁇ Ilim) of the current detection. It is determined whether or not the set first threshold value I1 is exceeded. Further, the abnormality detection unit 25 determines whether or not the absolute value of each detected phase current value Ix is smaller than a second threshold value I2 set corresponding to “0 (zero)”. When there is a phase that satisfies both of these two determination conditions, it is determined that a sensor abnormality (sticking abnormality) has occurred in the phase.
  • the first current value Ix_hp and the second current value Ix_lp of the abnormality occurrence phase are both close to the current detection limit value ( ⁇ Ilim).
  • the value may be constant.
  • the phase current value Ix which is the difference between the two, is also constant at a value near “0”.
  • the abnormality detection unit 25 determines whether or not the absolute value of the detected phase current value Ix exceeds the third threshold I3 set corresponding to the limit value ( ⁇ Ilim) of the current detection To do. Further, the abnormality detecting unit 25 detects that each detected first current value Ix_hp or each second current value Ix_lp is lower than a fourth threshold value I4 set corresponding to the lower limit ( ⁇ Ilim) of the current detection. It is determined whether or not. When there is a phase that satisfies both of these two determination conditions, it is determined that a short circuit abnormality has occurred in the phase.
  • the first current value Ix_hp (upper-stage short circuit) is generated due to the occurrence of a short circuit abnormality.
  • the second current value Ix_lp (when the upper stage is short-circuited) shows a value in the vicinity of the lower limit ( ⁇ Ilim) of the current detection.
  • the present invention is embodied in the ECU 11 as a motor control device that controls the operation of the motor 12 that is a drive source of the EPS actuator 10.
  • the present invention is not limited to this and may be applied to uses other than EPS.
  • the EPS format is not limited to the so-called column type, but may be a so-called pinion type or rack assist type.
  • the motor control when the occurrence of a short circuit abnormality is determined by the short circuit abnormality detection shown in FIG. 8, the motor control is stopped.
  • the present invention is not limited to this, and the motor control may be stopped when the absolute value of the phase current value Ix exceeds a threshold value indicating the occurrence of overcurrent.
  • the threshold value may be set corresponding to the limit value ( ⁇ Ilim) of the current detection, similarly to the first and third threshold values.
  • any of the output signals Si_u, Si_v, and Si_w of each of the current sensors 20u, 20v, and 20w indicates an energized state in a state where all of the FETs 18a to 18f constituting the drive circuit 18 are turned off. In this case, it may be determined that a sensor abnormality has occurred in the phase.
  • short circuit abnormality detection shown in FIG. 8 is executed. Based on the detection result, in a state where the motor control is stopped, that is, in a state where all of the FETs 18a to 18f are turned off, the sensors based on the output signals Si_u, Si_v, Si_w of the current sensors 20u, 20v, 20w. Anomaly detection should be performed.
  • the first threshold value I1 and the third threshold value I3 corresponding to the current detection limit value ( ⁇ Ilim) do not necessarily have to be the same value as the limit value, and may be set to arbitrary values in consideration of detection errors and the like. Good. The same applies to the fourth threshold value I4 corresponding to the lower limit ( ⁇ Ilim) of current detection, and the second threshold value I2 corresponding to “0 (zero)” may not necessarily be “0”.
  • the short-circuit abnormality determination based on the terminal voltage of the abnormal phase may be executed in a state where all the FETs 18a to 18f constituting the drive circuit 18 are turned off. That is, by connecting a pull-up resistor to the power supply lines 26u, 26v, and 26w, a terminal voltage based on the power supply voltage is detected in the corresponding phase even when all of the FETs 18a to 18f are off at the time of a short circuit abnormality. Therefore, after the detection of the sensor abnormality, the short circuit of each FET in the phase is denied in this short circuit abnormality determination, so that the reliability of the sensor abnormality detection can be improved. Then, by repeating these series of determinations a plurality of times, the occurrence of sensor abnormality can be detected with higher accuracy.
  • the motor control device characterized in that the motor control signal output means does not execute the output of the motor control signal in which two phases other than the abnormality occurrence phase are energized phases when the short circuit abnormality occurs. Thereby, fail safe can be achieved promptly and the safety can be further improved.
  • (B) The motor control device characterized in that the fourth threshold value is set so that the absolute value thereof is smaller than the absolute value of the third threshold value. That is, the comparison between the fourth threshold value and the first current value and the second current value is to determine whether or not a through current has occurred, and since overcurrent detection is separately performed based on the phase current value, Positioning emphasizes the determination of the energization direction. Therefore, according to the above configuration, it is possible to eliminate the influence of the detection error and improve the accuracy of short circuit abnormality detection.
  • a motor control device and an electric power steering device capable of accurately detecting the occurrence of a sensor abnormality by distinguishing from a short circuit abnormality occurring in each switching element constituting the drive circuit.
  • SYMBOLS 1 Electric power steering apparatus (EPS), 10 ... EPS actuator, 11 ... ECU, 12 ... Motor, 12u, 12v, 12w ... Motor coil, 17 ... Microcomputer, 18 ... Drive circuit, 18a-18f ... FET, 18u, 18v , 18w ... switching arm, 20u, 20v, 20w ... current sensor, 21 ... current detection unit, 22 ... motor control unit, 25 ... abnormality detection unit, 26u, 26v, 26w ... power supply line, Si_u, Si_v, Si_w ... output Signal, Iu_hp, Iv_hp, Iw_hp, Ix_hp ...
  • EPS Electric power steering apparatus
  • 10 EPS actuator, 11 ... ECU, 12 ... Motor, 12u, 12v, 12w ... Motor coil, 17 ... Microcomputer, 18 ... Drive circuit, 18a-18f ... FET, 18u, 18v , 18w ... switching arm, 20u, 20v, 20w ... current
  • first current value Iu_lp, Iv_lp, Iw_lp, Ix_lp ... second current value, Iu, Iv, Iw, Ix ... phase current value, I1, I2, I3, I4 ... threshold value, Ilim: limit value (upper limit and lower limit), Str: abnormality detection signal, ⁇ 1, ⁇ 2 ... triangular wave

Landscapes

  • Engineering & Computer Science (AREA)
  • Power Engineering (AREA)
  • Chemical & Material Sciences (AREA)
  • Combustion & Propulsion (AREA)
  • Transportation (AREA)
  • Mechanical Engineering (AREA)
  • Steering Control In Accordance With Driving Conditions (AREA)
  • Power Steering Mechanism (AREA)
  • Control Of Ac Motors In General (AREA)
  • Control Of Electric Motors In General (AREA)
  • Control Of Motors That Do Not Use Commutators (AREA)
PCT/JP2012/050144 2011-01-06 2012-01-06 モータ制御装置及び電動パワーステアリング装置 Ceased WO2012093711A1 (ja)

Priority Applications (3)

Application Number Priority Date Filing Date Title
CN201280004794.8A CN103299537B (zh) 2011-01-06 2012-01-06 马达控制装置和电动助力转向装置
US13/976,259 US8963468B2 (en) 2011-01-06 2012-01-06 Motor control device and electric power steering device
EP12732192.5A EP2662973B1 (en) 2011-01-06 2012-01-06 Motor control device and electric power steering device

Applications Claiming Priority (2)

Application Number Priority Date Filing Date Title
JP2011-001203 2011-01-06
JP2011001203A JP5621598B2 (ja) 2011-01-06 2011-01-06 モータ制御装置及び電動パワーステアリング装置

Publications (1)

Publication Number Publication Date
WO2012093711A1 true WO2012093711A1 (ja) 2012-07-12

Family

ID=46457561

Family Applications (1)

Application Number Title Priority Date Filing Date
PCT/JP2012/050144 Ceased WO2012093711A1 (ja) 2011-01-06 2012-01-06 モータ制御装置及び電動パワーステアリング装置

Country Status (5)

Country Link
US (1) US8963468B2 (enExample)
EP (1) EP2662973B1 (enExample)
JP (1) JP5621598B2 (enExample)
CN (1) CN103299537B (enExample)
WO (1) WO2012093711A1 (enExample)

Families Citing this family (19)

* Cited by examiner, † Cited by third party
Publication number Priority date Publication date Assignee Title
JP5945741B2 (ja) * 2012-09-24 2016-07-05 日立オートモティブシステムズ株式会社 電動パワーステアリング装置
JP5876846B2 (ja) * 2013-03-13 2016-03-02 東芝三菱電機産業システム株式会社 電動機駆動装置
JP6081274B2 (ja) * 2013-04-05 2017-02-15 東芝ライフスタイル株式会社 洗濯機のモータ制御装置及びモータ制御装置の保護方法
JP2015100240A (ja) * 2013-11-20 2015-05-28 株式会社オートネットワーク技術研究所 保護装置及び変圧システム
JP5929878B2 (ja) * 2013-12-06 2016-06-08 株式会社デンソー 制御装置、および、これを用いたシフトバイワイヤシステム
EP3156306B1 (en) * 2014-06-13 2018-11-21 NSK Ltd. Device for diagnosing line voltage in electric power steering device
CN105879383B (zh) * 2014-11-03 2020-12-22 韦琳 一种麻将机故障分析报警方法及其应用的控制电路
US10259492B2 (en) * 2014-11-04 2019-04-16 Mitsubishi Electric Corporation Motor control device, electric power steering device and inverter system failure detection method
EP3243728B1 (en) * 2015-08-11 2019-09-18 NSK Ltd. Motor control device, electric power steering device, and vehicle
JP6274365B2 (ja) * 2015-08-19 2018-02-07 日本精工株式会社 電子制御装置及びそれを搭載した電動パワーステアリング装置
JP6618548B2 (ja) * 2015-12-02 2019-12-11 三菱電機株式会社 電動パワーステアリング装置
EP3175747A1 (de) * 2015-12-03 2017-06-07 Qbo Coffee GmbH Getränkezubereitungsmaschine
WO2017122309A1 (ja) * 2016-01-14 2017-07-20 三菱電機株式会社 電動機制御装置
JP6680103B2 (ja) * 2016-06-17 2020-04-15 ブラザー工業株式会社 異常検出装置、モータ制御装置及び異常検出方法、
US10322748B2 (en) * 2016-09-23 2019-06-18 Jtekt Corporation Motor controller and steering device
JP6490725B2 (ja) * 2017-01-19 2019-03-27 アイシン精機株式会社 アクチュエータの制御装置及びステアリング装置
CN107257222A (zh) * 2017-08-21 2017-10-17 合肥翔望智能科技有限公司 一种逆变器电流传感器故障诊断及处理系统
CN107991977A (zh) * 2018-02-06 2018-05-04 厦门市飞鸥科技有限公司 一种水产养殖智能监控系统及其监控方法
CN114710972A (zh) * 2020-11-05 2022-07-05 深圳市大疆创新科技有限公司 电机的检测方法、控制、电调、动力装置和可移动平台

Citations (7)

* Cited by examiner, † Cited by third party
Publication number Priority date Publication date Assignee Title
JP2003324985A (ja) * 2002-04-26 2003-11-14 Toyoda Mach Works Ltd モータ制御装置
JP2005269880A (ja) * 2003-06-19 2005-09-29 Denso Corp 3相電圧型pwmインバータ装置
WO2005091488A1 (ja) 2004-03-19 2005-09-29 Mitsubishi Denki Kabushiki Kaisha 電動機制御装置
JP2008211909A (ja) 2007-02-26 2008-09-11 Jtekt Corp モータ制御装置及び電動パワーステアリング装置
JP2008295122A (ja) * 2007-05-22 2008-12-04 Nsk Ltd モータ制御装置及びこれを用いた電動パワーステアリング制御装置
JP2010028984A (ja) * 2008-07-22 2010-02-04 Denso Corp 電力変換器
JP2011001203A (ja) 2009-06-16 2011-01-06 Denki Kagaku Kogyo Kk 吹付け方法

Family Cites Families (5)

* Cited by examiner, † Cited by third party
Publication number Priority date Publication date Assignee Title
US6121736A (en) * 1998-07-10 2000-09-19 Matsushita Electric Industrial Co., Ltd. Control apparatus for motor, and motor unit having the control apparatus
DE10037972B4 (de) * 1999-08-05 2005-09-15 Sharp K.K. Vorrichtung und Verfahren zur Elektromotorsteuerung
JP4701767B2 (ja) * 2005-03-18 2011-06-15 トヨタ自動車株式会社 電源装置
JP5233178B2 (ja) * 2007-06-14 2013-07-10 株式会社ジェイテクト モータ制御装置及び電動パワーステアリング装置
US8004226B2 (en) * 2008-08-06 2011-08-23 Caterpillar Inc. Method and system for detecting a failed current sensor in a three-phase machine

Patent Citations (7)

* Cited by examiner, † Cited by third party
Publication number Priority date Publication date Assignee Title
JP2003324985A (ja) * 2002-04-26 2003-11-14 Toyoda Mach Works Ltd モータ制御装置
JP2005269880A (ja) * 2003-06-19 2005-09-29 Denso Corp 3相電圧型pwmインバータ装置
WO2005091488A1 (ja) 2004-03-19 2005-09-29 Mitsubishi Denki Kabushiki Kaisha 電動機制御装置
JP2008211909A (ja) 2007-02-26 2008-09-11 Jtekt Corp モータ制御装置及び電動パワーステアリング装置
JP2008295122A (ja) * 2007-05-22 2008-12-04 Nsk Ltd モータ制御装置及びこれを用いた電動パワーステアリング制御装置
JP2010028984A (ja) * 2008-07-22 2010-02-04 Denso Corp 電力変換器
JP2011001203A (ja) 2009-06-16 2011-01-06 Denki Kagaku Kogyo Kk 吹付け方法

Also Published As

Publication number Publication date
CN103299537B (zh) 2015-12-09
EP2662973B1 (en) 2018-05-09
EP2662973A4 (en) 2016-03-30
US8963468B2 (en) 2015-02-24
US20130278198A1 (en) 2013-10-24
JP2012143118A (ja) 2012-07-26
EP2662973A1 (en) 2013-11-13
JP5621598B2 (ja) 2014-11-12
CN103299537A (zh) 2013-09-11

Similar Documents

Publication Publication Date Title
JP5621598B2 (ja) モータ制御装置及び電動パワーステアリング装置
JP6040963B2 (ja) 回転機の制御装置
JP5760830B2 (ja) 3相回転機の制御装置
JP6624213B2 (ja) 電動パワーステアリング装置
US8544593B2 (en) Motor drive apparatus and electric power steering system using the same
JP5070867B2 (ja) モータ制御装置及び電動パワーステアリング装置
US9270213B2 (en) Motor control device
US9461568B2 (en) Motor control device and steering device for vehicle
JP5023833B2 (ja) 電動パワーステアリング装置及び異常検出方法
WO2012160694A1 (ja) モータ制御装置
JP4918870B2 (ja) モータ制御装置及び電動パワーステアリング装置
JP2013159165A (ja) 電動パワーステアリング装置
US8983730B2 (en) Electric power steering apparatus
EP2567879B1 (en) Electric power steering system
US11205988B2 (en) Motor control device
JP5927858B2 (ja) モータ制御装置及び車両の電動パワーステアリング装置
JP5703595B2 (ja) モータ制御装置及び電動パワーステアリング装置
JP2012157140A (ja) モータ制御装置及び電動パワーステアリング装置
JP5131435B2 (ja) 電動パワーステアリング装置
JP5412768B2 (ja) モータ制御装置及び電動パワーステアリング装置

Legal Events

Date Code Title Description
121 Ep: the epo has been informed by wipo that ep was designated in this application

Ref document number: 12732192

Country of ref document: EP

Kind code of ref document: A1

WWE Wipo information: entry into national phase

Ref document number: 13976259

Country of ref document: US

WWE Wipo information: entry into national phase

Ref document number: 2012732192

Country of ref document: EP

NENP Non-entry into the national phase

Ref country code: DE