WO2012066943A1 - 画像生成装置及び操作支援システム - Google Patents

画像生成装置及び操作支援システム Download PDF

Info

Publication number
WO2012066943A1
WO2012066943A1 PCT/JP2011/075443 JP2011075443W WO2012066943A1 WO 2012066943 A1 WO2012066943 A1 WO 2012066943A1 JP 2011075443 W JP2011075443 W JP 2011075443W WO 2012066943 A1 WO2012066943 A1 WO 2012066943A1
Authority
WO
WIPO (PCT)
Prior art keywords
image
coordinates
camera
plane
coordinate
Prior art date
Legal status (The legal status is an assumption and is not a legal conclusion. Google has not performed a legal analysis and makes no representation as to the accuracy of the status listed.)
Ceased
Application number
PCT/JP2011/075443
Other languages
English (en)
French (fr)
Japanese (ja)
Inventor
芳永 清田
Current Assignee (The listed assignees may be inaccurate. Google has not performed a legal analysis and makes no representation or warranty as to the accuracy of the list.)
Sumitomo Heavy Industries Ltd
Original Assignee
Sumitomo Heavy Industries Ltd
Priority date (The priority date is an assumption and is not a legal conclusion. Google has not performed a legal analysis and makes no representation as to the accuracy of the date listed.)
Filing date
Publication date
Application filed by Sumitomo Heavy Industries Ltd filed Critical Sumitomo Heavy Industries Ltd
Priority to EP11841991.0A priority Critical patent/EP2642754B1/en
Priority to KR1020137007612A priority patent/KR101407556B1/ko
Priority to CN201180046814.3A priority patent/CN103155551B/zh
Publication of WO2012066943A1 publication Critical patent/WO2012066943A1/ja
Priority to US13/858,148 priority patent/US9432634B2/en
Anticipated expiration legal-status Critical
Ceased legal-status Critical Current

Links

Images

Classifications

    • HELECTRICITY
    • H04ELECTRIC COMMUNICATION TECHNIQUE
    • H04NPICTORIAL COMMUNICATION, e.g. TELEVISION
    • H04N7/00Television systems
    • H04N7/18Closed-circuit television [CCTV] systems, i.e. systems in which the video signal is not broadcast
    • H04N7/181Closed-circuit television [CCTV] systems, i.e. systems in which the video signal is not broadcast for receiving images from a plurality of remote sources
    • GPHYSICS
    • G06COMPUTING OR CALCULATING; COUNTING
    • G06TIMAGE DATA PROCESSING OR GENERATION, IN GENERAL
    • G06T1/00General purpose image data processing
    • GPHYSICS
    • G06COMPUTING OR CALCULATING; COUNTING
    • G06TIMAGE DATA PROCESSING OR GENERATION, IN GENERAL
    • G06T3/00Geometric image transformations in the plane of the image
    • G06T3/40Scaling of whole images or parts thereof, e.g. expanding or contracting
    • G06T3/4038Image mosaicing, e.g. composing plane images from plane sub-images
    • GPHYSICS
    • G06COMPUTING OR CALCULATING; COUNTING
    • G06TIMAGE DATA PROCESSING OR GENERATION, IN GENERAL
    • G06T3/00Geometric image transformations in the plane of the image
    • GPHYSICS
    • G06COMPUTING OR CALCULATING; COUNTING
    • G06TIMAGE DATA PROCESSING OR GENERATION, IN GENERAL
    • G06T3/00Geometric image transformations in the plane of the image
    • G06T3/12Panospheric to cylindrical image transformations
    • HELECTRICITY
    • H04ELECTRIC COMMUNICATION TECHNIQUE
    • H04NPICTORIAL COMMUNICATION, e.g. TELEVISION
    • H04N23/00Cameras or camera modules comprising electronic image sensors; Control thereof
    • H04N23/60Control of cameras or camera modules
    • HELECTRICITY
    • H04ELECTRIC COMMUNICATION TECHNIQUE
    • H04NPICTORIAL COMMUNICATION, e.g. TELEVISION
    • H04N23/00Cameras or camera modules comprising electronic image sensors; Control thereof
    • H04N23/60Control of cameras or camera modules
    • H04N23/698Control of cameras or camera modules for achieving an enlarged field of view, e.g. panoramic image capture
    • HELECTRICITY
    • H04ELECTRIC COMMUNICATION TECHNIQUE
    • H04NPICTORIAL COMMUNICATION, e.g. TELEVISION
    • H04N5/00Details of television systems
    • H04N5/222Studio circuitry; Studio devices; Studio equipment
    • H04N5/262Studio circuits, e.g. for mixing, switching-over, change of character of image, other special effects ; Cameras specially adapted for the electronic generation of special effects
    • HELECTRICITY
    • H04ELECTRIC COMMUNICATION TECHNIQUE
    • H04NPICTORIAL COMMUNICATION, e.g. TELEVISION
    • H04N5/00Details of television systems
    • H04N5/222Studio circuitry; Studio devices; Studio equipment
    • H04N5/262Studio circuits, e.g. for mixing, switching-over, change of character of image, other special effects ; Cameras specially adapted for the electronic generation of special effects
    • H04N5/2624Studio circuits, e.g. for mixing, switching-over, change of character of image, other special effects ; Cameras specially adapted for the electronic generation of special effects for obtaining an image which is composed of whole input images, e.g. splitscreen
    • HELECTRICITY
    • H04ELECTRIC COMMUNICATION TECHNIQUE
    • H04NPICTORIAL COMMUNICATION, e.g. TELEVISION
    • H04N7/00Television systems
    • H04N7/18Closed-circuit television [CCTV] systems, i.e. systems in which the video signal is not broadcast
    • HELECTRICITY
    • H04ELECTRIC COMMUNICATION TECHNIQUE
    • H04NPICTORIAL COMMUNICATION, e.g. TELEVISION
    • H04N7/00Television systems
    • H04N7/18Closed-circuit television [CCTV] systems, i.e. systems in which the video signal is not broadcast
    • H04N7/183Closed-circuit television [CCTV] systems, i.e. systems in which the video signal is not broadcast for receiving images from a single remote source

Definitions

  • the present invention relates to an image generation device that generates an output image based on a plurality of input images captured by a plurality of cameras attached to an operated object, and an operation support system using the device.
  • this driving support system When this driving support system generates an overlapping area image corresponding to the overlapping area of the imaging range of two cameras, the comb shape which is a boundary of one complicated shape that divides the overlapping area image into two The two bird's-eye view images are connected such that the partial regions of the two bird's-eye view images captured by the two cameras are alternately arranged in a comb shape.
  • the overlapping area image is generated by dividing the two areas into two areas, one area corresponding to the bird's-eye view image by one camera, and the other area corresponding to the bird's-eye view image by the other camera. It will be lost.
  • this driving support system can prevent the object with a height from disappearing from the overlapping area image by the above-mentioned connection, and make the object easy for the driver to recognize.
  • this driving support system can prevent the object with a height from disappearing from the overlapping area image by the above-mentioned connection, and make the object easy for the driver to recognize.
  • the partial regions of two bird's-eye view images are alternately arranged in a comb shape using a comb-like border that is a border of one complicated shape. Since two bird's-eye view images are connected to generate an output image as described above, a comb-like distinctive bright and dark pattern is created when there is a large difference in the brightness of the two bird's-eye view images, and the output It will cause the driver who saw the image to feel unnatural.
  • the present invention prevents loss of an object in an area where the imaging ranges of a plurality of cameras overlap in an output image generated based on a plurality of input images captured by a plurality of cameras. It is an object of the present invention to provide an image generation device and an operation support system using the device, in which a difference in brightness between input images does not stand out.
  • an image generation apparatus is an image generation apparatus that generates an output image based on a plurality of input images captured by a plurality of cameras attached to an operated object. And each of two input image portions of the plurality of cameras corresponding to an area where the respective imaging ranges of the plurality of cameras overlap each other forms a lattice pattern in the output image. It is characterized in that it is arranged in
  • an operation support system is an operation support system for supporting movement or operation of an operated body, which is for moving or operating the above-described image generation device and the operated body. And a display unit installed in the operation room and displaying an output image generated by the image generation device.
  • the present invention can prevent the disappearance of an object in an area where the imaging ranges of a plurality of cameras overlap in an output image generated based on a plurality of input images captured by a plurality of cameras. It is possible to provide an image generation device and an operation support system using the device, in which the difference in brightness between input images does not stand out.
  • FIG. 6 is a diagram showing an example of a relationship between a space model and a processing target image plane. It is a figure for demonstrating matching with the coordinate on an input image plane, and the coordinate on a space model. It is a figure for demonstrating the matching between the coordinates by a coordinate matching means. It is a figure for demonstrating the matching between the coordinates by a coordinate matching means.
  • FIG. 12 is a contrast diagram showing the difference between the output image shown in FIG. 11 and the output image to which a lattice pattern is applied that brings about the same color illusion to the output image of FIG. 11. It is an example of a display of an output picture (the 3).
  • FIG. 18 is a contrast diagram representing the difference between the output image shown in FIG. 17 and the output image to which a lattice pattern is applied that brings about the same color illusion to the output image of FIG. 17.
  • FIG. 1 is a block diagram schematically showing a configuration example 100 of an image generation apparatus according to the present invention.
  • the image generating apparatus 100 is an apparatus that generates an output image based on an input image captured by the camera 2 mounted on a construction machine, for example, and presents the output image to the driver.
  • the input unit 3, the storage unit 4, and the display unit 5 are provided.
  • FIG. 2 is a view showing a configuration example of a shovel 60 on which the image generating apparatus 100 is mounted.
  • the shovel 60 has an upper swing body 63 on a crawler type lower traveling body 61 via a turning mechanism 62. It is rotatably mounted around the pivot axis PV.
  • the upper swing body 63 also has a cab (driver's cab) 64 on the front left side thereof and an excavating attachment E at the front center thereof, and the camera 2 (right side camera 2R, rear camera 2B on its right side and rear side) ). Note that the display unit 5 is installed at a position where the driver in the cab 64 can easily view.
  • the control unit 1 is a computer including a central processing unit (CPU), a random access memory (RAM), a read only memory (ROM), a non-volatile random access memory (NVRAM), and the like. Programs corresponding to the attaching unit 10 and the output image generating unit 11 are stored in the ROM or the NVRAM, and the CPU is caused to execute processing corresponding to each unit while using the RAM as a temporary storage area.
  • CPU central processing unit
  • RAM random access memory
  • ROM read only memory
  • NVRAM non-volatile random access memory
  • the camera 2 is a device for acquiring an input image that shows the periphery of the shovel 60, and is attached to the right side surface and the rear surface of the upper swing body 63, for example, so as to be able to capture an area which is a blind spot of the driver in the cab 64
  • They are a right side camera 2R and a rear camera 2B provided with an imaging device such as a charge coupled device (CCD) or a complementary metal oxide semiconductor (CMOS) (see FIG. 2).
  • CCD charge coupled device
  • CMOS complementary metal oxide semiconductor
  • the camera 2 may be attached to a position other than the right side surface and the rear surface of the upper swing body 63 (for example, the front surface and the left side surface), and a wide angle lens or a fisheye lens is attached to capture a wide range. It may be
  • the camera 2 acquires an input image according to a control signal from the control unit 1, and outputs the acquired input image to the control unit 1.
  • the corrected input image corrected for apparent distortion and tilt caused by using these lenses is sent to the control unit 1.
  • An input image that is output but is not corrected for apparent distortion or alias may be output to the control unit 1 as it is. In such a case, the control unit 1 corrects the apparent distortion or tilt.
  • the input unit 3 is a device for enabling an operator to input various information to the image generation device 100, and is, for example, a touch panel, a button switch, a pointing device, a keyboard, or the like.
  • the storage unit 4 is a device for storing various information, and is, for example, a hard disk, an optical disk, a semiconductor memory, or the like.
  • the display unit 5 is a device for displaying image information, and is, for example, a liquid crystal display or a projector installed in a cab 64 (see FIG. 2) of a construction machine. Display an image.
  • the image generation apparatus 100 generates the processing target image based on the input image, and performs image conversion processing on the processing target image so that the positional relationship with surrounding obstacles and the sense of distance can be intuitively grasped. After the output image to be generated is generated, the output image may be presented to the driver.
  • the “processing target image” is an image to be generated on the basis of an input image, which is a target of image conversion processing (for example, scale conversion, affine conversion, distortion conversion, viewpoint conversion processing, etc.).
  • image conversion processing for example, scale conversion, affine conversion, distortion conversion, viewpoint conversion processing, etc.
  • the image in the horizontal direction is The input image is projected to a predetermined space model so as not to be displayed unnaturally (for example, the sky part is not treated as being on the ground surface), and the projection image projected onto the space model is another two. It is an image suitable for image conversion processing, which is obtained by reprojection on a dimensional plane.
  • the processing target image may be used as an output image as it is without performing image conversion processing.
  • the “spatial model” is at least a plane or a curved surface other than the processing target image plane which is a plane on which the processing target image is located (for example, a plane parallel to the processing target image plane or an angle with the processing target image plane It is a projection object of an input image which is composed of one or a plurality of planes or a curved surface, which is a plane or a curved surface to be formed.
  • the image generation apparatus 100 may generate an output image by performing an image conversion process on the projection image projected on the space model without generating the processing target image.
  • the projection image may be used as an output image as it is without performing image conversion processing.
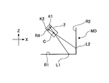
  • FIG. 3 is a view showing an example of a space model MD on which an input image is projected
  • FIG. 3A shows a relationship between the shovel 60 and the space model MD when the shovel 60 is viewed from the side
  • 3B shows the relationship between the shovel 60 and the space model MD when the shovel 60 is viewed from above.
  • the space model MD has a semi-cylindrical shape, and has a flat region R1 inside its bottom and a curved region R2 inside its side.
  • FIG. 4 is a diagram showing an example of the relationship between the space model MD and the processing target image plane, and the processing target image plane R3 is, for example, a plane including the plane region R1 of the space model MD.
  • FIG. 4 shows the space model MD not in a semi-cylindrical shape as shown in FIG. 3 but in a cylindrical shape for clarity, the space model MD has either a semi-cylindrical shape or a cylindrical shape. It may be The same applies to the following figures.
  • the processing target image plane R3 may be a circular area including the plane area R1 of the space model MD, or may be an annular area not including the plane area R1 of the space model MD.
  • control unit 1 Next, various units included in the control unit 1 will be described.
  • the coordinate associating means 10 is a means for associating the coordinates on the input image plane where the input image captured by the camera 2 is located, the coordinates on the space model MD, and the coordinates on the processing object image plane R3.
  • various parameters related to the camera 2 such as an optical center of the camera 2, a focal length, a CCD size, an optical axis direction vector, a camera horizontal direction vector, and a projection method which are preset or input through the input unit 3.
  • the coordinates on the input image plane, the coordinates on the space model MD, and the processing object image based on the mutual positional relationship between the input image plane, the space model MD, and the processing object image plane R3 determined in advance
  • the coordinates on the plane R3 are associated, and the correspondence is stored in the input image / space model correspondence map 40 of the storage unit 4 and the space model / processing target image correspondence map 41. That.
  • the output image generation unit 11 is a unit for generating an output image, and for example, coordinates and an output image on the processing target image plane R3 are obtained by subjecting the processing target image to scale conversion, affine conversion, or distortion conversion.
  • An input image / space model in which the coordinates on the output image plane to be located are associated, the correspondence relationship is stored in the processing target image / output image correspondence map 42 of the storage unit 4 and the coordinate associating unit 10 stores the value. While referring to the correspondence map 40 and the spatial model / processing target image correspondence map 41, the value of each pixel in the output image (for example, luminance value, hue value, saturation value, etc.) and the value of each pixel in the input image And generate an output image.
  • the output image generation means 11 is an optical center of a virtual camera, a focal length, a CCD size, an optical axis direction vector, a camera horizontal direction vector, a projection method which is preset or is inputted through the input unit 3 And the like, the coordinates on the processing object image plane R3 and the coordinates on the output image plane at which the output image is located are associated, and the correspondence between the processing object image / output image correspondence map 42 of the storage unit 4 Value of each pixel in the output image while referring to the input image / space model correspondence map 40 and the space model / processing target image correspondence map 41 in which the value is stored in the coordinate correspondence unit 10 , The hue value, the saturation value, etc.) and the value of each pixel in the input image are associated to generate an output image.
  • the output image generation unit 11 may generate the output image by changing the scale of the processing target image without using the concept of the virtual camera.
  • the input image / space model is associated with the coordinates on the space model MD and the coordinates on the output image plane according to the applied image conversion processing.
  • the value of each pixel for example, luminance value, hue value, saturation value, etc.
  • the output image generation means 11 omits the correspondence between the coordinates on the processing object image plane R3 and the coordinates on the output image plane and the storage of the correspondence in the processing object image / output image correspondence map 42. Do.
  • the coordinate correlating means 10 can associate the coordinates on the input image plane with the coordinates on the space model using, for example, the quaternion of Hamilton.
  • FIG. 5 is a diagram for explaining the correspondence between the coordinates on the input image plane and the coordinates on the space model
  • the input image plane of the camera 2 is a UVW Cartesian coordinate whose origin is the optical center C of the camera 2 It is expressed as a plane in the system
  • the space model is expressed as a solid plane in the XYZ orthogonal coordinate system.
  • the coordinate associating unit 10 converts the coordinates on the space model (coordinates on the XYZ coordinate system) into coordinates on the input image plane (coordinates on the UVW coordinate system), so that the origin of the XYZ coordinate system is optically
  • the X axis is U axis
  • the Y axis is V axis
  • the Z axis is-W axis ("-" indicates that the direction is opposite).
  • This means that the XYZ coordinate system is rotated to match the UVW coordinate system with the + W direction in front of the camera and the -Z direction in the XYZ coordinate system with the vertically downward direction.
  • each of the cameras 2 has a separate UVW coordinate system, so the coordinate associating unit 10 parallels the XYZ coordinate system to each of the plurality of UVW coordinate systems. It will be moved and rotated.
  • the coordinate correlating means 10 may combine those two rotations into one rotation operation by describing this conversion in the quaternion of Hamilton. it can.
  • the rotation for making one vector A coincide with another vector B corresponds to the processing of rotating by an angle formed by the vector A and the vector B around the normal of the surface where the vector A and the vector B extend.
  • the angle ⁇ is given by the inner product of the vector A and the vector B, where ⁇ is the angle
  • the unit vector N of the normal to the surface where the vector A and the vector B extend is the outer product of the vector A and the vector B
  • the quaternion Q has a real component as t and pure imaginary components as a, b, and c, respectively.
  • the quaternion Q can express a three-dimensional vector (a, b, c) with pure imaginary components a, b, c while setting the real component t to 0 (zero), and t, a, b
  • the components c and c can represent rotational motion about an arbitrary vector.
  • the quaternion Q can integrate a plurality of consecutive rotation operations and can be expressed as one rotation operation.
  • any point S (sx, sy, sz) can be expressed as an arbitrary unit vector
  • the point D (ex, ey, ez) when rotated by an angle ⁇ with C (l, m, n) as an axis can be expressed as follows.
  • the coordinate associating unit 10 executes the calculation to execute the coordinate in the space model (XYZ coordinate system) thereafter. It can be converted to coordinates on the input image plane (UVW coordinate system).
  • the coordinate correlating means 10 After converting the coordinates on the space model (XYZ coordinate system) to coordinates on the input image plane (UVW coordinate system), the coordinate correlating means 10 converts the optical center C of the camera 2 (coordinates on the UVW coordinate system) An incident angle ⁇ formed by a line segment CP ′ connecting an arbitrary coordinate P on the model and a coordinate P ′ represented by the UVW coordinate system and the optical axis G of the camera 2 is calculated.
  • the coordinate correlating means 10 is a point E parallel to the input image plane R4 (for example, the CCD surface) of the camera 2 and including the coordinate P ', and the coordinate E' with the intersection E of the plane H and the optical axis G.
  • the length of the line segment EP ′ is calculated.
  • the angle of inclination ⁇ formed by the line segment EP ′ connecting U ′ and the U ′ axis in the plane H is calculated.
  • the coordinate associating unit 10 decomposes the calculated image height h into U component and V component on the UV coordinate system by the argument angle ⁇ , and has a numerical value corresponding to the pixel size per pixel of the input image plane R4.
  • coordinates P (P ′) on the space model MD can be associated with coordinates on the input image plane R4.
  • the coordinate associating unit 10 associates the coordinates on the space model MD with the coordinates on one or more input image plane R4 existing for each camera, and coordinates on the space model MD, a camera identifier , And coordinates on the input image plane R4 are stored in the input image / space model correspondence map 40 in association with each other.
  • the coordinate correlating means 10 calculates transformation of coordinates using quaternions, it has an advantage that gimbal lock is not generated unlike the case of calculating transformation of coordinates using Euler angles. .
  • the coordinate correlating means 10 is not limited to one that calculates transformation of coordinates using a quaternion, and may calculate the transformation of coordinates using Euler angles.
  • the coordinate associating unit 10 inputs the coordinates P (P ′) on the space model MD with respect to the camera having the smallest incident angle ⁇ . It may be made to correspond to the coordinates on the image plane R4, or may be made to correspond to the coordinates on the input image plane R4 selected by the operator.
  • FIG. 6 is a diagram for explaining the correspondence between the coordinates by the coordinate correspondence means 10.
  • the coordinate correlating means 10 are a coordinate of the input image plane R4 of the camera 2 and a coordinate on the spatial model MD corresponding to the coordinate. In order that each of the line segments connecting the two passes through the optical center C of the camera 2, the two coordinates are associated with each other.
  • the coordinate associating unit 10 associates the coordinates K1 on the input image plane R4 of the camera 2 with the coordinates L1 on the plane region R1 of the space model MD, and the coordinates on the input image plane R4 of the camera 2 Map K2 to coordinates L2 on the curved surface area R2 of the space model MD.
  • the line segment K1-L1 and the line segment K2-L2 both pass through the optical center C of the camera 2.
  • the coordinate correlating means 10 sets the respective projection methods. Accordingly, the coordinates K1 and K2 on the input image plane R4 of the camera 2 are made to correspond to the coordinates L1 and L2 on the space model MD.
  • the line segment K1-L1 and the line segment K2-L2 do not pass through the optical center C of the camera 2.
  • FIG. 6B is a diagram showing the correspondence between the coordinates on the curved surface area R2 of the space model MD and the coordinates on the processing object image plane R3, and the coordinate correlating means 10 is a parallel line located on the XZ plane.
  • a parallel line group PL which is a group PL and forms an angle ⁇ with the processing target image plane R3, is introduced, and coordinates on the curved surface region R2 of the space model MD and on the processing target image plane R3 corresponding to the coordinates
  • the two coordinates are associated in such a way that both the coordinates of x and y lie on one of the parallel line group PL.
  • the coordinate associating unit 10 associates the two coordinates so that the coordinate L2 on the curved surface region R2 of the space model MD and the coordinate M2 on the processing object image plane R3 lie on a common parallel line. Do.
  • the coordinate associating means 10 can associate the coordinates on the plane region R1 of the space model MD with the coordinates on the processing object image plane R3 using the parallel line group PL in the same manner as the coordinates on the curved region R2.
  • the plane region R1 and the processing target image plane R3 are common planes, the coordinates L1 on the plane region R1 of the space model MD and the coordinates M1 on the processing target image plane R3 are present. And have the same coordinate values.
  • the coordinate associating unit 10 associates the coordinates on the space model MD with the coordinates on the processing target image plane R3, and associates the coordinates on the space model MD and the coordinates on the processing target image R3. It is stored in the space model / processing target image correspondence map 41.
  • the generation unit 11 causes each of the line segments connecting the coordinates on the output image plane R5 of the virtual camera 2V and the coordinates on the processing target image plane R3 corresponding to the coordinates to pass through the optical center CV of the virtual camera 2V. And associate the two coordinates.
  • the output image generation unit 11 associates the coordinates N1 on the output image plane R5 of the virtual camera 2V with the coordinates M1 on the processing target image plane R3 (the plane region R1 of the space model MD).
  • the coordinate N2 on the 2V output image plane R5 is associated with the coordinate M2 on the processing target image plane R3.
  • the line segment M1-N1 and the line segment M2-N2 both pass the optical center CV of the virtual camera 2V.
  • the output image generation unit 11 uses each projection system. Accordingly, the coordinates N1 and N2 on the output image plane R5 of the virtual camera 2V are made to correspond to the coordinates M1 and M2 on the processing target image plane R3.
  • the line segment M1-N1 and the line segment M2-N2 never pass the optical center CV of the virtual camera 2V.
  • the output image generation unit 11 associates the coordinates on the output image plane R5 with the coordinates on the processing target image plane R3, and coordinates the coordinates on the output image plane R5 and the coordinates on the processing target image R3.
  • Each of the output images is stored with reference to the input image / space model correspondence map 40 and the space model / process target image correspondence map 41 stored in the processing object image / output image correspondence map 42 in association with each other and stored
  • An output image is generated by associating the pixel value with the value of each pixel in the input image.
  • FIG. 6D is a diagram combining FIGS. 6A to 6C, and shows the mutual positional relationship between the camera 2, the virtual camera 2V, the plane area R1 and the curved area R2 of the space model MD, and the processing target image plane R3. Show.
  • FIG. 7A is a diagram in the case where the angle ⁇ is formed between the parallel line group PL located on the XZ plane and the processing target image plane R3, and FIG. 7B is a diagram showing the parallel line group PL located on the XZ plane.
  • 7A and 7B correspond to the coordinates Ma to Md on the processing target image plane R3, respectively
  • the coordinates La to Ld in FIG. 7A correspond to the coordinates Ma to Md on the processing target image plane R3.
  • Each interval of Ld is equal to each interval of coordinates La to Ld in FIG. 7B.
  • the parallel line group PL is present on the XZ plane for the purpose of explanation, in reality, it is present so as to radially extend from all points on the Z axis toward the processing object image plane R3. It shall be.
  • the Z axis in this case is referred to as a "reprojection axis".
  • the distance between the coordinates Ma to Md on the processing object image plane R3 is linear as the angle between the parallel line group PL and the processing object image plane R3 increases. Decrease (uniformly decreases regardless of the distance between the curved surface region R2 of the space model MD and each of the coordinates Ma to Md).
  • the coordinate group on the plane region R1 of the space model MD is not converted to the coordinate group on the processing object image plane R3 in the example of FIG. 7, so the interval between the coordinate groups does not change. .
  • the change in the distance between these coordinate groups is linearly expanded or only the image portion corresponding to the image projected on the curved region R2 of the space model MD. It means to be reduced.
  • FIG. 8A is a diagram in the case where all the auxiliary line groups AL located on the XZ plane extend from the start point T1 on the Z axis toward the processing object image plane R3, and FIG. 8B is a diagram showing all the auxiliary line groups AL. It is a figure in the case where it extends toward processing object image plane R3 from starting point T2 (T2> T1) on the Z-axis. Further, each of the coordinates La to Ld on the curved region R2 of the space model MD in FIGS. 8A and 8B corresponds to each of the coordinates Ma to Md on the processing target image plane R3 (in the example of FIG.
  • the coordinates Mc and Md are not shown because they are outside the region of the processing target image plane R3), and the distance between each of the coordinates La to Ld in FIG. 8A is equal to the distance between each of the coordinates La to Ld in FIG. 8B. It shall be.
  • the auxiliary line group AL is present on the XZ plane for the purpose of explanation, in reality, the auxiliary line group AL is present so as to radially extend from any one point on the Z axis toward the processing object image plane R3. It shall be. As in FIG. 7, the Z axis in this case is referred to as “re-projection axis”.
  • the distance between each of the coordinates Ma to Md on the processing target image plane R3 increases as the distance (height) between the start point of the auxiliary line group AL and the origin O increases. It decreases non-linearly (the larger the distance between the curved surface region R2 of the space model MD and each of the coordinates Ma to Md, the larger the decrease width of each interval).
  • the coordinate group on the plane region R1 of the space model MD is not converted to the coordinate group on the processing target image plane R3 in the example of FIG. 8, so the interval between the coordinate groups does not change. .
  • the change in the distance between these coordinate groups corresponds to the image projected on the curved region R2 of the space model MD in the image portion on the output image plane R5 (see FIG. 6), as in the parallel line group PL. It means that only the image part is expanded or reduced non-linearly.
  • the image generation device 100 does not affect the image portion (for example, a road surface image) of the output image corresponding to the image projected on the plane region R1 of the space model MD, and the space model MD is generated. Since the image portion (for example, a horizontal image) of the output image corresponding to the image projected on the curved surface area R2 of the road surface area R2 can be expanded or reduced linearly or nonlinearly, a road surface image near the shovel 60 An object located in the periphery of the shovel 60 (an object in an image when the surroundings are viewed horizontally from the shovel 60) is quickly and flexibly without affecting the (virtual image when the shovel 60 is viewed from directly above) The visibility of the blind spot area of the shovel 60 can be improved.
  • a road surface image for example, a road surface image
  • FIG. 9 is a flowchart showing a flow of processing target image generation processing (steps S1 to S3) and output image generation processing (steps S4 to S6).
  • the arrangement of the camera 2 (input image plane R4), the space model (plane area R1 and curved area R2), and the processing target image plane R3 are determined in advance.
  • control unit 1 causes the coordinate associating unit 10 to associate the coordinates on the processing target image plane R3 with the coordinates on the space model MD (step S1).
  • the coordinate associating unit 10 acquires an angle formed between the parallel line group PL and the processing target image plane R3, and the parallel line group PL extending from one coordinate on the processing target image plane R3.
  • a point at which one intersects the curved surface area R2 of the space model MD is calculated, and a coordinate on the curved surface area R2 corresponding to the calculated point is one on the curved surface area R2 corresponding to the one coordinate on the processing target image plane R3.
  • the coordinates are derived, and the correspondence relationship is stored in the spatial model / processing target image correspondence map 41.
  • the angle formed between the parallel line group PL and the processing target image plane R3 may be a value stored in advance in the storage unit 4 or the like, and the operator dynamically uses the input unit 3 via the input unit 3. It may be a value to be input.
  • the coordinate associating unit 10 processes the one coordinate on the plane region R1 as the processing target image. It is derived as one coordinate corresponding to the one coordinate on the plane R 3, and the correspondence is stored in the spatial model-processing target image correspondence map 41.
  • control unit 1 causes the coordinate associating unit 10 to associate one coordinate on the space model MD derived by the above-described processing with the coordinate on the input image plane R4 (step S2).
  • the correspondence relationship is stored in the input image / space model correspondence map 40.
  • control unit 1 determines whether or not all the coordinates on the processing target image plane R3 are associated with the coordinates on the space model MD and the coordinates on the input image plane R4 (step S3). Are determined not to be associated with each other (NO in step S3), the processing in step S1 and step S2 is repeated.
  • step S3 when it is determined that all the coordinates have been associated (YES in step S3), the control unit 1 terminates the processing target image generation processing and then starts the output image generation processing, and the output image generation unit 11 Thus, the coordinates on the processing target image plane R3 are associated with the coordinates on the output image plane R5 (step S4).
  • the output image generation unit 11 generates an output image by performing scale conversion, affine conversion, or distortion conversion on the processing target image, and is determined by the content of the performed scale conversion, affine conversion, or distortion conversion.
  • the correspondence between the coordinates on the processing target image plane R3 and the coordinates on the output image plane R5 is stored in the processing target image / output image correspondence map 42.
  • the output image generation unit 11 calculates coordinates on the output image plane R5 from the coordinates on the processing target image plane R3 according to the adopted projection method.
  • the correspondence relationship may be stored in the processing target image / output image correspondence map 42.
  • the output image generation unit 11 acquires the coordinates of the optical center CV of the virtual camera 2V.
  • a line segment extending from one coordinate on the output image plane R5, and a point at which the line segment passing through the optical center CV intersects the processing target image plane R3 is calculated, and the processing target image plane R3 corresponding to the calculated point
  • the coordinates may be derived as one coordinate on the processing target image plane R3 corresponding to the one coordinate on the output image plane R5, and the correspondence may be stored in the processing target image / output image correspondence map 42.
  • control unit 1 causes the output image generation unit 11 to refer to the input image / space model correspondence map 40, the space model / processing target image correspondence map 41, and the processing target image / output image correspondence map 42.
  • the values for example, luminance value, hue value, saturation value, etc.
  • the acquired value is adopted as the value of each coordinate on the corresponding output image plane R5 (step S5).
  • the output image generation unit 11 When a plurality of coordinates on the plurality of input image planes R4 correspond to a single coordinate on the output image plane R5, the output image generation unit 11 generates each of the plurality of coordinates on the plurality of input image planes R4. To derive a statistical value (for example, an average value, a maximum value, a minimum value, an intermediate value, etc.) based on the value of, and adopt that statistical value as the value of one coordinate on the output image plane R5. Good.
  • a statistical value for example, an average value, a maximum value, a minimum value, an intermediate value, etc.
  • control unit 1 determines whether the values of all the coordinates on the output image plane R5 are associated with the values of the coordinates on the input image plane R4 (step S6), and the values of all the coordinates still correspond If it is determined that it is not attached (NO in step S6), the processing in step S4 and step S5 is repeated.
  • control unit 1 when it is determined that the values of all the coordinates are associated (YES in step S6), the control unit 1 generates an output image and terminates this series of processing.
  • the image generating apparatus 100 can generate the processing target image and the output image that can make the operator intuitively grasp the positional relationship between the construction machine and the surrounding obstacle.
  • the image generation apparatus 100 associates each coordinate on the processing target image plane R3 with the input image plane R3 by executing coordinate association so as to trace back to the input image plane R4 from the processing target image plane R3 through the space model MD.
  • it is possible to correspond to one or more coordinates on R4 with certainty, and to execute the matching of the coordinates in the order from the input image plane R4 through the space model MD to the processing target image plane R3 (in this case Can reliably make each coordinate on the input image plane R4 correspond to one or more coordinates on the processing object image plane R3, but a part of the coordinates on the processing object image plane R3 corresponds to the input image plane R4.
  • the image generation device 100 changes the angle formed between the parallel line group PL and the processing target image plane R3. Desired enlargement or reduction can be realized without rewriting the content of the input image / space model correspondence map 40 only by rewriting only the part related to the curved region R2 in the space model / processing target image correspondence map 41. .
  • the image generation apparatus 100 when changing the appearance of the output image, the image generation apparatus 100 only changes the values of various parameters related to scale conversion, affine conversion, or distortion conversion to rewrite the processing target image / output image correspondence map 42.
  • a desired output image (scale conversion image, affine conversion image or distortion conversion image) can be generated without rewriting the contents of the input image / space model correspondence map 40 and the space model / processing target image correspondence map 41.
  • the image generation apparatus 100 changes the values of various parameters of the virtual camera 2 V and rewrites the processing object image / output image correspondence map 42 to change the input image / space.
  • An output image (viewpoint conversion image) viewed from a desired viewpoint can be generated without rewriting the contents of the model correspondence map 40 and the space model / process target image correspondence map 41.
  • FIG. 10 is a display example when an output image generated using input images of two cameras 2 (right-side camera 2R and rear camera 2B) mounted on the shovel 60 is displayed on the display unit 5 .
  • the image generation apparatus 100 projects the input image of each of the two cameras 2 onto the plane region R1 and the curved region R2 of the space model MD, and reprojects the image on the processing target image plane R3 to generate the processing target image.
  • An output image is generated by performing image conversion processing (for example, scale conversion, affine conversion, distortion conversion, viewpoint conversion processing, etc.) on the generated processing target image, and the vicinity of the shovel 60 is viewed from above
  • An image (an image in the plane region R1) looking down and an image (an image in the processing target image plane R3) viewed from the periphery in the horizontal direction from the shovel 60 are simultaneously displayed.
  • the output image is generated by performing image conversion processing (for example, viewpoint conversion processing) on the image projected on the space model MD when the image generation apparatus 100 does not generate the processing target image. It shall be.
  • image conversion processing for example, viewpoint conversion processing
  • the output image is trimmed in a circular shape so that the image when the shovel 60 performs a turning operation can be displayed without discomfort, and the center CTR of the circle is on the cylinder center axis of the space model MD and the turning of the shovel 60 It is generated so as to be on the axis PV, and displayed so as to rotate about its center CTR in response to the turning operation of the shovel 60.
  • the cylinder central axis of the space model MD may or may not coincide with the reprojection axis.
  • the radius of the space model MD is, for example, 5 meters, and the angle formed by the parallel line group PL with the processing target image plane R3 or the starting point height of the auxiliary line group AL is the turning of the shovel 60. If an object (for example, a worker) is present at a position away from the center by the maximum reach of the drilling attachment E (for example, 12 meters), the object is sufficiently large (for example, 7) on the display unit 5 Can be set to be displayed.
  • the output image may be arranged such that the CG image of the shovel 60 is such that the front of the shovel 60 coincides with the upper side of the screen of the display unit 5 and the turning center coincides with the center CTR. This is to make it easier to understand the positional relationship between the shovel 60 and the object appearing in the output image.
  • the output image may have a frame image including various information such as an orientation disposed around it.
  • FIG. 11 shows input images of three cameras 2 (left side camera 2L, right side camera 2R, and rear camera 2B) mounted on the shovel 60, and output images generated using those input images.
  • FIG. 11 shows input images of three cameras 2 (left side camera 2L, right side camera 2R, and rear camera 2B) mounted on the shovel 60, and output images generated using those input images.
  • the image generation apparatus 100 projects the input image of each of the three cameras 2 onto the plane region R1 and the curved region R2 of the space model MD, and reprojects the image on the processing target image plane R3 to generate the processing target image.
  • An output image is generated by performing image conversion processing (for example, scale conversion, affine conversion, distortion conversion, viewpoint conversion processing, etc.) on the generated processing target image, and the vicinity of the shovel 60 is viewed from above
  • An image (an image in the plane region R1) looking down and an image (an image in the processing target image plane R3) viewed from the periphery in the horizontal direction from the shovel 60 are simultaneously displayed.
  • the input image of the left side camera 2L and the input image of the rear camera 2B respectively include overlapping portions obtained by imaging the same place around the shovel 60 from different angles, but the overlapping portions respectively indicate illumination for each camera Images are taken with different brightness depending on the environment and so on, and the brightness is different. The same applies to the overlapping portion between the input image of the right side camera 2R and the input image of the rear camera 2B.
  • the output image generated based on the three input images is incident on the coordinates on the output image plane
  • the area on the output image and the rear camera 2B based on the input image of the left side camera 2L although imaging the same place Of the output image based on the input image of the rear camera 2B and the boundary between the area on the output image based on the input image of (see area R6 enclosed by the dashed dotted line in the figure) and the input image of the right side camera 2R
  • the brightness changes rapidly, and the operation seen from the output image So that the would feel unnatural to.
  • the image generation apparatus 100 uses the effect of the checker shadow illusion (same color illusion) so as not to emphasize the difference in luminance between the input images.
  • FIG. 12 illustrates the same color illusion (Edward H. Adelson, "Checker shadow illusion", 1995, Internet ⁇ URL: http://web.mit.edu/persci/people/adelson/checkershadow_illusion.html
  • 12A shows a checkered pattern (grid pattern) used to bring about the same color illusion
  • FIG. 12B shows points P1 to P3 and P4 to P6 on the checkered pattern (grid pattern).
  • the graph which represents transition of the brightness
  • the point sandwiched by two unit patterns (a unit pattern including the point P1 and a unit pattern including the point P3) having a luminance higher than that of the unit pattern including the point P2.
  • the luminance of the unit pattern including P2 is sandwiched between two unit patterns (a unit pattern including the point P4 and a unit pattern including the point P6) having a luminance lower than that of the unit pattern including the point P5. It looks lower than the luminance of the unit pattern including the point P5.
  • the unit patterns including each of the points P1, P3, and P5 have the same luminance
  • the unit patterns including each of the points P2, P4, and P6 have the same luminance. It will be an illusion with what you have.
  • Fig. 13 is a diagram for explaining an example of a method of generating a bright and dark pattern that brings about the same color illusion, and includes two wave sources (for example, the right side camera 2R and the rear camera 2B.
  • two wave sources for example, the right side camera 2R and the rear camera 2B.
  • the valley Shown are two waves that expand and interfere with each other while forming a (dotted circle).
  • the two fan-shaped areas 2Ra and 2Ba respectively indicate the imaging range of the right side camera 2R and the imaging range of the rear camera 2B
  • the abdominal line ANL represented by a thick solid line has two waves.
  • a broken line indicates a line connecting reinforcing points
  • a broken line NL indicates a line connecting points where two waves weaken each other.
  • the abdominal line ANL and the nodal line NL alternately appear as shown in FIG.
  • a line drawn by one valley of a wave extending from the right-hand side camera 2R as a wave source (broken line circle), a line drawn by one peak generated next to the one valley (solid line circle), and a rear
  • the unit pattern region LT is formed.
  • the rear camera 2B is in the unit pattern area LT1 where the abdominal line ANL of the unit pattern areas LT passes (grayed out).
  • the input image of the right side camera 2R is associated with the unit pattern area LT2 that the input image of is associated and the dashed line NL of the unit pattern area LT passes (filled with white)
  • Two input images with different luminances can form a lattice pattern that provides the same color illusion.
  • the input image of the right side camera 2R is associated with the unit pattern area LT1 through which the abdominal line ANL in the unit pattern area LT passes (filled with gray), and the node line NL in the unit pattern area LT
  • the two input images having different average luminances form a lattice pattern that causes the same color illusion. Will be able to
  • the grating pattern in FIG. 13 is formed using two waves having the same wavelength and phase, one or both of the wavelength and the phase may be formed using two waves. This is in order to flexibly adjust the size and shape of the unit pattern regions LT1 and LT2.
  • FIG. 14 shows a state in which the lattice pattern shown in FIG. 13 is arranged on the output image plane (planar region R1), and is the right-side camera 2R at the right rear (lower right direction of the figure) of the CG image of the shovel 60.
  • the grid pattern disposed in the overlapping area between the imaging range of the right side camera 2R and the imaging range of the rear camera 2B is, for example, an input image of the right rear camera 2R in the unit pattern area LT1 (filled in gray).
  • the input image of the rear camera 2B is associated with the unit pattern area LT2 (filled in white).
  • the grid pattern arranged in the overlapping area of the imaging range of the left side camera 2L and the imaging range of the rear camera 2B corresponds to the input pattern of the left rear camera 2L in the unit pattern area LT3 (filled with gray) It is assumed that the input image of the rear camera 2B is associated with the unit pattern region LT4 (filled in white).
  • the image generating apparatus 100 corresponds the coordinates on one input image plane of one of the two cameras to each coordinate on the output image plane corresponding to the overlapping region of the imaging range of each of the two cameras. It is a flow chart which shows a flow of processing (it is hereafter set as "grid pattern formation processing") which forms a grid pattern which gives the same color illusion.
  • the control unit 1 of the image generation apparatus 100 uses, for example, the coordinate association unit 10 in the step S2 of the processing target image generation process of FIG. 9 on one coordinate on the plane region R1 of the space model MD and a plurality of input image planes.
  • This grid pattern forming process is to be executed.
  • control unit 1 acquires one coordinate on the plane region R1 of the space model MD corresponding to an area where the imaging ranges of two cameras (for example, the right side camera 2R and the rear camera 2B) overlap. (Step S11).
  • control unit 1 acquires the coordinates of the optical center in each of the two cameras (step S12).
  • control unit 1 selects a camera to be associated with one coordinate on the plane region R1 in the space model MD acquired in step S11 (step S13).
  • control unit 1 sets the coordinates of the optical center of the right side camera 2R as (X cam1 , Y cam1 ), sets the coordinates of the optical center of the rear camera 2 B as (X cam2 , Y cam2 ), and associates them.
  • (X target , Y target ) be one coordinate on the plane region R1 of the target space model MD,
  • the right-side camera 2R is selected as a camera to be associated with one coordinate on the flat region R1, and when the above conditional expression is false, one coordinate on the flat region R1
  • the rear camera 2R is selected as a camera to be associated with.
  • control part 1 selects the back camera 2B as a camera matched with one coordinate on the plane area R1, when the above-mentioned conditional expression is true, and when the above-mentioned conditional expression is false, the plane The right side camera 2R may be selected as a camera to be associated with one coordinate on the region R1.
  • conditional expression is a judgment expression as to whether the coordinates (X target , Y target ) on the plane region R1 are included in the unit pattern region LT1 or in the unit pattern region LT2 shown in FIG. It corresponds to
  • the control unit 1 sets one coordinate (two-dimensional coordinates) and two coordinates on the plane region R1 on the premise that the coordinates of the optical center are two-dimensional and the wave generated from the wave source is a plane wave.
  • Select a camera based on the two-dimensional distance between the coordinates of the optical center of each of the two cameras (two-dimensional coordinates projected on the plane including the plane region R1), but the coordinates of the optical center (height information Between the one coordinate (three-dimensional coordinates) on the plane region R1 and the coordinates (three-dimensional coordinates) of the optical centers of the two cameras, with the wave generated from the wave source as a spherical wave.
  • the camera may be selected based on the three-dimensional distance of.
  • control unit 1 corresponds to an area where the imaging ranges of two cameras (for example, the right side camera 2R and the rear camera 2B) overlap, on the plane area R1 of the space model MD.
  • the camera associated with one coordinate is selected, the camera associated with one coordinate on the processing target image plane R3 may be selected that corresponds to an area where the imaging ranges of two cameras overlap.
  • the control unit 1 controls two coordinates (one-dimensional coordinates (two-dimensional coordinates) on the processing target image plane R3 and coordinates of optical centers of two cameras (two-dimensional coordinates projected on a plane including the processing target image plane R3)
  • the camera may be selected based on the two-dimensional distance between the two) and one coordinate (three-dimensional coordinate) on the image plane R3 to be processed and the coordinate (three-dimensional coordinate) of the optical centers of the two cameras.
  • the camera may be selected based on the three-dimensional distance between
  • the processing target image plane R3 may include the flat area R1.
  • control unit 1 causes the coordinate associating unit 10 to associate one coordinate on the input image plane of the selected camera with one coordinate on the plane region R1 of the space model MD (step S14).
  • the upper coordinates, the camera identifier, and the coordinates on the input image plane are associated and stored in the input image / space model correspondence map 40.
  • control unit 1 sets all the coordinates on the plane region R1 of the space model MD corresponding to the region where the imaging ranges of the two cameras overlap to the coordinates on the input image plane of one of the two cameras. It is determined whether or not they are associated (step S15), and when it is determined that not all the coordinates have been associated yet (NO in step S15), the processing in steps S11 to S14 is repeated.
  • control unit 1 ends the lattice pattern forming process.
  • control unit 1 sets each coordinate on the plane region R1 of the space model MD or each coordinate on the processing target image plane R3 corresponding to the region where the imaging ranges of the two cameras overlap.
  • Each coordinate on the curved region R2 of the space model MD corresponding to the region where the imaging ranges of the two cameras overlap is set to correspond to the coordinates on one input image plane of one camera. It may be made to correspond to the coordinates on the input image plane of one of the cameras.
  • control unit 1 can easily associate each coordinate on the space model MD with the coordinate on one input image plane of two cameras using the above-described conditional expression, and is appropriate.
  • a grid pattern can be generated.
  • FIG. 16 is a contrast diagram showing the difference between the output image shown in FIG. 11 and the output image to which the lattice pattern giving the same color illusion is applied to the output image of FIG. 11, the upper drawing being the output shown in FIG. An image is shown, and the lower figure shows an output image to which a lattice pattern giving the same color illusion is applied.
  • the difference in brightness is presented, it is a point in the figure below where the area on the output image based on the input image of the left side camera 2L and the area on the output image based on the input image of the rear camera 2B are mixed as a grid pattern
  • the region R8 surrounded by a dashed line the difference in luminance is less noticeable, and it is difficult for the driver who looks at the output image including the region R8 to feel unnatural.
  • a region R7 surrounded by an alternate long and short dash line including a boundary between the region on the output image based on the input image of the right side camera 2R and the region on the output image based on the input image of the rear camera 2B is Although a remarkable difference in luminance is presented, the area on the output image based on the input image of the right side camera 2R and the area on the output image based on the input image of the rear camera 2B are mixed as a grid pattern In the area R9 surrounded by the one-dot chain line in the following figure, the difference in luminance is less noticeable, and it is difficult for the driver who looks at the output image including the area R9 to feel unnatural.
  • FIG. 17 shows input images of three cameras 2 (left side camera 2L, right side camera 2R, and rear camera 2B) mounted on the shovel 60, and output images generated using those input images.
  • FIG. 17 shows input images of three cameras 2 (left side camera 2L, right side camera 2R, and rear camera 2B) mounted on the shovel 60, and output images generated using those input images.
  • the image generation apparatus 100 projects the coordinates on the input image plane of each of the three cameras 2 on the coordinates on the plane region R1 and the curved region R2 of the space model MD and reprojects them on the processing object image plane R3.
  • Output image is generated by performing image conversion processing (for example, scale conversion, affine conversion, distortion conversion, viewpoint conversion processing, etc.) on the generated processing target image.
  • image conversion processing for example, scale conversion, affine conversion, distortion conversion, viewpoint conversion processing, etc.
  • the input image of the right side camera 2R and the input image of the rear camera 2B are respectively within the overlapping region of the imaging range of the right side camera 2R and the imaging range of the rear camera 2B.
  • a region R10 enclosed by a two-dot chain line in the input image and a region R11 enclosed by a two-dot chain line in the input image of the rear camera 2B are captured.
  • the output image generated based on the input image of the right side camera 2R and the input image of the rear camera 2B has the coordinates on the input image plane with respect to the camera whose coordinate on the output image plane is the smallest. If it is associated with, as shown in FIG. 17, the person in the overlapping area will be eliminated (refer to the area R12 surrounded by an alternate long and short dash line in the output image).
  • the image generating apparatus 100 when generating an output image portion corresponding to the overlapping area of the imaging range of each of the two cameras using the lattice pattern formed to bring about the same color illusion, the image generating apparatus 100 produces the output image portion. Shall be prevented from disappearing.
  • FIG. 18 is a view for explaining the disappearance prevention effect of an object in an overlapping area of imaging ranges of two cameras, and FIG. 18A forms a lattice pattern for producing the same color illusion shown in FIG. FIG. 18B shows a partially enlarged view of FIG. 18A.
  • the projected image PRJ1 surrounded by a broken line is a line connecting the rear camera 2B and the object OBJ1 by the viewpoint conversion for generating the road surface image of the image of the object OBJ1 in the input image of the rear camera 2B. It represents an image expanded in the extension direction (an image displayed when a road surface image in the output image portion is generated using an input image of the rear camera 2B).
  • the projected image PRJ2 surrounded by a broken line is a line connecting the right side camera 2R and the object OBJ1 by the viewpoint conversion for generating the road surface image of the image of the object OBJ1 in the input image of the right rear camera 2R. It represents an image expanded in the extension direction (an image displayed when a road surface image in the output image portion is generated using an input image of the right side camera 2R).
  • the projected image PRJ1 and the projected image PRJ2 are not displayed as they are on the final output image, but are displayed in a partially cut-out state as shown in FIG. 18B. It becomes.
  • a portion filled with gray represents an overlapping portion with the unit pattern area LT1 (see FIG. 13) through which the abdominal line ANL passes, and the overlapping portion
  • the coordinates on the input image plane of the rear camera 2B (coordinates in the area forming the image of the object OBJ1) are associated with the respective coordinates on the output image corresponding to.
  • a white-filled portion represents an overlapping portion with the unit pattern region LT2 (see FIG. 13) through which the node line NL passes, and an output corresponding to the overlapping portion It is shown that the coordinates on the input image plane of the right side camera 2R (coordinates in the area where the image of the object OBJ1 is not formed) are associated with each coordinate on the image.
  • the coordinates on the input image plane of the right-side camera 2R (in the area where the image of the object OBJ1 is not formed) at each coordinate on the output image corresponding to the gray-filled portion of the dashed line region representing the projected image PRJ1.
  • the coordinates in the area forming H.) may be made to correspond.
  • the projected image PRJ1 is a part of a circle (a circle drawn by the peaks and valleys of waves having the position of the rear camera 2B as the wave source) orthogonal to the extension direction.
  • a circle a circle drawn by the peaks and valleys of waves having the position of the rear camera 2B as the wave source
  • the unit pattern region LT2 included as a boundary line
  • adjacent unit pattern regions LT1 are not easily divided into splits because their apexes are in contact with each other, and each of the unit pattern regions LT2 is in the extension direction Since it includes a part of a circle orthogonal to, its outline is also stored in a clear state that is easy to recognize.
  • the projected image PRJ1 tends to be expanded longer in the direction away from the camera as the height of the object OBJ1 is higher, and to be enlarged larger as the distance from the camera gets larger, but any of the unit pattern regions LT1 and LT2 As the distance from the camera is increased, the image is enlarged by the same degree as that of the projected image PRJ1, so that the notch state is maintained substantially uniformly.
  • a portion filled with black represents an overlapping portion with the unit pattern area LT2 (see FIG. 13) through which the node line NL passes, and the overlapping portion
  • the coordinates on the output image plane of the right side camera 2R (coordinates in the area forming the image of the object OBJ1) are associated with the respective coordinates on the output image corresponding to.
  • a white-filled portion represents an overlapping portion with the unit pattern region LT1 (see FIG. 13) through which the abdominal line ANL passes, and an output corresponding to the overlapping portion It is shown that the coordinates on the input image plane of the rear camera 2B (coordinates in the area where the image of the object OBJ1 is not formed) are associated with the respective coordinates on the image.
  • the coordinates on the input image plane of the rear camera 2B (the coordinates in the area where the image of the object OBJ1 is not formed) at each coordinate on the output image corresponding to the blackened area.
  • Is associated, and coordinates on the input image plane of the right-side camera 2R (form the image of the object OBJ1) at each coordinate on the output image corresponding to the white-filled portion of the dashed line area representing the projected image PRJ2 Coordinates in the region to be linked may be made to correspond.
  • the projected image PRJ2 is a circle (a circle drawn by the peaks and valleys of waves having the position of the right side camera 2R as a wave source) as shown in FIG.
  • the unit pattern Since adjacent unit pattern regions LT2 contact each other at their apexes, it is difficult to be divided in a shredded manner, and the unit pattern Since each of the regions LT1 includes a part of a circle orthogonal to its extension direction, its outline is also stored in a clear state that is easy to be recognized.
  • the projected image PRJ2 tends to be expanded longer in the direction away from the camera as the height of the object OBJ1 is higher, as with the projected image PRJ1, and tends to be enlarged more as the distance from the camera is increased.
  • the pattern regions LT1 and LT2 are both enlarged by the same degree as the projected image PRJ2 as the distance from the camera increases, the notched state is maintained substantially uniformly.
  • FIG. 19 is a contrast diagram showing the difference between the output image shown in FIG. 17 and the output image to which the lattice pattern giving the same color illusion is applied to the output image of FIG. 17, the upper drawing being the output shown in FIG. An image is shown, and the lower figure shows an output image to which a lattice pattern giving the same color illusion is applied.
  • the image generation apparatus 100 generates an output image portion corresponding to the overlapping area of the imaging range of each of the two cameras by using a lattice pattern for producing the same color illusion.
  • a part of the input image can be prevented from disappearing, and compared with the case where two input images are joined so that the partial regions of the two input images are alternately arranged in a comb shape, It is possible to display the projection image of the object, which is to be cut off, in a state in which the driver can more easily recognize.
  • the image generation apparatus 100 adopts a cylindrical space model MD as a space model, but may adopt a space model having another columnar shape such as a polygonal column, etc.
  • a space model composed of two sides may be adopted, or a space model having only sides may be adopted.
  • the image generating apparatus 100 is mounted with a camera on a self-propelled construction machine including movable members such as a bucket, an arm, a boom, and a turning mechanism, and the movement of the construction machine is displayed while presenting an ambient image to the driver.
  • movable members such as a bucket, an arm, a boom, and a turning mechanism
  • the movement of the construction machine is displayed while presenting an ambient image to the driver.
  • They are installed in the operation support system that supports the operation of the movable members, but are mounted together with the camera on another operated body having movable members but not self-propelled, such as industrial machines or fixed cranes, etc.
  • the present invention may be incorporated into an operation support system that supports the operation of another manipulated object.

Landscapes

  • Engineering & Computer Science (AREA)
  • Multimedia (AREA)
  • Signal Processing (AREA)
  • Physics & Mathematics (AREA)
  • General Physics & Mathematics (AREA)
  • Theoretical Computer Science (AREA)
  • Closed-Circuit Television Systems (AREA)
  • Image Processing (AREA)
  • Image Analysis (AREA)
  • Processing Or Creating Images (AREA)
PCT/JP2011/075443 2010-11-16 2011-11-04 画像生成装置及び操作支援システム Ceased WO2012066943A1 (ja)

Priority Applications (4)

Application Number Priority Date Filing Date Title
EP11841991.0A EP2642754B1 (en) 2010-11-16 2011-11-04 Image generating device and operation assistance system
KR1020137007612A KR101407556B1 (ko) 2010-11-16 2011-11-04 화상생성장치 및 조작지원시스템
CN201180046814.3A CN103155551B (zh) 2010-11-16 2011-11-04 图像生成装置及操作支援系统
US13/858,148 US9432634B2 (en) 2010-11-16 2013-04-08 Image generation device and operation support system

Applications Claiming Priority (2)

Application Number Priority Date Filing Date Title
JP2010-256295 2010-11-16
JP2010256295A JP5497617B2 (ja) 2010-11-16 2010-11-16 画像生成装置及び操作支援システム

Related Child Applications (1)

Application Number Title Priority Date Filing Date
US13/858,148 Continuation US9432634B2 (en) 2010-11-16 2013-04-08 Image generation device and operation support system

Publications (1)

Publication Number Publication Date
WO2012066943A1 true WO2012066943A1 (ja) 2012-05-24

Family

ID=46083879

Family Applications (1)

Application Number Title Priority Date Filing Date
PCT/JP2011/075443 Ceased WO2012066943A1 (ja) 2010-11-16 2011-11-04 画像生成装置及び操作支援システム

Country Status (6)

Country Link
US (1) US9432634B2 (enExample)
EP (1) EP2642754B1 (enExample)
JP (1) JP5497617B2 (enExample)
KR (1) KR101407556B1 (enExample)
CN (1) CN103155551B (enExample)
WO (1) WO2012066943A1 (enExample)

Cited By (1)

* Cited by examiner, † Cited by third party
Publication number Priority date Publication date Assignee Title
JP2016500602A (ja) * 2012-10-17 2016-01-14 イヴェコ・マギルス・アー・ゲーIveco Magirus Ag 車両の位置を監視するための監視システムを備える作業車両

Families Citing this family (20)

* Cited by examiner, † Cited by third party
Publication number Priority date Publication date Assignee Title
JP6355298B2 (ja) * 2013-05-30 2018-07-11 住友重機械工業株式会社 画像生成装置及びショベル
JP6396022B2 (ja) * 2014-01-21 2018-09-26 住友重機械工業株式会社 出力画像を生成する装置
JP6403393B2 (ja) * 2014-02-12 2018-10-10 住友重機械工業株式会社 画像生成装置
JP6169509B2 (ja) * 2014-02-26 2017-07-26 住友建機株式会社 ショベル
JP6165085B2 (ja) 2014-03-07 2017-07-19 日立建機株式会社 作業機械の周辺監視装置
KR102426631B1 (ko) * 2015-03-16 2022-07-28 현대두산인프라코어 주식회사 건설 기계의 사각 영역 표시 방법 및 이를 수행하기 위한 장치
JP6618696B2 (ja) * 2015-03-24 2019-12-11 住友重機械工業株式会社 画像生成装置及び操作支援システム
JP6583883B2 (ja) * 2015-08-21 2019-10-02 キャタピラー エス エー アール エル 作業機械
CN113463721A (zh) * 2015-08-26 2021-10-01 住友建机株式会社 挖土机、挖土机的测量装置及管理装置
JP6662604B2 (ja) * 2015-10-28 2020-03-11 住友建機株式会社 ショベル
EP3587676A4 (en) 2017-02-21 2020-07-01 Sumitomo (S.H.I.) Construction Machinery Co., Ltd. SHOVEL
JP7589888B2 (ja) * 2017-12-27 2024-11-26 住友建機株式会社 ショベル及びシステム
KR102566896B1 (ko) 2018-03-20 2023-08-11 스미토모 겐키 가부시키가이샤 쇼벨 및 쇼벨용의 표시장치
JP7703816B2 (ja) 2018-03-30 2025-07-08 住友建機株式会社 ショベル
JP7147248B2 (ja) * 2018-04-27 2022-10-05 株式会社タダノ クレーン車
JP7296340B2 (ja) * 2018-08-07 2023-06-22 住友建機株式会社 ショベル
JP7372513B2 (ja) * 2018-12-05 2023-11-01 ミツミ電機株式会社 撮像デバイス、撮像システム、および産業用ロボット
JP7278190B2 (ja) * 2019-10-04 2023-05-19 日立建機株式会社 侵入監視制御システムおよび作業機械
CN114494668B (zh) * 2022-04-13 2022-07-15 腾讯科技(深圳)有限公司 三维模型的展开方法、装置、设备及存储介质
KR102578690B1 (ko) * 2022-07-05 2023-09-18 에이치디현대건설기계 주식회사 건설장비의 사각지대 표시 장치

Citations (3)

* Cited by examiner, † Cited by third party
Publication number Priority date Publication date Assignee Title
JP2002354468A (ja) * 2001-05-30 2002-12-06 Clarion Co Ltd 画像合成方法及び装置並び車両周囲状況モニタ装置
JP2007109166A (ja) 2005-10-17 2007-04-26 Sanyo Electric Co Ltd 運転支援システム
JP2010256295A (ja) 2009-04-28 2010-11-11 Fujitsu Ltd 測位システム

Family Cites Families (21)

* Cited by examiner, † Cited by third party
Publication number Priority date Publication date Assignee Title
US7085049B2 (en) * 1999-07-19 2006-08-01 Lg.Philips Lcd Co., Ltd. Multi-mode stereoscopic image display method and apparatus
JP2002019556A (ja) 2000-07-04 2002-01-23 Matsushita Electric Ind Co Ltd 監視システム
JP3695319B2 (ja) 2000-11-30 2005-09-14 トヨタ自動車株式会社 車両周辺モニタ装置
US7259784B2 (en) * 2002-06-21 2007-08-21 Microsoft Corporation System and method for camera color calibration and image stitching
WO2004027164A1 (ja) * 2002-09-17 2004-04-01 Hitachi Construction Machinery Co., Ltd. 建設機械の掘削作業教示装置
US6928194B2 (en) * 2002-09-19 2005-08-09 M7 Visual Intelligence, Lp System for mosaicing digital ortho-images
JP2005163370A (ja) * 2003-12-02 2005-06-23 Hitachi Constr Mach Co Ltd 建設機械の画像表示装置
JP4744823B2 (ja) 2004-08-05 2011-08-10 株式会社東芝 周辺監視装置および俯瞰画像表示方法
JP2006144388A (ja) * 2004-11-19 2006-06-08 Hitachi Constr Mach Co Ltd 浚渫作業支援システム
JP4137945B2 (ja) 2006-01-06 2008-08-20 シャープ株式会社 画像検出方法
JP4776491B2 (ja) 2006-10-06 2011-09-21 日立建機株式会社 作業機械の周囲監視装置
JP4847913B2 (ja) 2007-03-30 2011-12-28 日立建機株式会社 作業機械周辺監視装置
JP2009017020A (ja) * 2007-07-02 2009-01-22 Nissan Motor Co Ltd 画像処理装置及び表示画像生成方法
JP2009100342A (ja) * 2007-10-18 2009-05-07 Sanyo Electric Co Ltd カメラ校正装置及び方法、並びに、車両
JP5292874B2 (ja) 2007-12-17 2013-09-18 富士通株式会社 車両用画像処理装置、車両用画像処理プログラム、車両用画像処理方法
JP2009202689A (ja) 2008-02-27 2009-09-10 Caterpillar Japan Ltd 建設機械における表示装置
JP2010074535A (ja) * 2008-09-18 2010-04-02 Fujifilm Corp 撮影装置及び撮影方法
KR100966288B1 (ko) 2009-01-06 2010-06-28 주식회사 이미지넥스트 주변 영상 생성 방법 및 장치
JP4951639B2 (ja) 2009-03-02 2012-06-13 日立建機株式会社 周囲監視装置を備えた作業機械
JP5102795B2 (ja) 2009-03-13 2012-12-19 パナソニック株式会社 運転支援表示装置
KR100948886B1 (ko) 2009-06-25 2010-03-24 주식회사 이미지넥스트 차량에 설치된 카메라의 공차 보정 장치 및 방법

Patent Citations (3)

* Cited by examiner, † Cited by third party
Publication number Priority date Publication date Assignee Title
JP2002354468A (ja) * 2001-05-30 2002-12-06 Clarion Co Ltd 画像合成方法及び装置並び車両周囲状況モニタ装置
JP2007109166A (ja) 2005-10-17 2007-04-26 Sanyo Electric Co Ltd 運転支援システム
JP2010256295A (ja) 2009-04-28 2010-11-11 Fujitsu Ltd 測位システム

Non-Patent Citations (1)

* Cited by examiner, † Cited by third party
Title
See also references of EP2642754A4

Cited By (1)

* Cited by examiner, † Cited by third party
Publication number Priority date Publication date Assignee Title
JP2016500602A (ja) * 2012-10-17 2016-01-14 イヴェコ・マギルス・アー・ゲーIveco Magirus Ag 車両の位置を監視するための監視システムを備える作業車両

Also Published As

Publication number Publication date
US20130222594A1 (en) 2013-08-29
EP2642754A4 (en) 2016-12-07
US9432634B2 (en) 2016-08-30
JP2012109741A (ja) 2012-06-07
KR101407556B1 (ko) 2014-06-13
CN103155551B (zh) 2016-05-04
JP5497617B2 (ja) 2014-05-21
CN103155551A (zh) 2013-06-12
KR20130081282A (ko) 2013-07-16
EP2642754A1 (en) 2013-09-25
EP2642754B1 (en) 2018-07-18

Similar Documents

Publication Publication Date Title
JP5497617B2 (ja) 画像生成装置及び操作支援システム
JP6029306B2 (ja) 作業機械用周辺監視装置
JP6545430B2 (ja) ショベル
CN102792685B (zh) 处理对象图像生成装置、处理对象图像生成方法及操作支持系统
CN102792684B (zh) 图像生成装置及操作支持系统
JP6403393B2 (ja) 画像生成装置
CN102792686B (zh) 图像生成装置及操作支持系统
JP6324665B2 (ja) 作業機械用周辺監視装置
JP6740259B2 (ja) 作業機械
JP5752631B2 (ja) 画像生成方法、画像生成装置、及び操作支援システム
JP5638494B2 (ja) 画像生成方法、画像生成装置、及び操作支援システム
JP5805574B2 (ja) 作業機械用周辺監視装置
JP6873889B2 (ja) ショベル及びショベルの周囲画像生成装置
JP2014224411A (ja) 作業機械用周辺監視装置
JP5808677B2 (ja) 画像生成装置及び操作支援システム
JP6246185B2 (ja) ショベル
JP6618696B2 (ja) 画像生成装置及び操作支援システム
JP7454461B2 (ja) ショベル
JP2019071677A (ja) ショベル
JP2020002773A (ja) ショベル及びショベルの周囲画像生成装置
JP6355298B2 (ja) 画像生成装置及びショベル
JP2014123955A (ja) ショベル

Legal Events

Date Code Title Description
WWE Wipo information: entry into national phase

Ref document number: 201180046814.3

Country of ref document: CN

121 Ep: the epo has been informed by wipo that ep was designated in this application

Ref document number: 11841991

Country of ref document: EP

Kind code of ref document: A1

ENP Entry into the national phase

Ref document number: 20137007612

Country of ref document: KR

Kind code of ref document: A

WWE Wipo information: entry into national phase

Ref document number: 2011841991

Country of ref document: EP

NENP Non-entry into the national phase

Ref country code: DE