WO2012014899A1 - トレーユニットおよび半導体デバイスの検査装置 - Google Patents

トレーユニットおよび半導体デバイスの検査装置 Download PDF

Info

Publication number
WO2012014899A1
WO2012014899A1 PCT/JP2011/066981 JP2011066981W WO2012014899A1 WO 2012014899 A1 WO2012014899 A1 WO 2012014899A1 JP 2011066981 W JP2011066981 W JP 2011066981W WO 2012014899 A1 WO2012014899 A1 WO 2012014899A1
Authority
WO
WIPO (PCT)
Prior art keywords
semiconductor device
tray
contact substrate
contact
mounting
Prior art date
Legal status (The legal status is an assumption and is not a legal conclusion. Google has not performed a legal analysis and makes no representation as to the accuracy of the status listed.)
Ceased
Application number
PCT/JP2011/066981
Other languages
English (en)
French (fr)
Japanese (ja)
Inventor
末晴 宮川
Current Assignee (The listed assignees may be inaccurate. Google has not performed a legal analysis and makes no representation or warranty as to the accuracy of the list.)
Pleson
PLESON LLC
Original Assignee
Pleson
PLESON LLC
Priority date (The priority date is an assumption and is not a legal conclusion. Google has not performed a legal analysis and makes no representation as to the accuracy of the date listed.)
Filing date
Publication date
Application filed by Pleson, PLESON LLC filed Critical Pleson
Publication of WO2012014899A1 publication Critical patent/WO2012014899A1/ja
Anticipated expiration legal-status Critical
Ceased legal-status Critical Current

Links

Images

Classifications

    • GPHYSICS
    • G01MEASURING; TESTING
    • G01RMEASURING ELECTRIC VARIABLES; MEASURING MAGNETIC VARIABLES
    • G01R31/00Arrangements for testing electric properties; Arrangements for locating electric faults; Arrangements for electrical testing characterised by what is being tested not provided for elsewhere
    • G01R31/28Testing of electronic circuits, e.g. by signal tracer
    • G01R31/2851Testing of integrated circuits [IC]
    • G01R31/2893Handling, conveying or loading, e.g. belts, boats, vacuum fingers

Definitions

  • the present invention relates to a tray unit and a semiconductor device inspection apparatus for performing various characteristic tests of semiconductor devices.
  • a thermostatic chamber that applies high-temperature or low-temperature stress to a semiconductor device and a semiconductor device that is subjected to thermal stress in this thermostatic chamber are in electrical contact with a test head.
  • a socket board having a plurality of sockets on which the semiconductor devices are mounted is used.
  • Japanese Patent Laid-Open No. 2000-304808 discloses that the number of semiconductor devices that can be inspected at a time is increased, the cost of the inspecting device is reduced, and the inspection process can be performed stably.
  • An inspection apparatus for a semiconductor device is disclosed.
  • a heater, a multilayer wiring board, and an anisotropic conductive rubber sheet are sequentially provided on a printed board, and the anisotropic conductive rubber sheet is provided on the multilayer wiring board of the semiconductor package.
  • a position restricting member for restricting the position is disposed, a press plate having a press member is provided above the position restricting member, and an annular seal member is provided at a peripheral portion of the press plate, the press plate, the seal member, When the sealed space is formed by the multilayer wiring board and the sealed space is decompressed, the sealing member is deformed, and the bumps of the semiconductor package and the electrodes of the multilayer wiring board are electrically and reliably connected via the anisotropic conductive rubber sheet. It is supposed to be.
  • Japanese Patent Application Laid-Open No. 2007-309787 discloses a test tray structure in which all semiconductor devices mounted on an IC tray can be collectively transferred to a dedicated test tray.
  • semiconductor devices in recent years tend to require a longer time to test one semiconductor device as the density and circuit complexity of the semiconductor device increase. Is desired.
  • the terminal arrangement differs depending on the configuration of the semiconductor device, conventionally, it has been necessary to prepare a socket or socket board adapted to the terminal arrangement for each configuration of each semiconductor device, resulting in an increase in cost.
  • an automatic machine called a handler is used to transfer from a tray to a socket on the burn-in board, or to a carrier socket on the tester carrier board. Inspection is performed at the test stage.
  • a resin part constituting a mounting part of the semiconductor device and a base plate formed of a metal having a relatively high thermal conductivity on which the resin part is placed. was composed.
  • the alignment between the semiconductor device and the contact substrate that electrically connects the test board is performed, for example, through positioning holes formed at the four corners of the tray.
  • An object of the present invention is to provide a tray unit and a semiconductor device inspection apparatus that can test a semiconductor device more efficiently and at a low cost and can improve the alignment accuracy in the tray. .
  • a tray unit according to the invention of claim 1 is a tray unit in which a plurality of semiconductor devices to be inspected can be mounted, and includes a bottom plate member that forms a bottom portion, and the bottom plate A semiconductor device mounting tray mounted on the member and divided into a plurality of parts in the horizontal direction, each of which mounts and holds a plurality of the semiconductor devices, and the terminals provided in the semiconductor devices face the upper surface side
  • the semiconductor device mounting tray is detachably mounted on a semiconductor device inspection apparatus for testing the electrical characteristics of each semiconductor device in a state, and the respective semiconductor device mounting trays are placed on the bottom plate member until positioning by a separately provided positioning means is performed.
  • an inspection apparatus for a semiconductor device wherein an electrical continuity is established between a mounting portion for mounting the tray unit according to the first aspect and an electrode terminal of the semiconductor device mounted on the tray unit.
  • a test board connected to a device inspection means for testing electrical characteristics of the semiconductor device, and provided between the test board and the semiconductor device mounting tray, and mounted on a semiconductor device mounting tray included in the tray unit.
  • a connection mechanism that electrically connects the inspection means, and the connection mechanism includes When the mounting unit is relatively moved to a predetermined position by the lifting and lowering means provided on the side, the terminals provided in the semiconductor device, the contact substrate, and the contact substrate and the test board are in close contact with each other.
  • Pressure reducing means for sucking negative pressure and the pressure reducing means is provided around the contact substrate frame surrounding the contact substrate, or the seal member provided at the end of the mounting portion and the mounting In a decompression chamber formed by the seal member that contacts the contact substrate frame or the mounting portion when the portion is moved, and the contact substrate frame, the contact substrate, the mounting portion, and the sealing member And a vacuum pump for sucking the atmosphere.
  • the test efficiency can be improved and the test cost can be reduced. An excellent effect can be achieved.
  • the tray unit includes a bottom plate member that forms a bottom portion, and a semiconductor device mounting tray that is placed on the bottom plate member and divided into a plurality of portions in the horizontal direction, each holding a plurality of semiconductor devices. Therefore, it is possible to more reliably perform the electrical connection between the semiconductor device and the device inspection means by suppressing thermal deformation and the like.
  • each semiconductor device mounting tray is held in a state in which horizontal movement with respect to the bottom plate member is allowed within a predetermined range until positioning by the positioning means is performed. Since it has a so-called floating structure, the positioning accuracy by the positioning means can be improved.
  • the first aspect of the present invention it is possible to improve the alignment accuracy between the terminal and the contact substrate included in the semiconductor device with a simple configuration, and to perform electrical connection more reliably.
  • the semiconductor device mounted tray can be returned to the original position with a simple configuration.
  • the second aspect of the present invention it is possible to cope with semiconductor devices having different terminal arrangements and semiconductor devices having different configurations, and there is an effect that the test efficiency can be increased and the test cost can be reduced.
  • FIG. 1 is a side view showing a schematic configuration of a semiconductor device inspection apparatus according to a first embodiment of the present invention, taken along line AA (b), and taken along line BB (c). It is explanatory drawing which shows schematic structure of the test
  • 1 is a partially enlarged view of a semiconductor device inspection apparatus according to a first embodiment of the present invention; It is a disassembled perspective view which shows schematic structure of the test
  • the semiconductor device inspection apparatus M1 has a tray unit (semiconductor device mounting) shown in FIGS. 8 and 9 on which a semiconductor device D as an inspection target is mounted.
  • An example of a tray) U1 and a tester unit 200 (an example of a device inspection means) that tests electrical characteristics of the semiconductor device D by conducting electrical continuity with the electrode terminals 101 of the semiconductor device D mounted on the tray unit U1.
  • a tester mother board TM (an example of a test board) and a contact pin 102 (an example of a conductive means) provided to face the tester mother board TM and corresponding to the arrangement of terminals provided in the tester mother board TM are provided.
  • the first contact substrate C1 and the first contact substrate C1 are provided so as to be interchangeable and provided with the semiconductor device D
  • a conversion board 300 having a terminal arrangement having an electrode and a wiring structure for electrically connecting both, a conversion board 300 and a tray unit U1
  • the contact pins 103 (an example of the conductive means) corresponding to the arrangement of the electrode terminals 101 provided in the semiconductor device D are provided, and the second contact substrate C2 in which the contact pins 103 are directly connected to the semiconductor device D.
  • a connection mechanism 400 (connection means) for electrically connecting the semiconductor device D and the tester unit 200 connected to the tester mother substrate TM via the first contact substrate C1, the conversion substrate 300, and the second contact substrate C2. Example).
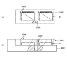
  • the semiconductor device mounting tray mounts a plurality of semiconductor devices D as inspection objects, and mounts a plurality of frames 2002 on the tray unit U1.
  • the tray unit U1 stores a memory, RFID (IC tag), barcode, etc. (not shown) for storing information (for example, including ID data for identifying the tray unit U1) related to the inspection result by the tester unit 200. You may make it prepare.
  • RFID IC tag
  • barcode etc.
  • tray ID identification number
  • processing such as replacing a defective product with a non-defective product or classifying a defective product, thereby improving convenience.
  • the conductive means may be constituted by a membrane sheet, an anisotropic conductive sheet or the like instead of the contact pin.
  • the tester unit 200 may be provided immediately above the tester mother substrate TM as shown in FIG. 2, or may be provided on the front surface side 200 'or the back surface side 200 "of the extension of the tester mother substrate TM.
  • the tester unit 200 may be provided outside by connecting a coaxial cable or the like.
  • the semiconductor device D is held by the tray unit U1 so that the electrode terminal 101 side included in the semiconductor device D is the upper surface.
  • connection mechanism 400 is provided that electrically connects the semiconductor device D and the tester unit 200 connected to the tester mother substrate TM via the first contact substrate C1, the conversion substrate 300, and the second contact substrate C2. Yes.
  • connection mechanism 400 includes a placement portion 401 on which the tray unit U1 is placed, and an actuator (for example, an air cylinder or the like) that raises and lowers the placement portion 401 with respect to the second contact substrate C2.
  • an actuator for example, an air cylinder or the like
  • connection mechanism 400 includes the lifting / lowering means 402 provided on both sides of the mounting portion 401 and the semiconductor device D when the mounting portion 401 is raised to a predetermined position by the lifting / lowering means 402.
  • the electrode terminal 101 and the contact substrate C2 are configured by a vacuum pump 500 (an example of a decompression unit) that sucks negative pressure so that the contact substrate C2 is in close contact.
  • the decompression means is provided in the contact substrate frame 403 surrounding the second contact substrate C2, or is provided at the end of the mounting portion 401, and when the mounting portion 401 is raised, the contact substrate frame 403 or A decompression chamber 550 is formed by the seal member 404 that is in contact with the placement unit 401, the contact substrate frame 403, the first contact substrate C 1, the placement unit 401, and the seal member 404, and the atmosphere in the decompression chamber 550 Is sucked by a vacuum pump 500.
  • the vacuum pump 500 includes a pressure reducing valve 560 that adjusts the amount of pressure reduction.
  • the surface of the semiconductor device D and the upper surface of the tray unit U 1 are pressed down to apply preload to the seal member 404, and then the pressure reducing valve 560 connected to the vacuum pump 500.
  • the decompression chamber 550 is decompressed, the semiconductor device D and the tray unit U1 are further pressed by the hot plate 701, and the second contact substrate C2, the conversion substrate 300, and the second contact substrate C2 become the tester mother substrate. All contacts between the semiconductor device D and the tester mother substrate TM which are pressurized by TM and stored in the tray unit U1 are collectively connected with a predetermined force.
  • the semiconductor device inspection apparatus M1 it is possible to flexibly cope with a semiconductor device D having a different terminal arrangement or a semiconductor device D having a different configuration, thereby improving the test efficiency and performing the test. Cost can be reduced.
  • the decompression means is not limited to the above configuration, and the semiconductor device D and the tester mother substrate TM are brought into close contact with each other via the first contact substrate C1, the conversion substrate 300, and the second contact substrate C2. Any structure can be adopted as long as the structure can be connected to each other.
  • alignment holes 600 are formed at a plurality of positions (four corners in the example shown in FIGS. 1 to 3) at the corners of the base plate 2001 of the tray and are extended downward from the tester mother substrate TM. Are engaged for alignment (see FIGS. 1A, 3 and 4).
  • the semiconductor device inspection apparatus M1 further includes temperature adjusting means for adjusting the ambient temperature of the semiconductor device D mounted in each tray unit U1 to a predetermined test environment temperature.
  • the temperature adjusting means is, for example, disposed below the tray base plate 2001 and includes a heat source 800 such as a Peltier module or a heater via a heat transfer plate 700 and a heat plate 702. .
  • a heat source 800 such as a Peltier module or a heater via a heat transfer plate 700 and a heat plate 702. .
  • the heat transfer plate 700 is formed of aluminum, copper, stainless steel, brass plate or the like having a thickness of about several millimeters.
  • the heat source 800 may be a refrigerant or a heat medium supplied from a chiller, LN2, or the like, or may be a combination of cooling and heating by a Peltier module, a heater, a refrigerant (including LN2), and a heat medium.
  • the temperature adjusting means having such a configuration, it is possible to easily adjust the test environment temperature without accommodating the tray unit U1 in a constant temperature bath or the like as in the prior art, improving convenience and increasing the speed of the test. And the test cost can be reduced.
  • thermoelectric module As the heat source 800, a high temperature test and a low temperature test, or a cycle test between a high temperature and a low temperature can be easily realized.
  • symbol 900 is a receiving part which supports tray unit U1 from the downward direction.
  • the second contact substrate C2 and the conversion substrate 300 are exchanged so as to correspond to the characteristics (terminal arrangement, configuration, etc.) of the semiconductor device D to be inspected.
  • the tray unit U1 on which the semiconductor device D to be inspected is mounted is set on the placement unit 401.
  • the elevating means 402 is operated, and the tray unit U1 is raised together with the placement unit 401.
  • the vacuum pump 500 When the predetermined height is reached, the vacuum pump 500 is driven, and the atmosphere in the decompression chamber 550 is sucked.
  • the electrode terminal 101 provided in the semiconductor device D, the first contact substrate C1, the second contact substrate C2, the conversion substrate 300, and the tester mother substrate TM are brought into close contact and electrically connected.
  • the inspection process of each semiconductor device D is executed by the operation of the tester mother substrate TM and the tester unit 200.
  • the contact substrate C2 and the conversion substrate 300 are replaced with corresponding ones, and then the inspection is performed according to the above-described procedure.
  • the semiconductor device inspection apparatus M1 it is possible to flexibly cope with a semiconductor device D having a different terminal arrangement or a semiconductor device D having a different configuration, thereby improving the test efficiency and performing the test. Costs can be reduced.
  • tray units U1 on which a plurality of semiconductor devices D to be inspected are mounted in parallel are used, and terminals provided in the semiconductor device D are provided on each tray unit U1 on the upper surface side.
  • a test board (one example of device inspection means: not shown in FIG. 8) for collectively testing the electrical characteristics of each semiconductor device D in a state of being mounted towards the tray, and the tray unit U1 is made of a metal such as aluminum.
  • each frame 2002a, 2002b, 2002c is moved in the horizontal direction with respect to the base plate 2001 (for example, in the direction of arrow A) until positioning by a positioning device (see FIGS. 5 to 12) provided separately is performed. It is a so-called floating structure that is held in a state in which the movement is allowed within a predetermined range (for example, a range until contact with the corner of the alignment hole 2003 shown in FIG. 9C).
  • the constituent material of the base plate 2001 is not limited to aluminum, but a material having a thermal conductivity of 100 W / (m ⁇ K) or more is preferable.
  • the frame is divided into three.
  • the present invention is not limited to this, and the frame may be divided into any number of two or more.
  • Alignment holes 2003 are formed at the edges of the frames 2002a, 2002b, and 2002c for aligning the frames 2002a, 2002b, and 2002c with a contact substrate (not shown).
  • Alignment holes 2005 are formed in the four corners of the base plate 2001 to align the entire tray unit U1.
  • Alignment holes 2003 and alignment holes 2005 are engaged with corresponding alignment pins (see FIG. 7) in the apparatus to align the respective members.
  • two frames 2002 are provided horizontally on one tray unit U1.
  • a plurality of semiconductor devices D are mounted on each frame 2002 with the terminals facing upward.
  • each frame 2002 In the upper and lower peripheral portions of each frame 2002, three alignment holes 2003 and three floating holes 2004 are provided.
  • Alignment hole 2003 and floating hole 2004 have an oval shape formed along the direction of arrow A as shown in FIGS.
  • the contact substrate 1022 is provided with an alignment pin 1024 that is inserted into the alignment hole 2003.
  • the shape of the alignment pin 1024 is not particularly limited.
  • the alignment pin 1024 has a cross-sectional shape (radial cross-sectional shape) similar to the oval shape of the alignment hole 2003. .
  • the alignment hole 2003 which is an alignment hole, has an oval shape along a predetermined direction (here, the direction of arrow A), and the alignment hole 2003
  • An alignment pin 1024 that is an alignment pin inserted through the hole has a cross-sectional shape similar to that of the alignment hole 2003.
  • the alignment hole 2003 may have various shapes other than an oval shape, for example, a circle, an ellipse, and a rectangle.
  • the alignment pin 1024 inserted into the alignment hole 2003 is used for alignment. Even if it is a shape that is not similar to the hole 2003, any shape that fits into the alignment hole 2003 and restricts free movement may be used.
  • two orthogonal projections 2006 for guiding the semiconductor device D are provided at predetermined positions where the semiconductor device D on the upper part of the base plate 2001 is accommodated. ing.
  • each frame 2002 moves in the direction of the arrow A due to the engagement between the alignment pin 1024 and the alignment hole 2003 (FIG. 8 to FIG. 8).
  • the semiconductor device mounted on the frame 2002 is also moved in the same direction and pressed against two orthogonal projections 2006 provided on the base plate 2001, so that a gap between the semiconductor device D and the frame 2002 is obtained. (See FIGS. 10 to 12), high-accuracy alignment is performed.
  • each frame 2002 is returned in the direction opposite to the arrow A by the elastic force of the leaf spring 2009, and the semiconductor device D is also simultaneously returned to the original position.
  • a fixing hole 2008 is formed in the base plate 2001, a floating pin 2007 is inserted through the hole for floating 2004, and a tip portion is press-fitted into the fixing hole 2008 to be fixed ((( see c)).
  • the semiconductor device inspection apparatus M2 conducts electrical continuity with the tray unit U1 and the electrode terminal 2010 (see FIGS. 10 to 12) of the semiconductor device D mounted on the tray unit U1 to thereby determine the electrical characteristics of the semiconductor device D.
  • a semiconductor device provided in the tray unit U1 provided between a test board 1021 connected to a test unit to be tested (an example of device inspection means: not shown) and a frame constituting the test board 1021 and the lower vacuum chamber 1010
  • a contact substrate 1022 provided with a wiring structure (conductive means) for electrically connecting the electrode terminal 2010 of each semiconductor device D mounted on the mounting tray 2002 and the electrode terminal included in the test board 1021, and the contact substrate 1022 Connected to semiconductor device D and test board 1021 And a connection mechanism for electrically connecting (see FIGS. 5 to 7) was a test unit.
  • test board 1021 can be replaced according to the type of the semiconductor device D or the arrangement of the electrode terminals 2010 provided in the semiconductor device D.
  • the tray unit U1 is installed on the base plate 1010 of the lower vacuum chamber, and then alignment is performed by the alignment pins 1023 of the contact substrate 1022 and the alignment holes 2005 of the base plate 2001 of the tray. Thereby, the position of the tray unit U1 is determined.
  • alignment is performed by the alignment holes 2003 on the divided frame 2002 and the alignment pins 1024 provided on the contact substrate 1022.
  • a mechanism for pressing the frame 2002 itself in the direction of arrow A may be provided outside the frame 2002. Good.
  • Numeral 1004 indicates a mounting area for various circuit members and connection connectors.
  • an edge connector 1005 may be provided on one side of the test board 1021.
  • a contact substrate frame (upper vacuum chamber frame) 1006 is provided below the test board 1021.
  • a seal member 1012 such as an O-ring is provided around the contact substrate frame 1006.
  • the tray unit U1 shown in FIG. 8 is placed on a metal (for example, aluminum) placement portion (lower vacuum chamber 1010).
  • guide pins 1014 that are inserted into the guide holes 1007 on the test board 1021 side are erected.
  • a vacuum valve mounting port 1013 is formed in a part of the lower mounting portion base plate 1010.
  • a temperature control unit 1015 configured by a heat sink or a heat source is provided below the placement unit base plate.
  • tray unit U1 has been described in the semiconductor device inspection apparatus M3 according to the third embodiment, and a description thereof will be omitted.
  • a pressure reducing mechanism that sucks negative pressure so that the electrode terminal 2010 and the contact substrate 1022 provided in the semiconductor device D, and the contact substrate 1022 and the test board 1021 are in close contact with each other. (Pressure reduction means) 1000 is provided.
  • the decompression mechanism 1000 includes a first decompression chamber 1001 formed by the test board 1021, the contact substrate 1022, and the seal member 1025, and a vacuum valve that sucks the atmosphere in the first decompression chamber 1002.
  • a first vacuum pump (not shown) connected to the opening 1016, a contact substrate frame 1006 surrounding the contact substrate 1022, and an end portion of the placement portion 1010 are moved.
  • a second decompression chamber 1002 formed by a seal member 1012 interposed between the contact substrate frame 1006 and a vacuum valve attachment port 1013 for sucking the atmosphere in the second decompression chamber 1002.
  • a second vacuum pump (not shown).
  • the first vacuum chamber 1001 is depressurized by the first vacuum pump, and then the second depressurization chamber 1002 is depressurized by the second vacuum pump.
  • a reliable electrical connection between D and the test board 1021 can be made.
  • first vacuum pump and the second vacuum pump instead of the first vacuum pump and the second vacuum pump, a single vacuum pump is provided, and the atmosphere in the first decompression chamber 1001 and the second decompression chamber 1002 is sucked by switching valves. May be.
  • a bottom plate may be provided in the tray unit U1, and the bottom plate may be made of a material having a thermal conductivity of 100 W / (m ⁇ K) or more.
  • the bottom plate is made of copper (thermal conductivity 385 W / (m ⁇ K), specific gravity 8.9 g / cm 3 ) or aluminum (thermal conductivity 200 W / (m ⁇ K), specific gravity 2.7 g / cm 3. ) Or brass (thermal conductivity 105 W / (m ⁇ K), specific gravity 8.7 g / cm 3 ).
  • the thermal conductivity of the bottom plate of the tray unit U1 can be increased and the inspection efficiency of the semiconductor device can be improved.
  • plate springs 2009 as shown in FIGS. 8 to 12 are provided at a plurality of locations on the base plate 2001 of the tray, and the frame 2002 is urged in the direction opposite to the arrow A direction to return the position. Good.
  • protrusions are provided on two sides on the side where the semiconductor device D is to be pressed, but a square hole for restricting the position of the device on the base plate 2001 (not shown). ) May be used.
  • a semiconductor device inspection system S1 applies a semiconductor device inspection apparatus M1 according to the present invention to collectively measure the electrical characteristics and the like of a semiconductor device D for each tray unit U1. It comprises a measuring apparatus M10, a semiconductor device tray transfer apparatus M11 that inverts and transfers the semiconductor device D, and a semiconductor device automatic sorter M12 that sorts the quality of the semiconductor device D.
  • the semiconductor device measuring apparatus M10 includes a tester unit 200.
  • the tray unit U1 transferred from the semiconductor device tray transfer apparatus M11 is preheated by the preheating unit 3001, and then the tray is detected by the semiconductor device inspection apparatus M1 having the configuration shown in FIGS.
  • the semiconductor device D mounted on the unit U1 is collectively tested for electrical characteristics.
  • the tray unit U1 is transferred to the heat removal unit 3002, removed heat, and then transferred to the semiconductor device tray transfer device M11.
  • the tray unit U1 is transferred to the semiconductor device measurement apparatus M10 in the process of the pre-test shipping tray ⁇ the tray transfer of the semiconductor device D ⁇ the tray handling apparatus 3003, and the test tray is transferred to the semiconductor device measurement apparatus M10.
  • the tray unit U1 returned from the tray handling device 3004 ⁇ inversion and transfer of the semiconductor device D ⁇ transfer to the semiconductor device automatic sorter M12 in the process of the shipping tray after the test, or the tray handling device 3004 ⁇ semiconductor device D tray transfer ⁇ Transfer in empty test tray flow.
  • the semiconductor device D transferred through the post-test shipping tray is removed based on the inspection result, the defective product is removed, the non-defective product is filled, and the non-defective product shipping tray is followed. Sort D based on test results.
  • the tray unit U1 when the tray unit U1 is provided with a memory for storing identification information, an RFID (IC tag), or a barcode, the defective products are classified based on the information. It may be.
  • the semiconductor device inspection system S2 may have a multi-stage structure in which test stages to which the semiconductor device inspection apparatus M1 is applied are stacked over 1 to N (N is an integer) stages.
  • a semiconductor device inspection apparatus and a semiconductor device inspection system using the inspection apparatus according to the present invention can be applied to various semiconductor device inspection apparatuses that require a characteristic test.
  • SDRAM Secure Digital RAM
  • static RAM static RAM
  • flash memory logic
  • semiconductor devices such as devices and mixed logic / analog devices can be applied as test targets.
  • Electrode terminal 102 Contact pin 103 Contact pin 200 Tester unit 300 Conversion board 400 Connection mechanism 401 Mounting part 402 Lifting means 403 Contact board frame 404 Seal member 500 Vacuum pump 550 Pressure reducing chamber 560 Pressure reducing valve 600 Positioning hole 601 Alignment pin 700 Heat transfer plate 701 Heat plate 702 Heat plate 800 Heat source 900 Receiving unit 1000 Pressure reducing mechanism 1001 First pressure reducing chamber 1002 Second pressure reducing chamber 1004 Circuit component and coaxial connector mounting area 1005 Edge connector 1006 Contact substrate frame 1007 Guide hole 1010 Base plate (Lower vacuum chamber) 1012 Seal member 1013 Vacuum valve mounting port 1014 Guide pin 1015 Temperature control unit 1016 Vacuum valve mounting port 1021 Test board (tester mother board) 1022 Contact substrate 1023 Alignment pin (between contact substrate and tray unit) 1024 Pin for alignment (between contact substrate and semiconductor mounting tray) 1025 Seal member 1026 Terminal 2001 Base plate 2002 Frame (divided semiconductor device mounting tray) 2003 Alignment hole (between contact substrate and semiconductor mounting tray) 2004 Floating hole 2005

Landscapes

  • Engineering & Computer Science (AREA)
  • Computer Hardware Design (AREA)
  • Microelectronics & Electronic Packaging (AREA)
  • General Engineering & Computer Science (AREA)
  • Physics & Mathematics (AREA)
  • General Physics & Mathematics (AREA)
  • Testing Of Individual Semiconductor Devices (AREA)
  • Container, Conveyance, Adherence, Positioning, Of Wafer (AREA)
PCT/JP2011/066981 2010-07-30 2011-07-26 トレーユニットおよび半導体デバイスの検査装置 Ceased WO2012014899A1 (ja)

Applications Claiming Priority (4)

Application Number Priority Date Filing Date Title
JP2010171857 2010-07-30
JP2010-171857 2010-07-30
JP2010292784A JP4765127B1 (ja) 2010-07-30 2010-12-28 トレーユニットおよび半導体デバイスの検査装置
JP2010-292784 2010-12-28

Publications (1)

Publication Number Publication Date
WO2012014899A1 true WO2012014899A1 (ja) 2012-02-02

Family

ID=44693557

Family Applications (1)

Application Number Title Priority Date Filing Date
PCT/JP2011/066981 Ceased WO2012014899A1 (ja) 2010-07-30 2011-07-26 トレーユニットおよび半導体デバイスの検査装置

Country Status (3)

Country Link
JP (1) JP4765127B1 (cg-RX-API-DMAC7.html)
TW (1) TW201205099A (cg-RX-API-DMAC7.html)
WO (1) WO2012014899A1 (cg-RX-API-DMAC7.html)

Cited By (10)

* Cited by examiner, † Cited by third party
Publication number Priority date Publication date Assignee Title
EP2871059A1 (en) * 2013-11-07 2015-05-13 Vistaprint Schweiz GmbH Conveyance printing system and method for printing on multiple different types of articles of manufacture
US9114645B2 (en) 2012-06-18 2015-08-25 Cimpress Schweiz Gmbh System and method for printing on multiple different articles of manufacture by the same printing system in a conveyor system
US9156293B2 (en) 2012-06-18 2015-10-13 Cimpress Schweiz Gmbh Manufacturing tray with customized inlays for processing different types of articles of manufacture
GB2539086A (en) * 2015-04-21 2016-12-07 Keysight Technologies Inc Portable vacuum chamber and an associated automated test system and method for the testing of electronic devices
US9656481B2 (en) 2012-06-18 2017-05-23 Cimpress Schweiz Gmbh Integrated imprinting system and trays for selectively processing items on tray
JP2018028524A (ja) * 2016-08-19 2018-02-22 合同会社Pleson トレー交換式バーンイン試験ユニット
TWI694263B (zh) * 2019-03-07 2020-05-21 雍智科技股份有限公司 老化測試電路板模組
CN116679183A (zh) * 2023-08-03 2023-09-01 深圳市诺泰芯装备有限公司 一种igbt产品的测试方法及装置
TWI825738B (zh) * 2021-07-22 2023-12-11 韓商细美事有限公司 測試分類機的托盤升降裝置以及測試分類機
CN118549781A (zh) * 2024-04-16 2024-08-27 南通华隆微电子股份有限公司 一种封装二极管老化试验夹具

Families Citing this family (7)

* Cited by examiner, † Cited by third party
Publication number Priority date Publication date Assignee Title
KR101611922B1 (ko) * 2014-05-12 2016-04-14 참엔지니어링(주) 기판 검사 장치 및 기판 검사 방법
KR102393040B1 (ko) * 2015-11-27 2022-05-03 (주)테크윙 전자부품 테스트용 결합장치
JP6842355B2 (ja) * 2017-04-28 2021-03-17 株式会社アドバンテスト 電子部品試験装置用のキャリア
JP6471401B1 (ja) * 2017-10-31 2019-02-20 合同会社Pleson 半導体ウエハーの試験ユニット
JP7506922B2 (ja) * 2019-12-18 2024-06-27 株式会社クオルテック パワーサイクル試験装置
JP7523794B2 (ja) * 2020-01-29 2024-07-29 株式会社クオルテック 半導体素子試験装置
KR102837279B1 (ko) * 2020-07-24 2025-07-23 삼성전자주식회사 반도체 패키지 테스트 시스템 및 이를 이용한 반도체 패키지 제조방법

Citations (4)

* Cited by examiner, † Cited by third party
Publication number Priority date Publication date Assignee Title
JPH0572269A (ja) * 1991-09-10 1993-03-23 Hitachi Electron Eng Co Ltd Icテスターの測定治具
JPH07260879A (ja) * 1994-03-25 1995-10-13 Advantest Corp Ic試験装置のテストヘッド用インターフェイス
JP2008039666A (ja) * 2006-08-09 2008-02-21 Fujitsu Ltd プローバ装置用搬送トレイ
WO2008050443A1 (fr) * 2006-10-27 2008-05-02 Advantest Corporation Plateau client et appareil de test de composant électronique

Family Cites Families (5)

* Cited by examiner, † Cited by third party
Publication number Priority date Publication date Assignee Title
JP3825504B2 (ja) * 1996-07-12 2006-09-27 株式会社日本マイクロニクス 集積回路チップ用トレー
JP2000304808A (ja) * 1999-04-23 2000-11-02 Matsushita Electric Ind Co Ltd 半導体装置の検査装置
JP2005345262A (ja) * 2004-06-03 2005-12-15 Niigata Seimitsu Kk 半導体検査装置およびこれに用いる被検査部品トレー
JP4715601B2 (ja) * 2006-04-07 2011-07-06 住友電気工業株式会社 電気接続部品
WO2010021038A1 (ja) * 2008-08-20 2010-02-25 株式会社アドバンテスト 電子部品ハンドリング装置および電子部品試験システム

Patent Citations (4)

* Cited by examiner, † Cited by third party
Publication number Priority date Publication date Assignee Title
JPH0572269A (ja) * 1991-09-10 1993-03-23 Hitachi Electron Eng Co Ltd Icテスターの測定治具
JPH07260879A (ja) * 1994-03-25 1995-10-13 Advantest Corp Ic試験装置のテストヘッド用インターフェイス
JP2008039666A (ja) * 2006-08-09 2008-02-21 Fujitsu Ltd プローバ装置用搬送トレイ
WO2008050443A1 (fr) * 2006-10-27 2008-05-02 Advantest Corporation Plateau client et appareil de test de composant électronique

Cited By (13)

* Cited by examiner, † Cited by third party
Publication number Priority date Publication date Assignee Title
US9656481B2 (en) 2012-06-18 2017-05-23 Cimpress Schweiz Gmbh Integrated imprinting system and trays for selectively processing items on tray
US9114645B2 (en) 2012-06-18 2015-08-25 Cimpress Schweiz Gmbh System and method for printing on multiple different articles of manufacture by the same printing system in a conveyor system
US9156293B2 (en) 2012-06-18 2015-10-13 Cimpress Schweiz Gmbh Manufacturing tray with customized inlays for processing different types of articles of manufacture
EP2871059A1 (en) * 2013-11-07 2015-05-13 Vistaprint Schweiz GmbH Conveyance printing system and method for printing on multiple different types of articles of manufacture
GB2539086B (en) * 2015-04-21 2018-05-16 Keysight Technologies Inc Portable vacuum chamber and an associated automated test system and method for the testing of electronic devices
GB2539086A (en) * 2015-04-21 2016-12-07 Keysight Technologies Inc Portable vacuum chamber and an associated automated test system and method for the testing of electronic devices
US10031178B2 (en) 2015-04-21 2018-07-24 Keysight Technologies, Inc. Portable vacuum chamber and an associated automated test system and method for the testing of electronic devices
JP2018028524A (ja) * 2016-08-19 2018-02-22 合同会社Pleson トレー交換式バーンイン試験ユニット
TWI694263B (zh) * 2019-03-07 2020-05-21 雍智科技股份有限公司 老化測試電路板模組
TWI825738B (zh) * 2021-07-22 2023-12-11 韓商细美事有限公司 測試分類機的托盤升降裝置以及測試分類機
US12436183B2 (en) 2021-07-22 2025-10-07 Semes Co., Ltd. Tray elevating and lowering apparatus of test handler
CN116679183A (zh) * 2023-08-03 2023-09-01 深圳市诺泰芯装备有限公司 一种igbt产品的测试方法及装置
CN118549781A (zh) * 2024-04-16 2024-08-27 南通华隆微电子股份有限公司 一种封装二极管老化试验夹具

Also Published As

Publication number Publication date
TWI414802B (cg-RX-API-DMAC7.html) 2013-11-11
TW201205099A (en) 2012-02-01
JP2012047717A (ja) 2012-03-08
JP4765127B1 (ja) 2011-09-07

Similar Documents

Publication Publication Date Title
JP4765127B1 (ja) トレーユニットおよび半導体デバイスの検査装置
JP5690321B2 (ja) プローブ装置および試験装置
CN102017115B (zh) 测试系统及探针装置
US8212579B2 (en) Fixing apparatus for a probe card
JP2016095141A (ja) 半導体デバイスの検査ユニット
TWI578001B (zh) 半導體元件對準插座單元以及含其之半導體元件測試裝置
JP2011220924A (ja) 試験装置および接続装置
KR100383009B1 (ko) 반도체 집적 회로의 검사 방법, 검사 장치 및 진공 컨택터 기구
TW202119044A (zh) 環境控制設備及晶片測試系統
KR102411561B1 (ko) 온도 측정 부재, 검사 장치 및 온도 측정 방법
JP2011091262A (ja) プローバおよびプローブ検査方法
JP2018189392A (ja) 電子部品試験装置用のキャリア
KR20200007952A (ko) 검사 시스템 및 검사 시스템에 있어서의 온도 측정 방법
TW522438B (en) Method for producing semiconductor device
WO2011030379A1 (ja) 通電部材、接続部材、試験装置および接続部材を修繕する方法
JP7060661B2 (ja) プレスヘッドロック機構及びプレスヘッドロック機構を有する電子部品検査装置
JP2015055511A (ja) 半導体デバイスの検査ユニット
WO2009130793A1 (ja) 試験システムおよびプローブ装置
JP2018189391A (ja) 電子部品試験装置用のキャリア
US20200096557A1 (en) Inspection apparatus and inspection method
JP6842355B2 (ja) 電子部品試験装置用のキャリア
JP5619855B2 (ja) プローブ装置、試験装置、及び、プローブ方法
KR102198300B1 (ko) 반도체 소자 테스트 장치
JP2014173907A (ja) 半導体デバイスの検査ユニット
JP2011237446A (ja) Ic一括移動方法

Legal Events

Date Code Title Description
121 Ep: the epo has been informed by wipo that ep was designated in this application

Ref document number: 11812488

Country of ref document: EP

Kind code of ref document: A1

NENP Non-entry into the national phase

Ref country code: DE

122 Ep: pct application non-entry in european phase

Ref document number: 11812488

Country of ref document: EP

Kind code of ref document: A1