WO2012002233A1 - センサデバイスの製造方法及びセンサデバイス - Google Patents

センサデバイスの製造方法及びセンサデバイス Download PDF

Info

Publication number
WO2012002233A1
WO2012002233A1 PCT/JP2011/064313 JP2011064313W WO2012002233A1 WO 2012002233 A1 WO2012002233 A1 WO 2012002233A1 JP 2011064313 W JP2011064313 W JP 2011064313W WO 2012002233 A1 WO2012002233 A1 WO 2012002233A1
Authority
WO
WIPO (PCT)
Prior art keywords
sensor
resin
metal electrodes
sensor device
electrode
Prior art date
Legal status (The legal status is an assumption and is not a legal conclusion. Google has not performed a legal analysis and makes no representation as to the accuracy of the status listed.)
Ceased
Application number
PCT/JP2011/064313
Other languages
English (en)
French (fr)
Japanese (ja)
Inventor
貴正 高野
Current Assignee (The listed assignees may be inaccurate. Google has not performed a legal analysis and makes no representation or warranty as to the accuracy of the list.)
Dai Nippon Printing Co Ltd
Original Assignee
Dai Nippon Printing Co Ltd
Priority date (The priority date is an assumption and is not a legal conclusion. Google has not performed a legal analysis and makes no representation as to the accuracy of the date listed.)
Filing date
Publication date
Application filed by Dai Nippon Printing Co Ltd filed Critical Dai Nippon Printing Co Ltd
Publication of WO2012002233A1 publication Critical patent/WO2012002233A1/ja
Priority to US13/729,311 priority Critical patent/US9209319B2/en
Anticipated expiration legal-status Critical
Ceased legal-status Critical Current

Links

Images

Classifications

    • HELECTRICITY
    • H10SEMICONDUCTOR DEVICES; ELECTRIC SOLID-STATE DEVICES NOT OTHERWISE PROVIDED FOR
    • H10DINORGANIC ELECTRIC SEMICONDUCTOR DEVICES
    • H10D48/00Individual devices not covered by groups H10D1/00 - H10D44/00
    • H10D48/50Devices controlled by mechanical forces, e.g. pressure
    • BPERFORMING OPERATIONS; TRANSPORTING
    • B81MICROSTRUCTURAL TECHNOLOGY
    • B81BMICROSTRUCTURAL DEVICES OR SYSTEMS, e.g. MICROMECHANICAL DEVICES
    • B81B7/00Microstructural systems; Auxiliary parts of microstructural devices or systems
    • B81B7/0009Structural features, others than packages, for protecting a device against environmental influences
    • B81B7/0025Protection against chemical alteration
    • BPERFORMING OPERATIONS; TRANSPORTING
    • B81MICROSTRUCTURAL TECHNOLOGY
    • B81BMICROSTRUCTURAL DEVICES OR SYSTEMS, e.g. MICROMECHANICAL DEVICES
    • B81B7/00Microstructural systems; Auxiliary parts of microstructural devices or systems
    • B81B7/0032Packages or encapsulation
    • B81B7/0045Packages or encapsulation for reducing stress inside of the package structure
    • B81B7/0054Packages or encapsulation for reducing stress inside of the package structure between other parts not provided for in B81B7/0048 - B81B7/0051
    • BPERFORMING OPERATIONS; TRANSPORTING
    • B81MICROSTRUCTURAL TECHNOLOGY
    • B81BMICROSTRUCTURAL DEVICES OR SYSTEMS, e.g. MICROMECHANICAL DEVICES
    • B81B7/00Microstructural systems; Auxiliary parts of microstructural devices or systems
    • B81B7/0032Packages or encapsulation
    • B81B7/007Interconnections between the MEMS and external electrical signals
    • GPHYSICS
    • G01MEASURING; TESTING
    • G01PMEASURING LINEAR OR ANGULAR SPEED, ACCELERATION, DECELERATION, OR SHOCK; INDICATING PRESENCE, ABSENCE, OR DIRECTION, OF MOVEMENT
    • G01P15/00Measuring acceleration; Measuring deceleration; Measuring shock, i.e. sudden change of acceleration
    • G01P15/02Measuring acceleration; Measuring deceleration; Measuring shock, i.e. sudden change of acceleration by making use of inertia forces using solid seismic masses
    • G01P15/08Measuring acceleration; Measuring deceleration; Measuring shock, i.e. sudden change of acceleration by making use of inertia forces using solid seismic masses with conversion into electric or magnetic values
    • G01P15/0802Details
    • GPHYSICS
    • G01MEASURING; TESTING
    • G01PMEASURING LINEAR OR ANGULAR SPEED, ACCELERATION, DECELERATION, OR SHOCK; INDICATING PRESENCE, ABSENCE, OR DIRECTION, OF MOVEMENT
    • G01P15/00Measuring acceleration; Measuring deceleration; Measuring shock, i.e. sudden change of acceleration
    • G01P15/02Measuring acceleration; Measuring deceleration; Measuring shock, i.e. sudden change of acceleration by making use of inertia forces using solid seismic masses
    • G01P15/08Measuring acceleration; Measuring deceleration; Measuring shock, i.e. sudden change of acceleration by making use of inertia forces using solid seismic masses with conversion into electric or magnetic values
    • G01P15/12Measuring acceleration; Measuring deceleration; Measuring shock, i.e. sudden change of acceleration by making use of inertia forces using solid seismic masses with conversion into electric or magnetic values by alteration of electrical resistance
    • G01P15/123Measuring acceleration; Measuring deceleration; Measuring shock, i.e. sudden change of acceleration by making use of inertia forces using solid seismic masses with conversion into electric or magnetic values by alteration of electrical resistance by piezo-resistive elements, e.g. semiconductor strain gauges
    • HELECTRICITY
    • H01ELECTRIC ELEMENTS
    • H01LSEMICONDUCTOR DEVICES NOT COVERED BY CLASS H10
    • H01L21/00Processes or apparatus adapted for the manufacture or treatment of semiconductor or solid state devices or of parts thereof
    • H01L21/02Manufacture or treatment of semiconductor devices or of parts thereof
    • HELECTRICITY
    • H01ELECTRIC ELEMENTS
    • H01LSEMICONDUCTOR DEVICES NOT COVERED BY CLASS H10
    • H01L24/00Arrangements for connecting or disconnecting semiconductor or solid-state bodies; Methods or apparatus related thereto
    • H01L24/01Means for bonding being attached to, or being formed on, the surface to be connected, e.g. chip-to-package, die-attach, "first-level" interconnects; Manufacturing methods related thereto
    • H01L24/42Wire connectors; Manufacturing methods related thereto
    • H01L24/47Structure, shape, material or disposition of the wire connectors after the connecting process
    • H01L24/48Structure, shape, material or disposition of the wire connectors after the connecting process of an individual wire connector
    • HELECTRICITY
    • H01ELECTRIC ELEMENTS
    • H01LSEMICONDUCTOR DEVICES NOT COVERED BY CLASS H10
    • H01L24/00Arrangements for connecting or disconnecting semiconductor or solid-state bodies; Methods or apparatus related thereto
    • H01L24/01Means for bonding being attached to, or being formed on, the surface to be connected, e.g. chip-to-package, die-attach, "first-level" interconnects; Manufacturing methods related thereto
    • H01L24/42Wire connectors; Manufacturing methods related thereto
    • H01L24/47Structure, shape, material or disposition of the wire connectors after the connecting process
    • H01L24/49Structure, shape, material or disposition of the wire connectors after the connecting process of a plurality of wire connectors
    • HELECTRICITY
    • H01ELECTRIC ELEMENTS
    • H01LSEMICONDUCTOR DEVICES NOT COVERED BY CLASS H10
    • H01L24/00Arrangements for connecting or disconnecting semiconductor or solid-state bodies; Methods or apparatus related thereto
    • H01L24/80Methods for connecting semiconductor or other solid state bodies using means for bonding being attached to, or being formed on, the surface to be connected
    • H01L24/85Methods for connecting semiconductor or other solid state bodies using means for bonding being attached to, or being formed on, the surface to be connected using a wire connector
    • BPERFORMING OPERATIONS; TRANSPORTING
    • B81MICROSTRUCTURAL TECHNOLOGY
    • B81BMICROSTRUCTURAL DEVICES OR SYSTEMS, e.g. MICROMECHANICAL DEVICES
    • B81B2201/00Specific applications of microelectromechanical systems
    • B81B2201/02Sensors
    • B81B2201/0228Inertial sensors
    • B81B2201/0235Accelerometers
    • BPERFORMING OPERATIONS; TRANSPORTING
    • B81MICROSTRUCTURAL TECHNOLOGY
    • B81BMICROSTRUCTURAL DEVICES OR SYSTEMS, e.g. MICROMECHANICAL DEVICES
    • B81B2207/00Microstructural systems or auxiliary parts thereof
    • B81B2207/09Packages
    • B81B2207/091Arrangements for connecting external electrical signals to mechanical structures inside the package
    • B81B2207/094Feed-through, via
    • B81B2207/096Feed-through, via through the substrate
    • BPERFORMING OPERATIONS; TRANSPORTING
    • B81MICROSTRUCTURAL TECHNOLOGY
    • B81BMICROSTRUCTURAL DEVICES OR SYSTEMS, e.g. MICROMECHANICAL DEVICES
    • B81B2207/00Microstructural systems or auxiliary parts thereof
    • B81B2207/11Structural features, others than packages, for protecting a device against environmental influences
    • B81B2207/115Protective layers applied directly to the device before packaging
    • GPHYSICS
    • G01MEASURING; TESTING
    • G01PMEASURING LINEAR OR ANGULAR SPEED, ACCELERATION, DECELERATION, OR SHOCK; INDICATING PRESENCE, ABSENCE, OR DIRECTION, OF MOVEMENT
    • G01P15/00Measuring acceleration; Measuring deceleration; Measuring shock, i.e. sudden change of acceleration
    • G01P15/02Measuring acceleration; Measuring deceleration; Measuring shock, i.e. sudden change of acceleration by making use of inertia forces using solid seismic masses
    • G01P15/08Measuring acceleration; Measuring deceleration; Measuring shock, i.e. sudden change of acceleration by making use of inertia forces using solid seismic masses with conversion into electric or magnetic values
    • G01P2015/0805Measuring acceleration; Measuring deceleration; Measuring shock, i.e. sudden change of acceleration by making use of inertia forces using solid seismic masses with conversion into electric or magnetic values being provided with a particular type of spring-mass-system for defining the displacement of a seismic mass due to an external acceleration
    • G01P2015/0822Measuring acceleration; Measuring deceleration; Measuring shock, i.e. sudden change of acceleration by making use of inertia forces using solid seismic masses with conversion into electric or magnetic values being provided with a particular type of spring-mass-system for defining the displacement of a seismic mass due to an external acceleration for defining out-of-plane movement of the mass
    • G01P2015/084Measuring acceleration; Measuring deceleration; Measuring shock, i.e. sudden change of acceleration by making use of inertia forces using solid seismic masses with conversion into electric or magnetic values being provided with a particular type of spring-mass-system for defining the displacement of a seismic mass due to an external acceleration for defining out-of-plane movement of the mass the mass being suspended at more than one of its sides, e.g. membrane-type suspension, so as to permit multi-axis movement of the mass
    • G01P2015/0842Measuring acceleration; Measuring deceleration; Measuring shock, i.e. sudden change of acceleration by making use of inertia forces using solid seismic masses with conversion into electric or magnetic values being provided with a particular type of spring-mass-system for defining the displacement of a seismic mass due to an external acceleration for defining out-of-plane movement of the mass the mass being suspended at more than one of its sides, e.g. membrane-type suspension, so as to permit multi-axis movement of the mass the mass being of clover leaf shape
    • HELECTRICITY
    • H01ELECTRIC ELEMENTS
    • H01LSEMICONDUCTOR DEVICES NOT COVERED BY CLASS H10
    • H01L2224/00Indexing scheme for arrangements for connecting or disconnecting semiconductor or solid-state bodies and methods related thereto as covered by H01L24/00
    • H01L2224/01Means for bonding being attached to, or being formed on, the surface to be connected, e.g. chip-to-package, die-attach, "first-level" interconnects; Manufacturing methods related thereto
    • H01L2224/02Bonding areas; Manufacturing methods related thereto
    • H01L2224/04Structure, shape, material or disposition of the bonding areas prior to the connecting process
    • H01L2224/04042Bonding areas specifically adapted for wire connectors, e.g. wirebond pads
    • HELECTRICITY
    • H01ELECTRIC ELEMENTS
    • H01LSEMICONDUCTOR DEVICES NOT COVERED BY CLASS H10
    • H01L2224/00Indexing scheme for arrangements for connecting or disconnecting semiconductor or solid-state bodies and methods related thereto as covered by H01L24/00
    • H01L2224/01Means for bonding being attached to, or being formed on, the surface to be connected, e.g. chip-to-package, die-attach, "first-level" interconnects; Manufacturing methods related thereto
    • H01L2224/02Bonding areas; Manufacturing methods related thereto
    • H01L2224/04Structure, shape, material or disposition of the bonding areas prior to the connecting process
    • H01L2224/05Structure, shape, material or disposition of the bonding areas prior to the connecting process of an individual bonding area
    • H01L2224/0554External layer
    • H01L2224/0555Shape
    • H01L2224/05552Shape in top view
    • H01L2224/05554Shape in top view being square
    • HELECTRICITY
    • H01ELECTRIC ELEMENTS
    • H01LSEMICONDUCTOR DEVICES NOT COVERED BY CLASS H10
    • H01L2224/00Indexing scheme for arrangements for connecting or disconnecting semiconductor or solid-state bodies and methods related thereto as covered by H01L24/00
    • H01L2224/01Means for bonding being attached to, or being formed on, the surface to be connected, e.g. chip-to-package, die-attach, "first-level" interconnects; Manufacturing methods related thereto
    • H01L2224/02Bonding areas; Manufacturing methods related thereto
    • H01L2224/04Structure, shape, material or disposition of the bonding areas prior to the connecting process
    • H01L2224/05Structure, shape, material or disposition of the bonding areas prior to the connecting process of an individual bonding area
    • H01L2224/0554External layer
    • H01L2224/05599Material
    • H01L2224/056Material with a principal constituent of the material being a metal or a metalloid, e.g. boron [B], silicon [Si], germanium [Ge], arsenic [As], antimony [Sb], tellurium [Te] and polonium [Po], and alloys thereof
    • H01L2224/05617Material with a principal constituent of the material being a metal or a metalloid, e.g. boron [B], silicon [Si], germanium [Ge], arsenic [As], antimony [Sb], tellurium [Te] and polonium [Po], and alloys thereof the principal constituent melting at a temperature of greater than or equal to 400°C and less than 950°C
    • H01L2224/05624Aluminium [Al] as principal constituent
    • HELECTRICITY
    • H01ELECTRIC ELEMENTS
    • H01LSEMICONDUCTOR DEVICES NOT COVERED BY CLASS H10
    • H01L2224/00Indexing scheme for arrangements for connecting or disconnecting semiconductor or solid-state bodies and methods related thereto as covered by H01L24/00
    • H01L2224/01Means for bonding being attached to, or being formed on, the surface to be connected, e.g. chip-to-package, die-attach, "first-level" interconnects; Manufacturing methods related thereto
    • H01L2224/42Wire connectors; Manufacturing methods related thereto
    • H01L2224/47Structure, shape, material or disposition of the wire connectors after the connecting process
    • H01L2224/48Structure, shape, material or disposition of the wire connectors after the connecting process of an individual wire connector
    • H01L2224/4805Shape
    • H01L2224/4809Loop shape
    • H01L2224/48091Arched
    • HELECTRICITY
    • H01ELECTRIC ELEMENTS
    • H01LSEMICONDUCTOR DEVICES NOT COVERED BY CLASS H10
    • H01L2224/00Indexing scheme for arrangements for connecting or disconnecting semiconductor or solid-state bodies and methods related thereto as covered by H01L24/00
    • H01L2224/01Means for bonding being attached to, or being formed on, the surface to be connected, e.g. chip-to-package, die-attach, "first-level" interconnects; Manufacturing methods related thereto
    • H01L2224/42Wire connectors; Manufacturing methods related thereto
    • H01L2224/47Structure, shape, material or disposition of the wire connectors after the connecting process
    • H01L2224/48Structure, shape, material or disposition of the wire connectors after the connecting process of an individual wire connector
    • H01L2224/484Connecting portions
    • H01L2224/48463Connecting portions the connecting portion on the bonding area of the semiconductor or solid-state body being a ball bond
    • H01L2224/48465Connecting portions the connecting portion on the bonding area of the semiconductor or solid-state body being a ball bond the other connecting portion not on the bonding area being a wedge bond, i.e. ball-to-wedge, regular stitch
    • HELECTRICITY
    • H01ELECTRIC ELEMENTS
    • H01LSEMICONDUCTOR DEVICES NOT COVERED BY CLASS H10
    • H01L2224/00Indexing scheme for arrangements for connecting or disconnecting semiconductor or solid-state bodies and methods related thereto as covered by H01L24/00
    • H01L2224/01Means for bonding being attached to, or being formed on, the surface to be connected, e.g. chip-to-package, die-attach, "first-level" interconnects; Manufacturing methods related thereto
    • H01L2224/42Wire connectors; Manufacturing methods related thereto
    • H01L2224/47Structure, shape, material or disposition of the wire connectors after the connecting process
    • H01L2224/48Structure, shape, material or disposition of the wire connectors after the connecting process of an individual wire connector
    • H01L2224/484Connecting portions
    • H01L2224/4847Connecting portions the connecting portion on the bonding area of the semiconductor or solid-state body being a wedge bond
    • H01L2224/48472Connecting portions the connecting portion on the bonding area of the semiconductor or solid-state body being a wedge bond the other connecting portion not on the bonding area also being a wedge bond, i.e. wedge-to-wedge
    • HELECTRICITY
    • H01ELECTRIC ELEMENTS
    • H01LSEMICONDUCTOR DEVICES NOT COVERED BY CLASS H10
    • H01L2224/00Indexing scheme for arrangements for connecting or disconnecting semiconductor or solid-state bodies and methods related thereto as covered by H01L24/00
    • H01L2224/01Means for bonding being attached to, or being formed on, the surface to be connected, e.g. chip-to-package, die-attach, "first-level" interconnects; Manufacturing methods related thereto
    • H01L2224/42Wire connectors; Manufacturing methods related thereto
    • H01L2224/47Structure, shape, material or disposition of the wire connectors after the connecting process
    • H01L2224/48Structure, shape, material or disposition of the wire connectors after the connecting process of an individual wire connector
    • H01L2224/4899Auxiliary members for wire connectors, e.g. flow-barriers, reinforcing structures, spacers, alignment aids
    • H01L2224/48991Auxiliary members for wire connectors, e.g. flow-barriers, reinforcing structures, spacers, alignment aids being formed on the semiconductor or solid-state body to be connected
    • H01L2224/48992Reinforcing structures
    • HELECTRICITY
    • H01ELECTRIC ELEMENTS
    • H01LSEMICONDUCTOR DEVICES NOT COVERED BY CLASS H10
    • H01L2224/00Indexing scheme for arrangements for connecting or disconnecting semiconductor or solid-state bodies and methods related thereto as covered by H01L24/00
    • H01L2224/01Means for bonding being attached to, or being formed on, the surface to be connected, e.g. chip-to-package, die-attach, "first-level" interconnects; Manufacturing methods related thereto
    • H01L2224/42Wire connectors; Manufacturing methods related thereto
    • H01L2224/47Structure, shape, material or disposition of the wire connectors after the connecting process
    • H01L2224/48Structure, shape, material or disposition of the wire connectors after the connecting process of an individual wire connector
    • H01L2224/4899Auxiliary members for wire connectors, e.g. flow-barriers, reinforcing structures, spacers, alignment aids
    • H01L2224/48996Auxiliary members for wire connectors, e.g. flow-barriers, reinforcing structures, spacers, alignment aids being formed on an item to be connected not being a semiconductor or solid-state body
    • H01L2224/48997Reinforcing structures
    • HELECTRICITY
    • H01ELECTRIC ELEMENTS
    • H01LSEMICONDUCTOR DEVICES NOT COVERED BY CLASS H10
    • H01L2224/00Indexing scheme for arrangements for connecting or disconnecting semiconductor or solid-state bodies and methods related thereto as covered by H01L24/00
    • H01L2224/01Means for bonding being attached to, or being formed on, the surface to be connected, e.g. chip-to-package, die-attach, "first-level" interconnects; Manufacturing methods related thereto
    • H01L2224/42Wire connectors; Manufacturing methods related thereto
    • H01L2224/47Structure, shape, material or disposition of the wire connectors after the connecting process
    • H01L2224/49Structure, shape, material or disposition of the wire connectors after the connecting process of a plurality of wire connectors
    • H01L2224/491Disposition
    • H01L2224/4911Disposition the connectors being bonded to at least one common bonding area, e.g. daisy chain
    • H01L2224/49113Disposition the connectors being bonded to at least one common bonding area, e.g. daisy chain the connectors connecting different bonding areas on the semiconductor or solid-state body to a common bonding area outside the body, e.g. converging wires
    • HELECTRICITY
    • H01ELECTRIC ELEMENTS
    • H01LSEMICONDUCTOR DEVICES NOT COVERED BY CLASS H10
    • H01L2224/00Indexing scheme for arrangements for connecting or disconnecting semiconductor or solid-state bodies and methods related thereto as covered by H01L24/00
    • H01L2224/01Means for bonding being attached to, or being formed on, the surface to be connected, e.g. chip-to-package, die-attach, "first-level" interconnects; Manufacturing methods related thereto
    • H01L2224/42Wire connectors; Manufacturing methods related thereto
    • H01L2224/47Structure, shape, material or disposition of the wire connectors after the connecting process
    • H01L2224/49Structure, shape, material or disposition of the wire connectors after the connecting process of a plurality of wire connectors
    • H01L2224/491Disposition
    • H01L2224/4912Layout
    • H01L2224/49171Fan-out arrangements
    • HELECTRICITY
    • H01ELECTRIC ELEMENTS
    • H01LSEMICONDUCTOR DEVICES NOT COVERED BY CLASS H10
    • H01L2224/00Indexing scheme for arrangements for connecting or disconnecting semiconductor or solid-state bodies and methods related thereto as covered by H01L24/00
    • H01L2224/80Methods for connecting semiconductor or other solid state bodies using means for bonding being attached to, or being formed on, the surface to be connected
    • H01L2224/85Methods for connecting semiconductor or other solid state bodies using means for bonding being attached to, or being formed on, the surface to be connected using a wire connector
    • H01L2224/85909Post-treatment of the connector or wire bonding area
    • H01L2224/8592Applying permanent coating, e.g. protective coating
    • HELECTRICITY
    • H01ELECTRIC ELEMENTS
    • H01LSEMICONDUCTOR DEVICES NOT COVERED BY CLASS H10
    • H01L2224/00Indexing scheme for arrangements for connecting or disconnecting semiconductor or solid-state bodies and methods related thereto as covered by H01L24/00
    • H01L2224/91Methods for connecting semiconductor or solid state bodies including different methods provided for in two or more of groups H01L2224/80 - H01L2224/90
    • H01L2224/92Specific sequence of method steps
    • H01L2224/922Connecting different surfaces of the semiconductor or solid-state body with connectors of different types
    • H01L2224/9222Sequential connecting processes
    • H01L2224/92242Sequential connecting processes the first connecting process involving a layer connector
    • H01L2224/92247Sequential connecting processes the first connecting process involving a layer connector the second connecting process involving a wire connector
    • HELECTRICITY
    • H01ELECTRIC ELEMENTS
    • H01LSEMICONDUCTOR DEVICES NOT COVERED BY CLASS H10
    • H01L2924/00Indexing scheme for arrangements or methods for connecting or disconnecting semiconductor or solid-state bodies as covered by H01L24/00
    • H01L2924/0001Technical content checked by a classifier
    • H01L2924/00014Technical content checked by a classifier the subject-matter covered by the group, the symbol of which is combined with the symbol of this group, being disclosed without further technical details
    • HELECTRICITY
    • H01ELECTRIC ELEMENTS
    • H01LSEMICONDUCTOR DEVICES NOT COVERED BY CLASS H10
    • H01L2924/00Indexing scheme for arrangements or methods for connecting or disconnecting semiconductor or solid-state bodies as covered by H01L24/00
    • H01L2924/01Chemical elements
    • H01L2924/01004Beryllium [Be]
    • HELECTRICITY
    • H01ELECTRIC ELEMENTS
    • H01LSEMICONDUCTOR DEVICES NOT COVERED BY CLASS H10
    • H01L2924/00Indexing scheme for arrangements or methods for connecting or disconnecting semiconductor or solid-state bodies as covered by H01L24/00
    • H01L2924/01Chemical elements
    • H01L2924/01005Boron [B]
    • HELECTRICITY
    • H01ELECTRIC ELEMENTS
    • H01LSEMICONDUCTOR DEVICES NOT COVERED BY CLASS H10
    • H01L2924/00Indexing scheme for arrangements or methods for connecting or disconnecting semiconductor or solid-state bodies as covered by H01L24/00
    • H01L2924/01Chemical elements
    • H01L2924/01006Carbon [C]
    • HELECTRICITY
    • H01ELECTRIC ELEMENTS
    • H01LSEMICONDUCTOR DEVICES NOT COVERED BY CLASS H10
    • H01L2924/00Indexing scheme for arrangements or methods for connecting or disconnecting semiconductor or solid-state bodies as covered by H01L24/00
    • H01L2924/01Chemical elements
    • H01L2924/01013Aluminum [Al]
    • HELECTRICITY
    • H01ELECTRIC ELEMENTS
    • H01LSEMICONDUCTOR DEVICES NOT COVERED BY CLASS H10
    • H01L2924/00Indexing scheme for arrangements or methods for connecting or disconnecting semiconductor or solid-state bodies as covered by H01L24/00
    • H01L2924/01Chemical elements
    • H01L2924/01029Copper [Cu]
    • HELECTRICITY
    • H01ELECTRIC ELEMENTS
    • H01LSEMICONDUCTOR DEVICES NOT COVERED BY CLASS H10
    • H01L2924/00Indexing scheme for arrangements or methods for connecting or disconnecting semiconductor or solid-state bodies as covered by H01L24/00
    • H01L2924/01Chemical elements
    • H01L2924/01033Arsenic [As]
    • HELECTRICITY
    • H01ELECTRIC ELEMENTS
    • H01LSEMICONDUCTOR DEVICES NOT COVERED BY CLASS H10
    • H01L2924/00Indexing scheme for arrangements or methods for connecting or disconnecting semiconductor or solid-state bodies as covered by H01L24/00
    • H01L2924/01Chemical elements
    • H01L2924/01045Rhodium [Rh]
    • HELECTRICITY
    • H01ELECTRIC ELEMENTS
    • H01LSEMICONDUCTOR DEVICES NOT COVERED BY CLASS H10
    • H01L2924/00Indexing scheme for arrangements or methods for connecting or disconnecting semiconductor or solid-state bodies as covered by H01L24/00
    • H01L2924/01Chemical elements
    • H01L2924/01047Silver [Ag]
    • HELECTRICITY
    • H01ELECTRIC ELEMENTS
    • H01LSEMICONDUCTOR DEVICES NOT COVERED BY CLASS H10
    • H01L2924/00Indexing scheme for arrangements or methods for connecting or disconnecting semiconductor or solid-state bodies as covered by H01L24/00
    • H01L2924/01Chemical elements
    • H01L2924/0106Neodymium [Nd]
    • HELECTRICITY
    • H01ELECTRIC ELEMENTS
    • H01LSEMICONDUCTOR DEVICES NOT COVERED BY CLASS H10
    • H01L2924/00Indexing scheme for arrangements or methods for connecting or disconnecting semiconductor or solid-state bodies as covered by H01L24/00
    • H01L2924/01Chemical elements
    • H01L2924/01079Gold [Au]
    • HELECTRICITY
    • H01ELECTRIC ELEMENTS
    • H01LSEMICONDUCTOR DEVICES NOT COVERED BY CLASS H10
    • H01L2924/00Indexing scheme for arrangements or methods for connecting or disconnecting semiconductor or solid-state bodies as covered by H01L24/00
    • H01L2924/10Details of semiconductor or other solid state devices to be connected
    • H01L2924/11Device type
    • H01L2924/14Integrated circuits
    • HELECTRICITY
    • H01ELECTRIC ELEMENTS
    • H01LSEMICONDUCTOR DEVICES NOT COVERED BY CLASS H10
    • H01L2924/00Indexing scheme for arrangements or methods for connecting or disconnecting semiconductor or solid-state bodies as covered by H01L24/00
    • H01L2924/10Details of semiconductor or other solid state devices to be connected
    • H01L2924/146Mixed devices
    • H01L2924/1461MEMS
    • HELECTRICITY
    • H01ELECTRIC ELEMENTS
    • H01LSEMICONDUCTOR DEVICES NOT COVERED BY CLASS H10
    • H01L2924/00Indexing scheme for arrangements or methods for connecting or disconnecting semiconductor or solid-state bodies as covered by H01L24/00
    • H01L2924/30Technical effects
    • H01L2924/35Mechanical effects
    • H01L2924/351Thermal stress
    • H01L2924/3511Warping

Definitions

  • the present invention relates to a method for manufacturing a sensor device having a movable part that is movable by an external force, and the sensor device.
  • a sensor having a movable portion that is displaced according to an external force is formed using a semiconductor substrate, and the displacement of the movable portion is detected as a change in an electrical signal indicating acceleration or angular velocity.
  • a hollow package in which the semiconductor substrate on which the sensor is formed is covered with a package cap and the periphery of the package cap is sealed with resin or the like.
  • the resin may enter the inside of the package cap due to osmotic pressure and flow into the sensor.
  • the sensor sensitivity characteristics and frequency characteristics are adversely affected.
  • the resin for sealing the peripheral portion of the package cap is applied in two portions to prevent the resin from entering the cap member. Yes.
  • a mechanical quantity sensor device using a hollow package has a problem in that it cannot receive high accuracy of sensor characteristics such as a sensor offset voltage and sensitivity due to stress from a package cap having a thermal expansion coefficient different from that of a semiconductor substrate. It was.
  • a semiconductor acceleration sensor described in Patent Document 2 corresponding to this problem, a plurality of supports are provided between the package cap and the mounting substrate, and a die bond paste (adhesion) is provided in the gap between the package cap and the mounting substrate pad. Material) to reduce the strain generated in the sensor due to the difference in thermal expansion coefficient.
  • the periphery of the package cap is sealed with resin and the inside of the hollow package is shut off from the outside air.
  • the gas inside the hollow package becomes the same as the outside air.
  • a terminal on the substrate side on which the sensor is mounted and an electrode pad on the sensor side are connected by a bonding wire.
  • a metal material having high moisture resistance such as Au cannot be used from the viewpoint of cost, and Al or Al alloy is used. If the mechanical sensor device is used in a place with high humidity, the inside of the hollow package will also be in a state of high humidity, which may corrode the electrode pads that connect the bonding wires on the sensor side. There are things to do.
  • the resin and die bond paste (adhesive) for sealing the peripheral portion of the package cap connect the electrode pad on the sensor side, the electrode pad on the mounting substrate side, and these electrode pads. It is applied so as to cover the bonding wire. For this reason, the offset voltage of the sensor increases due to the influence of the stress due to the difference in thermal expansion coefficient between the resin and die bond paste present around the sensor and the semiconductor substrate.
  • the present invention has been made in view of the above problems, and a sensor device manufacturing method and a sensor device that simultaneously protects a metal electrode of a sensor of a hollow package from moisture and minimizes an influence on sensor characteristics.
  • the purpose is to provide.
  • a manufacturing method of a sensor device includes a fixed portion, a movable portion positioned inside the fixed portion, a flexible portion connecting the fixed portion and the movable portion, and a plurality of metal electrodes.
  • a plurality of metal electrodes of the sensor and a plurality of terminals of the substrate are electrically connected by bonding wires, and the bonding wires are between the plurality of metal electrodes and the plurality of terminals.
  • a portion of the plurality of metal electrodes of the sensor connected to the bonding wires is covered with a resin so that a part of the metal electrode is exposed.
  • the plurality of metal electrodes of the sensor are covered with resin, so that corrosion of the metal electrode due to humid outside air is prevented and the sensor is prevented from warping.
  • the influence on the sensor characteristics can be reduced, and the reliability of the sensor device can be improved.
  • a control IC having a plurality of metal electrodes is disposed between the substrate and the sensor, the plurality of metal electrodes of the control IC, and the sensor
  • the plurality of metal electrodes and the plurality of terminals of the substrate are electrically connected by the bonding wires, and a part of the bonding wires between the plurality of metal electrodes of the control IC and the plurality of terminals are exposed.
  • portions of the control IC connected to the bonding wires of the plurality of metal electrodes may be covered with the resin.
  • the portions where the plurality of metal electrodes of the sensor and the bonding wires are connected may be individually covered with the resin. According to this method for manufacturing a sensor device, since the plurality of metal electrodes of the sensor are individually covered with resin, the stress that the resin gives to the sensor can be further reduced, and the sensor can be prevented from warping. The influence on the sensor characteristics can be reduced, and the reliability of the sensor device can be improved.
  • portions where the plurality of metal electrodes of the control IC and the bonding wires are connected may be individually covered with the resin. According to this method for manufacturing a sensor device, since the plurality of metal electrodes of the control IC are individually covered with the resin, the stress applied to the sensor by the resin can be further reduced, and the sensor can be prevented from warping. Thus, the influence on the sensor characteristics can be reduced, and the reliability of the sensor device can be improved.
  • the resin is separated for each metal electrode between the plurality of metal electrodes of the sensor or between the plurality of metal electrodes of the control IC. A part may be formed. According to this sensor device manufacturing method, since the resin covering the plurality of metal electrodes of the sensor or control IC is separated by the separation portion, the resin covering each metal electrode is prevented from spreading to the adjacent electrode pads. It is possible to prevent the sensor from warping due to the resin.
  • the resin may be a silicon resin material having a flexural modulus of 5 GPa or less. According to this method for manufacturing a sensor device, the stress exerted on the sensor by the resin can be reduced.
  • a sensor device includes a fixed unit, a movable unit located inside the fixed unit, a flexible unit that connects the fixed unit and the movable unit, and a sensor having a plurality of metal electrodes. And a substrate on which the sensor is mounted, a plurality of metal electrodes, and a bonding wire that electrically connects the plurality of terminals of the substrate, and the plurality of metal electrodes and the bonding A portion to which the wire is connected is covered with a resin, and a part of the bonding wire between the plurality of metal electrodes and the plurality of terminals is exposed.
  • the plurality of metal electrodes of the sensor are covered with resin, so that corrosion of the metal electrode due to humid outside air is prevented, and the sensor is prevented from warping due to the resin. Can be reduced, and the reliability of the sensor device can be improved.
  • the sensor device further includes a control IC disposed between the substrate and the sensor and having a plurality of metal electrodes, and the bonding wire includes a plurality of metals of the control IC.
  • the electrode and the plurality of terminals of the substrate are electrically connected, and the portions where the plurality of metal electrodes of the control IC and the bonding wires are connected are covered with the resin, and the plurality of metal electrodes of the control IC And a part of the bonding wire between the plurality of terminals may be exposed.
  • the plurality of metal electrodes of the control IC are covered with resin, so that corrosion of the metal electrode due to humid outside air is prevented, and the sensor is prevented from warping due to the resin. Can be reduced, and the reliability of the sensor device can be improved.
  • the senor has a plurality of separation portions that separate the resin between the plurality of metal electrodes, and the plurality of metal electrodes of the sensor and the bonding wires May be individually covered with the resin. According to this sensor device, since the plurality of metal electrodes of the sensor are individually covered with the resin, the stress applied to the sensor by the resin can be further reduced, and the sensor can be prevented from warping due to the resin. Can be reduced, and the reliability of the sensor device can be improved.
  • the control IC includes a plurality of separation portions that separate the resin between the plurality of metal electrodes, and the plurality of metal electrodes of the control IC Sites to which the bonding wires are connected may be individually covered with the resin. According to this sensor device, since the plurality of metal electrodes of the control IC are individually covered with the resin, the stress that the resin gives to the sensor can be further reduced, and the sensor can be prevented from warping. The reliability of the sensor device can be improved.
  • the resin may be a silicon resin material having a flexural modulus of 5 GPa or less. According to this sensor device, since the resin is a resin material having a low water absorption rate and a flexural modulus of 5 GPa or less, it is possible to prevent the electrode pad from being oxidized by the outside air with much moisture, and the resin warps the sensor. Can be prevented.
  • each of the metal electrodes of the sensor by covering each of the metal electrodes of the sensor with the resin, corrosion of the metal electrode due to humid outside air is prevented, and warping of the sensor due to the resin is prevented, thereby improving the sensor characteristics.
  • a method of manufacturing a sensor device and a sensor device that reduce the influence can be provided.
  • FIG. 1 is sectional drawing which shows the whole structure of an acceleration sensor
  • FIG. 2 is a top view which shows the whole structure of an acceleration sensor is there. It is sectional drawing for demonstrating a part of manufacturing method of the acceleration sensor of FIG. 1, (A) is sectional drawing for demonstrating the process of forming a sensor with a semiconductor substrate, (B) is a sensor of (A). Sectional drawing for demonstrating the process of joining a sensor upper cap and a sensor lower cap to FIG. 2, (C) is sectional drawing for demonstrating the formation process of a board
  • FIG. 1 It is sectional drawing for demonstrating a part of manufacturing method of the acceleration sensor of FIG. 1, (A) demonstrates the joining process of the sensor of FIG. 2 (B), the connection process of a bonding wire, and the application
  • FIG. 3 It is a top view of the acceleration sensor for demonstrating a part of application
  • (A) is the process which covers the electrode pad of a control IC, and the electrode pad of a sensor with potting resin It is a fragmentary sectional view of the acceleration sensor for explaining. It is a top view for demonstrating the specific example of the sensor which concerns on 1st Embodiment, (A) is a top view for demonstrating the structural example of a sensor, (B) is the some of the sensor of (A). It is a top view which shows the state which sealed the electrode pad with potting resin.
  • FIG. 15 is a cross-sectional view taken along the line AA of FIG.
  • FIG. 14 for explaining an example of the method for manufacturing the electrode pad and the separation portion according to the second embodiment
  • FIG. 14 is a cross-sectional view taken along line AA in FIG. 14
  • FIG. 14B is a cross-sectional view taken along line AA in FIG. 14 for explaining a potting resin coating process
  • FIG. 15A is a cross-sectional view taken along the line AA of FIG. 14 for explaining another example of the method for manufacturing the electrode pad and the separation portion according to the second embodiment
  • FIG. FIG. 14 is a cross-sectional view taken along line AA in FIG. 14 for explanation
  • FIG. 14B is a cross-sectional view taken along line AA in FIG. 14 for explaining a potting resin coating process.
  • It is a top view which shows the structure of the sensor for demonstrating the specific example of the resin potting of the acceleration sensor which concerns on 2nd Embodiment.
  • FIG. 1 is a cross-sectional view showing the overall configuration of the acceleration sensor 100 according to the first embodiment.
  • the control IC is packaged together with the acceleration sensor
  • the present invention is not limited to this, and only the sensor may be packaged.
  • FIG. 1A is a cross-sectional view showing the overall configuration of the acceleration sensor 100
  • FIG. 1B is a plan view showing the overall configuration of the acceleration sensor 100
  • the acceleration sensor 100 includes a substrate 101, a through electrode 105, a control IC 106, a sensor lower cap 107, a sensor 109, a sensor upper cap 115, a package cap 116, a bonding wire 118, and the like
  • FIG. 1B is a plan view of the acceleration sensor 100 as viewed from the upper surface side, except for the package cap 116 of the acceleration sensor 100 shown in FIG. In FIG.
  • electrode groups 131 to 133 each having a plurality of through electrodes 105 are arranged in the left and right regions and the upper region of the substrate 101 in the drawing.
  • Electrode groups 141 to 143 each having a plurality of electrode pads 140 are arranged in the left and right regions and the upper region of the control IC 106 in the drawing.
  • An electrode group 151 having a plurality of electrode pads 113 is arranged in the upper region of the sensor 109 in the drawing.
  • the substrate 101 is a printed wiring board having a three-layer structure including a wiring layer 102, an insulating layer 103, and a wiring layer 104.
  • the insulating layer 103 includes an insulating material
  • the wiring layers 102 and 104 include a conductive material.
  • the conductive substance is a metal or the like, and for example, copper, silver, gold, nickel, palladium, or the like can be used.
  • An insulating resin is used as the insulating material.
  • epoxy resin, polyimide resin, phenol resin, silicon resin, polyester, polyacetal, polycarbonate, or the like can be used.
  • the resin may be used alone or in combination of two or more resins.
  • an inorganic filler such as glass, talc, or silica may be used in combination with the resin.
  • the substrate 101 includes three layers.
  • the present invention is not limited to this, and the number of layers of the substrate 101 may be three or less, or three or more. May be.
  • the through electrode 105 is formed through the substrate 101 and is electrically connected to the wiring layers 102 and 104.
  • a plurality of electrode pads 140 (metal electrodes) for connecting to the through electrodes 105 are formed at predetermined positions on the upper surface of the substrate 101 shown in the drawing.
  • the sensor 109 includes a fixed portion 110, a flexible portion 111 connected to the fixed portion 110, a weight portion 112 connected to the flexible portion 111, and a displacement of the flexible portion 111 disposed in the flexible portion 111. It includes a plurality of piezoresistive elements (not shown) that detect in the three-axis directions of XYZ, and electrode pads 113 (metal electrodes).
  • the weight portion 112 When acceleration is applied to the sensor 109, the weight portion 112 is displaced, and the flexible portion 111 is bent along with the displacement.
  • a force is applied to the piezoresistive element arranged in the flexible part 111, and the resistance value of the piezoresistive element changes.
  • the change in the resistance value is detected, and the magnitude and direction of the acceleration applied to the sensor 109 are detected.
  • a signal from the sensor 109 is transmitted from the electrode pad 113 to the control IC 106 through the bonding wire 118, the through electrode 105, and the like.
  • a signal from the control IC 106 is transmitted to the outside of the substrate 101 through the bonding wire 117 and the through electrode 105.
  • a sensor lower cap 107 is joined to a lower portion in the drawing.
  • the sensor upper cap 115 is formed so as to cover the upper part of the flexible part 111 and the weight part 112 of the sensor 109, and is joined to the upper surface of the fixed part 110 of the sensor 109 by a resin 114 or the like.
  • the sensor upper cap 115 limits excessive displacement of the weight portion 112 and the flexible portion 111 in the upward direction, and prevents breakage.
  • the sensor upper cap 115 may be omitted.
  • the package cap 116 may play the same role as the sensor upper cap 115.
  • a convex stopper may be formed on the portion of the package cap 116 that faces the upper surface of the sensor 109.
  • the package cap 116 includes an organic material, and an insulating resin such as an epoxy resin, an acrylic resin, or a polyimide resin is used.
  • the package cap 116 is bonded to the upper surface of the substrate 101 of the substrate 101 by an adhesive (not shown).
  • the sensor 109 is not sealed with resin, and the inside of the package cap 116 is hollow. That is, the acceleration sensor 100 uses a hollow package.
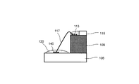
  • 120 is a potting resin.
  • the potting resin 120 is applied on the electrode pad 113 of the sensor 109 and the electrode pad 140 of the control IC 106 to cover the electrode pad 113 and the electrode pad 140.
  • the electrode pad 113 and the through electrode 105 of the sensor 109 are connected to the electrode pad 140 and the through electrode 105 of the control IC 106 by the bonding wire 118, respectively, and the through electrode 105 and the electrode pad 140 of the control IC 106 are connected by the bonding wire 117. It is applied after being connected. Since the potting resin 120 is applied onto the electrode pad 113 of the sensor 109 and the electrode pad 140 of the control IC 106, a part of the bonding wires 117 and 118 are exposed.
  • the potting resin 120 has an insulating property such as a silicon resin, an acrylic resin, an epoxy resin, a polyimide resin, and a urethane resin, and a resin material that can be applied on the electrode pad pad after wire bonding can be selected. desirable. In addition, it is desirable to select a material having a low water absorption (water absorption) as the potting resin 120. In the first embodiment, the water absorption rate is used as an index for evaluating the moisture resistance of the potting resin 120. This water absorption is determined from the ratio of the resin to the mass of the resin, for example, by storing the resin in a thermostatic chamber at a temperature of 85 ° C.
  • the potting resin 120 is applied in order to prevent the electrode pad from being corroded from the humid outside air. Therefore, a potting resin having a low water absorption rate relative to an electrode pad using a metal material that is easily oxidized by moisture in the atmosphere such as Al or aluminum alloy, for example, Al-Si, Al-Si-Cu, Al-Nd, etc. It is effective to apply 120. Further, by limiting the application area of the potting resin 120 to the electrode pad after wire bonding, the sensor 109 is prevented from warping due to the application of the potting resin 120, and the potting resin 120 gives the sensor 109. By reducing the influence of stress, it is possible to prevent the offset voltage and sensitivity characteristics of the acceleration sensor 100 from being adversely affected. For this reason, as a material used as the potting resin 120, it is desirable to select a resin material having a low flexural modulus among the silicon resin, acrylic resin, epoxy resin, polyimide resin, urethane resin, and the like.
  • FIGS. 2 and 3 show each manufacturing process based on the cross-sectional view of the acceleration sensor 100 shown in FIG.
  • the sensor 109 having the fixed part 110, the flexible part 111, and the weight part 112 is formed by etching the fixed part 110, the flexible part 111, and the weight part 112.
  • etching method a DRIE (Deep Reactive Ion Etching) method can be used.
  • the substrate 101 including the wiring layer 102, the insulating layer 103, and the wiring layer 104 is manufactured, and the through electrode 105 is formed in a portion shown in the drawing.
  • the through electrode 105 is formed by forming a recess (not shown) penetrating the substrate 101 and filling the recess with a conductive material.
  • a control IC 106 is bonded to the upper surface of the substrate 101 on which the through electrode 105 is formed by a die attach (die bonding) 108 or the like.
  • the sensor 109 shown in FIG. 2B is bonded to the upper surface of the control IC 106 shown in FIG. 2C by die attach (die bonding) 108 or the like.
  • the electrode pad 113 of the sensor 109 and the through electrode 105 of the substrate 101, one electrode pad 140 (on the right side in the drawing) formed on the upper surface of the control IC 106 and the through electrode 105 of the substrate 101 are bonded to the bonding wire 118.
  • the other electrode pad 140 (left side in the figure) formed on the upper surface of the control IC 106 and the through electrode 105 of the substrate 101 are connected by a bonding wire 117.
  • FIGS. 4 to 7 are plan views of the acceleration sensor 100 in a state where the sensor upper cap 115 is joined except for the package cap 116 of the acceleration sensor 100 shown in FIG.
  • the package cap 116 is bonded to the upper surface of the substrate 101 with an adhesive (not shown), the sensor 109, the plurality of electrode pads 113 of the sensor 109, the plurality of electrode pads 140 of the control IC 106, and the substrate 101.
  • the plurality of through electrodes 105 are covered and sealed.
  • the sensor 109 and the control IC 106 are not sealed with resin, and the inside of the package cap 116 is hollow.
  • FIG. 8A is a partial cross-sectional view showing an example of a state in which the through electrode of the substrate, the bonding wire, and the electrode pad of the control IC are sealed with potting resin
  • FIG. 8C is a partial cross-sectional view showing another example of the state in which the wire and the electrode pad of the control IC are sealed with potting resin
  • FIG. 8C shows another state in which the potting resin is applied to each electrode pad of the through electrode and sensor. It is a fragmentary sectional view showing an example.
  • FIG. 8A is a partial cross-sectional view showing an example of a state in which the through electrode of the substrate, the bonding wire, and the electrode pad of the control IC are sealed with potting resin
  • FIG. 8C is a partial cross-sectional view showing another example of the state in which the wire and the electrode pad of the control IC are sealed with potting resin
  • FIG. 8C shows another state in which the potting resin is applied to each electrode pad of the through electrode and sensor. It is a fragment
  • FIG. 9 is a partial cross-sectional view showing an example of a state in which the electrode pad of the control IC and the electrode pad of the sensor are sealed with potting resin.
  • 8A, 8B, and 8C and FIG. 9 illustrate a partial configuration of each part of the through electrode 105 of the substrate 101, the electrode pad 140 of the control IC 106, and the electrode pad 113 of the sensor 109. It is sectional drawing simplified and shown. Further, in FIGS. 8A, 8B and 8C and FIG. 9, the same components as those of the acceleration sensor 100 shown in FIGS. 1 to 7 are denoted by the same reference numerals.
  • the potting resin 120 is applied to the region including the through electrode 105, the electrode pad 140, and the bonding wire 117.
  • the state which applied and sealed is shown. If the region including the through electrode 105, the electrode pad 140, and the bonding wire 117 is covered with the potting resin 120 in this way, the through electrode 105 of the substrate 101 and the sensor 109 are covered with the potting resin 120 as shown in FIG. It becomes difficult to connect to the electrode pad 113 by the bonding wire 117.
  • the electrode pad 140 of the control IC 106 and the electrode pad 113 of the sensor 109 are connected by the bonding wire 117, and then potted on the electrode pad 140 and the electrode pad 113, respectively. Resin 120 may be applied and sealed.
  • the potting resin 120 shown in FIG. 9 is applied only on the electrode pad 140 and the electrode pad 113, the electrode pad 140 and the electrode pad 113 can be prevented from being oxidized, and the potting resin 120 can be applied to the sensor 109. It is also possible to prevent warping.
  • the potting resin 120 is applied and covered on the electrode pads 113 and 140, respectively. Is desirable.
  • the connection procedure by the bonding wires 117 and 118 between the through electrode 105 of the substrate 101, the electrode pad 140 on the control IC 106, and the electrode pad 113 on the sensor 109 shown in FIGS. 4 to 7, and the through electrode 105 and the electrode pad The procedure for applying the potting resin 120 to 113 and 140 is the same. Therefore, in the acceleration sensor 100 shown in FIG.
  • the potting resin 120 is applied to the electrode groups 141 to 143 each having the plurality of electrode pads 140 of the control IC 106 and the electrode group 151 having the plurality of electrode pads 113 of the sensor 109.
  • the electrode pad 140 and the electrode pad 113 By coating and covering, it is possible to prevent the electrode pad 140 and the electrode pad 113 from being oxidized, and to prevent the sensor 109 from being warped by the potting resin 120.
  • FIG. 10A is a plan view of the sensor before applying the potting resin as seen from above
  • FIG. 10B is a plan view of the sensor after applying the potting resin as seen from above.
  • reference numeral 301 denotes a sensor
  • 302 denotes an electrode pad formed on the sensor 301
  • 303 denotes an electrode pad formed on the substrate
  • 304 denotes a bonding wire.
  • FIG. 10A the electrode pad 302 of the sensor 301 and the electrode pad 303 of the substrate were connected by a bonding wire 304.
  • a potting resin 401 was applied on the electrode pad 302 of the sensor 301.
  • FIG. 11 is a plan view of an acceleration sensor showing an acceleration detection direction as a measurement target of offset voltage deviation.
  • FIG. 12 is a graph showing the measurement result of the offset voltage for each acceleration detection direction of the acceleration sensor shown in FIG. 11 after applying an epoxy resin or a silicon resin.
  • the plurality of piezoresistive elements that detect the displacement of the flexible portion 111 shown in FIG. 1 in the XYZ 3-axis directions are the plurality of piezoresistors that detect the acceleration in the Y-axis direction in the Y-axis direction in the drawing. It is assumed that elements are arranged and a plurality of piezoresistive elements for detecting acceleration in the X and Z axis directions are arranged in the X and Z axis directions in the drawing.
  • the epoxy resin is model number: ES-347-1 (Sanyu Rec Co., Ltd., flexural modulus: 18 [GPa] (the flexural modulus is measured according to JIS K9611)), and the silicone resin is model number: TSJ3155B. (Momentive Performance Materials Japan GK, durometer hardness: 70-82) was used.
  • the deviation of the offset voltage generated in the sensor 301 when the epoxy resin is applied is caused by the magnitude of stress applied to the sensor 301 by the epoxy resin after the epoxy resin is applied. That is, the bending elastic modulus of the epoxy resin is related to the degree of warpage generated in the sensor 301. For this reason, the bending elastic modulus of the epoxy resin is changed, the offset voltage in the XYZ 3-axis direction of the sensor 301 is measured, and the usable range of the bending elastic modulus of the epoxy resin in which the offset voltage deviation is reduced is verified. Is shown in FIG.
  • FIG. 13 shows that the flexural modulus is 26 [GPa], 24 [GPa], 9 [GPa], 7 [GPa], 6.5 [GPa], 5 [GPa], 3.5 [GPa], 0.9
  • the offset voltage deviation in the XYZ 3-axis direction of the sensor 301 is reduced when an epoxy resin having a flexural modulus of 5 [GPa] to 0.13 [GPa] is used. .
  • the potting resin 401 when an epoxy resin is used as the potting resin 401, it is desirable to use a resin having a flexural modulus of 5 [GPa] or less. Further, since the measurement result of the offset voltage shown in FIG. 13 is a case where the entire sensor is molded using an epoxy resin, the epoxy resin is formed on the electrode pad 113 and the electrode pad 140 as shown in FIG. Even when the coating is applied, the influence of the stress applied to the sensor 109 by the epoxy resin is small, and there is no problem with the offset voltage deviation.
  • the flexural modulus of the epoxy resin was measured based on JIS K6911 standard.
  • the acceleration sensor after connecting the through electrode of the substrate, the electrode pad of the sensor, and the electrode pad of the control IC with the bonding wire, By coating and covering the minimum necessary area on the electrode pad of the control IC with a potting resin using a resin material that takes hygroscopicity and bending elastic modulus into account, corrosion of the electrode pad due to humid outside air can be prevented. In addition, it is possible to prevent warping of the sensor due to application of potting resin, and to reduce the influence of stress on the sensor due to potting resin. As a result, the influence on the sensor characteristics of the acceleration sensor can be minimized, and the reliability of the acceleration sensor can be improved.
  • the acceleration sensor has been described as an example.
  • the present invention is not limited to this, and can be applied to other mechanical quantity sensors such as an angular velocity sensor.
  • the case where a silicon resin or an epoxy resin is applied as the potting resin has been shown.
  • the resin material is not particularly limited.
  • FIG. 14 is a plan view showing a schematic configuration of the acceleration sensor 500.
  • the entire configuration of the acceleration sensor 500 is the same as that of the acceleration sensor 100 shown in FIG.
  • the sensor 501 of the acceleration sensor 500 has a plurality of electrode pads 502 formed in the upper region in the drawing.
  • a bonding wire 503 is connected to each of the plurality of electrode pads 502.
  • a plurality of separation portions 505 for separating the potting resin 506 applied on each electrode pad 502 is formed between the plurality of electrode pads 502.
  • the acceleration sensor 500 according to the second embodiment of the present invention is characterized in that a plurality of separation portions 505 for separating the potting resin 506 are formed between the plurality of electrode pads 502.
  • FIGS. 15A and 15B are partial cross-sectional views taken along the line AA in FIG. 14 and show an example of a method for manufacturing the separation portion 505 between the electrode pads 502.
  • reference numeral 501 denotes a two-layer semiconductor substrate including a Si layer 511 and a SiO 2 layer 512.
  • a plurality of electrodes 513 are formed by patterning or the like using Al—Nd or the like at positions corresponding to electrode pad formation positions on the upper surface of the semiconductor substrate 501.
  • a dummy electrode 513a for forming a separation member is also formed between positions where electrode pads 502 described later are formed.
  • the SiN layer 514 is formed on the upper surface of the semiconductor substrate 501 on which the plurality of electrodes 513 and the dummy electrodes 513a are formed, and the SiN layer 514 is etched using a mask (not shown) to form a plurality of electrode pads 502.
  • a recess (not shown) is formed.
  • a plurality of electrode pads 502 are formed by patterning the plurality of recesses using Al.
  • a convex portion 505 is formed on the SiN layer 514 where the dummy electrode 513a is formed, and this convex portion 505 serves as a separation portion.
  • FIG. 16A and 16B are partial cross-sectional views taken along the line AA in FIG. 14 and are diagrams illustrating an example of a method for manufacturing the separation portion 521 between the electrode pads 502.
  • FIG. 16A and 16B the same components as those shown in FIGS. 15A and 15B are denoted by the same reference numerals.
  • Electrode pad and separation part (see FIG. 16A)
  • a plurality of electrodes 513 are formed by patterning or the like using Al—Nd or the like at positions corresponding to electrode pad formation positions on the upper surface of the semiconductor substrate 501.
  • a SiN layer 514 is formed on the upper surface of the semiconductor substrate 501 on which the plurality of electrodes 513 are formed, and a plurality of recesses (see FIG. 5) are formed at positions where the electrode pads 502 are formed by etching the SiN layer 514 with a mask (not shown). (Not shown).
  • the plurality of recesses are patterned using Al to form a plurality of electrode pads 502, and at the same time, a dummy electrode 521 is formed on the upper surface of the SiN layer 514 between the plurality of electrode pads 502 using Al—Nd or the like. To do. This dummy electrode 521 becomes a separation part.
  • FIG. 17 shows a specific example when a potting resin is applied onto the electrode pad of the sensor.
  • reference numeral 601 denotes a sensor
  • 602 denotes a plurality of Al electrode pads formed on the sensor 601
  • 603 denotes a plurality of Al electrode pads formed on the control IC
  • 604 denotes a plurality of bonding wires.
  • 605 is a plurality of separation parts for separating the potting resin
  • 606 is the potting resin.
  • each electrode pad 602 of the sensor 601 and each electrode pad 603 of the control IC are connected by a plurality of bonding wires 604.
  • a potting resin 606 was applied on each electrode pad 602 of the sensor 601. It was confirmed that the formation of the separation portion 605 between the plurality of electrode pads 602 can prevent the potting resin 606 from spreading to the adjacent electrode pads 602.
  • the material of the potting resin applied in FIG. 15B, FIG. 16B, and FIG. 17 is silicon that satisfies the conditions of the hygroscopicity and the flexural modulus as described in the first embodiment. It is desirable to use an epoxy resin or an epoxy resin. However, any resin material that satisfies the above conditions of hygroscopicity and flexural modulus may be used, and the resin material is not particularly limited.
  • FIG. 15 shows the case where the convex portion 505 serving as the separation portion is formed by the dummy electrode 513a
  • FIG. 16 shows the case where the separation portion is formed by the dummy electrode 521. However, for example, it may be formed by dummy wiring. .
  • the position where the separation portion is formed is not limited between the plurality of electrode pads 502 of the sensor 501, but is formed between the plurality of electrode pads of the control IC, and on the plurality of electrode pads of the control IC.
  • the potting resin to be applied may be prevented from spreading to adjacent electrode pads.
  • FIGS. 15 and 16 show the case where the separation portion is formed by the dummy electrode, the separation portion may be formed using an actual electrode or wiring.
  • the separation portion that separates the potting resin is formed between the plurality of electrode pads of the sensor, thereby being applied on each electrode pad. Since the potting resin is prevented from spreading to adjacent electrode pads, it is possible to reduce the influence of the stress exerted on the sensor by the potting resin as compared with the case where the potting resin is applied to each electrode group having a plurality of electrode pads. Therefore, according to the acceleration sensor according to the second embodiment of the present invention, the electrode pad of the control IC and the electrode pad of the sensor are connected by the bonding wire, and then the sensor electrode pad and the sensor electrode pad are connected.

Landscapes

  • Engineering & Computer Science (AREA)
  • Microelectronics & Electronic Packaging (AREA)
  • Computer Hardware Design (AREA)
  • Power Engineering (AREA)
  • Physics & Mathematics (AREA)
  • General Physics & Mathematics (AREA)
  • Condensed Matter Physics & Semiconductors (AREA)
  • Manufacturing & Machinery (AREA)
  • Chemical & Material Sciences (AREA)
  • Chemical Kinetics & Catalysis (AREA)
  • General Chemical & Material Sciences (AREA)
  • Health & Medical Sciences (AREA)
  • General Health & Medical Sciences (AREA)
  • Toxicology (AREA)
  • Pressure Sensors (AREA)
  • Micromachines (AREA)
  • Wire Bonding (AREA)
PCT/JP2011/064313 2010-06-30 2011-06-22 センサデバイスの製造方法及びセンサデバイス Ceased WO2012002233A1 (ja)

Priority Applications (1)

Application Number Priority Date Filing Date Title
US13/729,311 US9209319B2 (en) 2010-06-30 2012-12-28 Sensor device manufacturing method and sensor device

Applications Claiming Priority (2)

Application Number Priority Date Filing Date Title
JP2010-150109 2010-06-30
JP2010150109A JP4968371B2 (ja) 2010-06-30 2010-06-30 センサデバイスの製造方法及びセンサデバイス

Related Child Applications (2)

Application Number Title Priority Date Filing Date
US13/729,311 Continuation US9209319B2 (en) 2010-06-30 2012-12-28 Sensor device manufacturing method and sensor device
US13/729,311 Continuation-In-Part US9209319B2 (en) 2010-06-30 2012-12-28 Sensor device manufacturing method and sensor device

Publications (1)

Publication Number Publication Date
WO2012002233A1 true WO2012002233A1 (ja) 2012-01-05

Family

ID=45401953

Family Applications (1)

Application Number Title Priority Date Filing Date
PCT/JP2011/064313 Ceased WO2012002233A1 (ja) 2010-06-30 2011-06-22 センサデバイスの製造方法及びセンサデバイス

Country Status (3)

Country Link
US (1) US9209319B2 (enExample)
JP (1) JP4968371B2 (enExample)
WO (1) WO2012002233A1 (enExample)

Cited By (1)

* Cited by examiner, † Cited by third party
Publication number Priority date Publication date Assignee Title
CN110304604A (zh) * 2019-06-18 2019-10-08 上海应用技术大学 一种mems传感器的封装方法

Families Citing this family (5)

* Cited by examiner, † Cited by third party
Publication number Priority date Publication date Assignee Title
JP4968371B2 (ja) * 2010-06-30 2012-07-04 大日本印刷株式会社 センサデバイスの製造方法及びセンサデバイス
TWI620707B (zh) * 2014-03-11 2018-04-11 Richtek Technology Corporation 微機電模組以及其製造方法
CN105514074B (zh) * 2015-12-01 2018-07-03 上海伊诺尔信息技术有限公司 智能卡芯片封装结构及其制造方法
JP6947367B2 (ja) * 2016-12-20 2021-10-13 ローム株式会社 センサモジュールおよびその製造方法
JP2022121271A (ja) * 2021-02-08 2022-08-19 パナソニックIpマネジメント株式会社 電気素子

Citations (3)

* Cited by examiner, † Cited by third party
Publication number Priority date Publication date Assignee Title
JPS62144368A (ja) * 1985-12-19 1987-06-27 Nec Corp 半導体式圧力センサの保護膜
JP2002090245A (ja) * 2000-09-18 2002-03-27 Denso Corp センサ装置の製造方法
JP2006145410A (ja) * 2004-11-22 2006-06-08 Matsushita Electric Works Ltd 物理量センサの実装構造

Family Cites Families (20)

* Cited by examiner, † Cited by third party
Publication number Priority date Publication date Assignee Title
JPS56150830A (en) * 1980-04-25 1981-11-21 Hitachi Ltd Semiconductor device
JPS60160627A (ja) 1984-01-31 1985-08-22 Fujitsu Ltd 半導体集積回路装置
JPH0748566B2 (ja) 1989-09-27 1995-05-24 山武ハネウエル株式会社 加速度センサおよびその製造方法
JP2719448B2 (ja) * 1991-01-24 1998-02-25 三菱電機株式会社 半導体圧力検出装置
JPH04258176A (ja) * 1991-02-12 1992-09-14 Mitsubishi Electric Corp 半導体圧力センサ
US5333505A (en) * 1992-01-13 1994-08-02 Mitsubishi Denki Kabushiki Kaisha Semiconductor pressure sensor for use at high temperature and pressure and method of manufacturing same
JPH06132545A (ja) * 1992-10-19 1994-05-13 Mitsubishi Electric Corp 圧力検出装置
US5434105A (en) * 1994-03-04 1995-07-18 National Semiconductor Corporation Process for attaching a lead frame to a heat sink using a glob-top encapsulation
JP3433570B2 (ja) 1995-05-26 2003-08-04 松下電工株式会社 半導体加速度センサ
JPH0961271A (ja) * 1995-08-29 1997-03-07 Mitsubishi Electric Corp 半導体式センサ及びその製造方法
US6401545B1 (en) * 2000-01-25 2002-06-11 Motorola, Inc. Micro electro-mechanical system sensor with selective encapsulation and method therefor
JP2002098709A (ja) 2000-09-26 2002-04-05 Matsushita Electric Works Ltd 半導体加速度センサ
US6769319B2 (en) * 2001-07-09 2004-08-03 Freescale Semiconductor, Inc. Component having a filter
JP4516252B2 (ja) 2001-11-22 2010-08-04 パナソニック電工株式会社 半導体加速度センサの封止方法
ITTO20030444A1 (it) * 2003-06-13 2004-12-14 Olivetti Jet Spa Sensore di pressione a struttura integrata.
JP4277079B2 (ja) * 2004-06-18 2009-06-10 Okiセミコンダクタ株式会社 半導体加速度センサ装置及びその製造方法
JP4524454B2 (ja) * 2004-11-19 2010-08-18 ルネサスエレクトロニクス株式会社 電子装置およびその製造方法
KR100766498B1 (ko) * 2006-10-16 2007-10-15 삼성전자주식회사 반도체 패키지 및 그 제조방법
US7985628B2 (en) * 2007-12-12 2011-07-26 Stats Chippac Ltd. Integrated circuit package system with interconnect lock
JP4968371B2 (ja) * 2010-06-30 2012-07-04 大日本印刷株式会社 センサデバイスの製造方法及びセンサデバイス

Patent Citations (3)

* Cited by examiner, † Cited by third party
Publication number Priority date Publication date Assignee Title
JPS62144368A (ja) * 1985-12-19 1987-06-27 Nec Corp 半導体式圧力センサの保護膜
JP2002090245A (ja) * 2000-09-18 2002-03-27 Denso Corp センサ装置の製造方法
JP2006145410A (ja) * 2004-11-22 2006-06-08 Matsushita Electric Works Ltd 物理量センサの実装構造

Cited By (1)

* Cited by examiner, † Cited by third party
Publication number Priority date Publication date Assignee Title
CN110304604A (zh) * 2019-06-18 2019-10-08 上海应用技术大学 一种mems传感器的封装方法

Also Published As

Publication number Publication date
JP4968371B2 (ja) 2012-07-04
US9209319B2 (en) 2015-12-08
US20130113055A1 (en) 2013-05-09
JP2012013528A (ja) 2012-01-19

Similar Documents

Publication Publication Date Title
JP5486271B2 (ja) 加速度センサ、及び加速度センサの製造方法
CN105940287B (zh) 微机械压力传感器装置以及相应的制造方法
JP4968371B2 (ja) センサデバイスの製造方法及びセンサデバイス
CN1739014B (zh) 半导体压力传感器及其制造方法
WO2010134181A1 (ja) チップの実装構造、及びそれを備えたモジュール
CN104006913B (zh) 带有涂覆有原子层沉积的输入端口的集成参考真空压力传感器
US20160209344A1 (en) Complex sensor and method of manufacturing the same
US7836764B2 (en) Electrical device with covering
KR20090124011A (ko) 패키징 기판과 이를 포함하는 가스 센싱 장치 및 그 제조방법
JP2005127750A (ja) 半導体センサおよびその製造方法
JP5920501B2 (ja) センサデバイスの製造方法及びセンサデバイス
JP6714439B2 (ja) 歪検出器及びその製造方法
JP5742170B2 (ja) Memsデバイス、その製造方法、及びそれを有する半導体装置
JP2012035337A (ja) Memsデバイス及びその製造方法
JP2007240250A (ja) 圧力センサ、圧力センサパッケージ、圧力センサモジュール、及び電子部品
JP2012181198A (ja) センサデバイスの製造方法及びセンサデバイス
JP4566066B2 (ja) 回路装置およびその製造方法
JP4949673B2 (ja) 半導体加速度センサおよびその製造方法
JP4706634B2 (ja) 半導体センサおよびその製造方法
JP5328492B2 (ja) 圧力センサモジュール及び圧力センサパッケージ、並びにこれらの製造方法
JP5328493B2 (ja) 圧力センサモジュール及び圧力センサパッケージ、並びにこれらの製造方法
JP2010096525A (ja) 圧力センサパッケージ及びその製造方法、並びに圧力センサモジュール及び電子デバイス
JP5328479B2 (ja) 圧力センサモジュール及び圧力センサパッケージ、並びにこれらの製造方法
JP2009264933A (ja) 加速度センサ装置および加速度センサ装置の製造方法
JP6507595B2 (ja) 半導体センサ装置

Legal Events

Date Code Title Description
121 Ep: the epo has been informed by wipo that ep was designated in this application

Ref document number: 11800698

Country of ref document: EP

Kind code of ref document: A1

NENP Non-entry into the national phase

Ref country code: DE

122 Ep: pct application non-entry in european phase

Ref document number: 11800698

Country of ref document: EP

Kind code of ref document: A1