WO2010008011A1 - 画質改善装置及び方法 - Google Patents

画質改善装置及び方法 Download PDF

Info

Publication number
WO2010008011A1
WO2010008011A1 PCT/JP2009/062787 JP2009062787W WO2010008011A1 WO 2010008011 A1 WO2010008011 A1 WO 2010008011A1 JP 2009062787 W JP2009062787 W JP 2009062787W WO 2010008011 A1 WO2010008011 A1 WO 2010008011A1
Authority
WO
WIPO (PCT)
Prior art keywords
low
component signal
signal
frequency
frequency component
Prior art date
Legal status (The legal status is an assumption and is not a legal conclusion. Google has not performed a legal analysis and makes no representation as to the accuracy of the status listed.)
Ceased
Application number
PCT/JP2009/062787
Other languages
English (en)
French (fr)
Japanese (ja)
Inventor
沙智子 中野
賢治 久保田
英樹 相羽
長谷川 順一
智 豊嶋
Current Assignee (The listed assignees may be inaccurate. Google has not performed a legal analysis and makes no representation or warranty as to the accuracy of the list.)
Victor Company of Japan Ltd
Original Assignee
Victor Company of Japan Ltd
Priority date (The priority date is an assumption and is not a legal conclusion. Google has not performed a legal analysis and makes no representation as to the accuracy of the date listed.)
Filing date
Publication date
Application filed by Victor Company of Japan Ltd filed Critical Victor Company of Japan Ltd
Priority to EP09797936.3A priority Critical patent/EP2320638B1/en
Priority to CN2009801275973A priority patent/CN102100061B/zh
Priority to US13/054,012 priority patent/US8363166B2/en
Priority to KR1020117001587A priority patent/KR101235605B1/ko
Publication of WO2010008011A1 publication Critical patent/WO2010008011A1/ja
Anticipated expiration legal-status Critical
Ceased legal-status Critical Current

Links

Images

Classifications

    • HELECTRICITY
    • H04ELECTRIC COMMUNICATION TECHNIQUE
    • H04NPICTORIAL COMMUNICATION, e.g. TELEVISION
    • H04N1/00Scanning, transmission or reproduction of documents or the like, e.g. facsimile transmission; Details thereof
    • H04N1/40Picture signal circuits
    • H04N1/409Edge or detail enhancement; Noise or error suppression
    • H04N1/4092Edge or detail enhancement
    • HELECTRICITY
    • H04ELECTRIC COMMUNICATION TECHNIQUE
    • H04NPICTORIAL COMMUNICATION, e.g. TELEVISION
    • H04N5/00Details of television systems
    • H04N5/14Picture signal circuitry for video frequency region
    • H04N5/20Circuitry for controlling amplitude response
    • H04N5/205Circuitry for controlling amplitude response for correcting amplitude versus frequency characteristic
    • H04N5/208Circuitry for controlling amplitude response for correcting amplitude versus frequency characteristic for compensating for attenuation of high frequency components, e.g. crispening, aperture distortion correction
    • GPHYSICS
    • G06COMPUTING OR CALCULATING; COUNTING
    • G06TIMAGE DATA PROCESSING OR GENERATION, IN GENERAL
    • G06T5/00Image enhancement or restoration
    • GPHYSICS
    • G06COMPUTING OR CALCULATING; COUNTING
    • G06TIMAGE DATA PROCESSING OR GENERATION, IN GENERAL
    • G06T5/00Image enhancement or restoration
    • G06T5/73Deblurring; Sharpening
    • G06T5/75Unsharp masking
    • HELECTRICITY
    • H04ELECTRIC COMMUNICATION TECHNIQUE
    • H04NPICTORIAL COMMUNICATION, e.g. TELEVISION
    • H04N5/00Details of television systems
    • H04N5/44Receiver circuitry for the reception of television signals according to analogue transmission standards
    • H04N5/57Control of contrast or brightness
    • GPHYSICS
    • G06COMPUTING OR CALCULATING; COUNTING
    • G06TIMAGE DATA PROCESSING OR GENERATION, IN GENERAL
    • G06T2207/00Indexing scheme for image analysis or image enhancement
    • G06T2207/10Image acquisition modality
    • G06T2207/10016Video; Image sequence

Definitions

  • the present invention relates to an image quality improving apparatus and method for improving image quality by correcting an edge (contour) of a video signal.
  • an enhancement process has been performed to add a shoot component to the edge of the video signal to sharpen the edge and improve the sharpness of the video.
  • An enhancer that performs this enhancement processing extracts a high frequency component of a video signal using a high-pass filter with a relatively short tap length of several to a dozen taps, and generates a shoot component based on the extracted high frequency component. This is added to the video signal.
  • Patent Document 1 describes such an enhancer (image quality improvement apparatus).
  • the high-frequency component is extracted by the high-pass filter, but in reality, the mid-high frequency component including the mid-range may be extracted to emphasize the mid-high frequency component of the video signal.
  • the peak frequency of the pass band of the high-pass filter is shifted to the middle band side, the middle and high band components are emphasized.
  • the mid frequency component is extracted along with the high frequency component, and as a result, the mid high frequency component is emphasized.
  • the conventional enhancer will be described as enhancing the high frequency component even when the high frequency component including the mid frequency component of the video signal is emphasized.
  • the present invention has been made in view of such circumstances, and an object thereof is to provide an image quality improving apparatus and method capable of improving the sense of contrast. It is another object of the present invention to provide an image quality improving apparatus and method capable of improving both sharpness and contrast.
  • a first low-pass filter having a first cutoff frequency and extracting a low-frequency component signal of an input video signal.
  • a subtractor that subtracts the low-frequency component signal from the input video signal to extract a high-frequency component signal; and a second cutoff frequency that is higher than the first cutoff frequency, and the high-frequency component
  • a second low-pass filter that extracts a low-frequency high-frequency component signal that is a low-frequency signal in the signal; a multiplier that multiplies the low-frequency high-frequency component signal by a predetermined gain to generate a correction component signal; And an adder that adds the correction component signal to the input video signal.
  • the first low-pass filter having a first cutoff frequency and extracting a low-frequency component signal of the input video signal, and the input video signal
  • a subtractor that subtracts a low-frequency component signal to extract a first high-frequency component signal; a second cutoff frequency that is higher than the first cutoff frequency; and a low-frequency region in the first high-frequency component signal
  • a first low-pass filter that extracts a low-frequency high-frequency component signal, which is a signal on the side, and a first gain that is multiplied by a first gain by the low-frequency high-frequency component signal to generate a first correction component signal
  • a multiplier a high-pass filter that extracts a second high-frequency component signal from the input video signal, and a second gain are multiplied by the second high-frequency component signal to generate a second correction component signal A second multiplier and the input movie Image quality improving device characterized by comprising an adder for adding the first and second correction component signal to signal.
  • a high-pass filter that extracts a first high-frequency component signal from the input video signal, a first gain multiplied by the first high-frequency component signal, A first multiplier that generates one correction component signal; a first adder that adds the first correction component signal to the input video signal; and a first cut-off frequency.
  • a first low-pass filter that extracts a low-frequency component signal of the video signal output from the detector, and a second high-frequency component signal that is subtracted from the video signal output from the adder And a second subtractor having a second cutoff frequency higher than the first cutoff frequency and extracting a low-frequency high-frequency component signal that is a low-frequency signal in the second high-frequency component signal Low pass filter and low frequency
  • a second multiplier that multiplies the minute signal by a second gain to generate a second correction component signal; and a second multiplier that adds the second correction component signal to the video signal output from the adder.
  • a first low-pass filter having a first cut-off frequency and extracting a low-frequency component signal of the input video signal, and the input video signal
  • a first low-pass filter that extracts a low-frequency high-frequency component signal that is a low-frequency signal, and a first gain that multiplies the low-frequency high-frequency component signal by a first gain to generate a first correction component signal.
  • an image quality improving apparatus comprising a second adder.
  • a first step of extracting a low frequency component signal of a video signal by a first low-pass filter having a first cutoff frequency, and the low frequency component from the video signal A second step of subtracting the signal to extract a high frequency component signal and a second low-pass filter having a second cutoff frequency higher than the first cutoff frequency, A third step of extracting a low-frequency high-frequency component signal, a fourth step of generating a first correction component signal by multiplying the low-frequency high-frequency component signal by a first gain, A fifth step of adding the first correction component signal to the video signal and outputting a corrected video signal in which the band component of the low frequency side high frequency component signal in the band of the video signal is emphasized.
  • Image quality improving method characterized the door is provided.
  • the image quality improving apparatus and method of the present invention it is possible to improve the sense of contrast. Moreover, both sharpness and contrast can be improved.
  • FIG. 1 is a block diagram showing a first embodiment of the present invention.
  • FIG. 2 is a diagram illustrating the frequency characteristics of each filter used in each embodiment.
  • FIG. 3 is a waveform diagram for explaining the first embodiment.
  • FIG. 4 is a block diagram showing a second embodiment of the present invention.
  • FIG. 5 is a diagram illustrating a first example of the limiting characteristics of the limiter used in each embodiment.
  • FIG. 6 is a diagram illustrating a second example of the limiting characteristic of the limiter used in each embodiment.
  • FIG. 7 is a diagram illustrating a third example of the limiting characteristic of the limiter used in each embodiment.
  • FIG. 8 is a diagram illustrating a fourth example of the limiting characteristic of the limiter used in each embodiment.
  • FIG. 1 is a block diagram showing a first embodiment of the present invention.
  • FIG. 2 is a diagram illustrating the frequency characteristics of each filter used in each embodiment.
  • FIG. 3 is a waveform diagram for explaining the first embodiment.
  • FIG. 9 is a block diagram showing a third embodiment of the present invention.
  • FIG. 10 is a waveform diagram for explaining the third embodiment.
  • FIG. 11 is a block diagram showing a fourth embodiment of the present invention.
  • FIG. 12 is a block diagram showing a fifth embodiment of the present invention.
  • FIG. 13 is a block diagram showing a sixth embodiment of the present invention.
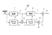
  • FIG. 1 is a block diagram showing a first embodiment of an image quality improving apparatus according to the present invention.
  • the configuration and operation of the image quality improvement apparatus 101 according to the first embodiment will be described with reference to the frequency characteristics of each filter shown in FIG. 2 and the waveform diagram shown in FIG.
  • a video signal a 0 is input to a delay device 1 and a Gaussian filter 2.
  • the video signal a0 may be a luminance signal or a color signal.
  • the Gaussian filter is a low-pass filter that extracts a very low frequency component using a Gaussian function.
  • the frequency characteristic FG of the Gaussian filter 2 has a very low cutoff frequency as shown in FIG.
  • a low-pass filter having a very low cutoff frequency and a long tap length may be used.
  • the delay device 1 delays the input video signal a0 by the time required for processing in the Gaussian filter 2 to obtain the video signal a.
  • the Gaussian filter 2 extracts a low frequency component signal b from the input video signal a0.
  • the video signal a is an edge signal as indicated by a solid line in FIG. 3A
  • the low frequency component signal b has a waveform indicated by a broken line in FIG.
  • the band of the low frequency component signal b is a band limited by the frequency characteristic FG.
  • the subtracter 3 subtracts the low frequency component signal b from the video signal a and outputs a high frequency component signal c shown in FIG. Since the subtracter 3 subtracts the low frequency component signal b from the video signal a of the entire band, the band of the high frequency component signal c is as shown in FIG.
  • the high frequency component signal c output from the subtractor 3 is input to the low pass filter 5.
  • the frequency characteristic FL of the low-pass filter 5 is as shown in FIG. 2, and the cutoff frequency of the low-pass filter 5 is higher than the cutoff frequency of the Gaussian filter 2.
  • the output signal d of the low-pass filter 5 is a signal obtained by extracting the low frequency side signal in the high frequency component signal c by the frequency characteristic FL, and has a waveform shown in FIG.
  • the output signal d is referred to as a low frequency side high frequency component signal.
  • the low frequency side high frequency component signal d is input to the multiplier 6.
  • the multiplier 6 multiplies the low frequency side high frequency component signal d by the gain G1 to generate a correction component signal e shown in FIG.
  • the gain G1 is for adjusting the image quality improvement effect by the image quality improvement apparatus 101 of the first embodiment, and is normally a positive number less than 1 exceeding 0.
  • the delay unit 4 further delays the video signal a output from the delay unit 1 by a time required for processing in the low-pass filter 5 and the multiplier 6 to obtain a video signal f.
  • the adder 7 receives the video signal f output from the delay unit 4 and the correction component signal e output from the multiplier 6.
  • the waveform of the video signal f is the same as that of the video signal a as shown in FIG.
  • the adder 7 outputs a corrected video signal g indicated by a solid line in FIG. 3E by adding the correction component signal e to the video signal f.
  • the image quality improving apparatus 101 of the first embodiment it is possible to emphasize the low frequency component (the band component of the low frequency side high frequency component signal d) rather than the high frequency component emphasized by the conventional enhancer. A relatively wide chute component is added to the. Then, the difference in signal level perceived by a person becomes larger than the difference in actual signal level, and the contrast can be improved. Therefore, according to the image quality improving apparatus 101 of the first embodiment, it is possible to obtain an image quality improving effect different from that of the conventional enhancer, that is, an improvement in contrast perceived by a person.
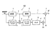
  • FIG. 4 is a block diagram showing a second embodiment of the image quality improving apparatus of the present invention.
  • the low frequency side high frequency component signal d output from the low pass filter 5 is input to the limiter 8.
  • the limiter 8 limits the low-frequency high-frequency component signal d based on the characteristics described later and outputs it as a low-frequency high-frequency component signal d ′.
  • the multiplier 6 multiplies the low frequency side high frequency component signal d ′ by the gain G1 and outputs a correction component signal e2.
  • the adder 7 adds the correction component signal e2 to the video signal f and outputs a corrected video signal g2.
  • FIG. 5 is a first example of the limiting characteristic of the limiter 8.
  • the limiting characteristic shown in FIG. 5 is that if the positive or negative input signal (that is, the low frequency side high frequency component signal d) is a value up to the threshold values Th1 and -Th1, the value of the input signal is output as it is. If the value exceeds the value Th1 and ranges up to the value 2Th1, the value of the input signal is attenuated. If the value exceeds the threshold -Th1 and ranges from the value -2Th1, the value of the input signal is amplified, and the value 2Th1,- The characteristic is to hold at 0 when it exceeds 2Th1. In this example, the attenuation slope from the threshold value Th1 to the value 2Th1 and the amplification slope from the threshold value -Th1 to the value -2Th1 are set to -1, but the absolute value of the slope may be smaller than 1.
  • FIG. 6 is a second example of the limiting characteristic of the limiter 8.
  • the input signal is the threshold value Th2, -Th2
  • the value of the input signal is output as it is, and the range from the threshold value Th2 to the threshold value Th3 and the range from the threshold value -Th2 to the threshold value -Th3
  • hold the values Th2 and -Th2 and attenuate the input signal value in the range from the threshold Th3 to the value Th4, and the input signal value in the range from the threshold -Th3 to the value -Th4.
  • the characteristic is amplified and held at 0 when the value Th4, -Th4 is exceeded.
  • the limiting characteristics shown in FIG. 6 are obtained by limiting the value of the output signal of the limiting characteristics shown in FIG. 5 with values Th2 and -Th2, thereby converting the triangular characteristics into trapezoidal characteristics in the positive and negative directions. .
  • FIG. 7 shows a third example of the limiting characteristic of the limiter 8.
  • the limiting characteristic shown in FIG. 7 is a characteristic in which the value of the input signal is output as it is until the input signal reaches the threshold Th5, -Th5, and is held at the value Th5, -Th5 when the threshold exceeds the threshold Th5, -Th5.
  • FIG. 8 is a fourth example of the limiting characteristic of the limiter 8.
  • the limiting characteristic shown in FIG. 8 is that the value of the input signal is output as it is until the input signal reaches the threshold Th6, -Th6, and when the threshold signal Th6 is exceeded, the value of the input signal is changed with a slope of less than 1 exceeding 0.
  • the value of the input signal is amplified with a slope of less than 1 exceeding 0.
  • the threshold values in FIGS. 5 to 8 may be appropriately set according to the magnitude of the low-frequency high-frequency component signal d output from the low-pass filter 5.
  • the limiter 8 since the limiter 8 is provided, when the difference in the signal level of the edge portion in the video signal a0 is large, it is not included in the low frequency side high frequency component signal d. Necessary high-frequency components can be suppressed, and the image quality improvement effect can be improved as compared with the image quality improvement apparatus 101 of the first embodiment.
  • the limiter 8 When the low-pass filter 5 cannot secure a sufficient tap length, it is preferable to provide the limiter 8. Of the limiting characteristics shown in FIGS. 5 to 8, the limiting characteristics shown in FIGS. 7 and 8 are preferable.
  • FIG. 9 is a block diagram showing a third embodiment of the image quality improving apparatus of the present invention.
  • the image quality improving apparatus 103 according to the third embodiment is obtained by switching the order of the low-pass filter 5 and the limiter 8 in the image quality improving apparatus 102 according to the second embodiment.
  • the high frequency component signal c output from the subtractor 3 is input to the limiter 8.
  • the limiter 8 limits the high-frequency component signal c based on any of the limiting characteristics shown in FIGS. 5 to 8 described above and outputs it as a high-frequency component signal c ′.
  • the low-pass filter 5 extracts a low-frequency signal in the input high-frequency component signal c ′ by the frequency characteristic FL and outputs a low-frequency high-frequency component signal d3.
  • the multiplier 6 multiplies the low frequency side high frequency component signal d3 by the gain G1 and outputs a correction component signal e3.
  • the adder 7 adds the correction component signal e3 to the video signal f and outputs a corrected video signal g3.
  • FIG. 10 shows signal waveforms when the limiting characteristic of the limiter 8 in the image quality improvement apparatus 103 is as shown in FIG.
  • the high frequency component signal c since the amplitude of the high frequency component signal c is limited by the threshold values Th5 and -Th5, the high frequency component signal c 'has a waveform indicated by a solid line.
  • the low-frequency high-frequency component signal d3 output from the low-pass filter 5 is as shown in FIG. 10C
  • the correction component signal e3 output from the multiplier 6 is as shown in FIG. 10D.
  • the corrected video signal g3 output from the adder 7 is as shown by a solid line in FIG.
  • the image quality improving apparatus 103 according to the third embodiment can achieve the same effects as the image quality improving apparatus 102 according to the second embodiment.
  • FIG. 11 is a block diagram showing a fourth embodiment of the image quality improving apparatus of the present invention.
  • the image quality improving apparatus 104 of the fourth embodiment shown in FIG. 11 the same reference numerals are given to substantially the same parts as those of the image quality improving apparatus 102 of the second embodiment shown in FIG. To do.
  • the image quality improving apparatus 104 according to the fourth embodiment includes a low frequency image quality improving unit 104L for enhancing the low frequency component of the video signal and a high frequency for enhancing the high frequency component of the video signal.
  • the image quality improvement unit 104H is provided in parallel.
  • the high frequency image quality improvement unit 104H emphasizes the high frequency component, but also includes the case where the high frequency component is emphasized including the mid frequency component of the video signal.
  • the low frequency image quality improvement unit 104L has the same configuration as the image quality improvement apparatus 102 of the second embodiment.
  • the high-pass filter 9, the limiter 10, the multiplier 11, and the adder 7 which is also a part of the low-frequency image quality improvement unit 104L constitute a high-frequency image quality improvement unit 104H.
  • the high frequency image quality improvement unit 104H has a configuration equivalent to that of a general enhancer.
  • the video signal input to the low frequency image quality improvement unit 104L is also input to the high pass filter 9 in parallel.
  • the frequency characteristic FH of the high-pass filter 9 is as shown in FIG. 2, and the high-pass filter 9 extracts the high frequency component of the video signal and supplies the high frequency component signal h to the limiter 10.
  • the limiting characteristic of the limiter 10 is the same as that of the limiter 8, and the input high frequency component signal h is limited and output as a high frequency component signal h '.
  • the multiplier 11 multiplies the high frequency component signal h 'by the gain G2 to generate a high frequency correction component signal i4.
  • the adder 7 adds the low-frequency correction component signal e2 and the high-frequency correction component signal i4 output from the multiplier 6 to the video signal f output from the delay device 4, and outputs a corrected video signal g4. To do.
  • the image quality improving apparatus 104 of the fourth embodiment since the low frequency component can be emphasized by the low frequency image quality improving unit 104L, it is possible to improve the sense of contrast, and at the same time, the high frequency image quality improving unit 104H. Since the high frequency component can be emphasized by this, sharpness can be improved. Therefore, according to the image quality improving apparatus 104 of the fourth embodiment, a higher image quality improving effect can be obtained as compared with the conventional enhancer.
  • the low-frequency image quality improvement unit 104L has the same configuration as the image quality improvement device 102 of the second embodiment, but may have the same configuration as the image quality improvement device 103 of the third embodiment. In some cases, the limiters 8 and 10 may be deleted.
  • FIG. 12 is a block diagram showing a fifth embodiment of the image quality improving apparatus of the present invention.
  • the image quality improving apparatus 105 of the fifth embodiment shown in FIG. 12 emphasizes the high frequency image quality improving unit 105H for enhancing the high frequency component (or middle high frequency component) of the video signal and the low frequency component of the video signal.
  • a low-frequency image quality improvement unit 105L is provided in series in this order.
  • the high frequency image quality improvement unit 105H includes a high pass filter 9, a limiter 10, a multiplier 11, a delay unit 12, and an adder 13.
  • the low frequency image quality improvement unit 105L has the same configuration as the image quality improvement apparatus 102.
  • the video signal a0 is input to the delay device 12 and the high-pass filter 9.
  • the high pass filter 9 extracts the high frequency component of the video signal a0 and supplies the high frequency component signal h5 to the limiter 10.
  • the limiter 10 limits the input high frequency component signal h5 and outputs it as a high frequency component signal h5 '.
  • the multiplier 11 multiplies the high frequency component signal h5 'by the gain G2 to generate a high frequency correction component signal i5.
  • the gain G2 is a positive number exceeding 0 and may exceed 1.
  • the delay unit 12 delays the input video signal a0 by a time required for processing in the high-pass filter 9, the limiter 10, and the multiplier 11 to obtain a video signal j5.
  • the adder 13 adds the correction component signal i5 to the video signal j5 and outputs the video signal k5 in which the high frequency component is emphasized.
  • the video signal k5 in which the high frequency component is emphasized is input to the low frequency image quality improvement unit 105L.
  • the delay device 1 delays the video signal k5 to be a video signal a5, and the delay device 4 delays the video signal a5 to be a video signal f5.
  • the Gaussian filter 2 extracts the low frequency component signal b5 from the video signal k5, and the subtractor 3 outputs the high frequency component signal c5.
  • the low pass filter 5 extracts the low frequency side high frequency component signal d5 from the high frequency component signal c5.
  • the limiter 8 limits the low frequency side high frequency component signal d5 to a low frequency side high frequency component signal d5 '.
  • the multiplier 6 multiplies the low frequency side high frequency component signal d5 'by the gain G1 to generate a correction component signal e5.
  • the adder 7 adds the correction component signal e5 to the video signal f5 and outputs a video signal g5 in which both the high frequency component and the low frequency component are emphasized.
  • the same effect as that of the image quality improving apparatus 104 of the fourth embodiment can be obtained.
  • the low-frequency image quality improvement unit 105L has the same configuration as that of the image quality improvement apparatus 102 of the second embodiment, but may have the same configuration as the image quality improvement apparatus 103 of the third embodiment.
  • the limiters 8 and 10 may be deleted.
  • FIG. 13 is a block diagram showing a sixth embodiment of the image quality improving apparatus of the present invention.
  • the image quality improving apparatus 105 of the sixth embodiment shown in FIG. 13 the same reference numerals are given to the substantially same parts as those of the image quality improving apparatus 102 of the second embodiment and the image quality improving apparatus 105 of the fifth embodiment shown in FIG. The description thereof will be omitted as appropriate.
  • the image quality improving apparatus 106 of the sixth embodiment emphasizes the low frequency image quality improving unit 106L for enhancing the low frequency component of the video signal and the high frequency component (or middle high frequency component) of the video signal.
  • the high-frequency image quality improvement unit 106H for this purpose is provided in series in this order.
  • the corrected video signal g in which the low frequency component output from the adder 7 of the low frequency image quality improvement unit 106L is emphasized is input to the high frequency image quality improvement unit 106H.
  • the delay unit 12 delays the input video signal g by a time required for processing in the high-pass filter 9, the limiter 10, and the multiplier 11 to obtain a video signal j 6.
  • the high pass filter 9 extracts a high frequency component of the video signal g and supplies a high frequency component signal h6 to the limiter 10.
  • the limiter 10 limits the input high frequency component signal h6 and outputs it as a high frequency component signal h6 '.
  • the multiplier 11 multiplies the high frequency component signal h6 'by the gain G2 to generate a high frequency correction component signal i6.
  • the adder 13 adds the correction component signal i6 to the video signal j6 and outputs a video signal k6 in which both the low frequency component and the high frequency component are emphasized.
  • the same effects as those of the image quality improving apparatus 104 of the fourth embodiment and the image quality improving apparatus 105 of the fifth embodiment can be obtained.
  • the low-frequency image quality improvement unit 106L has the same configuration as that of the image quality improvement apparatus 102 of the second embodiment, but may have the same configuration as the image quality improvement apparatus 103 of the third embodiment.
  • the limiters 8 and 10 may be deleted.
  • the present invention is not limited to the embodiment described above, and various modifications can be made without departing from the scope of the present invention.
  • the present invention may be configured by hardware or software. Further, both may be mixed.
  • the image quality improving apparatus and method of the present invention it is possible to improve the sense of contrast. Moreover, both sharpness and contrast can be improved.

Landscapes

  • Engineering & Computer Science (AREA)
  • Multimedia (AREA)
  • Signal Processing (AREA)
  • Physics & Mathematics (AREA)
  • General Physics & Mathematics (AREA)
  • Theoretical Computer Science (AREA)
  • Picture Signal Circuits (AREA)
  • Image Processing (AREA)
  • Facsimile Image Signal Circuits (AREA)
PCT/JP2009/062787 2008-07-15 2009-07-15 画質改善装置及び方法 Ceased WO2010008011A1 (ja)

Priority Applications (4)

Application Number Priority Date Filing Date Title
EP09797936.3A EP2320638B1 (en) 2008-07-15 2009-07-15 Device for improving image quality and method therefor
CN2009801275973A CN102100061B (zh) 2008-07-15 2009-07-15 画质改善装置及方法
US13/054,012 US8363166B2 (en) 2008-07-15 2009-07-15 Image quality improving device and method
KR1020117001587A KR101235605B1 (ko) 2008-07-15 2009-07-15 화질 개선 장치 및 방법

Applications Claiming Priority (2)

Application Number Priority Date Filing Date Title
JP2008183520A JP4453777B2 (ja) 2008-07-15 2008-07-15 画質改善装置及び方法
JP2008-183520 2008-07-15

Publications (1)

Publication Number Publication Date
WO2010008011A1 true WO2010008011A1 (ja) 2010-01-21

Family

ID=41550413

Family Applications (1)

Application Number Title Priority Date Filing Date
PCT/JP2009/062787 Ceased WO2010008011A1 (ja) 2008-07-15 2009-07-15 画質改善装置及び方法

Country Status (6)

Country Link
US (1) US8363166B2 (enExample)
EP (1) EP2320638B1 (enExample)
JP (1) JP4453777B2 (enExample)
KR (1) KR101235605B1 (enExample)
CN (1) CN102100061B (enExample)
WO (1) WO2010008011A1 (enExample)

Families Citing this family (8)

* Cited by examiner, † Cited by third party
Publication number Priority date Publication date Assignee Title
KR20140086632A (ko) 2012-12-28 2014-07-08 삼성디스플레이 주식회사 영상 처리 장치 및 그것을 포함하는 표시 장치
CN104809694B (zh) * 2014-01-23 2020-04-03 腾讯科技(深圳)有限公司 一种数字图像处理方法和装置
US10057566B2 (en) * 2014-04-04 2018-08-21 Tektronix, Inc. Depth of field indication using focus-peaking picture markers
JP6551048B2 (ja) 2015-08-24 2019-07-31 株式会社Jvcケンウッド 水中撮影装置、水中撮影装置の制御方法、水中撮影装置の制御プログラム
CN105447830B (zh) * 2015-11-27 2018-05-25 合一网络技术(北京)有限公司 动态视频图像清晰度强化方法及装置
JP7101539B2 (ja) * 2018-05-22 2022-07-15 キヤノン株式会社 画像処理装置、画像処理方法、及びプログラム
CN110518455B (zh) * 2019-08-06 2021-01-19 西安交通大学 一种消除外腔可调谐半导体激光器内腔非线性的硬件电路
CN117121468A (zh) * 2021-04-13 2023-11-24 三星电子株式会社 电子装置及其控制方法

Citations (10)

* Cited by examiner, † Cited by third party
Publication number Priority date Publication date Assignee Title
JPH024367U (enExample) * 1988-06-20 1990-01-11
JPH04973A (ja) * 1990-04-18 1992-01-06 Mitsubishi Electric Corp 映像信号処理装置
JPH0422224A (ja) * 1990-05-16 1992-01-27 Matsushita Electric Ind Co Ltd Yc分離回路
JPH05167889A (ja) * 1991-04-25 1993-07-02 Olympus Optical Co Ltd 画像信号処理装置
JPH05344386A (ja) * 1992-06-09 1993-12-24 Matsushita Electric Ind Co Ltd 画像輪郭強調器
JPH05344385A (ja) 1992-06-09 1993-12-24 Matsushita Electric Ind Co Ltd 画像輪郭強調回路
JPH07177386A (ja) * 1993-12-21 1995-07-14 Matsushita Electric Ind Co Ltd 画像輪郭強調装置
JPH08111792A (ja) * 1994-10-13 1996-04-30 Matsushita Electric Ind Co Ltd 画像輪郭強調器
JP2002190968A (ja) * 2000-12-22 2002-07-05 Matsushita Electric Ind Co Ltd 垂直輪郭補正装置
JP2004120741A (ja) * 2002-09-05 2004-04-15 Eastman Kodak Co デジタル画像鮮鋭化方法

Family Cites Families (10)

* Cited by examiner, † Cited by third party
Publication number Priority date Publication date Assignee Title
JPH03285472A (ja) 1990-03-31 1991-12-16 Toshiba Corp 水平輪郭強調回路
KR950012192B1 (ko) * 1993-06-29 1995-10-14 엘지전자 주식회사 콤브 필터와 회전제어장치
KR100206319B1 (ko) * 1995-12-13 1999-07-01 윤종용 비디오 신호의 로컬 콘트라스트 개선을 위한 방법및장치
KR100343744B1 (ko) 2000-09-30 2002-07-20 엘지전자주식회사 영상신호의 콘트라스트 향상 장치
US7177481B2 (en) 2000-12-19 2007-02-13 Konica Corporation Multiresolution unsharp image processing apparatus
US7274828B2 (en) 2003-09-11 2007-09-25 Samsung Electronics Co., Ltd. Method and apparatus for detecting and processing noisy edges in image detail enhancement
EP1754369A1 (en) 2004-05-25 2007-02-21 Koninklijke Philips Electronics N.V. Method and system for enhancing the sharpness of a video signal.
KR20060091637A (ko) * 2005-02-16 2006-08-21 삼성전자주식회사 고주파 성분을 조절하여 영상의 선명도를 조절할 수 있는영상 보정 회로
JP4555207B2 (ja) 2005-10-18 2010-09-29 Necディスプレイソリューションズ株式会社 画質改善装置および画質改善方法
US8531610B2 (en) * 2007-12-28 2013-09-10 Entropic Communications, Inc. Arrangement and approach for image data processing

Patent Citations (10)

* Cited by examiner, † Cited by third party
Publication number Priority date Publication date Assignee Title
JPH024367U (enExample) * 1988-06-20 1990-01-11
JPH04973A (ja) * 1990-04-18 1992-01-06 Mitsubishi Electric Corp 映像信号処理装置
JPH0422224A (ja) * 1990-05-16 1992-01-27 Matsushita Electric Ind Co Ltd Yc分離回路
JPH05167889A (ja) * 1991-04-25 1993-07-02 Olympus Optical Co Ltd 画像信号処理装置
JPH05344386A (ja) * 1992-06-09 1993-12-24 Matsushita Electric Ind Co Ltd 画像輪郭強調器
JPH05344385A (ja) 1992-06-09 1993-12-24 Matsushita Electric Ind Co Ltd 画像輪郭強調回路
JPH07177386A (ja) * 1993-12-21 1995-07-14 Matsushita Electric Ind Co Ltd 画像輪郭強調装置
JPH08111792A (ja) * 1994-10-13 1996-04-30 Matsushita Electric Ind Co Ltd 画像輪郭強調器
JP2002190968A (ja) * 2000-12-22 2002-07-05 Matsushita Electric Ind Co Ltd 垂直輪郭補正装置
JP2004120741A (ja) * 2002-09-05 2004-04-15 Eastman Kodak Co デジタル画像鮮鋭化方法

Non-Patent Citations (1)

* Cited by examiner, † Cited by third party
Title
See also references of EP2320638A4

Also Published As

Publication number Publication date
JP2010028178A (ja) 2010-02-04
US8363166B2 (en) 2013-01-29
EP2320638A4 (en) 2011-08-03
KR101235605B1 (ko) 2013-02-21
JP4453777B2 (ja) 2010-04-21
KR20110022689A (ko) 2011-03-07
EP2320638A1 (en) 2011-05-11
CN102100061B (zh) 2013-11-13
CN102100061A (zh) 2011-06-15
EP2320638B1 (en) 2015-03-04
US20110267540A1 (en) 2011-11-03

Similar Documents

Publication Publication Date Title
JP4453777B2 (ja) 画質改善装置及び方法
KR100343744B1 (ko) 영상신호의 콘트라스트 향상 장치
JP5595585B2 (ja) 画像処理装置及び方法
JP2007208399A (ja) 画像処理装置、画像処理方法、画像処理方法のプログラム及び画像処理方法のプログラムを記録した記録媒体
JP3364342B2 (ja) 雑音除去装置
JP4538358B2 (ja) 画像処理装置
US20030016880A1 (en) Image signal processing apparatus
WO1999011055A1 (en) Apparatus for correcting vertical contours
JP5349204B2 (ja) 画像処理装置及び方法、並びに画像表示装置及び方法
JPH11136541A (ja) 垂直輪郭補正装置
JP4454375B2 (ja) 画像エッジ補正装置、映像表示装置、及び画像エッジ補正方法
JP3242934B2 (ja) 輪郭補正装置
JP5247627B2 (ja) 画像処理装置及び方法、並びに画像表示装置
JP2004080299A (ja) ノイズ除去回路及び除去方法
JP2001148474A (ja) 固体撮像素子
US8718395B2 (en) Image processing apparatus, display apparatus provided with same, and image processing method
US8184203B1 (en) Video enhancement with separate and distinct methods of enhancement for single transitions and double transitions of opposite polarity
WO2017082286A1 (ja) 輪郭強調処理回路、輪郭強調処理方法、及びテレビジョンカメラ
JP2755112B2 (ja) 輪郭補正回路
JP3233331B2 (ja) 輪郭補正回路
JP5225144B2 (ja) 画像処理装置及び方法、並びに画像表示装置
JP2004343645A (ja) 輪郭補正装置および輪郭補正方法
HK1160972A1 (en) Image processing device and method, and image display device
HK1160972B (en) Image processing device and method, and image display device
TW201110673A (en) System and method of contrast enhancement

Legal Events

Date Code Title Description
WWE Wipo information: entry into national phase

Ref document number: 200980127597.3

Country of ref document: CN

121 Ep: the epo has been informed by wipo that ep was designated in this application

Ref document number: 09797936

Country of ref document: EP

Kind code of ref document: A1

WWE Wipo information: entry into national phase

Ref document number: 13054012

Country of ref document: US

NENP Non-entry into the national phase

Ref country code: DE

ENP Entry into the national phase

Ref document number: 20117001587

Country of ref document: KR

Kind code of ref document: A

WWE Wipo information: entry into national phase

Ref document number: 2009797936

Country of ref document: EP