WO2009081878A1 - 車両用操舵装置 - Google Patents

車両用操舵装置 Download PDF

Info

Publication number
WO2009081878A1
WO2009081878A1 PCT/JP2008/073237 JP2008073237W WO2009081878A1 WO 2009081878 A1 WO2009081878 A1 WO 2009081878A1 JP 2008073237 W JP2008073237 W JP 2008073237W WO 2009081878 A1 WO2009081878 A1 WO 2009081878A1
Authority
WO
WIPO (PCT)
Prior art keywords
rotor
shaft
steering
housing
axial direction
Prior art date
Legal status (The legal status is an assumption and is not a legal conclusion. Google has not performed a legal analysis and makes no representation as to the accuracy of the status listed.)
Ceased
Application number
PCT/JP2008/073237
Other languages
English (en)
French (fr)
Japanese (ja)
Inventor
Yasuhiro Saitou
Hidetaka Otsuki
Yasuaki Tsuji
Current Assignee (The listed assignees may be inaccurate. Google has not performed a legal analysis and makes no representation or warranty as to the accuracy of the list.)
JTEKT Corp
Original Assignee
JTEKT Corp
Priority date (The priority date is an assumption and is not a legal conclusion. Google has not performed a legal analysis and makes no representation as to the accuracy of the date listed.)
Filing date
Publication date
Application filed by JTEKT Corp filed Critical JTEKT Corp
Priority to CN200880122948.7A priority Critical patent/CN101909968B/zh
Priority to US12/810,510 priority patent/US8047325B2/en
Priority to EP08865307.6A priority patent/EP2233383B1/en
Publication of WO2009081878A1 publication Critical patent/WO2009081878A1/ja
Anticipated expiration legal-status Critical
Ceased legal-status Critical Current

Links

Images

Classifications

    • BPERFORMING OPERATIONS; TRANSPORTING
    • B62LAND VEHICLES FOR TRAVELLING OTHERWISE THAN ON RAILS
    • B62DMOTOR VEHICLES; TRAILERS
    • B62D5/00Power-assisted or power-driven steering
    • B62D5/008Changing the transfer ratio between the steering wheel and the steering gear by variable supply of energy, e.g. by using a superposition gear
    • BPERFORMING OPERATIONS; TRANSPORTING
    • B62LAND VEHICLES FOR TRAVELLING OTHERWISE THAN ON RAILS
    • B62DMOTOR VEHICLES; TRAILERS
    • B62D5/00Power-assisted or power-driven steering
    • B62D5/04Power-assisted or power-driven steering electrical, e.g. using an electric servo-motor connected to, or forming part of, the steering gear
    • B62D5/0409Electric motor acting on the steering column
    • FMECHANICAL ENGINEERING; LIGHTING; HEATING; WEAPONS; BLASTING
    • F16ENGINEERING ELEMENTS AND UNITS; GENERAL MEASURES FOR PRODUCING AND MAINTAINING EFFECTIVE FUNCTIONING OF MACHINES OR INSTALLATIONS; THERMAL INSULATION IN GENERAL
    • F16HGEARING
    • F16H1/00Toothed gearings for conveying rotary motion
    • F16H1/28Toothed gearings for conveying rotary motion with gears having orbital motion
    • F16H1/32Toothed gearings for conveying rotary motion with gears having orbital motion in which the central axis of the gearing lies inside the periphery of an orbital gear
    • F16H1/321Toothed gearings for conveying rotary motion with gears having orbital motion in which the central axis of the gearing lies inside the periphery of an orbital gear the orbital gear being nutating

Definitions

  • the present invention relates to a steering apparatus for a vehicle.
  • the variable transmission ratio mechanism includes, for example, a motor as a drive source and a wave gear mechanism as a differential mechanism, as described in paragraph [0015] of Patent Document 5 mentioned above.
  • the rotation of the steering shaft based on the above-mentioned motor drive is added to the rotation of the steering shaft accompanying the steering operation.
  • the rotation of the steering shaft input to the rack and pinion mechanism is accelerated or decelerated, and the transmission ratio between the steering wheel and the steered wheels is varied.
  • the present invention aims to solve this problem.
  • the steering apparatus for a vehicle according to the present invention has a difference in that a first shaft (11) connected to the steering member (2) and a second shaft (12) connected to the steering mechanism (10) are coaxially connected.
  • Vehicle steering system (1) comprising a movement mechanism (5) and a transmission ratio variable motor (23) coaxially arranged with the first and second shafts to drive the differential mechanism (5)
  • the transmission ratio variable motor (23) includes a cylindrical rotor (231), a housing space (90) is defined radially inward of the rotor (231), and the vehicle steering apparatus is provided with a predetermined At least a part of the sensor (44; 44A, 43, 45) is disposed in the housing space (90).
  • the predetermined sensor and the rotor (231) can be arranged so as to overlap in the axial direction of the rotor (231), and the overall length of the device in the axial direction of the rotor (231) can be shortened.
  • the predetermined sensor may include a steering state detection sensor (44; 44A, 43, 45) for detecting a steering state.
  • the steering state detection sensor and the rotor (231) can be disposed so as to overlap in the axial direction of the rotor (231), and the total length of the device in the axial direction of the rotor (231) can be further shortened.
  • the steering state detection sensor (44; 44A, 43, 45) has signal detection portions (116, 117, 119, 120, 121, 45), and the steering member (2) It includes a torque sensor (44; 44A) for detecting the torque acting on a predetermined shaft member (12, 13) on the power transmission path (D) between the steering mechanism (10) and the steering mechanism (10) by the signal detection unit. It may be.
  • the torque sensor (44; 44A) and the rotor (231) can be arranged so as to overlap in the axial direction of the rotor (231), and the overall length of the device in the axial direction of the rotor (231) can be further shortened.
  • an electromagnetic shield member (122; 122A) between the signal detection portion (116, 117, 119, 120, 121, 45) and the rotor (231). In this case, it is possible to prevent the sensor from picking up external electromagnetic noise.
  • the torque sensor includes an annular portion surrounding the predetermined shaft member, and the annular portion includes an annular first synthetic resin portion for molding the signal detection portion and the electromagnetic shield member. It is also good.
  • a housing (24) for housing the rotor (231) is provided, and the housing includes an outer cylinder (89) surrounding the outer periphery of the rotor (231), and radially inward from the outer cylinder (89). And a connecting wall (94) adjacent to the rotor (231) in the axial direction (S) of the rotor (231), and an inner cylinder (93) extending from the connecting wall (94) into the housing space of the rotor (231).
  • the torque sensor (44; 44A) includes an annular portion (112; 112A) surrounding the shaft member (12, 13), and the inner cylinder (93) comprises the annular portion (112; 112A).
  • the inner cylinder (93) of the housing can hold the annular portion (112; 112A) of the torque sensor (44; 44A) in the accommodation space. Further, since the annular portion (112; 112A) can be inserted into the holding hole (123) along the axial direction, the torque sensor (44; 44A) can be disposed further to the rear side of the rotor (231). Can effectively utilize the dead space of
  • the torque sensor (44; 44A) extends from the annular part (112; 112A) along the radial outward direction of the annular part (112; 112A), with respect to the axial direction of the rotor (231). It may include a radially extending portion (132) adjacent to the rotor (231). In this case, the portion connected to the annular portion (112; 112A) can be extended radially outward of the rotor (231).
  • the electric wire (126) for transmitting the torque detection signal from the signal detection portion is passed through the annular portion (112; 112A) and the radially extending portion (321), and outside the rotor (231) It can be extended.
  • a torque detection signal can be transmitted to a control unit or the like outside the rotor (231).
  • the radially extending portion may be formed of a second synthetic resin portion.
  • the steering state detection sensor (44; 44A, 43, 45) is a predetermined shaft member or a rotor (on the power transmission path between the steering member (2) and the steering mechanism (10)). There may be included a rotation angle detection sensor (43, 45) for detecting the rotation angle of 231).
  • the rotation angle detection sensor and the rotor (231) can be disposed so as to overlap in the axial direction of the rotor (231), and the total length of the device in the axial direction of the rotor (231) can be further shortened.
  • an electromagnetic shield member can be disposed between the signal detection portion (116, 117, 119, 120, 121, 45) of the steering state detection sensor and the rotor (231).
  • FIG. 2 is a partial cross-sectional view showing a more specific configuration of the vehicle steering system.
  • FIG. 7 is an enlarged view of the vicinity of the opposite end of the first shaft and the second shaft. It is an enlarged view of a transmission ratio variable mechanism and its periphery.
  • FIG. 5 is a partial cross-sectional view of the periphery of the lock mechanism, taken along the line VV of FIG. 4; It is an enlarged view of the circumference of a torque sensor.
  • FIG. 7 is a cross-sectional view taken along the line VIIA-VIIA of FIG.
  • SYMBOLS 1 Steering device for vehicles, 2 ... Steering member, 5 ... Transmission ratio variable mechanism (differential mechanism), 10 ... Steering mechanism, 11 ... 1st shaft (1st axis
  • steering angle sensor predetermined sensor, steering state detection sensor, rotation angle detection Sensor
  • outer cylinder 90 housing space 93 inner cylinder 94 connection wall 108 resolver stator 112, 112A annular portion 116 117 magnetic yoke (signal detection portion) 119 120 ... magnetism collecting ring ( Detection part), 121 ... Hall IC (signal detection part) 122, 122A ... electromagnetic shield member, 123 ... holding hole, 132 ... second synthetic resin part (radially extending part), 231 ... (transmission ratio Rotor for variable mechanism motor, 452 (Stator angle sensor) Stator (for signal detection)
  • D Power transmission path
  • F1 Receiving direction
  • S Axial direction
  • ⁇ r (Rotor's) rotation angle
  • FIG. 1 is a schematic view showing a schematic configuration of a vehicle steering system 1 including a transmission ratio variable mechanism according to an embodiment of the present invention.
  • the vehicle steering device 1 performs steering by applying a steering torque applied to the steering member 2 such as a steering wheel to each of the left and right steered wheels 4L and 4R via the steering shaft 3 and the like. It has a VGR (Variable Gear Ratio) function that can change the transmission ratio ⁇ 2 / ⁇ 1 of the turning angle ⁇ 2 of the steered wheels with respect to the steering angle ⁇ 1 of the steering member 2.
  • VGR Vehicle Gear Ratio
  • the vehicle steering system 1 includes a steering member 2 and a steering shaft 3 connected to the steering member 2.
  • the steering shaft 3 includes first to third shafts 11 to 13 coaxially arranged with one another.
  • a first axis A which is a central axis of the first to third shafts 11 to 13, is also a rotation axis of the first to third shafts 11 to 13.
  • the axial direction S of the steering shaft 3 is simply referred to as “axial direction S”
  • the radial direction R of the steering shaft 3 is simply referred to as “radial direction R”
  • the circumferential direction C of the steering shaft 3 is simply “peripheral It is called "direction C”.
  • the steering member 2 is rotatably connected to one end of the first shaft 11 in the same direction.
  • the other end of the first shaft 11 and one end of the second shaft 12 are differentially rotatably coupled via a transmission ratio variable mechanism 5 as a differential mechanism.
  • the other end of the second shaft 12 and one end of the third shaft 13 are elastically connected rotatably relative to each other via a torsion bar 14 so that power can be transmitted.
  • one end refers to an end close to the steering member 2 and “the other end” refers to an end close to the steering mechanism 10.
  • the other end of the third shaft 14 is connected to the steered wheels 4L and 4R via the universal joint 7, the intermediate shaft 8, the universal joint 9, the steering mechanism 10, and the like.
  • the steering mechanism 10 has a pinion shaft 15 connected to the universal joint 9 and a rack shaft 16 having a rack 16a meshing with a pinion 15a at the tip of the pinion shaft 15 and extending in the left-right direction of the vehicle. doing.
  • Knuckle arms 18L and 18R are connected to the pair of ends of the rack shaft 16 via tie rods 17L and 17R, respectively.
  • the rotation of the steering member 2 is transmitted to the steering mechanism 10 via the steering shaft 3 and the like.
  • the rotation of the pinion 15a is converted into the movement of the rack shaft 16 in the axial direction.
  • the axial movement of the rack shaft 16 is transmitted to the corresponding knuckle arms 18L and 18R via the tie rods 17L and 17R, and these knuckle arms 18L and 18R rotate respectively.
  • the corresponding steered wheels 4L, 4R connected to the knuckle arms 18L, 18R are steered respectively.
  • the transmission ratio variable mechanism 5 is for changing the rotation transmission ratio (transmission ratio ⁇ 2 / ⁇ 1) between the first and second shafts 11 and 12 of the steering shaft 3.
  • the transmission ratio variable mechanism 5 includes an input member 20 provided at the other end of the first shaft 11, an output member 22 provided at one end of the second shaft 12, an input member 20 and an output member 22. And an orbital ring unit 39 interposed therebetween.
  • the input member 20 is coaxially and coaxially connected to the first shaft 11, and the output member 22 is coaxially and coaxially connected to the second shaft 12.
  • the first axis A is also a central axis and a rotational axis of the input member 20 and the output member 22.
  • the output member 22 is connected to the steered wheels 4L and 4R via the second shaft 12 and the steering mechanism 10 and the like.
  • the bearing ring unit 39 has a second axis B as a central axis inclined with respect to the first axis A, and an inner ring 391 as a first bearing ring and an outer ring as a second bearing ring And 392 and rolling elements 393 such as balls interposed between the inner ring 391 and the outer ring 392.
  • the inner ring 391 couples the input member 20 and the output member 22 in a differentially rotatable manner, engages with the input member 20 in a rotatable manner, and engages with the output member 22 in a rotatable manner.
  • the inner race 391 is rotatably supported by the outer race 392 via the rolling elements 393, and is therefore rotatable around the second axis B.
  • a motor for variable transmission ratio mechanism 23 as an actuator for driving the outer ring 392 is provided.
  • the outer ring 392 can rotate around the first axis A as the variable transmission ratio motor 23 is driven.
  • the inner ring 391 is capable of Coriolis movement (swinging movement) around the first axis A.
  • the transmission ratio variable mechanism motor 23 is a brushless motor coaxially disposed with the steering shaft 3, and coaxially disposed with the first and second shafts 11 and 12 to drive the transmission ratio variable mechanism 5. It is done.
  • the first axis A is also a central axis of the first and second shafts 11 and 12.
  • the transmission ratio variable mechanism motor 23 changes the transmission ratio ⁇ 2 / ⁇ 1 by changing the number of revolutions of the outer ring 392 about the first axis A.
  • the transmission ratio variable mechanism motor 23 includes a cylindrical rotor 231 for holding the bearing ring unit 39, and a stator 232 that surrounds the rotor 231 and is fixed to the housing 24.
  • the vehicle steering system 1 further includes a steering assist force application mechanism 19 for applying a steering assist force to the steering shaft 3.
  • the steering assist force application mechanism 19 includes the second shaft 12 as an input shaft connected to the output member 22 of the transmission ratio variable mechanism 5 and the third shaft as an output shaft connected to the steering mechanism 10.
  • a torque sensor 44 which is a steering state detection sensor for detecting a torque transmitted between the second shaft 12 and the third shaft 13
  • a steering assist motor 25 as an actuator for steering assist
  • a speed reduction mechanism 26 interposed between the steering assist motor 25 and the third shaft 13 is included.
  • the steering assist motor 25 is an electric motor such as a brushless motor.
  • the output of the steering assist motor 25 is transmitted to the third shaft 13 via the reduction mechanism 26.
  • the reduction mechanism 26 is, for example, a worm gear mechanism.
  • the reduction mechanism 26 is a worm shaft 27 as a drive gear connected to the output shaft 25 a of the steering assist motor 25 and a driven gear engaged with the worm shaft 27 and rotatably connected to the third shaft 13. And a worm wheel 28.
  • the transmission ratio variable mechanism 5 and the steering assist force application mechanism 19 are accommodated in a housing 24.
  • the housing 24 is disposed in a passenger compartment (cabin) of the vehicle.
  • the housing 24 may be disposed to surround the intermediate shaft 8 or may be disposed in the engine room of the vehicle.
  • the drive of the transmission ratio variable mechanism motor 23 and the steering assist motor 25 is controlled by a control unit 29 including a CPU, a RAM and a ROM, respectively.
  • the control unit 29 is connected to the transmission ratio variable mechanism motor 23 via the drive circuit 40, and is connected to the steering assist motor 25 via the drive circuit 41.
  • the control unit 29 includes a steering angle sensor 42, a motor resolver 43 as a rotation angle detection sensor that detects a rotation angle of the rotor 231 of the transmission ratio variable mechanism motor 23, a torque sensor 44, a turning angle sensor 45, and a vehicle speed sensor 46. And the yaw rate sensor 47 are connected.
  • a signal about the rotation angle of the first shaft 11 is input from the steering angle sensor 42 to the control unit 29 as a value corresponding to the steering angle ⁇ 1 which is an operation amount from the straight movement position of the steering member 2.
  • a signal about the rotation angle ⁇ r of the rotor 231 of the transmission ratio variable mechanism motor 23 is input from the motor resolver 43 to the control unit 29.
  • a signal about torque acting between the second and third shafts 12 and 13 is input from the torque sensor 44 to the control unit 29 as a value corresponding to the steering torque T acting on the steering member 2.
  • a signal about the rotation angle of the third shaft 13 is input from the turning angle sensor 45 to the control unit 29 as a value corresponding to the turning angle ⁇ 2.
  • a signal about the vehicle speed V is input from the vehicle speed sensor 46 to the control unit 29.
  • a signal about the yaw rate ⁇ of the vehicle is input from the yaw rate sensor 47 to the control unit 29.
  • the control unit 29 controls the drive of the transmission ratio variable mechanism motor 23 and the steering assist motor 25 based on the signals of the sensors 42 to 47 and the like.
  • the torque from the steering member 2 and the torque from the transmission ratio variable mechanism 5 are transmitted to the steering mechanism 10 via the steering assist force application mechanism 19.
  • the steering torque input to the steering member 2 is input to the input member 20 of the variable transmission ratio mechanism 5 via the first shaft 11, and is input to the inner race 391 from the input member 20.
  • the torque from the transmission ratio variable mechanism motor 5 transmitted to the inner ring 391 via the outer ring 392 and the rolling element 393 is transmitted to the inner ring 391, and these torques are output member It is transmitted to 22.
  • the torque transmitted to the output member 22 is transmitted to the second shaft 12.
  • the torque transmitted to the second shaft 12 is transmitted to the torsion bar 14 and the third shaft 13, and combined with the output from the steering assist motor 25, via the universal joint 7, the intermediate shaft 8 and the universal joint 9. Is transmitted to the steering mechanism 10.
  • the power transmission path D for transmitting the torque of the steering member 2 to the steering mechanism 10 is configured.
  • the power transmission path D includes a first shaft 11, an input member 20, an inner ring 391, an output member 22, a second shaft 12, a torsion bar 14 and a third shaft 13, a universal joint 7, an intermediate shaft 8, and a universal joint. It is a route passing through nine.
  • FIG. 2 is a partial sectional view showing a more specific structure of the main part of FIG.
  • the housing 24 is formed in a cylindrical shape as a whole using, for example, a metal such as an aluminum alloy, and includes first to third housings 51 to 53.
  • the first housing 51 has a tubular shape.
  • the first housing 51 constitutes a differential mechanism housing that accommodates the transmission ratio variable mechanism 5 as a differential mechanism, and accommodates the transmission ratio variable mechanism motor 23 in cooperation with the second housing 52. Constitute a motor housing.
  • One end of the first housing 51 is covered by an end wall member 54.
  • One end of the first housing 51 and the end wall member 54 are fixed to each other using a fastening member 55 such as a bolt.
  • An annular convex portion 57 at one end of the second housing 52 is fitted to the inner peripheral surface 56 at the other end of the first housing 51.
  • the first and second housings 51 and 52 are fixed to each other using a fastening member (not shown) such as a bolt.
  • the second housing 52 is cylindrical.
  • the second housing 52 constitutes a sensor housing accommodating the torque sensor 44, a resolver housing accommodating the motor resolver 43, and a part of the motor housing accommodating the transmission ratio variable mechanism motor 23.
  • the second housing 52 accommodates a bus bar 99 described later and a lock mechanism 58 for locking the rotor 231 of the transmission ratio variable mechanism motor 23.
  • the inner peripheral surface 60 of one end of the third housing 53 is fitted to the outer peripheral surface 59 of the other end of the second housing 52.
  • the third housing 53 has a tubular shape, and constitutes a speed reduction mechanism housing that accommodates the speed reduction mechanism 26.
  • An end wall portion 61 is provided at the other end of the third housing 53.
  • the end wall 61 is annular and covers the other end of the third housing 53.
  • FIG. 3 is an enlarged view of the vicinity of the opposing ends 11 b and 12 a of the first shaft 11 and the second shaft 12 of FIG. 2. Referring to FIG. 3, the input member 20, the output member 22 and the bearing ring unit 39 of the variable transmission ratio mechanism 5 are each formed in an annular shape.
  • the input member 20 is integrally formed as a whole using a single member, and includes an input member main body 201 and an input member side cylindrical portion 202 disposed radially inward of the input member main body 201. There is.
  • the input member main body 201 is rotatably supported by an annular convex portion 92 described later of the first housing 51 via the first bearing 31.
  • the first shaft 11 is inserted into the input member-side tubular portion 202, so that the input member-side tubular portion 202 and the first shaft 11 are rotatably coupled together.
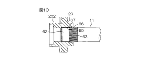
  • the other end 11b of the first shaft 11 includes a press-fit portion 62 formed of a cylindrical surface, and a male serration portion 63 disposed on one side S1 in the axial direction S with respect to the press-fit portion 62.
  • the inner peripheral surface of the input member side cylindrical portion 202 is a pressed-in portion 64 formed of a cylindrical surface, a female serration portion 65 disposed on one S1 side in the axial direction S with respect to the pressed-in portion 64, and a female serration.
  • a large diameter portion 66 which is disposed on one S1 side in the axial direction S with respect to the portion 65 and is formed larger in diameter than the outer diameter of the first shaft 11 is included.
  • the male serration portion 63 of the first shaft 11 is continuously disposed on one side S1 side in the axial direction S with respect to the guide portion 67 connected to the press-fit portion 62 and the guide portion 67, and the male serration portion having a constant outer diameter And a main body 68.
  • the guide portion 67 of the first shaft 11 is a guide when inserting the male serration portion 63 into the female serration portion 65.
  • the outer diameter of the guide portion 67 increases as it proceeds to one S1 side in the axial direction S, and the minimum diameter of the guide portion 67 is approximately equal to the outer diameter of the press-fit portion 62, and the maximum diameter is the male serration portion main body It is approximately equal to the outer diameter of 68.
  • the male serrations 63 are relatively long, and the press-in portions 62 are relatively short.
  • the length of the press-fit portion 64 of the input member 20 in the axial direction S is substantially the same as that of the press-fit portion 62.
  • the first shaft 11 and the input member 20 are rotatably coupled together by press-fitting and fixing the press-fit portion 62 and the press-fit portion 64 to each other.
  • the allowable transmission torque between the press-fit portion 62 and the press-fit portion 64 is, for example, about 20 N ⁇ m, and the torque is transmitted between the press-fit portion 62 and the press-fit portion 64 in a normal steering state. Ru.
  • the length of the female serration portion 65 of the input member 20 in the axial direction S is substantially the same as that of the male serration portion 63, and is engaged with the male serration portion 63.
  • a predetermined gap is provided in the circumferential direction C between the teeth of these serrations 63 and 65, and torque is not transmitted between these serrations 63 and 65 in the normal steering state. ing.
  • an extremely large reverse input acts from each of the steered wheels 4L and 4R, and this reverse input is transmitted between the input member 20 and the first shaft 11 via the third shaft 13 or the like, and the press-fit portion 64
  • a torque for example, 200 N ⁇ m to 300 N ⁇ m
  • slippage occurs between the press-fit portion 64 and the press-fit portion 62.
  • the teeth of the serrations 63, 65 mesh with each other. At this time, torque is transmitted between the serration portions 63 and 65, whereby torque is transmitted between the input member 20 and the first shaft 11.
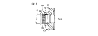
  • the output member 22 is integrally formed as a whole using a single member, and includes an output member main body 221 and an output member side cylindrical portion 222 disposed radially inward of the output member main body 221. There is.
  • the output member main body 221 is rotatably supported by the tip of an inner cylinder 93 described later of the second housing 52 via the third bearing 33.
  • the second shaft 12 is inserted into the output member side cylindrical portion 222, and the output member side cylindrical portion 222 and the second shaft 12 are connected to be rotatable together.
  • the middle portion 12b of the second shaft 12 includes a press-fit portion 62 formed of a cylindrical surface and a male serration portion 63 disposed on the other side S2 in the axial direction S with respect to the press-fit portion 62. There is.
  • the inner peripheral surface of the output member side cylindrical portion 222 is a pressed-in portion 64 formed of a cylindrical surface, a female serration portion 65 disposed on the other side S2 in the axial direction S with respect to the pressed-in portion 64, and a female serration. It includes a large diameter portion 66 which is disposed on the other side S 2 in the axial direction S with respect to the portion 65 and is formed larger in diameter than the outer diameter of the middle portion 12 b of the second shaft 12.
  • the outer diameter of the one end 12a of the second shaft 12 is smaller than the minimum diameter of the inner peripheral surface of the output member 22, and the one end 12a can be loosely fitted to the output member side cylindrical portion 222 There is.
  • the male serration portion 63 of the second shaft 12 is continuously disposed on the guide portion 67 connected to the press-fit portion 62 of the second shaft 12 and on the other S2 side in the axial direction S with respect to the guide portion 67. And a male serration body 68 having a constant diameter.
  • the guide portion 67 of the second shaft 12 is a guide when the male serration portion 63 is inserted into the female serration portion 65.
  • the outer diameter of the guide portion 67 of the second shaft 12 increases as it proceeds to the other S2 side in the axial direction S, and the minimum diameter of the guide portion 67 is approximately equal to the outer diameter of the press-fit portion 62, and the maximum diameter Is approximately equal to the outer diameter of the male serration portion body 68.
  • the male serrations 63 are relatively long, and the press-in portions 62 are relatively short.
  • the length of the press-fit portion 64 of the output member 22 in the axial direction S is substantially the same as that of the press-fit portion 62.
  • the second shaft 12 and the output member 22 are rotatably coupled together by press fitting and fixing the press-fit portion 62 and the press-fit portion 64 to each other.
  • the allowable transmission torque between the press-fit portion 62 and the press-fit portion 64 is, for example, about 20 N ⁇ m, and in a normal steering state, the torque is transmitted between the press-fit portion 62 and the press-fit portion 64. Be done.
  • the length of the female serration portion 65 of the output member 22 in the axial direction S is substantially the same as that of the male serration portion 63 of the second shaft 12, and is fitted to the male serration portion 63.
  • a predetermined gap is provided in the circumferential direction C between the teeth of these serrations 63 and 65, and torque is not transmitted between these serrations 63 and 65 in the normal steering state. ing.
  • an extremely large reverse input acts from each of the steered wheels 4L and 4R, and this reverse input is transmitted between the output member 22 and the second shaft 12 via the third shaft 13 or the like, and the press-fit portion 64
  • a torque for example, 200 N ⁇ m to 300 N ⁇ m
  • slippage occurs between the press-fit portion 64 and the press-fit portion 62.
  • the teeth of the serrations 63, 65 mesh with each other. At this time, torque is transmitted between the serration portions 63 and 65, whereby torque is transmitted between the output member 22 and the second shaft 12.
  • the gaps between the teeth of the serrations 63 and 65 may be closed to lightly press each other's teeth (light pressure contact).
  • the power transmission surface 73 and the first end surface 75 face each other in the axial direction S of the steering shaft 3.
  • a first uneven engaging portion 71 is provided on each of the input member main body 201 and the inner ring 391.
  • the inner race 391 and the output member 22 can transmit power by being provided with the second uneven engagement portion 72 in each of the inner race 391 and the output member 22.
  • the first concavo-convex engaging portion 71 is formed on a first convex portion 74 formed on the power transmission surface 73 as one end surface of the input member main body 201 and a first end surface 75 as one end surface of the inner ring 391. And a first recess 76 engaged with the first protrusion 74.
  • the first protrusions 74 are formed at equal intervals all around the input member 20.
  • the first recesses 76 are formed at equal intervals all around the inner ring 391.
  • the first axis 74 of the first convex portion 74 When the second axis B of the inner ring 391 is inclined at a predetermined angle E with respect to the first axis A of the input member 20 and the output member 22, the first axis 74 of the first convex portion 74 The convex portion 74 of 1 and the first concave portion 76 of a part of the first concave portions 76 mesh with each other.
  • the number of first protrusions 74 is different from the number of first recesses 76. Depending on the difference between the number of first projections 74 and the number of first recesses 76, differential rotation can be generated between the input member 20 and the inner ring 391.
  • “rollers” formed separately from the input member main body 201 may be used instead of the first convex portion 74.
  • the "rollers” are disposed on the power transmission surface 73 and both ends are rotatably supported by the cage.
  • the power transmission surface 77 and the second end surface 79 face each other in the axial direction S of the steering shaft 3.
  • the second uneven engagement portion 72 is formed on a second convex portion 78 formed on the power transmission surface 77 as one end surface of the output member 22 and on a second end surface 79 as the other end surface of the inner ring 391.
  • a second recess 80 engaged with the second protrusion 78.
  • the second convex portion 78 of the second concavo-convex engaging portion 72 has the same configuration as the first convex portion 74, and the second concave portion 80 has the same configuration as the first concave portion 76. Have. Therefore, the description of the details of the second uneven engagement portion 72 is omitted.
  • the opposing ends 11 b and 12 a of the first shaft 11 and the second shaft 12 are coaxially and relatively rotatably supported by a support mechanism 81.
  • the support mechanism 81 includes the above-described input member side cylindrical portion 202 and an eighth bearing 38.
  • the input member side cylinder portion 202 surrounds the facing end portions 11 b and 12 a of the first and second shafts 11 and 12, respectively.
  • One end of the input member side cylindrical portion 202 is opposed to the first bearing 31 in the radial direction R.
  • the other end of the input member side cylindrical portion 202 is opposed to the opposite end 12 a of the second shaft 12 in the radial direction R.
  • a bearing holding hole 84 is formed at the other end of the input member side cylindrical portion 202, and the opposite end 12a of the second shaft 12 is inserted through the bearing holding hole 84.
  • An eighth bearing 38 intervenes between the facing end 12a of the second shaft 12 and the bearing holding hole 84 to allow relative rotation between the input member side cylindrical portion 202 and the second shaft 12 .
  • FIG. 4 is an enlarged view of the transmission ratio variable mechanism 5 of FIG. 2 and the periphery thereof.
  • the rotor 231 of the transmission ratio variable mechanism motor 23 includes a cylindrical rotor core 85 extending in the axial direction S, and a permanent magnet 86 fixed to the outer peripheral surface of the rotor core 85.
  • the axial direction S is also the axial direction of the rotor 231.
  • the material of the rotor core 85 can be exemplified by steel, aluminum alloy, clad material, and resin material. In the case of using a clad material which is a composite material in which a plurality of types of metals are bonded, resonance can be suppressed.
  • the rotor core 85 is accommodated in an outer cylinder 89 formed by the cooperation of the outer diameter portions 87 and 88 of the first and second housings 51 and 52.
  • Each outer shape portion 87, 88 has a substantially cylindrical shape, and is continuously formed adjacent to each other in the axial direction S.
  • the outer periphery of the rotor core 85 is surrounded by the outer cylinder 89.
  • the rotor core 85 defines a cylindrical accommodation space 90 radially inward.
  • the inner peripheral surface of the rotor core 85 is formed with an inclined hole 91 which is inclined with respect to the first axis A, with the second axis B as a central axis.
  • the outer ring 392 of the bearing ring unit 39 is press-fitted and fixed to the inclined hole 91, whereby the outer ring 392 and the rotor core 85 are coupled together rotatably around the first axis A.
  • the rotor core 85 is supported on both sides by the second bearing 32 and the fourth bearing 34.
  • the second bearing 32 is disposed between the inner peripheral surface of the one end portion 85 a of the rotor core 85 and the outer peripheral surface of the annular convex portion 92 formed on the inner diameter portion of one end of the first housing 51. It is done.
  • the fourth bearing 34 is disposed between the inner peripheral surface of the intermediate portion 85 c of the rotor core 85 and the outer peripheral surface of the tip of the inner cylinder 93 of the second housing 52.
  • the inner cylinder 93 is formed in a cylindrical shape and extends to one S1 side in the axial direction S, the middle portion and the tip portion are disposed in the housing space 90 of the rotor core 85, and the base end portion with respect to the rotor core 85 And protrudes toward the other side S2 in the axial direction S.
  • the proximal end of the inner cylinder 93 is extended from the inner diameter of the annular connecting wall 94.
  • the connection wall 94 extends inward in the radial direction R from a portion of the outer cylinder 89 on the outer diameter portion 87 side of the second housing 52 and is adjacent to the other end 85 b of the rotor core 85 in the axial direction S doing.
  • the connection wall 94 covers the other end of the second housing 52.
  • the permanent magnets 86 of the rotor 231 have different magnetic poles alternately in the circumferential direction C, and with respect to the circumferential direction C, N poles and S poles are alternately disposed at equal intervals.
  • the permanent magnet 86 is fixed to the outer peripheral surface of the middle portion 85 c of the rotor core 85.
  • the stator 232 of the transmission ratio variable mechanism motor 23 includes an annular stator core 95 formed by laminating a plurality of electromagnetic steel plates, and an electromagnetic coil 96.
  • the outer peripheral surface of the stator core 95 is fixed to the inner peripheral surface of the outer diameter portion 87 of the first housing 51 by shrink fitting or the like.
  • An electromagnetic coil 96 is wound around each tooth of the stator core 95.
  • a bus bar 99 is disposed on the other side S 2 in the axial direction S with respect to the stator 232 of the variable transmission ratio motor 23.
  • the bus bar 99 is accommodated in the second housing 52 in an annular shape as a whole, and is connected to each electromagnetic coil 96 of the transmission ratio variable mechanism motor 23.
  • the bus bar 99 supplies power from the drive circuit to each electromagnetic coil 96.
  • a harness (not shown) for transmitting a signal to the outside of the housing 24 is attached to the bus bar 99.
  • FIG. 5 is a partial cross-sectional view of the periphery of the lock mechanism 58, taken along the line VV of FIG. Referring to FIGS. 4 and 5, lock mechanism 58 engages lock holder 100 as a restricted portion coupled rotatably together with rotor core 85, and rotation of lock folder 100 by engaging lock folder 100. And a solenoid 102 as an actuator for driving the lock lever 101. As shown in FIG.
  • the lock folder 100 is formed by cutting a metal annular member.
  • a recess 103 is formed on the outer peripheral surface of the lock folder 100.
  • Recesses 103 are formed at one or more locations in the circumferential direction of lock folder 100.
  • the lock lever 101 is a lever member extending inward from the outside of the second housing 52, and the proximal end is disposed close to the solenoid 102 and the distal end is disposed close to the lock folder 100.
  • the lock lever 101 is inserted through a through hole 104 penetrating the second housing 52 in the radial direction R, and is not in contact with the second housing 52.
  • the rod 102 a of the solenoid 102 is connected to the proximal end of the lock lever 101.
  • a support shaft insertion hole 101a is formed in an intermediate portion on the base end side of the lock lever 101, and a support shaft 105 held in the second housing 52 and extending in the axial direction S is formed in the support shaft insertion hole 101a. It is inserted.
  • the lock lever 101 is rotatably supported around the support shaft 105 by the support shaft 105.
  • the tip of the lock lever 101 is formed using an elastic member 101 b.
  • the elastic member 101 b is for reducing an engagement noise when the lock lever 101 engages with the lock folder 100 to restrict the rotation of the lock folder 100, and is made of, for example, a synthetic resin such as a thermoplastic elastomer. It is formed using.
  • the elastic member 101b has a convex shape that can be fitted into the concave portion 103 of the lock folder 100, and has a higher elasticity than the metal main portion 101c that constitutes the base end portion and the middle portion of the lock lever 101. have.
  • the elastic member 101 b is formed by injection molding on the front end surface 101 d of the main body portion 101 c.
  • the engagement convex portion 101e formed at the proximal end of the elastic member 101b is fitted into the engagement concave portion 101f formed at the distal end of the main portion 101c, whereby the elastic member 101b and the main portion 101c are sufficiently coupled.
  • the strength is secured.
  • An engagement recess may be formed at the base end of the elastic member 101b, and an engagement projection may be formed at the distal end of the main body 101c, and both may be fitted.
  • the solenoid 102 has a solenoid housing 102b fixed to the second housing 52, and a rod 102a supported by the solenoid housing 102b is movable forward and backward with respect to the solenoid housing 102b.
  • the proximal end of the lock lever 101 is connected to the tip of the rod 102a.
  • the rod 102a is in a state of being drawn into the solenoid housing 102b while energization of an electromagnetic coil (not shown) accommodated in the solenoid housing 102b is turned on.
  • the base end of the lock lever 101 is pulled toward the solenoid housing 102 b, and the elastic member 101 b at the tip of the lock lever 101 does not engage with the lock folder 100.
  • the rotation of the lock folder 100 is not restricted.
  • the rod 102a protrudes from the solenoid housing 102b as indicated by a two-dot chain line.
  • the lock lever 101 is pivoted, and the elastic member 101b is engaged with the recess 103 of the lock folder 100. Regulate the rotation of 100.
  • the motor resolver 43 is disposed on the other side S ⁇ b> 2 in the axial direction S with respect to the lock mechanism 58.
  • the motor resolver 43 includes a resolver rotor 107 and a resolver stator 108.
  • the resolver rotor 107 is fixed to the outer peripheral surface of the other end 85 b of the rotor core 85.
  • the resolver stator 108 includes an annular stator core 109 press-fitted and fixed to the inner peripheral surface of the outer diameter portion 88 of the second housing 52, and an electromagnetic coil 110.
  • the electromagnetic coil 110 is wound around each tooth of the stator core 109.
  • the above-described bus bar 99 is connected to each electromagnetic coil 110 of the resolver stator 108.
  • the bus bar 99 is configured to output a signal from each electromagnetic coil 110 to the control unit.
  • the lock mechanism 58 and the bus bar 99 are arranged such that positions in the axial direction S overlap with each other while avoiding interference with each other.
  • the lock folder 100 and the lock lever 101 of the lock mechanism 58 and a part of the bus bar 99 are arranged such that the positions in the axial direction S overlap each other.
  • the bus bar 99 is disposed in an area excluding the movable area 111 of the lock lever 101.
  • torque sensor 44 constitutes a steering state detection sensor for detecting a steering state, and detects torque acting between the second and third shafts 12 and 13 on the power transmission path.
  • a part of the torque sensor 44 is accommodated in the accommodation space 90 on the other end 85 b side of the rotor core 85 of the transmission ratio variable mechanism motor 23.
  • the torque sensor 44 is supported by a multipole magnet 115 fixed to the middle portion of the second shaft 12 and one end of the third shaft 13, and is disposed in a magnetic field generated by the multipole magnet 115 to provide a magnetic circuit And magnetic yokes 116 and 117 which are signal detection portions as a pair of soft magnetic bodies.
  • the multipolar magnet 115 is a cylindrical permanent magnet, and a plurality of poles (the same number of poles as each of N and S) are magnetized at equal intervals in the circumferential direction.
  • the magnetic yokes 116 and 117 face the multipolar magnet 115 with a predetermined gap in the radial direction R, and surround the multipolar magnet 115.
  • Each of the magnetic yokes 116 and 117 is molded in a synthetic resin member 118.
  • the synthetic resin member 118 is rotatably connected to one end of the third shaft 13.
  • the torque sensor 44 further includes an annular portion 112.
  • the annular portion 112 surrounds the multipolar magnet 115, the magnetic yokes 116 and 117, the second shaft 12 and the third shaft 13.
  • the annular portion 112 has an annular shape as a whole, and a pair of magnet collection rings 119 and 120 as signal detection parts for inducing magnetic flux from the magnetic yokes 116 and 117 and between the magnet collection rings 119 and 120.
  • Hall IC (Hall IC) 121 as a signal detection portion disposed, electromagnetic shielding member 122 surrounding a pair of magnetic flux collecting rings 119 and 120 and Hall IC 121, magnetic flux collecting rings 119 and 120, Hall IC 121 and electromagnetic shielding member And an annular first synthetic resin portion 131 for molding 122.
  • the pair of magnet collection rings 119 and 120 are annular members formed using a soft magnetic material, and are magnetically coupled to the magnetic yokes 116 and 117 surrounding the magnetic yokes 116 and 117, respectively.
  • the pair of magnet collection rings 119 and 120 are separated in the axial direction S and opposed to each other.
  • the Hall IC 121 is for detecting the magnetic flux induced in the magnet collection rings 119 and 120.
  • the electromagnetic shield member 122 is an annular member disposed between the magnetic yokes 116 and 117 of the torque sensor 44, the magnetic flux collecting rings 119 and 120, and the Hall IC 121 and the rotor core 85 of the rotor 231. Noise is prevented from passing inside the electromagnetic shield member 122.
  • the electromagnetic shield member 122 is preferably formed of a material having a large magnetic loss or a material having a high conductivity. For example, ferrite can be mentioned as a material having a large magnetic loss, and copper and aluminum can be mentioned as a material having a high conductivity.
  • the thickness of the electromagnetic shield member 122 is set to a thickness that can effectively suppress the entry of electromagnetic noise.
  • the electromagnetic shield member 122 is disposed inward with respect to both the rotor core 85 of the rotor 231 and the motor resolver 43 in the radial direction R. Further, the electromagnetic shield member 122 is disposed closer to the permanent magnet 86 in the axial direction S than the magnet collection rings 119 and 120 and the Hall IC 121. Thus, the electromagnetic shield member 122 is disposed between the magnetic yokes 116 and 117, the magnetic flux collecting rings 119 and 120, the Hall IC 121, and the permanent magnet 86.
  • FIG. 7 is a cross-sectional view taken along the line VIIA-VIIA of FIG. 6, and FIG. 8 is a side view of the main part of the torque sensor 44.
  • the first synthetic resin portion 131 together with a second synthetic resin portion 132, a third synthetic resin portion 133, and a fourth synthetic resin portion 134, which will be described later,
  • the synthetic resin member 130 which is an integral molded product of synthetic resin which has the characteristic insulation property is comprised.
  • the position with respect to the axial direction S is overlapped with most of the one side S1 side in the axial direction S and the other end 85b of the rotor core 85, and the other S2 side in the axial direction S
  • the end portion protrudes to the other S2 side in the axial direction S with respect to the other end portion 85b of the rotor core 85.
  • the outer peripheral surface 131 a of the first synthetic resin portion 131 is press-fitted and held in the holding hole 123 of the inner cylinder 93 of the second housing 52.
  • the annular portion 112 is held in the holding hole 123.
  • the holding hole 123 is open in the axial direction S.
  • the holding hole 123 can receive the first synthetic resin portion 131 from the other S2 side (lower side) of the axial direction S along a predetermined receiving direction F1 along one of the axial direction S.
  • the second synthetic resin portion 132 is a radially extending portion extended from the end on the other S2 side in the axial direction S of the first synthetic resin portion 131 along the outer side in the radial direction R. Configured.
  • the second synthetic resin portion 132 is formed in a flat plate shape extending outward in the radial direction R from a part of the first synthetic resin portion 131 in the circumferential direction C, and is adjacent to the rotor core 85 in the axial direction S doing.
  • the second synthetic resin portion 132 is inserted into the first groove 124 of the second housing 52.
  • the first groove 124 is formed in one end surface 94a of the connection wall 94 of the second housing 52 facing the direction F2 opposite to the receiving direction F1, and is opened in the direction F2 opposite to the receiving direction F1.
  • the second synthetic resin portion 132 can be received along the receiving direction F1.
  • the first groove 124 is formed in a part of the end face 94 a in the circumferential direction C.
  • the first groove 124 includes a pair of inner side surfaces 124a and 124b which are separated from each other in the circumferential direction C and extend in parallel to each other, and between the pair of inner side surfaces 124a and 124b, the second synthetic resin portion 132 It is arranged.
  • the base end portion of the second synthetic resin portion 132 is disposed inward in the radial direction R with respect to the rotor core 85, and the tip end portion is disposed outward in the radial direction R with respect to the rotor core 85.
  • the third synthetic resin portion 133 constitutes an axially extending portion which is extended from the end of the second synthetic resin portion 132 to one S1 side in the axial direction S.
  • the third synthetic resin portion 133 extends from the tip of the second synthetic resin portion 132 in the receiving direction F1 and is formed on the outer diameter portion 88 side of the second housing 52 in the outer cylinder 89. Is accommodated in the second groove 125.
  • the second groove 125 is in communication with the first groove 124, extends to one S1 side in the axial direction S with respect to the first groove 124, and is opened outward in the radial direction R.
  • the second groove 125 and the third synthetic resin portion 133 overlap at least a part (generally all in the present embodiment) of the annular portion 112 with respect to the axial direction S.
  • the fourth synthetic resin portion 134 has an arc shape projecting from the first synthetic resin portion 131 in the second axial direction S2.
  • the inner circumferential surface 134a of the fourth synthetic resin portion 134 is continuously formed on the inner circumferential surface 94b of the connection wall 94, and cooperates with the inner circumferential surface 96b to form the outer ring of the fifth bearing 35.
  • the outer peripheral surface is held over the entire circumference.
  • an electric wire 126 for transmitting a signal from the Hall IC 121 to the control unit is embedded.
  • the electric wire 126 has one end electrically connected to the Hall IC 121 and extends from the first synthetic resin portion 131 of the annular portion 112 to the second synthetic resin portion 132 and the third synthetic resin portion 133.
  • the electric wire 126 protrudes from the synthetic resin member 130 at the annular portion 112 and is electrically connected to the control unit.
  • the synthetic resin member 130 further includes a sealing portion 127 which seals between the first groove 124 of the second housing 52 and the second groove 125 in a liquid tight manner.
  • the sealing portion 127 is formed in an elongated ring shape, and an outer peripheral surface 131 a of the other end of the first synthetic resin portion 131, a pair of side surfaces 132 a and 132 b of the second synthetic resin portion 132, and a third synthetic resin It protrudes from each of the pair of side surfaces 133a and 133b of the portion 133 and the end surface 133c of the third synthetic resin portion 133.
  • the sealing portion 127 is formed by the inner peripheral surface 94 b of the connection wall 94 of the second housing 52, the corresponding inner side surfaces 124 a and 124 b of the first groove 124, and the corresponding inner side surfaces 125 a and 125 b of the second groove 125. , 125c, respectively.
  • a magnetic flux is generated in the magnetic yokes 116 and 117 in accordance with the relative rotation amount of the second and third shafts 12 and 13, and the magnetic flux is induced by the magnetic flux collecting rings 119 and 120.
  • Hall IC 121 is detected.
  • the torque detection signal of the Hall IC 121 is input to the control unit via the electric wire 126. In this manner, the magnetic flux density can be detected in accordance with the torque applied to the second and third shafts 12 and 13.
  • the fifth bearing 35 is disposed on the other side S ⁇ b> 2 in the axial direction S with respect to the torque sensor 44.
  • the fifth bearing 35 rotatably supports one end of the third shaft 13.
  • the outer peripheral portion of the second shaft 12 and the inner peripheral portion of the third shaft 13 are supported relative to each other via a sixth bearing 36 so as to be relatively rotatable.
  • the speed reduction mechanism 26 is accommodated in an accommodation chamber 129 formed by the outer diameter portion 128 and the end wall portion 61 of the third housing 53 and the connection wall 94 of the second housing 52.
  • the end wall 61 of the third housing 53 rotatably supports the third shaft 13 via a seventh bearing 37.
  • the connection between the input member 20 and the first shaft 11 is performed as follows. That is, first, as shown in FIG. 9, a single-piece input member 20 and the first shaft 11 are prepared, and the press fit portion 62 of the first shaft 11 faces the input member 20 so that both are coaxial. Make them face each other. Next, as shown in FIG. 10, the first shaft 11 is inserted into the input member side cylindrical portion 202 of the input member 20. Thereby, the press-fit portion 62 is loosely fitted to the large diameter portion 66 and the female serration portion 65 of the input member side cylindrical portion 202. Then, when the guide portion 67 of the male serration portion 63 engages with the female serration portion 65, the both tooth portions are guided so as to be alternately arranged in the circumferential direction.
  • the press-fit portion 62 is press-fit into the press-fit portion 64, and the connection of both is completed.
  • the connection between the output member 22 and the second shaft 12 is performed as follows. That is, first, as shown in FIG. 12, a single-piece output member 22 and a second shaft 12 are prepared, and the press-fit portion 62 of the second shaft 12 faces the output member 22 so that both are coaxial. Make them face each other.
  • the second shaft 12 is inserted into the output member side cylindrical portion 222 of the output member 22.
  • the one end 12 a of the second shaft 12 and the press-fit portion 62 are loosely fitted to the large diameter portion 66 and the female serration portion 65 of the output member side cylindrical portion 222.
  • the guide portion 67 of the male serration portion 63 engages with the female serration portion 65 the both tooth portions are guided so as to be alternately arranged in the circumferential direction.
  • the press-fit portion 62 is press-fit into the press-fit portion 64, and the connection of the both is completed.
  • the vehicle steering system 1 having the above-described configuration drives the motor for variable transmission ratio mechanism 23 in the transmission ratio variable mechanism 5.
  • the transmission ratio ⁇ 2 / ⁇ 1 By changing the transmission ratio ⁇ 2 / ⁇ 1 to a higher value, it is possible to exhibit a function of amplifying the steering angle ⁇ 1 and assisting the driver's steering.
  • the vehicle when the vehicle is traveling at a relatively high speed, by driving the motor for variable transmission ratio mechanism 23 to change the transmission ratio ⁇ 2 / ⁇ 1 in the transmission ratio variable mechanism 5 to a lower value, the vehicle Perform stability control (posture stabilization control).
  • the annular portion 112 of the torque sensor 44 and the rotor core 85 of the rotor 231 of the transmission ratio variable mechanism motor 23 can be arranged so as to overlap in the axial direction S.
  • the total length of the vehicle steering system 1 can be shortened.
  • the annular portion 112 of the torque sensor 44 can be held in the housing space 90 by the inner cylinder 93 of the housing 24. Further, since the annular portion 112 can be inserted into the holding hole 123 of the inner cylinder 93 along the axial direction S (receiving direction F1), the torque sensor 44 can be disposed further to the rear side of the rotor core 85. Space can be used effectively. Further, by providing the second and third synthetic resin portions 132 and 133, the portion connected to the first synthetic resin portion 131 is extended so as to be exposed radially outward of the rotor core 85, and hence from the housing 24. Can. Thus, the electric wire 126 transmitting the torque detection signal can be extended through the first to third synthetic resin portions 131 to 133 to the outside of the housing 24. As a result, the torque detection signal can be transmitted to the control unit outside the housing 24.
  • the torque sensor 44 can receive electromagnetic noise from the outside. It can prevent picking up.
  • the input member 20 and the output member 22 and the corresponding first and second shafts 11 and 12 are coupled so as to be able to transmit torque by press-fitting and are also connected to be able to transmit torque by serration fitting. .
  • the mutual positioning of the first shaft 11 and the input member 20 can be made with high accuracy.
  • the mutual positioning of the second shaft 12 and the output member 22 can be made with high accuracy.
  • serration coupling of the input member 20 and the first shaft 11 even if a large torque acts, it can be reliably received between the input member 20 and the first shaft 11, It is possible to suppress that the relative phase (position in the circumferential direction) is largely deviated. Thereby, it is possible to suppress the phase shift of the first shaft 11 and the steering member 2 in the steering neutral state, and to prevent the occurrence of discomfort in steering.
  • the support mechanism 81 by supporting both the input member 20 and the output member 22 using the eighth bearing 38, the bearing that supports these members 20 and 22 can be shared, and the number of bearings can be reduced. As a result, the manufacturing cost can be reduced through the reduction of the number of parts. That is, three bearings of the first, third and eighth bearings 31, 33 and 38 are sufficient for supporting the input member 20 and the output member 22. Therefore, for example, while supporting the both ends of an input member with a pair of bearings, unlike the case where the both ends of an output member are supported with a pair of bearings different from the pair of bearings, four bearings are prepared. There is no need.
  • the space for the bearings for supporting the input member 20 and the output member 22 can be shortened with respect to the axial direction S.
  • the length of the axial direction S can be made shorter.
  • the eighth bearing 38 is used to prevent inclination (falling) between the opposing end portions 11 b and 12 a of the first and second shafts 11 and 12, the shaft is supported by these shafts 11 and 12. The meshing state of the input member 20 and the output member 22 can be maintained with high accuracy.
  • the elastic member 101b at the tip of the lock lever 101 of the lock mechanism 58, the engagement noise at the time of the engagement between the lock lever 101 and the lock folder 100 can be reliably reduced.
  • the area in which the elastic member 101b is provided can be reduced as much as possible, and the cost for injection molding can be reduced.
  • the shape and manufacturing process of the lock folder 100 can be simplified.
  • the lock lever 101, the lock folder 100 and the bus bar 99 of the lock mechanism 58 are disposed between the stator 232 and the resolver stator 108 of the variable transmission ratio motor 23, and the movable region 111 of the lock lever 101 is avoided.
  • the bus bar 99 is disposed.
  • the wiring for the stator 232, the wiring for the resolver stator 108, and the wiring for the electromagnetic solenoid 102 can be extended from the location close to each other to the outside of the housing 24, and wiring of these wirings can be performed more easily. Furthermore, by providing the sealing portion 127 on the synthetic resin member 130, a lubricant such as grease filled in the meshing region of the worm shaft 27 and the worm wheel 28 of the reduction gear mechanism 26 is synthesized with the second housing 52. Leakage from between the resin member 130 can be prevented. By providing the sealing portion 127 integrally with the synthetic resin member 130, there is no need to separately provide a sealing structure, and as a result, the vehicle steering device 1 can be further shortened in the axial direction S.
  • the arrangement space for providing the electric tilt mechanism provided with the electric motor, the tilt telescopic mechanism, and the vehicle A sufficient impact absorption stroke for absorbing the impact at the time of the next collision can be secured. Furthermore, the degree of freedom in the layout of the vehicle steering system 1 in the vehicle compartment can be increased.
  • the second housing 52 accommodates the rotor 231 of the transmission ratio variable mechanism motor 23 and has a function as a transmission ratio variable mechanism housing, and a combination of the torque sensor 44 of the steering assist mechanism 19. It holds the annular portion 112 of the resin member 130, and has a function as a steering assist mechanism housing.
  • the second housing 52 can be used as the variable transmission ratio mechanism housing and the steering assist mechanism housing, and as a result, the manufacturing cost can be reduced.
  • the inner cylinder 93 of the second housing 52 can be formed thin, and the second and fourth bearings 32 and 34 for supporting the rotor core 85 can be disposed in the rotor core 85. A simple configuration can be adopted in which these bearings 32 and 34 are disposed in the rotor core 85, and the manufacturing cost can be further reduced.
  • the outer peripheral surface of the rotor core 85 can be formed to be a substantially flat surface, it is possible to reduce the time and effort required for processing the rotor core 85, and the manufacturing cost of the rotor core 85 can be reduced. It can be reduced. Furthermore, since the annular portion 112 of the torque sensor is annular and does not have a shape that protrudes in the radial direction R, the rotor core 85 surrounding the annular portion 112 can be formed to a small diameter. As a result, the second and fourth bearings 32 and 34 for supporting the rotor core 85 can be miniaturized, and the cost of these bearings 32 and 34 can be significantly reduced.
  • the present invention is not limited to the contents of the above embodiments, and various modifications are possible within the scope of the present invention.
  • the entire torque sensor 44A may be disposed in the housing space 90.
  • FIGS. 1 to 9 only differences from the embodiment shown in FIGS. 1 to 9 will be described, and the same reference numerals will be given to the same components as those in the embodiment and the description thereof will be omitted.
  • the difference of the present embodiment shown in FIG. 15 from the embodiments shown in FIGS. 1 to 9 is mainly (i) that all of the torque sensor 44A is disposed in the housing space 90 (ii ) A point that all of the turning angle sensor 45 which is a rotation angle detecting sensor as a steering state detecting sensor is disposed in the accommodation space 90, and (iii) a motor resolver which is a rotation angle detecting sensor as a steering state detecting sensor All of the points 43 are disposed in the housing space 90.
  • the annular portion 112 ⁇ / b> A of the torque sensor 44 ⁇ / b> A faces the rotor core 85 in the radial direction R over the entire area in the axial direction S.
  • An electric wire 126A protrudes from an end of the first synthetic resin portion 131A of the annular portion 112A on the other side S2 in the axial direction S, and is extended to the outside of the housing 24.
  • the turning angle sensor 45 is disposed on one S1 side in the axial direction S with respect to the pair of magnetic flux collecting rings 119 and 120, and rotates in the same direction as the second shaft 12 as a predetermined shaft member on the power transmission path.
  • the rotation angle of the second shaft 12 is detected, which includes a rotor 451 which is connected in a possible manner, and a stator 452 as a signal detection portion surrounding the rotor 451.
  • the stator 452 is held by the first synthetic resin portion 131A by being at least partially embedded in the first synthetic resin portion 131A of the annular portion 112A.
  • the signal detected by the stator 452 is input to the control unit via an electric wire (not shown).
  • the motor resolver 43 is disposed on the other side S ⁇ b> 2 in the axial direction S with respect to the turning angle sensor 45.
  • the resolver rotor 107 of the motor resolver 43 is rotatably connected to the inner peripheral surface of the rotor core 85 in the same direction.
  • the resolver stator 108 of the motor resolver 43 constitutes a signal detection unit, and the signal detected by the resolver stator 108 is output to the control unit via an electric wire (not shown).
  • the resolver stator 108 is held by the first synthetic resin portion 131A by being at least partially embedded in the first synthetic resin portion 131A.
  • the permanent magnet 86 and the stator 232 of the rotor 231 of the transmission ratio variable mechanism 5 are disposed at an intermediate portion 85 c of the rotor core 85.
  • the electromagnetic shield member 122A is connected to the first cylindrical portion 141 surrounding the outer periphery of the pair of magnetic flux collecting rings 119 and 120 of the torque sensor 44 and the Hall IC 121, and the stator of the turning angle sensor 45
  • the second cylindrical portion 142 surrounding the outer periphery of 452 and extending outward in the radial direction R from one end of the second cylindrical portion 142 are disposed between the permanent magnet 86 of the rotor 231 and the motor resolver 43 And an annular collar portion 143.
  • the first and second cylindrical portions 141 and 142 are disposed inward in the radial direction R with respect to the permanent magnet 86.
  • the collar portion 143 is disposed between the permanent magnet 86 and the motor resolver 43 in the axial direction S.
  • each of the turning angle sensor 45 and the motor resolver 43 can be disposed so as to overlap the rotor core 85 of the rotor 231 in the axial direction S, and the overall length of the device 1 in the axial direction S can be further shortened.
  • each of the turning angle sensor 45 and the rotor motor resolver 43 may be disposed in the housing space 90.

Landscapes

  • Engineering & Computer Science (AREA)
  • Chemical & Material Sciences (AREA)
  • Combustion & Propulsion (AREA)
  • Transportation (AREA)
  • Mechanical Engineering (AREA)
  • Power Steering Mechanism (AREA)
  • Retarders (AREA)
PCT/JP2008/073237 2007-12-25 2008-12-19 車両用操舵装置 Ceased WO2009081878A1 (ja)

Priority Applications (3)

Application Number Priority Date Filing Date Title
CN200880122948.7A CN101909968B (zh) 2007-12-25 2008-12-19 车辆用操舵装置
US12/810,510 US8047325B2 (en) 2007-12-25 2008-12-19 Motor vehicle steering system
EP08865307.6A EP2233383B1 (en) 2007-12-25 2008-12-19 Vehicle steering device

Applications Claiming Priority (2)

Application Number Priority Date Filing Date Title
JP2007332709A JP5136842B2 (ja) 2007-12-25 2007-12-25 車両用操舵装置
JP2007-332709 2007-12-25

Publications (1)

Publication Number Publication Date
WO2009081878A1 true WO2009081878A1 (ja) 2009-07-02

Family

ID=40801179

Family Applications (1)

Application Number Title Priority Date Filing Date
PCT/JP2008/073237 Ceased WO2009081878A1 (ja) 2007-12-25 2008-12-19 車両用操舵装置

Country Status (5)

Country Link
US (1) US8047325B2 (enExample)
EP (1) EP2233383B1 (enExample)
JP (1) JP5136842B2 (enExample)
CN (1) CN101909968B (enExample)
WO (1) WO2009081878A1 (enExample)

Families Citing this family (12)

* Cited by examiner, † Cited by third party
Publication number Priority date Publication date Assignee Title
WO2009054325A1 (ja) * 2007-10-22 2009-04-30 Jtekt Corporation 伝達比可変機構及びこれを備える車両用操舵装置
JP5234314B2 (ja) * 2007-10-22 2013-07-10 株式会社ジェイテクト 車両用操舵装置
JP5282938B2 (ja) * 2008-07-07 2013-09-04 株式会社ジェイテクト 伝達比可変機構およびこれを備える車両用操舵装置
JP5227853B2 (ja) * 2009-03-09 2013-07-03 株式会社ジェイテクト 揺動型歯車装置、伝達比可変機構、および車両用操舵装置
JP5994286B2 (ja) * 2012-02-28 2016-09-21 株式会社ジェイテクト トルク検出装置およびその製造方法
JP2014098469A (ja) * 2012-11-16 2014-05-29 Jtekt Corp 伝達比可変装置
US9162703B2 (en) * 2013-01-30 2015-10-20 AgJunction, LLC Steering controller for precision farming
US10131376B2 (en) 2013-01-30 2018-11-20 Agjunction Llc Steering controller for precision farming
DE102015216518A1 (de) * 2014-12-18 2016-06-23 Takata AG Arretiervorrichtung
JP2019043214A (ja) * 2017-08-30 2019-03-22 いすゞ自動車株式会社 ステアリング装置
EP3780357A4 (en) * 2018-04-12 2021-04-07 Nissan Motor Co., Ltd. ELECTRIC ROTATING MACHINE
DE102019119658A1 (de) * 2019-07-19 2021-01-21 Pilz Gmbh & Co. Kg Zykloidgetriebe mit Drehmomenterfassungseinrichtung

Citations (11)

* Cited by examiner, † Cited by third party
Publication number Priority date Publication date Assignee Title
JPS63212177A (ja) * 1987-02-26 1988-09-05 Ntn Toyo Bearing Co Ltd 電動式パワ−ステアリング装置
JPH05105103A (ja) 1991-10-14 1993-04-27 Honda Motor Co Ltd 電動パワーステアリング装置
JPH09132153A (ja) * 1995-11-06 1997-05-20 Toyoda Mach Works Ltd 電気式動力舵取装置
JPH11105719A (ja) * 1997-10-02 1999-04-20 Toyoda Mach Works Ltd 電気式動力舵取装置
JP2004256087A (ja) 2003-02-06 2004-09-16 Toyoda Mach Works Ltd 減速比可変式動力舵取り装置
JP2005067284A (ja) 2003-08-20 2005-03-17 Denso Corp 伝達比可変操舵装置
JP2005162124A (ja) 2003-12-05 2005-06-23 Toyota Motor Corp 車両用操舵力伝達装置
JP2006046405A (ja) * 2004-08-02 2006-02-16 Ogino Kogyo Kk 変速歯車装置
JP2006082718A (ja) * 2004-09-16 2006-03-30 Toyoda Mach Works Ltd 舵角比可変操舵装置
JP2007145067A (ja) 2005-11-24 2007-06-14 Jtekt Corp 回転軸の連結構造及び伝達比可変装置
JP2007170624A (ja) * 2005-12-26 2007-07-05 Toyota Motor Corp 伝達比可変装置および車両操舵装置

Family Cites Families (7)

* Cited by examiner, † Cited by third party
Publication number Priority date Publication date Assignee Title
DE102004052562B3 (de) 2004-10-29 2006-02-09 Thyssen Krupp Automotive Ag Kraftfahrzeuglenkung mit Überlagerungsgetriebe
DE602007002004D1 (de) * 2006-05-15 2009-10-01 Jtekt Corp Lenkgerät für ein Fahrzeug
JP2008074367A (ja) * 2006-09-25 2008-04-03 Jtekt Corp 車両用操舵装置
JP4950672B2 (ja) * 2007-01-09 2012-06-13 本田技研工業株式会社 磁歪式トルクセンサの製造方法、及び、電動パワーステアリングシステム
JP5040420B2 (ja) * 2007-05-07 2012-10-03 株式会社ジェイテクト 電動パワーステアリング装置
JP5234314B2 (ja) * 2007-10-22 2013-07-10 株式会社ジェイテクト 車両用操舵装置
JP5013193B2 (ja) * 2007-10-22 2012-08-29 株式会社ジェイテクト 車両用操舵装置

Patent Citations (11)

* Cited by examiner, † Cited by third party
Publication number Priority date Publication date Assignee Title
JPS63212177A (ja) * 1987-02-26 1988-09-05 Ntn Toyo Bearing Co Ltd 電動式パワ−ステアリング装置
JPH05105103A (ja) 1991-10-14 1993-04-27 Honda Motor Co Ltd 電動パワーステアリング装置
JPH09132153A (ja) * 1995-11-06 1997-05-20 Toyoda Mach Works Ltd 電気式動力舵取装置
JPH11105719A (ja) * 1997-10-02 1999-04-20 Toyoda Mach Works Ltd 電気式動力舵取装置
JP2004256087A (ja) 2003-02-06 2004-09-16 Toyoda Mach Works Ltd 減速比可変式動力舵取り装置
JP2005067284A (ja) 2003-08-20 2005-03-17 Denso Corp 伝達比可変操舵装置
JP2005162124A (ja) 2003-12-05 2005-06-23 Toyota Motor Corp 車両用操舵力伝達装置
JP2006046405A (ja) * 2004-08-02 2006-02-16 Ogino Kogyo Kk 変速歯車装置
JP2006082718A (ja) * 2004-09-16 2006-03-30 Toyoda Mach Works Ltd 舵角比可変操舵装置
JP2007145067A (ja) 2005-11-24 2007-06-14 Jtekt Corp 回転軸の連結構造及び伝達比可変装置
JP2007170624A (ja) * 2005-12-26 2007-07-05 Toyota Motor Corp 伝達比可変装置および車両操舵装置

Non-Patent Citations (1)

* Cited by examiner, † Cited by third party
Title
See also references of EP2233383A4 *

Also Published As

Publication number Publication date
JP5136842B2 (ja) 2013-02-06
EP2233383B1 (en) 2013-05-22
JP2009154604A (ja) 2009-07-16
CN101909968A (zh) 2010-12-08
EP2233383A1 (en) 2010-09-29
US8047325B2 (en) 2011-11-01
EP2233383A4 (en) 2012-05-02
CN101909968B (zh) 2012-11-28
US20100282535A1 (en) 2010-11-11

Similar Documents

Publication Publication Date Title
WO2009081878A1 (ja) 車両用操舵装置
JP4955737B2 (ja) 操舵制御装置
EP2202130B1 (en) Steering device for vehicle
EP2298624B1 (en) Transmission ratio variable mechanism and vehicle steering apparatus including the same
US12037054B2 (en) Steer-by-wire steering apparatus
CN101835672B (zh) 传动比可变机构及具有该机构的车辆用操舵装置
US8065896B2 (en) Steering apparatus
JP2009171736A (ja) 電動モータ
JP5365833B2 (ja) 車両用操舵装置
JP5218830B2 (ja) 車両用操舵装置
JP5397672B2 (ja) 電動パワーステアリング装置
JP2010052510A (ja) 車両用操舵装置
JP2025007990A (ja) 電動パワーステアリング装置及び電動パワーステアリング装置の製造方法
JP2006001475A (ja) 車両用ステアリング装置及びその組立方法
US12522278B2 (en) Steer by wire type steering apparatus
JP5158419B2 (ja) 車両用操舵装置
JP2024085711A (ja) トルクセンサ装置及びトルクセンサ装置の製造方法
JP2006044402A (ja) 伝達比可変機構を備えた電動パワーステアリング装置
JP2013203187A (ja) 電動パワーステアリング装置

Legal Events

Date Code Title Description
WWE Wipo information: entry into national phase

Ref document number: 200880122948.7

Country of ref document: CN

121 Ep: the epo has been informed by wipo that ep was designated in this application

Ref document number: 08865307

Country of ref document: EP

Kind code of ref document: A1

WWE Wipo information: entry into national phase

Ref document number: 12810510

Country of ref document: US

NENP Non-entry into the national phase

Ref country code: DE

WWE Wipo information: entry into national phase

Ref document number: 2008865307

Country of ref document: EP