WO2009081684A1 - 光電変換装置および光電変換装置の製造方法 - Google Patents

光電変換装置および光電変換装置の製造方法 Download PDF

Info

Publication number
WO2009081684A1
WO2009081684A1 PCT/JP2008/071521 JP2008071521W WO2009081684A1 WO 2009081684 A1 WO2009081684 A1 WO 2009081684A1 JP 2008071521 W JP2008071521 W JP 2008071521W WO 2009081684 A1 WO2009081684 A1 WO 2009081684A1
Authority
WO
WIPO (PCT)
Prior art keywords
electrode
type semiconductor
photoelectric conversion
receiving surface
hole
Prior art date
Legal status (The legal status is an assumption and is not a legal conclusion. Google has not performed a legal analysis and makes no representation as to the accuracy of the status listed.)
Ceased
Application number
PCT/JP2008/071521
Other languages
English (en)
French (fr)
Japanese (ja)
Inventor
Ryo Ozaki
Akiko Tsunemi
Tsutomu Yamazaki
Satoshi Okamoto
Current Assignee (The listed assignees may be inaccurate. Google has not performed a legal analysis and makes no representation or warranty as to the accuracy of the list.)
Sharp Corp
Original Assignee
Sharp Corp
Priority date (The priority date is an assumption and is not a legal conclusion. Google has not performed a legal analysis and makes no representation as to the accuracy of the date listed.)
Filing date
Publication date
Application filed by Sharp Corp filed Critical Sharp Corp
Priority to US12/810,205 priority Critical patent/US20100276772A1/en
Priority to EP08865004A priority patent/EP2234169A1/en
Publication of WO2009081684A1 publication Critical patent/WO2009081684A1/ja
Anticipated expiration legal-status Critical
Ceased legal-status Critical Current

Links

Images

Classifications

    • HELECTRICITY
    • H10SEMICONDUCTOR DEVICES; ELECTRIC SOLID-STATE DEVICES NOT OTHERWISE PROVIDED FOR
    • H10FINORGANIC SEMICONDUCTOR DEVICES SENSITIVE TO INFRARED RADIATION, LIGHT, ELECTROMAGNETIC RADIATION OF SHORTER WAVELENGTH OR CORPUSCULAR RADIATION
    • H10F77/00Constructional details of devices covered by this subclass
    • H10F77/20Electrodes
    • H10F77/206Electrodes for devices having potential barriers
    • H10F77/211Electrodes for devices having potential barriers for photovoltaic cells
    • HELECTRICITY
    • H10SEMICONDUCTOR DEVICES; ELECTRIC SOLID-STATE DEVICES NOT OTHERWISE PROVIDED FOR
    • H10FINORGANIC SEMICONDUCTOR DEVICES SENSITIVE TO INFRARED RADIATION, LIGHT, ELECTROMAGNETIC RADIATION OF SHORTER WAVELENGTH OR CORPUSCULAR RADIATION
    • H10F77/00Constructional details of devices covered by this subclass
    • H10F77/10Semiconductor bodies
    • H10F77/14Shape of semiconductor bodies; Shapes, relative sizes or dispositions of semiconductor regions within semiconductor bodies
    • H10F77/147Shapes of bodies
    • HELECTRICITY
    • H10SEMICONDUCTOR DEVICES; ELECTRIC SOLID-STATE DEVICES NOT OTHERWISE PROVIDED FOR
    • H10FINORGANIC SEMICONDUCTOR DEVICES SENSITIVE TO INFRARED RADIATION, LIGHT, ELECTROMAGNETIC RADIATION OF SHORTER WAVELENGTH OR CORPUSCULAR RADIATION
    • H10F77/00Constructional details of devices covered by this subclass
    • H10F77/20Electrodes
    • H10F77/206Electrodes for devices having potential barriers
    • H10F77/211Electrodes for devices having potential barriers for photovoltaic cells
    • H10F77/215Geometries of grid contacts
    • HELECTRICITY
    • H10SEMICONDUCTOR DEVICES; ELECTRIC SOLID-STATE DEVICES NOT OTHERWISE PROVIDED FOR
    • H10FINORGANIC SEMICONDUCTOR DEVICES SENSITIVE TO INFRARED RADIATION, LIGHT, ELECTROMAGNETIC RADIATION OF SHORTER WAVELENGTH OR CORPUSCULAR RADIATION
    • H10F77/00Constructional details of devices covered by this subclass
    • H10F77/20Electrodes
    • H10F77/206Electrodes for devices having potential barriers
    • H10F77/211Electrodes for devices having potential barriers for photovoltaic cells
    • H10F77/219Arrangements for electrodes of back-contact photovoltaic cells
    • H10F77/223Arrangements for electrodes of back-contact photovoltaic cells for metallisation wrap-through [MWT] photovoltaic cells
    • YGENERAL TAGGING OF NEW TECHNOLOGICAL DEVELOPMENTS; GENERAL TAGGING OF CROSS-SECTIONAL TECHNOLOGIES SPANNING OVER SEVERAL SECTIONS OF THE IPC; TECHNICAL SUBJECTS COVERED BY FORMER USPC CROSS-REFERENCE ART COLLECTIONS [XRACs] AND DIGESTS
    • Y02TECHNOLOGIES OR APPLICATIONS FOR MITIGATION OR ADAPTATION AGAINST CLIMATE CHANGE
    • Y02EREDUCTION OF GREENHOUSE GAS [GHG] EMISSIONS, RELATED TO ENERGY GENERATION, TRANSMISSION OR DISTRIBUTION
    • Y02E10/00Energy generation through renewable energy sources
    • Y02E10/50Photovoltaic [PV] energy

Definitions

  • the present invention relates to a photoelectric conversion device and a method for manufacturing the photoelectric conversion device, and more particularly to a photoelectric conversion device that has excellent characteristics and can be manufactured easily and inexpensively and a method for manufacturing the photoelectric conversion device.
  • FIG. 11 shows a schematic perspective view of an example of a conventional solar battery cell in which a pn junction is formed in a single crystal silicon substrate or a polycrystalline silicon substrate.
  • This conventional solar cell has a configuration in which an n-type impurity diffusion layer 103 is formed on the light-receiving surface of a p-type silicon substrate 101, and an antireflection film 123 is formed on the n-type impurity diffusion layer 103.
  • a grid-shaped light receiving surface electrode 105 including a main electrode 105 a and a sub electrode 105 b is formed on the light receiving surface of the p-type silicon substrate 101, and becomes a surface opposite to the light receiving surface of the p-type silicon substrate 101.
  • a high-concentration p-type impurity diffusion layer 115 and a back electrode 113 in contact therewith are formed on the back surface.
  • n-type impurity diffusion layer 103 can be formed, for example, by diffusing n-type impurities on the light receiving surface of the p-type silicon substrate 101 by a thermal diffusion method.
  • the light-receiving surface electrode 105 is formed by printing a silver paste on the light-receiving surface of the p-type silicon substrate 101 and firing it.
  • the high-concentration p-type impurity diffusion layer 115 and the back electrode 113 are formed by a p-type silicon substrate. It is formed by printing an aluminum paste on the back surface of 101 and then firing (see, for example, JP-A-2002-176186 (Patent Document 1)).
  • the sub-electrode 105b of the light-receiving surface electrode 105 is generally about 0.2 mm wide, and the main electrode 105a of the light-receiving surface electrode 105 is generally about 2 mm wide so that sunlight can be as much as possible on the light-receiving surface of the p-type silicon substrate 101. It is devised so that many incidents are made.
  • Sunlight incident on the inside of the p-type silicon substrate 101 is absorbed inside the p-type silicon substrate 101 according to the absorption coefficient of silicon. Then, the sunlight absorbed inside the p-type silicon substrate 101 excites electrons and hole carriers to cause photoelectric conversion. As a result, current and voltage can be extracted from the light-receiving surface electrode 105 and the back electrode 113 sandwiching the pn junction.
  • the cross-sectional area of the light receiving surface electrode is secured by increasing the groove depth while keeping the width of the light receiving surface electrode (corresponding to the groove width) to about 0.05 mm or less. This prevents the increase in series resistance.
  • Patent Document 3 Japanese Patent Laid-Open No. 2005-356391 (Patent Document). 3)).
  • the sub-electrode near the main electrode can be formed thicker in stages, the line resistance of the sub-electrode can be reduced, and the series resistance of the cell can be reduced.
  • variety of the sub electrode of the photovoltaic cell of patent document 3 is about 0.12 mm.
  • MWT Metallization Wrap Through
  • This MWT cell structure has a structure in which a part of the light receiving surface electrode is routed to the back surface side through a through-hole formed in the silicon substrate, and reduces the area occupation ratio of the light receiving surface electrode on the light receiving surface of the silicon substrate. be able to.
  • Patent Document 2 in a method of forming a light receiving surface electrode by embedding a metal in a groove formed on a light receiving surface of a silicon substrate, the groove can be processed deeply and finely from the light receiving surface of the silicon substrate. is necessary. Therefore, as in Patent Document 2, when a groove is formed on the light receiving surface of a silicon substrate, a method of irradiating the silicon light receiving surface with a high energy fine beam to evaporate silicon or a high speed rotation Therefore, there is a problem that high-accuracy machining with a thin blade is required, resulting in an increase in manufacturing cost.
  • the embedding of metal in the slit-shaped groove cannot be performed using a low-cost printing method, and requires a complicated and long electrode forming method such as a wet plating method.
  • a complicated and long electrode forming method such as a wet plating method.
  • Patent Document 3 in the method of forming the sub-electrode near the main electrode in a stepwise manner by the nozzle drawing method, a plurality of nozzle drawing operations are required to set the sub-electrode to the target height, and There has been a problem that high alignment accuracy is required.
  • the area occupation ratio of the light receiving surface electrode on the light receiving surface of the silicon substrate can be reduced, but the through hole is not formed without forming the main electrode.
  • the number is increased, the length of the pn junction separation on the back surface of the silicon substrate becomes long, and the photoelectric conversion efficiency cannot be sufficiently increased.
  • a main electrode having an appropriate area for collecting electrons collected from a plurality of sub-electrodes is formed on the light-receiving surface of the silicon substrate, and through holes are provided in the main electrode to reduce the number of through-holes. It is possible to shorten the length of the pn junction separation on the back surface of the substrate.
  • the present invention has been made in view of the above problems, and an object of the present invention is to provide a photoelectric conversion device that has excellent characteristics and can be manufactured easily and inexpensively, and a method for manufacturing the photoelectric conversion device. There is to do.
  • the present invention includes a first conductivity type semiconductor and a through-hole penetrating between the first main surface and the second main surface of the first conductivity type semiconductor, and the first main surface of the first conductivity type semiconductor includes A second conductivity type semiconductor formed on the first main surface of the first conductivity type semiconductor, the inner wall surface of the through hole, and the second main surface of the first conductivity type semiconductor, wherein the first conductivity type semiconductor is formed; A light-receiving surface electrode formed so as to fill the concave portion of the first main surface, a first electrode formed on the second main surface of the first conductivity type semiconductor, and a second conductivity type of the inner wall surface of the through hole.
  • a through-hole electrode part formed in the inside of the through-hole in contact with the semiconductor; a second electrode formed in contact with the through-hole electrode part on the second conductive type semiconductor on the second main surface of the first conductive type semiconductor; The light receiving surface electrode and the second electrode are electrically connected by a through-hole electrode part.
  • the present invention is a method for manufacturing the photoelectric conversion device, wherein the step of installing the conductive paste so as to fill the concave portion and the step of forming the light receiving surface electrode by firing the conductive paste installed in the concave portion And a process for forming at least a part of the photoelectric conversion device.
  • the present invention it is possible to provide a photoelectric conversion device that has excellent characteristics and can be manufactured easily and inexpensively and a method for manufacturing the photoelectric conversion device.
  • FIG. 2 is a schematic cross-sectional view taken along line II-II in FIG.
  • FIG. 3 is a schematic cross-sectional view taken along III-III in FIG.
  • FIG. 4 is a schematic cross-sectional view illustrating a part of the manufacturing process of the example of the method for manufacturing the photoelectric conversion device shown in FIGS. 1 to 3.
  • FIG. 4 is a schematic cross-sectional view illustrating a part of the manufacturing process of the example of the method for manufacturing the photoelectric conversion device shown in FIGS. 1 to 3.
  • FIG. 4 is a schematic cross-sectional view illustrating a part of the manufacturing process of the example of the method for manufacturing the photoelectric conversion device shown in FIGS. 1 to 3.
  • FIG. 4 is a schematic cross-sectional view illustrating a part of the manufacturing process of the example of the method for manufacturing the photoelectric conversion device shown in FIGS. 1 to 3.
  • FIG. 4 is a schematic cross-sectional view illustrating a part of the manufacturing process of the example of the method for manufacturing the photoelectric conversion device shown in FIGS. 1 to 3.
  • FIG. 4 is a schematic cross-sectional view illustrating a part of the manufacturing process of the example of the method for manufacturing the photoelectric conversion device shown in FIGS. 1 to 3.
  • FIG. 4 is a schematic cross-sectional view illustrating a part of the manufacturing process of the example of the method for manufacturing the photoelectric conversion device shown in FIGS. 1 to 3.
  • FIG. 4 is a schematic cross-sectional view illustrating a part of the manufacturing process of the example of the method for manufacturing the photoelectric conversion device shown in FIGS. 1 to 3. It is a typical perspective view of an example of the conventional photovoltaic cell.
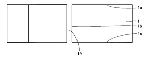
  • 1 p-type semiconductor 1a first main surface, 1b inner wall, 1c second main surface, 2nd electrode, 3 n-type semiconductor, 5a first main electrode, 5b, 105b sub-electrode, 5c second main electrode, 7 2nd electrode, 9 through-hole electrode part, 10 photoelectric conversion device, 13, 113 back electrode, 15 high-concentration p-type layer, 19 through-hole, 21 pn junction separation part, 23, 123 antireflection film, 26 1st recessed part, 27 second recess, 101 p-type silicon substrate, 103 n-type impurity diffusion layer, 105a main electrode, 105 light-receiving surface electrode, 115 high-concentration p-type impurity diffusion layer.
  • FIG. 1A shows a schematic plan view of an example of the light receiving surface of the photoelectric conversion device of the present invention
  • FIG. 1B schematically shows an example of the back surface of the photoelectric conversion device shown in FIG. A plan view is shown.
  • the photoelectric conversion device 10 for example, a p-type silicon substrate or the like is used as the p-type semiconductor 1, and the light-receiving surface of the p-type semiconductor 1 is relatively thick.
  • the first main electrode 5a having a line width and the second main electrode 5c having a larger line width than the first main electrode 5a, the first main electrode 5a, and the second main electrode 5c are formed to extend in the vertical direction.
  • a sub-electrode 5b having a relatively narrow line width is formed as a light-receiving surface electrode.
  • a through-hole electrode portion 9 is buried below the second main electrode 5c, and the through-hole electrode portion 9 penetrates the p-type semiconductor 1 from the light receiving surface to the back surface of the p-type semiconductor 1 in the thickness direction. It is formed so as to fill the through hole. Further, an antireflection film 23 is formed at a location other than the portion where the light receiving surface electrode 5 is formed on the first main surface 1 a of the p-type semiconductor 1.
  • a back electrode 13 is formed on almost the entire back surface of the p-type semiconductor 1, and the first electrodes 2 having a square surface are scattered on the back electrode 13.
  • the second electrode 7 having an annular surface is scattered in the portion where the back electrode 13 is not formed.
  • a pn junction separation portion 21 formed of a groove formed in an annular shape so as to surround the outside of the second electrode 7 is formed, and between the second electrode 7 and the pn junction separation portion 21 and between the second electrode 7 and An n-type semiconductor 3 is located between each of the back electrodes 13.
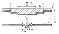
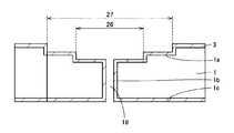
  • FIG. 2 shows a schematic cross-sectional view along II-II in FIG.
  • FIG. 3 shows a schematic cross-sectional view along III-III in FIG.
  • a through hole 19 is formed in the p-type semiconductor 1 so as to penetrate from the first main surface 1a of the p-type semiconductor 1 to the second main surface 1c.
  • An n-type semiconductor 3 is formed inside each of the inner wall surface 1 b of the hole 19 and the second main surface 1 c of the p-type semiconductor 1.
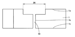
  • a second recess 27 that is a recess is formed in the first main surface 1 a of the p-type semiconductor 1, and the first recess 26 that is a recess deeper than the second recess 27 is formed in the second recess 27. Is formed.
  • the first main electrode 5a and the second main electrode 5c are formed so as to fill the first recess 26 and the second recess 27.
  • a through-hole electrode portion 9 that fills the inside of the through-hole 19 so as to be in contact with the inner wall surface 1 b of the through-hole 19 is formed inside the through-hole 19, and one end of the through-hole electrode portion 9 is formed. Is in contact with the second main electrode 5c so that the through hole electrode portion 9 and the second main electrode 5c are electrically connected, and the other end of the through hole electrode portion 9 is in contact with the second electrode 7. Thus, the through-hole electrode portion 9 and the second electrode 7 are electrically connected. Therefore, the second main electrode 5 c and the second electrode 7 that are light receiving surface electrodes are electrically connected via the through-hole electrode portion 9.
  • a pn junction separation portion 21 that is an annular groove is formed so as to surround the outer periphery of the two electrodes 7. The depth of the groove constituting the pn junction isolation portion 21 penetrates through the n-type semiconductor 3 and reaches the inside of the p-type semiconductor 1.
  • the second main surface 1 c of the p-type semiconductor 1 has a high-concentration p-type layer 15 in which p-type impurities are introduced into the p-type semiconductor 1 (that is, in the high-concentration p-type layer 15.
  • the p-type impurity concentration is higher than the p-type impurity concentration in the p-type semiconductor 1) and is in contact with the back electrode 13, and the back electrode 13 located on the opposite side of the high-concentration p-type layer 15 is formed.
  • a first electrode 2 is formed on the surface.
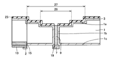
  • FIGS. 1 to 3 schematic cross-sectional views of FIGS. 4 to 10.
  • 4 to 10 schematically show cross sections taken along line II-II in FIG. 1B.
  • the through-hole 19 is formed in the p-type semiconductor 1 which consists of a p-type silicon substrate.
  • the p-type semiconductor 1 is preferably set to a resistance value of, for example, about 0.1 to 20 ⁇ cm.
  • the formation method of the through-hole 19 is not particularly limited, but can be formed by, for example, laser processing by laser light irradiation.
  • the shape and dimensions of the through hole 19 are not particularly limited, and for example, the shape of the opening of the through hole 19 can be a square (such as a square or a rectangle) or a circle.
  • a region outside the opening of the through hole 19 is formed so as to include the opening of the through hole 19 of the first main surface 1 a of the p-type semiconductor 1.
  • the first recess 26 is formed by partially removing the mold semiconductor 1 in the thickness direction.
  • the formation of the first recess 26 can be performed, for example, by irradiating the first main surface 1a of the p-type semiconductor 1 with a laser beam to remove a part of the p-type semiconductor 1.
  • the second recess is formed by partially removing the region outside the first recess 26 of the first main surface 1 a of the p-type semiconductor 1 in the thickness direction of the p-type semiconductor 1. 27 is formed.
  • the formation of the second recess 27 can also be performed, for example, by irradiating the first main surface 1a of the p-type semiconductor 1 with a laser beam to remove a part of the p-type semiconductor 1.
  • the first main surface 1a of the p-type semiconductor 1 is etched using an acid or alkali solution or reactive plasma, thereby causing surface damage due to the formation of the through hole 19, the first recess 26, and the second recess 27.
  • a texture structure may be formed on the first main surface 1 a of the p-type semiconductor 1.
  • the texture structure for example, an uneven structure having a height difference of about 1 to 10 ⁇ m can be formed.
  • the surface of the p-type semiconductor 1 (the first main surface 1 a of the p-type semiconductor 1, the inner wall surface 1 b of the through-hole 19, the first surface of the p-type semiconductor 1. 2
  • the n-type semiconductor 3 is formed inside the principal surface 1c).
  • the formation of the n-type semiconductor 3 can be performed, for example, by introducing n-type impurities into the surface of the p-type semiconductor 1 (first main surface 1a, inner wall surface 1b, and second main surface 1c).
  • the introduction of the n-type impurity can be carried out, for example, by placing the p-type semiconductor 1 in a high-temperature gas containing a material containing the n-type impurity (for example, POCl 3 ). Thereby, the n-type semiconductor 3 can be formed inside each of the surfaces of the p-type semiconductor 1 (the first main surface 1a, the inner wall surface 1b, and the second main surface 1c).
  • a high-temperature gas containing a material containing the n-type impurity for example, POCl 3
  • the method of forming the n-type semiconductor 3 is not limited to the above-described method.
  • the n-type semiconductor 3 may be formed by ion-implanting ions of n-type impurities into the surface of the p-type semiconductor 1.
  • an n-type semiconductor layer is separately grown on the surface of the p-type semiconductor 1 by a CVD method or the like.
  • the semiconductor 3 may be formed.
  • a p-type semiconductor substrate such as a p-type silicon substrate becomes the p-type semiconductor 1 as it is.
  • the n-type impurity concentration in the n-type semiconductor 3 is not particularly limited, and can be, for example, about 10 18 to 10 21 / cm 3 .
  • an antireflection film 23 is formed on the n-type semiconductor 3 on the first main surface 1 a of the p-type semiconductor 1.
  • the antireflection film 23 may be formed on the entire surface of the first main surface 1a of the p-type semiconductor 1, but the light-receiving surface electrode (the first main electrode 5a, It can also be formed so as to have an opening in a region where the sub-electrode 5b and the second main electrode 5c) are formed.
  • the antireflection film 23 When the antireflection film 23 is formed on the entire surface of the first main surface 1a of the p-type semiconductor 1, the light receiving surface electrodes (first main electrode 5a, sub electrode 5b, and second main electrode 5c) are antireflective. By baking after being formed on the film 23, the light-receiving surface electrode and the n-type semiconductor 3 on the first main surface 1a of the p-type semiconductor 1 can be made conductive by fire-through.
  • the material, thickness, manufacturing method, and the like of the antireflection film 23 are not particularly limited as long as the antireflection film 23 has a function of suppressing the surface reflection of sunlight.
  • the antireflection film 23 can be made of, for example, a SiN film having a thickness of 70 nm, and can be formed by, for example, a plasma CVD method.
  • the back electrode 13 is formed on the second main surface 1 c of the p-type semiconductor 1.
  • the back surface electrode 13 can be formed by, for example, printing a paste containing aluminum on the second main surface 1c of the p-type semiconductor 1 and then baking it. By baking the paste containing aluminum, aluminum can be diffused immediately below the back electrode 13 to form the high concentration p-type layer 15.
  • the depth of the high-concentration p-type layer 15 can be adjusted as appropriate depending on the thickness of the p-type semiconductor 1 and the like. For example, a depth of 0.2 to 6.0 ⁇ m from the second main surface 1c of the p-type semiconductor 1 is used. Preferably.
  • a back surface electric field layer or a back surface reflection layer may be formed on the second main surface 1c of the p-type semiconductor 1, and an oxide film, a nitride film, or the like is formed to prevent surface recombination. Also good.
  • an oxide film such as a silicon oxide film and a titanium oxide film, a nitride film, or the like can be used.
  • the first electrode 2 is formed on the back electrode 13 of the second main surface 1 c of the p-type semiconductor 1.
  • the through-hole electrode portion 9 is formed inside the through-hole 19 and further covers a part of the n-type semiconductor 3 on the second main surface 1 c of the p-type semiconductor 1 and the end portion of the through-hole electrode portion 9.
  • the second electrode 7 can be formed such that a pn junction isolation portion 21 is provided between the second electrode 7 and the back electrode 13.
  • the material, thickness, manufacturing method, and the like of the first electrode 2, the second electrode 7, and the through-hole electrode portion 9 are not particularly limited as long as they function as electrodes.
  • the 1st electrode 2, the 2nd electrode 7, and the through-hole electrode part 9 may be comprised from the same material, and at least 1 may be comprised from a different material. It is preferable that the 1st electrode 2, the 2nd electrode 7, and the through-hole electrode part 9 are comprised with the metal suitable for soldering, for example, silver.
  • the first electrode 2, the second electrode 7, and the through-hole electrode portion 9 can be formed by, for example, a vapor deposition method, a printing firing method, a plating method, or the like.
  • the second electrode 7 and the through-hole electrode portion 9 are simultaneously formed by a method such as firing after printing a conductive paste such as a paste containing metal from the second main surface 1c side of the p-type semiconductor 1. be able to.
  • the light-receiving surface electrodes (first main electrode 5a, sub-electrode 5b, second main electrode 5c) are formed on the first main surface 1a of the p-type semiconductor 1. Is formed.
  • the light receiving surface electrodes (first main electrode 5a, sub-electrode 5b, second main electrode 5c) are electrically connected to the n-type semiconductor 3 of the first main surface 1a of the p-type semiconductor 1, and n There is no particular limitation as long as the power generated in the photoelectric conversion device 10 can be recovered from the type semiconductor 3.
  • the material of the light receiving surface electrode is not particularly limited as long as it is formed of a conductive material.
  • a metal or an alloy such as gold, platinum, silver, copper, aluminum, nickel, chromium, tungsten, iron, tantalum, titanium, or molybdenum, or a transparent conductive material such as SnO 2 , In 2 O 3 , ZnO, or ITO. It can be formed by using a layer or a laminate, and a combination of the above metal and alloy.
  • the light-receiving surface electrode is prepared by mixing a powdered metal or alloy as described above with a resin to prepare a paste-like conductive paste on the first main surface 1 a of the p-type semiconductor 1. It can be formed by firing after printing.
  • the light receiving surface electrode can also be formed by, for example, a vapor deposition method.
  • the film thickness of these electrodes is not particularly limited, and can be, for example, about 1 to 50 ⁇ m.
  • the light-receiving surface electrode can be formed at an arbitrary position and in an arbitrary area.
  • the light-receiving surface electrode has an area of about 2 to 8% with respect to the total area of the light-receiving surface of the photoelectric conversion device 10, and is striped, grid, It is preferable to form in the shape.
  • a pn junction separation part 21 is formed by forming a groove in the second main surface 1 c of the p-type semiconductor 1 to form the photoelectric conversion device 10. Manufacturing is complete.
  • separation part 21 can be formed by irradiating the 2nd main surface 1c of the p-type semiconductor 1 with a laser beam, and removing a part of p-type semiconductor 1, for example.
  • the concave portions are formed using, for example, laser light.
  • the width and depth of the recess are not particularly limited, but the width is preferably about the width of the main electrode at the maximum and the depth is about 1 ⁇ 2 of the thickness of the p-type semiconductor 1.
  • the depth of a recessed part may form several depth as mentioned above, and one kind of depth may be sufficient as it.
  • the order of the above steps (1) to (8) can be changed as appropriate.
  • the light receiving surface can be easily formed on the recesses (the first recess 26 and the second recess 27) of the first main surface 1a of the p-type semiconductor 1 by a method such as printing.
  • the electrodes (first main electrode 5a and second main electrode 5c) so as to be buried, the light-receiving surface electrodes (first main electrode 5a and second main electrode 5c) can be formed deep (thick).
  • the line width of the light receiving surface electrodes (first main electrode 5a and second main electrode 5c) can be easily and inexpensively reduced, and the light receiving surface electrodes (first The cross-sectional areas of the first main electrode 5a and the second main electrode 5c) can be ensured wider than those of the conventional light-receiving surface electrode with a reduced line width.
  • the photoelectric conversion device 10 of the present invention has excellent characteristics and can be easily and inexpensively manufactured.
  • the p-type semiconductor 1 made of a p-type polycrystalline silicon substrate having an outer shape of 155 ⁇ 155 mm, a thickness of 0.20 mm, and a specific resistance of 2 ⁇ cm is irradiated with laser light to form four through holes 19. A total of 32 pieces were formed in 8 rows. The shape of the opening of the through hole 19 was circular, and its diameter was approximately 0.30 mm.
  • the laser light is irradiated on the first main surface 1a of the p-type semiconductor 1 by appropriately changing the irradiation conditions such as the output of the laser light and the irradiation region, and a part thereof.
  • the recesses first recess 26 and second recess 27
  • the main electrodes first main electrode 5a and second main electrode 5c
  • the first recess 26 has a length of 8 mm and a depth of about 0.05 mm with the opening of the through hole 19 as the center, and the second recess 27 further has a length of 4 mm and a depth from both ends of the first recess 26. It formed so that it might be set to about 0.03 mm.
  • variety of the 1st recessed part 26 and the 2nd recessed part 27 was 0.15 mm, respectively.
  • the p-type semiconductor 1 was immersed in an 80 ° C. solution in which 7% alcohol was added to a 5% sodium hydroxide aqueous solution for 10 minutes, and the surface of the p-type semiconductor 1 was etched to a depth of 20 ⁇ m.
  • the crushing surface layer at the time of slicing the p-type semiconductor 1, the crushing surface layer by the irradiation of the laser beam at the time of forming the through hole 19, the first recess 26 and the second recess 27 was removed.
  • the p-type semiconductor 1 is inserted into a quartz tube in an electric furnace into which phosphorus oxychloride has been introduced, and phosphorus is diffused at 830 ° C. for 20 minutes.
  • 0.3 [mu] m the surface dopant concentration to form an n-type semiconductor 3 of about 10 19 / cm 3.
  • the sheet resistance value of the n-type semiconductor 3 was about 70 ⁇ / ⁇ .
  • a silicon nitride film having a thickness of about 70 nm is prevented from being reflected on the surface of the n-type semiconductor 3 by plasma CVD using a plasma CVD apparatus and using silane and ammonia as gas species.
  • a film 23 was formed.
  • a paste containing aluminum powder is printed on the second main surface 1c of the p-type semiconductor 1 and dried, and then fired in a near-infrared furnace.
  • the concentration p-type layer 15 was formed at the same time.
  • the back electrode 13 was formed avoiding a region having a diameter of about 5 mm with the through hole 19 as the center.
  • the first electrode 2 and the second electrode 7 are printed on the second main surface 1c of the p-type semiconductor 1 by using a screen printing method and then dried, as shown in FIG. A through electrode portion 9 was formed inside. Further, each of the first electrode 2 and the second electrode 7 was formed of silver having a diameter of about 3 mm as shown in FIG. 9 so that a pn junction separation portion 21 was provided between the first electrode 2 and the second electrode 7.
  • a silver paste made of silver powder, glass frit, resin, and organic solvent is applied on the antireflection film 23 to the pattern (length 20 mm, width 0.07 mm, pitch 2 mm) of the sub-electrode 5b shown in FIG. Screen printed.
  • a silver paste made of silver powder, glass frit, resin and organic solvent is screened on the antireflection film 23 in the pattern (length 152 mm, width 0.75 mm) of the first main electrode 5a shown in FIG. Printed. Further, a silver paste made of silver powder, glass frit, resin and organic solvent was screen printed on the antireflection film 23 in the pattern of the second main electrode 5c shown in FIG.
  • the pattern of the second main electrode 5c is a pattern in which the width of only the periphery of the through hole 19 is increased to about 1.5 mm so that the through electrode portion 9 is in contact with the second main electrode 5c.
  • the light-receiving surface electrodes (first main electrode 5a, sub-electrode 5b, and second main electrode 5c) are baked in the near-infrared furnace by baking the screen-printed light-receiving surface electrode pattern at a temperature of about 650 ° C. Formed.
  • the screen-printed light-receiving surface electrode pattern penetrates through the antireflection film 23 by fire-through and contacts the n-type semiconductor 3 with the light-receiving surface electrode first main electrode 5a, sub-electrode 5b, and second main electrode 5c. ) could be formed.
  • the height of the first main electrode 5a from the first main surface 1a of the p-type semiconductor 1 other than the recesses was about 0.02 mm. Further, when the second main electrode 5 c is in contact with the through electrode portion 9, the first main electrode 5 a having a width of 0.75 mm is in contact with the recess 26 and the recess 27. That is, high alignment accuracy was not required.
  • the height of the sub electrode 5b was approximately 0.015 mm.
  • the photoelectric conversion device of Example 1 was completed through the above steps.
  • the light receiving surface electrode has an external shape of 73 sub-electrodes 5b and 4 first main electrodes 5a.
  • the photoelectric conversion device of Example 1 obtained in this way was measured for current-voltage characteristics.
  • current terminals are connected to four locations of the first main electrode 5a and the back electrode 13 of the photoelectric conversion device of Example 1. This was done by connecting the voltage terminals. The results are shown in Table 1.
  • the first main surface 1a of the p-type semiconductor 1 is made flat without forming the recesses (the first recess 26 and the second recess 27) on the first main surface 1a of the p-type semiconductor 1, and the light-receiving surface electrode
  • a photoelectric conversion device was manufactured in the same manner as in Example 1 except that only the first main electrode 5a having a width of 1.5 mm was formed without forming the second main electrode 5c as the main electrode.
  • Example 1 except that the first main surface 1a of the p-type semiconductor 1 is in a flat state without forming the recesses (the first recess 26 and the second recess 27) in the first main surface 1a of the p-type semiconductor 1.
  • a photoelectric conversion device was produced in the same manner as described above.
  • the photoelectric conversion device of Comparative Example 2 is different from the photoelectric conversion device of Example 1 in that no recesses (first recess 26 and second recess 27) are formed on the first main surface 1a of the p-type semiconductor 1. Unlike the photoelectric conversion device of Comparative Example 1, the second main electrode 5c is formed. In the photoelectric conversion device of Comparative Example 2, the height of the first main electrode 5a and the second main electrode 5c from the first main surface 1a of the p-type semiconductor 1 was about 0.02 mm.
  • the short-circuit current density (Jsc) can be improved by reducing the line width of the main electrode (first main electrode 5a) of the light-receiving surface electrode, and the main The electrodes are formed in the recesses (the first recess 26 and the second recess 27) and have a large cross-sectional area, so it is considered that no decrease in the fill factor (FF) value was observed.
  • the line width of the main electrode of the light-receiving surface electrode is wide. F. Although a high value was obtained, it is considered that the short-circuit current density (Jsc) decreased because the light receiving area that absorbs light decreased.
  • the short-circuit current density (Jsc) could be improved by narrowing the line width of the main electrode of the light receiving surface electrode, but the increase in the line resistance of the main electrode of the light receiving surface electrode F. F. The value is considered to have decreased.
  • a main electrode can be formed in the concave portion of the light receiving surface of the solar cell, the main electrode can be miniaturized, and the height of the main electrode can be reduced.
  • F. can be increased.
  • F. It can be set as the solar cell which can improve a short circuit current density (Jsc) further, maintaining a value at a high value.
  • the photoelectric conversion device of the present invention to the solar cell having the above-described MWT (Metallization Wrap Through) cell structure, it is possible to suppress an increase in manufacturing cost because no manufacturing process is added.
  • MWT Metallization Wrap Through

Landscapes

  • Photovoltaic Devices (AREA)
PCT/JP2008/071521 2007-12-25 2008-11-27 光電変換装置および光電変換装置の製造方法 Ceased WO2009081684A1 (ja)

Priority Applications (2)

Application Number Priority Date Filing Date Title
US12/810,205 US20100276772A1 (en) 2007-12-25 2008-11-27 Photoelectric conversion device and method of manufacturing photoelectric conversion device
EP08865004A EP2234169A1 (en) 2007-12-25 2008-11-27 Photoelectric conversion device and method for manufacturing photoelectric conversion device

Applications Claiming Priority (2)

Application Number Priority Date Filing Date Title
JP2007332429A JP2009158575A (ja) 2007-12-25 2007-12-25 光電変換装置および光電変換装置の製造方法
JP2007-332429 2007-12-25

Publications (1)

Publication Number Publication Date
WO2009081684A1 true WO2009081684A1 (ja) 2009-07-02

Family

ID=40800996

Family Applications (1)

Application Number Title Priority Date Filing Date
PCT/JP2008/071521 Ceased WO2009081684A1 (ja) 2007-12-25 2008-11-27 光電変換装置および光電変換装置の製造方法

Country Status (4)

Country Link
US (1) US20100276772A1 (enExample)
EP (1) EP2234169A1 (enExample)
JP (1) JP2009158575A (enExample)
WO (1) WO2009081684A1 (enExample)

Cited By (3)

* Cited by examiner, † Cited by third party
Publication number Priority date Publication date Assignee Title
WO2011040489A1 (ja) * 2009-09-29 2011-04-07 京セラ株式会社 太陽電池素子および太陽電池モジュール
WO2011061043A3 (en) * 2009-11-19 2011-10-27 International Business Machines Corporation Grid-line-free contact for a photovoltaic cell
WO2013051323A1 (ja) * 2011-10-03 2013-04-11 三菱電機株式会社 太陽電池素子およびその製造方法

Families Citing this family (11)

* Cited by examiner, † Cited by third party
Publication number Priority date Publication date Assignee Title
JP2011077361A (ja) * 2009-09-30 2011-04-14 Dainippon Printing Co Ltd 太陽電池システム及びその製造方法
CN101807609A (zh) * 2010-04-02 2010-08-18 中国科学院苏州纳米技术与纳米仿生研究所 适用于高倍聚光电池和薄膜电池的电极结构
IT1403828B1 (it) * 2010-12-02 2013-10-31 Applied Materials Italia Srl Procedimento per la stampa di un substrato
US20120244702A1 (en) * 2011-03-22 2012-09-27 Applied Materials Italia S.R.L. Method for printing a substrate
JP2012209316A (ja) * 2011-03-29 2012-10-25 Kyocera Corp 太陽電池素子および太陽電池モジュール
US9153713B2 (en) 2011-04-02 2015-10-06 Csi Cells Co., Ltd Solar cell modules and methods of manufacturing the same
DE102011018374A1 (de) * 2011-04-20 2012-10-25 Fraunhofer-Gesellschaft zur Förderung der angewandten Forschung e.V. Verfahren zur Herstellung einer metallischen Kontaktstruktur einer Halbleiterstruktur mit Durchkontaktierung und photovoltaische Solarzelle
US9281435B2 (en) 2011-05-27 2016-03-08 Csi Cells Co., Ltd Light to current converter devices and methods of manufacturing the same
NL2008970C2 (en) * 2012-06-08 2013-12-10 Tempress Ip B V Method of manufacturing a solar cell and solar cell thus obtained.
GB2508792A (en) * 2012-09-11 2014-06-18 Rec Modules Pte Ltd Back contact solar cell cell interconnection arrangements
CN120547982A (zh) * 2023-03-31 2025-08-26 天合光能股份有限公司 太阳电池及太阳电池的制备方法

Citations (8)

* Cited by examiner, † Cited by third party
Publication number Priority date Publication date Assignee Title
JPS58201377A (ja) * 1982-05-19 1983-11-24 Nec Corp 太陽電池素子
JPS615584A (ja) * 1984-03-26 1986-01-11 ユニサ−チ リミテツド 電気半導体
JPS63211773A (ja) * 1987-02-27 1988-09-02 Mitsubishi Electric Corp 化合物半導体太陽電池
JPH0251282A (ja) * 1988-08-12 1990-02-21 Sharp Corp 光電変換装置
JP2002176186A (ja) 2000-12-05 2002-06-21 Mitsubishi Electric Corp 太陽電池及び太陽電池モジュール
JP2005353691A (ja) 2004-06-08 2005-12-22 Sharp Corp 電極、太陽電池、これらの製造方法
JP2007521668A (ja) * 2004-02-05 2007-08-02 アドベント ソーラー,インク. バックコンタクト型太陽電池とその製造法
WO2007099955A1 (ja) * 2006-03-01 2007-09-07 Sanyo Electric Co., Ltd. 太陽電池セル、及び、この太陽電池セルを用いた太陽電池モジュール

Family Cites Families (4)

* Cited by examiner, † Cited by third party
Publication number Priority date Publication date Assignee Title
JPS6482570A (en) * 1987-09-24 1989-03-28 Mitsubishi Electric Corp Manufacture of photoelectric conversion device
JPH0415962A (ja) * 1990-05-09 1992-01-21 Sharp Corp 太陽電池及びその製造方法
JP2958203B2 (ja) * 1992-12-15 1999-10-06 京セラ株式会社 太陽電池素子の製造方法
EP0881694A1 (en) * 1997-05-30 1998-12-02 Interuniversitair Micro-Elektronica Centrum Vzw Solar cell and process of manufacturing the same

Patent Citations (9)

* Cited by examiner, † Cited by third party
Publication number Priority date Publication date Assignee Title
JPS58201377A (ja) * 1982-05-19 1983-11-24 Nec Corp 太陽電池素子
JPS615584A (ja) * 1984-03-26 1986-01-11 ユニサ−チ リミテツド 電気半導体
JPH08191152A (ja) 1984-03-26 1996-07-23 Unisearch Ltd 太陽電池および太陽電池の製造方法
JPS63211773A (ja) * 1987-02-27 1988-09-02 Mitsubishi Electric Corp 化合物半導体太陽電池
JPH0251282A (ja) * 1988-08-12 1990-02-21 Sharp Corp 光電変換装置
JP2002176186A (ja) 2000-12-05 2002-06-21 Mitsubishi Electric Corp 太陽電池及び太陽電池モジュール
JP2007521668A (ja) * 2004-02-05 2007-08-02 アドベント ソーラー,インク. バックコンタクト型太陽電池とその製造法
JP2005353691A (ja) 2004-06-08 2005-12-22 Sharp Corp 電極、太陽電池、これらの製造方法
WO2007099955A1 (ja) * 2006-03-01 2007-09-07 Sanyo Electric Co., Ltd. 太陽電池セル、及び、この太陽電池セルを用いた太陽電池モジュール

Non-Patent Citations (3)

* Cited by examiner, † Cited by third party
Title
"IEEE 4th World Conference on Photovoltaic Energy Conversion", 2006, article GRANEK F. ET AL.: "A SYSTEMATIC APPROACH TO REDUCE PROCESS-INDUCED SHUNTS IN BACK-CONTACTED MC-SI SOLAR CELLS", pages: 1319 - 1322, XP031007558 *
FILIP GRANEK ET AL., IEEE 4TH WORLD CONFERENCE ON PHOTOVOLTAIC ENERGY CONVERSION, 2006, pages 1319 - 1322
FILIP GRANEK ET AL.: "A SYSTEMATIC APPROACH TO REDUCE PROCESS-INDUCED SHUNTS IN BACK-CONTACTED MC-SI SOLAR CELLS", IEEE 4TH WORLD CONFERENCE ON PHOTOVOLTAIC ENERGY CONVERSION, 2006, pages 1319 - 1322, XP031007558

Cited By (9)

* Cited by examiner, † Cited by third party
Publication number Priority date Publication date Assignee Title
WO2011040489A1 (ja) * 2009-09-29 2011-04-07 京セラ株式会社 太陽電池素子および太陽電池モジュール
CN102388465A (zh) * 2009-09-29 2012-03-21 京瓷株式会社 太阳能电池元件及太阳能电池模块
JP2013102217A (ja) * 2009-09-29 2013-05-23 Kyocera Corp 太陽電池素子および太陽電池モジュール
JP5289578B2 (ja) * 2009-09-29 2013-09-11 京セラ株式会社 太陽電池素子および太陽電池モジュール
CN102388465B (zh) * 2009-09-29 2014-11-05 京瓷株式会社 太阳能电池元件及太阳能电池模块
US8912431B2 (en) 2009-09-29 2014-12-16 Kyocera Corporation Solar cell element and solar cell module
EP2485278A4 (en) * 2009-09-29 2017-12-20 Kyocera Corporation Solar cell element and solar cell module
WO2011061043A3 (en) * 2009-11-19 2011-10-27 International Business Machines Corporation Grid-line-free contact for a photovoltaic cell
WO2013051323A1 (ja) * 2011-10-03 2013-04-11 三菱電機株式会社 太陽電池素子およびその製造方法

Also Published As

Publication number Publication date
US20100276772A1 (en) 2010-11-04
EP2234169A1 (en) 2010-09-29
JP2009158575A (ja) 2009-07-16

Similar Documents

Publication Publication Date Title
WO2009081684A1 (ja) 光電変換装置および光電変換装置の製造方法
JP5172480B2 (ja) 光電変換装置およびその製造方法
CN101447516B (zh) 太阳能电池和太阳能电池的制造方法
JP5193058B2 (ja) バックコンタクト太陽電池
US20160197207A1 (en) Solar cell, solar cell module, and manufacturing method of solar cell
JP5460860B2 (ja) 太陽電池素子およびその製造方法
CN102157612B (zh) 太阳能电池及其制造方法
JP2008519438A (ja) バックコンタクト太陽電池
US20120017986A1 (en) Photovoltaic device and method for manufacturing the same
CN102077358B (zh) 光电动势装置及其制造方法
CN102792455A (zh) 背接触异质结光伏电池
JP2010135562A (ja) 光電変換素子、光電変換素子モジュールおよび光電変換素子の製造方法
JP5496136B2 (ja) 光起電力装置および光起電力モジュール
JP2005353691A (ja) 電極、太陽電池、これらの製造方法
WO2011074280A1 (ja) 光起電力装置およびその製造方法
JP5826380B2 (ja) 太陽電池および太陽電池の製造方法、太陽電池モジュール
EP2219227A2 (en) Solar cell
JP2007266262A (ja) インターコネクタ付き太陽電池、太陽電池モジュールおよび太陽電池モジュールの製造方法
JP2004273826A (ja) 光電変換装置及びその製造方法
JP5645734B2 (ja) 太陽電池素子
JP2001257371A (ja) 太陽電池作製方法及び太陽電池並びに集光型太陽電池モジュール
JP2005260157A (ja) 太陽電池セルおよび太陽電池モジュール
JP5029921B2 (ja) 太陽電池セルの製造方法
JP2012023139A (ja) エッチング方法
JP2011222630A (ja) 光起電力装置の製造方法

Legal Events

Date Code Title Description
121 Ep: the epo has been informed by wipo that ep was designated in this application

Ref document number: 08865004

Country of ref document: EP

Kind code of ref document: A1

WWE Wipo information: entry into national phase

Ref document number: 12810205

Country of ref document: US

NENP Non-entry into the national phase

Ref country code: DE

WWE Wipo information: entry into national phase

Ref document number: 2008865004

Country of ref document: EP