KR20200044997A - 파장-편이 섬유-결합 신틸레이션 검출기를 사용한 x-선 검사 - Google Patents
파장-편이 섬유-결합 신틸레이션 검출기를 사용한 x-선 검사 Download PDFInfo
- Publication number
- KR20200044997A KR20200044997A KR1020207011500A KR20207011500A KR20200044997A KR 20200044997 A KR20200044997 A KR 20200044997A KR 1020207011500 A KR1020207011500 A KR 1020207011500A KR 20207011500 A KR20207011500 A KR 20207011500A KR 20200044997 A KR20200044997 A KR 20200044997A
- Authority
- KR
- South Korea
- Prior art keywords
- detector
- scintillation
- scintillator
- fiber
- ray
- Prior art date
- Legal status (The legal status is an assumption and is not a legal conclusion. Google has not performed a legal analysis and makes no representation as to the accuracy of the status listed.)
- Ceased
Links
Images
Classifications
-
- G—PHYSICS
- G01—MEASURING; TESTING
- G01T—MEASUREMENT OF NUCLEAR OR X-RADIATION
- G01T1/00—Measuring X-radiation, gamma radiation, corpuscular radiation, or cosmic radiation
- G01T1/16—Measuring radiation intensity
- G01T1/20—Measuring radiation intensity with scintillation detectors
- G01T1/202—Measuring radiation intensity with scintillation detectors the detector being a crystal
-
- G—PHYSICS
- G01—MEASURING; TESTING
- G01T—MEASUREMENT OF NUCLEAR OR X-RADIATION
- G01T1/00—Measuring X-radiation, gamma radiation, corpuscular radiation, or cosmic radiation
- G01T1/16—Measuring radiation intensity
- G01T1/20—Measuring radiation intensity with scintillation detectors
- G01T1/201—Measuring radiation intensity with scintillation detectors using scintillating fibres
-
- G—PHYSICS
- G01—MEASURING; TESTING
- G01N—INVESTIGATING OR ANALYSING MATERIALS BY DETERMINING THEIR CHEMICAL OR PHYSICAL PROPERTIES
- G01N23/00—Investigating or analysing materials by the use of wave or particle radiation, e.g. X-rays or neutrons, not covered by groups G01N3/00 – G01N17/00, G01N21/00 or G01N22/00
- G01N23/02—Investigating or analysing materials by the use of wave or particle radiation, e.g. X-rays or neutrons, not covered by groups G01N3/00 – G01N17/00, G01N21/00 or G01N22/00 by transmitting the radiation through the material
- G01N23/06—Investigating or analysing materials by the use of wave or particle radiation, e.g. X-rays or neutrons, not covered by groups G01N3/00 – G01N17/00, G01N21/00 or G01N22/00 by transmitting the radiation through the material and measuring the absorption
-
- G—PHYSICS
- G01—MEASURING; TESTING
- G01T—MEASUREMENT OF NUCLEAR OR X-RADIATION
- G01T1/00—Measuring X-radiation, gamma radiation, corpuscular radiation, or cosmic radiation
- G01T1/16—Measuring radiation intensity
- G01T1/20—Measuring radiation intensity with scintillation detectors
- G01T1/2006—Measuring radiation intensity with scintillation detectors using a combination of a scintillator and photodetector which measures the means radiation intensity
-
- G—PHYSICS
- G01—MEASURING; TESTING
- G01T—MEASUREMENT OF NUCLEAR OR X-RADIATION
- G01T1/00—Measuring X-radiation, gamma radiation, corpuscular radiation, or cosmic radiation
- G01T1/16—Measuring radiation intensity
- G01T1/20—Measuring radiation intensity with scintillation detectors
- G01T1/2008—Measuring radiation intensity with scintillation detectors using a combination of different types of scintillation detectors, e.g. phoswich
-
- G—PHYSICS
- G01—MEASURING; TESTING
- G01T—MEASUREMENT OF NUCLEAR OR X-RADIATION
- G01T1/00—Measuring X-radiation, gamma radiation, corpuscular radiation, or cosmic radiation
- G01T1/16—Measuring radiation intensity
- G01T1/20—Measuring radiation intensity with scintillation detectors
- G01T1/2018—Scintillation-photodiode combinations
- G01T1/20181—Stacked detectors, e.g. for measuring energy and positional information
-
- G—PHYSICS
- G01—MEASURING; TESTING
- G01T—MEASUREMENT OF NUCLEAR OR X-RADIATION
- G01T1/00—Measuring X-radiation, gamma radiation, corpuscular radiation, or cosmic radiation
- G01T1/16—Measuring radiation intensity
- G01T1/20—Measuring radiation intensity with scintillation detectors
- G01T1/2018—Scintillation-photodiode combinations
- G01T1/20185—Coupling means between the photodiode and the scintillator, e.g. optical couplings using adhesives with wavelength-shifting fibres
-
- G—PHYSICS
- G01—MEASURING; TESTING
- G01T—MEASUREMENT OF NUCLEAR OR X-RADIATION
- G01T1/00—Measuring X-radiation, gamma radiation, corpuscular radiation, or cosmic radiation
- G01T1/16—Measuring radiation intensity
- G01T1/20—Measuring radiation intensity with scintillation detectors
- G01T1/203—Measuring radiation intensity with scintillation detectors the detector being made of plastics
-
- G—PHYSICS
- G01—MEASURING; TESTING
- G01T—MEASUREMENT OF NUCLEAR OR X-RADIATION
- G01T1/00—Measuring X-radiation, gamma radiation, corpuscular radiation, or cosmic radiation
- G01T1/16—Measuring radiation intensity
- G01T1/20—Measuring radiation intensity with scintillation detectors
- G01T1/204—Measuring radiation intensity with scintillation detectors the detector being a liquid
-
- G—PHYSICS
- G01—MEASURING; TESTING
- G01T—MEASUREMENT OF NUCLEAR OR X-RADIATION
- G01T1/00—Measuring X-radiation, gamma radiation, corpuscular radiation, or cosmic radiation
- G01T1/16—Measuring radiation intensity
- G01T1/20—Measuring radiation intensity with scintillation detectors
- G01T1/208—Circuits specially adapted for scintillation detectors, e.g. for the photo-multiplier section
-
- G—PHYSICS
- G01—MEASURING; TESTING
- G01T—MEASUREMENT OF NUCLEAR OR X-RADIATION
- G01T3/00—Measuring neutron radiation
- G01T3/06—Measuring neutron radiation with scintillation detectors
-
- G—PHYSICS
- G01—MEASURING; TESTING
- G01T—MEASUREMENT OF NUCLEAR OR X-RADIATION
- G01T5/00—Recording of movements or tracks of particles; Processing or analysis of such tracks
- G01T5/08—Scintillation chambers
-
- G—PHYSICS
- G01—MEASURING; TESTING
- G01V—GEOPHYSICS; GRAVITATIONAL MEASUREMENTS; DETECTING MASSES OR OBJECTS; TAGS
- G01V5/00—Prospecting or detecting by the use of ionising radiation, e.g. of natural or induced radioactivity
- G01V5/20—Detecting prohibited goods, e.g. weapons, explosives, hazardous substances, contraband or smuggled objects
- G01V5/22—Active interrogation, i.e. by irradiating objects or goods using external radiation sources, e.g. using gamma rays or cosmic rays
-
- G—PHYSICS
- G01—MEASURING; TESTING
- G01V—GEOPHYSICS; GRAVITATIONAL MEASUREMENTS; DETECTING MASSES OR OBJECTS; TAGS
- G01V5/00—Prospecting or detecting by the use of ionising radiation, e.g. of natural or induced radioactivity
- G01V5/20—Detecting prohibited goods, e.g. weapons, explosives, hazardous substances, contraband or smuggled objects
- G01V5/22—Active interrogation, i.e. by irradiating objects or goods using external radiation sources, e.g. using gamma rays or cosmic rays
- G01V5/222—Active interrogation, i.e. by irradiating objects or goods using external radiation sources, e.g. using gamma rays or cosmic rays measuring scattered radiation
-
- H—ELECTRICITY
- H10—SEMICONDUCTOR DEVICES; ELECTRIC SOLID-STATE DEVICES NOT OTHERWISE PROVIDED FOR
- H10F—INORGANIC SEMICONDUCTOR DEVICES SENSITIVE TO INFRARED RADIATION, LIGHT, ELECTROMAGNETIC RADIATION OF SHORTER WAVELENGTH OR CORPUSCULAR RADIATION
- H10F39/00—Integrated devices, or assemblies of multiple devices, comprising at least one element covered by group H10F30/00, e.g. radiation detectors comprising photodiode arrays
- H10F39/10—Integrated devices
- H10F39/12—Image sensors
- H10F39/18—Complementary metal-oxide-semiconductor [CMOS] image sensors; Photodiode array image sensors
- H10F39/189—X-ray, gamma-ray or corpuscular radiation imagers
-
- H—ELECTRICITY
- H10—SEMICONDUCTOR DEVICES; ELECTRIC SOLID-STATE DEVICES NOT OTHERWISE PROVIDED FOR
- H10F—INORGANIC SEMICONDUCTOR DEVICES SENSITIVE TO INFRARED RADIATION, LIGHT, ELECTROMAGNETIC RADIATION OF SHORTER WAVELENGTH OR CORPUSCULAR RADIATION
- H10F39/00—Integrated devices, or assemblies of multiple devices, comprising at least one element covered by group H10F30/00, e.g. radiation detectors comprising photodiode arrays
- H10F39/80—Constructional details of image sensors
-
- G—PHYSICS
- G01—MEASURING; TESTING
- G01T—MEASUREMENT OF NUCLEAR OR X-RADIATION
- G01T1/00—Measuring X-radiation, gamma radiation, corpuscular radiation, or cosmic radiation
- G01T1/16—Measuring radiation intensity
- G01T1/20—Measuring radiation intensity with scintillation detectors
-
- G—PHYSICS
- G01—MEASURING; TESTING
- G01T—MEASUREMENT OF NUCLEAR OR X-RADIATION
- G01T7/00—Details of radiation-measuring instruments
-
- H—ELECTRICITY
- H10—SEMICONDUCTOR DEVICES; ELECTRIC SOLID-STATE DEVICES NOT OTHERWISE PROVIDED FOR
- H10F—INORGANIC SEMICONDUCTOR DEVICES SENSITIVE TO INFRARED RADIATION, LIGHT, ELECTROMAGNETIC RADIATION OF SHORTER WAVELENGTH OR CORPUSCULAR RADIATION
- H10F39/00—Integrated devices, or assemblies of multiple devices, comprising at least one element covered by group H10F30/00, e.g. radiation detectors comprising photodiode arrays
- H10F39/10—Integrated devices
- H10F39/12—Image sensors
-
- H—ELECTRICITY
- H10—SEMICONDUCTOR DEVICES; ELECTRIC SOLID-STATE DEVICES NOT OTHERWISE PROVIDED FOR
- H10F—INORGANIC SEMICONDUCTOR DEVICES SENSITIVE TO INFRARED RADIATION, LIGHT, ELECTROMAGNETIC RADIATION OF SHORTER WAVELENGTH OR CORPUSCULAR RADIATION
- H10F39/00—Integrated devices, or assemblies of multiple devices, comprising at least one element covered by group H10F30/00, e.g. radiation detectors comprising photodiode arrays
- H10F39/10—Integrated devices
- H10F39/12—Image sensors
- H10F39/18—Complementary metal-oxide-semiconductor [CMOS] image sensors; Photodiode array image sensors
Landscapes
- Physics & Mathematics (AREA)
- Life Sciences & Earth Sciences (AREA)
- General Physics & Mathematics (AREA)
- High Energy & Nuclear Physics (AREA)
- Health & Medical Sciences (AREA)
- Molecular Biology (AREA)
- Spectroscopy & Molecular Physics (AREA)
- General Life Sciences & Earth Sciences (AREA)
- Geophysics (AREA)
- Chemical & Material Sciences (AREA)
- Pathology (AREA)
- Analytical Chemistry (AREA)
- Biochemistry (AREA)
- General Health & Medical Sciences (AREA)
- Immunology (AREA)
- Crystallography & Structural Chemistry (AREA)
- Measurement Of Radiation (AREA)
- Toxicology (AREA)
- Analysing Materials By The Use Of Radiation (AREA)
- Investigating, Analyzing Materials By Fluorescence Or Luminescence (AREA)
- Transforming Light Signals Into Electric Signals (AREA)
- Investigating Or Analysing Materials By Optical Means (AREA)
- Photometry And Measurement Of Optical Pulse Characteristics (AREA)
Priority Applications (1)
| Application Number | Priority Date | Filing Date | Title |
|---|---|---|---|
| KR1020217004548A KR102266814B1 (ko) | 2012-02-14 | 2013-02-04 | 파장-편이 섬유-결합 신틸레이션 검출기를 사용한 x-선 검사 |
Applications Claiming Priority (7)
| Application Number | Priority Date | Filing Date | Title |
|---|---|---|---|
| US201261598576P | 2012-02-14 | 2012-02-14 | |
| US201261598521P | 2012-02-14 | 2012-02-14 | |
| US61/598,521 | 2012-02-14 | ||
| US61/598,576 | 2012-02-14 | ||
| US201261607066P | 2012-03-06 | 2012-03-06 | |
| US61/607,066 | 2012-03-06 | ||
| PCT/US2013/024585 WO2013122763A1 (en) | 2012-02-14 | 2013-02-04 | X-ray inspection using wavelength-shifting fiber-coupled scintillation detectors |
Related Parent Applications (1)
| Application Number | Title | Priority Date | Filing Date |
|---|---|---|---|
| KR1020147025181A Division KR102105727B1 (ko) | 2012-02-14 | 2013-02-04 | 파장-편이 섬유-결합 신틸레이션 검출기를 사용한 x-선 검사 |
Related Child Applications (1)
| Application Number | Title | Priority Date | Filing Date |
|---|---|---|---|
| KR1020217004548A Division KR102266814B1 (ko) | 2012-02-14 | 2013-02-04 | 파장-편이 섬유-결합 신틸레이션 검출기를 사용한 x-선 검사 |
Publications (1)
| Publication Number | Publication Date |
|---|---|
| KR20200044997A true KR20200044997A (ko) | 2020-04-29 |
Family
ID=48945537
Family Applications (4)
| Application Number | Title | Priority Date | Filing Date |
|---|---|---|---|
| KR1020207011500A Ceased KR20200044997A (ko) | 2012-02-14 | 2013-02-04 | 파장-편이 섬유-결합 신틸레이션 검출기를 사용한 x-선 검사 |
| KR1020207011502A Active KR102293638B1 (ko) | 2012-02-14 | 2013-02-04 | 파장-편이 섬유-결합 신틸레이션 검출기를 사용한 x-선 검사 |
| KR1020217004548A Active KR102266814B1 (ko) | 2012-02-14 | 2013-02-04 | 파장-편이 섬유-결합 신틸레이션 검출기를 사용한 x-선 검사 |
| KR1020147025181A Active KR102105727B1 (ko) | 2012-02-14 | 2013-02-04 | 파장-편이 섬유-결합 신틸레이션 검출기를 사용한 x-선 검사 |
Family Applications After (3)
| Application Number | Title | Priority Date | Filing Date |
|---|---|---|---|
| KR1020207011502A Active KR102293638B1 (ko) | 2012-02-14 | 2013-02-04 | 파장-편이 섬유-결합 신틸레이션 검출기를 사용한 x-선 검사 |
| KR1020217004548A Active KR102266814B1 (ko) | 2012-02-14 | 2013-02-04 | 파장-편이 섬유-결합 신틸레이션 검출기를 사용한 x-선 검사 |
| KR1020147025181A Active KR102105727B1 (ko) | 2012-02-14 | 2013-02-04 | 파장-편이 섬유-결합 신틸레이션 검출기를 사용한 x-선 검사 |
Country Status (18)
| Country | Link |
|---|---|
| US (4) | US9285488B2 (enExample) |
| EP (1) | EP2825904B1 (enExample) |
| JP (6) | JP2015513075A (enExample) |
| KR (4) | KR20200044997A (enExample) |
| CN (4) | CN104204854B (enExample) |
| BR (1) | BR112014019517B1 (enExample) |
| CA (2) | CA3080221A1 (enExample) |
| CL (1) | CL2014002144U1 (enExample) |
| DE (2) | DE202013012103U1 (enExample) |
| ES (4) | ES2685971T3 (enExample) |
| GT (1) | GT201400009U (enExample) |
| HK (1) | HK1244541A1 (enExample) |
| IL (3) | IL234076B (enExample) |
| MX (1) | MX337476B (enExample) |
| PE (1) | PE20150237Z (enExample) |
| PL (2) | PL125720U1 (enExample) |
| RU (1) | RU2606698C2 (enExample) |
| WO (1) | WO2013122763A1 (enExample) |
Families Citing this family (81)
| Publication number | Priority date | Publication date | Assignee | Title |
|---|---|---|---|---|
| US9958569B2 (en) | 2002-07-23 | 2018-05-01 | Rapiscan Systems, Inc. | Mobile imaging system and method for detection of contraband |
| US10532228B2 (en) * | 2010-04-16 | 2020-01-14 | Maureen Petterson | Multi-color charged particle detector apparatus and method of use thereof |
| US10898732B2 (en) * | 2010-04-16 | 2021-01-26 | Maureen Petterson | Multi-color charged particle detector apparatus and method of use thereof |
| US8884236B2 (en) * | 2010-06-21 | 2014-11-11 | American Science And Engineering, Inc. | Detector with active collimators |
| EP3252506B1 (en) | 2011-02-08 | 2020-11-18 | Rapiscan Systems, Inc. | Covert surveillance using multi-modality sensing |
| KR102065318B1 (ko) | 2012-02-03 | 2020-01-10 | 라피스캔 시스템스, 인코포레이티드 | 조합형 산란 및 투과 멀티-뷰 이미징 시스템 |
| CA3080221A1 (en) | 2012-02-14 | 2013-08-22 | American Science And Engineering, Inc. | X-ray inspection using wavelength-shifting fiber-coupled scintillation detectors |
| US10670740B2 (en) | 2012-02-14 | 2020-06-02 | American Science And Engineering, Inc. | Spectral discrimination using wavelength-shifting fiber-coupled scintillation detectors |
| US9182361B2 (en) | 2013-05-28 | 2015-11-10 | Ann Arbor Digital Devices Inc. | Digital X-ray imaging system with still and video capture modes |
| RO130582B1 (ro) * | 2014-01-23 | 2021-12-30 | Mb Telecom Ltd. S.R.L. | Sistem şi metodă pentru inspecţia completă şi neintruzivă a aeronavelor |
| US9707710B2 (en) | 2014-02-27 | 2017-07-18 | Saint-Gobain Ceramics And Plastics, Inc. | Scintillator stack, device including the scintillator stack, and method for making the scintillator stack |
| US20150241578A1 (en) * | 2014-02-27 | 2015-08-27 | Saint-Gobain Ceramics & Plastics, Inc. | Scintillator stack, device including the scintillator stack, and method for making the scintillator stack |
| US11266006B2 (en) | 2014-05-16 | 2022-03-01 | American Science And Engineering, Inc. | Method and system for timing the injections of electron beams in a multi-energy x-ray cargo inspection system |
| US9867271B2 (en) | 2014-05-16 | 2018-01-09 | American Science And Engineering, Inc. | Source for intra-pulse multi-energy X-ray cargo inspection |
| US10459111B2 (en) * | 2014-05-23 | 2019-10-29 | Radiabeam Technologies, Llc | System and method for adaptive X-ray cargo inspection |
| CN104035123B (zh) * | 2014-06-27 | 2017-02-15 | 中国电子科技集团公司第八研究所 | 一种基于闪烁体与光纤耦合的β表面污染探测装置及方法 |
| US10228487B2 (en) | 2014-06-30 | 2019-03-12 | American Science And Engineering, Inc. | Rapidly relocatable modular cargo container scanner |
| CN105425273A (zh) * | 2014-09-17 | 2016-03-23 | 中国科学技术大学 | 一种用于测量高通量x射线能谱的吸收体阵列的装置及方法 |
| US10762998B2 (en) * | 2014-11-20 | 2020-09-01 | Viken Detection Corporation | X-ray scanning system |
| HK1245499A1 (zh) * | 2015-01-20 | 2018-08-24 | American Science And Engineering, Inc. | 动态可调整的焦点 |
| DE102015101764A1 (de) * | 2015-02-06 | 2016-08-11 | Thermo Fisher Scientific Messtechnik Gmbh | Vorrichtung und Verfahren zur Detektion von radioaktiver Strahlung |
| PL3265851T3 (pl) | 2015-03-04 | 2021-05-31 | Rapiscan Systems, Inc. | Detektor wieloenergetyczny |
| MX379793B (es) | 2015-03-20 | 2025-03-11 | Rapiscan Systems Inc | Sistema portátil de inspección de retrodispersión. |
| US9753151B2 (en) | 2015-07-31 | 2017-09-05 | General Electric Company | Light guide array for pet detector fabrication methods and apparatus |
| HK1257878A1 (zh) * | 2015-09-10 | 2019-11-01 | American Science And Engineering, Inc. | 使用行间自适应电磁x射线扫描的反向散射表徵 |
| GB2557067B (en) | 2015-09-15 | 2021-08-18 | Halliburton Energy Services Inc | Downhole photon radiation detection using scintillating fibers |
| US10591629B2 (en) | 2015-11-09 | 2020-03-17 | American Science And Engineering, Inc. | Mobile x-ray scan speed control |
| EP3472592A4 (en) * | 2016-06-21 | 2020-01-15 | Shenzhen Genorivision Technology Co., Ltd. | BIOSENSOR |
| GB2552537B (en) * | 2016-07-28 | 2020-05-27 | Smiths Heimann Sas | Inspection system with source of radiation and method |
| WO2018036265A1 (zh) * | 2016-08-25 | 2018-03-01 | 北京华力兴科技发展有限责任公司 | 一种用于车辆安全检查的成像装置及其方法 |
| CN106290427A (zh) * | 2016-10-17 | 2017-01-04 | 北京君和信达科技有限公司 | 背散射成像方法及系统 |
| CN106483153A (zh) * | 2016-12-23 | 2017-03-08 | 同方威视技术股份有限公司 | 双能探测器及辐射检查系统 |
| CN106526688A (zh) * | 2016-12-28 | 2017-03-22 | 同方威视技术股份有限公司 | 背散射检查车 |
| US10393680B2 (en) * | 2017-01-18 | 2019-08-27 | The Boeing Company | X-ray sidescatter inspection of laminates |
| US10600609B2 (en) | 2017-01-31 | 2020-03-24 | Rapiscan Systems, Inc. | High-power X-ray sources and methods of operation |
| WO2018156718A1 (en) * | 2017-02-25 | 2018-08-30 | Anatoly Glass, LLC. | Converter plate for producing polychromatic light |
| US10770195B2 (en) | 2017-04-05 | 2020-09-08 | Viken Detection Corporation | X-ray chopper wheel assembly |
| DE102017108535A1 (de) * | 2017-04-21 | 2018-10-25 | Grünbeck Wasseraufbereitung GmbH | Membranmodul sowie Vorrichtung und Verfahren zur Detektion von Ablagerungen in einem Membranmodul |
| WO2018208559A1 (en) * | 2017-05-08 | 2018-11-15 | Saint-Gobain Ceramics & Plastics, Inc. | Article including a body including a fluorescent material and a wavelength shifting fiber, a radiation detector including the article, and a method of using the same |
| JP2018141767A (ja) * | 2017-07-13 | 2018-09-13 | 三菱電機プラントエンジニアリング株式会社 | タイヤハウス汚染検査装置およびタイヤハウス汚染自動検査方法 |
| CN108227027B (zh) * | 2017-12-29 | 2020-12-01 | 同方威视技术股份有限公司 | 车载背散射检查系统 |
| CN108008458B (zh) * | 2017-12-29 | 2020-09-08 | 同方威视技术股份有限公司 | 车载背散射检查系统 |
| US10114131B1 (en) | 2018-01-05 | 2018-10-30 | Consolidated Nuclear Security, LLC | Scintillator based fiber optic plate for neutron imaging applications and the like |
| MX2020008158A (es) * | 2018-02-02 | 2020-11-24 | Viken Detection Corp | Sistema y kit para formación de imágenes de retrodispersión de rayos x con detector retirable. |
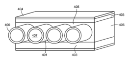
| US10830911B2 (en) | 2018-06-20 | 2020-11-10 | American Science And Engineering, Inc. | Wavelength-shifting sheet-coupled scintillation detectors |
| IL260956B (en) * | 2018-08-02 | 2022-01-01 | Applied Materials Israel Ltd | Electron detection sensor |
| DE102018220135A1 (de) * | 2018-11-23 | 2020-05-28 | Siemens Healthcare Gmbh | Röntgendetektor, Bildgebungsvorrichtung und Verfahren zum Betrieb eines Röntgendetektors |
| CN109444182B (zh) * | 2018-12-22 | 2024-07-23 | 苏州瑞派宁科技有限公司 | 一种闪烁晶体测试装置 |
| US11112370B2 (en) * | 2019-01-04 | 2021-09-07 | The Boeing Company | Reconfigurable backscatter detector |
| EP3908670A4 (en) * | 2019-01-08 | 2023-04-05 | American Science & Engineering, Inc. | SPECTRAL DISCRIMINATION USING FIBER COUPLED SCINTILLATION DETECTORS WITH WAVELENGTH SHIFTING |
| CN109828300B (zh) * | 2019-01-31 | 2023-05-05 | 兰州空间技术物理研究所 | 一种小型化全向空间粒子探测器 |
| CN109655874B (zh) * | 2019-02-25 | 2020-04-10 | 衡阳师范学院 | 闪烁室测氡装置和方法 |
| US10830714B1 (en) * | 2019-07-26 | 2020-11-10 | The Boeing Company | Portable X-ray backscattering system |
| US12061357B2 (en) | 2019-07-29 | 2024-08-13 | Luxium Solutions, Llc | Plastic wavelength shifting fiber and a method of making the same |
| EP4053856A4 (en) * | 2019-10-31 | 2023-11-29 | Kuraray Co., Ltd. | Plastic scintillating fiber and production method therefor |
| CN110988964B (zh) * | 2019-12-09 | 2022-11-22 | 上海大学 | 复合型光纤辐射探测器 |
| RU2730392C1 (ru) * | 2020-01-14 | 2020-08-21 | Российская Федерация, от имени которой выступает Государственная корпорация по атомной энергии "Росатом" (Госкорпорация "Росатом") | Сцинтилляционный детектор нейтронов |
| US11193898B1 (en) | 2020-06-01 | 2021-12-07 | American Science And Engineering, Inc. | Systems and methods for controlling image contrast in an X-ray system |
| US11681068B2 (en) | 2020-06-02 | 2023-06-20 | Viken Detection Corporation | X-ray imaging apparatus and method |
| US11175245B1 (en) | 2020-06-15 | 2021-11-16 | American Science And Engineering, Inc. | Scatter X-ray imaging with adaptive scanning beam intensity |
| EP3933881A1 (en) | 2020-06-30 | 2022-01-05 | VEC Imaging GmbH & Co. KG | X-ray source with multiple grids |
| EP4215949A4 (en) * | 2020-09-16 | 2024-08-28 | Kuraray Co., Ltd. | PLASTIC SCINTILLATION FIBER AND METHOD FOR PRODUCING SAME |
| EP4231057A4 (en) * | 2020-10-15 | 2024-10-30 | Kuraray Co., Ltd. | Plastic scintillating fiber and production method therefor |
| EP4231056A4 (en) | 2020-10-15 | 2024-11-06 | Kuraray Co., Ltd. | PLASTIC SCINTILLATING FIBER AND MANUFACTURING METHOD THEREFOR |
| US11340361B1 (en) | 2020-11-23 | 2022-05-24 | American Science And Engineering, Inc. | Wireless transmission detector panel for an X-ray scanner |
| CA3207580A1 (en) | 2021-02-23 | 2022-09-01 | Neil Duncan CARRINGTON | Systems and methods for eliminating cross-talk in scanning systems having multiple x-ray sources |
| US12360065B2 (en) * | 2021-05-05 | 2025-07-15 | Varex Imaging Corporation | Backscatter imaging system |
| EP4105691A1 (en) | 2021-06-16 | 2022-12-21 | Soletanche Freyssinet | Gamma and neutron radiation detector |
| WO2023288196A1 (en) | 2021-07-13 | 2023-01-19 | Rapiscan Systems, Inc. | Image inspection systems and methods for integrating third party artificial intelligence platforms |
| US12019035B2 (en) | 2021-07-16 | 2024-06-25 | Rapiscan Holdings, Inc. | Material detection in x-ray security screening |
| EP4409607A1 (en) | 2021-10-01 | 2024-08-07 | Rapiscan Holdings, Inc. | Methods and systems for the concurrent generation of multiple substantially similar x-ray beams |
| CN114180291B (zh) * | 2021-11-10 | 2022-08-05 | 深圳市日联科技有限公司 | 叠片电池视觉纠偏装置及纠偏方法 |
| CN114355430B (zh) * | 2022-01-05 | 2025-09-16 | 中国科学院高能物理研究所 | 一种用于成像系统的液闪探测装置、成像系统和方法 |
| GB2634134A (en) | 2022-02-03 | 2025-04-02 | Rapiscan Holdings Inc | Systems and methods for real-time energy and dose monitoring of an X-ray linear accelerator |
| US12474282B2 (en) | 2022-05-20 | 2025-11-18 | Rapiscan Holdings, Inc. | Systems and a method of improved material classification using energy-integrated backscatter detectors |
| US12230468B2 (en) | 2022-06-30 | 2025-02-18 | Varex Imaging Corporation | X-ray system with field emitters and arc protection |
| US12125605B2 (en) | 2022-07-07 | 2024-10-22 | Viken Detection Corporation | Rotating hoop chopper wheel for x-ray imagers |
| GB2635043A (en) | 2022-07-26 | 2025-04-30 | Rapiscan Holdings Inc | Methods and systems for performing on-the-fly automatic calibration adjustments of X-ray inspection systems |
| US12467882B2 (en) | 2023-03-17 | 2025-11-11 | Rapiscan Holdings, Inc. | Systems and methods for monitoring output energy of a high-energy x-ray source |
| US12489523B2 (en) * | 2023-05-13 | 2025-12-02 | Cisco Technology, Inc. | Backscatter device onboarding |
| WO2025050041A1 (en) * | 2023-08-31 | 2025-03-06 | Mayo Foundation For Medical Education And Research | X-ray detector with x-ray fluorescent components |
Family Cites Families (152)
| Publication number | Priority date | Publication date | Assignee | Title |
|---|---|---|---|---|
| US4045672A (en) | 1975-09-11 | 1977-08-30 | Nihon Denshi Kabushiki Kaisha | Apparatus for tomography comprising a pin hole for forming a microbeam of x-rays |
| US4242583A (en) | 1978-04-26 | 1980-12-30 | American Science And Engineering, Inc. | X-ray imaging variable resolution |
| US4259582A (en) * | 1979-11-02 | 1981-03-31 | Albert Richard D | Plural image signal system for scanning x-ray apparatus |
| JPS60159675A (ja) * | 1984-01-31 | 1985-08-21 | Shimadzu Corp | 放射線検出器 |
| US4788436A (en) | 1986-12-24 | 1988-11-29 | Walter Koechner | Radiation sensitive optical fiber and detector |
| US5281820A (en) * | 1988-07-12 | 1994-01-25 | Hoechst Aktiengesellschaft | Radiation detector |
| DE3841136A1 (de) * | 1988-12-07 | 1990-06-13 | Hoechst Ag | Strahlungsdetektor |
| JPH03257391A (ja) * | 1990-03-08 | 1991-11-15 | Mitsubishi Atom Power Ind Inc | X線照射分布計測装置 |
| US5784507A (en) * | 1991-04-05 | 1998-07-21 | Holm-Kennedy; James W. | Integrated optical wavelength discrimination devices and methods for fabricating same |
| DE69205652T2 (de) | 1991-06-21 | 1996-05-23 | Toshiba Kawasaki Kk | Röntgendetektor und Untersuchungssystem. |
| JPH0627249A (ja) * | 1992-07-13 | 1994-02-04 | Toshiba Corp | 放射線検査装置 |
| US5420959A (en) | 1992-12-17 | 1995-05-30 | Nanoptics Incorporated | High efficiency, high resolution, real-time radiographic imaging system |
| JP3496958B2 (ja) * | 1993-09-01 | 2004-02-16 | 富士写真フイルム株式会社 | 放射線検出器、画像読出処理条件決定方法および照射野認識方法 |
| JPH07211877A (ja) * | 1994-01-21 | 1995-08-11 | Hamamatsu Photonics Kk | 放射線像検出器及び放射線像検出装置 |
| FR2716012B1 (fr) * | 1994-02-09 | 1996-04-12 | Corning Inc | Procédé et dispositif d'assemblage d'extrémités de fibres optiques disposées en nappe. |
| US5600144A (en) | 1994-05-10 | 1997-02-04 | Trustees Of Boston University | Three dimensional imaging detector employing wavelength-shifting optical fibers |
| FR2725722B1 (fr) * | 1994-10-14 | 1997-01-03 | Atochem Elf Sa | Copolymere fluore a tenue thermique amelioree, son procede de preparation et son utilisation comme revetement protecteur de substrats |
| CN1161103A (zh) * | 1995-06-27 | 1997-10-01 | 菲利浦电子有限公司 | X射线检测器 |
| GB2303938A (en) * | 1995-07-31 | 1997-03-05 | Stc Submarine Systems Ltd | Optical fibre cable having kingwire bearing extruded thermoplastic elastomer layers |
| US5764683B1 (en) * | 1996-02-12 | 2000-11-21 | American Science & Eng Inc | Mobile x-ray inspection system for large objects |
| JP3813656B2 (ja) * | 1996-03-07 | 2006-08-23 | 株式会社東芝 | 光ファイバ型大面積放射線モニタ |
| DE19610538A1 (de) * | 1996-03-18 | 1997-09-25 | Deutsches Krebsforsch | Strahlungsermittlungsvorrichtung |
| JPH10232284A (ja) * | 1997-02-19 | 1998-09-02 | Toshiba Corp | 波長シフト型放射線センサおよび放射線検出装置 |
| JPH10288671A (ja) * | 1997-04-15 | 1998-10-27 | Toshiba Corp | 位置検出型放射線検出装置 |
| US6078052A (en) | 1997-08-29 | 2000-06-20 | Picker International, Inc. | Scintillation detector with wavelength-shifting optical fibers |
| WO1999013323A2 (en) | 1997-09-09 | 1999-03-18 | American Science And Engineering, Inc. | A tomographic inspection system |
| US5968425A (en) * | 1997-10-28 | 1999-10-19 | The United States Of America As Represented By The United States Department Of Energy | Methods for the continuous production of plastic scintillator materials |
| US6151381A (en) | 1998-01-28 | 2000-11-21 | American Science And Engineering, Inc. | Gated transmission and scatter detection for x-ray imaging |
| JPH11271453A (ja) * | 1998-03-25 | 1999-10-08 | Toshiba Corp | 放射線弁別測定方法および放射線弁別測定装置 |
| JP2923500B1 (ja) * | 1998-06-04 | 1999-07-26 | 株式会社東芝 | 放射線検出器および放射線計測システム、並びに放射線計測プログラムを記録したコンピュータ読み取り可能な記録媒体 |
| US6442233B1 (en) | 1998-06-18 | 2002-08-27 | American Science And Engineering, Inc. | Coherent x-ray scatter inspection system with sidescatter and energy-resolved detection |
| US6621888B2 (en) | 1998-06-18 | 2003-09-16 | American Science And Engineering, Inc. | X-ray inspection by coherent-scattering from variably disposed scatterers identified as suspect objects |
| WO2000004403A1 (fr) * | 1998-07-15 | 2000-01-27 | Keiichi Kuroda | Unite d'imagerie a rayonnement numerique |
| US6453007B2 (en) | 1998-11-30 | 2002-09-17 | American Science And Engineering, Inc. | X-ray inspection using co-planar pencil and fan beams |
| WO2000033059A2 (en) | 1998-11-30 | 2000-06-08 | American Science And Engineering, Inc. | Multiple scatter system for threat identification |
| EP1135700B1 (en) | 1998-11-30 | 2005-03-02 | American Science & Engineering, Inc. | Fan and pencil beams from a common source for x-ray inspection |
| US6249567B1 (en) * | 1998-12-01 | 2001-06-19 | American Science & Engineering, Inc. | X-ray back scatter imaging system for undercarriage inspection |
| US6421420B1 (en) | 1998-12-01 | 2002-07-16 | American Science & Engineering, Inc. | Method and apparatus for generating sequential beams of penetrating radiation |
| WO2000037928A2 (en) | 1998-12-22 | 2000-06-29 | American Science And Engineering, Inc. | Unilateral hand-held x-ray inspection apparatus |
| US6459764B1 (en) * | 1999-01-27 | 2002-10-01 | American Science And Engineering, Inc. | Drive-through vehicle inspection system |
| JP2000235078A (ja) * | 1999-02-15 | 2000-08-29 | Toshiba Corp | 放射線検出用構造体と、それを用いた放射線検出器および放射線検査装置 |
| JP2000304865A (ja) * | 1999-04-23 | 2000-11-02 | Hitachi Ltd | 光伝送式放射線計測装置及びその計測システム |
| US6391434B1 (en) * | 1999-05-06 | 2002-05-21 | General Electric Company | Composite scintillator material and method of manufacture |
| JP4313895B2 (ja) * | 1999-06-04 | 2009-08-12 | 株式会社東芝 | 放射線検出装置 |
| JP2001013254A (ja) * | 1999-06-29 | 2001-01-19 | Mitsubishi Heavy Ind Ltd | 平板状中性子線検出器及びこれを用いた中性子源計測装置 |
| JP2001013250A (ja) * | 1999-06-30 | 2001-01-19 | Toshiba Corp | 汚染検査装置 |
| US6546072B1 (en) | 1999-07-30 | 2003-04-08 | American Science And Engineering, Inc. | Transmission enhanced scatter imaging |
| US6459761B1 (en) | 2000-02-10 | 2002-10-01 | American Science And Engineering, Inc. | Spectrally shaped x-ray inspection system |
| US7010094B2 (en) * | 2000-02-10 | 2006-03-07 | American Science And Engineering, Inc. | X-ray inspection using spatially and spectrally tailored beams |
| JP4351780B2 (ja) * | 2000-02-15 | 2009-10-28 | 株式会社東芝 | 放射線検出装置 |
| US6671451B1 (en) | 2000-03-10 | 2003-12-30 | Wired Japan Co., Ltd. | Optical fiber, optical fiber cable, and radiation detecting system using such |
| US8325871B2 (en) | 2000-03-28 | 2012-12-04 | American Science And Engineering, Inc. | Radiation threat detection |
| US6576907B1 (en) * | 2000-06-01 | 2003-06-10 | Elgems Ltd. | High count rate gamma camera system |
| JP2002071816A (ja) * | 2000-08-29 | 2002-03-12 | Japan Atom Energy Res Inst | 2次元放射線および中性子イメージ検出器 |
| US6907281B2 (en) * | 2000-09-07 | 2005-06-14 | Ge Medical Systems | Fast mapping of volumetric density data onto a two-dimensional screen |
| JP4552020B2 (ja) * | 2001-01-29 | 2010-09-29 | 独立行政法人 日本原子力研究開発機構 | 放射線および中性子イメージ検出器 |
| EP1428048A2 (en) | 2001-05-03 | 2004-06-16 | American Science & Engineering, Inc. | Nautical x-ray inspection system |
| JP4203710B2 (ja) * | 2001-12-28 | 2009-01-07 | 株式会社日立メディコ | X線画像処理装置 |
| US6542580B1 (en) * | 2002-01-15 | 2003-04-01 | Rapiscan Security Products (Usa), Inc. | Relocatable X-ray imaging system and method for inspecting vehicles and containers |
| US7122804B2 (en) * | 2002-02-15 | 2006-10-17 | Varian Medical Systems Technologies, Inc. | X-ray imaging device |
| US20040256565A1 (en) * | 2002-11-06 | 2004-12-23 | William Adams | X-ray backscatter mobile inspection van |
| US9958569B2 (en) | 2002-07-23 | 2018-05-01 | Rapiscan Systems, Inc. | Mobile imaging system and method for detection of contraband |
| US8275091B2 (en) | 2002-07-23 | 2012-09-25 | Rapiscan Systems, Inc. | Compact mobile cargo scanning system |
| US8503605B2 (en) | 2002-07-23 | 2013-08-06 | Rapiscan Systems, Inc. | Four sided imaging system and method for detection of contraband |
| US7369643B2 (en) * | 2002-07-23 | 2008-05-06 | Rapiscan Security Products, Inc. | Single boom cargo scanning system |
| US6853707B2 (en) * | 2002-09-05 | 2005-02-08 | Agilent Technologies, Inc. | Shielded x-ray detector |
| US7099434B2 (en) * | 2002-11-06 | 2006-08-29 | American Science And Engineering, Inc. | X-ray backscatter mobile inspection van |
| US7505556B2 (en) | 2002-11-06 | 2009-03-17 | American Science And Engineering, Inc. | X-ray backscatter detection imaging modules |
| US20090257555A1 (en) | 2002-11-06 | 2009-10-15 | American Science And Engineering, Inc. | X-Ray Inspection Trailer |
| US6927397B2 (en) * | 2002-12-03 | 2005-08-09 | Universities Research Association, Inc. | Systems and methods for detecting neutrons |
| US7067079B2 (en) | 2002-12-03 | 2006-06-27 | Universities Research Association, Inc. | Extruded plastic scintillator including inorganic powders |
| US6909098B2 (en) * | 2002-12-03 | 2005-06-21 | Universities Research Association Inc. | Systems and methods for detecting nuclear radiation in the presence of backgrounds |
| US7149393B2 (en) * | 2002-12-09 | 2006-12-12 | Eastman Kodak Company | Apparatus and method for forming a fiber optic faceplate |
| ES2286480T3 (es) * | 2002-12-10 | 2007-12-01 | Commonwealth Scientific And Industrial Research Organisation | Equipo radiografico. |
| US6965662B2 (en) | 2002-12-17 | 2005-11-15 | Agilent Technologies, Inc. | Nonplanar x-ray target anode for use in a laminography imaging system |
| US20040140431A1 (en) * | 2003-01-21 | 2004-07-22 | Cti Pet Systems, Inc. | Multi-application highly reflective grid array |
| US20050058242A1 (en) | 2003-09-15 | 2005-03-17 | Peschmann Kristian R. | Methods and systems for the rapid detection of concealed objects |
| US7054408B2 (en) * | 2003-04-30 | 2006-05-30 | General Electric Company | CT detector array having non pixelated scintillator array |
| US7366282B2 (en) | 2003-09-15 | 2008-04-29 | Rapiscan Security Products, Inc. | Methods and systems for rapid detection of concealed objects using fluorescence |
| US7856081B2 (en) | 2003-09-15 | 2010-12-21 | Rapiscan Systems, Inc. | Methods and systems for rapid detection of concealed objects using fluorescence |
| JP4406699B2 (ja) * | 2003-08-29 | 2010-02-03 | 独立行政法人 日本原子力研究開発機構 | 光ファイバを利用した放射線及び中性子検出器 |
| JP2005214869A (ja) * | 2004-01-30 | 2005-08-11 | Toshiba Corp | 当量線量型放射線検出器 |
| US7115875B1 (en) | 2004-02-17 | 2006-10-03 | Photodetection Systems, Inc. | PET scanner with photodetectors and wavelength shifting fibers |
| WO2005098400A2 (en) | 2004-04-09 | 2005-10-20 | American Science And Engineering, Inc. | Eliminating cross-talk in a backscatter inspection portal comprising multiples sources by ensuring that only one source is emitting radiation at a time |
| WO2005103759A1 (en) | 2004-04-20 | 2005-11-03 | Forimtech Sa | Large area radiation imaging detector |
| US7141799B1 (en) * | 2005-03-30 | 2006-11-28 | Ut-Battelle, Llc | Fiber optic thermal/fast neutron and gamma ray scintillation detector |
| US7471764B2 (en) | 2005-04-15 | 2008-12-30 | Rapiscan Security Products, Inc. | X-ray imaging system having improved weather resistance |
| DE102005017557B4 (de) * | 2005-04-16 | 2010-11-04 | Mirion Technologies (Rados) Gmbh | Leichtgewichtiger Flächendetektor für Teilchenstrahlung kontaminierter Objekte |
| US7335891B2 (en) * | 2005-06-27 | 2008-02-26 | General Electric Company | Gamma and neutron radiation detector |
| EP1949139A2 (en) | 2005-10-24 | 2008-07-30 | American Science & Engineering, Inc. | X-ray inspection based on scatter detection |
| KR100773993B1 (ko) * | 2006-03-10 | 2007-11-08 | (주)케이디티 | 광여기 시트 |
| AU2007231556A1 (en) * | 2006-03-29 | 2007-10-04 | Australian Nuclear Science & Technology Organisation | Measurement of hydraulic conductivity using a radioactive or activatable tracer |
| EP2010943A2 (en) | 2006-04-21 | 2009-01-07 | American Science & Engineering, Inc. | X-ray imaging of baggage and personnel using arrays of discrete sources and multiple collimated beams |
| JP4455534B2 (ja) * | 2006-05-09 | 2010-04-21 | 株式会社東芝 | 放射線検出器およびその製造方法 |
| WO2008021807A2 (en) | 2006-08-11 | 2008-02-21 | American Science And Engineering, Inc. | X-ray inspection with contemporaneous and proximal transmission and backscatter imaging |
| US8842808B2 (en) | 2006-08-11 | 2014-09-23 | American Science And Engineering, Inc. | Scatter attenuation tomography using a monochromatic radiation source |
| US7924979B2 (en) | 2006-08-23 | 2011-04-12 | American Science And Engineering, Inc. | Scatter attenuation tomography |
| JP2010501860A (ja) | 2006-08-23 | 2010-01-21 | アメリカン サイエンス アンド エンジニアリング,インコーポレイテッド | 散乱減衰式断層撮影 |
| CA2665872C (en) * | 2006-10-24 | 2013-04-02 | Thermo Niton Analyzers Llc | Apparatus for inspecting objects using coded beam |
| GB0626055D0 (en) * | 2006-12-29 | 2007-11-07 | Bae Systems Plc | Detection of ionising radiation |
| US7842908B2 (en) * | 2007-08-14 | 2010-11-30 | Raytheon Company | Sensor for eye-safe and body-fixed semi-active laser guidance |
| BRPI0820773B1 (pt) * | 2007-11-19 | 2019-02-05 | American Science & Eng Inc | acúmulo e síntese de múltiplas imagens para inspeção de funcionários |
| US8314399B2 (en) * | 2008-02-07 | 2012-11-20 | General Electric Company | Radiation detector with optical waveguide and neutron scintillating material |
| GB0803640D0 (en) | 2008-02-28 | 2008-04-02 | Rapiscan Security Products Inc | Scanning systems |
| JP5701616B2 (ja) * | 2008-03-13 | 2015-04-15 | コーニンクレッカ フィリップス エヌ ヴェ | 画像診断装置、画像診断方法及び信号処理回路の電力消費を減少させる方法 |
| US20090230925A1 (en) | 2008-03-14 | 2009-09-17 | Nathan Nathan | Power Saver |
| US8017906B2 (en) * | 2008-04-08 | 2011-09-13 | Robert Sigurd Nelson | Slit and slot scan, SAR, and compton devices and systems for radiation imaging |
| GB0809107D0 (en) | 2008-05-20 | 2008-06-25 | Rapiscan Security Products Inc | Scannign systems |
| GB0810638D0 (en) | 2008-06-11 | 2008-07-16 | Rapiscan Security Products Inc | Photomultiplier and detection systems |
| US8842809B2 (en) * | 2008-07-07 | 2014-09-23 | University Of Florida Research Foundation, Inc. | Method and apparatus for X-ray radiographic imaging |
| JP2008304947A (ja) * | 2008-09-11 | 2008-12-18 | Sumitomo Bakelite Co Ltd | 光導波路および光導波路構造体 |
| CN101710182A (zh) * | 2008-09-19 | 2010-05-19 | 圣戈本陶瓷及塑料股份有限公司 | 形成闪烁设备的方法 |
| US7795650B2 (en) * | 2008-12-09 | 2010-09-14 | Teledyne Scientific & Imaging Llc | Method and apparatus for backside illuminated image sensors using capacitively coupled readout integrated circuits |
| WO2010129926A1 (en) | 2009-05-07 | 2010-11-11 | The Regents Of The University Of California | Novel lanthanide doped barium mixed halide scintillators |
| US8275092B1 (en) | 2009-06-15 | 2012-09-25 | American Science And Engineering, Inc. | Three-dimensional mapping based on scattered penetrating radiation |
| US8824632B2 (en) * | 2009-07-29 | 2014-09-02 | American Science And Engineering, Inc. | Backscatter X-ray inspection van with top-down imaging |
| CN102483383A (zh) | 2009-07-29 | 2012-05-30 | 美国科技工程公司 | 自上向下x 光检查拖车 |
| WO2011044266A2 (en) * | 2009-10-07 | 2011-04-14 | Saint-Gobain Ceramics & Plastics, Inc. | System and method to detect target radiation |
| US8483356B2 (en) * | 2009-10-29 | 2013-07-09 | Rapiscan Systems, Inc. | Mobile aircraft inspection system |
| PL2507799T3 (pl) | 2009-12-03 | 2020-06-29 | Rapiscan Systems, Inc. | System obrazowania rozpraszania wstecznego z uwzględnieniem czasu przelotu |
| US8199875B2 (en) * | 2009-12-11 | 2012-06-12 | General Electric Company | System and method of acquiring multi-energy CT imaging data |
| JP5548892B2 (ja) * | 2010-01-08 | 2014-07-16 | 独立行政法人日本原子力研究開発機構 | ピクセル型二次元イメージ検出器 |
| JP2011158291A (ja) * | 2010-01-29 | 2011-08-18 | Hamamatsu Photonics Kk | 放射線像変換パネル |
| CN201754188U (zh) * | 2010-02-03 | 2011-03-02 | 中国原子能科学研究院 | 塑料闪烁体探测器光电倍增管固定装置 |
| US8750454B2 (en) | 2010-02-25 | 2014-06-10 | Rapiscan Systems, Inc. | High-energy X-ray-spectroscopy-based inspection system and methods to determine the atomic number of materials |
| EP2539696A4 (en) * | 2010-02-26 | 2017-10-25 | Rapiscan Systems, Inc. | Integrated portable checkpoint system |
| JP2011227044A (ja) * | 2010-03-30 | 2011-11-10 | Fujifilm Corp | 放射線撮影装置 |
| JP2010181412A (ja) * | 2010-03-15 | 2010-08-19 | Toshiba Corp | 放射線弁別測定方法および放射線弁別測定装置 |
| JP5376528B2 (ja) * | 2010-05-06 | 2013-12-25 | 独立行政法人日本原子力研究開発機構 | 放射線および中性子イメージ検出器 |
| WO2011159911A2 (en) * | 2010-06-18 | 2011-12-22 | Saint-Gobain Ceramics & Plastics, Inc. | Radiation detection system including a scintillating material and an optical fiber and method of using the same |
| US8884236B2 (en) | 2010-06-21 | 2014-11-11 | American Science And Engineering, Inc. | Detector with active collimators |
| GB2482024A (en) * | 2010-07-16 | 2012-01-18 | Symetrica Ltd | Radiation Detector |
| US8796636B2 (en) * | 2010-09-13 | 2014-08-05 | Parttec, Ltd. | Neutron detector having enhanced absorption and bifurcated detection elements |
| US8592775B2 (en) * | 2010-10-27 | 2013-11-26 | Partec, Ltd. | Radiation detector having a ribbed scintillator |
| EP3252506B1 (en) | 2011-02-08 | 2020-11-18 | Rapiscan Systems, Inc. | Covert surveillance using multi-modality sensing |
| US8908831B2 (en) | 2011-02-08 | 2014-12-09 | Rapiscan Systems, Inc. | Covert surveillance using multi-modality sensing |
| RU2550319C2 (ru) | 2011-02-08 | 2015-05-10 | Американ Сайенс Энд Инжиниринг, Инк. | Анализ энергий при обратном рассеянии для классификации материалов на основании позиционной некоммутативности |
| RU2589394C2 (ru) | 2011-04-15 | 2016-07-10 | Американ Сайенс Энд Инджиниринг, Инк. | Система обратного рассеяния с изменяемым размером матрицы датчиков |
| WO2013116058A1 (en) | 2012-02-02 | 2013-08-08 | American Science And Engineering, Inc. | Convertible scan panel for x-ray inspection |
| KR102065318B1 (ko) | 2012-02-03 | 2020-01-10 | 라피스캔 시스템스, 인코포레이티드 | 조합형 산란 및 투과 멀티-뷰 이미징 시스템 |
| CA3080221A1 (en) | 2012-02-14 | 2013-08-22 | American Science And Engineering, Inc. | X-ray inspection using wavelength-shifting fiber-coupled scintillation detectors |
| JP6114981B2 (ja) | 2012-10-17 | 2017-04-19 | 株式会社リガク | X線発生装置 |
| BR112014013226B1 (pt) | 2013-01-31 | 2021-08-24 | Rapiscan Systems, Inc | Sistema de inspeção de segurança portátil e método de implantação do mesmo |
| US9417060B1 (en) | 2013-07-25 | 2016-08-16 | American Science And Engineering, Inc. | X-ray theodolite |
| US9535019B1 (en) | 2013-10-04 | 2017-01-03 | American Science And Engineering, Inc. | Laterally-offset detectors for long-range x-ray backscatter imaging |
| WO2015158646A1 (en) * | 2014-04-17 | 2015-10-22 | Koninklijke Philips N.V. | Radiation detector with photosensitive elements that can have high aspect ratios |
| US10228487B2 (en) | 2014-06-30 | 2019-03-12 | American Science And Engineering, Inc. | Rapidly relocatable modular cargo container scanner |
| CN104597479A (zh) * | 2014-12-30 | 2015-05-06 | 中国原子能科学研究院 | 中子位置探测装置 |
| WO2016115370A1 (en) | 2015-01-16 | 2016-07-21 | Rapiscan Systems, Inc. | Non-intrusive inspection systems and methods for the detection of materials interest |
| HK1257878A1 (zh) | 2015-09-10 | 2019-11-01 | American Science And Engineering, Inc. | 使用行间自适应电磁x射线扫描的反向散射表徵 |
| US10720300B2 (en) | 2016-09-30 | 2020-07-21 | American Science And Engineering, Inc. | X-ray source for 2D scanning beam imaging |
| CN207752159U (zh) * | 2017-09-27 | 2018-08-21 | 清华大学 | 阵列式大面积总放探测装置 |
-
2013
- 2013-02-04 CA CA3080221A patent/CA3080221A1/en active Pending
- 2013-02-04 DE DE202013012103.3U patent/DE202013012103U1/de not_active Expired - Lifetime
- 2013-02-04 RU RU2014133352A patent/RU2606698C2/ru active
- 2013-02-04 KR KR1020207011500A patent/KR20200044997A/ko not_active Ceased
- 2013-02-04 CN CN201380016922.5A patent/CN104204854B/zh active Active
- 2013-02-04 JP JP2014556590A patent/JP2015513075A/ja active Pending
- 2013-02-04 MX MX2014009790A patent/MX337476B/es active IP Right Grant
- 2013-02-04 KR KR1020207011502A patent/KR102293638B1/ko active Active
- 2013-02-04 ES ES13749372.2T patent/ES2685971T3/es active Active
- 2013-02-04 ES ES201600177U patent/ES1153640Y/es not_active Expired - Fee Related
- 2013-02-04 WO PCT/US2013/024585 patent/WO2013122763A1/en not_active Ceased
- 2013-02-04 KR KR1020217004548A patent/KR102266814B1/ko active Active
- 2013-02-04 CN CN201710257152.3A patent/CN107193034A/zh active Pending
- 2013-02-04 PL PL125720U patent/PL125720U1/pl unknown
- 2013-02-04 PE PE2014001271U patent/PE20150237Z/es active IP Right Grant
- 2013-02-04 PL PL125062U patent/PL125062U1/pl unknown
- 2013-02-04 CA CA2864354A patent/CA2864354C/en active Active
- 2013-02-04 ES ES201600176U patent/ES1153636Y/es not_active Expired - Fee Related
- 2013-02-04 ES ES201500706U patent/ES1154460Y/es not_active Expired - Fee Related
- 2013-02-04 US US13/758,189 patent/US9285488B2/en active Active
- 2013-02-04 KR KR1020147025181A patent/KR102105727B1/ko active Active
- 2013-02-04 BR BR112014019517-0A patent/BR112014019517B1/pt active IP Right Grant
- 2013-02-04 EP EP13749372.2A patent/EP2825904B1/en active Active
- 2013-02-04 DE DE202013012100.9U patent/DE202013012100U1/de not_active Expired - Lifetime
-
2014
- 2014-08-12 IL IL234076A patent/IL234076B/en active IP Right Grant
- 2014-08-13 CL CL2014002144U patent/CL2014002144U1/es unknown
- 2014-08-14 GT GT201400009U patent/GT201400009U/es unknown
-
2016
- 2016-02-23 US US15/050,894 patent/US9658343B2/en active Active
- 2016-11-24 JP JP2016227710A patent/JP6203367B2/ja active Active
-
2017
- 2017-04-18 US US15/490,787 patent/US10209372B2/en active Active
-
2018
- 2018-03-17 HK HK18103738.1A patent/HK1244541A1/zh unknown
- 2018-05-07 JP JP2018089173A patent/JP2018136343A/ja active Pending
- 2018-05-07 JP JP2018089172A patent/JP6525477B2/ja active Active
- 2018-05-31 IL IL259730A patent/IL259730A/en unknown
- 2018-05-31 IL IL259737A patent/IL259737B/en unknown
-
2019
- 2019-01-08 US US16/242,163 patent/US20190383953A1/en not_active Abandoned
- 2019-04-12 CN CN202410731745.9A patent/CN118501923A/zh active Pending
- 2019-04-12 CN CN201980088326.5A patent/CN113302521B/zh active Active
- 2019-12-26 JP JP2019235372A patent/JP2020060590A/ja active Pending
-
2021
- 2021-07-30 JP JP2021125145A patent/JP7138751B2/ja active Active
Also Published As
Similar Documents
| Publication | Publication Date | Title |
|---|---|---|
| JP7138751B2 (ja) | 波長シフトファイバ結合シンチレーション検出器を用いるx線検査 | |
| US11579327B2 (en) | Handheld backscatter imaging systems with primary and secondary detector arrays | |
| HK1203632B (en) | X-ray inspection using wavelength-shifting fiber-coupled scintillation detectors | |
| EP3908670A1 (en) | Spectral discrimination using wavelength-shifting fiber-coupled scintillation detectors | |
| HK1202633B (en) | X-ray inspection using wavelength-shifting fiber-coupled scintillation detectors |
Legal Events
| Date | Code | Title | Description |
|---|---|---|---|
| A107 | Divisional application of patent | ||
| PA0104 | Divisional application for international application |
Comment text: Divisional Application for International Patent Patent event code: PA01041R01D Patent event date: 20200421 Application number text: 1020147025181 Filing date: 20140905 |
|
| PG1501 | Laying open of application | ||
| PA0201 | Request for examination |
Patent event code: PA02012R01D Patent event date: 20200515 Comment text: Request for Examination of Application |
|
| E902 | Notification of reason for refusal | ||
| PE0902 | Notice of grounds for rejection |
Comment text: Notification of reason for refusal Patent event date: 20200526 Patent event code: PE09021S01D |
|
| AMND | Amendment | ||
| E601 | Decision to refuse application | ||
| PE0601 | Decision on rejection of patent |
Patent event date: 20201118 Comment text: Decision to Refuse Application Patent event code: PE06012S01D Patent event date: 20200526 Comment text: Notification of reason for refusal Patent event code: PE06011S01I |
|
| X091 | Application refused [patent] | ||
| AMND | Amendment | ||
| PX0901 | Re-examination |
Patent event code: PX09011S01I Patent event date: 20201118 Comment text: Decision to Refuse Application Patent event code: PX09012R01I Patent event date: 20200724 Comment text: Amendment to Specification, etc. |
|
| PX0601 | Decision of rejection after re-examination |
Comment text: Decision to Refuse Application Patent event code: PX06014S01D Patent event date: 20210118 Comment text: Amendment to Specification, etc. Patent event code: PX06012R01I Patent event date: 20201221 Comment text: Decision to Refuse Application Patent event code: PX06011S01I Patent event date: 20201118 Comment text: Amendment to Specification, etc. Patent event code: PX06012R01I Patent event date: 20200724 Comment text: Notification of reason for refusal Patent event code: PX06013S01I Patent event date: 20200526 |
|
| X601 | Decision of rejection after re-examination | ||
| A107 | Divisional application of patent | ||
| PA0104 | Divisional application for international application |
Comment text: Divisional Application for International Patent Patent event code: PA01041R01D Patent event date: 20210216 Application number text: 1020147025181 Filing date: 20140905 |