KR20180098682A - 클립 카트리지 - Google Patents

클립 카트리지 Download PDF

Info

Publication number
KR20180098682A
KR20180098682A KR1020187024219A KR20187024219A KR20180098682A KR 20180098682 A KR20180098682 A KR 20180098682A KR 1020187024219 A KR1020187024219 A KR 1020187024219A KR 20187024219 A KR20187024219 A KR 20187024219A KR 20180098682 A KR20180098682 A KR 20180098682A
Authority
KR
South Korea
Prior art keywords
clip
sleeve
inner case
ring
distal end
Prior art date
Legal status (The legal status is an assumption and is not a legal conclusion. Google has not performed a legal analysis and makes no representation as to the accuracy of the status listed.)
Granted
Application number
KR1020187024219A
Other languages
English (en)
Other versions
KR101975732B1 (ko
Inventor
마사오 이케다
다쿠야 하야시
에츠로 야마베
히데아키 마츠나미
와타루 오츠카
데츠로 아베
Original Assignee
스미또모 베이크라이트 가부시키가이샤
Priority date (The priority date is an assumption and is not a legal conclusion. Google has not performed a legal analysis and makes no representation as to the accuracy of the date listed.)
Filing date
Publication date
Application filed by 스미또모 베이크라이트 가부시키가이샤 filed Critical 스미또모 베이크라이트 가부시키가이샤
Publication of KR20180098682A publication Critical patent/KR20180098682A/ko
Application granted granted Critical
Publication of KR101975732B1 publication Critical patent/KR101975732B1/ko
Expired - Fee Related legal-status Critical Current
Anticipated expiration legal-status Critical

Links

Images

Classifications

    • AHUMAN NECESSITIES
    • A61MEDICAL OR VETERINARY SCIENCE; HYGIENE
    • A61BDIAGNOSIS; SURGERY; IDENTIFICATION
    • A61B17/00Surgical instruments, devices or methods
    • A61B17/12Surgical instruments, devices or methods for ligaturing or otherwise compressing tubular parts of the body, e.g. blood vessels or umbilical cord
    • A61B17/122Clamps or clips, e.g. for the umbilical cord
    • A61B17/1222Packages or dispensers therefor
    • AHUMAN NECESSITIES
    • A61MEDICAL OR VETERINARY SCIENCE; HYGIENE
    • A61BDIAGNOSIS; SURGERY; IDENTIFICATION
    • A61B17/00Surgical instruments, devices or methods
    • A61B17/12Surgical instruments, devices or methods for ligaturing or otherwise compressing tubular parts of the body, e.g. blood vessels or umbilical cord
    • A61B17/122Clamps or clips, e.g. for the umbilical cord
    • AHUMAN NECESSITIES
    • A61MEDICAL OR VETERINARY SCIENCE; HYGIENE
    • A61BDIAGNOSIS; SURGERY; IDENTIFICATION
    • A61B17/00Surgical instruments, devices or methods
    • A61B17/12Surgical instruments, devices or methods for ligaturing or otherwise compressing tubular parts of the body, e.g. blood vessels or umbilical cord
    • A61B17/128Surgical instruments, devices or methods for ligaturing or otherwise compressing tubular parts of the body, e.g. blood vessels or umbilical cord for applying or removing clamps or clips
    • A61B17/1285Surgical instruments, devices or methods for ligaturing or otherwise compressing tubular parts of the body, e.g. blood vessels or umbilical cord for applying or removing clamps or clips for minimally invasive surgery
    • AHUMAN NECESSITIES
    • A61MEDICAL OR VETERINARY SCIENCE; HYGIENE
    • A61BDIAGNOSIS; SURGERY; IDENTIFICATION
    • A61B17/00Surgical instruments, devices or methods
    • A61B2017/00526Methods of manufacturing
    • A61B2017/0053Loading magazines or sutures into applying tools
    • AHUMAN NECESSITIES
    • A61MEDICAL OR VETERINARY SCIENCE; HYGIENE
    • A61BDIAGNOSIS; SURGERY; IDENTIFICATION
    • A61B17/00Surgical instruments, devices or methods
    • A61B17/12Surgical instruments, devices or methods for ligaturing or otherwise compressing tubular parts of the body, e.g. blood vessels or umbilical cord
    • A61B2017/12004Surgical instruments, devices or methods for ligaturing or otherwise compressing tubular parts of the body, e.g. blood vessels or umbilical cord for haemostasis, for prevention of bleeding

Landscapes

  • Health & Medical Sciences (AREA)
  • Surgery (AREA)
  • Life Sciences & Earth Sciences (AREA)
  • Heart & Thoracic Surgery (AREA)
  • Nuclear Medicine, Radiotherapy & Molecular Imaging (AREA)
  • Vascular Medicine (AREA)
  • Engineering & Computer Science (AREA)
  • Biomedical Technology (AREA)
  • Reproductive Health (AREA)
  • Medical Informatics (AREA)
  • Molecular Biology (AREA)
  • Animal Behavior & Ethology (AREA)
  • General Health & Medical Sciences (AREA)
  • Public Health (AREA)
  • Veterinary Medicine (AREA)
  • Surgical Instruments (AREA)

Abstract

본 발명은, 일련의 수기를 용이하게 행하는 것이 가능한 구조의 클립을, 용이하고 또한 확실히 처치구 본체에 장착하는 것이 가능한 클립 카트리지를 제공한다. 본 발명의 클립 카트리지(200)는, 클립(110)을 수용하는 제1 수용 영역(32)을 갖는 내부 케이스(30)와, 처치구 본체(90)가 삽통되는 장척의 삽통 구멍(43)과 내부 케이스(30)를 이동 가능하게 수용하는 제2 수용 영역(42)을 갖는 외부 케이스(40)를 구비한다. 삽통 구멍(43)에 처치구 본체(90)가 삽입되어 조작 와이어가 전방으로 밀어넣어짐으로써, 선단 연결부와 슬리브의 확경부가 시스로부터 돌출되어 제2 수용 영역(42)에 들어감과 함께 확경부가 확경되고, 조작 와이어가 더 밀어넣어짐으로써 선단 연결부와 클립(110)이 연결 상태가 되어, 조작 와이어가 견인됨으로써, 내부 케이스(30)가 외부 케이스(40)에 대하여 후퇴하여 슬리브를 후방으로 압압함으로써, 확경부가 축경하면서 시스로 끌어들여진다.

Description

클립 카트리지
본 발명은, 클립 카트리지에 관한 것이다.
내시경하에서 체강 내의 생체 조직을 절제하고, 그 절제 부위를 결찰하여 지혈하는 내시경용 클립 장치가 제공되고 있다. 이 종류의 내시경용 클립 장치에 관하여, 특허문헌 1에는, 처치구 본체에 마련된 조작 와이어의 선단의 화살촉 훅을, 클립의 기단부의 연결 부재에 삽입하여 연결함으로써, 클립이 처치구 본체에 연결된 상태로 하기 위한 클립 카트리지(동일 문헌의 케이스)에 대하여 기재되어 있다.
특허문헌 1의 내시경용 클립 장치를 이용하여 생체 조직을 결찰하기 위해서는, 화살촉 훅을 연결 부재에 삽입한 상태로 조작 와이어의 견인 조작을 행한다. 생체 조직이 결찰된 상태로부터 추가로 조작 와이어를 강하게 견인하면, 연결 부재의 세경부가 파단되고, 클립은 생체 조직을 결찰한 상태로 체강 내에 유치(留置)된다.
파단된 연결 부재는, 화살촉 훅에 연결된 상태로 회수된 후, 화살촉 훅으로부터 분리되어 폐기된다.
특허문헌 1: 일본 공개특허공보 2004-121485호
상술한 바와 같이, 특허문헌 1의 내시경용 클립 장치에 있어서는, 클립을 체강 내에 유치한 후에, 파단된 연결 부재를 회수하고, 화살촉 훅으로부터 분리하여 폐기할 필요가 있다. 이로 인하여, 일련의 수기(手技)가 번잡하고, 감염 등의 문제가 발생할 우려가 있다.
본 발명은 상술한 바와 같은 과제를 감안하여 이루어진 것이며, 일련의 수기를 용이하게 행하는 것이 가능한 구조의 클립을, 용이하고 또한 확실히 처치구 본체에 장착하는 것이 가능한 클립 카트리지를 제공하는 것이다.
본 발명은, 장척의 처치구 본체에 대하여 클립을 연결하기 위하여 이용되는 클립 카트리지로서,
상기 클립은, 생체 조직을 파지하기 위한 복수의 완부(腕部) 및 상기 완부의 기단 측에 마련된 계지부(係止部)를 갖는 클립 본체를 구비하고,
상기 처치구 본체는, 장척의 시스와, 상기 시스의 내부에 진퇴 이동 가능하게 삽통되어 원위단(遠位端)에 선단 연결부가 마련된 조작 와이어와, 상기 시스의 내부에 수납 가능하며 상기 선단 연결부를 수용하는 통형의 슬리브와, 상기 조작 와이어로부터 상기 슬리브에 전진력 및 후퇴력을 전달하는 전달부를 가지며,
상기 슬리브는, 탄성적으로 자기 확개(擴開) 가능한 확경부와, 상기 확경부보다 근위 측에 마련되고 상기 확경부보다 직경 방향의 강성이 높은 통형의 슬리브 본체를 갖고,
상기 클립 카트리지는,
상기 클립을 수용하는 제1 수용 영역을 갖는 내부 케이스와,
상기 처치구 본체가 삽통되는 장척의 삽통 구멍과, 상기 삽통 구멍의 선단에 연통하고 있음과 함께 상기 내부 케이스를 선단 측 및 기단 측으로 이동 가능하게 수용하는 제2 수용 영역을 갖는 외부 케이스를 구비하며,
상기 삽통 구멍에 상기 처치구 본체가 삽입된 상태로, 상기 조작 와이어가 전방으로 밀어넣어짐으로써, 상기 선단 연결부와 상기 슬리브의 상기 확경부가, 상기 시스로부터 선단 측으로 돌출되어 상기 제2 수용 영역에 있어서의 상기 내부 케이스와 상기 삽통 구멍의 사이의 영역으로 들어감과 함께, 상기 확경부가 탄성적으로 확경되고,
상기 조작 와이어가 더 전방으로 밀어넣어짐으로써, 상기 선단 연결부가 상기 슬리브에 대하여 상대적으로 전진함으로써 상기 슬리브로부터 선단 측으로 돌출하고, 상기 선단 연결부와 상기 계지부가 연결된 연결 상태가 되며,
상기 연결 상태에서 상기 조작 와이어가 기단 측으로 견인됨으로써, 상기 내부 케이스가 상기 제2 수용 영역 내에서 상기 외부 케이스에 대하여 상대적으로 후퇴하고, 상기 내부 케이스가 상기 슬리브를 후방으로 압압함으로써 상기 확경부가 축경하면서 상기 시스로 끌어들여지는 클립 카트리지를 제공하는 것이다.
본 발명에 의하면, 일련의 수기를 용이하게 행하는 것이 가능한 구조의 클립을, 용이하고 또한 확실히 처치구 본체에 장착하는 것이 가능해진다.
도 1은 실시형태에 관한 클립 카트리지의 분해 사시도이다.
도 2는 클립 카트리지의 내부 케이스를 구성하는 내부 케이스 구성 부품의 사시도이다.
도 3은 개완(開腕) 상태의 클립의 평면도이다.
도 4는 클립 카트리지에 클립을 수용한 상태를 나타내는 평면도이다.
도 5는 도 4의 A-A선을 따른 측단면도이다.
도 6은 내시경용 클립 장치의 일례를 나타내는 사시도이다.
도 7a는 내시경용 클립 장치의 처치구 본체에 클립을 장착하는 일련의 동작 중, 장착 전 상태를 설명하기 위한 모식도이다.
도 7b는 내시경용 클립 장치의 처치구 본체에 클립을 장착하는 일련의 동작 중, 장착한 상태를 설명하기 위한 모식도이다.
도 8a는 내시경용 클립 장치의 처치구 본체에 클립을 장착하는 일련의 동작을 설명하기 위한 모식도이다.
도 8b는 내시경용 클립 장치의 처치구 본체에 클립을 장착하는 일련의 동작을 설명하기 위한 모식도이다.
도 8c는 내시경용 클립 장치의 처치구 본체에 클립을 장착하는 일련의 동작을 설명하기 위한 모식도이다.
도 9a는 내시경용 클립 장치의 처치구 본체에 클립을 장착하는 일련의 동작을 설명하기 위한 모식도이다.
도 9b는 내시경용 클립 장치의 처치구 본체에 클립을 장착하는 일련의 동작을 설명하기 위한 모식도이다.
도 10a는 내시경용 클립 장치의 처치구 본체에 클립을 장착하는 일련의 동작을 설명하기 위한 모식도이다.
도 10b는 내시경용 클립 장치의 처치구 본체에 클립을 장착하는 일련의 동작을 설명하기 위한 모식도이다.
도 10c는 내시경용 클립 장치의 처치구 본체에 클립을 장착하는 일련의 동작을 설명하기 위한 모식도이다.
도 11a는 폐완(閉腕) 상태의 클립을 나타내는 평면도이다.
도 11b는 폐완 상태의 클립을 나타내는 측면도이다.
이하, 본 발명의 실시형태에 대하여, 도면을 이용하여 설명한다. 또한, 모든 도면에 있어서, 동일한 구성 요소에는 동일한 부호를 붙이고, 중복되는 설명은 적절하게 생략한다.
도 1은 실시형태에 관한 클립 카트리지(200)의 분해 사시도이다. 도 2는 클립 카트리지(200)의 내부 케이스(30)(도 1)를 구성하는 내부 케이스 구성 부품(31)의 사시도이다. 도 3은 개완 상태의 클립(110)의 평면도이다.
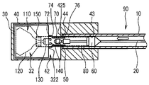
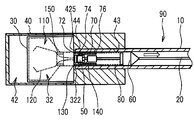
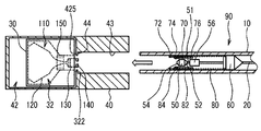
도 4는 클립 카트리지(200)에 클립(110)을 수용한 상태를 나타내는 평면도이다. 또한, 도 4에 있어서는, 외부 케이스(40)를 구성하는 한 쌍의 외부 케이스 구성 부품(41) 중 상측의 외부 케이스 구성 부품(41)의 도시를 생략하고 있음과 함께, 내부 케이스(30)를 구성하고 있는 한 쌍의 내부 케이스 구성 부품(31) 중 상측의 내부 케이스 구성 부품(31)에 대해서는, 그 측벽(315)(후술) 및 인접벽(316)(후술)만을 나타내고 있다. 도 5는 도 4의 A-A선을 따른 측단면도이다. 도 6은 내시경용 클립 장치(이하, 클립 장치로 약기하는 경우가 있음)(100)의 일례를 나타내는 사시도이다.
도 7a, 도 7b부터 도 10a, 도 10b, 도 10c의 각 도는, 내시경용 클립 장치(100)의 처치구 본체(90)에 클립(110)을 장착하는 일련의 동작을 설명하기 위한 모식도이다.
도 11a는 폐완 상태의 클립(110)을 나타내는 평면도이며, 도 11b는 측면도이다.
또한, 본 명세서에 있어서 "축 방향"이란, 특별히 설명이 없는 한, 처치구 본체(90)의 조작 와이어(20)(도 7a, 도 7b 등 참조)의 진퇴 방향을 의미한다. 또, "단면"이란, 특별히 설명이 없는 한, 내시경용 클립 장치(100)를 축 방향으로 절단한 종단면을 의미한다.
또, "원위 측(또는 원위)"이란, 특별히 설명이 없는 한, 내시경용 클립 장치(100), 이에 장착된 클립(110) 또는 클립 카트리지(200)에 있어서, 내시경용 클립 장치(100)의 조작자로부터 먼 측을 호칭하고, 구체적으로는 클립(110)의 완부(120)의 선단(클로부(126))이 있는 측을 말한다. 또, "근위 측(또는 근위)"이란, 특별히 설명이 없는 한, 내시경용 클립 장치(100), 클립(110) 또는 클립 카트리지(200)에 있어서 조작자에게 가까운 측을 말한다. 또, 내시경용 클립 장치(100), 클립(110) 또는 클립 카트리지(200)의 구성 요소가 원위 측으로 이동하는 것을 전진한다고 하고, 반대로 근위 측으로 이동하는 것을 후퇴한다고 하는 경우가 있다. 또한 "선단 측(또는 선단)"을 "원위 측(또는 원위)"과 동의로 이용하고, "기단 측(또는 기단)"을 "근위 측(또는 근위)"과 동의로 이용한다.
또, 기단 측으로부터 선단 측, 또는, 선단 측으로부터 기단 측을 향하는 방향을, 선기단 방향 또는 전후 방향이라고 칭한다.
또, 후술하는 바와 같이 클립 카트리지(200)는 편평하게 형성되어 있다. 그리고, 선기단 방향과 클립 카트리지(200)의 두께 방향의 쌍방에 대하여 직교하는 방향을 폭 방향이라고 칭한다.
본 실시형태에 관한 클립 카트리지(200)는, 장척의 처치구 본체(90)에 대하여 클립(110)을 연결하기 위하여 이용되는 클립 카트리지(200)이다.
도 3에 나타내는 바와 같이, 클립(110)은, 생체 조직을 파지하기 위한 복수의 완부(120)와, 완부(120)의 기단 측에 마련된 계지부(130)를 갖는 클립 본체(110a)를 구비하고 있다.
도 6부터 도 10a, 도 10b, 도 10c 중 어느 하나에 나타나는 바와 같이, 처치구 본체(90)는, 장척의 시스(10)와, 시스(10)의 내부에 진퇴 이동 가능하게 삽통되어 원위단에 선단 연결부(50)가 마련된 조작 와이어(20)와, 시스(10)의 내부에 수납 가능하며 선단 연결부(50)를 수용하는 통형의 슬리브(축경 슬리브(70))와, 조작 와이어(20)로부터 슬리브에 전진력 및 후퇴력을 전달하는 전달부(예를 들면, 신축부(80))를 갖는다.
슬리브는, 탄성적으로 자기 확개 가능한 확경부(72)와, 확경부(72)보다 근위 측에 마련되고 확경부(72)보다 직경 방향의 강성이 높은 통형의 슬리브 본체(76)를 갖는다. 여기에서, 슬리브 본체(76)의 직경 방향의 강성이, 확경부(72)의 직경 방향의 강성보다 높은이란, 슬리브 본체(76) 및 확경부(72)에 대하여 각각 직경 방향 내측에 힘이 가해졌을 때에, 탄성 변형에 의한 직경 방향 내측으로의 변위량이, 확경부(72)보다 슬리브 본체(76) 쪽이 작아지는 것을 의미한다.
도 1, 도 4, 도 5, 도 7a, 도 7b~도 10a, 도 10b, 도 10c 중 어느 하나에 나타나는 바와 같이, 클립 카트리지(200)는, 내부 케이스(30)와 외부 케이스(40)를 구비하고 있다. 이 중 내부 케이스(30)는, 클립(110)을 수용하는 제1 수용 영역(32)을 갖고 있다. 또, 외부 케이스(40)는, 처치구 본체(90)가 삽통되는 장척의 삽통 구멍(43)과, 삽통 구멍(43)의 선단에 연통하고 있음과 함께 내부 케이스(30)를 선단 측 및 기단 측으로 이동 가능하게 수용하는 제2 수용 영역(42)을 갖는다.
도 7a, 도 7b, 도 8a, 도 8b에 나타나는 바와 같이, 삽통 구멍(43)에 처치구 본체(90)가 삽입된 상태로, 조작 와이어(20)가 전방으로 밀어넣어짐으로써, 선단 연결부(50)와 슬리브의 확경부(72)가, 시스(10)로부터 선단 측으로 돌출되어 제2 수용 영역(42)에 있어서의 내부 케이스(30)와 삽통 구멍(43)의 사이의 영역으로 들어감과 함께, 확경부(72)가 탄성적으로 확경한다.
도 8c에 나타나는 바와 같이, 조작 와이어(20)가 더 전방으로 밀어넣어짐으로써, 선단 연결부(50)가 슬리브에 대하여 상대적으로 전진함으로써 슬리브로부터 선단 측으로 돌출하고, 선단 연결부(50)와 계지부(130)가 연결된 연결 상태가 된다.
도 9a, 도 9b부터 도 10a에 나타나는 바와 같이, 연결 상태에서 조작 와이어(20)가 기단 측으로 견인됨으로써, 내부 케이스(30)가 제2 수용 영역(42) 내에서 외부 케이스(40)에 대하여 상대적으로 후퇴하고, 내부 케이스(30)가 슬리브를 후방으로 압압함으로써 확경부(72)가 축경하면서 시스(10)로 끌어들여진다.
클립 장치(100)가 구비하는 처치구 본체(90)의 구체적인 구조는 특별히 한정되지 않는다. 도 6에는, 손가락 걸이 링(92), 슬라이더(94) 및 본체 축(96)을 구비하는 처치구 본체(90)를 예시한다. 클립 장치(100)의 사용자는, 예를 들면, 손가락 걸이 링(92)에 손가락(예를 들면 엄지)을 걸고, 슬라이더(94)를 다른 손가락(예를 들면 검지 및 중지)으로 협지한 상태로, 본체 축(96)에 대하여 슬라이더(94)를 상대 이동시켜 조작한다. 이로써, 슬라이더(94)에 연결된 조작 와이어(20)가 시스(10)의 내부에서 진퇴 이동한다. 또, 처치구 본체(90)의 전체를 축 둘레로 회전시킴으로써, 슬라이더(94)와 함께 조작 와이어(20)가 회전한다. 시스(10)가 내시경의 겸자 구멍의 벽면에 밀착하고 있는 경우, 조작 와이어(20)는 시스(10)의 내부에서 축 회전하게 된다. 이하, 처치구 본체(90)나 조작 와이어(20), 클립(110)이 축 회전하는 것을 "토크 회전"한다고 하는 경우가 있다.
클립 장치(100)는, 조작 와이어(20)의 선단에 클립(110)을 연결한 상태로, 내시경의 겸자 구멍(도시 생략)에 삽통하여 이용된다. 구체적으로는, 클립 장치(100)는, 체강 내에 유치된 내시경의 겸자 구멍에 대하여 근위 측으로부터 시스(10)를 삽입하고, 겸자 구멍의 원위 개구로부터 시스(10)의 원위단을 돌출시켜, 추가로 시스(10)로부터 클립(110)을 노출시켜 생체 조직을 결찰하는 데에 이용할 수 있다. 결찰되는 생체 조직으로서는, 내시경적 점막 하층 박리 방법(ESD)의 피처치 부위 등의 점막벽 외에, 혈관 등의 체관을 들 수 있다.
클립(110)은, 생체 조직을 결찰하는 것이며, 완부(120)로 생체 조직을 결찰함으로써, 예를 들면 지혈 처치, 봉축(縫縮) 및 마킹 등의 처치를 행할 수 있다. 완부(120)는 자기 확개력을 갖고, 후술하는 바와 같이 폐완 상태의 완부(120)를 시스(10)로부터 돌출시킴으로써 완부(120)는 자연스럽게 확개하여 개완 상태가 된다. 여기에서, "자기 확개"란, 닫으려고 하는 외력에 대하여 반발하여 스스로 열려고 하는 것을 말한다.
클립(110)은, 복수의 완부(120)와 계지부(130)를 갖는 클립 본체(110a) 외에, 복수의 완부(120)가 모아져 삽입된 체결 링(150)을 구비하고 있다. 체결 링(150)이 완부(120)에 대하여 상대적으로 완부(120)의 선단 측으로 이동함으로써, 복수의 완부(120)의 선단(클로부(126))이 서로 닫힌 상태가 되도록 구성되어 있다.
보다 상세하게는, 클립(110)은, 서로 대향하는 한 쌍의 완부(120)를 구비하고 있다.
한 쌍의 완부(120)는, 계지부(130)로부터 원위 측(도 3에 있어서의 좌측)을 향하여 돌출되는 기단부(122)와, 이 기단부(122)의 원위 측에 연접되어 있는 완 본체부(124)를 각각 구비하고 있다. 기단부(122)는 원위 측을 향하여 외향으로 만곡하고 있다.
여기에서, "외향"이란, 조작 와이어(20)의 축 또는 당해 축의 연장선으로부터 멀어지는 방향을 의미하며, 예를 들면 직경 방향의 외측 방향이다. "내향"이란, 조작 와이어(20)의 축 또는 당해 축의 연장선에 가까워지는 방향을 의미하고, 예를 들면 직경 방향의 내측 방향이다.
완 본체부(124)는 직선형으로 형성되어 있으며, 완 본체부(124)의 선단에는 클로부(126)가 형성되어 있다. 완 본체부(124) 및 클로부(126)는 생체 조직을 주로 파지하는 파지 영역이다. 클로부(126)는, 한 쌍의 완 본체부(124)로부터 내향으로 돌출되어 있고, 생체 조직에 파고들어감으로써 클립(110)의 파지력을 향상시킨다.
완부(120)는, 기단부(122)와 완 본체부(124)의 경계에서 굴곡하고 있고, 또 이러한 경계에는 완부(120)의 폭 치수가 국소적으로 축소하는 세폭부(細幅部)(123)가 형성되어 있다(도 11b 참조).
도 3에 나타내는 바와 같이, 계지부(130)와 한 쌍의 완부(120)는 일체 성형되어 클립 본체(110a)를 구성하고 있다. 즉 한쪽의 클로부(126), 완 본체부(124) 및 기단부(122)와, 다른 쪽의 클로부(126), 완 본체부(124) 및 기단부(122)가 계지부(130)를 통하여 심리스로 연속 형성되어 있다.
보다 구체적으로는, 금속제의 판재를 뚫어, 프레스 및 굽힘 가공함으로써, 서로 일체적인 한 쌍의 완부(120) 및 계지부(130)를 포함하는 클립 본체(110a)를 제작할 수 있다. 이러한 금속 재료로서는, 스테인리스강, 타이타늄 또는 타이타늄 합금 등을 예시할 수 있지만, 이에 한정되지 않는다. 또 상기 금속 재료는, 내부식성 피복 처리가 이루어진 것이어도 된다.
완 본체부(124)에는, 폭 방향의 중앙의 일부를 프레스(엠보스) 가공함으로써 보강부(125)가 형성되어 있다(도 11b 참조). 보강부(125)를 형성함으로써 완 본체부(124)의 두께 치수가 증대하고(도 3, 도 11a 참조), 완 본체부(124)의 굽힘 강성이 향상된다. 이로써, 생체 조직에 대한 높은 파지력을 얻을 수 있다. 보강부(125)는, 완 본체부(124) 중 클로부(126)를 제외한 선단부로부터, 세폭부(123)에 이르는 기단부까지 연속 형성되어 있다.
클립(110)의 체결 링(150)은 완부(120)에 대하여 진퇴 가능하게 장착되어 있다. 체결 링(150)을 완부(120)에 대하여 상대적으로 원위 측으로 이동시킴으로써, 개완 상태(도 3 참조)의 완부(120)를 자기 확개력에 저항하여 체결 링(150)으로 체결할 수 있다. 이로써, 완부(120)는 폐완 상태(도 11a 및 도 11b 참조)가 된다. 또, 체결 링(150)을 완부(120)에 대하여 상대적으로 후퇴시킴으로써 완부(120)는 자기 확개력에 의하여 개완한다. 또한, 환형의 체결 링(150)은, 둘레 방향에 걸쳐 둘레면 전체가 연속되는 전체 환형이어도 되고, 또는 둘레 방향의 일부에 절결이나 슬릿이 마련되어 있는 부분 환형이어도 된다.
완부(120)의 완 본체부(124)는, 기단부(122)나 세폭부(123)보다 태폭(太幅)으로 형성되어 있어, 체결 링(150)이 세폭부(123)를 타고 넘어 완 본체부(124)까지 전진하는 것이 규제되어 있다. 또, 기단부(122)에는, 부분적으로 태폭으로 형성된 태폭부(121)가 형성되어 있다. 체결 링(150)의 근위 측의 내경은 태폭부(121)의 폭 치수보다 작다. 이로 인하여, 체결 링(150)이 태폭부(121)를 타고 넘어 클립(110)의 근위 측으로 이동하는 것도 규제되어 있다. 체결 링(150)은 태폭부(121)와 완 본체부(124)의 사이의 길이 영역에서 완부(120)에 대하여 진퇴 이동한다. 그리고, 체결 링(150)이 세폭부(123)에 감합(嵌合)함으로써 체결 링(150)은 완부(120)에 계지되고, 클립(110)은 폐완 상태로 고정된다.
클립(110)의 계지부(130)는, 조작 와이어(20)의 선단의 선단 연결부(50)(도 7a 등)를 수용하는 공간(132)을 내부에 갖는 수용부(134)와, 이 수용부(134)의 기단 측에 내향으로 돌출 형성된 돌기부(140)를 갖고 있다. 수용부(134)가 공간(132) 내에 선단 연결부(50)를 수용함으로써, 클립(110)과 조작 와이어(20)는 서로 연결된다.
돌기부(140)는, 선단 연결부(50)에 의하여 확대되도록 탄성적 변형되어 개방되고, 또 탄성 복원됨으로써 선단 연결부(50)와 계합하여 이를 지지하는 클로부이다.
돌기부(140)는 수용부(134)의 근위 측에 배치되어 공간(132)의 일부 또는 전부를 개방 가능하게 폐쇄하는 부위이다. 돌기부(140)의 형상, 위치 및 크기는 특별히 한정되지 않는다. 예를 들면, 수용부(134)를 환형으로 형성하고, 돌기부(140)를 환형의 수용부(134)의 둘레면으로부터 직경 방향의 내향으로 돌출 형성해도 된다. 또는, 하기와 같이 수용부(134)를 환형 등의 기부(136)와, 이 기부(136)로부터 근위 측으로 돌출되는 돌편부(142)로 구성하고, 돌기부(140)를 당해 돌편부(142)의 선단에 형성해도 된다.
계지부(130)는, 완부(120)의 기단에 접속된 기부(136)와, 이 기부(136)로부터 기단 측으로 돌출 형성되어 수용부(134)를 구성하는 복수의 돌편부(142)를 구비하고 있다. 돌기부(140)는, 돌편부(142)의 근위 측의 선단부에 각각 형성되어 있다.
기부(136)와 돌편부(142)와 돌기부(140)로 둘러싸이는 공간(132)에 조작 와이어(20)의 선단 연결부(50)는 수용된다. 기부(136)의 내경은 선단 연결부(50)의 최대 외경보다 작아, 기부(136)는 선단 연결부(50)의 전진 이동을 규제한다. 돌기부(140)는, 공간(132)에 수용된 선단 연결부(50)가 후퇴하는 것을 규제한다. 공간(132)에 수용된 선단 연결부(50)는, 기부(136)와 돌기부(140)로 선기단 방향으로 구속되어 공간(132)의 내부에서 진퇴 이동이 규제되어도 되고, 또는 공간(132)의 내부에서 선단 연결부(50)는 약간 축 방향으로 진퇴 이동 가능해도 된다.
여기에서, 본 실시형태의 경우, 선단 연결부(50)는 괴상의 것이다. 선단 연결부(50)가 "괴상"이라는 것은, 선단 연결부(50)가 계지부(130)보다 두꺼우며, 선단 연결부(50)가 계지부(130)에 연결되고, 또 선단 연결부(50)가 계지부(130)로부터 발거(拔去)됨에 있어서, 계지부(130)의 변형에 비하여 선단 연결부(50)의 변형이 충분히 작은 것을 말한다. 괴상의 선단 연결부(50)의 구체적인 형상은 특별히 한정되지 않고, 도 7a에 나타내는 바와 같이 원위 측부와 근위단부가 각각 원위단과 근위단을 향하여 축경하는 형상인 것 외에, 기둥형이나 구형이어도 된다.
예를 들면, 선단 연결부(50)의 단면 형상은 다각형이며, 바람직하게는 정다각형 단면이다. 일례로서 선단 연결부(50)는 정육각형 단면을 갖고 있다.
계지부(130)에는 복수의 돌편부(142)가 대향하여 배치되어 있다. 돌편부(142)의 수는 한정되지 않지만, 다각형 단면의 선단 연결부(50)의 외주 평면의 수보다 적은 수인 것이 바람직하다. 구체적으로는, 계지부(130)는, 예를 들면 2개의 돌편부(142)를 갖고 있다. 돌편부(142)는 선단 연결부(50)의 직경보다 세폭의 판형을 이루고 있다.
2개의 돌편부(142)는, 선단 연결부(50)의 외주 평면에 각각 대면 가능한 위치에 마련되어 있다. 보다 구체적으로는, 2개의 돌편부(142)는 계지부(130)의 기부(136)에 있어서 180도 대향하는 위치에 마련되어 있다.
단, 본 발명은 이 예에 한정되지 않고, 3개의 돌편부(142)가 120도 간격으로 균등하게 대향 배치되어 있어도 된다. 돌편부(142)끼리의 대향 간격은, 선단 연결부(50)의 외주 평면에 돌편부(142)가 각각 밀착 또는 근접하는 것이 가능한 치수로 설정되어 있다.
선단 연결부(50)를 클립(110)(클립 본체(110a))에 연결하면, 수용부(134)에 수용된 선단 연결부(50)의 외주 평면을 둘러싸도록 하여, 복수의 돌편부(142)는 선단 연결부(50)에 밀착 또는 근접하여 배치된다. 이로써, 선단 연결부(50)를 토크 회전시키면 선단 연결부(50)의 외주 평면은 돌편부(142)를 축 둘레로 회전시켜, 계지부(130)를 통하여 클립 본체(110a) 전체에 토크를 부여한다.
돌편부(142)의 근위 측의 선단에 형성된 돌기부(140)는, 기부(136)와 동심의 원주 상에 배치되어 있고, 부분 원호형으로 형성되어 있다. 개개의 돌기부(140)는, 중심각이 약 120도인 부분 원호형을 이루고, 2개의 돌기부(140)에 의하여 상기 원주의 약 3분의 2의 영역을 지지할 수 있도록 형성되어 있다.
기부(136)는, 금속 재료 등의 판재를 굽힘 형성하고 단부 가장자리(138)를 서로 맞닿게 하여 이루어지는 환형을 이루고 있다. 복수의 돌편부(142)는, 환형의 기부(136)의 주위에 이간 배치되어 있다.
도 3 및 도 11a에 나타내는 바와 같이, 맞닿은 단부 가장자리(138)의 맞댐 부분은, 인접하는 돌편부(142)끼리의 중간 위치에 배치되어 있다.
환형의 기부(136)의 구체적인 형상은 특별히 한정되지 않고, 원통형, 각통형, 또는 이들의 조합 등을 예시할 수 있다. 또, 기부(136)는, 단부 가장자리(138)의 맞댐 부분이 서로 접촉한 전체 환형 외에, 단부 가장자리(138)의 맞댐 부분이 소정의 간격으로 이간된 부분 환형이어도 된다.
기부(136)의 기단 측의 둘레 가장자리에는, 원위 측을 향하여 파인 복수의 오목부(137)가 형성되어 있다. 돌편부(142)는, 오목부(137)의 바닥부(139)로부터 기단 측으로 돌출 형성되어 있다. 이로써, 축 방향에 있어서의 계지부(130)의 치수를 억제하면서, 돌편부(142)를 길게 형성할 수 있고, 수용부(134)에 조작 와이어(20)의 선단 연결부(50)를 감합 또는 발거할 때에 돌편부(142)를 유연하게 변형시킬 수 있다.
다음으로, 도 6 및 도 7a 등에 나타내는 바와 같이, 처치구 본체(90)의 시스(10)는, 장척이며 가요성의 관형 부재이다. 시스(10)는, 클립 장치(100)와 함께 이용되는 내시경의 겸자 구멍보다 길다. 시스(10)는, 예를 들면 금속 와이어를 장척으로 권회한 코일층(도시 생략)으로 구성할 수 있다. 코일층의 내주면에는, 불소계 폴리머로 제작된 내층(도시 생략)이 마련되어 있어도 된다. 또, 시스(10)를 수지제의 와이어를 권회한 코일층으로 해도 되고, 가요성의 수지 튜브로 해도 된다.
시스(10)의 내경 치수는, 조작 와이어(20)의 선단에 마련된 센터링부(60)(도 7a 등)를 슬라이딩 가능하게 수용하는 크기이다. 시스(10)는, 폐완 상태의 클립(110)을 내부에 수용 가능하다(도 10b, 도 10c 참조). 구체적으로는, 시스(10)의 내경은, 예를 들면, 100μm 이상 또한 2400μm 이하이다. 또, 시스(10)의 두께 치수는, 예를 들면, 100μm 이상 또한 350μm 이하이다. 이로써, 시스(10)의 굴곡성을 양호하게 할 수 있다.
조작 와이어(20)는, 시스(10)에 삽통되어 있으며, 당해 시스(10)의 내부를 축 방향으로 진퇴 가능하게 되어 있다. 조작 와이어(20)는, 예를 들면, 스테인리스강, 내부식성 피복된 강철선, 타이타늄 또는 타이타늄 합금 등의 강성이 강한 금속 재료에 의하여 형성되어 있다. 금속판을 구성하는 금속 재료로서는, 스테인리스강, 타이타늄 또는 타이타늄 합금 등을 예시할 수 있지만, 이에 한정되지 않는다. 또 상기 금속 부재는, 적절히 내부식성 피복 처리가 이루어진 것이어도 된다. 조작 와이어(20)의 외주면에는, 불소계 폴리머로 제작된 외층(도시 생략)이 마련되어 있어도 된다.
조작 와이어(20)의 원위단부에는, 예를 들면, 센터링부(60), 지주부(56), 선단 연결부(50), 신축부(80) 및 축경 슬리브(70)가 마련되어 있다.
센터링부(60)는, 조작 와이어(20)보다 대경인 괴상를 이루고, 조작 와이어(20)의 원위단부에 고정되어 있다. 센터링부(60)는 원기둥형의 부위(원기둥부)를 포함하고, 이러한 원기둥부의 외경은 시스(10)의 내경과 동등하거나 약간 작게 형성되어 있다. 시스(10)의 내부에서 조작 와이어(20)를 진퇴 이동시킴에 따라 센터링부(60)는 시스(10)의 내부를 슬라이딩하여 진퇴한다. 이때, 센터링부(60)의 외경이 시스(10)의 내경과 대략 동일한 직경이면, 조작 와이어(20)는 시스(10)의 축심 근방에 위치한 채 진퇴 이동한다. 만곡한 내시경(도시 생략)의 겸자 구멍에 시스(10)가 삽입된 경우에도, 조작 와이어(20)는 당해 겸자 구멍의 중심선 상에 대략 위치하기 때문에 조작 와이어(20)의 경로 길이는 변화하지 않아, 선단 연결부(50)나 클립(110)이 시스(10)로부터 예측할 수 없게 돌출되어 버리는 것이 억제된다.
조작 와이어(20)의 원위단부이며 센터링부(60)보다 원위 측의 위치에는, 조작 와이어(20)와 동일 축에 지주부(56)가 형성되어 있다. 지주부(56)의 원위단에는 선단 연결부(50)가 일체 형성되어 있다. 지주부(56)와 선단 연결부(50)의 사이에는, 잘록부(51)가 형성되어 있다(도 7a 등 참조). 신축부(80)는 지주부(56)를 수용하도록 하여 지주부(56)의 주위에 마련되고, 선단 연결부(50)는 축경 슬리브(70)의 내부에 수용 가능하게 되어 있다.
선단 연결부(50)의 원위부에 제2 경사면(54)이 마련되어 있다. 이로써, 선단 연결부(50)를 돌기부(140)에 대하여 기단 측으로부터 압압함으로써, 제2 경사면(54)은 돌기부(140)를 외향으로 탄성 변형시킨다.
또, 선단 연결부(50)의 근위부에 제1 경사면(52)이 마련되어 있다. 이로써, 선단 연결부(50)가 수용부(134)에 수용된 상태로 조작 와이어(20)를 진퇴 방향의 근위 측으로 견인함으로써, 제1 경사면(52)은 돌기부(140)를 외향으로 변형시킨다.
제1 경사면(52) 및 제2 경사면(54)의 한쪽 또는 양쪽 모두는, 평면이어도 되고, 또는 곡면이어도 된다. 곡면인 경우는, 돌기부(140)를 적합하게 외향으로 확대시킬 수 있도록, 직경 방향의 외향으로 팽출하는 볼록면이어도 된다.
제1 경사면(52) 또는 제2 경사면(54) 중 적어도 한쪽은, 원뿔대 또는 각뿔대 등의 뿔면형을 이루고 있다.
보다 구체적으로는, 제1 경사면(52)은 근위 측을 향하여 축경하는 원뿔대면이며, 제2 경사면(54)은 원위 측을 향하여 축경하는 원뿔대면이다.
조작 와이어(20)의 원위단부에는, 시스(10)의 내부에 수납 가능하고, 또한 선단 연결부(50)를 수용하는 통형의 슬리브(축경 슬리브(70))가 마련되어 있다. 축경 슬리브(70)의 적어도 일부의 내경은, 선단 연결부(50)를 수용부(134)로부터 뽑아내는 것이 가능해질 때의 계지부(130)의 외경보다 작다.
축경 슬리브(70)는, 시스(10)에 대한 체결 링(150)의 후퇴 이동을 규제하고, 개완 상태의 클립(110)(도 3 참조)을 폐완 상태(도 11a 및 도 11b 참조)에 전이시키기 위한 부재이다. 축경 슬리브(70)는, 도 7a 등에 나타내는 바와 같이 시스(10)의 내부에 수납 가능하고, 또 조작 와이어(20)를 전진시킴으로써 축경 슬리브(70)의 일부(확경부(72))를 시스(10)로부터 돌출시키는 것이 가능하다(도 8b 등 참조).
슬리브(축경 슬리브(70))는, 확경부(72), 축경 단차부(74) 및 슬리브 본체(76)를 갖고 있다. 확경부(72)는, 축경 슬리브(70)에 있어서의 원위 측에 마련되고 탄성적으로 자기 확개 가능하다. 축경 단차부(74)는, 확경부(72)의 근위 측에 마련되어 있다. 슬리브 본체(76)는, 축경 단차부(74)보다 더 근위 측에 마련되고, 확경부(72)보다 직경 방향의 강성이 높다.
슬리브 본체(76)의 내경은, 도 9b에 나타내는 바와 같이, 선단 연결부(50)를 수용부(134)로부터 뽑아내는 것이 가능해질 때의 계지부(130)의 외경보다 작다. 이로 인하여, 계지부(130)와 선단 연결부(50)가 연결되어 있는 상태이며, 또한 돌기부(140) 및 돌편부(142)가 슬리브 본체(76)에 수용되어 있는 상태에서는, 돌편부(142)의 외향 변형을 슬리브 본체(76)가 구속하기 때문에, 선단 연결부(50)가 수용부(134)로부터 이탈하는 것이 방지된다.
단, 돌기부(140) 및 돌편부(142) 중 적어도 일부를 슬리브 본체(76)보다 후퇴시킴으로써, 돌편부(142)가 충분히 변형되어 선단 연결부(50)를 수용부(134)로부터 뽑아내는 것이 가능해진다.
축경 단차부(74)는, 슬리브 본체(76)와 확경부(72)의 사이에 있어서, 근위 측을 향하여 축경하는 테이퍼형으로 형성되어 있다. 축경 슬리브(70)의 구성 재료는, 외력에 의하여 축경 가능한 부재이면 특정의 재질에 한정되지 않는다. 예를 들면 금속 재료나, 수지, 고무 등의 엘라스토머를 이용할 수 있다.
축경 슬리브(70)는 스테인리스강 등의 금속 재료로 제작된 통형체(파이프)이며, 확경부(72)의 원위단으로부터 근위 측을 향하여 절결 형성된 하나 이상의 슬릿(도시 생략)을 갖고 있다. 슬릿은, 축경 단차부(74)에 이르는 길이로 형성되어 있어도 된다. 이러한 슬릿을 가짐으로써, 축경 슬리브(70)의 적어도 확경부(72)는 확경 변형 또는 축경 변형되는 것이 가능하게 구성되어 있다. 확경부(72)는, 도 7a 등에 나타내는 바와 같이 축경 슬리브(70)가 시스(10)에 수용되고 또한 시스(10)에 구속되어 있는 상태일 때에, 시스(10)에 구속되어 있지 않은 자연 상태(도 8b 등)일 때보다 축경 변형되어, 외경이 시스(10)의 내경보다 소경으로 되어 있다.
그리고, 도 8b 등에 나타내는 바와 같이 축경 슬리브(70)의 확경부(72)가 시스(10)로부터 원위 측으로 돌출됨으로써 확경부(72)는 자연 상태로 탄성 복원된다. 확경부(72)는, 자연 상태에서 시스(10)의 내경보다 대경이다. 또, 슬리브 본체(76)는 자연 상태에서 시스(10)의 내경보다 소경이며, 축경 단차부(74)는 자연 상태에서 시스(10)의 내경보다 대경인 부분과 소경인 부분을 갖는다.
신축부(전달부)(80)는, 센터링부(60)와 축경 슬리브(70)를 연결하는 부재이며, 축 방향으로 신축 가능하게 구성되어 있다.
신축부(80)는, 금속 혹은 수지의 선재를 나선 권회한 코일, 또는 고무 등의 엘라스토머에 의하여 구성할 수 있다. 선재로서는, 스테인리스나 텅스텐 등의 금속선을 바람직하게 이용할 수 있다.
본 실시형태의 경우, 신축부(80)는 코일에 의하여 구성되어 있다.
신축부(80)는, 센터링부(60)와 축경 슬리브(70)에 각각 고정되는 양단부의 권회 피치를 작게 하고, 중간부의 권회 피치를 양단부보다 크게 한 부등 피치로 권회된 코일이다. 보다 구체적으로는, 신축부(80)의 양단부는, 인접하는 권선 루프끼리가 서로 접촉하는 밀권(密卷)으로 권회되고, 신축부(80)의 중간부는, 인접하는 권선 루프끼리가 서로 이간한 피치 감김에 의하여 권회되어 있다.
축경 슬리브(70)는 신축부(80)에 고정된 통형의 부재이며, 조작 와이어(20), 신축부(80) 및 축경 슬리브(70)는 시스(10)와 동일한 축에 배치되어 있다. 축경 슬리브(70)의 슬리브 본체(76)는 신축부(80)에 수용되어 있다. 신축부(80)의 원위단은 축경 단차부(74)의 근위 측에 맞닿아 있다. 신축부(80)의 원위부는, 슬리브 본체(76)의 주위에 고정된 고착부(82)와, 고착부(82)의 원위 측에 위치하여 슬리브 본체(76)의 주위에 비고정으로 장착된 비고착부(84)를 포함한다. 고착부(82)는 접착제, 땜납 등의 금속납(金屬蠟), 또는 용접에 의하여 슬리브 본체(76)의 주위에 고정되어 있다.
또한, 상기에 있어서는, 조작 와이어(20)의 선단부가 센터링부(60)를 통하여 신축부(80)의 기단부에 연결(접속)되어 있는 예를 설명했지만, 조작 와이어(20)의 선단부가 신축부(80)의 기단부에 대하여 직접적으로 연결(접속)되어 있어도 된다.
일례로서, 코일에 의하여 구성된 신축부(80)에 있어서의 축경 슬리브(70)보다 기단 측의 부분이, 당해 신축부(80)의 기단을 향하여 내경 및 외경이 서서히 축경하는 테이퍼형의 나선 형상으로 형성되어 있는 구조를 예시할 수 있다. 이 경우, 예를 들면, 당해 나선 형상의 부분의 내경을, 조작 와이어(20)의 선단부의 외경과 동등하게 설정함과 함께, 당해 나선 형상의 부분의 내주면을 조작 와이어(20)의 선단부의 외주면에 대하여 접합함으로써, 조작 와이어(20)와 신축부(80)를 서로 연결할 수 있다.
이하, 클립 카트리지(200)에 대하여 상세하게 설명한다.
도 1에 나타내는 바와 같이, 클립 카트리지(200)는, 내부 케이스(30)와 외부 케이스(40)를 구비하고 있다.
도 5에 나타내는 바와 같이, 내부 케이스(30)는, 한 쌍의 내부 케이스 구성 부품(31)을 서로 조립함으로써 구성되어 있다. 내부 케이스(30)는, 평면에서 보았을 때 직사각형 형상의 편평한 형상의 것이며, 클립(110)을 수용하는 제1 수용 영역(32)을 내부에 갖는다.
보다 상세하게는, 한 쌍의 내부 케이스 구성 부품(31)은, 서로 동일 형상으로 형성되어 있다.
또, 외부 케이스(40)도, 한 쌍의 외부 케이스 구성 부품(41)을 서로 조립함으로써 구성되어 있다. 외부 케이스(40)는, 전후 방향으로 장척의 평면에서 보았을 때 직사각형 형상의 편평한 형상의 것이며, 내부 케이스(30)를 수용하는 제2 수용 영역(42)를 내부에 갖는다.
보다 상세하게는, 한 쌍의 외부 케이스 구성 부품(41)은, 서로 동일 형상으로 형성되어 있다.
도 1 및 도 2에 나타내는 바와 같이, 내부 케이스 구성 부품(31)은, 평면에서 보았을 때 직사각형 형상의 판형의 판형부(311)를 갖고 있다.
한 쌍의 내부 케이스 구성 부품(31)은, 판형부(311)의 한쪽의 면끼리가 서로 대향하도록 하여 서로 조립되어, 내부 케이스(30)를 구성한다.
내부 케이스 구성 부품(31)은, 또한 판형부(311)의 폭 방향에 있어서의 일측단에 마련되고, 판형부(311)의 한쪽의 면으로부터 기립하고 있는 측벽(315)을 갖고 있다. 측벽(315)은, 전후 방향으로 뻗어 있다.
또한, 내부 케이스(30)는, 한쪽의 측벽(315)이 제2 수용 영역(42)의 폭 방향에 있어서의 일단에, 다른 쪽의 측벽(315)이 제2 수용 영역(42)의 폭 방향에 있어서의 타단에, 각각 배치되도록 하여, 제2 수용 영역(42)에 수용된다(도 4 참조).
판형부(311)는, 당해 판형부(311)의 한쪽의 면에 있어서의 전단부에 형성된 돌기부(312)와, 당해 전단부에 형성된 구멍부(313)를 갖는다. 구멍부(313)는, 적어도 판형부(311)의 한쪽의 면에 개구하고 있다. 본 실시형태의 경우, 구멍부(313)는, 판형부(311)의 표리를 관통하고 있으며, 따라서 판형부(311)의 양면에 개구하고 있다.
돌기부(312)와 구멍부(313)는, 폭 방향에 있어서 서로 대칭으로 배치되어 있다. 보다 상세하게는, 돌기부(312)와 구멍부(313) 중 구멍부(313)가 측벽(315)의 근방에 배치되고, 돌기부(312)가 측벽(315)으로부터 먼 측에 배치되어 있다.
한 쌍의 내부 케이스 구성 부품(31)이 서로 조립된 상태에 있어서, 한쪽의 내부 케이스 구성 부품(31)의 돌기부(312)를 다른 쪽의 내부 케이스 구성 부품(31)의 구멍부(313)에 감입(嵌入)함과 함께, 다른 쪽의 내부 케이스 구성 부품(31)의 돌기부(312)를 한쪽의 내부 케이스 구성 부품(31)의 구멍부(313)에 감입하도록 되어 있다.
또한, 판형부(311)의 한쪽의 면에는, 클립(110)의 완부(120)를 수용하기 위한 오목부(314)가 형성되어 있다. 오목부(314)는, 폭 방향에 있어서 대칭형으로 형성되어 있다.
한 쌍의 내부 케이스 구성 부품(31)이 조립된 상태로, 한 쌍의 오목부(314)의 대향 간격에 의하여 제1 수용 영역(32)의 일부분, 즉 완부(120)를 수용하는 부분이 구성되도록 되어 있다.
판형부(311)의 한쪽의 면에 있어서, 오목부(314)의 기단 측에 인접하는 위치에는, 클립(110)의 체결 링(150)을 감합 상태로 지지하는 링 지지 오목부(317)가 형성되어 있다.
도 2에 나타내는 바와 같이, 링 지지 오목부(317)는, 반통형(예를 들면 반원통형)으로 형성되어 있으며, 오목부(314)의 바닥면보다 파여 있다. 링 지지 오목부(317)는, 폭 방향에 있어서의 오목부(314)의 중앙부의 기단 측에 배치되어 있다.
도 2에 나타내는 바와 같이, 판형부(311)의 한쪽의 면에는, 또한 링 지지 오목부(317)의 기단 측에 인접하고 있는 경사면(318)이 형성되어 있다. 경사면(318)은, 기단 측을 향하여 높아지도록 경사져 있다.
경사면(318)의 하단은 링 지지 오목부(317)의 후단과 교차하고 있으며, 경사면(318)은 오목부(314)의 바닥면보다 높은 위치까지 뻗어 있다.
또한, 판형부(311)의 한쪽의 면에는, 경사면(318)의 기단 측에 인접하고 있는 계지부 수용 오목부(319)가 형성되어 있다. 계지부 수용 오목부(319)는 반통형(예를 들면 반각통형)으로 형성되어 있으며, 오목부(314)의 바닥면보다 높은 위치에 배치되어 있다.
또한, 판형부(311)의 한쪽의 면에 있어서, 링 지지 오목부(317), 경사면(318) 및 계지부 수용 오목부(319)에 대하여 폭 방향에 있어서의 한쪽 편에 인접하는 위치에는, 측벽(315)과 동일 방향으로 기립(돌출)하고 있는 인접벽(316)이 형성되어 있다. 인접벽(316)은, 측벽(315)과 동등한 높이로 기립하고 있다. 인접벽(316)의 후단면은, 내부 케이스 구성 부품(31)의 후단 위치에 배치되어 있다.
인접벽(316)의 후단면 등에 의하여, 축경 슬리브(70)와 선단 연결부(50) 중 축경 슬리브(70)의 전진을 선택적으로 규제하는 전진 규제부(322)가 구성되어 있다. 즉, 내부 케이스(30)가 전진 규제부(322)를 갖는다.
또한, 판형부(311)에는, 선기단 방향으로 뻗는 한 쌍의 슬릿(320)이 형성되어 있다. 한쪽의 슬릿(320)은, 링 지지 오목부(317), 경사면(318), 계지부 수용 오목부(319) 및 인접벽(316)보다 폭 방향에 있어서의 한쪽의 측에 배치되어 있으며, 다른 쪽의 슬릿(320)은, 링 지지 오목부(317), 경사면(318), 계지부 수용 오목부(319) 및 인접벽(316)보다 폭 방향에 있어서의 다른 쪽의 측에 배치되어 있다.
한 쌍의 슬릿(320)의 전단은, 예를 들면, 오목부(314)의 전단 근방에 위치하고 있으며, 슬릿(320)의 후단은, 내부 케이스 구성 부품(31)의 후단에 이르고 있다. 따라서, 한 쌍의 슬릿(320)은, 후방을 향하여 개방되어 있다.
이와 같은 한 쌍의 슬릿(320)이 판형부(311)에 형성되어 있음으로써, 판형부(311)에 있어서 한 쌍의 슬릿(320)에 끼워져 있는 부분은, 판형부(311)가 탄성 변형함으로써 판형부(311)의 두께 방향으로 변위 가능한 가동편(321)을 구성하고 있다.
그리고, 가동편(321)이 링 지지 오목부(317), 경사면(318), 계지부 수용 오목부(319) 및 인접벽(316)을 포함하고 있다.
또한, 한 쌍의 내부 케이스 구성 부품(31)이 서로 조립된 상태로, 인접벽(316)은, 상대방의 판형부(311)와 두께 방향에 있어서 중복되게 되어 있다. 이로 인하여, 가동편(321)에는, 상대방의 인접벽(316)의 선단부와의 간섭을 피하기 위한 절결 형상부(323)가 형성되어 있다.
도 1 및 도 4에 나타내는 바와 같이, 전후 방향으로 장척의 평면에서 보았을 때 직사각형 형상의 평판형으로 형성된 판형부(411)를 갖고 있다.
한 쌍의 외부 케이스 구성 부품(41)은, 판형부(411)의 한쪽의 면끼리가 서로 대향하도록 하여 서로 조립되어, 외부 케이스(40)를 구성한다.
판형부(411)의 한쪽의 면의 전부(前部)에는, 내부 케이스(30)를 수용하기 위한 오목부(424)가 형성되어 있다. 한 쌍의 외부 케이스 구성 부품(41)이 조립된 상태로, 한 쌍의 오목부(424)의 대향 간격에 의하여 제2 수용 영역(42)이 구성되도록 되어 있다.
외부 케이스(40)는, 오목부(424)의 전측에 인접하여 배치된 선단벽(421)과, 폭 방향에 있어서의 오목부(424)의 양측으로 각각 인접하여 배치된 한 쌍의 측벽(422)을 갖고 있다. 선단벽(421)은 폭 방향으로 뻗어 있는 한편, 한 쌍의 측벽(422)은 각각 전후 방향으로 뻗어 있으며, 선단벽(421) 및 측벽(422)은 각각 판형부(411)의 한쪽의 면으로부터 기립하고 있다.
한 쌍의 외부 케이스 구성 부품(41)이 조립된 상태로, 선단벽(421)의 정면끼리가 맞닿게 되어 있다.
선단벽(421)의 정면(頂面)에는, 상대방의 선단벽(421)을 향하여 돌출되어 있는 돌기부(416)가 형성되어 있다. 선단벽(421)의 배면 측에는, 한 쌍의 외부 케이스 구성 부품(41)이 조립된 상태로 상대방의 돌기부(416)를 감입하는 절결 형상부(417)가 형성되어 있다. 돌기부(416)와 절결 형상부(417)는, 폭 방향에 있어서 서로 대칭 위치에 배치되어 있다.
판형부(411)의 후단부에는, 돌기부(414)와 구멍부(415)가 형성되어 있다. 돌기부(414)와 구멍부(415)는 폭 방향에 있어서 서로 대칭 위치에 배치되어 있다.
돌기부(414)는, 판형부(411)의 한쪽의 면으로부터 융기한 융기부(423)로부터 더 돌출된 상태로 형성되어 있다.
구멍부(415)는, 융기부(423) 및 판형부(411)를 표리에 관통하고 있으며, 돌기부(414)를 감입 가능한 형상으로 형성되어 있다.
한 쌍의 외부 케이스 구성 부품(41)을 서로 조립한 상태에서는, 돌기부(414)가 근원까지 구멍부(415)에 감입하여, 서로의 융기부(423)의 대향면(정면)끼리가 맞닿게 되어 있다.
오목부(424)의 후측에는, 돌기부(412), 구멍부(429), 주위벽(425), 계지 클로(428), 가이드 돌기(413) 및 구멍부(427)가, 서로 병렬의 배치로 마련되어 있다.
돌기부(412), 구멍부(429), 주위벽(425), 계지 클로(428), 가이드 돌기(413) 및 구멍부(427) 중, 돌기부(412)는, 폭 방향에 있어서의 일단 측에 배치되어 있으며, 판형부(411)의 한쪽의 면으로부터, 측벽(422)의 정면보다 높게 돌출되어 있다. 구멍부(427)는, 판형부(411)를 관통하고 있다. 돌기부(412)와 구멍부(427)는, 폭 방향에 있어서 서로 대칭 위치에 배치되어 있다.
한 쌍의 외부 케이스 구성 부품(41)을 서로 조립한 상태에서는, 돌기부(412)가 구멍부(427)에 감입하도록 되어 있다.
가이드 돌기(413)는, 폭 방향에 있어서 구멍부(427)와 인접하는 위치에 배치되어 있으며, 판형부(411)의 한쪽의 면으로부터 돌기부(412)와 동일 방향으로 돌출되어 있다. 가이드 돌기(413)는, 한 쌍의 외부 케이스 구성 부품(41)을 서로 조립할 때에, 돌기부(412)를 구멍부(427)를 향하여 안내한다.
계지 클로(428)는, 폭 방향에 있어서 가이드 돌기(413)보다 중심 쪽으로 배치되어 있음과 함께, 판형부(411)의 한쪽의 면으로부터 돌기부(412)와 동일 방향으로 돌출되어 있고, 선단이 구조(鉤爪)형으로 굴곡하고 있다.
구멍부(429)는, 판형부(411)를 관통하고 있다. 구멍부(429)와 계지 클로(428)는, 폭 방향에 있어서 서로 대칭 위치에 배치되어 있다.
한 쌍의 외부 케이스 구성 부품(41)을 서로 조립한 상태에서는, 계지 클로(428)가 구멍부(429)에 감입하여 계지되도록 되어 있다.
주위벽(425)은 폭 방향에 있어서의 중앙부에 배치되어 있으며, 삽통 구멍(43)의 선단의 개구를 둘러싸는 것이다. 주위벽(425)은, 오목부(424)보다 높게 형성되어 있다. 주위벽(425)의 전면은 평탄하게 형성되어, 전방을 향하고 있다.
외부 케이스 구성 부품(41)에 있어서, 돌기부(412), 구멍부(429), 주위벽(425), 계지 클로(428), 가이드 돌기(413) 및 구멍부(427)가 배치되어 있는 부위와, 후단부의 한 쌍의 융기부(423)가 배치되어 있는 부위와의 사이의 부위는, 융기부(423)보다 저단에 형성되어 있다.
이 저단의 부위의 전후 방향에 있어서의 중간 위치에는, 중간 돌기부(426)가 형성되어 있다. 중간 돌기부(426)의 정면의 높이 위치는, 융기부(423)의 정면의 높이 위치와 동등하게 되어 있으며, 한 쌍의 외부 케이스 구성 부품(41)이 서로 조립된 상태에서는, 한 쌍의 중간 돌기부(426)의 정면끼리가 맞닿게 되어 있다.
또한, 판형부(411)에는, 예를 들면, 후술하는 삽통 구멍 구성 홈(418)의 양측 위치에, 각각 1개씩의 중간 돌기부(426)가 형성되어 있다.
판형부(411)의 후단부의 폭 방향에 있어서의 중앙부에는, 후방을 향하여 폭이 넓어지는 평면에서 보았을 때 V자형의 절결 형상부(420)가 형성되어 있다.
판형부(411)의 한쪽의 면의 폭 방향에 있어서의 중앙부에는, 절결 형상부(420)의 전단부로부터 주위벽(425)의 전단에 걸쳐 직선형의 삽통 구멍 구성 홈(418)이 형성되어 있다.
삽통 구멍 구성 홈(418)은, 축 방향으로 뻗어 있다. 삽통 구멍 구성 홈(418)은, 반통형으로 형성되어 있으며, 한 쌍의 외부 케이스 구성 부품(41)이 서로 조립된 상태에서는, 한 쌍의 삽통 구멍 구성 홈(418)이 서로 대향 배치되어 합쳐짐으로써, 원관형의 삽통 구멍(43)(도 5, 도 7a 등 참조)이 형성된다. 또한, 본 실시형태에서는, 직선형의 삽통 구멍(43)을 예시하지만, 삽통 구멍(43)은 만곡하고 있어도 된다.
삽통 구멍 구성 홈(418)은, 삽통 구멍 구성 홈(418)의 길이 방향에 있어서의 대부분을 차지하는 홈 본체(418a)와, 홈 본체(418a)의 전측에 위치하여 홈 본체(418a)보다 폭 방향에 있어서 폭넓게 형성되어 있는 광폭부(418b)를 포함하고 있다.
홈 본체(418a)의 내경(즉 삽통 구멍(43)의 내경)은, 시스(10)의 외경보다 약간 큰 정도로 설정되어 있으며, 삽통 구멍(43)에 시스(10)를 삽입할 때에는, 시스(10)는 삽통 구멍(43)의 둘레벽을 따라 전방으로 가이드되도록 되어 있다.
삽통 구멍 구성 홈(418)의 전단부에는, 시스(10)의 전진을 규제하는 스토퍼부(44)(도 5, 도 7a 등 참조)를 구성하는 스토퍼 구성부(419)가 형성되어 있다.
클립 카트리지(200)의 내부 케이스 구성 부품(31) 및 외부 케이스 구성 부품(41)은, 각각 이상과 같이 구성되어 있다.
그리고, 한 쌍의 내부 케이스 구성 부품(31)은, 상호 간에 형성되는 제1 수용 영역(32)에 클립(110)이 수용된 상태가 되도록, 서로 조립되어, 내부 케이스(30)를 구성하고 있다(도 5, 도 7a 등 참조).
또한, 한 쌍의 외부 케이스 구성 부품(41)은, 상호 간에 형성되는 제2 수용 영역(42)에 내부 케이스(30)가 수용된 상태가 되도록, 서로 조립되어, 외부 케이스(40)를 구성하고 있다.
이렇게 하여, 클립(110)을 내부에 지지한 클립 카트리지(200)가 구성되어 있다(도 4, 도 5, 도 7a 등 참조).
여기에서, 한 쌍의 내부 케이스 구성 부품(31)의 돌기부(312)와 구멍부(313)는 서로 감합하고 있다. 즉, 내부 케이스(30)는, 서로 동일 형상으로 형성된 한 쌍의 내부 케이스 구성 부품(31)을 조합하여 구성되며, 한 쌍의 내부 케이스 구성 부품(31)은, 서로 대향한 상태로 서로 감합하고 있다.
또, 한 쌍의 외부 케이스 구성 부품(41)은, 돌기부(416)와 절결 형상부(417)가 서로 감합하고, 돌기부(414)와 구멍부(415)가 서로 감합하며, 돌기부(412)와 구멍부(427)가 서로 감합하고, 계지 클로(428)와 구멍부(429)가 서로 감합하고 있다.
즉, 외부 케이스(40)는, 서로 동일 형상으로 형성된 한 쌍의 외부 케이스 구성 부품(41)을 조합하여 구성되며, 한 쌍의 외부 케이스 구성 부품(41)은, 서로 대향한 상태로 서로 감합하고 있다.
또한, 폭 방향에 있어서, 내부 케이스(30)의 치수는, 제2 수용 영역(42)의 내측 치수보다 약간 작은 정도로 설정되어 있으며, 내부 케이스(30)는, 제2 수용 영역(42) 내에 있어서 전후로 이동 가능하게 되어 있다. 보다 상세하게는, 한 쌍의 측벽(315)의 외면이, 외부 케이스 구성 부품(41)의 측벽(422)의 내면에 가이드되어, 내부 케이스(30)는 외부 케이스(40)에 대하여 전후로 슬라이딩하게 되어 있다.
또, 체결 링(150)은 한 쌍의 내부 케이스 구성 부품(31)의 가동편(321)에 의하여 협지되어 있다. 보다 상세하게는, 체결 링(150)은 한 쌍의 링 지지 오목부(317)에 끼워져, 체결 링(150)의 후단은 한 쌍의 경사면(318)에 의하여 후방으로의 이동이 규제되어 있다.
본 실시형태의 경우, 한 쌍의 가동편(321)에 의하여 한 쌍의 링 협지부가 구성되어 있다.
다음으로, 도 7a, 도 7b부터 도 10a, 도 10b, 도 10c의 각 도면을 이용하여, 조작 와이어(20)의 선단 연결부(50)를 클립(110)에 연결하기 위한 일련의 수기를 설명한다.
먼저, 도 7a 및 도 7b에 나타내는 바와 같이, 시스(10)의 선단이 스토퍼부(44)에 부딪칠 때까지 처치구 본체(90)의 시스(10)를 클립 카트리지(200)의 외부 케이스(40)의 삽통 구멍(43)에 삽입한다.
다음으로, 도 8a 및 도 8b에 나타내는 바와 같이, 조작 와이어(20)를 밀어넣음으로써, 선단 연결부(50)와 축경 슬리브(70)의 확경부(72)가, 시스(10)로부터 선단 측으로 돌출되어 제2 수용 영역(42)에 있어서의 내부 케이스(30)와 삽통 구멍(43)의 사이의 영역으로 들어감과 함께, 확경부(72)가 탄성적으로 확경한다.
또한, 축경 슬리브(70)는, 확경부(72)의 선단이 전진 규제부(322)에 부딪친 단계에서 추가적인 전진이 규제되고, 이후에는, 축경 슬리브(70)와 선단 연결부(50) 중 선단 연결부(50)가 선택적으로 전진한다.
다음으로, 도 8c에 나타내는 바와 같이, 조작 와이어(20)를 더 밀어넣음으로써, 선단 연결부(50)가 축경 슬리브(70)에 대하여 상대적으로 전진함으로써 축경 슬리브(70)로부터 선단 측으로 돌출되어, 선단 연결부(50)와 계지부(130)가 연결된 연결 상태가 된다. 또한, 내부 케이스(30)는, 외부 케이스(40)에 대하여 전후로 슬라이딩 가능하기 때문에, 조작 와이어(20)를 밀어넣을 때에 내부 케이스(30)가 외부 케이스(40)에 대하여 전진할 수 있지만, 내부 케이스(30)의 전진은 제2 수용 영역(42)의 전단 위치에 있어서 규제된다.
다음으로, 도 9a 및 도 9b에 나타내는 바와 같이, 조작 와이어(20)를 견인하면, 클립(110)의 기단부가 약간 축경 슬리브(70) 내로 끌어들여진 상태가 되면서, 내부 케이스(30)와 클립(110)이 시스(10)로 당겨진다.
이때, 체결 링(150)이 경사면(318)을 후방으로 누름으로써 내부 케이스(30)가 후퇴하고, 축경 슬리브(70)는 내부 케이스(30)의 전진 규제부(322)에 의하여 후방으로 밀려 후퇴한다.
또, 클립(110)의 한 쌍의 완부(120)는 약간 닫으면서 체결 링(150) 내로 끌어들여지지만, 결찰에는 이르지 않는다.
도 9b부터 도 10a에 나타내는 바와 같이, 축경 슬리브(70)는, 확경부(72)가 주위벽(425)에 맞닿을 때까지 후퇴한 후에는, 확경부(72)가 축경하면서 시스(10)에 들어간다.
이때, 내부 케이스(30)가 제2 수용 영역(42) 내에서 외부 케이스(40)에 대하여 상대적으로 후퇴하고, 내부 케이스(30)가 축경 슬리브(70)를 후방으로 압압함으로써 확경부(72)가 축경하면서 삽통 구멍(43)으로 끌어들여진다.
여기에서, 체결 링(150)에 의하여 한 쌍의 완부(120)를 닫아 결찰하는 데에 필요로 하는 힘의 크기는, 예를 들면 30N 이상 50N 이하 정도인 데에 대하여, 클립(110)을 내부 케이스(30)로부터 후방으로 이탈시키는 데에 필요로 하는 힘 F1의 크기는, 예를 들면 10N 정도이다. 힘 F1은, 체결 링(150)을 링 협지부에서 후방으로 이탈시키는 데에 필요로 하는 힘이다.
따라서, 조작 와이어(20)를 힘 F1 이상의 힘으로 견인함으로써, 클립(110)이 선단 연결부(50)에 의하여 끌어당겨짐으로써 내부 케이스(30)로부터 이탈하여 후퇴하지만, 결찰에는 이르지 않는다(도 10b 참조).
여기에서, 축경 슬리브(70)의 확경부(72)를 제2 수용 영역(42)으로부터 시스(10)로 끌어들이는 데에 필요로 하는 힘 F2의 크기는, 예를 들면 2N 이상 3N 이하 정도이다.
또, 내부 케이스(30)를 제2 수용 영역(42)에 있어서 외부 케이스(40)에 대하여 상대적으로 후퇴시키는 데에 필요로 하는 힘 F3은, 힘 F2보다 충분히 작은 것으로 한다.
즉, 클립 카트리지(200)는, 연결 상태에서 조작 와이어(20)가 기단 측으로 견인됨으로써, 클립(110)이 선단 연결부(50)에 의하여 끌어당겨짐으로써 내부 케이스(30)로부터 이탈하여 후퇴하도록 구성되어 있다. 그리고, 클립(110)을 내부 케이스(30)로부터 이탈시키는 데에 필요로 하는 힘 F1과, 축경 슬리브(70)의 확경부(72)를 제2 수용 영역(42)으로부터 시스(10)로 끌어들이는 데에 필요로 하는 힘 F2와, 내부 케이스(30)를 제2 수용 영역(42)에 있어서 외부 케이스(40)에 대하여 상대적으로 후퇴시키는 데에 필요로 하는 힘 F3이, F1>F2>F3을 충족시킨다.
따라서, 조작 와이어(20)가 체결 링(150)을 통하여 내부 케이스(30)를 견인함으로써 내부 케이스(30)를 후퇴시키면서, 확경부(72)를 시스(10)로 끌어들일 수 있다.
상술한 바와 같이 클립(110)을 완전하게 결찰하기(본체결하기) 위해서는 30N 이상 50N 이하 정도의 힘이 필요하기 때문에, 본체결이 되기 전에 축경 슬리브(70)의 확경부(72)가 축경하여 시스(10)에 수납된다. 또한, 본체결이 되기 전에, 체결 링(150)과 클립(110)이 시스(10)에 수납된다(도 10b).
그 후, 클립 카트리지(200)로부터 시스(10)를 뽑아낸다(도 10c).
이상에 의하여, 처치구 본체(90)에 대한 클립(110)의 장전이 완료된다.
여기에서, 연결 상태에서 조작 와이어(20)가 기단 측으로 견인될 때에, 확경부(72)가 시스(10)로 끌어들여지기 전에, 클립(110)의 계지부(130) 및 선단 연결부(50)가 축경 슬리브(70)의 슬리브 본체(76)의 내부에 수납되도록 되어 있다(도 9a 참조). 따라서, 연결 상태를 지지하면서, 확경부(72)를 시스(10)로 끌어들일 수 있다.
보다 상세하게는, 클립(110)은, 복수의 완부(120)가 모아져 삽입된 체결 링(150)을 구비하고, 체결 링(150)이 완부(120)에 대하여 상대적으로 완부(120)의 선단 측으로 이동함으로써 복수의 완부(120)의 선단이 서로 닫힌 상태가 되도록 구성되어 있다.
내부 케이스(30)는, 체결 링(150)을 협지하는 링 협지부(예를 들면 가동편(321))를 갖고, 연결 상태에서 조작 와이어(20)가 기단 측으로 견인됨으로써, 링 협지부가 탄성 변형하여 체결 링(150)이 링 협지부로부터 이탈하도록 구성되어 있다.
그리고, 힘 F1은, 체결 링(150)을 링 협지부로부터 이탈시킬 때에 필요로 하는 힘이다.
여기에서, 체결 링(150)을 링 협지부로부터 이탈시킬 때에 필요로 하는 힘이란, 체결 링(150)을 링 협지부로부터 이탈시킬 때에 필요하게 되는 다양한 힘의 합력(合力)이다.
상기 합력을 구성하는 힘에는, 체결 링(150)을 링 협지부로부터 이탈시키는 데에 필요로 하는 힘이 포함된다. 이 힘은, 체결 링(150)이 기단 측으로 견인됨으로써, 당해 체결 링(150)이, 예를 들면, 한 쌍의 가동편(321)의 대향 간격을 눌러 펼치면서, 한 쌍의 가동편(321)에 대하여 마찰적으로 슬라이딩하여, 기단 측으로 이동하기 위하여 필요한 힘이다.
또한 상기 합력에는, 클립(110)을 제1 수용 영역(32)으로부터 기단 측으로 이탈시키는 데에 필요로 하는 힘도 포함된다. 즉, 클립(110)의 완부(120)가 자기 확개력을 가짐으로써, 클립(110)이 제1 수용 영역(32)으로부터 후방으로 이탈할 때에는, 완부(120)와 내부 케이스(30)에 있어서의 제1 수용 영역(32)의 내벽면과의 사이에, 당해 자기 확개력에 기인하는 마찰 저항(저항력)이 발생한다. 이로 인하여, 이 저항력도, 상기 합력에 포함된다.
상기 합력에는, 이들 이외에도, 각부의 마찰 등에 기인하는 힘이 포함된다.
보다 상세하게는, 링 협지부는, 체결 링(150)을 감합 상태로 지지하는 링 지지 오목부(317)와, 링 지지 오목부(317)의 기단 측에 인접하고 있는 경사면(318)이며 기단 측을 향하여 링 협지부의 대향 간격이 좁아지는 방향으로 경사져 있는 경사면(318)을 갖는다.
보다 상세하게는, 내부 케이스(30)는, 내부 케이스 본체(예를 들면 내부 케이스 구성 부품(31)에 있어서의 가동편(321)을 제외한 부분)와, 링 협지부를 갖고, 링 협지부는, 내부 케이스 본체에 의하여 편측 지지식으로 지지된 가동편(321)을 포함한다(본 실시형태의 경우, 가동편(321) 자체가 링 협지부이다).
그리고, 연결 상태에서 조작 와이어(20)가 기단 측으로 견인될 때에, 가동편(321)이 링 협지부(즉 가동편(321))의 대향 간격이 확대되는 방향으로 탄성적으로 변위함으로써, 체결 링(150)이 내부 케이스(30)로부터 이탈한다. 즉, 한 쌍의 가동편(321)이 서로 이간하는 방향으로 각각 탄성 변형됨으로써, 체결 링(150)이 내부 케이스(30)로부터 이탈한다.
여기에서, 도 5에 나타내는 바와 같이, 가동편(321)에 있어서, 외부 케이스(40)의 내면과 대향하는 외면(324)이, 기단 측을 향하여 외부 케이스(40)의 내면으로부터 이간하는 방향으로 경사져 있다. 이로써, 외면(324)과 외부 케이스(40)의 내면의 사이에는, 한 쌍의 가동편(321)이 서로의 대향 간격이 확대되는 방향으로 탄성적으로 변위하기 위한 공간이 확보되어 있다.
다음으로, 클립(110)을 폐완시키고, 선단 연결부(50)로부터 클립(110)을 더 이탈시킬 때까지의 일련의 수기를 설명한다.
도 10c에 나타내는 바와 같이 클립(110)이 시스(10)에 수용된 상태로, 내시경의 겸자 구멍을 통하여 체강 내에 시스(10)를 침입시킨다. 시스(10)의 원위 측 단부가, 결찰을 필요로 하는 생체 조직의 근방에 이르면, 조작 와이어(20)를 원위 측으로 밀어낸다. 이로써, 클립(110) 및 체결 링(150)이 시스(10) 선단보다 돌출되고, 클립(110)은 자기 확개력에 의하여 자연스럽게 최대 개구 폭까지 넓어진다.
이때, 축경 슬리브(70)에 있어서의 적어도 확경부(72)와 축경 단차부(74)는 시스(10)의 원위 개구보다 돌출되고, 자연 상태의 직경으로 확경 변형한다. 다음으로, 결찰해야 할 생체 조직에 대하여 클립(110)의 위치 및 방향을 조정한다.
처치구 본체(90)(도 1 참조)를 토크 회전시키면, 조작 와이어(20) 및 선단 연결부(50)는 연동하여 토크 회전한다. 또한, 선단 연결부(50)가 계지부(130)로 토크를 전달하므로, 클립(110)의 완부(120)도 토크 회전한다. 이로써, 완부(120)의 개완 방향을 생체 조직의 결찰 부위에 대하여 원하는 방향으로 지향시킬 수 있다.
클립(110)의 위치 및 방향을 결정한 후, 클립(110)의 선단을 결찰 부위에 누른 상태로, 조작 와이어(20)를 근위 측으로 끌어들인다. 체결 링(150)은, 축경 단차부(74)의 내측면에 맞닿음과 함께 확경부(72)의 내측에 감합하고 있으며, 축경 슬리브(70) 및 시스(10)에 대한 후퇴 이동이 규제되어 있다. 또, 체결 링(150)이 확경부(72)에 감합하고 있음으로써 확경부(72)에 외력이 부가되어도 축경 변형되는 것이 억제되고 있어, 조작 와이어(20)를 큰 힘으로 근위 측으로 끌어들여도 확경부(72)가 시스(10) 내로 끌어들여지는 것은 방지되고 있다.
조작 와이어(20)와 축경 슬리브(70)는, 신축부(80)에 의하여 연결되어 있다. 이로 인하여, 축경 슬리브(70)가 클립 장치(100)에 대한 근위 측으로의 상대 이동이 규제된 후에도, 조작 와이어(20)를 근위 측으로 끌어들임으로써 신축부(80)가 신장하여, 선단 연결부(50)를 시스(10) 내에 있어서 더 근위 측으로 끌어들이는 것이 가능하다.
선단 연결부(50)가 수용부(134)에 수용된 상태로 조작 와이어(20)를 진퇴 방향의 근위 측으로 견인함으로써, 완부(120)가 폐완하여(도 11a 및 도 11b 참조) 생체 조직을 파지한다. 또한, 완부(120)가 폐완하는 도중에 끌어들임을 중단하고, 재차, 조작 와이어(20)를 밀어넣음으로써, 완부(120)를 다시 확개시키는 것도 가능하다. 그리고, 최적의 결찰이 확인된 후에, 추가로 조작 와이어(20)를 근위 측으로 끌어들이면, 완부(120)에 마련된 세폭부(123)에 체결 링(150)이 감합하여 클립(110)이 고정된다. 이로써, 클립(110)은 폐완 상태가 된다.
완부(120)가 폐완하여 생체 조직을 파지할 때에, 계지부(130)의 돌기부(140)는 축경 슬리브(70)의 내부에 수용되어 있다. 이 상태로부터 추가로 조작 와이어(20)를 근위 측으로 견인함으로써, 돌기부(140)는 축경 슬리브(70)의 슬리브 본체(76)로부터 기단 측으로 돌출되어, 외향으로 크게 변형 가능해진다. 여기에서 돌기부(140)가 크게 변형된다란, 적어도 선단 연결부(50)를 수용부(134)로부터 뽑아내는 것이 가능해질 때까지 돌기부(140)가 대경으로 변형되는 것을 말한다.
이로 인하여, 생체 조직을 결찰할 때에 슬라이더(94)를 후퇴시키는 동작과 연속하여, 슬라이더(94)를 추가로 후퇴시킴으로써 선단 연결부(50)가 계지부(130)로부터 발거된다. 이로써 클립(110)은 조작 와이어(20)로부터 분리되고, 생체 조직을 결찰한 상태로 체강 내에 유치된다.
이상에 의하여, 선단 연결부(50)를 클립(110)에 연결하여, 클립(110)을 폐완시키고, 또한 클립(110)으로부터 선단 연결부(50)를 이탈시킬 때까지의 일련의 수기가 종료된다. 상기의 수기를 반복함으로써, 다수의 클립(110)으로 생체 조직을 결찰할 수 있다.
특허문헌 1의 기술과는 달리, 일련의 수기에는, 파단된 연결 부재를 회수하고 분리하는 작업이 포함되지 않기 때문에, 일련의 수기를 용이하게 행할 수 있다.
이상과 같은 실시형태에 의하면, 삽통 구멍(43)에 처치구 본체(90)가 삽입된 상태로, 조작 와이어(20)가 전방으로 밀어넣어짐으로써, 선단 연결부(50)와 슬리브의 확경부(72)가, 시스(10)로부터 선단 측으로 돌출되어 제2 수용 영역(42)에 있어서의 내부 케이스(30)와 삽통 구멍(43)의 사이의 영역으로 들어감과 함께, 확경부(72)가 탄성적으로 확경한다.
그리고, 조작 와이어(20)가 더 전방으로 밀어넣어짐으로써, 선단 연결부(50)가 슬리브에 대하여 상대적으로 전진함으로써 슬리브로부터 선단 측으로 돌출하고, 선단 연결부(50)와 계지부(130)가 연결된 연결 상태가 된다.
또, 연결 상태에서 조작 와이어(20)가 기단 측으로 견인됨으로써, 내부 케이스(30)가 제2 수용 영역(42) 내에서 외부 케이스(40)에 대하여 상대적으로 후퇴하고, 내부 케이스(30)가 슬리브를 후방으로 압압함으로써 확경부(72)가 축경하면서 시스(10)로 끌어들여진다.
따라서, 일련의 수기를 용이하게 행하는 것이 가능한 구조의 클립(110)을, 용이하고 또한 확실히 처치구 본체(90)에 장착하는 것이 가능하다.
또한, 본 발명은 상술한 실시형태에 한정되는 것은 아니고, 본 발명의 목적이 달성되는 한에 있어서의 다양한 변형, 개량 등의 양태도 포함한다.
예를 들면, 상술한 실시형태에 있어서는, 선단 연결부(50)가 괴상이며, 클립(110)의 기단의 클로형의 계지부(130)에 대하여 수용되는 예를 설명했지만, 이 예와는 반대로, 클로형으로 형성된 선단 연결부(50)에 의하여, 클립(110)의 기단의 계지부(130)를 감싸도록 하여 지지하도록 해도 된다.
또한, 본 발명의 클립 카트리지(200)의 각 구성 요소는, 각각이 독립적인 존재일 필요는 없다. 복수의 구성 요소가 한 개의 부재로서 형성되어 있는 것, 하나의 구성 요소가 복수의 부재로 형성되어 있는 것, 어느 구성 요소가 다른 구성 요소의 일부인 것, 어느 구성 요소의 일부와 다른 구성 요소의 일부가 중복되어 있는 것 등을 허용한다.
상기 실시형태는, 이하의 기술 사상을 포함하는 것이다.
(1) 클립을 지지하는 장척의 처치구 본체에 대하여 상기 클립을 연결하기 위하여 이용되는 클립 카트리지로서,
상기 클립은, 생체 조직을 파지하기 위한 복수의 완부 및 상기 완부의 기단 측에 마련된 계지부를 갖는 클립 본체를 구비하고,
상기 처치구 본체는, 장척의 시스와, 상기 시스의 내부에 진퇴 이동 가능하게 삽통되어 원위단에 선단 연결부가 마련된 조작 와이어와, 상기 시스의 내부에 수납 가능하며 상기 선단 연결부를 수용하는 통형의 슬리브와, 상기 조작 와이어로부터 상기 슬리브에 전진력 및 후퇴력을 전달하는 전달부를 가지며,
상기 슬리브는, 탄성적으로 자기 확개 가능한 확경부와, 상기 확경부보다 근위 측에 마련되고 상기 확경부보다 직경 방향의 강성이 높은 통형의 슬리브 본체를 갖고,
상기 클립 카트리지는,
상기 클립을 수용하는 제1 수용 영역을 갖는 내부 케이스와,
상기 처치구 본체가 삽통되는 장척의 삽통 구멍과, 상기 삽통 구멍의 선단에 연통하고 있음과 함께 상기 내부 케이스를 선단 측 및 기단 측으로 이동 가능하게 수용하는 제2 수용 영역을 갖는 외부 케이스를 구비하며,
상기 삽통 구멍에 상기 처치구 본체가 삽입된 상태로, 상기 조작 와이어가 전방으로 밀어넣어짐으로써, 상기 선단 연결부와 상기 슬리브의 상기 확경부가, 상기 시스로부터 선단 측으로 돌출되어 상기 제2 수용 영역에 있어서의 상기 내부 케이스와 상기 삽통 구멍의 사이의 영역으로 들어감과 함께, 상기 확경부가 탄성적으로 확경되고,
상기 조작 와이어가 더 전방으로 밀어넣어짐으로써, 상기 선단 연결부가 상기 슬리브에 대하여 상대적으로 전진함으로써 상기 슬리브로부터 선단 측으로 돌출하고, 상기 선단 연결부와 상기 계지부가 연결된 연결 상태가 되며,
상기 연결 상태에서 상기 조작 와이어가 기단 측으로 견인됨으로써, 상기 내부 케이스가 상기 제2 수용 영역 내에서 상기 외부 케이스에 대하여 상대적으로 후퇴하고, 상기 내부 케이스가 상기 슬리브를 후방으로 압압함으로써 상기 확경부가 축경하면서 상기 시스로 끌어들여지는 클립 카트리지.
(2) 상기 연결 상태에서 상기 조작 와이어가 기단 측으로 견인됨으로써, 상기 클립이 상기 선단 연결부에 의하여 끌어들여짐으로써 상기 내부 케이스로부터 이탈하여 후퇴하도록 구성되고,
상기 클립을 상기 내부 케이스로부터 이탈시키는 데에 필요로 하는 힘 F1과,
상기 슬리브의 상기 확경부를 상기 제2 수용 영역으로부터 상기 시스로 끌어들이는 데에 필요로 하는 힘 F2와,
상기 내부 케이스를 상기 제2 수용 영역에 있어서 상기 외부 케이스에 대하여 상대적으로 후퇴시키는 데에 필요로 하는 힘 F3이,
F1>F2>F3을 충족시키는 (1)에 기재된 클립 카트리지.
(3) 상기 클립은, 상기 복수의 완부가 모아져 삽입된 체결 링을 더 구비하고, 상기 체결 링이 상기 완부에 대하여 상대적으로 상기 완부의 선단 측으로 이동함으로써 상기 복수의 완부의 선단이 서로 닫힌 상태가 되도록 구성되며,
상기 내부 케이스는, 상기 체결 링을 협지하는 링 협지부를 갖고, 상기 연결 상태에서 상기 조작 와이어가 기단 측으로 견인됨으로써, 상기 링 협지부가 탄성 변형하여 상기 체결 링이 상기 링 협지부로부터 이탈하도록 구성되며,
상기 힘 F1은, 상기 체결 링을 상기 링 협지부로부터 이탈시킬 때에 필요로 하는 힘인 (2)에 기재된 클립 카트리지.
(4) 상기 링 협지부는, 상기 체결 링을 감합 상태로 지지하는 링 지지 오목부와, 상기 링 지지 오목부의 기단 측에 인접하고 있는 경사면으로서 기단 측을 향하여 상기 링 협지부의 대향 간격이 좁아지는 방향으로 경사져 있는 경사면을 갖는 (3)에 기재된 클립 카트리지.
(5) 상기 내부 케이스는,
내부 케이스 본체와,
상기 링 협지부를 갖고,
상기 링 협지부는, 상기 내부 케이스 본체에 의하여 편측 지지식으로 지지된 가동편을 포함하며,
상기 연결 상태에서 상기 조작 와이어가 기단 측으로 견인될 때에, 상기 가동편이 상기 링 협지부의 대향 간격이 확대되는 방향으로 탄성적으로 변위함으로써, 상기 체결 링이 상기 내부 케이스로부터 이탈하는 (3) 또는 (4)에 기재된 클립 카트리지.
(6) 상기 가동편에 있어서, 상기 외부 케이스의 내면과 대향하는 외면이, 기단 측을 향하여 상기 외부 케이스의 상기 내면으로부터 이간하는 방향으로 경사져 있는 (5)에 기재된 클립 카트리지.
(7) 상기 내부 케이스는, 상기 슬리브와 상기 선단 연결부 중 상기 슬리브의 전진을 선택적으로 규제하는 전진 규제부를 갖는 (1) 내지 (6) 중 어느 한 항에 기재된 클립 카트리지.
(8) 상기 내부 케이스는, 서로 동일 형상으로 형성된 한 쌍의 내부 케이스 구성 부품을 조합하여 구성되고,
상기 한 쌍의 내부 케이스 구성 부품은, 서로 대향한 상태로 서로 감합하고 있는 (1) 내지 (7) 중 어느 한 항에 기재된 클립 카트리지.
(9) 상기 외부 케이스는, 서로 동일 형상으로 형성된 한 쌍의 외부 케이스 구성 부품을 조합하여 구성되고,
상기 한 쌍의 외부 케이스 구성 부품은, 서로 대향한 상태로 서로 감합하고 있는 (1) 내지 (8) 중 어느 한 항에 기재된 클립 카트리지.
(10) 상기 연결 상태에서 상기 조작 와이어가 기단 측으로 견인될 때에, 상기 확경부가 상기 시스로 끌어들여지기 전에, 상기 클립의 상기 계지부 및 상기 선단 연결부가 상기 슬리브의 상기 슬리브 본체의 내부에 수납되는 (1) 내지 (9) 중 어느 한 항에 기재된 클립 카트리지.
산업상 이용가능성
본 발명에 의하면, 일련의 수기를 용이하게 행하는 것이 가능한 구조의 클립을, 용이하고 또한 확실히, 내시경 본체에 장착하는 것이 가능해진다.
10 시스
20 조작 와이어
30 내부 케이스
31 내부 케이스 구성 부품
32 제1 수용 영역
311 판형부
312 돌기부
313 구멍부
314 오목부
315 측벽
316 인접벽
317 링 지지 오목부
318 경사면
319 계지부 수용 오목부
320 슬릿
321 가동편
322 전진 규제부
323 절결 형상부
324 외면
40 외부 케이스
41 외부 케이스 구성 부품
42 제2 수용 영역
43 삽통 구멍
44 스토퍼부
411 판형부
412 돌기부
413 가이드 돌기
414 돌기부
415 구멍부
416 돌기부
417 절결 형상부
418 삽통 구멍 구성 홈
418a 홈 본체
418b 광폭부
419 스토퍼 구성부
420 절결 형상부
421 선단벽
422 측벽
423 융기부
424 오목부
425 주위벽
426 중간 돌기부
427 구멍부
428 계지 클로
429 구멍부
50 선단 연결부
51 잘록부
52 제1 경사면
54 제2 경사면
56 지주부
60 센터링부
70 축경 슬리브(슬리브)
72 확경부
74 축경 단차부
76 슬리브 본체
80 신축부(전달부)
82 고착부
84 비고착부
90 처치구 본체
92 손가락 걸이 링
94 슬라이더
96 본체 축
100 내시경용 클립 장치
110 클립
110a 클립 본체
120 완부
121 태폭부
122 기단부
123 세폭부
124 완 본체부
125 보강부
126 클로부
130 계지부
132 공간
134 수용부
136 기부
137 오목부
138 단부 가장자리
139 바닥부
140 돌기부
142 돌편부
150 체결 링
200 클립 카트리지

Claims (10)

  1. 장척의 처치구 본체에 대하여 클립을 연결하기 위하여 이용되는 클립 카트리지로서,
    상기 클립은, 생체 조직을 파지하기 위한 복수의 완부 및 상기 완부의 기단 측에 마련된 계지부를 갖는 클립 본체를 구비하고,
    상기 처치구 본체는, 장척의 시스와, 상기 시스의 내부에 진퇴 이동 가능하게 삽통되어 원위단에 선단 연결부가 마련된 조작 와이어와, 상기 시스의 내부에 수납 가능하며 상기 선단 연결부를 수용하는 통형의 슬리브와, 상기 조작 와이어로부터 상기 슬리브에 전진력 및 후퇴력을 전달하는 전달부를 가지며,
    상기 슬리브는, 탄성적으로 자기 확개 가능한 확경부와, 상기 확경부보다 근위 측에 마련되고 상기 확경부보다 직경 방향의 강성이 높은 통형의 슬리브 본체를 갖고,
    상기 클립 카트리지는,
    상기 클립을 수용하는 제1 수용 영역을 갖는 내부 케이스와,
    상기 처치구 본체가 삽통되는 장척의 삽통 구멍과, 상기 삽통 구멍의 선단에 연통하고 있음과 함께 상기 내부 케이스를 선단 측 및 기단 측으로 이동 가능하게 수용하는 제2 수용 영역을 갖는 외부 케이스를 구비하며,
    상기 삽통 구멍에 상기 처치구 본체가 삽입된 상태로, 상기 조작 와이어가 전방으로 밀어넣어짐으로써, 상기 선단 연결부와 상기 슬리브의 상기 확경부가, 상기 시스로부터 선단 측으로 돌출되어 상기 제2 수용 영역에 있어서의 상기 내부 케이스와 상기 삽통 구멍의 사이의 영역으로 들어감과 함께, 상기 확경부가 탄성적으로 확경되고,
    상기 조작 와이어가 더 전방으로 밀어넣어짐으로써, 상기 선단 연결부가 상기 슬리브에 대하여 상대적으로 전진함으로써 상기 슬리브로부터 선단 측으로 돌출하고, 상기 선단 연결부와 상기 계지부가 연결된 연결 상태가 되며,
    상기 연결 상태에서 상기 조작 와이어가 기단 측으로 견인됨으로써, 상기 내부 케이스가 상기 제2 수용 영역 내에서 상기 외부 케이스에 대하여 상대적으로 후퇴하고, 상기 내부 케이스가 상기 슬리브를 후방으로 압압함으로써 상기 확경부가 축경하면서 상기 시스로 끌어들여지는 클립 카트리지.
  2. 청구항 1에 있어서,
    상기 연결 상태에서 상기 조작 와이어가 기단 측으로 견인됨으로써, 상기 클립이 상기 선단 연결부에 의하여 끌어들여짐으로써 상기 내부 케이스로부터 이탈하여 후퇴하도록 구성되고,
    상기 클립을 상기 내부 케이스로부터 이탈시키는 데에 필요로 하는 힘 F1과,
    상기 슬리브의 상기 확경부를 상기 제2 수용 영역으로부터 상기 시스로 끌어들이는 데에 필요로 하는 힘 F2와,
    상기 내부 케이스를 상기 제2 수용 영역에 있어서 상기 외부 케이스에 대하여 상대적으로 후퇴시키는 데에 필요로 하는 힘 F3이,
    F1>F2>F3을 충족시키는 클립 카트리지.
  3. 청구항 2에 있어서,
    상기 클립은, 상기 복수의 완부가 모아져 삽입된 체결 링을 더 구비하고, 상기 체결 링이 상기 완부에 대하여 상대적으로 상기 완부의 선단 측으로 이동함으로써 상기 복수의 완부의 선단이 서로 닫힌 상태가 되도록 구성되며,
    상기 내부 케이스는, 상기 체결 링을 협지하는 링 협지부를 갖고, 상기 연결 상태에서 상기 조작 와이어가 기단 측으로 견인됨으로써, 상기 링 협지부가 탄성 변형하여 상기 체결 링이 상기 링 협지부로부터 이탈하도록 구성되며,
    상기 힘 F1은, 상기 체결 링을 상기 링 협지부로부터 이탈시킬 때에 필요로 하는 힘인 클립 카트리지.
  4. 청구항 3에 있어서,
    상기 링 협지부는, 상기 체결 링을 감합 상태로 지지하는 링 지지 오목부와, 상기 링 지지 오목부의 기단 측에 인접하고 있는 경사면으로서 기단 측을 향하여 상기 링 협지부의 대향 간격이 좁아지는 방향으로 경사져 있는 경사면을 갖는 클립 카트리지.
  5. 청구항 3 또는 청구항 4에 있어서,
    상기 내부 케이스는,
    내부 케이스 본체와,
    상기 링 협지부를 갖고,
    상기 링 협지부는, 상기 내부 케이스 본체에 의하여 편측 지지식으로 지지된 가동편을 포함하며,
    상기 연결 상태에서 상기 조작 와이어가 기단 측으로 견인될 때에, 상기 가동편이 상기 링 협지부의 대향 간격이 확대되는 방향으로 탄성적으로 변위함으로써, 상기 체결 링이 상기 내부 케이스로부터 이탈하는 클립 카트리지.
  6. 청구항 5에 있어서,
    상기 가동편에 있어서, 상기 외부 케이스의 내면과 대향하는 외면이, 기단 측을 향하여 상기 외부 케이스의 상기 내면으로부터 이간하는 방향으로 경사져 있는 클립 카트리지.
  7. 청구항 1 내지 청구항 6 중 어느 한 항에 있어서,
    상기 내부 케이스는, 상기 슬리브와 상기 선단 연결부 중 상기 슬리브의 전진을 선택적으로 규제하는 전진 규제부를 갖는 클립 카트리지.
  8. 청구항 1 내지 청구항 7 중 어느 한 항에 있어서,
    상기 내부 케이스는, 서로 동일 형상으로 형성된 한 쌍의 내부 케이스 구성 부품을 조합하여 구성되고,
    상기 한 쌍의 내부 케이스 구성 부품은, 서로 대향한 상태로 서로 감합하고 있는 클립 카트리지.
  9. 청구항 1 내지 청구항 8 중 어느 한 항에 있어서,
    상기 외부 케이스는, 서로 동일 형상으로 형성된 한 쌍의 외부 케이스 구성 부품을 조합하여 구성되고,
    상기 한 쌍의 외부 케이스 구성 부품은, 서로 대향한 상태로 서로 감합하고 있는 클립 카트리지.
  10. 청구항 1 내지 청구항 9 중 어느 한 항에 있어서,
    상기 연결 상태에서 상기 조작 와이어가 기단 측으로 견인될 때에, 상기 확경부가 상기 시스로 끌어들여지기 전에, 상기 클립의 상기 계지부 및 상기 선단 연결부가 상기 슬리브의 상기 슬리브 본체의 내부에 수납되는 클립 카트리지.
KR1020187024219A 2016-02-23 2017-02-23 클립 카트리지 Expired - Fee Related KR101975732B1 (ko)

Applications Claiming Priority (3)

Application Number Priority Date Filing Date Title
JPJP-P-2016-032278 2016-02-23
JP2016032278A JP6274233B2 (ja) 2016-02-23 2016-02-23 クリップカートリッジシステム
PCT/JP2017/006792 WO2017146138A1 (ja) 2016-02-23 2017-02-23 クリップカートリッジ

Publications (2)

Publication Number Publication Date
KR20180098682A true KR20180098682A (ko) 2018-09-04
KR101975732B1 KR101975732B1 (ko) 2019-05-07

Family

ID=59685285

Family Applications (1)

Application Number Title Priority Date Filing Date
KR1020187024219A Expired - Fee Related KR101975732B1 (ko) 2016-02-23 2017-02-23 클립 카트리지

Country Status (6)

Country Link
US (1) US10492794B2 (ko)
EP (1) EP3420975B1 (ko)
JP (1) JP6274233B2 (ko)
KR (1) KR101975732B1 (ko)
CN (1) CN108697428B (ko)
WO (1) WO2017146138A1 (ko)

Families Citing this family (64)

* Cited by examiner, † Cited by third party
Publication number Priority date Publication date Assignee Title
US8465502B2 (en) 2008-08-25 2013-06-18 Covidien Lp Surgical clip applier and method of assembly
US9358015B2 (en) 2008-08-29 2016-06-07 Covidien Lp Endoscopic surgical clip applier with wedge plate
US8267944B2 (en) 2008-08-29 2012-09-18 Tyco Healthcare Group Lp Endoscopic surgical clip applier with lock out
US9186136B2 (en) 2009-12-09 2015-11-17 Covidien Lp Surgical clip applier
US8403945B2 (en) 2010-02-25 2013-03-26 Covidien Lp Articulating endoscopic surgical clip applier
US8968337B2 (en) 2010-07-28 2015-03-03 Covidien Lp Articulating clip applier
US20130131697A1 (en) 2011-11-21 2013-05-23 Covidien Lp Surgical clip applier
US9364216B2 (en) 2011-12-29 2016-06-14 Covidien Lp Surgical clip applier with integrated clip counter
US9408610B2 (en) 2012-05-04 2016-08-09 Covidien Lp Surgical clip applier with dissector
US9532787B2 (en) 2012-05-31 2017-01-03 Covidien Lp Endoscopic clip applier
US9113892B2 (en) 2013-01-08 2015-08-25 Covidien Lp Surgical clip applier
US9775624B2 (en) 2013-08-27 2017-10-03 Covidien Lp Surgical clip applier
US9931124B2 (en) 2015-01-07 2018-04-03 Covidien Lp Reposable clip applier
US10368876B2 (en) 2015-01-15 2019-08-06 Covidien Lp Endoscopic reposable surgical clip applier
US10292712B2 (en) 2015-01-28 2019-05-21 Covidien Lp Surgical clip applier with integrated cutter
US10159491B2 (en) 2015-03-10 2018-12-25 Covidien Lp Endoscopic reposable surgical clip applier
CA2997936A1 (en) 2015-10-10 2017-04-13 Covidien Lp Endoscopic surgical clip applier
US10702279B2 (en) 2015-11-03 2020-07-07 Covidien Lp Endoscopic surgical clip applier
CN108348261B (zh) 2015-11-10 2021-03-16 柯惠有限合伙公司 可重复使用的内窥镜外科手术施夹器
CA2999906A1 (en) 2015-11-10 2017-05-18 Covidien Lp Endoscopic reposable surgical clip applier
US10390831B2 (en) 2015-11-10 2019-08-27 Covidien Lp Endoscopic reposable surgical clip applier
WO2017120734A1 (en) 2016-01-11 2017-07-20 Covidien Lp Endoscopic reposable surgical clip applier
WO2017124217A1 (en) 2016-01-18 2017-07-27 Covidien Lp Endoscopic surgical clip applier
CA2958160A1 (en) 2016-02-24 2017-08-24 Covidien Lp Endoscopic reposable surgical clip applier
EP3496628A4 (en) 2016-08-11 2020-04-22 Covidien LP APPLICATOR FOR ENDOSCOPIC SURGICAL CLAMP AND CLAMP APPLICATION SYSTEMS
US10660651B2 (en) 2016-10-31 2020-05-26 Covidien Lp Endoscopic reposable surgical clip applier
US10639044B2 (en) 2016-10-31 2020-05-05 Covidien Lp Ligation clip module and clip applier
US11259815B2 (en) * 2017-05-04 2022-03-01 Hangzhou Ags Medtech Co., Ltd. End effector instrument, end effector device, delivery device, and assembly box
US10932790B2 (en) 2017-08-08 2021-03-02 Covidien Lp Geared actuation mechanism and surgical clip applier including the same
US10863992B2 (en) 2017-08-08 2020-12-15 Covidien Lp Endoscopic surgical clip applier
US10786262B2 (en) 2017-08-09 2020-09-29 Covidien Lp Endoscopic reposable surgical clip applier
US10786263B2 (en) 2017-08-15 2020-09-29 Covidien Lp Endoscopic reposable surgical clip applier
US10835341B2 (en) 2017-09-12 2020-11-17 Covidien Lp Endoscopic surgical clip applier and handle assemblies for use therewith
US10945734B2 (en) 2017-11-03 2021-03-16 Covidien Lp Rotation knob assemblies and surgical instruments including the same
US11116513B2 (en) * 2017-11-03 2021-09-14 Covidien Lp Modular surgical clip cartridge
US11376015B2 (en) 2017-11-03 2022-07-05 Covidien Lp Endoscopic surgical clip applier and handle assemblies for use therewith
US10743887B2 (en) 2017-12-13 2020-08-18 Covidien Lp Reposable multi-fire surgical clip applier
US10849630B2 (en) 2017-12-13 2020-12-01 Covidien Lp Reposable multi-fire surgical clip applier
US11051827B2 (en) 2018-01-16 2021-07-06 Covidien Lp Endoscopic surgical instrument and handle assemblies for use therewith
US10993721B2 (en) 2018-04-25 2021-05-04 Covidien Lp Surgical clip applier
US10786273B2 (en) 2018-07-13 2020-09-29 Covidien Lp Rotation knob assemblies for handle assemblies
US11259887B2 (en) 2018-08-10 2022-03-01 Covidien Lp Feedback mechanisms for handle assemblies
US11253267B2 (en) 2018-08-13 2022-02-22 Covidien Lp Friction reduction mechanisms for handle assemblies
US11033256B2 (en) 2018-08-13 2021-06-15 Covidien Lp Linkage assembly for reusable surgical handle assemblies
US11278267B2 (en) 2018-08-13 2022-03-22 Covidien Lp Latch assemblies and surgical instruments including the same
US11051828B2 (en) 2018-08-13 2021-07-06 Covidien Lp Rotation knob assemblies and surgical instruments including same
US11147566B2 (en) 2018-10-01 2021-10-19 Covidien Lp Endoscopic surgical clip applier
JP7175327B2 (ja) * 2018-10-24 2022-11-18 オリンパス株式会社 処置具
WO2020121401A1 (ja) * 2018-12-11 2020-06-18 オリンパス株式会社 カートリッジ、クリップシステムおよび係合方法
WO2020121394A1 (ja) * 2018-12-11 2020-06-18 オリンパス株式会社 医療機器
WO2020157855A1 (ja) * 2019-01-30 2020-08-06 オリンパス株式会社 クリップカートリッジ、医療機器、および医療機器の装着方法
WO2020159273A1 (ko) * 2019-02-01 2020-08-06 (주)태웅메디칼 카트리지 및 이를 갖는 내시경용 처치구 장치
US11524398B2 (en) 2019-03-19 2022-12-13 Covidien Lp Gear drive mechanisms for surgical instruments
JP7633941B2 (ja) * 2019-11-19 2025-02-20 株式会社カネカ 内視鏡用クリップシステム
US11779340B2 (en) 2020-01-02 2023-10-10 Covidien Lp Ligation clip loading device
US11723669B2 (en) 2020-01-08 2023-08-15 Covidien Lp Clip applier with clip cartridge interface
WO2021171407A1 (ja) * 2020-02-26 2021-09-02 オリンパス株式会社 カートリッジシステム
US12114866B2 (en) 2020-03-26 2024-10-15 Covidien Lp Interoperative clip loading device
JP7631748B2 (ja) * 2020-11-12 2025-02-19 住友ベークライト株式会社 カートリッジ及びクリップカートリッジシステム
JP7548810B2 (ja) * 2020-12-23 2024-09-10 株式会社カネカ クリップカートリッジ、クリップと線状物の連結方法
JP7569681B2 (ja) * 2020-12-25 2024-10-18 株式会社カネカ クリップカートリッジ
JP7557361B2 (ja) * 2020-12-25 2024-09-27 株式会社カネカ クリップカートリッジ
US11937828B2 (en) * 2021-01-26 2024-03-26 Olympus Medical Systems Corp. Endoscope treatment device
US12419648B2 (en) 2022-09-26 2025-09-23 Covidien Lp Two-part fasteners for surgical clip appliers and surgical clip appliers for deploying the same

Citations (5)

* Cited by examiner, † Cited by third party
Publication number Priority date Publication date Assignee Title
JP2004121485A (ja) 2002-10-01 2004-04-22 Olympus Corp 生体組織の結紮装置
WO2006068242A1 (ja) * 2004-12-24 2006-06-29 Olympus Corporation 結紮装置
JP2009011769A (ja) * 2007-07-02 2009-01-22 River Seiko:Kk 内視鏡用クリップ取付具
JP2009125547A (ja) * 2007-11-28 2009-06-11 Sumitomo Bakelite Co Ltd 体外回収部品離脱用カートリッジ及び両用カートリッジ
WO2013067974A1 (zh) * 2011-11-11 2013-05-16 Zhu Jian 一种活组织结扎装置

Family Cites Families (19)

* Cited by examiner, † Cited by third party
Publication number Priority date Publication date Assignee Title
EP2455013B1 (en) 2002-08-21 2021-12-08 Olympus Corporation Clip unit case for ligating device for biological tissue
CN100475165C (zh) 2004-12-07 2009-04-08 奥林巴斯株式会社 用于内窥镜的处理装置系统和包括处理装置的壳
CN101087564B (zh) * 2004-12-24 2010-06-02 奥林巴斯株式会社 结扎装置
JP4591433B2 (ja) * 2006-10-11 2010-12-01 住友ベークライト株式会社 クリップ装置
EP2335610A3 (en) * 2008-03-06 2011-12-21 Fujifilm Corporation Magazine type clipping device
JP5233401B2 (ja) * 2008-05-15 2013-07-10 住友ベークライト株式会社 クリップ
CA2725776A1 (en) * 2008-06-19 2009-12-23 Boston Scientific Scimed, Inc. Hemostatic clipping devices and methods
US8398041B2 (en) * 2009-07-30 2013-03-19 Kimberly-Clark Worldwide, Inc. Mounting bracket and wall mountable material dispensing system
JP3159939U (ja) * 2010-03-26 2010-06-03 日本ゼオン株式会社 医療用クリップカートリッジ
JP5588711B2 (ja) 2010-03-30 2014-09-10 富士フイルム株式会社 結紮装置
US20110312651A1 (en) * 2010-06-17 2011-12-22 Geneasys Pty Ltd Microfluidic device with low mass probe spots
EP2603150B1 (en) * 2010-08-10 2016-05-04 Cook Medical Technologies LLC Clip devices and methods of delivery and deployment
CN102727276B (zh) * 2012-07-05 2014-04-23 安瑞医疗器械(杭州)有限公司 一种组织止血夹持装置
WO2014013860A1 (ja) * 2012-07-20 2014-01-23 オリンパスメディカルシステムズ株式会社 止血クリップ
JP2015043858A (ja) * 2013-08-28 2015-03-12 住友ベークライト株式会社 クリップカートリッジおよびクリップ装置
JP6284009B2 (ja) * 2014-02-10 2018-02-28 住友ベークライト株式会社 内視鏡用クリップ装置、内視鏡用クリップ装置キットおよびクリップ
JP6244975B2 (ja) * 2014-02-25 2017-12-13 住友ベークライト株式会社 内視鏡用クリップ装置および内視鏡用クリップ装置キット
WO2015151629A1 (ja) * 2014-03-31 2015-10-08 日本ゼオン株式会社 内視鏡用処置具
US10335159B2 (en) * 2015-07-20 2019-07-02 Boston Scientific Scimed, Inc. Reloadable mechanical device for ligating living tissue and achieving hemostasis

Patent Citations (7)

* Cited by examiner, † Cited by third party
Publication number Priority date Publication date Assignee Title
JP2004121485A (ja) 2002-10-01 2004-04-22 Olympus Corp 生体組織の結紮装置
WO2006068242A1 (ja) * 2004-12-24 2006-06-29 Olympus Corporation 結紮装置
JP2009011769A (ja) * 2007-07-02 2009-01-22 River Seiko:Kk 内視鏡用クリップ取付具
JP2009125547A (ja) * 2007-11-28 2009-06-11 Sumitomo Bakelite Co Ltd 体外回収部品離脱用カートリッジ及び両用カートリッジ
WO2013067974A1 (zh) * 2011-11-11 2013-05-16 Zhu Jian 一种活组织结扎装置
EP2777549A1 (en) * 2011-11-11 2014-09-17 Jian Zhu Clamping and ligating device
KR101554443B1 (ko) * 2011-11-11 2015-09-18 지안 주 클램핑 결찰 장치

Also Published As

Publication number Publication date
WO2017146138A1 (ja) 2017-08-31
EP3420975A4 (en) 2019-03-27
CN108697428A (zh) 2018-10-23
EP3420975B1 (en) 2020-05-13
US10492794B2 (en) 2019-12-03
CN108697428B (zh) 2021-07-23
JP2017148182A (ja) 2017-08-31
KR101975732B1 (ko) 2019-05-07
US20190046205A1 (en) 2019-02-14
EP3420975A1 (en) 2019-01-02
JP6274233B2 (ja) 2018-02-07

Similar Documents

Publication Publication Date Title
KR101975732B1 (ko) 클립 카트리지
CN107405046B (zh) 内窥镜用夹具装置及夹具
US12089852B2 (en) Endoscope clip and operation method for clip arm
JP6284009B2 (ja) 内視鏡用クリップ装置、内視鏡用クリップ装置キットおよびクリップ
CN114469238B (zh) 内窥镜夹具
CN105208949A (zh) 医疗设备把手以及相关的使用方法
JP6447315B2 (ja) 内視鏡用クリップ装置およびクリップ
WO2012039163A1 (ja) 結紮装置及びこれに用いるクリップユニット
CN108289687B (zh) 连接件、医疗用夹具装置及医疗用夹具装置的制造方法
JP6402671B2 (ja) 内視鏡用クリップ装置
JP6244975B2 (ja) 内視鏡用クリップ装置および内視鏡用クリップ装置キット
JP7303217B2 (ja) 結紮装置、およびアプリケータ
US12226106B2 (en) Applicator, medical apparatus, and operation method of medical apparatus
JP2016193004A (ja) クリップおよび内視鏡用処置具
JP2008113673A (ja) クリップ装置
JP2024128558A (ja) クリップカートリッジ、及び、クリップカートリッジシステム
JP7631748B2 (ja) カートリッジ及びクリップカートリッジシステム
JP2024128559A (ja) クリップカートリッジ、及び、クリップカートリッジシステム
JP2025016994A (ja) 内視鏡用クリップ装置
JP2024138999A (ja) 内視鏡用クリップ装置、及び、クリップセット
JP2022106471A (ja) 内視鏡用クリップ装置
JP2010081963A (ja) クリップ処置具用操作ハンドルおよび連発式クリップ処置具

Legal Events

Date Code Title Description
A201 Request for examination
A302 Request for accelerated examination
P11-X000 Amendment of application requested

St.27 status event code: A-2-2-P10-P11-nap-X000

P13-X000 Application amended

St.27 status event code: A-2-2-P10-P13-nap-X000

PA0105 International application

St.27 status event code: A-0-1-A10-A15-nap-PA0105

PA0201 Request for examination

St.27 status event code: A-1-2-D10-D11-exm-PA0201

PA0302 Request for accelerated examination

St.27 status event code: A-1-2-D10-D17-exm-PA0302

St.27 status event code: A-1-2-D10-D16-exm-PA0302

PG1501 Laying open of application

St.27 status event code: A-1-1-Q10-Q12-nap-PG1501

E902 Notification of reason for refusal
PE0902 Notice of grounds for rejection

St.27 status event code: A-1-2-D10-D21-exm-PE0902

P11-X000 Amendment of application requested

St.27 status event code: A-2-2-P10-P11-nap-X000

P13-X000 Application amended

St.27 status event code: A-2-2-P10-P13-nap-X000

E701 Decision to grant or registration of patent right
PE0701 Decision of registration

St.27 status event code: A-1-2-D10-D22-exm-PE0701

GRNT Written decision to grant
PR0701 Registration of establishment

St.27 status event code: A-2-4-F10-F11-exm-PR0701

PR1002 Payment of registration fee

St.27 status event code: A-2-2-U10-U12-oth-PR1002

Fee payment year number: 1

PG1601 Publication of registration

St.27 status event code: A-4-4-Q10-Q13-nap-PG1601

PC1903 Unpaid annual fee

St.27 status event code: A-4-4-U10-U13-oth-PC1903

Not in force date: 20220430

Payment event data comment text: Termination Category : DEFAULT_OF_REGISTRATION_FEE

PC1903 Unpaid annual fee

St.27 status event code: N-4-6-H10-H13-oth-PC1903

Ip right cessation event data comment text: Termination Category : DEFAULT_OF_REGISTRATION_FEE

Not in force date: 20220430