JP7591304B2 - 多軸内部空隙拡張部を備えた導光光学要素 - Google Patents

多軸内部空隙拡張部を備えた導光光学要素 Download PDF

Info

Publication number
JP7591304B2
JP7591304B2 JP2023043409A JP2023043409A JP7591304B2 JP 7591304 B2 JP7591304 B2 JP 7591304B2 JP 2023043409 A JP2023043409 A JP 2023043409A JP 2023043409 A JP2023043409 A JP 2023043409A JP 7591304 B2 JP7591304 B2 JP 7591304B2
Authority
JP
Japan
Prior art keywords
light guide
image
facets
loe
light
Prior art date
Legal status (The legal status is an assumption and is not a legal conclusion. Google has not performed a legal analysis and makes no representation as to the accuracy of the status listed.)
Active
Application number
JP2023043409A
Other languages
English (en)
Other versions
JP2023088969A (ja
Inventor
ダンジガー,ヨチャイ
アクセル シャルリン,エラッド
Current Assignee (The listed assignees may be inaccurate. Google has not performed a legal analysis and makes no representation or warranty as to the accuracy of the list.)
Lumus Ltd
Original Assignee
Lumus Ltd
Priority date (The priority date is an assumption and is not a legal conclusion. Google has not performed a legal analysis and makes no representation as to the accuracy of the date listed.)
Filing date
Publication date
Application filed by Lumus Ltd filed Critical Lumus Ltd
Publication of JP2023088969A publication Critical patent/JP2023088969A/ja
Application granted granted Critical
Publication of JP7591304B2 publication Critical patent/JP7591304B2/ja
Active legal-status Critical Current
Anticipated expiration legal-status Critical

Links

Images

Classifications

    • GPHYSICS
    • G02OPTICS
    • G02BOPTICAL ELEMENTS, SYSTEMS OR APPARATUS
    • G02B27/00Optical systems or apparatus not provided for by any of the groups G02B1/00 - G02B26/00, G02B30/00
    • G02B27/0081Optical systems or apparatus not provided for by any of the groups G02B1/00 - G02B26/00, G02B30/00 with means for altering, e.g. enlarging, the entrance or exit pupil
    • GPHYSICS
    • G02OPTICS
    • G02BOPTICAL ELEMENTS, SYSTEMS OR APPARATUS
    • G02B27/00Optical systems or apparatus not provided for by any of the groups G02B1/00 - G02B26/00, G02B30/00
    • G02B27/0025Optical systems or apparatus not provided for by any of the groups G02B1/00 - G02B26/00, G02B30/00 for optical correction, e.g. distorsion, aberration
    • G02B27/005Optical systems or apparatus not provided for by any of the groups G02B1/00 - G02B26/00, G02B30/00 for optical correction, e.g. distorsion, aberration for correction of secondary colour or higher-order chromatic aberrations
    • G02B27/0056Optical systems or apparatus not provided for by any of the groups G02B1/00 - G02B26/00, G02B30/00 for optical correction, e.g. distorsion, aberration for correction of secondary colour or higher-order chromatic aberrations by using a diffractive optical element
    • GPHYSICS
    • G02OPTICS
    • G02BOPTICAL ELEMENTS, SYSTEMS OR APPARATUS
    • G02B27/00Optical systems or apparatus not provided for by any of the groups G02B1/00 - G02B26/00, G02B30/00
    • G02B27/01Head-up displays
    • GPHYSICS
    • G02OPTICS
    • G02BOPTICAL ELEMENTS, SYSTEMS OR APPARATUS
    • G02B27/00Optical systems or apparatus not provided for by any of the groups G02B1/00 - G02B26/00, G02B30/00
    • G02B27/01Head-up displays
    • G02B27/017Head mounted
    • G02B27/0172Head mounted characterised by optical features
    • GPHYSICS
    • G02OPTICS
    • G02BOPTICAL ELEMENTS, SYSTEMS OR APPARATUS
    • G02B27/00Optical systems or apparatus not provided for by any of the groups G02B1/00 - G02B26/00, G02B30/00
    • G02B27/28Optical systems or apparatus not provided for by any of the groups G02B1/00 - G02B26/00, G02B30/00 for polarising
    • G02B27/283Optical systems or apparatus not provided for by any of the groups G02B1/00 - G02B26/00, G02B30/00 for polarising used for beam splitting or combining
    • GPHYSICS
    • G02OPTICS
    • G02BOPTICAL ELEMENTS, SYSTEMS OR APPARATUS
    • G02B6/00Light guides; Structural details of arrangements comprising light guides and other optical elements, e.g. couplings
    • G02B6/0001Light guides; Structural details of arrangements comprising light guides and other optical elements, e.g. couplings specially adapted for lighting devices or systems
    • G02B6/0011Light guides; Structural details of arrangements comprising light guides and other optical elements, e.g. couplings specially adapted for lighting devices or systems the light guides being planar or of plate-like form
    • G02B6/0013Means for improving the coupling-in of light from the light source into the light guide
    • G02B6/0015Means for improving the coupling-in of light from the light source into the light guide provided on the surface of the light guide or in the bulk of it
    • G02B6/0016Grooves, prisms, gratings, scattering particles or rough surfaces
    • GPHYSICS
    • G02OPTICS
    • G02BOPTICAL ELEMENTS, SYSTEMS OR APPARATUS
    • G02B6/00Light guides; Structural details of arrangements comprising light guides and other optical elements, e.g. couplings
    • G02B6/0001Light guides; Structural details of arrangements comprising light guides and other optical elements, e.g. couplings specially adapted for lighting devices or systems
    • G02B6/0011Light guides; Structural details of arrangements comprising light guides and other optical elements, e.g. couplings specially adapted for lighting devices or systems the light guides being planar or of plate-like form
    • G02B6/0013Means for improving the coupling-in of light from the light source into the light guide
    • G02B6/0015Means for improving the coupling-in of light from the light source into the light guide provided on the surface of the light guide or in the bulk of it
    • G02B6/002Means for improving the coupling-in of light from the light source into the light guide provided on the surface of the light guide or in the bulk of it by shaping at least a portion of the light guide, e.g. with collimating, focussing or diverging surfaces
    • GPHYSICS
    • G02OPTICS
    • G02BOPTICAL ELEMENTS, SYSTEMS OR APPARATUS
    • G02B6/00Light guides; Structural details of arrangements comprising light guides and other optical elements, e.g. couplings
    • G02B6/0001Light guides; Structural details of arrangements comprising light guides and other optical elements, e.g. couplings specially adapted for lighting devices or systems
    • G02B6/0011Light guides; Structural details of arrangements comprising light guides and other optical elements, e.g. couplings specially adapted for lighting devices or systems the light guides being planar or of plate-like form
    • G02B6/0013Means for improving the coupling-in of light from the light source into the light guide
    • G02B6/0023Means for improving the coupling-in of light from the light source into the light guide provided by one optical element, or plurality thereof, placed between the light guide and the light source, or around the light source
    • G02B6/0031Reflecting element, sheet or layer
    • GPHYSICS
    • G02OPTICS
    • G02BOPTICAL ELEMENTS, SYSTEMS OR APPARATUS
    • G02B6/00Light guides; Structural details of arrangements comprising light guides and other optical elements, e.g. couplings
    • G02B6/10Light guides; Structural details of arrangements comprising light guides and other optical elements, e.g. couplings of the optical waveguide type
    • GPHYSICS
    • G02OPTICS
    • G02FOPTICAL DEVICES OR ARRANGEMENTS FOR THE CONTROL OF LIGHT BY MODIFICATION OF THE OPTICAL PROPERTIES OF THE MEDIA OF THE ELEMENTS INVOLVED THEREIN; NON-LINEAR OPTICS; FREQUENCY-CHANGING OF LIGHT; OPTICAL LOGIC ELEMENTS; OPTICAL ANALOGUE/DIGITAL CONVERTERS
    • G02F1/00Devices or arrangements for the control of the intensity, colour, phase, polarisation or direction of light arriving from an independent light source, e.g. switching, gating or modulating; Non-linear optics
    • G02F1/29Devices or arrangements for the control of the intensity, colour, phase, polarisation or direction of light arriving from an independent light source, e.g. switching, gating or modulating; Non-linear optics for the control of the position or the direction of light beams, i.e. deflection
    • G02F1/295Analog deflection from or in an optical waveguide structure]
    • GPHYSICS
    • G02OPTICS
    • G02BOPTICAL ELEMENTS, SYSTEMS OR APPARATUS
    • G02B27/00Optical systems or apparatus not provided for by any of the groups G02B1/00 - G02B26/00, G02B30/00
    • G02B27/01Head-up displays
    • G02B27/0101Head-up displays characterised by optical features
    • G02B2027/0123Head-up displays characterised by optical features comprising devices increasing the field of view
    • G02B2027/0125Field-of-view increase by wavefront division

Landscapes

  • Physics & Mathematics (AREA)
  • General Physics & Mathematics (AREA)
  • Optics & Photonics (AREA)
  • Nonlinear Science (AREA)
  • Light Guides In General And Applications Therefor (AREA)
  • Optical Couplings Of Light Guides (AREA)
  • Optical Integrated Circuits (AREA)
  • Planar Illumination Modules (AREA)
  • Optical Elements Other Than Lenses (AREA)

Description

本発明は、一般的に光学的空隙拡張部に関する。
拡張された現実のためのニアアイディスプレイは、小さな空隙と導光体を有するプロジェクターに基づいており、当該プロジェクターは、この小さな空隙を増加し(拡張し)、所望の射出瞳(eye-box)を照明するためにより大きな空隙を投影する。投影している空隙が広いと、拡張は一次元に存在する。(例えば二次元の(2D)導光体中で)投影する空隙が小さいと、導光体の拡張は二次元に存在する。
本発明の特定の実施形態は、導光光学要素を備えた少なくとも二次元の内部空隙拡張部を提供する。したがって、本発明の実施形態によれば、光学装置が提供され、前記光学装置は、
(a)導光体を含み、当該導光体は、(i)互いに平行な第1の対の外部表面、および(ii)少なくも2つのセットの切子面を有し、当該切子面のセットの各々は(A)互いに平行な複数の部分的に反射する切子面を含み、当該切子面のセットの各々は(B)前記第1の対の外表面の間にあり、
(b)前記切子面のセットの各々において、それぞれの切子面は、(i)前記第1の対の外表面に対して斜角であり、(ii)切子面の他のセットに対して非平行である、光学装置である。
本発明の実施形態の更なる特徴によれば、導光体は、切子面の正確に2つのセットを含んでいる。
本発明の実施形態の更なる特徴によれば、導光体は、切子面の正確に3つのセットを含んでいる。
本発明の実施形態の更なる特徴によれば、切子面のセットの少なくとも第1のセットは、切子面の第1のセットのそれぞれの配置領域に亘って見る方向で見られるように連続的な可視範囲を提供する。したがって、見る方向の光の少なくとも一部は、導光体内の切子面の少なくとも2つのセットのうちの少なくとも1つの切子面を通り抜ける。
本発明の実施形態の更なる特徴によれば、切子面のセットの各々は、可視範囲の領域に広がっており、広がりは、切子面のセットの各々が配置される領域にわたり、切子面のセットのうちの2つの可視範囲の領域は、少なくとも部分的に重なり合っている。
本発明の実施形態の更なる特徴によれば、導光体は、一部位の構成の導光体であって、
(a)切子面のセットの第1のセット、および
(b)切子面のセットの第2のセット、を含み、前記第1及び第2のセットは、導光体の厚さ寸法の同じ面で重なり合い、厚さの次元は前記第一の対の外表面間である。
本発明の実施形態の更なる特徴によれば、
(a)導光体は、前記第1の対の外表面間の厚さの次元を持っており、
(b)切子面のセットの第1の切子面は厚さの次元を超えて伸び、第1の深さから第2の深さまでの第1の深さ帯を広げ、
(c)切子面のセットの第2の切子面は厚さの次元を超えて伸び、第3の深さから第4の深さまで第2の深さ帯に広げる。
本発明の実施形態の更なる特徴によれば、第1の深さ帯と第2の深さ帯は、重なり合う深さに広がる。
本発明の実施形態の更なる特徴によれば、第1の深さ帯と第2の深さ帯は、同じ深さの範囲に広がる。
本発明の実施形態の更なる特徴によれば、第1の深さ帯と第2の深さ帯は重なり合わない。
本発明の実施形態の更なる特徴によれば、切子面の部分は、第1の対の外表面、すなわち切子面のセットの少なくとも1つを含む部分と平行、或いは一致する表面の境界の対によって境界づけされている。
本発明の実施形態の更なる特徴によれば、導光体は、切子面の部位の第一の部位を含む単一部位構成の導光体であって、前記第1の部位は切子面のセットの2つを含む。
本発明の実施形態の更なる特徴によれば、導光体は2部位の構成の導光体であって、
(a)表面の第1の境界対を有する切子面の部位の第一部位と、
(b)表面の第2の境界対を有する切子面の部分の第二部位と、を含んでおり、
表面の第1の境界対の1つの表面は、表面の第2の境界対の1つの表面と隣接し、表面の第1及び第2の境界対は平行である。
本発明の実施形態の更なる特徴によれば、導光体は、第3の境界対を有する切子面の部位の第3の部位を更に含む3つの部位構成の導光体であって、前記第3部は表面の第3の境界対を有し、表面の第3境界対の1つの表面は、表面の第1の境界ペア対或いは表面の第2の境界対のいずれかの1つの表面と隣接し、表面の第3境界対は表面の第1及び第2境界対と平行である。
本発明の実施形態の更なる特徴によれば、導光体は、
(a)表面の第1の境界対を有する切子面の部位の第一部位と、
(b)表面の第2の境界対を有する切子面の部位の第二部位と、を含んでおり、
(c)表面の第1及び第2の境界対は平行であり、
(d)前記導光体は更に少なくとも1つの界面を含み、当該少なくとも1つの界面は、各々の界面が、(i)2つの部位の間に少なくとも部分的に存在し、(ii)外表面の前記一対と平行であり、
(e)前記界面が、(i)部分的に反射する表面、(ii)部分的に反射する光学的コーティング、(iii)前記部位のうちの1つの材料から、前記部位の他の1つの他の材料までの遷移部、
(iv)修正偏光コーティング、及び(v)柔軟な中間層、からなる群から選択される少なくとも1つである。
本発明の実施形態の更なる特徴によれば、切子面のセットの第2は導光体からの光の外方結合を行なうように構成され、一定の数の切子面を有する第2のセットは、外表面の第1の対のうちの1つを介して導光体の外方結合する光の観察の名目上の点に向かう視線で重なり合う。
本発明の実施形態の更なる特徴によれば、つぎのものが提供される。すなわち、
(a)光を導光体内に導くように構成された内方結合構成が提供され、その結果、光は、第1のインプレーン要素により伝播方向で導光体に沿って外表面の第1の対の内部反射を介して伝播してなる、内方結合構成と、
(b)切子面の部位のおのおのにおいて、個々の切子面は配向されて、導光体の内部反射によって導かれた光の一部をそらし、第1のインプレーン要素と非平行の第2のインプレーン要素によって伝播方向で導光体に沿って伝播する。
本発明の実施形態の更なる特徴によれば、内方結合構成は第2の導光体であって、
(a)互い平行な外表面の第2の対、および
(b)切子面のセット、を含んでいる。
本発明の実施形態の更なる特徴によれば、切子面のセットの少なくとも1つで、部分的に反射する切子面のおのおのの間の離間が、切子面のセットの1つによって反射される像の視野内で、二重の反射伝播の工程が導光体に沿って生じる距離が、離間の正確な倍数と一致しないように構成される。
本発明の実施形態の更なる特徴によれば、切子面の少なくとも2つのセットの第1のセットの部分的に反射する切子面の第1の角度は、切子面の少なくとも2つのセットの第2のセットの部分的に反射する切子面の第2の角度と異なり、その角度は、外表面の第1の対に対する角度である。
本発明の実施形態の更なる特徴によれば、切子面の少なくとも2つのセットの第1のセットの部分的に反射する切子面の第1の角度は、切子面の少なくとも2つのセットの第2のセットの部分的に反射する切子面の第2の角度と実質的に同一であり、角度は、外表面の第1の対に対する角度であり、第1のセットは第2のセットに対して回転する。
本発明の実施形態の更なる特徴によれば、つぎのものが提供される。すなわち、
(a)導光体に入力照明を提供する光源、および
(b)前記入力照明から導光体によって生成された伝播光を反射する像変調器、が提供され、前記反射することが導光体を通過する反射像光を生成する。
さらに、本発明の実施形態の教示にしたがって、光学装置を製造する方法が提供され、
前記光学装置は導光体を含み、当該導光体は、(i)外表面の第1の対の間の切子面の少なくとも2つのセットと、(ii)互いに平行な外表面と、(iii)互いに平行な複数の部分的に反射する切子面を含む切子面のセットの各々とを有し、切子面のセットの各々において、個々の切子面は、外表面の第1の対に対して斜角で存在し、切子面のセットの他のものに対して非平行であり、前記方法は、
(a)部分的に反射する切子面の第1のアレイを提供する工程、
(b)部分的に反射する切子面の第2のアレイを提供する工程、及び
(c)第1のアレイと第2のアレイを光学的に付ける工程であって、その結果、第1のアレイの切子面と第2のアレイの切子面が、外表面の第1の対に対して斜角で存在し、互いに非平行である工程を含む。
本発明の実施形態の更なる特徴によれば、光学的につける工程は、第1及び第2のアレイの間で流れ得る接着剤で第1及び第2のアレイをともに押圧することにより行なわれる。
本発明の実施形態の更なる特徴によれば、第1のアレイの部分的に反射する切子面の第1の角度は、第2のアレイの部分的に反射する切子面の第2の角度と異なり、その角度は、アレイのそれぞれの外表面に対する角度である。
本発明の実施形態の更なる特徴によれば、第1のアレイの部分的に反射する切子面の第1の角度は、第2のアレイの部分的に反射する切子面の第2の角度と実質的に同一であり、その角度は、アレイのそれぞれの外表面に対する角度であり、第1のアレイは、当該アレイを光学的に付ける前に、第2のアレイに対して回転する。
さらに、本発明の実施形態の教示にしたがって、光学的装置を製造する方法が提供され、
前記光学装置は導光体を含み、当該導光体は、(i)外表面の第1の対の間の切子面の少なくとも2つのセットと、(ii)互いに平行な外表面と、(iii)互いに平行な複数の部分的に反射する切子面を含む切子面のセットの各々と融資、切子面のセットの各々において、個々の切子面は、外表面の第1の対に対して斜角で存在し、切子面のセットの他のものに対して非平行であり、
前記方法は、
(a)部分的に反射表面を有する複数の透明な平坦な窓を提供する工程、
(b)第1のスタックを生成する前記窓を光学的に付ける工程、
(c)複数の第1の平坦なアレイを生成する前記第1のスタックを薄く切る工程であって、前記薄く切る工程が複数の窓を横切り、前記第1のスタックの対向側面の少なくとも2つに対して斜角である、薄切り工程、
(d)アレイスタックを生成する複数の第1の平坦なアレイをともに光学的に付ける工程、および
(e)少なくとも1つの導光体を生成するアレイスタックを薄く切る工程であって、前記薄く切る工程が、前記薄く切る工程が複数の平坦なアレイを横切り、前記アレイスタックの対向側面の少なくとも2つに対して斜角で、薄く切る、薄切り工程、
を含んでなる方法。
本発明の実施形態の更なる特徴によれば、第1の水平なアレイは、前記アレイスタックを生成するために光学的に取り付けられる前に研磨され被覆される。
また、本発明の実施形態の教示にしたがって、前述の光学装置に入力される光としての像を提供することにより、二次元で光学的空隙を拡張する方法が提供される。
実施形態は、添付図面に関して、あくまでも一例として、本明細書に記載される。
図1は、導光体の光線拡張の効果を示すハイレベルの概略のスケッチが示され、当該導光体は、部分的に反射する内部切子面の二つの重なり合うセットを有している。 図2は、導光体の典型的な構成の概略スケッチが示される。 図3は、導光体において伝播する光の側面図の概略スケッチが示される。 図4は、異なる反射比率の振幅を持っている様々なコーティングの反射率に関する反射率体角度のグラフが示される。 図5は、導光体の幾何学的な光学特性が角度空間で例証される。 図6は、導光体の切子面の角度空間配向が示される。 図7は、切子面の第2のセットの幾何学的な光学特性が示される。 図8は、切子面とコーティングのマージンの代替的実施例の角度空間図が示される。 図9は、導光体の他の実施形態が示され、第1の部位と第2の部位が導光体の厚さ方向の次元で重なり合って、交差する切子面を持っている単一型の導光体を生成する。 図10は、二部型の導光体を製造する方法が示される。 図11は、単一型の導光体を製造する典型的な方法が示される。 図12Aは、側部からの照明である。 図12Bは上側部からの照明を示し、この配置は、側部周辺視野のオブスキュレーションを減少する。 図12Cは、(二つの導光体間の)中芯からの照明を示し、大きさと重量を低減するためにプロジェクターのハードウェア(右と左)が組み合わせることができる。 図12Dは、略完全な辺縁の非オブスキュレーションの視野を可能にする上部の照明を示す。 図12Eは、目の配向より下の角度での照明を示す。 図13は、上記構成の変形例が示される。 図14Aは、図13の構成を使用する導光体の構成の概略のスケッチが示される。 図14Bは、図13の構成を使用する導光体の構成の概略のスケッチが示される。 図15は、導光体内の光の伝播の概略のスケッチが示される。 図16Aは、高い角度の入射光線を反射するように設計された切子面コーティングの反射率(反射プロファイル)のグラフである。 図16Bは、本件のアプローチの例の角度の構成を示す。 図17は、倒立像の光の伝播の概略のスケッチを示す。 図18Aは、導光体173において光線が伝播するときの反射の方向の概略のスケッチである。 図18Bは、組み合わされた導光体173の正面図の概略のスケッチであり、3つの切子面の部位が組み合わされている。 図18Cは、3つの切子面の部位の他の構成における導光体173で光線が伝播するときの反射の方向の概略のスケッチである。 図19Aは、導光体に光を導入する代替的な方向の角度の図が示される。 図19Bは、図19Aの角度の図を使用する導光体の概略図が示される。 図19Cは、本件の導光体での光線伝播図が示される。 図20は、像の反対側に切子面を持つ他の実施形態の角度の図が示される。 図21は、ハイブリッドシステムが示され、屈折した切子面が回折の回折格子と組み合わされている。 図22Aは、部分的に反射するコーティングによって分離された部位が示される。 図22Bは、代替の、より小さい、光学構造が示される。 図22Cは、部分的な反射体を持つ代替の実施形態が示される。 図23は、非最適の拡張を備えた導光体内の光の伝播の概略のスケッチが示される。 図24Aは、導光体へと入力光線を結合するために使用される結合プリズムを有する2つの類似した断面の一例が示される。 図24Bは、導光体が特定の角度で研磨され、研磨された角度の頂部にプリズムが加えられた構成を示す。 図24Cは、導光体の垂直端部にプリズムがついかされた構成を示す。 図24Dは、ビームスプリッターの偏向に基づく像生成器を持つプリズムの組合せを示す。 図25は、部位間にある安全バインダーが示される。 図26Aは、二部位型の導光体を与える2D導光体の側面図が示される。 図26Bは、二部型の導光体を与える2D導光体の正面図が示される。 図27Aは、二部位型の導光体を与える1D導光体の側面図が示される。 図26Bは、二部位型の導光体を与える1D導光体の正面図が示される。 図28は、虚像を重ね合わす望まれない像の角度の図が示される。 図29Aは、高角度の光が導光体に達するのを防ぐシェードが示される。 図29Bは、高角度光が導光体に達するのを防ぐ角度感知コーティングが示される。 図30は、部位の代替の組合せが示される。 図31は、本実施形態で使用するために構成された典型的な光学要素(LOE)の側面図が示される。 図32Aは、典型的な照明システムの側面図の概略のスケッチが示される。 図32Bは、典型的な照明システムの正面図の概略のスケッチが示される。
<第1の実施形態-図1乃至32B>
本実施形態によるシステムの原理および動作は、図面および添付の説明を参照することで一層よく理解され得る。本発明は光学的空隙の拡張のためのシステムである。一般に、小さい空隙を有する像プロジェクターは入力光線を投影する。当該入力光は1セットを超える平行な部分的反射面又は切子面、好ましくは最適化されたコーティングを有する導光体によって増大される。代替の実施形態は、切子面および回折要素の組合せを使用する。これは、透明な導光体の外側の空隙拡張のニーズを低減し、システムの大きさと重量を減少する。
光学装置は、互いに平行な第1の対の外表面を有する導光体と、少なくとも2つのセットの切子面を含んでいる。前記セットの各々は、互いに平行な複数の部分的に反射する切子面を含み、第1の対の外表面の間にある。切子面のセットの各々において、個々の切子面は第1の対の外表面に対して斜角で存在し、切子面の他のセットに対して非平行な角度で存在する。
図31を参照すると、本実施形態で使用するために構成された典型的な光学要素(LOE)903の側面図が示される。第1の反射面916は、光源2から放射する入力平行ディスプレイ光線(入力光線)4によって照射される。本明細書の文脈において、光源2は「プロジェクター」とも言う。本件の図における単純性のために、一般に1つの光線だけが描かれる、入って来る光線、すなわち入力光線4は、「光線」あるいは「入射光線」とも言う。一般に、像が光ビームによって本明細書に表わされる場合であれば、いずれにしてもビームは像のサンプビームであることは留意されるべきであり、典型的には僅かに異なる角度での多数のビームによって形成され、各々が像の点或いは画素に対応している。特に像の末端に言及する場合を除いて、例証された光線は典型的には像の中心である。すなわち、光は像に対応し、中心光線は像の中心或は像の中心画素からの中心光線である。
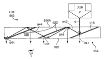
第1の領域954は入力ビーム4に近位であり、像の照明は導光体920に結合される。反射表面916は、光源2からの入力ビームの入射光を少なくとも部分的に反射する。その結果、光が内部反射、典型的には全内反射(TIR)によって、導光体920の内部に閉じ込められる。導光体920は典型的には透明基板であり、「面状基板」、「光透過基板」、および導光路とも言う。導光体920は、少なくとも2つの(主たる外部の)典型的には互いに平行な表面、を含んでおり、背面の(主たる)表面926と正面の(主たる)表面926Aとして、本図に示されている。主たる表面(926、926A)に関して「正面」及び「背面」の指定は、参照の便宜のためであることに注意されたい。導光体920への内方結合は、種々の表面、例えば、正面、背面、側縁、或いは他の如何なる所望の内方結合の幾何学的部位からであり得る。
入力光線4は、基板の近位端(図の右側)の導光体基板に進入する。光は導光体920および1以上の切子面、通常は少なくとも複数の切子面、典型的には数個の切子面を通って、導光体920の遠位端(図の左側)に向かって伝播する。導光体920は、外部表面の内部反射によって基板中の伝播光の光線を導く。
基板920の内周面から随意に反射した後、閉じ込められた波は1セットの選択的に反射する表面(切子面)922に達し、基板からの光を観察者の目10の中で結合する。本件の典型的な図において、閉じ込められた光線は、点944で他の2つの部分的に反射する面922によって基板920から徐々に外方結合される。
内部の、部分的に反射する面、例えば、選択的に反射する面922のセットは、本明細書の文脈で、一般に「切子面」と呼ばれる。拡張現実アプリケーションの場合、切子面は、現実世界からの光を部分的に反射し、光が正面926Aを介して入り、切子面を含む基板を横断し、背面926を介して基板から観察者の目10に向かうことを可能にする。
典型的な光線942は反射表面916から部分的に反射された入力ビーム4の光を示し、典型的な光線941は反射表面916を部分的に透過した入力光ビーム4の光を示す。
内部の部分反射面922は、導光体920の伸びる方向に対して斜角で(即ち、非平行で、平行でも垂直でもない)一般的に少なくとも部分的に導光体920を横断する。部分反射は、光の伝達率或いは偏光の使用を含むが限定されない種々の技術によって実施され得る。
導光体920は、随意に外部表面(本件の図の側面図で示されていない)の第2の対を有し、当該外部表面は互いに平行で、外部表面の第1の対に対して平行ではない。いくつかの実施例では、外部表面の第2の対は外部表面の第1の対に対して垂直である。典型的には、切子面の各々は、外部表面の第2の対に対して斜角である。導光体の周辺表面からの反射が望まれない他の場合には、それらの周辺表面は、典型的には、研磨されないままであり、及び/又は、光吸収性の物質(例えば、黒)で被覆されることで反射を最小にしている。
図1を参照すると、導光体3が異なる方向で部分的に反射する内部切子面の2つの重複するセットを有し、導光体3内の切子面による2つのビーム拡張プロセスを有するビーム拡張効果を示す高レベルの導光体の概略図が示されている。プロジェクター2は入力光線4として導光体3内に像を投影する。切子面の1セット(以下の図に示された、切子面の第1のセット)は、入力ビーム(投影された像4)の一部を連続的に第1のガイドビーム(投影された像)6へ向きを変える。特徴的には、特定の好適な実施例によれば、第1の切子面のこのセットは角度が付けられ、その結果、入力光線4の入射像と、第1のガイドされた光線6の反射像光線の両方が、角度範囲内に存在する。それらは、導光体3の主基板表面(外部表面)における内部反射によって閉じ込められ、したがって、導光体3の光ガイド(「基板」あるいは「導光路」とも言う)によって導かれる。最も好ましくは、同じ導光体に統合されるのは、切子面の第1のセットの角度とは異なる角度である他の切子面の第2のセットである。切子面の第2のセットは、第1のガイドされた光線(投影された像)6の一部を第2のガイドされた光線(投影された像)8に向きを変える。第2のガイドされたビーム8は、導光体3の外で、典型的には観察者の目10へと結合される。
図2を参照すると、導光体3の典型的な構成の概略のスケッチが示される。非限定的な実施例の第1のセットでは、導光体3は内部切子面の異なる配向を有する2つの層を含む。上述のとおり、第1の部位14および第2の部位12の各々は、LOE903でありえる。そのため、第1及び第2の部位は、本明細書の文脈において、それぞれ第1及び第2のLOE、或いは第1及び第2の層、或いは第1及び第2の切子面の部位に言及される。各部位は、切子面のそれぞれのセットを含む。第1の部位14は、切子面の第1のセット32を含み、第2の部位12は、切子面の第2のセット36を含む。第1及び第2の部位(14、12)は、ユーザー(ユーザーの目10)の見る方向に対して重ね合わす関係で配置される。この例において、最終の導光体16の重なり合う切子面パターンを生成するために、第2の層12は第1の層14の上に重なる。本件の図で表された配向が説明の明瞭さのために単純ラフに示されていることに注意されたい。導光体16が少なくとも2セットの切子面を持っており、これが少なくとも部分的に、ユーザーの観察方向で重ね合わされて、導光体16は、「重ね合わせ式導光体」ともいう。
切子面の各セットは、切子面のセットを含む部位の与えられた配置領域上の可視範囲を提供する。切子面の少なくとも第1のセットは、切子面の第1セットのそれぞれの配置領域上の観察方向で見られるように連続的な可視範囲を提供する。切子面セットの配置領域は切子面間での領域(空間)を含んでいる。切子面の好適な構成は、導光体の切子面から導光体の表面までの交線を推定することにより記載され得る。切子面の第1のセットの面と外表面の面との間の交線の第1のセットが与えられ、切子面の第2のセットの面と、同じ面(導光体の外表面)の間の交線の第2のセットが与えられると、線の第1及び第2のセットは非平行である。
これらの層の中の切子面の配向の決定に対する考慮が以下に述べられる。図1では、導光体3がもともとハイレベルで示されており、これに対し図2では、導光体16は内部構造(第1および第2の部位)の詳細について示されることに注意されたい。2セットの(平行な)切子面を有する導光体16は、「2軸」を持っているとして記載され得る。これに対し、任意の数(1を超える)のセットの切子面を有する導光体は、「数本の軸」の導光体と記載され得る。この文脈では、各「軸」は、導光体3のビーム拡張の方向、すなわち切子面がアレイ状にされる導光体3の方向に存在する。
図3を参照すると、導光体16に伝播する光の側面図の概略のスケッチが示される。第1の層14は、切子面32の第1のセットを含んでいる(第1部の切子面、或いは第1の切子面とも言う )。同様に、第2の層12は、切子面36の第2のセットを含んでいる(第2部位の切子面、或いは第2の切子面とも言う)。導光体16は、第1の外面22と第2の外面24(それぞれ、背部表面926と正面部表面926Aに似ている)の間の厚さ16Tを有する。典型的には、第1の層14と第2の層12は光学的に付けられ、光は反射せずにこれらの層の間を通る。各層の内部への導光は内部反射によって達成され、導光体16の外面から典型的には全内部反射(TIR)の構造によって達成される。本件の図では、プロジェクター2は光学的構成20によって実施される。プリズム16Pは導光体16への内方結合構成の一部である。光学的構成20は、内方結合によって導光体16を照射し、(入力光線4)無限大まで平行にされる(例えば、Lumus LTDの国際公開第 2015/162611号参照)。光が導光体3の内部を伝播すると5、伝播光5は、第1の外表面22および導光体16の第2の外表面24からの内部反射によって反射される。本件の図の第1の外表面22および導光体16用の第2の外表面24は、それぞれ図31の正面部表面926Aと導光体用のLOE903の背部表面926に似ている。
導光体16の第1の部位14は内部切子面を含んでおり、それが伝播光5を横方向に第1のガイドされたビーム6として反射する(本件の図の側面図において識別可能でない方向の変化)。第2の部位12は、観察者の射出瞳(eye-box)10に向かう第2のガイドされたビーム8として伝播光4Aを反射する切子面を含んでいる。(本明細書の全体において組み込まれた、Lumus LTDの国際特許出願PCT/IL2018/050025に定義された意味において)すべての部位内の切子面は好適には重ね合わさっており、像照明の一様性を向上させるために、観察者の見ている目10の方向の光は、切子面の各配列の2以上の切子面を通り抜ける。
光は、典型的には内方結合構成、例えば、光学的構造20やプリズム16Pによって導光体16へガイドされる。内方結合構成および/または像プロジェクターは、光を導光体16に導くように構成され、その結果、伝播光5は、導光体16に沿って外表面(22、24)(アウトオブプレーン(out-of-plane)要素は、導光体の主外表面からの各内部反射で反転する)を経て、第1のインプレーン(in-plane)要素による伝播方向へと伝播する。切子面32の少なくとも第1のセットは導光体16の内部反射によってガイドされる光の一部をそらすために配向され、第1のインプレーン要素に対して非平行の第2のインプレーン要素による伝播方向を備えた導光体16に沿って伝播する。このように、一連の切子面での部分的な反射による像の再方向付けにより、導光体内の一次元での空隙拡張が達成される。外方結合構成は、通常、第2のインプレーン要素で伝播する光の少なくとも一部を外方結合するように構成される。外方結合構成は、典型的には、部分反射切子面36の第2(あるいは第3)のセットであり、第2のインプレーン方向における更なる空隙拡張を達成する
(外方結合切子面と共に)第2の部位12は、好適には、観察者の目10に近接している。したがって、逆の構成も本発明の範囲内にあり、特定の適用において望ましいかもしれないが、外方結合された光(第2のガイドされた光線8)は妨害されないだろう。
ここで、1.5955の屈折率を有し、40度の対角線の長方形像を外方結合する(伝達する)ガラスを使用する導光体16の典型的な実施例が記載される。
図4を参照すると、異なる反射率のふり幅を持っている様々なコーティングの反射率対屈折角度のグラフが示される。好ましくは、切子面のコーティングは、最大の効率とゴースト像に結合される最小のエネルギーを得るように設計されるべきである。好ましい実施形態では、像の反射率は垂直面から表面まで0~55度の入射角で存在する一方で、(72度まで伝達する高い反射率コーティングを除いて)コーティングは、垂直面から表面まで55~87度で実用的に伝達する。コーティングのこれらの特性は角度のある切子面設計を決定する。コーティングのこの特性は、全可視スペクトルとほとんど同じである、したがって、単一の導光体はすべての色(一般にRGB、或いは赤、緑および青と言う)を伝達するだろう。(導光体の遠位端に向かって)導光体への光の入口からより遠い距離での切子面(導光体の近位端)は、好適には、高い反射率をもつコーティングが設けられる。
図5を参照すると、導光体16の幾何学的な光学的特性は角度空間で例証される。両方の外面(第1の外面22および第2の外面24)のTIR臨界角の制限は、円A30として示され、それらの円内に向けられた光線は基板から漏れ、それらの円の外側に向けられた光線は、基板内に閉じ込められるだろう。導光体16に導入された像光、即ち入力ビームは、長方形の角度分布を有する。入力ビーム4は、外面(第1の外面22および第2の外面24)間で前後にはね返り、正方形4Lおよび4R(主基板表面で反射された共役像、図1における入力ビームと等価)として示される。
図6を参照すると、導光体16の切子面の角度空間の配向が示される。像光入力ビーム4は、最初に、導光体16の第1の部位内の切子面32の第1のセットに当たる。切子面32の第1のセットの角度空間の配向は、円A32によって示された面として示される。これらの第1の部位の切子面32は、図4に示されるような角度の反射率を有するコーティングで覆われる。コーティングが透明な角度(この例では55度)が円A34として示される。したがって、これらの円の間(外側)で示された如何なる像(即ち、55度を超える角度だけ切子面に対して垂直に傾いた角度をもっている、例えば本件の図の4L)は、最小の反射率で被覆された切子面を通り抜けるだろう。これらの円内にある像(すなわち、55度未満の角度だけこれらの切子面に対して垂直に傾いた角度をもっている。例えば、この図の4R)は部分的に反射されるだろう。その反射は切子面の角度A32に対して対向するだろう。したがって、(矢印600によって示されるように)像4Rは反射され共役像6L(第1のガイドされた光線6に相当する)を生成する。像が導光体16内に伝播すると、光のうちのいくらかは、4Rと6Lンドの間で前後にはね返るだろう、それによって、最終の像照明の一様性を改善する。
図7を参照すると、切子面36の第2のセットの幾何学的な光学的特性が示される。光の像6Lは導光体16の外面(22、24)から反射し、共役像6Rを生成する。面(22、24)から反射され、第2の部位12の切子面(第2部位の切子面36)に当たる間に像6Lおよび6Rが伝播し、配向は、本明細書でA36として示される。第2の部位の切子面36上のコーティングは、また透明な範囲を有し(図6の中のA34として)、透明な範囲のマージンは円A38として示される。
像6L、4Lおよび4Rは透明な範囲内(円38の間)にあり、したがって、第2の部位12の第2の切子面36によって著しく反射されないだろう。しかしながら、像6Rは55度の締切り内に位置し、したがって、第2の切子面36によって部分的に反射され、基板主面の内部反射から漏れる角度範囲で終了し、(矢印700によって示されるように)観察者の射出瞳(eye-box)10に向かう像8(第2のガイドされた光線8)として導光体16の外側に送達される。
図8を参照すると、切子面とコーティングマージンの代替の実施例の角度空間の図が示される。像4Lおよび4Rは第2の部位12の第2の切子面36によって反射されない(角度>55度を表わすマージンA38の内部)。加えて、像4Lおよび6Rは、第1の部位14の第1の切子面32(マージンA34の内部)によって反射されない。
典型的な場合では、導光体16に結合された第1の像が像4Lであると仮定すると、像は次の順で結合される。
1.像4L:プロジェクター光学部20によって導光体16に結合される。
2.像4R:導光体16内の内部反射によって像4Lに対する共役として生成される。
3.像6L:第1の切子面32による像4Rの反射によって生成される。
4.像6R:導光体16内の内部反射によって像6Lに対する共役として生成される。
5.像8:第2の切子面36による像6Rの反射によって生成される。
同一の順序の像を連結する同じ基本特性を有する異なる角度の構成は、上述されるように、使用することができる。第2の切子面36から来る第1の切子面32および反射された像6Lに当たる両方の入射像4Rが基板の主表面[外面(22、24)]によって内部反射される角度の範囲内に存在し、したがって、基板によってガイドされることは注目されるであろう。導光体16の外面(22、24)を経由する内部反射は、LOE 903の基板920の主表面(926、926A)を経由する内部反射に似ている。
本明細書で例証された好ましい実施例は各切子面に関して各像の角度を最適化するように設計され、その結果、像が選択的に部分的に反射されるか、或いは切子面のコーティングの角をなした選択的な特性による最小の反射で伝達されるが、そのような最適化が不可欠ではないことは注目されるべきである。いくつかの場合には、ゴーストが比較的低いエネルギーモードか、或いは所望の出力像の視野の外側に含まれる限り、最適化されていない角度および/または最適化されていないコーティングを採用することが受け入れられ得、種々の望まれないモードの生成に帰着する(ゴースト像に対応する)。
図9を参照すると、導光体16の他の実施形態が示され、第1の部位14および第2の部位12といった部位が導光体の厚さの次元において重ね合わされ、交差する切子面を有する単一部位の導光体40を生成する。言いかえれば、切子面のセット、この場合、切子面32の第1のセットおよび切子面36の第2のセットは、重ね合わせており、導光体の同じ面に配置される(構築される)。単一部位の導光体40は第1の外面22と第2の外面24の間の厚さ40Tを有している。そのような導光体の製造方法が以下に述べられる。単一部位の導光体40中の切子面の角度は、図4および図8に関して2つの部位の導光体16のための上記切子面に似ている。
図10を参照すると、2つの部位の導光体16を製造する方法が示される。また、図2および図3に戻って参照する。窓50の第1のセットは第1のスタック51を作るために共に被覆され、接合される(積み重ねられる)。この文脈で、用語「窓」は透明な平坦なプレートを言う。
反射表面52の第1の配列を生成するために、第1のスタック51が特定の角度で薄く切り取られる。同様に窓54の第2のセット(窓50の第1のセットと異なる別のセット)は、第2のスタック55を作るために、共に覆われ、接合される(積み重ねられる)。第2のスタック55は、第2の角度(別の角度、第1のスタック51を薄く切り取るために使用された角度と異なる)で薄く切られ、反射表面56の第2のアレイを生成する。2つのアレイ(第1のアレイ52および第2のアレイ56)は、適切な相対角度でともに付けられ60(例えば、互いに対して所望の角度で接合されるか、固着される)。重ね合わすアレイは導光体16のための所望の形状を作るために整えられる61。いくつかの実施形態では、任意のカバー62は、最後の二つの部位の導光体64の外面として固着される。各工程は、それぞれ任意の切断、研削および1つ以上の表面の磨き上げを含み得る。1つを超えるアレイは窓の実測サイズと導光体64の所望のサイズに従って、各スタックから作り上げることができる。
実質的な経費削減は、導体光16の両方の部位に同じアレイ(切子面プレート)を使用することにより達成され得る。例えば、BK7ガラスは2つのアレイ、即ち26度で切子面を有する各アレイ(第1のアレイ52)を製造するために使用される。これは、2つのアレイ(第1のアレイ52および第2のアレイ56で、それぞれ異なる角度で切子面を持っている)を製造する上記の説明と異なる。その後、2つのアレイは、互いに115度のねじれの角度でともに付けられる。この典型的な構成は、界磁率16:9で38度を持つ像の伝達を可能にする。
図11を参照すると、単一部位の導光体40を製造するための典型的な方法が示される。2つの部位の導光体16を製造する図10を参照した説明に似て、窓50の第1のセットは第1のスタック51を作成するためにコーティングされ積み重ねられる。スタックは多数の第1のアレイ52へ薄く切られる。第1のアレイ52の薄片はアレイスタック70を生成するために一緒に磨かれ、コーティングされ、積み重ねられる。このアレイスタック70は第1のスタック51に似ているかもしれないが、この場合、アレイスタック70に特別のコート層が存在し得る。
アレイスタック70は導光体の同じ厚さ内で平行な2セットの切子面を有する薄片にされたアレイ71を生成するために薄く切られる。随意に、外部窓62は完成した単一部位の導光体72(図9の単一部位の導光体40)を生成するために付け加えることができる。各々の薄切りの角度と、各々の積重ねの角度は、同じかもしれないし、互いに異なっているかもしれないが、最終的な導光体16の要求によって決定される。
図12Aから図12Eを参照すると、導光体16の実施例を照らすためにプロジェクター2を使用する様々な典型的な照明構成が示される。図12Aでは、照明は側部からである。矢印800A1および800A2によって示された照明伝播は、ほとんどの拡張を下方へ示す一方で、拡張のうちのいくつかは6Lから4Rまでのクロスリバース結合(cross reverse coupling)によって上方へ引き起こされている(図6に戻って参照)。
図12Bは上部側面からの照明を示す。この構成は、わきの周辺視野の不明瞭化を低減する。
図12Cは、(2つの導光体の間で)中心からの照明を示し、プロジェクターのハードウェア(右及び左)は大きさと重さを縮小するために組み合わせることができる。
図12Dは、ほとんど完全な周辺非不明瞭幻影を可能にする上部の照明を示す。
図12Eは目の配向のより下の角度での照明を示す。この方法で、画像プロジェクターは観察者の周辺視野の外側で便利に位置決めされる。
図13を参照すると、上記構成への変形例が示される。変形は、切子面と像の異なる角度を含んでいる。図8の変形として本件の図を比較されたい。本件の図では、切子面32の第1のセットの角度A32は、角度A32が像6Rの角度の対向面上にあり、それによって、より大きな像が伝達されることを可能にする。円A39は、2つの外面の内部反射角度について記載し、これらの円内に突き出た像は導光体から連結されるだろう。例えば、像8は円の外側で映し出し、共役像として導光体内に反射され、像の共役は導光体の外面から反射された像である。導光体に沿った外面からの多重反射は2つの像を生成し、それらは、互いに共役である。
図14Aおよび図14Bを参照すると、図13の構成を使用する導光体の構成の概略のスケッチが示される。図14Aでは、プロジェクター2は導光体16に光の像を導入する。導入された光の幅はプロジェクターの空隙によって決定される。2つの矢印は、視野における特定の点のための投影されたビーム100の幅(図13の4Lおよび/または4R)の幅を示す。好適には、この記載は、投射像の中心視野に言及する。切子面102(図13に配向A32として表わされた)は、垂直方向104および106に光を反射する。垂直の反射104および垂直の反射106は同じ方向(図13の6Rおよび/または6L)を有するが、ビーム100に沿った異なる位置を有する。垂直の反射104のビームが切子面102の3つによって反射される一方で、垂直の反射106のビームが切子面102の2つだけによって反射されていることは明らかである。従って、反射像は一様な強度分布を持たないだろう。
図14Bにおいて、切子面109は反射された方向(反射された方向108及び反射された方向110)に沿うように配置される。導入されたビーム100から一定の数の反射(この場合2つ)が存在するだろう。反射のために構成される切子面109の切子面の数は、1つ、2つの又はそれ以上切子面でありえる。単純な三角法を用いて反射光線に寄与する切子面に与えられた達成する幾何学的な基準は、切子面間隔、投影された光線に対する切子面の角度と、空隙の幅によって定義される。
第2の部位12の切子面36の第2のセット(図3および図13の角度A36に戻って参照)は、好適には画像一様性を改善するために重ね合わす。
図15を参照すると、導光体16内に光の伝播の概略のスケッチが示される。組み合わされた導光体の必要な大きさは、観察者の目に向かう導光体内および自由空間内の光の伝播方向によって決定される。本件の図では、ガイドされた伝播は破線として、自由空間の伝播は実線として描かれる。2つの伝播は同じ平インプレーンにない、しかし、明瞭さのために同じ平面で本件の図で概略的に示される。屈折による角度変更も明瞭さのために描かれない。
プロジェクター2は、視野(field)の幅(光線の異なる角度)を有する像を導入する。このフィールドの幅のエッジは、光線115および116(図13の4Rの大きさ)によって表わされる。光線115および116は、第1の切子面32(図13の中の角度A32)によって点118で異なる方向(本件の図の下、図13の6L)に光線117Aおよび117Bへと反射される。
2つの光線117Aおよび117Bは第2の切子面36(図13の角度A36)によって点120で反射される前に新しい方向に異なる長さを観察者の目10への方向122(116によって始まる)及び124(115によって始まる)に伝播する。
導光体16の高さ126が、116による115の拡張及び124による122の拡張より小さくなりえないことは明白である。
本件の構成で、外方結合のための第2の切子面36(図13の角度A36)は点120の上部においてのみ始まるだろう(本件の図のページで引かれた)。第2の切子面36は点120の上部には必要ではない、なぜなら観察者(観察者の目10)が投影された全体の視野をみないからである。
図16A、図16Bおよび図17を参照すると、上記の実施例と比べて、導光体の高さの更なる減少を可能にするアプローチが示される。
図16Aは、切子面コーティングの反射率(反射プロファイル)のグラフであり、コーティングは(図4に示される反射率と比べて)高角度の入射光線を反射するように設計されている。この反射プロファイルは、伝播光が導光体の外で連結されると、光線の伝播角度を逆にするために使用される。
図16Bは、本件のアプローチの例の角度のある構成を示す。像は130Lとして導入され、外面によって130Rに結合され1600、ついで(以下に記載された切子面A132のセットの)図16のコーティングを持つ切子面の角度A132は、134Rに像を結合する1602。その後、外面は像134Lとして伝播光を反射する1604。この像は(以下に記載される切子面136のセットの)切子面の角度A136上の同様のコーティングによって導光体の外で倒置された像138として観察者に反射される1606。像130Lおよび130Rの下部が、倒置された像138の上部になること、すなわち、像は逆さまであることは明らかである。
図17は、倒置された像138の光伝播の概略のスケッチを示す。プロジェクター2は、光線140および142(角度130Lおよび/または130R)によって制限された視野を持つ像を導入する。点144での反射は、それぞれの光線146および148(像134Lおよび/または134R)上への切子面132のセットによる。反射点150は、それぞれの光線152および154上への切子面136のセットによる反射を表わす。光線152および154の垂直方向が光線140および142の垂直方向と反対であることは明らかかである。従って、図15の高さ126と比較して、導光体の垂直方向高さ156の合計はより小さい。
図18A、図18Bおよび図18Cを参照すると、3セットの切子面が導光体16を生成するために組み合わせられる他の実施形態が示される。図18Aは光線が導光体173に伝播するときの、反射の方向の概略のスケッチである。図18Bは組み合わされた導光体173の正面図の概略のスケッチであり、3つの部位の切子面が組み合わされている。1セットの切子面174はあらかじめ定められた配向を有し、それは切子面176とは異なり、外方結合される切子面178とも異なっている。プロジェクター2は導光体173に光線180を導入する。点182において、切子面174のセットは、光線180を部分的に方向184へ反射する。すべての点がプロセスを表わし(対応する切子面のセットを経由する)、それらが、導光体を横切って分布されることに注意されたい。いくつかの点186で、伝播光線184は、切子面174のセットの1つによって、もとの光線180の方向へと反射される。点191で、光線は、点187で、観察者の目10に向かう光線193として、切子面178のセットによって外方結合される。拡張の別の経路は切子面176によって生成される。プロジェクター2からの光線は、方向188への切子面176のセットによって点187で反射される。いくつかの点190では、光線188は方向180に反射されて、戻り、点192で観察者の目10への光線195として切子面178のセットによって外方結合される。
図18Cは、光線が3つの切子面の部位の他の構成の導光体173中で伝播するときの反射の方向の概略のスケッチである。本件の図は、空隙拡張を生成するために単一の導光体に3つの切子面の部位を組み合わせるための別の構成である。
図19Aを参照すると、導光体に光を導入する代替の方向の角度のある図が示される。一般に、空隙拡張を達成するために結合された伝播像のいずれかで入力像光線を導入することは可能である。例えば、図8の角度のある図は、(像が共役像として1902を反射する)6Lあるいは6Rで像照明を導入する1900、ために本件の図で修正することができる。光はさらに4Lへと前後に反射し1908、これは4Rへの共役1906である。本件の図に記載されているように、もとの方向に戻る1908前に、これらの像は、異なる方向に伝播し(これによって導光体中の光線分布を拡張する)、最終的に8へと外方結合する1904。
図19Bを参照すると、図19Aの角度のある図を用いて導光体の概略図が示される。画像プロジェクター2は対角線状の切子面202(本件の図で対角線状に引かれ、切子面32の第1セットに似た機能をする)の組合せへと像を入力し、切子面203(本件の図で垂直に引かれ、切子面36の第2のセットに似た機能をする)を外方結合する。
図19Cを参照すると、本件の導光体中の光線伝播ダイヤグラムが示される。本件の図で、破線1920は画像プロジェクター2から導入された光線(6Rおよび6Lと等価)を表わす。一点鎖線1922は、空隙(4Rおよび4Lと等価)を拡張するために側部に伝播する光線を表わす。実線の矢印1924は外方結合された光線(8と等価)を表わす。本件の構成を用いて、像6R或いは6Lとして導光体への像の導入は、像4Rおよび4Lに対して急峻な角度にある(内部反射面A39に対するこれらの像の角度として明らかな)ことに注意されたい。したがって、より小さなプロジェクターの空隙は導光体の厚さの次元を満たすのを達成するのに十分である。
図20を参照すると、像の反対側に切子面を備えた他の実施形態の角度のある図が示される。本件の流図で、切子面36の第2のセットは、像6Lの反対側に存在する(すなわち、6Lおよび6Rの両方は、切子面36の第2のセットに対して同じ側に存在する)。二重線(1930A、1930B)は導光体中に像を内方結合させるための代替案である。像は、6L、6R、4Lあるいは4Rとして内方結合される。先の実施形態に似て、像4Rおよび4Lは対1936の像であり、6Lに前後に結合し1938、6Lは6Rと対になる1932。像6Rは、観察者に向かう像8として外方に反射される1934。
代替の実施形態では、様々な構成は切子面の反射に使用することができ、つぎのものを含む。像と像は切子面の異なる側で対になっている(図13)。
像と像は切子面の同じ側で対になっている(図19D)。
代替の実施形態では、様々なコーティングが使用され得るのであり、次のものを含む。
切子面の角度の角度的に近くで像を反射する(図16)。
切子面の角度からより遠くで像を反射する(図4)。
代替の実施形態で、導光体への様々な像の導入が使用され得、次のものを含む。
直接出力結合される方向(図19Cの6R、6L)。
出力結合前に変更される方向(図19Dの4L、4R)。
図21を参照すると、ハイブリッドシステムが示され、図1および図2を参照して記載されたのとほとんど同じ方法で屈折力のある切子面が回折格子と組み合わされ空隙拡張の機能性を達成する。
回折格子の適用は、反対の光学的パワーを有する少なくとも2つの格子の使用を必要とし、その結果、色分散が取り消される。本件の図の実施形態では、回折のパターン212が導光体への入力光を結合するために使用される一方、回折のパターン210は導光体へ光を結合するために使用される。横方向の空隙拡張は対角線の切子面214を重ね合わせることにより達成され、当該切子面214は、色収差を導入せずに、前後に伝播する光を横から連結する。ここで、再び、重なる対角線の切子面214のセットは(主基板表面で内部反射される)第1の導波モードを(主基板表面で内部反射される)第2の導波モードにリダイレクトするために配置される。
図22A-Cを参照すると、伝播中に光線を混合するための様々な実施形態が示される。導光体16内で伝播する光線の混合は、様々な実施例によって達成することができる。例えば、第1の部位14中の切子面32の第1のセットと第2の部位12中の切子面36の第2のセットとの間に部分反射を導入することによって達成される。
図22Aを参照すると、部分的に反射するコーティングによって分離された部位が示される。
第1の部位14と第2の部位12は、部分反射コーティングによって界面250で分離される。
入力光学構成20は、入力ビーム4を導光体16に供給する。界面250、したがって部分反射コーティングは、外面(第1の外面22および第2の外面24)と平行である。この実施例は、伝播光線5の多数の分割と反射にも拘らず、伝播光線5(黒い矢印として示される)におけるすべての光線をもとの方向に維持するだろう。本件の図では、明瞭さのために、1つの光線のみの分割が表されている。当業者は、本件の記載からさらに出力像の一様性を改善しつつ多数の分割が生じることを認識するだろう。
代替的に、第1の部位14および第2の部位12は異なる材質(例えば、ガラスとプラスチック、或いは異なる種類のガラス)で作ることができ、それによって界面250において、フレネル反射を引き起こす。界面250は、代替的に及び/又は追加的に分極回転(界面での誘電性の変化はこの現象を引き起こすだろう)を生成することができ、さらに出力画像の一様性を改善する。
図22Bを参照すると、代替の、より小さい光学構成20Bが示される。システムコストは画像プロジェクタ(図22Aの光学構成20)の大きさの減少により下げることができる。しかしながら、画像一様性の照明は、画像プロジェクターが導光体16の入口のすべてを照らすことを必要とする。本件の図では、光学構成20と比較して、反射面250によって引き起こされる増大する結合は、より小さい光学構成20Bのためのより小さい画像プロジェクター252を可能にする。
図22Cを参照すると、部分反射器を備えた代替の実施形態が示される。外面(第1の外面22と第2の外面24)と界面250の面の平行性の維持は、技術的に問題になりえる。本件の図において、小さい平行反射器254が使用される。小さい平行反射器254は、第1の部位14と第2の部位12の間の界面の一部分だけで界面250として実施される。このより小さい反射器254は、入力結合光線(入力ビーム4)の分割を生成する。したがって、導光体16はすべて一様に照らされる。好ましくは、小さい反射器254(界面250)の反射率は、導光体に沿って(近位端から遠位端まで)徐々に減少し、これによって出力増の一様性を改善する。上部の部位(第1の部位14)の反射率が徐々に低減することは、切子面の増大する反射率(プロジェクターからより遠く離れた切子面は、一定のイメージパワー(image power)を維持するために、より高い反射率を持っている)を補償するために使用され得る。それによって導光体を横切って一定の透明度の外観を生成する。
図23を参照すると、最適でない拡張をもつ導光体内に光の伝播の概略のスケッチが示される。横断した空隙拡張は、最適でない光線(「ゴースト」とも言う)を生成し、これらのゴーストから後方に結合することにより実行され得る。しかしながら、このプロセスは、上述した最適な光線伝播技術と比較して、それほど効率的でなく、画像劣化を引き起こい得る。このプロセスは、(図2のような)交差した切子面を使用するが、(図8のような)コーティングの最適化なしに生成される。従って、4Lおよび4Rも切子面36の第2のセットによって反射され、それにより、望まれない像を生成する。しかしながら、切子面の角度の適切な選択(図8のような角度空間での反復設計)で、これらのゴーストは観察者に興味のある視野の外に存在するであろう。
本件の図は、他の横断方向で像を拡張するために、これらの「ゴースト」が如何にして使用されるかを示す。プロジェクター2は方向260に光線を導入する。第1の部位14の切子面32の第1のセットによる反射の後に、伝播光は方向262に反らされる。第2の部位12の切子面36の第2のセットによる反射の後に、伝播光は方向264に導光体から反らされる。先の拡張は1つの横断方向にあった。方向260の入力光線も、第2の部位12の切子面によって方向266へ反射され得、これはガイドされるが、方向264とは反対方向である。第2の部位12の切子面36の第2のセットによる二次的相互作用は、方向266からの伝播光線を、もとの方向260に反射するが、その後シフトされる。方向260の上記記載に似て、伝播光線260は、切子面32の第1のセットによって方向262へ、そして切子面36の第2のセットによって導光体から方向264へ反射される。
図24Aを参照すると、導光体16に入力ビーム4を結合するために使用される結合プリズム270を有する2つの類似した断面の例が示される。単一の主光線2400(視野の中心かつ空隙の中心)が、光線が当該部位の切子面によって分割されているように示される。導光体へのこの結合は種々の方法で実行され得る。
図24Bおよび図24Cを参照すると、結合構成の断面の概略のスケッチが示される。断面は、図24Aの中で示される主光線2400の平面に沿って存在する。
図24Bは導光体16が特定の角度で磨かれ、プリズム2410が磨き上げられた角度の頂部に加えられた構成を示す。この構成は、導光体16の底部からの滑らかな反射(図で示されたように)を可能にする。
図24Cは、導光体16の垂直端部へのプリズム2420の追加を持つ構成を示す。この構成は、(導光体16の矩形形状から伸びる)より長い結合部を可能にする。この構成も異なる屈折率をプリズム2420および導光体16に使用することを可能にする。
図24Dは、偏光ビームスプリッターに基づくイメージジェネレータ(image generator)を備えたプリズムの組合せを示す。この組み合わせは容積と空間を節約する。
2つの部位内の切子面の様々な配向は、導光体16内の光線の偏光変化量を引き起こすだろう。したがって、非偏光の導入は好適であり得る。非偏光は、固有的に極性化されていないプロジェクター(例えば、TI DLP、テキサス・インスツルメンツ・ディジタル・ライト・プロセッシングに基づく)から生じるか、あるいは極性化されたプロジェクター(水晶、石英窓)の正面に減極剤を置いた後に生じることができる。
図25を参照すると、部位間で安全バインダーが示される。導光体16(ガラス製或いはプラスチック製の導光体)の破損の場合には、故障したフラグメントが一緒に付けられ、観察者への傷を防ぐために構造の保全性を維持するべきである。導光体のこの保全性の維持は様々な技術、例えば中間層280として本件の図で示される2つの部位間(第1の部位14と第2の部位12の間)の適切な接着剤かプラスチックフォイルを導入するなどによって達成することができる。従って、部位の1つ以上への構造的損害の場合に、生じるフラグメントは、導光体16に付けられたままで、分散しない。それによってユーザーに傷の可能性を減少させる。中間層280の光学的特性は、界面250に関して上述した特性を含むが、これらに限定されず、変化し得る。中間層280は部位のインデックスに一致したインデックスであり得るか、あるいは、中間層280のインデックスは部位のインデックスと異なり得、図22に関して記述されるような反射を可能にする。
図26Aおよび図26Bを参照すると、2つの部位の導光体16を生み出す2D導光体のそれぞれ側面図および正面図が示される。横方向の空隙拡張は、他の1D導光体の頂部の1D導光体によって、1D導光体の頂部の2D導光体、あるいは上述された(2-3軸)1D導光体を重ね合わせることによって実行することができる。これらの技術を組み合わせることは、一様な像強度が生成された導光体と、最小の大きさを有する画像プロジェクターを得ることができる。
図26Aは、その後空隙を拡張する2D導光体310の側面図を示し、これに導光体320(重なり合う導光路16のバージョン)が続く。本件の図で示されるように、導光体320は2軸の導光体であり、それは空隙を垂直方向に拡張する。図26Bで示されるように、その後空隙を拡張する。
2D導光体による横方向の空隙拡張は2017年9月12日付でLumus Ltd.によって出願された国際出願No. PCT/IL2017/051028、及びLumus Ltd.の国際出願No. PCT/IL2005/000637(米国特許第 7,643,214)に記載されているような様々な代替案によって実行することができる。2軸の導光体は、上記の構成のいずれかを持つことができる。更に好ましくは、平均化およびミキシングは、Lumus Ltd.が2018年1月8日に出願した国際出願No. PCT/IL2018/050025に記載されているような重なり合う切子面を含めることにより実行される。
図27Aおよび図27Bを参照すると、2つの部位の導光体16を与える1D導光体のそれぞれの側面図および正面図が示される。図27Aは、その後空隙を拡張する1D導光体410の側面図を示し、導光体320が後に続く。
ニアアイディスプレイ導光体は、プロジェクター2から観察者の目10に「仮想の」像の光を伝達する一方で、投影された空隙を増加させる。導光体16による伝達は、埋め込まれた反射器(切子面)あるいは格子による回析による反射を含む。
導光体16は「外界」に対して透明で、好ましくは観察者の目10に向かって外界の反射を導入するべきでない。
多くの導光体の構成が、目10に向かう高角度からいくつかの反射を導入する。切子面(あるいは格子の効率的な回析)のコーティングは、そのような高角度で反射の効率を減少させるために最適化することができる。しかしながら、高強度の光源、例えば、(暗い環境の)ランプあるいは太陽は、観察者に向かって実質的に光の強度を反射することができる。
図28を参照すると、虚像を重ね合わす望まれない像の角度のある図が示される。本件の図は図13に基づくが、本件の図では、視野における1点だけが表わされる。システムの外側からの光源は、導光体に結合され、虚像を重ね合わす望まれない像を生成する。外部ソースは、81s(例えば観察者の上の高角度での太陽)としてマークされる。
外部ソース81sは、角度4Rs(図13で重ねられた4R)に切子面36の第2のセットによって反射されるべき導光体16へ伝達される。この点から、望まれない像は像経路4Rs、6Ls、6Rsそして観察者8sまでを追随する。
4Rsがガイドされ、したがって、像は観察者に伝達されることは明らかである。しかしながら、81sの異なる角度では、外部ソースは4Rsに結合される。それは、内部反射によってガイドされない、したがって望まれない像は生成されない。像がTIR(円の1つの内)の外側に存在するとき、クラッタ光はこの像4Rsを介して導光体に結合されることができる。この(クラッタ)光は導光体(観察者側)の反対側から侵入する。クラッタ光81sあるいは4Rsがガイドされるようになることを防ぐために、図29Aで示されるように、シェードが導光体の上に置かれ得る。
図29Aを参照すると、高角度光が導光体に達するのを防ぐシェードが示される。シェード1009が導入されて好ましくは(導光体16の)正面及び背面の高角度クラッタ光2900をブロックする。より低い角度の入射光1007Aは、射出瞳(eye-box)を照らさない1007B。したがって、目に見えない。
図29Bを参照すると、高角度光が導光体に達するのを防ぐ、角度のある敏感なコーティングが示される。角度のある敏感なコーティング1011が導入される。このコーティング1011は(頂点に対して)高い角度の入射光線2900を反射する一方で、示されるような低い角度光1007Aを伝達する。
図30を参照すると、部位の代替的な組み合わせが示される。本件の図で、2つの部位(第1の部位14および第2の部位12)は、単一の1D導光体1020に組み合わされる。この導光体1020は隣接する2つの部位を有し、図2に示される、重なる導光体16の隣接するエッジ部と比較して、異なるエッジを使用している。導光体1020の部位は連続するように組み合わせられ、ガイドされる伝播光(図13の2つの像4Lおよび4R)が、第1の部位14の切子面32の第1のセットによって最初に反射され(図13の切子面32の第1のセットによる4R)、その後、第2の部位12の切子面36の第2のセットによって反射される(図13の切子面36の第2のセットによる6R)。この実施例によれば、切子面が導光体の面に垂直ではないことに注意されたい。したがって、1つの像だけが目10に向かって臨界経路で反射される。例えば、4Rだけが6Lに反射され、4Lと同時に4Rは6Rに反射されず、 は6Lに反射される。この単一の臨界経路は、多経路構成に存在する位置合せ精度の要求を緩める。
図32Aを参照すると、典型的な照明システムの側面図の概略のスケッチが示される。導光体16は画像プロジェクターの透明な像を作らない照明を提供する照明システムに使用することができる。光源3200は、導光体16を照らす入力照明を提供する。光3202が導光体16中を伝播すると、光3202は導光体16の切子面によって、画像変調器3215上に反射される3204。例えば、画像変調器3215はLCOSであり得る。反射像光3206は、導光経路を通り抜けて、ついで光学系3220によって典型的には像が作られる。好適には、切子面は敏感であり、したがって導光体16は偏光ビームスプリッターとして役割を果たす。本件の記載および図における明瞭さのために、偏光子および偏光回転子は省略される。
図32Bを参照すると、典型的な照明システムの正面図の概略のスケッチが示され、導光体16の正面図を示している。光源3200は、導光体16に光3202を直接(あるいは光導波路を通して)投影し、切子面の交差(重ね合わせ)配向が導光体16内のソース空隙の横方向の拡張を引き起こし、導光体16の外へ光を投影する。
上記の例、使用される数、および典型的な計算は、この実施形態の記載を助けるためであることに注意されたい。不注意な誤植、数学的な過誤および/または単純化された計算の使用は、発明の有用性および基礎的な利点を損なわない。
添付された特許請求の範囲が多数項の従属なしに案出されただけで、これは単にそのような多数項の従属を許可しない管轄権での方式的要件を適用させるために行われた。特許請求の範囲を複合的に従属するようにすることにより意味される特徴のあらゆる組合せが明示的に意図され、発明の一部と考えられるべきであることに注意されたい。
上述の記載が単に一例として提供することが意図され、他の多くの実施形態が、添付の特許請求の範囲で定義されるような本発明の範囲内で可能であることは認識されるだろう。

Claims (5)

  1. 光学装置であって、
    (a)一対の相互に平行な主外表面を有する導光光学要素(LOE)と、
    (b)コリメート画像に対応する画像照明を投影するように構成された画像プロジェクタであって、前記画像プロジェクタは、前記一対の主外表面での内部反射によって前記LOE内で伝播するように前記画像照明を前記LOE内に導入するために、前記LOEに光学的に結合され、前記LOE内に導入された前記画像照明の中心視野は、第1の方向に前記LOE内で伝播する、画像プロジェクタと、を備え、
    前記LOEは、前記一対の主外表面間で前記LOE内に配備された、内部で相互に平行な部分反射面のセットを更に備え、前記部分反射面のセットは、前記主外表面に対して非平行であり、その結果、連続する前記部分反射面が、前記一対の主外表面での内部反射によって前記LOE内で伝播する前記画像照明の一部を前記第1の方向に偏向させ、それによって、前記主外表面での内部反射によって伝播する前記コリメート画像に対応する偏向された画像照明を生成し、
    前記画像プロジェクタから前記LOE内に導入され、前記LOE内で前記第1の方向に伝播する前記画像照明は、前記一対の主外表面に平行な、幅を有するビームとして前記部分反射面のセットに入射し、
    前記幅の両端に該当する第1及び第2の光線が、前記部分反射面のセットでの反射によってそれぞれ第2の方向に第1及び第2の偏向された光線として形成され、前記部分反射面のセットの2つの異なる表面で反射される前記第1の光線及び前記第2の光線が、それぞれ重なった、第1の偏向された光線及び第2の偏向された光線となるように、前記部分反射面のセットの前記2つの異なる表面の間隔が設けられる、
    光学装置。
  2. 前記画像プロジェクタの前記LOEへの光結合は、前記LOEの前記主外表面に対して斜角で配向されたカップリングイン面を有するカップリングプリズムを介している、請求項1に記載の光学装置。
  3. 前記部分反射面のセットは、部分反射面の第1のセットであり、前記LOEは、内部の相互に平行な部分反射面の第2のセットを更に含み、前記部分反射面の第2のセットは、前記部分反射面の第1のセットに非平行である、請求項1に記載の光学装置。
  4. 前記部分反射面の第2のセットは、ユーザの目で見るために前記偏向された画像照明を前記LOE外に偏向させるように配備される、請求項3に記載の光学装置。
  5. 光学装置であって、
    (a)一対の相互に平行な主外表面を有する導光光学要素(LOE)と、
    (b)コリメート画像に対応する画像照明を投影するように構成された画像プロジェクタであって、前記画像プロジェクタは、前記LOEの前記主外表面に対して斜角で配向されたカップリングイン面を有するカップリングプリズムを介して前記LOEに光学的に結合され、それによって、前記一対の主外表面での内部反射によって前記LOE内で伝播するように前記画像照明を前記LOE内に導入し、前記LOE内に導入された前記画像照明の中心視野は、第1の方向に前記LOE内を伝播する、画像プロジェクタと、を備え、
    前記LOEは、前記一対の主外表面間で前記LOE内に配備された内部の相互に平行な部分反射面のセットを更に備え、前記部分反射面のセットは、前記主外表面に非平行であり、その結果、連続する前記部分反射面が、前記画像照明の一部を偏向させ、それによって、前記主外表面での内部反射によって伝播する前記コリメート画像に対応する偏向された画像照明を生成し、
    前記LOE内に導入された前記画像プロジェクタからの前記画像照明は、前記一対の主外表面に平行な、幅を有するビームとして前記部分反射面のセットに入射し、
    前記幅の両端に該当する第1及び第2の光線が、前記部分反射面のセットでの反射によってそれぞれ第2の方向に第1及び第2の偏向された光線として形成され、前記部分反射面のセットの2つの異なる表面で反射される前記第1の光線及び前記第2の光線が、それぞれ重なった、第1の偏向された光線及び第2の偏向された光線となるように、前記部分反射面のセットの前記2つの異なる表面の間隔が設けられる、
    光学装置。
JP2023043409A 2018-01-21 2023-03-17 多軸内部空隙拡張部を備えた導光光学要素 Active JP7591304B2 (ja)

Applications Claiming Priority (10)

Application Number Priority Date Filing Date Title
US201862619830P 2018-01-21 2018-01-21
US62/619,830 2018-01-21
US201862633095P 2018-02-21 2018-02-21
US62/633,095 2018-02-21
US201862645222P 2018-03-20 2018-03-20
US62/645,222 2018-03-20
US15/978,139 US10551544B2 (en) 2018-01-21 2018-05-13 Light-guide optical element with multiple-axis internal aperture expansion
US15/978,139 2018-05-13
PCT/IL2018/050701 WO2019142177A1 (en) 2018-01-21 2018-06-26 Light-guide optical element with multiple-axis internal aperture expansion
JP2019572513A JP7249294B2 (ja) 2018-01-21 2018-06-26 多軸内部空隙拡張部を備えた導光光学要素

Related Parent Applications (1)

Application Number Title Priority Date Filing Date
JP2019572513A Division JP7249294B2 (ja) 2018-01-21 2018-06-26 多軸内部空隙拡張部を備えた導光光学要素

Publications (2)

Publication Number Publication Date
JP2023088969A JP2023088969A (ja) 2023-06-27
JP7591304B2 true JP7591304B2 (ja) 2024-11-28

Family

ID=67299231

Family Applications (2)

Application Number Title Priority Date Filing Date
JP2019572513A Active JP7249294B2 (ja) 2018-01-21 2018-06-26 多軸内部空隙拡張部を備えた導光光学要素
JP2023043409A Active JP7591304B2 (ja) 2018-01-21 2023-03-17 多軸内部空隙拡張部を備えた導光光学要素

Family Applications Before (1)

Application Number Title Priority Date Filing Date
JP2019572513A Active JP7249294B2 (ja) 2018-01-21 2018-06-26 多軸内部空隙拡張部を備えた導光光学要素

Country Status (12)

Country Link
US (5) US10551544B2 (ja)
EP (1) EP3740795A4 (ja)
JP (2) JP7249294B2 (ja)
KR (4) KR102556141B1 (ja)
CN (2) CN114815261A (ja)
AU (1) AU2018403542B2 (ja)
BR (1) BR112020002041A2 (ja)
CA (1) CA3068946C (ja)
IL (1) IL276206B (ja)
MX (1) MX2020002403A (ja)
TW (1) TWI776938B (ja)
WO (1) WO2019142177A1 (ja)

Families Citing this family (82)

* Cited by examiner, † Cited by third party
Publication number Priority date Publication date Assignee Title
US10073264B2 (en) 2007-08-03 2018-09-11 Lumus Ltd. Substrate-guide optical device
US10048499B2 (en) 2005-11-08 2018-08-14 Lumus Ltd. Polarizing optical system
IL232197B (en) 2014-04-23 2018-04-30 Lumus Ltd Compact head-up display system
IL235642B (en) 2014-11-11 2021-08-31 Lumus Ltd A compact head-up display system is protected by an element with a super-thin structure
IL237337B (en) 2015-02-19 2020-03-31 Amitai Yaakov A compact head-up display system with a uniform image
BR112018006747A2 (pt) 2016-10-09 2018-10-16 Lumus Ltd. multiplicador de abertura usando um guia de ondas retangular
JP6829482B2 (ja) 2016-11-08 2021-02-10 ルムス エルティーディー. 光学遮断端部を備えた光ガイド装置およびその製造方法
US11500143B2 (en) 2017-01-28 2022-11-15 Lumus Ltd. Augmented reality imaging system
KR102481569B1 (ko) 2017-02-22 2022-12-26 루머스 리미티드 광 가이드 광학 어셈블리
CN109416433B (zh) 2017-03-22 2021-06-01 鲁姆斯有限公司 交叠的反射面构造
IL251645B (en) 2017-04-06 2018-08-30 Lumus Ltd Waveguide and method of production
KR102638818B1 (ko) 2017-07-19 2024-02-20 루머스 리미티드 Loe를 통한 lcos 조명
EP3688526B1 (en) 2017-09-29 2023-07-12 Lumus Ltd. Augmented reality display
US11656472B2 (en) 2017-10-22 2023-05-23 Lumus Ltd. Head-mounted augmented reality device employing an optical bench
AU2018372665B2 (en) 2017-11-21 2023-01-19 Lumus Ltd. Optical aperture expansion arrangement for near-eye displays
CN111417883B (zh) 2017-12-03 2022-06-17 鲁姆斯有限公司 光学设备对准方法
IL275615B (en) 2018-01-02 2022-08-01 Lumus Ltd Augmented reality displays with active alignment and corresponding methods
US10551544B2 (en) 2018-01-21 2020-02-04 Lumus Ltd. Light-guide optical element with multiple-axis internal aperture expansion
JP7389491B2 (ja) 2018-04-08 2023-11-30 ルムス エルティーディー. 光学サンプルの特性評価
EP4339656A3 (en) 2018-05-14 2024-06-05 Lumus Ltd. Projector configuration with subdivided optical aperture for near-eye displays, and corresponding optical systems
IL278511B2 (en) 2018-05-17 2025-01-01 Lumus Ltd A near-eye display containing overlapping projector assemblies
IL259518B2 (en) 2018-05-22 2023-04-01 Lumus Ltd Optical system and method for improving light field uniformity
JP7417234B2 (ja) 2018-05-23 2024-01-18 ルムス エルティーディー. 部分的に反射する内部表面を備えた導光光学素子を含む光学システム
WO2019244093A1 (en) 2018-06-21 2019-12-26 Lumus Ltd. Measurement technique for refractive index inhomogeneity between plates of a lightguide optical element (loe)
US11415812B2 (en) 2018-06-26 2022-08-16 Lumus Ltd. Compact collimating optical device and system
CN112424670B (zh) 2018-07-16 2023-01-17 鲁姆斯有限公司 采用偏振内反射器的光导光学元件
KR102781637B1 (ko) 2018-08-26 2025-03-13 루머스 리미티드 근안 디스플레이에서의 반사 억제
TWI865343B (zh) 2018-09-09 2024-12-01 以色列商魯姆斯有限公司 包括具有二維擴展的光導光學元件的光學系統
TWM642752U (zh) 2018-11-08 2023-06-21 以色列商魯姆斯有限公司 用於將圖像顯示到觀察者的眼睛中的顯示器
US11947130B2 (en) 2018-11-08 2024-04-02 Lumus Ltd. Optical devices and systems with dichroic beamsplitter color combiner
JP3226277U (ja) 2018-11-11 2020-05-14 ルムス エルティーディー. 中間ウィンドウを有するニアアイディスプレイ
EP3903138B1 (en) 2019-01-24 2023-03-08 Lumus Ltd. Optical systems including loe with three stage expansion
WO2020174433A1 (en) 2019-02-28 2020-09-03 Lumus Ltd. Compact collimated image projector
TWI800657B (zh) 2019-03-12 2023-05-01 以色列商魯姆斯有限公司 圖像投影儀
WO2020202120A1 (en) 2019-04-04 2020-10-08 Lumus Ltd. Air-gap free perpendicular near-eye display
KR20250004401A (ko) 2019-04-15 2025-01-07 루머스 리미티드 광-유도 광학 소자 제조 방법
TWI880746B (zh) 2019-05-06 2025-04-11 以色列商魯姆斯有限公司 用於觀看場景的透明光導和近眼顯示器
BR112021022229A2 (pt) 2019-06-27 2022-02-22 Lumus Ltd Aparelho
CN114080558B (zh) 2019-07-04 2024-06-11 鲁姆斯有限公司 具有对称光束倍增的图像波导
KR20220035088A (ko) 2019-07-18 2022-03-21 루머스 리미티드 캡슐화된 도광 광학 소자
US11686942B2 (en) 2019-09-12 2023-06-27 Meta Platforms Technologies, Llc Polarization-based processing of unpolarized image light
KR102917257B1 (ko) * 2019-09-16 2026-01-22 루머스 리미티드 빔 증배를 갖는 이미지 디스플레이 시스템
KR102893003B1 (ko) 2019-09-16 2025-11-27 루머스 리미티드 헤드 마운트 디스플레이용 컴팩트 프로젝터
CN212873079U (zh) * 2019-11-07 2021-04-02 中强光电股份有限公司 近眼光学系统
CN117943933B (zh) 2019-11-25 2025-12-02 鲁姆斯有限公司 可调节安装装置以及包括其的装置
IL270991B (en) 2019-11-27 2020-07-30 Lumus Ltd A light guide with an optical element to perform polarization mixing
CA3223538C (en) * 2019-12-05 2024-02-20 Lumus Ltd Light-guide optical element employing complementary coated partial reflectors, and light-guide optical element having reduced light scattering
JP7497079B2 (ja) 2019-12-08 2024-06-10 ルーマス リミテッド コンパクト画像プロジェクタを備える光学系
US12019249B2 (en) 2019-12-25 2024-06-25 Lumus Ltd. Optical systems and methods for eye tracking based on redirecting light from eye using an optical arrangement associated with a light-guide optical element
AU2020418462B2 (en) * 2019-12-30 2026-02-12 Lumus Ltd. Optical systems including light-guide optical elements with two-dimensional expansion
IL294538B2 (en) 2020-02-24 2025-12-01 Lumus Ltd Mixed reality combiner
KR20220160537A (ko) * 2020-04-05 2022-12-06 루머스 리미티드 2차원 확장을 갖는 도광 광학 요소들을 포함하는 광학 시스템
KR200498906Y1 (ko) 2020-05-12 2025-03-10 루머스 리미티드 회전가능한 광도파관
EP4325277A3 (en) * 2020-05-24 2024-06-19 Lumus Ltd. Method of fabrication of compound light-guide optical elements
KR20230011924A (ko) 2020-05-24 2023-01-25 루머스 리미티드 복합 도광 광학 엘리먼트
EP4158397A4 (en) * 2020-06-01 2024-01-31 Lumus Ltd. Virtual image delivery system for near eye displays
IL276466B2 (en) * 2020-08-03 2024-06-01 Oorym Optics Ltd Compact head-mounted display system having small input aperture and large output aperture
KR20230054841A (ko) * 2020-08-23 2023-04-25 루머스 리미티드 도파관으로부터의 글린트 및 고스트를 감소시키는 이미지의 2차원 확장을 위한 광학 시스템
WO2022044006A1 (en) 2020-08-26 2022-03-03 Lumus Ltd. Generation of color images using white light as source
CN114114519B (zh) * 2020-08-28 2025-12-30 中强光电股份有限公司 波导的制作方法以及具有波导的头戴式显示装置
CN115989453A (zh) 2020-08-30 2023-04-18 鲁姆斯有限公司 具有中间图像平面的反射slm图像投影仪
IL277285A (en) * 2020-09-10 2022-04-01 Oorym Optics Ltd A method for manufacturing surface elements for a compact head-up display system
DE202021104723U1 (de) 2020-09-11 2021-10-18 Lumus Ltd. An ein optisches Lichtleiterelement gekoppelter Bildprojektor
CN116368413A (zh) * 2020-10-01 2023-06-30 鲁姆斯有限公司 复合光导光学元件
WO2022130372A1 (en) 2020-12-17 2022-06-23 Lumus Ltd. Optical systems and methods for eye tracking based on eye imaging via collimating element and light-guide optical element
EP4237903B1 (en) 2021-03-01 2024-09-04 Lumus Ltd. Optical system with compact coupling from a projector into a waveguide
CN112987165B (zh) * 2021-03-23 2022-08-02 深圳珑璟光电科技有限公司 波导片、波导片的加工方法和头戴显示设备
KR102677455B1 (ko) * 2021-05-19 2024-06-24 루머스 리미티드 액티브 광학 엔진
JP2024522041A (ja) * 2021-06-07 2024-06-11 ルーマス リミテッド 矩形導波路を有する光学アパーチャ増倍器の作製方法
US20240231099A1 (en) * 2021-06-15 2024-07-11 Lumus Ltd. Encapsulated Light-Guide Optical Elements for Near Eye Display
JP7475757B2 (ja) 2021-07-04 2024-04-30 ルーマス リミテッド 積層導光素子が視野の異なる部分を提供するディスプレイ
IL309531B2 (en) * 2021-07-26 2024-09-01 Lumus Ltd Optical-based validation of parallelism between internal facets
IL309527B2 (en) * 2021-07-26 2024-09-01 Lumus Ltd Methods and systems for validating parallelism between internal facets
CN113504606B (zh) * 2021-08-04 2025-11-04 北京灵犀微光科技有限公司 一种光波导装置及ar设备
CN117651892B (zh) 2021-08-23 2024-12-24 鲁姆斯有限公司 具有嵌入式耦入反射器的复合光导光学元件的制造方法
CN114779479B (zh) * 2022-06-21 2022-12-02 北京灵犀微光科技有限公司 近眼显示装置及穿戴设备
US12320983B1 (en) 2022-08-18 2025-06-03 Lumus Ltd. Image projector with polarizing catadioptric collimator
US20240126089A1 (en) * 2022-10-14 2024-04-18 Google Llc Reflective facet waveguide with dual reflective facet configuration
GB202217444D0 (en) * 2022-11-22 2023-01-04 Vividq Ltd Reflective image replicating waveguide
JP2026502053A (ja) * 2023-01-15 2026-01-21 ルムス エルティーディー. 導波路のための製造方法
WO2025029524A1 (en) * 2023-08-02 2025-02-06 Meta Platforms Technologies, Llc Micro-molded prism geometric waveguide
FR3153162A1 (fr) * 2023-09-18 2025-03-21 Optiive Systeme de guide optique amélioré et dispositif d’affichage pres de l’œil comportant un tel systeme

Citations (3)

* Cited by examiner, † Cited by third party
Publication number Priority date Publication date Assignee Title
US20130250431A1 (en) 2012-03-21 2013-09-26 Steve Robbins Two-dimensional exit-pupil expansion
WO2017120326A1 (en) 2016-01-06 2017-07-13 Vuzix Corporation Imaging light guide with reflective turning array
JP2017520013A (ja) 2014-04-23 2017-07-20 ラマス リミテッド 小型ヘッドマウント式表示システム

Family Cites Families (301)

* Cited by examiner, † Cited by third party
Publication number Priority date Publication date Assignee Title
US2748659A (en) 1951-02-26 1956-06-05 Jenaer Glaswerk Schott & Gen Light source, searchlight or the like for polarized light
US2886911A (en) 1953-07-23 1959-05-19 George K C Hardesty Duo-panel edge illumination system
US2795069A (en) 1956-02-07 1957-06-11 George K C Hardesty Laminated metal-plastic illuminable panel
DE1422172B1 (de) 1961-12-07 1970-11-12 Kopperschmidt & Co Carl W Periskop
US3491245A (en) 1967-04-10 1970-01-20 George K C Hardesty Guided light display panel
DE2057827A1 (de) 1969-11-24 1971-06-03 Vickers Ltd Optische Anordnung zur Bildfeldebnung
US3626394A (en) 1970-04-09 1971-12-07 Magnavox Co Magneto-optical system
US3667621A (en) 1970-10-20 1972-06-06 Wisconsin Foundry And Machine Fluid power system for a self-contained unloading unit
US3737212A (en) 1970-12-14 1973-06-05 Gen Electric Diffraction optics head up display
GB1377627A (en) 1971-09-01 1974-12-18 Rank Organisation Ltd Beam splitting prisms
CH563945A5 (ja) 1971-10-20 1975-07-15 Balzers Patent Beteilig Ag
US3857109A (en) 1973-11-21 1974-12-24 Us Navy Longitudinally-pumped two-wavelength lasers
US3873209A (en) 1973-12-10 1975-03-25 Bell Telephone Labor Inc Measurement of thin films by optical waveguiding technique
FR2295436A1 (fr) 1974-12-16 1976-07-16 Radiotechnique Compelec Dispositif coupleur directif pour fibres optiques multimodes
US3940204A (en) 1975-01-23 1976-02-24 Hughes Aircraft Company Optical display systems utilizing holographic lenses
US4084883A (en) 1977-02-28 1978-04-18 The University Of Rochester Reflective polarization retarder and laser apparatus utilizing same
DE3000402A1 (de) 1979-01-19 1980-07-31 Smiths Industries Ltd Anzeigevorrichtung
US4355864A (en) * 1980-03-26 1982-10-26 Sperry Corporation Magnetooptic switching devices
US4331387A (en) 1980-07-03 1982-05-25 Westinghouse Electric Corp. Electro-optical modulator for randomly polarized light
FR2496905A1 (fr) 1980-12-24 1982-06-25 France Etat Episcope a reflexions multimodes
DE3266408D1 (en) 1981-10-14 1985-10-24 Gec Avionics Optical arrangements for head-up displays and night vision goggles
US4516828A (en) 1982-05-03 1985-05-14 General Motors Corporation Duplex communication on a single optical fiber
FR2562273B1 (fr) 1984-03-27 1986-08-08 France Etat Armement Dispositif d'observation a travers une paroi dans deux directions opposees
US4715684A (en) 1984-06-20 1987-12-29 Hughes Aircraft Company Optical system for three color liquid crystal light valve image projection system
US4711512A (en) 1985-07-12 1987-12-08 Environmental Research Institute Of Michigan Compact head-up display
US4805988A (en) 1987-07-24 1989-02-21 Nelson Dones Personal video viewing device
US4798448A (en) 1988-02-16 1989-01-17 General Electric Company High efficiency illumination system for display devices
US4932743A (en) 1988-04-18 1990-06-12 Ricoh Company, Ltd. Optical waveguide device
GB2220081A (en) 1988-06-21 1989-12-28 Hall & Watts Defence Optics Lt Periscope apparatus
FR2638242B1 (fr) 1988-10-21 1991-09-20 Thomson Csf Systeme optique de collimation, notamment pour visuel de casque
DE68909553T2 (de) 1988-10-21 1994-01-27 Thomson Csf Optisches Kollimationssystem für eine Helmsichtanzeige.
CN1043203A (zh) 1988-12-02 1990-06-20 三井石油化学工业株式会社 光输出控制方法及其装置
JPH02182447A (ja) 1989-01-09 1990-07-17 Mitsubishi Electric Corp 誘電体多層反射膜
US5880888A (en) 1989-01-23 1999-03-09 Hughes Aircraft Company Helmet mounted display system
US4978952A (en) 1989-02-24 1990-12-18 Collimated Displays Incorporated Flat screen color video display
FR2647556B1 (fr) 1989-05-23 1993-10-29 Thomson Csf Dispositif optique pour l'introduction d'une image collimatee dans le champ visuel d'un observateur et casque comportant au moins un tel dispositif
US5157526A (en) 1990-07-06 1992-10-20 Hitachi, Ltd. Unabsorbing type polarizer, method for manufacturing the same, polarized light source using the same, and apparatus for liquid crystal display using the same
US5096520A (en) 1990-08-01 1992-03-17 Faris Sades M Method for producing high efficiency polarizing filters
US5751480A (en) 1991-04-09 1998-05-12 Canon Kabushiki Kaisha Plate-like polarizing element, a polarizing conversion unit provided with the element, and a projector provided with the unit
FR2683918B1 (fr) 1991-11-19 1994-09-09 Thomson Csf Materiau constitutif d'une lunette de visee et arme utilisant cette lunette.
US5367399A (en) 1992-02-13 1994-11-22 Holotek Ltd. Rotationally symmetric dual reflection optical beam scanner and system using same
US5383053A (en) 1992-04-07 1995-01-17 Hughes Aircraft Company Virtual image display having a high efficiency grid beamsplitter
US5301067A (en) 1992-05-06 1994-04-05 Plx Inc. High accuracy periscope assembly
US5231642A (en) 1992-05-08 1993-07-27 Spectra Diode Laboratories, Inc. Semiconductor ring and folded cavity lasers
US5369415A (en) 1992-06-29 1994-11-29 Motorola, Inc. Direct retinal scan display with planar imager
US5680209A (en) 1992-08-13 1997-10-21 Maechler; Meinrad Spectroscopic systems for the analysis of small and very small quantities of substances
US6144347A (en) 1992-10-09 2000-11-07 Sony Corporation Head-mounted image display apparatus
US5537173A (en) 1992-10-23 1996-07-16 Olympus Optical Co., Ltd. Film winding detecting means for a camera including control means for controlling proper and accurate winding and rewinding of a film
IL103900A (en) 1992-11-26 1998-06-15 Electro Optics Ind Ltd Optical system
JP2777041B2 (ja) 1993-02-12 1998-07-16 京セラ株式会社 時計用カバーガラス
WO1994019712A1 (en) 1993-02-26 1994-09-01 Yeda Research & Development Co., Ltd. Holographic optical devices
GB2278222A (en) 1993-05-20 1994-11-23 Sharp Kk Spatial light modulator
US5284417A (en) 1993-06-07 1994-02-08 Ford Motor Company Automotive fuel pump with regenerative turbine and long curved vapor channel
GB2278886B (en) 1993-06-09 1995-12-06 Gen Motors Corp A throttle mechanism
CA2173624C (en) 1993-10-07 2005-03-29 Gregory Lee Heacock Binocular head mounted display system
US5555329A (en) 1993-11-05 1996-09-10 Alliesignal Inc. Light directing optical structure
JPH07199236A (ja) 1993-12-28 1995-08-04 Fujitsu Ltd 光スイッチ及び光分配器
US7262919B1 (en) 1994-06-13 2007-08-28 Canon Kabushiki Kaisha Head-up display device with curved optical surface having total reflection
FR2721872B1 (fr) 1994-07-01 1996-08-02 Renault Dispositif d'amelioration de la vision d'une scene routiere
JPH08114765A (ja) 1994-10-15 1996-05-07 Fujitsu Ltd 偏光分離・変換素子並びにこれを用いた偏光照明装置及び投射型表示装置
US5650873A (en) 1995-01-30 1997-07-22 Lockheed Missiles & Space Company, Inc. Micropolarization apparatus
GB9521210D0 (en) 1995-10-17 1996-08-28 Barr & Stroud Ltd Display system
GB2306741A (en) 1995-10-24 1997-05-07 Sharp Kk Illuminator
US6404550B1 (en) 1996-07-25 2002-06-11 Seiko Epson Corporation Optical element suitable for projection display apparatus
US5829854A (en) 1996-09-26 1998-11-03 Raychem Corporation Angled color dispersement and recombination prism
US6204974B1 (en) 1996-10-08 2001-03-20 The Microoptical Corporation Compact image display system for eyeglasses or other head-borne frames
US5886822A (en) 1996-10-08 1999-03-23 The Microoptical Corporation Image combining system for eyeglasses and face masks
JPH10133055A (ja) 1996-10-31 1998-05-22 Sharp Corp 光結合器及びその製造方法
US5919601A (en) 1996-11-12 1999-07-06 Kodak Polychrome Graphics, Llc Radiation-sensitive compositions and printing plates
US6577411B1 (en) 1996-11-12 2003-06-10 Planop-Planar Optics Ltd. Optical system for alternative or simultaneous direction of light originating from two scenes to the eye of a viewer
US5724163A (en) 1996-11-12 1998-03-03 Yariv Ben-Yehuda Optical system for alternative or simultaneous direction of light originating from two scenes to the eye of a viewer
JPH10160961A (ja) 1996-12-03 1998-06-19 Mitsubishi Gas Chem Co Inc 光学素子
US6292296B1 (en) 1997-05-28 2001-09-18 Lg. Philips Lcd Co., Ltd. Large scale polarizer and polarizer system employing it
IL121067A0 (en) 1997-06-12 1997-11-20 Yeda Res & Dev Compact planar optical correlator
DE19725262C2 (de) 1997-06-13 1999-08-05 Vitaly Dr Lissotschenko Optische Strahltransformationsvorrichtung
US5883684A (en) 1997-06-19 1999-03-16 Three-Five Systems, Inc. Diffusively reflecting shield optically, coupled to backlit lightguide, containing LED's completely surrounded by the shield
US5896232A (en) 1997-08-07 1999-04-20 International Business Machines Corporation Highly efficient and compact frontlighting for polarization-based reflection light valves
RU2124746C1 (ru) 1997-08-11 1999-01-10 Закрытое акционерное общество "Кванта Инвест" Дихроичный поляризатор
US6091548A (en) 1997-10-01 2000-07-18 Raytheon Company Optical system with two-stage aberration correction
CA2307877C (en) 1997-10-30 2005-08-30 The Microoptical Corporation Eyeglass interface system
ATE254291T1 (de) 1998-04-02 2003-11-15 Elop Electrooptics Ind Ltd Optische holographische vorrichtungen
US6222971B1 (en) 1998-07-17 2001-04-24 David Slobodin Small inlet optical panel and a method of making a small inlet optical panel
JP2000155234A (ja) 1998-11-24 2000-06-06 Nippon Electric Glass Co Ltd 光ファイバ用毛細管
JP2000187177A (ja) 1998-12-22 2000-07-04 Olympus Optical Co Ltd 画像表示装置
US6490087B1 (en) 1999-04-21 2002-12-03 U.S. Precision Lens Incorporated Optical systems for reflective LCD's
US6798579B2 (en) 1999-04-27 2004-09-28 Optical Products Development Corp. Real imaging system with reduced ghost imaging
US6728034B1 (en) 1999-06-16 2004-04-27 Matsushita Electric Industrial Co., Ltd. Diffractive optical element that polarizes light and an optical pickup using the same
US20030063042A1 (en) 1999-07-29 2003-04-03 Asher A. Friesem Electronic utility devices incorporating a compact virtual image display
WO2001027685A2 (en) 1999-10-14 2001-04-19 Stratos Product Development Company Llc Virtual imaging system
JP2001141924A (ja) 1999-11-16 2001-05-25 Matsushita Electric Ind Co Ltd 分波素子及び分波受光素子
JP3828328B2 (ja) 1999-12-28 2006-10-04 ローム株式会社 ヘッドマウントディスプレー
US6421148B2 (en) 2000-01-07 2002-07-16 Honeywell International Inc. Volume holographic diffusers
JP3975749B2 (ja) 2000-01-28 2007-09-12 セイコーエプソン株式会社 光反射型偏光子及びこれを用いたプロジェクタ
US6789910B2 (en) 2000-04-12 2004-09-14 Semiconductor Energy Laboratory, Co., Ltd. Illumination apparatus
US6362861B1 (en) 2000-05-02 2002-03-26 Agilent Technologies, Inc. Microdisplay system
IL136248A (en) 2000-05-21 2004-08-31 Elop Electrooptics Ind Ltd System and method for changing light transmission through a substrate
DE60142516D1 (de) 2000-06-05 2010-08-19 Lumus Ltd Optischer strahlaufweiter mit substratlichtwellenleitung
US20040176488A1 (en) 2000-06-06 2004-09-09 Shyama Mukherjee Low dielectric materials and methods of producing same
US6307612B1 (en) 2000-06-08 2001-10-23 Three-Five Systems, Inc. Liquid crystal display element having a precisely controlled cell gap and method of making same
IL136849A (en) 2000-06-18 2004-09-27 Beamus Ltd Optical dynamic devices particularly for beam steering and optical communication
US6324330B1 (en) 2000-07-10 2001-11-27 Ultratech Stepper, Inc. Folded light tunnel apparatus and method
US6799859B1 (en) 2000-07-24 2004-10-05 Mitsubishi Rayon Co., Ltd. Surface illuminant device and prism sheet used therefor
KR100388819B1 (ko) 2000-07-31 2003-06-25 주식회사 대양이앤씨 헤드 마운트 디스플레이용 광학 시스템
US6490104B1 (en) 2000-09-15 2002-12-03 Three-Five Systems, Inc. Illumination system for a micro display
IL138895A (en) 2000-10-05 2005-08-31 Elop Electrooptics Ind Ltd Optical switching devices
US6542307B2 (en) 2000-10-20 2003-04-01 Three-Five Systems, Inc. Compact near-eye illumination system
GB2371405B (en) 2001-01-23 2003-10-15 Univ Glasgow Improvements in or relating to semiconductor lasers
GB0108838D0 (en) 2001-04-07 2001-05-30 Cambridge 3D Display Ltd Far field display
JP4772204B2 (ja) 2001-04-13 2011-09-14 オリンパス株式会社 観察光学系
KR100813943B1 (ko) 2001-04-30 2008-03-14 삼성전자주식회사 복합 반사프리즘 및 이를 채용한 광픽업장치
GB0112871D0 (en) 2001-05-26 2001-07-18 Thales Optics Ltd Improved optical device
US6690513B2 (en) 2001-07-03 2004-02-10 Jds Uniphase Corporation Rhomb interleaver
US6791760B2 (en) 2001-07-24 2004-09-14 Itt Manufacturing Enterprises, Inc. Planar diffractive relay
US6556282B2 (en) 2001-09-04 2003-04-29 Rosemount Aerospace, Inc. Combined LOAS and LIDAR system
WO2003023756A1 (en) 2001-09-07 2003-03-20 The Microoptical Corporation Light weight, compact, remountable face-supported electronic display
US6775432B2 (en) 2001-10-19 2004-08-10 Santanu Basu Method and apparatus for optical wavelength demultiplexing, multiplexing and routing
JP2003140081A (ja) 2001-11-06 2003-05-14 Nikon Corp ホログラムコンバイナ光学系
FR2834799B1 (fr) 2002-01-11 2004-04-16 Essilor Int Lentille ophtalmique presentant un insert de projection
HRP20020044B1 (en) 2002-01-16 2008-11-30 Mara-Institut D.O.O. Indirectly prestressed, concrete, roof-ceiling construction with flat soffit
IL148804A (en) 2002-03-21 2007-02-11 Yaacov Amitai Optical device
DE10216169A1 (de) 2002-04-12 2003-10-30 Zeiss Carl Jena Gmbh Anordnung zur Polarisation von Licht
ITTO20020625A1 (it) 2002-07-17 2004-01-19 Fiat Ricerche Guida di luce per dispositivi di visualizzazione di tipo "head-mounted" o "head-up"
EP1418459A1 (en) 2002-11-08 2004-05-12 3M Innovative Properties Company Optical device comprising cubo-octahedral polyhedron as light flux splitter or light diffusing element
US20050174641A1 (en) 2002-11-26 2005-08-11 Jds Uniphase Corporation Polarization conversion light integrator
US20090190890A1 (en) 2002-12-19 2009-07-30 Freeland Riley S Fiber optic cable having a dry insert and methods of making the same
US7175304B2 (en) 2003-01-30 2007-02-13 Touchsensor Technologies, Llc Integrated low profile display
US7205960B2 (en) 2003-02-19 2007-04-17 Mirage Innovations Ltd. Chromatic planar optic display system
US7196849B2 (en) 2003-05-22 2007-03-27 Optical Research Associates Apparatus and methods for illuminating optical systems
EP1484596A1 (de) 2003-06-05 2004-12-08 Fraunhofer-Gesellschaft zur Förderung der angewandten Forschung e.V. Verfahren und Vorrichtung zur dreidimensionalen Bestimmung des Brechungsindex von transparenten Schichten
EP1639394A2 (en) 2003-06-10 2006-03-29 Elop Electro-Optics Industries Ltd. Method and system for displaying an informative image against a background image
JP4845336B2 (ja) 2003-07-16 2011-12-28 株式会社半導体エネルギー研究所 撮像機能付き表示装置、及び双方向コミュニケーションシステム
IL157837A (en) 2003-09-10 2012-12-31 Yaakov Amitai Substrate-guided optical device particularly for three-dimensional displays
IL157838A (en) 2003-09-10 2013-05-30 Yaakov Amitai High-brightness optical device
IL157836A (en) 2003-09-10 2009-08-03 Yaakov Amitai Optical devices particularly for remote viewing applications
JP2005084522A (ja) 2003-09-10 2005-03-31 Nikon Corp コンバイナ光学系
KR20050037085A (ko) 2003-10-17 2005-04-21 삼성전자주식회사 광터널, 균일광 조명장치 및 이를 채용한 프로젝터
US7430355B2 (en) 2003-12-08 2008-09-30 University Of Cincinnati Light emissive signage devices based on lightwave coupling
US7101063B2 (en) 2004-02-05 2006-09-05 Hewlett-Packard Development Company, L.P. Systems and methods for integrating light
EP1731943B1 (en) 2004-03-29 2019-02-13 Sony Corporation Optical device and virtual image display device
JP4609160B2 (ja) 2004-05-17 2011-01-12 株式会社ニコン 光学素子、コンバイナ光学系、及び情報表示装置
EP1748305A4 (en) 2004-05-17 2009-01-14 Nikon Corp OPTICAL ELEMENT, COMBINER OPTICAL SYSTEM, AND IMAGE DISPLAY UNIT
TWI282017B (en) 2004-05-28 2007-06-01 Epistar Corp Planar light device
IL162572A (en) 2004-06-17 2013-02-28 Lumus Ltd High brightness optical device
IL162573A (en) 2004-06-17 2013-05-30 Lumus Ltd Optical component in a large key conductive substrate
US8035872B2 (en) 2004-06-29 2011-10-11 Nikon Corporation Image combiner and image display device
IL163361A (en) 2004-08-05 2011-06-30 Lumus Ltd Optical device for light coupling into a guiding substrate
US7778508B2 (en) 2004-12-06 2010-08-17 Nikon Corporation Image display optical system, image display unit, illuminating optical system, and liquid crystal display unit
US20060126181A1 (en) 2004-12-13 2006-06-15 Nokia Corporation Method and system for beam expansion in a display device
US7773849B2 (en) 2004-12-14 2010-08-10 Oms Displays Ltd. Device and method for optical resizing and backlighting
US7724443B2 (en) 2005-02-10 2010-05-25 Lumus Ltd. Substrate-guided optical device utilizing thin transparent layer
IL166799A (en) 2005-02-10 2014-09-30 Lumus Ltd Aluminum shale surfaces for use in a conductive substrate
US10073264B2 (en) 2007-08-03 2018-09-11 Lumus Ltd. Substrate-guide optical device
WO2006085310A1 (en) 2005-02-10 2006-08-17 Lumus Ltd. Substrate-guided optical device particularly for vision enhanced optical systems
EP1848966A1 (en) 2005-02-17 2007-10-31 Lumus Ltd Personal navigation system
WO2006098097A1 (ja) 2005-03-14 2006-09-21 Nikon Corporation 画像表示光学系及び画像表示装置
US7405881B2 (en) 2005-05-30 2008-07-29 Konica Minolta Holdings, Inc. Image display apparatus and head mount display
JP4655771B2 (ja) 2005-06-17 2011-03-23 ソニー株式会社 光学装置及び虚像表示装置
US7364306B2 (en) 2005-06-20 2008-04-29 Digital Display Innovations, Llc Field sequential light source modulation for a digital display system
US20070155277A1 (en) 2005-07-25 2007-07-05 Avi Amitai Mobile/portable and personal pre-recorded sound effects electronic amplifier device/gadget
JP5030134B2 (ja) 2005-08-18 2012-09-19 株式会社リコー 偏光変換素子、偏光変換光学系および画像投影装置
EP1922579B1 (en) 2005-09-07 2015-08-19 BAE Systems PLC A projection display with two plate-like, co-planar waveguides including gratings
IL171820A (en) 2005-11-08 2014-04-30 Lumus Ltd A polarizing optical component for light coupling within a conductive substrate
US10048499B2 (en) 2005-11-08 2018-08-14 Lumus Ltd. Polarizing optical system
IL173715A0 (en) 2006-02-14 2007-03-08 Lumus Ltd Substrate-guided imaging lens
JP2007219106A (ja) 2006-02-16 2007-08-30 Konica Minolta Holdings Inc 光束径拡大光学素子、映像表示装置およびヘッドマウントディスプレイ
IL174170A (en) 2006-03-08 2015-02-26 Abraham Aharoni Device and method for two-eyed tuning
IL177618A (en) 2006-08-22 2015-02-26 Lumus Ltd Optical component in conductive substrate
JP2008053517A (ja) 2006-08-25 2008-03-06 Sharp Corp アレイ基板の製造方法及びアレイ基板
EP1975679A1 (en) 2007-03-31 2008-10-01 Sony Deutschland Gmbh Image generating apparatus
EP2142953B1 (en) 2007-04-22 2019-06-05 Lumus Ltd A collimating optical device and system
US9040808B2 (en) * 2007-05-01 2015-05-26 Morgan Solar Inc. Light-guide solar panel and method of fabrication thereof
US8139944B2 (en) 2007-05-08 2012-03-20 The Boeing Company Method and apparatus for clearing an optical channel
IL183637A (en) 2007-06-04 2013-06-27 Zvi Lapidot Head display system
US8320032B2 (en) 2007-06-04 2012-11-27 Nokia Corporation Diffractive beam expander and a virtual display based on a diffractive beam expander
US7589901B2 (en) 2007-07-10 2009-09-15 Microvision, Inc. Substrate-guided relays for use with scanned beam light sources
FR2925171B1 (fr) 2007-12-13 2010-04-16 Optinvent Guide optique et systeme optique de vision oculaire
US8369019B2 (en) 2008-04-14 2013-02-05 Bae Systems Plc Waveguides
EP2332195A2 (en) 2008-08-19 2011-06-15 Plextronics, Inc. Organic light emitting diode lighting devices
JP2010060770A (ja) 2008-09-03 2010-03-18 Epson Toyocom Corp 光学物品及び光学物品の製造方法
US7949214B2 (en) * 2008-11-06 2011-05-24 Microvision, Inc. Substrate guided relay with pupil expanding input coupler
US8317352B2 (en) 2008-12-11 2012-11-27 Robert Saccomanno Non-invasive injection of light into a transparent substrate, such as a window pane through its face
WO2010067114A1 (en) 2008-12-12 2010-06-17 Bae Systems Plc Improvements in or relating to waveguides
JP2010170606A (ja) 2009-01-21 2010-08-05 Fujinon Corp プリズムアセンブリの製造方法
US8873912B2 (en) 2009-04-08 2014-10-28 International Business Machines Corporation Optical waveguide with embedded light-reflecting feature and method for fabricating the same
WO2010124028A2 (en) 2009-04-21 2010-10-28 Vasylyev Sergiy V Light collection and illumination systems employing planar waveguide
US9335604B2 (en) 2013-12-11 2016-05-10 Milan Momcilo Popovich Holographic waveguide display
US20100291489A1 (en) 2009-05-15 2010-11-18 Api Nanofabrication And Research Corp. Exposure methods for forming patterned layers and apparatus for performing the same
JP5104823B2 (ja) 2009-07-29 2012-12-19 株式会社島津製作所 表示装置
CA2796518A1 (en) 2010-04-16 2011-10-20 Flex Lighting Ii, Llc Sign comprising a film-based lightguide
US9028123B2 (en) 2010-04-16 2015-05-12 Flex Lighting Ii, Llc Display illumination device with a film-based lightguide having stacked incident surfaces
JP5471986B2 (ja) 2010-09-07 2014-04-16 株式会社島津製作所 光学部品及びそれを用いた表示装置
US8649099B2 (en) 2010-09-13 2014-02-11 Vuzix Corporation Prismatic multiple waveguide for near-eye display
US8743464B1 (en) 2010-11-03 2014-06-03 Google Inc. Waveguide with embedded mirrors
US8666208B1 (en) 2010-11-05 2014-03-04 Google Inc. Moldable waveguide with embedded micro structures
JP5645631B2 (ja) 2010-12-13 2014-12-24 三菱電機株式会社 波長モニタ、光モジュールおよび波長モニタ方法
JP5720290B2 (ja) 2011-02-16 2015-05-20 セイコーエプソン株式会社 虚像表示装置
JP2012252091A (ja) 2011-06-01 2012-12-20 Sony Corp 表示装置
US8639073B2 (en) 2011-07-19 2014-01-28 Teraxion Inc. Fiber coupling technique on a waveguide
US8548290B2 (en) 2011-08-23 2013-10-01 Vuzix Corporation Dynamic apertured waveguide for near-eye display
JP6119091B2 (ja) 2011-09-30 2017-04-26 セイコーエプソン株式会社 虚像表示装置
JP5826597B2 (ja) 2011-10-31 2015-12-02 シャープ株式会社 擬似太陽光照射装置
CN206649211U (zh) 2017-02-24 2017-11-17 北京耐德佳显示技术有限公司 一种使用波导型光学元件的近眼显示装置
US10030846B2 (en) 2012-02-14 2018-07-24 Svv Technology Innovations, Inc. Face-lit waveguide illumination systems
US8665178B1 (en) 2012-03-01 2014-03-04 Google, Inc. Partially-reflective waveguide stack and heads-up display using same
US9223080B2 (en) * 2012-04-24 2015-12-29 Qualcomm Mems Technologies, Inc. Light guide with narrow angle light output and methods
IL219907A (en) 2012-05-21 2017-08-31 Lumus Ltd Integrated head display system with eye tracking
US20130321432A1 (en) 2012-06-01 2013-12-05 QUALCOMM MEMES Technologies, Inc. Light guide with embedded fresnel reflectors
EP4130820B1 (en) 2012-06-11 2024-10-16 Magic Leap, Inc. Multiple depth plane three-dimensional display using a wave guide reflector array projector
US9671566B2 (en) 2012-06-11 2017-06-06 Magic Leap, Inc. Planar waveguide apparatus with diffraction element(s) and system employing same
JP6275399B2 (ja) 2012-06-18 2018-02-07 エルジー イノテック カンパニー リミテッド 照明装置
US8913324B2 (en) 2012-08-07 2014-12-16 Nokia Corporation Display illumination light guide
US9933684B2 (en) 2012-11-16 2018-04-03 Rockwell Collins, Inc. Transparent waveguide display providing upper and lower fields of view having a specific light output aperture configuration
FR2999301B1 (fr) 2012-12-12 2015-01-09 Thales Sa Guide optique d'images collimatees a dedoubleur de faisceaux optiques et dispositif optique associe
US8947783B2 (en) 2013-01-02 2015-02-03 Google Inc. Optical combiner for near-eye display
JP6065630B2 (ja) 2013-02-13 2017-01-25 セイコーエプソン株式会社 虚像表示装置
DE102013106392B4 (de) 2013-06-19 2017-06-08 Fraunhofer-Gesellschaft zur Förderung der angewandten Forschung e.V. Verfahren zur Herstellung einer Entspiegelungsschicht
US8913865B1 (en) 2013-06-27 2014-12-16 Microsoft Corporation Waveguide including light turning gaps
US20150081313A1 (en) 2013-09-16 2015-03-19 Sunedison Llc Methods and systems for photovoltaic site installation, commissioining, and provisioning
DE102013219625B3 (de) 2013-09-27 2015-01-22 Carl Zeiss Ag Brillenglas für eine auf den Kopf eines Benutzers aufsetzbare und ein Bild erzeugende Anzeigevorrichtung sowie Anzeigevorrichtung mit einem solchen Brillenglas
JP6225657B2 (ja) 2013-11-15 2017-11-08 セイコーエプソン株式会社 光学素子および画像表示装置並びにこれらの製造方法
CN107219628B (zh) 2013-11-27 2020-05-01 奇跃公司 虚拟和增强现实系统与方法
JP6287131B2 (ja) 2013-12-02 2018-03-07 セイコーエプソン株式会社 虚像表示装置
US9470633B2 (en) 2014-02-14 2016-10-18 Google Inc. Method, apparatus and system for transmittance measurement
US9423552B2 (en) 2014-02-24 2016-08-23 Google Inc. Lightguide device with outcoupling structures
JP6442149B2 (ja) 2014-03-27 2018-12-19 オリンパス株式会社 画像表示装置
CN104950437B (zh) 2014-03-31 2018-04-27 联想(北京)有限公司 显示装置和电子设备
DE102014207490B3 (de) * 2014-04-17 2015-07-02 Carl Zeiss Ag Brillenglas für eine auf den Kopf eines Benutzers aufsetzbare und ein Bild erzeugende Anzeigevorrichtung und Anzeigevorrichtung mit einem solchen Brillenglas
US9213178B1 (en) 2014-04-21 2015-12-15 Google Inc. Lens with lightguide insert for head wearable display
JP6096713B2 (ja) 2014-05-21 2017-03-15 株式会社東芝 表示装置
GB201413344D0 (en) 2014-07-28 2014-09-10 Neoss Ltd Surgical instruments
JP2016033867A (ja) 2014-07-31 2016-03-10 ソニー株式会社 光学部材、照明ユニット、ウェアラブルディスプレイ及び画像表示装置
WO2016035517A1 (ja) 2014-09-01 2016-03-10 シャープ株式会社 ライトガイドおよび虚像表示装置
IL235642B (en) 2014-11-11 2021-08-31 Lumus Ltd A compact head-up display system is protected by an element with a super-thin structure
IL236490B (en) * 2014-12-25 2021-10-31 Lumus Ltd Substrate-guided optical device
IL236491B (en) 2014-12-25 2020-11-30 Lumus Ltd A method for manufacturing an optical component in a conductive substrate
JP6994940B2 (ja) 2015-01-06 2022-01-14 ビュージックス コーポレーション 光結合を用いたヘッドマウント型画像装置
US20160234485A1 (en) 2015-02-09 2016-08-11 Steven John Robbins Display System
IL237337B (en) 2015-02-19 2020-03-31 Amitai Yaakov A compact head-up display system with a uniform image
JPWO2016181459A1 (ja) 2015-05-11 2018-03-01 オリンパス株式会社 プリズム光学系、プリズム光学系を用いた画像表示装置及びプリズム光学系を用いた撮像装置
US10362113B2 (en) 2015-07-02 2019-07-23 Prasenjit Bhadra Cognitive intelligence platform for distributed M2M/ IoT systems
EP3128231B1 (en) 2015-08-06 2018-10-24 Schreder Improvements in or relating to light-emitting diode modules
US10007117B2 (en) 2015-09-10 2018-06-26 Vuzix Corporation Imaging light guide with reflective turning array
TW201713060A (zh) * 2015-09-24 2017-04-01 曾效參 光導組件
DE102015116297A1 (de) 2015-09-25 2017-03-30 Carl Zeiss Smart Optics Gmbh Abbildungsoptik sowie Anzeigevorrichtung mit einer solchen Abbildungsoptik
US10345594B2 (en) 2015-12-18 2019-07-09 Ostendo Technologies, Inc. Systems and methods for augmented near-eye wearable displays
CN118169876A (zh) 2016-01-06 2024-06-11 伊奎蒂公司 具有枢转成像光导的头戴式显示器
US10473933B2 (en) 2016-02-19 2019-11-12 Microsoft Technology Licensing, Llc Waveguide pupil relay
CN107290816B (zh) 2016-03-30 2020-04-24 中强光电股份有限公司 光波导元件以及具有此光波导元件的头戴式显示装置
US20170343810A1 (en) 2016-05-24 2017-11-30 Osterhout Group, Inc. Pre-assembled solid optical assembly for head worn computers
US9791703B1 (en) 2016-04-13 2017-10-17 Microsoft Technology Licensing, Llc Waveguides with extended field of view
EP3458898B1 (en) 2016-05-18 2023-02-15 Lumus Ltd. Head-mounted imaging device
TWI614527B (zh) 2016-08-18 2018-02-11 盧姆斯有限公司 具有一致影像之小型頭戴式顯示系統
BR112018006747A2 (pt) 2016-10-09 2018-10-16 Lumus Ltd. multiplicador de abertura usando um guia de ondas retangular
JP6829482B2 (ja) 2016-11-08 2021-02-10 ルムス エルティーディー. 光学遮断端部を備えた光ガイド装置およびその製造方法
CN114895467B (zh) 2016-11-30 2025-05-27 奇跃公司 用于高分辨率数字显示的方法和系统
KR20190000456U (ko) 2016-12-02 2019-02-19 루머스 리미티드 소형 시준 이미지 프로젝터를 구비한 광학 시스템
KR102296369B1 (ko) 2016-12-31 2021-09-01 루머스 리미티드 도광 광학 소자를 통한 망막 이미징 기반 안구 추적기
EP3566092B1 (en) 2017-01-04 2022-10-05 Lumus Ltd. Optical system for near-eye displays
CN108445573B (zh) 2017-02-16 2023-06-30 中强光电股份有限公司 光波导元件以及显示装置
KR102481569B1 (ko) 2017-02-22 2022-12-26 루머스 리미티드 광 가이드 광학 어셈블리
CA3053990A1 (en) 2017-03-15 2018-09-20 Magic Leap, Inc. Techniques for improving a fiber scanning system
CN109416433B (zh) 2017-03-22 2021-06-01 鲁姆斯有限公司 交叠的反射面构造
JP2018165740A (ja) 2017-03-28 2018-10-25 セイコーエプソン株式会社 表示装置
US10852543B2 (en) 2017-03-28 2020-12-01 Seiko Epson Corporation Light guide device and display device
IL251645B (en) 2017-04-06 2018-08-30 Lumus Ltd Waveguide and method of production
FI129873B (en) 2017-05-08 2022-10-14 Dispelix Oy Diffractive display, light guide element and projector, and method of displaying image
JP6915377B2 (ja) 2017-05-24 2021-08-04 トヨタ紡織株式会社 発光性装飾品、発光性装飾品の敷設方法、敷設物及び発光意匠の形成方法
JP2018205448A (ja) 2017-05-31 2018-12-27 セイコーエプソン株式会社 表示装置及び照明装置
CN107238928B (zh) 2017-06-09 2020-03-06 京东方科技集团股份有限公司 一种阵列波导
KR102638818B1 (ko) * 2017-07-19 2024-02-20 루머스 리미티드 Loe를 통한 lcos 조명
DE102017116885B4 (de) 2017-07-26 2023-04-06 Ledvance Gmbh Leuchtmittel und Linse für ein Leuchtmittel
EP3688526B1 (en) 2017-09-29 2023-07-12 Lumus Ltd. Augmented reality display
US11656472B2 (en) 2017-10-22 2023-05-23 Lumus Ltd. Head-mounted augmented reality device employing an optical bench
AU2018372665B2 (en) 2017-11-21 2023-01-19 Lumus Ltd. Optical aperture expansion arrangement for near-eye displays
CN111417883B (zh) 2017-12-03 2022-06-17 鲁姆斯有限公司 光学设备对准方法
WO2019106636A1 (en) 2017-12-03 2019-06-06 Lumus Ltd. Optical device testing method and apparatus
US20190170327A1 (en) 2017-12-03 2019-06-06 Lumus Ltd. Optical illuminator device
KR20200097289A (ko) 2017-12-10 2020-08-18 루머스 리미티드 이미지 프로젝터
US11112613B2 (en) 2017-12-18 2021-09-07 Facebook Technologies, Llc Integrated augmented reality head-mounted display for pupil steering
US10506220B2 (en) 2018-01-02 2019-12-10 Lumus Ltd. Augmented reality displays with active alignment and corresponding methods
IL275615B (en) 2018-01-02 2022-08-01 Lumus Ltd Augmented reality displays with active alignment and corresponding methods
US10551544B2 (en) 2018-01-21 2020-02-04 Lumus Ltd. Light-guide optical element with multiple-axis internal aperture expansion
US20210033774A1 (en) 2018-01-31 2021-02-04 Shimadzu Corporation Image display device
US11256004B2 (en) 2018-03-20 2022-02-22 Invensas Bonding Technologies, Inc. Direct-bonded lamination for improved image clarity in optical devices
JP7389491B2 (ja) 2018-04-08 2023-11-30 ルムス エルティーディー. 光学サンプルの特性評価
EP4339656A3 (en) 2018-05-14 2024-06-05 Lumus Ltd. Projector configuration with subdivided optical aperture for near-eye displays, and corresponding optical systems
IL278511B2 (en) 2018-05-17 2025-01-01 Lumus Ltd A near-eye display containing overlapping projector assemblies
IL259518B2 (en) 2018-05-22 2023-04-01 Lumus Ltd Optical system and method for improving light field uniformity
JP7417234B2 (ja) 2018-05-23 2024-01-18 ルムス エルティーディー. 部分的に反射する内部表面を備えた導光光学素子を含む光学システム
JP3222489U (ja) 2018-05-27 2019-08-01 ルムス エルティーディー. 像面湾曲の影響を緩和した基板誘導ベースの光学系
WO2019244093A1 (en) 2018-06-21 2019-12-26 Lumus Ltd. Measurement technique for refractive index inhomogeneity between plates of a lightguide optical element (loe)
US11415812B2 (en) 2018-06-26 2022-08-16 Lumus Ltd. Compact collimating optical device and system
CN112424670B (zh) 2018-07-16 2023-01-17 鲁姆斯有限公司 采用偏振内反射器的光导光学元件
TWI827663B (zh) 2018-09-06 2024-01-01 以色列商魯姆斯有限公司 具有雷射二極體照明的近眼顯示器
TWI865343B (zh) 2018-09-09 2024-12-01 以色列商魯姆斯有限公司 包括具有二維擴展的光導光學元件的光學系統
JP3226277U (ja) 2018-11-11 2020-05-14 ルムス エルティーディー. 中間ウィンドウを有するニアアイディスプレイ
EP3903138B1 (en) 2019-01-24 2023-03-08 Lumus Ltd. Optical systems including loe with three stage expansion
CN109613644B (zh) 2019-02-14 2020-08-11 京东方科技集团股份有限公司 一种导光装置及其制作方法、显示装置
TWI880746B (zh) 2019-05-06 2025-04-11 以色列商魯姆斯有限公司 用於觀看場景的透明光導和近眼顯示器
CN114026485B (zh) 2019-09-19 2024-07-12 苹果公司 具有反射棱镜输入耦合器的光学系统
US10962787B1 (en) 2019-11-25 2021-03-30 Shanghai North Ocean Photonics Co., Ltd. Waveguide display device

Patent Citations (3)

* Cited by examiner, † Cited by third party
Publication number Priority date Publication date Assignee Title
US20130250431A1 (en) 2012-03-21 2013-09-26 Steve Robbins Two-dimensional exit-pupil expansion
JP2017520013A (ja) 2014-04-23 2017-07-20 ラマス リミテッド 小型ヘッドマウント式表示システム
WO2017120326A1 (en) 2016-01-06 2017-07-13 Vuzix Corporation Imaging light guide with reflective turning array

Also Published As

Publication number Publication date
US20210033773A1 (en) 2021-02-04
JP2021510838A (ja) 2021-04-30
JP2023088969A (ja) 2023-06-27
US20220308278A1 (en) 2022-09-29
KR20250133988A (ko) 2025-09-09
US20250155628A1 (en) 2025-05-15
TW201932894A (zh) 2019-08-16
JP7249294B2 (ja) 2023-03-30
TWI776938B (zh) 2022-09-11
EP3740795A1 (en) 2020-11-25
US10551544B2 (en) 2020-02-04
US20240310569A1 (en) 2024-09-19
RU2020100274A (ru) 2022-02-21
CA3068946C (en) 2023-07-18
MX2020002403A (es) 2020-07-22
AU2018403542A1 (en) 2020-01-30
BR112020002041A2 (pt) 2020-09-08
US11385393B2 (en) 2022-07-12
RU2020100274A3 (ja) 2022-02-21
AU2018403542B2 (en) 2023-02-02
US12326589B2 (en) 2025-06-10
KR102852831B1 (ko) 2025-08-29
US20190227215A1 (en) 2019-07-25
KR20230107915A (ko) 2023-07-18
CA3068946A1 (en) 2019-07-25
CN111095060A (zh) 2020-05-01
EP3740795A4 (en) 2021-04-14
US11994705B2 (en) 2024-05-28
IL276206A (en) 2020-09-30
CN111095060B (zh) 2022-06-03
KR102556141B1 (ko) 2023-07-14
KR20200104849A (ko) 2020-09-04
KR20240135042A (ko) 2024-09-10
WO2019142177A1 (en) 2019-07-25
CN114815261A (zh) 2022-07-29
IL276206B (en) 2022-08-01
KR102701580B1 (ko) 2024-08-30

Similar Documents

Publication Publication Date Title
JP7591304B2 (ja) 多軸内部空隙拡張部を備えた導光光学要素
JP7289462B2 (ja) 重複ファセット
KR102699716B1 (ko) 2차원 확장이 가능한 도광 광학 소자를 포함하는 광학 시스템
KR102860226B1 (ko) 작은 입력 개구를 갖는 고효율 콤팩트 헤드 마운트 디스플레이 시스템
JP7411255B2 (ja) 偏光された内部反射体を採用する導光光学素子
KR102777539B1 (ko) 부분 반사 내부면이 있는 도광 광학 요소를 포함한 광학 시스템
JP7187022B2 (ja) 長方形導波路を使用する開口乗算器
KR102808918B1 (ko) 콤팩트한 헤드 마운트 디스플레이 시스템
KR20240124932A (ko) 보기 위해 이미지를 지향시키기 위한 광학 시스템
RU2772076C2 (ru) Световодный оптический элемент с многоосным расширением внутренней апертуры

Legal Events

Date Code Title Description
A621 Written request for application examination

Free format text: JAPANESE INTERMEDIATE CODE: A621

Effective date: 20230411

A521 Request for written amendment filed

Free format text: JAPANESE INTERMEDIATE CODE: A523

Effective date: 20230419

A977 Report on retrieval

Free format text: JAPANESE INTERMEDIATE CODE: A971007

Effective date: 20240313

A131 Notification of reasons for refusal

Free format text: JAPANESE INTERMEDIATE CODE: A131

Effective date: 20240325

A521 Request for written amendment filed

Free format text: JAPANESE INTERMEDIATE CODE: A523

Effective date: 20240625

A131 Notification of reasons for refusal

Free format text: JAPANESE INTERMEDIATE CODE: A131

Effective date: 20241002

A521 Request for written amendment filed

Free format text: JAPANESE INTERMEDIATE CODE: A523

Effective date: 20241030

TRDD Decision of grant or rejection written
A01 Written decision to grant a patent or to grant a registration (utility model)

Free format text: JAPANESE INTERMEDIATE CODE: A01

Effective date: 20241105

A61 First payment of annual fees (during grant procedure)

Free format text: JAPANESE INTERMEDIATE CODE: A61

Effective date: 20241111

R150 Certificate of patent or registration of utility model

Ref document number: 7591304

Country of ref document: JP

Free format text: JAPANESE INTERMEDIATE CODE: R150